JP2004254866A - 乳幼児用靴の中敷き - Google Patents
乳幼児用靴の中敷き Download PDFInfo
- Publication number
- JP2004254866A JP2004254866A JP2003048166A JP2003048166A JP2004254866A JP 2004254866 A JP2004254866 A JP 2004254866A JP 2003048166 A JP2003048166 A JP 2003048166A JP 2003048166 A JP2003048166 A JP 2003048166A JP 2004254866 A JP2004254866 A JP 2004254866A
- Authority
- JP
- Japan
- Prior art keywords
- insole
- infant
- foot
- finger
- arch
- Prior art date
- Legal status (The legal status is an assumption and is not a legal conclusion. Google has not performed a legal analysis and makes no representation as to the accuracy of the status listed.)
- Pending
Links
- 210000002683 foot Anatomy 0.000 claims abstract description 54
- 210000003371 toe Anatomy 0.000 claims abstract description 10
- 230000015572 biosynthetic process Effects 0.000 abstract description 17
- 210000000453 second toe Anatomy 0.000 abstract description 2
- 101100394497 Caenorhabditis elegans toe-1 gene Proteins 0.000 abstract 2
- 210000001255 hallux Anatomy 0.000 abstract 2
- 210000000431 third toe Anatomy 0.000 abstract 1
- 210000003811 finger Anatomy 0.000 description 34
- 230000005484 gravity Effects 0.000 description 27
- 238000005192 partition Methods 0.000 description 18
- 238000010586 diagram Methods 0.000 description 12
- 238000005259 measurement Methods 0.000 description 6
- 239000000463 material Substances 0.000 description 5
- 210000004744 fore-foot Anatomy 0.000 description 4
- 239000007779 soft material Substances 0.000 description 4
- 230000005057 finger movement Effects 0.000 description 3
- 230000001737 promoting effect Effects 0.000 description 3
- 230000000694 effects Effects 0.000 description 2
- 210000001872 metatarsal bone Anatomy 0.000 description 2
- 229920002379 silicone rubber Polymers 0.000 description 2
- 239000007787 solid Substances 0.000 description 2
- 230000002123 temporal effect Effects 0.000 description 2
- 208000004067 Flatfoot Diseases 0.000 description 1
- 210000004556 brain Anatomy 0.000 description 1
- 238000002474 experimental method Methods 0.000 description 1
- 238000012986 modification Methods 0.000 description 1
- 230000004048 modification Effects 0.000 description 1
- 230000000630 rising effect Effects 0.000 description 1
- 238000005070 sampling Methods 0.000 description 1
- 230000035939 shock Effects 0.000 description 1
- 210000003813 thumb Anatomy 0.000 description 1
Images
Landscapes
- Footwear And Its Accessory, Manufacturing Method And Apparatuses (AREA)
Abstract
【解決手段】乳幼児用靴の中敷きは、乳幼児の足の第1指1と第2指2との間に小さく隆起して延びている縦隆起部32と、第1指1の付け根の下および第2指2の付け根の下に延びている横隆起部33とからなる逆T字形状隆起部31を備える。横隆起部33は、その一方端が第3指3を越えない長さである。
【選択図】 図12
Description
【発明の属する技術分野】
この発明は、乳幼児用靴のための中敷きに関するものであり、特に乳幼児の土踏まずの形成を促進する中敷きに関するものである。
【0002】
【従来の技術】
乳幼児用靴は、乳幼児が歩き始めの段階から使用されるが、その使用目的は、足の保護のためである。
【0003】
乳幼児期における足の成長は、歩き始めの1歳前後から6歳または7歳程度になるまで続くといわれている。特に、比較的低年齢の乳児期において、足を健全な状態で成長させることが重要である。
【0004】
このような足の健全な成長の典型的な表れとして、土踏まずの形成がある。土踏まずは、歩行時において衝撃吸収効果を発揮し、背骨を通して脳を守るといった重要な役割を果すものである。土踏まずの形成のためには、足によって地面をつかむように足の各指を運動させながら歩くことが重要であるとされている。このような歩行状態は、乳幼児が素足で歩くときに、より容易に実現される。
【0005】
他方、それにも関わらず、足の保護のためには靴が必要になってくる。乳幼児が靴を着用すると、足の各指の動きが阻害され、地面をつかむように足を運動させることが困難になり、結果として、足の健全な成長を阻害してしまうことがある。
【0006】
本件出願と同一の出願人は、特開2001−157601号公報に、乳幼児の足の健全な成長を促進するように改良された乳幼児用靴の中敷きを開示した。
【0007】
【特許文献1】
特開2001−157601号公報(図2、図3)
【0008】
【発明が解決しようとする課題】
特開2001−157601号公報に開示された中敷きは、特に乳幼児が裸足で靴を着用する際に使用されるものである。そのため、靴下を履いて靴を着用する場合には、特開2001−157601号公報に開示された中敷きを使用することができない。乳幼児の1日の生活を見てみると、裸足で靴を着用する場合と、靴下を履いて靴を着用する場合とが混在することがある。
【0009】
本発明の目的は、靴下を履いて靴を着用する場合においても、土踏まずの形成を有効に促進することのできる乳幼児用靴の中敷きセットを提供することである。
【0010】
【課題を解決するための手段】
この発明に従った乳幼児用靴の中敷きは、乳幼児の足の第1指と第2指との間に小さく隆起して延びている縦隆起部と、第1指の付け根の下および第2指の付け根の下に延びている横隆起部とからなる逆T字形状隆起部を備える。横隆起部は、その一方端が第3指を越えない長さである。
【0011】
好ましくは、逆T字形状隆起部の高さは、5mm以下である。
【0012】
一つの実施形態では、乳幼児用靴の中敷きは、乳幼児の足の土踏まずに当たる土踏まず用隆起部をさらに備える。
【0013】
上記各構成の作用効果については、発明の実施の形態の項で説明する。
【0014】
【発明の実施の形態】
図1は、土踏まずが形成された大人の足の裏を示している。図中、矢印で示すのは、歩行時の体重移動の軌跡である。大人の歩行時の重心移動に注目すると、最初に踵で接地し、重心が足の外側に移動して、第5中足骨骨頭部より第1中足骨骨頭部に移行し、母趾(第1指)の先端より抜けていく。
【0015】
土踏まずの形成されていない歩き始めの乳幼児の場合には、全く異なった重心移動の軌跡を描く。本願の発明者は、足裏の圧分布計測によって乳幼児の歩行分析を行なった。具体的には、歩き始めと歩き慣れた時期とでは足裏にかかる圧に相違が現れると予測し、歩行時の足裏への荷重負荷の状態および重心を把握するため、圧分布マットを用いて計測を行なった。
【0016】
被験者の生後13ヶ月、14ヶ月、15ケ月時に、呼びかけによる自由歩行で圧分布マット上を歩かせ、荷重変化および重心移動の比較を行なった。実験に使用した圧分布マットは、センサ分解能1[cm2 ]、センサ部のサイズが48cm×44cmで、垂直力を圧情報として出力できる。センサの測定範囲は1.96〜19.6[kPa]、精度は±10%である。このマットを2枚つなげ、有効測定領域が96cm×44cmとなるように設置し、サンプリング周波数100[Hz]で計測を行なった。
【0017】
生後13ヶ月、14ヶ月、15ヶ月時のそれぞれの計測結果の中から、立脚時間がほぼ同一の右足1歩を選出し、比較を行なう。乳幼児の足裏はまだ未発達であり、扁平足であるため、図2に示すように、足長の中心で荷重分布を前部と後部とに分割した。
【0018】
図3は、右足荷重の時間変化を示している。生後13ヶ月、14ヶ月、15ヶ月のときのそれぞれにおいて、後部荷重が0[N]になる時刻を見ると、13ヶ月時で0.19[s]、14ヶ月時で0.29[s]、15ヶ月時で0.31[s]であり、後部への荷重時間が成長に伴って徐々に増加している。これは、ほぼ足全体で着地し、その後踵が浮いてゆくという未熟な歩き方から、踵から着地し、徐々に前部へ荷重を移動してゆく歩き方に発達していることを示している。
【0019】
図4は、足裏の重心移動の軌跡を示している。13ヶ月時では、踵からつま先へ直線状に重心が移動しているのに対し、14ヶ月時、15ヶ月時になるに従い、弧を描いてつま先へ向かって重心が移動している。すなわち、足幅方向へも重心移動があることにより、安定感が得られ、歩行が上達しているのがわかる。
【0020】
本願の発明者は、さらに、乳幼児の左右の足の重心移動の軌跡も調査した。図5は、歩行開始時期の一例として生後13ヶ月(歩行開始後1か月)の乳幼児、および歩き慣れた時期の一例として生後19ケ月(歩行開始後9ヶ月)の乳幼児の重心移動の軌跡、時間因子および距離因子を示している。
【0021】
図5の(a)および(b)を比較すれば明らかなように、歩行開始時期は足中央部へ重心が移動し、そのまま次の足へと移動している。これは、片足立脚時に、重心が前足部へ移動する前に次の足が着地し、両足接地した状態で重心を移動させているためである。すなわち、重心移動が効率良く行なわれていない。
【0022】
歩き慣れた時期では、重心は踵部を通り前足部へ移動し、次の足の踵部へ移動している。すなわち、片足立脚時に踵から前足部への重心移動が見られ、その後次の足が着地している。これは、前足部で地面を蹴る動作の現れであると考えられる。
【0023】
次に1歩行周期中の片足立脚している時間の割合を示す遊脚時間率では、歩行開始時は21.5%、歩き慣れた時期では31.0%と増加しており、片足立脚時の安定性が増している。また、歩幅は、歩行開始時が25.9cmであるのに対し、歩き慣れた時期では37.4cmと大きくなっており、歩行速度も0.63km/hから1.35km/hへと増加している。このことから、歩行の効率が良くなっていると考えられる。
【0024】
以上の計測結果から、歩行開始から歩き慣れて行くに従い歩行時の安定性の増加、歩行効率の増加が見られ、歩行が上達していることが認められた。
【0025】
本発明は、上記のような乳幼児の歩行特性を考慮して、その成長段階に応じて適切に土踏まずの形成を促進することのできる中敷きセットおよび中敷きを提供しようとするものである。
【0026】
中敷きセットは、図6〜図8に示す第1の中敷き10と、図9〜図10に示す第2の中敷20と、図11〜図13に示す第3の中敷き30と、図14〜図15に示す第4の中敷き40と、図16に示す第5の中敷き50とを備える。
【0027】
なお、異なった種類の中敷きを組み合わせて中敷きセットを作るが、その目的に応じて種々の組み合わせ方がある。例えば、以下に記載する中敷きの組合せで中敷きセットを構成することができる。
【0028】
A.第1中敷き10+第2中敷き20(図20)
B.第3中敷き30+第4中敷き40(図21)
C.第1中敷き10+第3中敷き30(図22)
D.第2中敷き20+第4中敷き40(図23)
E.第1中敷き10+第3中敷き30+第5中敷き50(図24)
F.第2中敷き20+第4中敷き40+第5中敷き50(図25)
G.第1中敷き10+第2中敷き20+第3中敷き30+第4中敷き40+第5中敷き50(図26)
図6に示す第1中敷き10および図11に示す第3中敷き30は、乳幼児の足の第1指と第2指との間に挟まれる指間隆起部を有し、残りの領域は隆起部のないフラットな形状である。これらの中敷き10および30は、歩き始めの段階の乳幼児に適したものである。歩き始めの乳幼児の歩行動作は、足裏全体をほぼ同時に地面に接地するいわゆるぺったん歩きであり、重心移動の軌跡は直線的で親指(第1指)のところで抜ける。
【0029】
第1指と第2指とに掴み動作を与える指間隆起部の存在は、乳幼児の足の土踏まずの形成を促進する。歩き始めのよちよち歩きの段階では、ぺったん歩行、すなわちべた足でしか歩けないので、指間隆起部以外の領域では、フラットな形状が望ましい。例えば、この歩き始めの段階で中敷きの土踏まず部分に隆起部があると、左右のバランスが悪くなり、乳幼児の歩行が不安定になる。
【0030】
第1中敷き10および第3中敷き30について、より具体的に説明する。
【0031】
第1中敷き10は、指間隆起部として、乳幼児の足の第1指1と第2指2との間に立ち上がって延びている仕切り壁11を備える。この第1中敷き10は、乳幼児が裸足で靴を装着する場合に使用するものである。図8に示すように、仕切り壁11は第1指1と第2指2との間に延在する扁平な板状部材であり、その上方端部11aが僅かに厚くされている。また、その基端に中敷きの裏面に位置する基端プレート部11bが形成されている。歩き始めの乳幼児に適するようにするために、仕切り壁11以外の領域は、フラットな形状である。
【0032】
図8に示すように、仕切り壁11の高さは、乳幼児の足の指とほぼ同じか、それよりも大きくされている。乳幼児の足は、第1指1と第2指2との間に位置する仕切り壁11を挟んで掴むような運動を行なうので、土踏まずの形成が促進される。
【0033】
図17〜図19に示す第6中敷き60は、第1中敷き10に対して改良を加えたものである。第6中敷き60は、第1指と第2指との間に立ち上がって延びている仕切り壁61を有する。図に示すように、仕切り壁61は、相対的に硬い扁平な硬質材料部62と、この硬質材料部62の全体を包み込む相対的に軟らかい軟質材料部63とを有する。硬質材料部62は、例えば硬いシリコンゴムによって形成され、軟質材料部63は、例えば軟らかいシリコンゴムによって形成される。
【0034】
仕切り壁61は、非常に敏感で弱い乳幼児の皮膚に直接接するものである。第6中敷き60によれば、軟らかい軟質材料部63が乳幼児の皮膚に接触するので、皮膚を傷つけない。一方、内部の硬い硬質材料部62は、仕切り壁61を安定して起立状態に保つ。
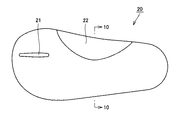
【0035】
図11〜図13に示す第3中敷き30は、指間隆起部として、第1指1と第2指2との間に小さく隆起して延びている縦隆起部32と、第1指1の付け根の下および第2指2の付け根の下にまで延びている横隆起部33とからなる逆T字形状隆起部31を備える。この第3中敷き30は、隆起部の高さが低いので、乳幼児が靴下を履いて靴を装着する場合に使用するのに適している。なお、言うまでもないが、乳幼児が裸足で靴を装着する場合にも、第3中敷き30を使用することができる。
【0036】
靴下を履いたままで第3中敷き30上に足を乗せることを考慮すると、逆T字形状隆起部31の高さ、すなわち、縦隆起部32および横隆起部33の高さは、5mm以下にするのが好ましい。
【0037】
乳幼児は、靴下を履いた状態でも、第1指1と第2指2とで縦隆起部32を掴むような指運動を行なう。この場合、縦隆起部32の高さが低いので、縦隆起部32だけだと指が滑ってしまい、指のつかみ動作が不十分となる。横隆起部33は、このような指のすべりを止めるように作用するので、良好な掴み動作を行ない易くする。
【0038】
歩き始めの乳幼児はべた足歩行であるので、第4指4および第5指5の付け根の下にまで隆起部が延びていると、歩行時に足のひっかかりが生じるようになり、歩行バランスが悪くなる。そこで、好ましくは、横隆起部33は、その一方端が第3指3を越えない長さである。
【0039】
前述したように、第1中敷き10は裸足で靴を装着するときに使用されるものであり、第3中敷き30は特に靴下を履いた状態で靴を装着するときに使用されるものである。したがって、 第1中敷10と第3中敷き30との組合せからなる中敷きセット(図22)によれば、裸足の状態および靴下を履いた状態の両状態において歩き始めの乳幼児の土踏まずの形成を促進することができる。
【0040】
裸足の状態と靴下を履いた状態とでは、靴下の厚み分だけ靴内の足の高さが異なってくる。そこで、第1中敷き10と第3中敷き30との組み合わせに加えて、図16に示す凹凸のないフラットな形状の第5中敷き50をセットとして備えるのが好ましい(図24)。この第5中敷き50は、裸足で靴を装着するとき、第1中敷き10の下に置かれる。第3中敷き30を裸足で使用する場合にも、第3中敷き30の下に第5中敷き50を配置するのがよい。
【0041】
図9に示す第2中敷き20および図14に示す第4中敷き40は、それぞれ、指間隆起部に加えて、乳幼児の足の土踏まずに当たる土踏まず用隆起部を有する。これらの中敷き20および40は、土踏まずの形成が始まりかけた段階の乳幼児に適したものである。土踏まずの形成が始まると、重心移動の軌跡が円弧を描くようになる。ただし、まだ湾曲の度合いは小さい。そこで、この段階で、土踏まず用隆起部を有する中敷きを使用すると、足の土踏まず部分に当たる隆起部の存在により、外へ向かう重心の移動がより大きくなる。その結果、円弧状の重心移動の軌跡の湾曲の度合いが大きくなり、土踏まずの形成をより促進するようになる。
【0042】
第2中敷き20および第4中敷き40について、より具体的に説明する。
【0043】
第2中敷き20は、指間隆起部として、乳幼児の足の第1指1と第2指2との間に立ち上がって延びている仕切り壁21を備えることに加えて、乳幼児の足の土踏まずに当たる土踏まず用隆起部22を備える。仕切り壁21は、第1中敷き10の仕切り壁11と実質的に同じであるので、その説明を省略する。土踏まず用隆起部22は、図9および図10に示すように、乳幼児の足の土踏まず形成領域の全体に当たるような形状で隆起している。
【0044】
第2中敷き20は、土踏まずの形成が始まりかけた乳幼児が裸足で靴を装着する場合に使用するものである。この段階での第2中敷き20の使用は、仕切り壁21による指運動の助長に加えて、重心移動の軌跡の湾曲の度合いを土踏まず用隆起部22によってより大きくするので、土踏まずの形成がより促進される。
【0045】
第1中敷き10と第2中敷き20との組み合わせからなる中敷きセット(図20)は、乳幼児が裸足で靴を着用する場合に使用されるものであり、歩き始めの段階から土踏まずの形成が始まりかけた段階まで使用できる。
【0046】
第4中敷き40は、指間隆起部として、第1指1と第2指2との間に小さく隆起して延びている縦隆起部42と、第1指1の付け根の下および第2指2の付け根の下に延びている横隆起部43とからなる逆T字形状隆起部41を備えることに加えて、乳幼児の足の土踏まずに当たる土踏まず用隆起部44を備える。逆T字形状隆起部41は、第3中敷き30の逆T字形状隆起部31と実質的に同じであるので、その説明を省略する。土踏まず用隆起部44は、図14および図15に示すように、乳幼児の足の土踏まず形成領域の全体に当たるような形状で隆起している。
【0047】
第4中敷き40は、土踏まずの形成が始まりかけた乳幼児が靴下を履いて靴を着用する場合に使用するものである。この段階での第4中敷き40の使用は、逆T字形状隆起部41による指運動の助長に加えて、重心移動の軌跡の湾曲の度合いを土踏まず用隆起部44によってより大きくするので、土踏まずの形成がより促進される。
【0048】
第3中敷き30と第4中敷き40との組み合わせからなる中敷きセット(図21)は、乳幼児が特に靴下を履いて靴を着用する場合に使用されるものであり、歩き始めの段階から土踏まずの形成が始まりかけた段階まで使用できる。
【0049】
前述したように、第2中敷き20は裸足で靴を装着するときに使用されるものであり、第4中敷き40は特に靴下を履いた状態で靴を装着するときに使用されるものである。したがって、 第2中敷20と第4中敷き40との組合せからなる中敷きセット(図23)によれば、裸足の状態および靴下を履いた状態の両状態において土踏まずの形成が始まりかけた乳幼児に対して、土踏まずの形成をより促進することができる。裸足の状態と靴下を履いた状態とでは、靴下の厚み分だけ靴内の足の高さが異なってくるので、第2中敷き20と第4中敷き40との組み合わせに加えて、図16に示す凹凸のないフラットな形状の第5中敷き50をセットとして備えるのが好ましい(図25)。
【0050】
図26に示す中敷きセットは、第1中敷き10と、第2中敷き20と、第3中敷き30と、第4中敷き40と、第5中敷き50とを備える。この中敷きセットによれば、裸足の状態および靴下を履いた状態の両状態にも対応でき、しかも歩き始めの段階から土踏まずの形成が始まりかけた段階まで使用できる。
【0051】
以上、この発明を図面を参照して説明したが、この発明は、図示した実施形態に限定されるものではない。特許請求の範囲に記載された発明と同一の範囲内において、あるいは均等の範囲内において、図示した実施形態に対して種々の修正や変形を加えることが可能である。
【図面の簡単な説明】
【図1】大人の足の重心移動の軌跡を示す図である。
【図2】圧分布分析のために乳幼児の足を前部と後部とに分割したことを示す図である。
【図3】右足荷重の時間変化を示す図である。
【図4】足裏の重心移動の軌跡を示す図である。
【図5】左右の足の重心移動の軌跡を示す図である。
【図6】中敷きの一例を示す斜視図である。
【図7】図6の中敷きの平面図である。
【図8】図7の線8−8に沿って見た断面図である。
【図9】中敷きの他の例を示す平面図である。
【図10】図9の線10−10に沿って見た断面図である。
【図11】中敷きのさらに他の例を示す斜視図である。
【図12】図11の中敷きの平面図である。
【図13】図12の線13−13に沿って見た断面図である。
【図14】中敷きのさらに他の例を示す平面図である。
【図15】図14の線15−15に沿って見た断面図である。
【図16】中敷きのさらに他の例を示す斜視図である。
【図17】中敷きのさらに他の例を示す斜視図である。
【図18】図17に示した中敷きの仕切り壁を長さ方向に切断した縦断面図である。
【図19】図17に示した中敷きの仕切り壁を幅方向に切断した縦断面図である。
【図20】中敷きセットの一例を示す図である。
【図21】中敷きセットの他の例を示す図である。
【図22】中敷きセットのさらに他の例を示す図である。
【図23】中敷きセットのさらに他の例を示す図である。
【図24】中敷きセットのさらに他の例を示す図である。
【図25】中敷きセットのさらに他の例を示す図である。
【図26】中敷きセットのさらに他の例を示す図である。
【符号の説明】
10 第1中敷き、11 仕切り壁、20 第2中敷き、21 仕切り壁、22 土踏まず用隆起部、30 第3中敷き、31 逆T字形状隆起部、32 縦隆起部、33 横隆起部、40 第4中敷き、41 逆T字形状隆起部、42 縦隆起部、43 横隆起部、44 土踏まず用隆起部、50 第5中敷き、60第6中敷き、61 仕切り壁、62 硬質材料部、63 軟質材料部。
Claims (3)
- 乳幼児の足の第1指と第2指との間に小さく隆起して延びている縦隆起部と、第1指の付け根の下および第2指の付け根の下に延びている横隆起部とからなる逆T字形状隆起部を備え、
前記横隆起部は、その一方端が第3指を越えない長さである、乳幼児用靴の中敷き。 - 前記逆T字形状隆起部の高さは、5mm以下である、請求項1に記載の乳幼児用靴の中敷き。
- 乳幼児の足の土踏まずに当たる土踏まず用隆起部をさらに備える、請求項1または2に記載の乳幼児用靴の中敷き。
Priority Applications (1)
| Application Number | Priority Date | Filing Date | Title |
|---|---|---|---|
| JP2003048166A JP2004254866A (ja) | 2003-02-25 | 2003-02-25 | 乳幼児用靴の中敷き |
Applications Claiming Priority (1)
| Application Number | Priority Date | Filing Date | Title |
|---|---|---|---|
| JP2003048166A JP2004254866A (ja) | 2003-02-25 | 2003-02-25 | 乳幼児用靴の中敷き |
Publications (1)
| Publication Number | Publication Date |
|---|---|
| JP2004254866A true JP2004254866A (ja) | 2004-09-16 |
Family
ID=33114209
Family Applications (1)
| Application Number | Title | Priority Date | Filing Date |
|---|---|---|---|
| JP2003048166A Pending JP2004254866A (ja) | 2003-02-25 | 2003-02-25 | 乳幼児用靴の中敷き |
Country Status (1)
| Country | Link |
|---|---|
| JP (1) | JP2004254866A (ja) |
Cited By (1)
| Publication number | Priority date | Publication date | Assignee | Title |
|---|---|---|---|---|
| JP7454333B2 (ja) | 2019-03-01 | 2024-03-22 | ニッタ株式会社 | 荷重バランス評価装置 |
-
2003
- 2003-02-25 JP JP2003048166A patent/JP2004254866A/ja active Pending
Cited By (1)
| Publication number | Priority date | Publication date | Assignee | Title |
|---|---|---|---|---|
| JP7454333B2 (ja) | 2019-03-01 | 2024-03-22 | ニッタ株式会社 | 荷重バランス評価装置 |
Similar Documents
| Publication | Publication Date | Title |
|---|---|---|
| US20210298412A1 (en) | Shoe insole | |
| JP2014008298A (ja) | 靴底 | |
| JP2005296484A (ja) | 足指を甲被から個別に突き出すことを可能とした履物 | |
| EP1593360A2 (en) | Footwear orthosis | |
| JP2015500078A (ja) | 履き物/履き物用インソール | |
| JP2004254865A (ja) | 乳幼児用靴の中敷きセット | |
| JP5390834B2 (ja) | インソール及びハーフインソール | |
| JP5374765B2 (ja) | 靴底 | |
| JP2004254867A (ja) | 乳幼児用靴の中敷き | |
| JP2004254866A (ja) | 乳幼児用靴の中敷き | |
| JP2004254864A (ja) | 乳幼児用靴の中敷きセットおよび中敷き | |
| JP2020114345A (ja) | 一本歯下駄 | |
| KR200362908Y1 (ko) | 고도의 등산자세를 재현할 수 있는 신발 | |
| JP5905149B1 (ja) | サンダル | |
| JP3167656U (ja) | 履物 | |
| JP3117036U (ja) | 浮き趾改善サンダル | |
| JP2006305265A (ja) | 履物 | |
| JP6811495B1 (ja) | アウトソール、及び履物 | |
| JP2009189804A (ja) | 歩く度に足ゆびの運動をする草履と靴と靴の中敷きシート | |
| JP3093690U (ja) | 履 物 | |
| CN106073001B (zh) | 足弓悬吊支撑式鞋体 | |
| JPH054724Y2 (ja) | ||
| JP7784780B1 (ja) | ソール及び履物 | |
| JP2005169053A (ja) | 履物 | |
| JP7350346B2 (ja) | 履物 |
Legal Events
| Date | Code | Title | Description |
|---|---|---|---|
| A621 | Written request for application examination |
Free format text: JAPANESE INTERMEDIATE CODE: A621 Effective date: 20051110 |
|
| A977 | Report on retrieval |
Free format text: JAPANESE INTERMEDIATE CODE: A971007 Effective date: 20071221 |
|
| A131 | Notification of reasons for refusal |
Free format text: JAPANESE INTERMEDIATE CODE: A131 Effective date: 20080129 |
|
| A521 | Written amendment |
Free format text: JAPANESE INTERMEDIATE CODE: A523 Effective date: 20080326 |
|
| A711 | Notification of change in applicant |
Free format text: JAPANESE INTERMEDIATE CODE: A711 Effective date: 20080401 |
|
| RD03 | Notification of appointment of power of attorney |
Free format text: JAPANESE INTERMEDIATE CODE: A7423 Effective date: 20080523 |
|
| A131 | Notification of reasons for refusal |
Effective date: 20080624 Free format text: JAPANESE INTERMEDIATE CODE: A131 |
|
| A02 | Decision of refusal |
Free format text: JAPANESE INTERMEDIATE CODE: A02 Effective date: 20081118 |