JP2004153105A - 電子機器のモジュール構造 - Google Patents
電子機器のモジュール構造 Download PDFInfo
- Publication number
- JP2004153105A JP2004153105A JP2002317979A JP2002317979A JP2004153105A JP 2004153105 A JP2004153105 A JP 2004153105A JP 2002317979 A JP2002317979 A JP 2002317979A JP 2002317979 A JP2002317979 A JP 2002317979A JP 2004153105 A JP2004153105 A JP 2004153105A
- Authority
- JP
- Japan
- Prior art keywords
- base
- unit
- substrate
- divided
- power
- Prior art date
- Legal status (The legal status is an assumption and is not a legal conclusion. Google has not performed a legal analysis and makes no representation as to the accuracy of the status listed.)
- Pending
Links
- 239000000758 substrate Substances 0.000 claims abstract description 29
- 238000004519 manufacturing process Methods 0.000 abstract description 5
- 238000012423 maintenance Methods 0.000 abstract description 4
- 238000010586 diagram Methods 0.000 abstract 1
- 230000003321 amplification Effects 0.000 description 21
- 238000003199 nucleic acid amplification method Methods 0.000 description 21
- 238000011156 evaluation Methods 0.000 description 11
- 238000012360 testing method Methods 0.000 description 8
- 230000015572 biosynthetic process Effects 0.000 description 4
- 230000008878 coupling Effects 0.000 description 4
- 238000010168 coupling process Methods 0.000 description 4
- 238000005859 coupling reaction Methods 0.000 description 4
- 238000003786 synthesis reaction Methods 0.000 description 4
- 230000000694 effects Effects 0.000 description 2
- 230000002194 synthesizing effect Effects 0.000 description 2
- 238000012356 Product development Methods 0.000 description 1
- 238000005259 measurement Methods 0.000 description 1
- 238000011056 performance test Methods 0.000 description 1
Images
Landscapes
- Mounting Of Printed Circuit Boards And The Like (AREA)
Abstract
【課題】モジュールを分割し、製作容易性、メンテナンス性を向上すると共に充分な接地性能が得られる様にする。
【解決手段】複数の機能部で構成される電子機器のモジュールが、機能部を具備する様に分割され、分割された部分46,53,54,59はそれぞれベース28,29,30,31と基板44,51,52,57を有し、隣接する分割部が前記ベースと前記基板とが重合する部分33,34,41,42を有し、重合する部分は螺子止可能である。
【選択図】 図1
【解決手段】複数の機能部で構成される電子機器のモジュールが、機能部を具備する様に分割され、分割された部分46,53,54,59はそれぞれベース28,29,30,31と基板44,51,52,57を有し、隣接する分割部が前記ベースと前記基板とが重合する部分33,34,41,42を有し、重合する部分は螺子止可能である。
【選択図】 図1
Description
【0001】
【発明の属する技術分野】
本発明は電子機器を構成するモジュールの構造に関するものである。
【0002】
【従来の技術】
大型或は多機能の電子機器では、製作上或はメンテナンス上から機能毎にモジュール化され、複数のモジュールがシャーシ、ラックに組込まれて構成されている。
【0003】
図7、図8は従来のモジュールを示すものである。
【0004】
ベース1に配線基板2が取付けられ、該配線基板2に枠状のフレーム3が取付けられ、更に該フレーム3に図示しないカバーが取付けられている。前記配線基板2には分配部4、電力増幅部5,6、合成部7等の所要の機能部が構成され、該分配部4、電力増幅部5,6、合成部7は前記フレーム3により仕切られ分離される構成となっている。
【0005】
次に、図9、図10は他の従来のモジュールを示すものである。
【0006】
該他の従来例では、機能部毎に分割されている。
【0007】
ベース10は機能部毎に分割された分配部ベース11、電力増幅部ベース12,13、合成部ベース14によりなり、前記分配部ベース11に分配部基板16が取付けられ、更に分配部カバー17が取付けられ、分配部15が構成され、前記電力増幅部ベース12には電力増幅部基板19が取付けられ電力増幅部18が構成され、同様に前記電力増幅部ベース13と電力増幅部基板22により電力増幅部21が構成され、前記合成部ベース14と合成部基板24、合成部カバー25により、合成部23が構成される。
【0008】
前記分配部ベース11、電力増幅部ベース12,13、合成部ベース14は図示していない結合プレートに固定され、一体化される様になっている。
【0009】
【発明が解決しようとする課題】
上記前者の従来例では、構造は簡単であるが、前記分配部4、電力増幅部5,6、合成部7等について個々に切分け、性能試験を行うことが難しく、又所定区間(例えば前記分配部4から電力増幅部5迄の回路等の回路特定区間)での性能を確認することが困難であった。更に、モジュール単体での安定した評価調整の測定を行う為には、モジュールを設計、製作する度に評価用の基板、治具を用意する必要が生じ、製品の開発時間、費用に影響を及していた。又、単体評価の結果を反映させる為には、単体評価を行ったモジュールをそのまま装置に実装する必要があった。
【0010】
上記後者の従来例では、各機能部個々に評価試験を行え、個々の性能チェックを行える等製作、メンテナンス上優位であったが、各機能部が分離されたこと、特に配線基板が分割したことで、接地性能の低下を招くこととなり、別途接地性能を確保する手段を講じなければならなかった。
【0011】
本発明は斯かる実情に鑑み、モジュールを分割し、製作容易性、メンテナンス性を向上すると共に充分な接地性能が得られる電子機器のモジュール構造を提供するものである。
【0012】
【課題を解決するための手段】
本発明は、複数の機能部で構成される電子機器のモジュールが、機能部を具備する様に分割され、分割された部分はそれぞれベースと基板を有し、隣接する分割部が前記ベースと前記基板とが重合する部分を有し、重合する部分は螺子止可能である電子機器のモジュール構造に関するものである
【0013】
【発明の実施の形態】
以下、図面を参照しつつ本発明の実施の形態を説明する。
【0014】
本発明では、電子機器のモジュールが機能部毎に分割されており、ベース27は機能部に対応する様分配部ベース28、電力増幅部ベース29,30、合成部ベース31に分割されている。
【0015】
前記分配部ベース28の一辺には2箇所に凸部33,34が形成され、又前記分配部ベース28の対辺には凸部35が形成されている。前記電力増幅部ベース29,30の一辺及び対辺にはそれぞれ凹部36,37及び凹部38,39が形成されている。前記合成部ベース31の一辺に凸部41,42を形成し、対辺に凸部43を形成する。
【0016】
前記分配部ベース28に分配部基板44が取付けられ、更に分配部カバー45が取付けられ、分配部46が構成される。前記分配部カバー45は少なくとも前記凸部33,34、前記凸部35に対応する部分(本実施の形態では4箇所)に凹部47,48,49,50が形成され、前記分配部基板44の前記凹部47,48,49,50の部分が露出する様になっている。
【0017】
前記電力増幅部ベース29、前記電力増幅部ベース30にはそれぞれ電力増幅部基板51,52が取付けられ、電力増幅部53,54が構成される。
【0018】
前記電力増幅部基板51は前記凹部36、前記凹部38を覆う形状を有し、該凹部36、該凹部38を覆う部分に止め孔55が穿設されている。前記電力増幅部基板52は凹部37,39を覆う形状を有し、該凹部37、該凹部39を覆う部分に止め孔56が穿設されている。
【0019】
前記合成部ベース31には合成部基板57が取付けられ、更に合成部カバー58が取付けられ、合成部59が構成される。前記合成部カバー58は前記分配部カバー45と同様な形状を有し、前記合成部基板57の一部を露出させる凹部61,62,63,64が形成されている。
【0020】
前記凸部33、前記凸部34を前記凹部36、前記凹部37に嵌合し、前記凸部41、凸部42を前記凹部38、凹部39に嵌合することで、前記分配部46、電力増幅部53、電力増幅部54、合成部59の位置関係が決定される。前記分配部ベース28、電力増幅部ベース29、電力増幅部ベース30、合成部ベース31を結合プレート66(図4参照)に固着することで一体化する。
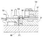
【0021】
又、前記電力増幅部基板51を前記止め孔55,55を通して前記凸部33,41に螺子67,68で固定し、前記電力増幅部基板52を前記止め孔56,56を通して前記凸部34、凸部42に螺子67,68で固定する。
【0022】
各機能部間の結合、例えば、図3、図4に於いて、前記電力増幅部53と合成部59との係合状態を説明する。
【0023】
前記電力増幅部基板51の裏面で前記凸部41に当接する部分はアースパターン69が形成されており、前記螺子68で前記電力増幅部基板51を前記凸部41に固着することで、前記アースパターン69が前記凸部41に圧着され、前記電力増幅部基板51と前記合成部59間のアースが確保される。又、前記電力増幅部54と前記合成部59、及び前記分配部46と前記電力増幅部53、電力増幅部54についても同様にアースが確保される。
【0024】
次に、前記各機能部についての評価試験を行う場合について説明する。
【0025】
図5は前記電力増幅部53、又は前記電力増幅部54を単体で評価試験を行う場合を示しており、前記電力増幅部ベース29の両端に接続治具71,71が取付けられる。
【0026】
該接続治具71は前記電力増幅部ベース29に固定可能なコネクタ台72にコネクタ73が取付けられたものであり、該コネクタ73は測定器等の評価試験装置に接続可能であり、又前記電力増幅部基板51の回路にも接続される様になっている。而して、前記電力増幅部53単体の評価が行える。
【0027】
又、複数の機能部を組合わせた状態でも評価試験が可能である。
【0028】
図6で示す様に、前記電力増幅部53、前記電力増幅部54、前記合成部59を組合わせ、更に別途電力増幅部74を追加した構成で評価試験が行える様になっている。尚、前記電力増幅部53,54と前記分配部46との組合わせで評価試験が可能であることは言う迄もない。
【0029】
尚、上記実施の形態では、例えば前記電力増幅部ベース29に凹部を形成し、前記分配部ベース28、合成部ベース31と係合したが、要は各機能部の基板と隣接する他のベースとが一部重合し、螺子で固着できれば良く、連設するベースに重合する凸部を基板に形成し、該基板の凸部をベースに螺子止する様にしてもよい。
【0030】
【発明の効果】
以上述べた如く本発明によれば、複数の機能部で構成される電子機器のモジュールが、機能部を具備する様に分割され、分割された部分はそれぞれベースと基板を有し、隣接する分割部が前記ベースと前記基板とが重合する部分を有し、重合する部分は螺子止可能であるので、モジュールが機能に応じて分割でき、製作容易性、メンテナンス性が向上すると共に隣接するベースと基板とが螺子止されるので、充分な接地性能が得られるという優れた効果を発揮する。
【図面の簡単な説明】
【図1】本発明の実施の形態を示す分解斜視図である。
【図2】本発明の実施の形態に使用されるベースの斜視図である。
【図3】本発明の実施の形態の機能部の結合箇所の拡大斜視図である。
【図4】該結合部分の断面図である。
【図5】本発明の実施の形態に於ける単一の機能部の試験を行う場合の斜視図である。
【図6】本発明の実施の形態に於ける複数の機能部組合わせの試験を行う場合の斜視図である。
【図7】従来例の斜視図である。
【図8】該従来例の分解斜視図である。
【図9】他の従来例の分解斜視図である。
【図10】該他の従来例に使用されるベースの斜視図である。
【符号の説明】
28 分配部ベース
29 電力増幅部ベース
30 電力増幅部ベース
31 合成部ベース
33 凸部
34 凸部
36 凹部
37 凹部
38 凹部
39 凹部
41 凸部
42 凸部
44 分配部基板
46 分配部
51 電力増幅部基板
52 電力増幅部基板
53 電力増幅部
54 電力増幅部
57 合成部基板
59 合成部
【発明の属する技術分野】
本発明は電子機器を構成するモジュールの構造に関するものである。
【0002】
【従来の技術】
大型或は多機能の電子機器では、製作上或はメンテナンス上から機能毎にモジュール化され、複数のモジュールがシャーシ、ラックに組込まれて構成されている。
【0003】
図7、図8は従来のモジュールを示すものである。
【0004】
ベース1に配線基板2が取付けられ、該配線基板2に枠状のフレーム3が取付けられ、更に該フレーム3に図示しないカバーが取付けられている。前記配線基板2には分配部4、電力増幅部5,6、合成部7等の所要の機能部が構成され、該分配部4、電力増幅部5,6、合成部7は前記フレーム3により仕切られ分離される構成となっている。
【0005】
次に、図9、図10は他の従来のモジュールを示すものである。
【0006】
該他の従来例では、機能部毎に分割されている。
【0007】
ベース10は機能部毎に分割された分配部ベース11、電力増幅部ベース12,13、合成部ベース14によりなり、前記分配部ベース11に分配部基板16が取付けられ、更に分配部カバー17が取付けられ、分配部15が構成され、前記電力増幅部ベース12には電力増幅部基板19が取付けられ電力増幅部18が構成され、同様に前記電力増幅部ベース13と電力増幅部基板22により電力増幅部21が構成され、前記合成部ベース14と合成部基板24、合成部カバー25により、合成部23が構成される。
【0008】
前記分配部ベース11、電力増幅部ベース12,13、合成部ベース14は図示していない結合プレートに固定され、一体化される様になっている。
【0009】
【発明が解決しようとする課題】
上記前者の従来例では、構造は簡単であるが、前記分配部4、電力増幅部5,6、合成部7等について個々に切分け、性能試験を行うことが難しく、又所定区間(例えば前記分配部4から電力増幅部5迄の回路等の回路特定区間)での性能を確認することが困難であった。更に、モジュール単体での安定した評価調整の測定を行う為には、モジュールを設計、製作する度に評価用の基板、治具を用意する必要が生じ、製品の開発時間、費用に影響を及していた。又、単体評価の結果を反映させる為には、単体評価を行ったモジュールをそのまま装置に実装する必要があった。
【0010】
上記後者の従来例では、各機能部個々に評価試験を行え、個々の性能チェックを行える等製作、メンテナンス上優位であったが、各機能部が分離されたこと、特に配線基板が分割したことで、接地性能の低下を招くこととなり、別途接地性能を確保する手段を講じなければならなかった。
【0011】
本発明は斯かる実情に鑑み、モジュールを分割し、製作容易性、メンテナンス性を向上すると共に充分な接地性能が得られる電子機器のモジュール構造を提供するものである。
【0012】
【課題を解決するための手段】
本発明は、複数の機能部で構成される電子機器のモジュールが、機能部を具備する様に分割され、分割された部分はそれぞれベースと基板を有し、隣接する分割部が前記ベースと前記基板とが重合する部分を有し、重合する部分は螺子止可能である電子機器のモジュール構造に関するものである
【0013】
【発明の実施の形態】
以下、図面を参照しつつ本発明の実施の形態を説明する。
【0014】
本発明では、電子機器のモジュールが機能部毎に分割されており、ベース27は機能部に対応する様分配部ベース28、電力増幅部ベース29,30、合成部ベース31に分割されている。
【0015】
前記分配部ベース28の一辺には2箇所に凸部33,34が形成され、又前記分配部ベース28の対辺には凸部35が形成されている。前記電力増幅部ベース29,30の一辺及び対辺にはそれぞれ凹部36,37及び凹部38,39が形成されている。前記合成部ベース31の一辺に凸部41,42を形成し、対辺に凸部43を形成する。
【0016】
前記分配部ベース28に分配部基板44が取付けられ、更に分配部カバー45が取付けられ、分配部46が構成される。前記分配部カバー45は少なくとも前記凸部33,34、前記凸部35に対応する部分(本実施の形態では4箇所)に凹部47,48,49,50が形成され、前記分配部基板44の前記凹部47,48,49,50の部分が露出する様になっている。
【0017】
前記電力増幅部ベース29、前記電力増幅部ベース30にはそれぞれ電力増幅部基板51,52が取付けられ、電力増幅部53,54が構成される。
【0018】
前記電力増幅部基板51は前記凹部36、前記凹部38を覆う形状を有し、該凹部36、該凹部38を覆う部分に止め孔55が穿設されている。前記電力増幅部基板52は凹部37,39を覆う形状を有し、該凹部37、該凹部39を覆う部分に止め孔56が穿設されている。
【0019】
前記合成部ベース31には合成部基板57が取付けられ、更に合成部カバー58が取付けられ、合成部59が構成される。前記合成部カバー58は前記分配部カバー45と同様な形状を有し、前記合成部基板57の一部を露出させる凹部61,62,63,64が形成されている。
【0020】
前記凸部33、前記凸部34を前記凹部36、前記凹部37に嵌合し、前記凸部41、凸部42を前記凹部38、凹部39に嵌合することで、前記分配部46、電力増幅部53、電力増幅部54、合成部59の位置関係が決定される。前記分配部ベース28、電力増幅部ベース29、電力増幅部ベース30、合成部ベース31を結合プレート66(図4参照)に固着することで一体化する。
【0021】
又、前記電力増幅部基板51を前記止め孔55,55を通して前記凸部33,41に螺子67,68で固定し、前記電力増幅部基板52を前記止め孔56,56を通して前記凸部34、凸部42に螺子67,68で固定する。
【0022】
各機能部間の結合、例えば、図3、図4に於いて、前記電力増幅部53と合成部59との係合状態を説明する。
【0023】
前記電力増幅部基板51の裏面で前記凸部41に当接する部分はアースパターン69が形成されており、前記螺子68で前記電力増幅部基板51を前記凸部41に固着することで、前記アースパターン69が前記凸部41に圧着され、前記電力増幅部基板51と前記合成部59間のアースが確保される。又、前記電力増幅部54と前記合成部59、及び前記分配部46と前記電力増幅部53、電力増幅部54についても同様にアースが確保される。
【0024】
次に、前記各機能部についての評価試験を行う場合について説明する。
【0025】
図5は前記電力増幅部53、又は前記電力増幅部54を単体で評価試験を行う場合を示しており、前記電力増幅部ベース29の両端に接続治具71,71が取付けられる。
【0026】
該接続治具71は前記電力増幅部ベース29に固定可能なコネクタ台72にコネクタ73が取付けられたものであり、該コネクタ73は測定器等の評価試験装置に接続可能であり、又前記電力増幅部基板51の回路にも接続される様になっている。而して、前記電力増幅部53単体の評価が行える。
【0027】
又、複数の機能部を組合わせた状態でも評価試験が可能である。
【0028】
図6で示す様に、前記電力増幅部53、前記電力増幅部54、前記合成部59を組合わせ、更に別途電力増幅部74を追加した構成で評価試験が行える様になっている。尚、前記電力増幅部53,54と前記分配部46との組合わせで評価試験が可能であることは言う迄もない。
【0029】
尚、上記実施の形態では、例えば前記電力増幅部ベース29に凹部を形成し、前記分配部ベース28、合成部ベース31と係合したが、要は各機能部の基板と隣接する他のベースとが一部重合し、螺子で固着できれば良く、連設するベースに重合する凸部を基板に形成し、該基板の凸部をベースに螺子止する様にしてもよい。
【0030】
【発明の効果】
以上述べた如く本発明によれば、複数の機能部で構成される電子機器のモジュールが、機能部を具備する様に分割され、分割された部分はそれぞれベースと基板を有し、隣接する分割部が前記ベースと前記基板とが重合する部分を有し、重合する部分は螺子止可能であるので、モジュールが機能に応じて分割でき、製作容易性、メンテナンス性が向上すると共に隣接するベースと基板とが螺子止されるので、充分な接地性能が得られるという優れた効果を発揮する。
【図面の簡単な説明】
【図1】本発明の実施の形態を示す分解斜視図である。
【図2】本発明の実施の形態に使用されるベースの斜視図である。
【図3】本発明の実施の形態の機能部の結合箇所の拡大斜視図である。
【図4】該結合部分の断面図である。
【図5】本発明の実施の形態に於ける単一の機能部の試験を行う場合の斜視図である。
【図6】本発明の実施の形態に於ける複数の機能部組合わせの試験を行う場合の斜視図である。
【図7】従来例の斜視図である。
【図8】該従来例の分解斜視図である。
【図9】他の従来例の分解斜視図である。
【図10】該他の従来例に使用されるベースの斜視図である。
【符号の説明】
28 分配部ベース
29 電力増幅部ベース
30 電力増幅部ベース
31 合成部ベース
33 凸部
34 凸部
36 凹部
37 凹部
38 凹部
39 凹部
41 凸部
42 凸部
44 分配部基板
46 分配部
51 電力増幅部基板
52 電力増幅部基板
53 電力増幅部
54 電力増幅部
57 合成部基板
59 合成部
Claims (1)
- 複数の機能部で構成される電子機器のモジュールが、機能部を具備する様に分割され、分割された部分はそれぞれベースと基板を有し、隣接する分割部が前記ベースと前記基板とが重合する部分を有し、重合する部分は螺子止可能であることを特徴とする電子機器のモジュール構造。
Priority Applications (1)
| Application Number | Priority Date | Filing Date | Title |
|---|---|---|---|
| JP2002317979A JP2004153105A (ja) | 2002-10-31 | 2002-10-31 | 電子機器のモジュール構造 |
Applications Claiming Priority (1)
| Application Number | Priority Date | Filing Date | Title |
|---|---|---|---|
| JP2002317979A JP2004153105A (ja) | 2002-10-31 | 2002-10-31 | 電子機器のモジュール構造 |
Publications (1)
| Publication Number | Publication Date |
|---|---|
| JP2004153105A true JP2004153105A (ja) | 2004-05-27 |
Family
ID=32461235
Family Applications (1)
| Application Number | Title | Priority Date | Filing Date |
|---|---|---|---|
| JP2002317979A Pending JP2004153105A (ja) | 2002-10-31 | 2002-10-31 | 電子機器のモジュール構造 |
Country Status (1)
| Country | Link |
|---|---|
| JP (1) | JP2004153105A (ja) |
-
2002
- 2002-10-31 JP JP2002317979A patent/JP2004153105A/ja active Pending
Similar Documents
| Publication | Publication Date | Title |
|---|---|---|
| KR100270869B1 (ko) | 3차원복합입체회로기판 | |
| IE950524A1 (en) | Dual pattern microprocessor package footprint | |
| US7695314B2 (en) | Connector module | |
| JP2004153105A (ja) | 電子機器のモジュール構造 | |
| JPH0639495Y2 (ja) | 基板取付装置 | |
| US20020141169A1 (en) | Electronic apparatus having a plurality of printed board layers | |
| JPS62155585A (ja) | 電子機器 | |
| US5424921A (en) | Electronic assembly incorporating a three-dimensional circuit board | |
| JPH0547509Y2 (ja) | ||
| JP3004892U (ja) | パッケージ実装装置 | |
| JP4533093B2 (ja) | モジュール回路ユニット及びそれを搭載する電子機器 | |
| JPH01274496A (ja) | プリント基板回路接続装置 | |
| JPH0326658Y2 (ja) | ||
| JPH07302995A (ja) | 複数プリント板連結構造 | |
| TW202347877A (zh) | 超寬頻天線模組 | |
| JP2600974Y2 (ja) | センサー付き電子時計 | |
| JP3502941B2 (ja) | タイマ装置 | |
| JPH0132797Y2 (ja) | ||
| CN119428520A (zh) | 用于车辆的ab ecu单元和车辆安全组件 | |
| JP2004349478A (ja) | 電子機器 | |
| JP2000294952A (ja) | 筺 体 | |
| CN112714371A (zh) | 平板静电音箱 | |
| KR20060040389A (ko) | 디스플레이장치 | |
| US20070125573A1 (en) | Printed circuit board | |
| JPH09167895A (ja) | 電気機器の保護カバー付回路基板収容構造 |