JP2004123750A - 鼻腔洗浄薬組成物およびこれを用いた鼻腔洗浄器具 - Google Patents
鼻腔洗浄薬組成物およびこれを用いた鼻腔洗浄器具 Download PDFInfo
- Publication number
- JP2004123750A JP2004123750A JP2003344522A JP2003344522A JP2004123750A JP 2004123750 A JP2004123750 A JP 2004123750A JP 2003344522 A JP2003344522 A JP 2003344522A JP 2003344522 A JP2003344522 A JP 2003344522A JP 2004123750 A JP2004123750 A JP 2004123750A
- Authority
- JP
- Japan
- Prior art keywords
- composition
- nasal cavity
- nasal
- oil
- outlet
- Prior art date
- Legal status (The legal status is an assumption and is not a legal conclusion. Google has not performed a legal analysis and makes no representation as to the accuracy of the status listed.)
- Pending
Links
Images
Classifications
-
- A—HUMAN NECESSITIES
- A61—MEDICAL OR VETERINARY SCIENCE; HYGIENE
- A61M—DEVICES FOR INTRODUCING MEDIA INTO, OR ONTO, THE BODY; DEVICES FOR TRANSDUCING BODY MEDIA OR FOR TAKING MEDIA FROM THE BODY; DEVICES FOR PRODUCING OR ENDING SLEEP OR STUPOR
- A61M3/00—Medical syringes, e.g. enemata; Irrigators
- A61M3/02—Enemata; Irrigators
- A61M3/0233—Enemata; Irrigators characterised by liquid supply means, e.g. from pressurised reservoirs
- A61M3/0254—Enemata; Irrigators characterised by liquid supply means, e.g. from pressurised reservoirs the liquid being pumped
- A61M3/0262—Enemata; Irrigators characterised by liquid supply means, e.g. from pressurised reservoirs the liquid being pumped manually, e.g. by squeezing a bulb
-
- A—HUMAN NECESSITIES
- A61—MEDICAL OR VETERINARY SCIENCE; HYGIENE
- A61H—PHYSICAL THERAPY APPARATUS, e.g. DEVICES FOR LOCATING OR STIMULATING REFLEX POINTS IN THE BODY; ARTIFICIAL RESPIRATION; MASSAGE; BATHING DEVICES FOR SPECIAL THERAPEUTIC OR HYGIENIC PURPOSES OR SPECIFIC PARTS OF THE BODY
- A61H35/00—Baths for specific parts of the body
- A61H35/04—Baths for specific parts of the body for the nose
-
- A—HUMAN NECESSITIES
- A61—MEDICAL OR VETERINARY SCIENCE; HYGIENE
- A61K—PREPARATIONS FOR MEDICAL, DENTAL OR TOILETRY PURPOSES
- A61K36/00—Medicinal preparations of undetermined constitution containing material from algae, lichens, fungi or plants, or derivatives thereof, e.g. traditional herbal medicines
- A61K36/18—Magnoliophyta (angiosperms)
- A61K36/185—Magnoliopsida (dicotyledons)
-
- A—HUMAN NECESSITIES
- A61—MEDICAL OR VETERINARY SCIENCE; HYGIENE
- A61K—PREPARATIONS FOR MEDICAL, DENTAL OR TOILETRY PURPOSES
- A61K36/00—Medicinal preparations of undetermined constitution containing material from algae, lichens, fungi or plants, or derivatives thereof, e.g. traditional herbal medicines
- A61K36/18—Magnoliophyta (angiosperms)
- A61K36/185—Magnoliopsida (dicotyledons)
- A61K36/53—Lamiaceae or Labiatae (Mint family), e.g. thyme, rosemary or lavender
- A61K36/534—Mentha (mint)
-
- A—HUMAN NECESSITIES
- A61—MEDICAL OR VETERINARY SCIENCE; HYGIENE
- A61K—PREPARATIONS FOR MEDICAL, DENTAL OR TOILETRY PURPOSES
- A61K36/00—Medicinal preparations of undetermined constitution containing material from algae, lichens, fungi or plants, or derivatives thereof, e.g. traditional herbal medicines
- A61K36/18—Magnoliophyta (angiosperms)
- A61K36/185—Magnoliopsida (dicotyledons)
- A61K36/61—Myrtaceae (Myrtle family), e.g. teatree or eucalyptus
-
- A—HUMAN NECESSITIES
- A61—MEDICAL OR VETERINARY SCIENCE; HYGIENE
- A61K—PREPARATIONS FOR MEDICAL, DENTAL OR TOILETRY PURPOSES
- A61K9/00—Medicinal preparations characterised by special physical form
- A61K9/0012—Galenical forms characterised by the site of application
- A61K9/0043—Nose
-
- A—HUMAN NECESSITIES
- A61—MEDICAL OR VETERINARY SCIENCE; HYGIENE
- A61M—DEVICES FOR INTRODUCING MEDIA INTO, OR ONTO, THE BODY; DEVICES FOR TRANSDUCING BODY MEDIA OR FOR TAKING MEDIA FROM THE BODY; DEVICES FOR PRODUCING OR ENDING SLEEP OR STUPOR
- A61M2210/00—Anatomical parts of the body
- A61M2210/06—Head
- A61M2210/0618—Nose
Landscapes
- Health & Medical Sciences (AREA)
- Natural Medicines & Medicinal Plants (AREA)
- Life Sciences & Earth Sciences (AREA)
- Veterinary Medicine (AREA)
- Public Health (AREA)
- General Health & Medical Sciences (AREA)
- Animal Behavior & Ethology (AREA)
- Epidemiology (AREA)
- Pharmacology & Pharmacy (AREA)
- Chemical & Material Sciences (AREA)
- Engineering & Computer Science (AREA)
- Medicinal Chemistry (AREA)
- Botany (AREA)
- Mycology (AREA)
- Microbiology (AREA)
- Medical Informatics (AREA)
- Biotechnology (AREA)
- Alternative & Traditional Medicine (AREA)
- Otolaryngology (AREA)
- Hematology (AREA)
- Heart & Thoracic Surgery (AREA)
- Biomedical Technology (AREA)
- Anesthesiology (AREA)
- Pain & Pain Management (AREA)
- Physical Education & Sports Medicine (AREA)
- Rehabilitation Therapy (AREA)
- Medicinal Preparation (AREA)
- Infusion, Injection, And Reservoir Apparatuses (AREA)
- Medicines Containing Plant Substances (AREA)
Abstract
【課題】鼻腔内部を洗浄するための組成物および、この組成物を投与するための鼻腔洗浄器具を提案する。
【解決手段】本発明による芳香性組成物は鼻腔へ投与するものであって、胡麻油および、ペパーミント油および/またはユーカリ油のような揮発性の油と混合した生理食塩水担体である。この組成物を鼻腔洗浄のために注入する前にシリンジ内へ吸い込ませ、洗浄器具の出口部分を鼻孔を塞ぐように適合させる。
【選択図】図2
【解決手段】本発明による芳香性組成物は鼻腔へ投与するものであって、胡麻油および、ペパーミント油および/またはユーカリ油のような揮発性の油と混合した生理食塩水担体である。この組成物を鼻腔洗浄のために注入する前にシリンジ内へ吸い込ませ、洗浄器具の出口部分を鼻孔を塞ぐように適合させる。
【選択図】図2
Description
本願は、2002年6月4日付の米国特許出願第10/69,595号の一部継続出願である。
本発明は、鼻腔へ投与する薬剤組成物および、そのための鼻腔洗浄器具に関するものである。
鼻洗浄は、アレルギーや感染、鼻の手術後の障害といったトラブルを緩和し、減少させる。なぜならば、洗浄がアレルゲン(アレルギー誘発物質)や微生物(ウィルス、バクテリア)、人体の副産物(膿、粘液)や塵、煤状物質を洗い流すからである。炎症による腫れが減少し、鼻の手術後のかさぶたも緩和され、それによって治癒過程も加速されることとなる。食塩水による鼻洗浄は公知の方法であり、少なくとも100年に亘って医師により推奨されている。
市販されている公知の鼻腔洗浄器具は、複数回使用のための陶製容器(potter container)であるが、この容器は高価で、陶製の出口部と、それぞれ大西洋から取り出した食塩水および水を予め詰めた二つの使い捨て可能な可変部分を有しており、勿論、通常の使用に対しては非常に高価なものとなり、出口部は十分に機能せず、それゆえ鼻腔を満たすことができず、また鼻腔洗浄器具中に予め満たした食塩水しか使用することができない。
本発明の第一の目的は、迅速で使い心地が良く、鼻腔内を液体で満たし得る良好な機能を有する鼻腔洗浄器具の出口部分を提供することにある。
本発明の第二の目的は、複数回使用のための安価で単純かつ良好な機能を有する鼻腔洗浄器具を提供することにある。
第一の目的は、出口端部、接続端部および、これら端部の間にあり、絞り部と拡大した出口とを有するノズル型のチャンネルを具えることを特徴とする、鼻腔洗浄器具の出口部分により達成される。この出口部分は、チャンネル内を圧送される液体が乱流となってチャンネルから放出され、それによって液体が鼻腔を迅速に満たし、同時に細いジェット硫の、不快感を与えるものとなる鼻腔内の粘膜への直接散布がなされることを防ぐ。
出口部分は、円周方向に増加する部分、例えば水滴型または風船型の部分を出口端部に有することが望ましく、それによって出口部分は鼻孔の大きさにかかわらず、鼻孔の縁部をシールすることとなり、液体が反対に漏れ出てしまうことが無く、また出口部分の形状が鼻孔の最も狭い部分であるアーチ状部(nostril arch)を開く助けとなるという利点を有するものとなる。
出口部分は、シリコーンゴムのような、鼻に対して柔らかく、快適な感触を与える可撓性材料から製造することが望ましい。
出口部分の接続端部でのチャンネルの形状は鼻腔洗浄器具の接続手段に適合したもの、例えば端部で最も直径が大きくなる円錐形とすることが望ましく、それによって出口部分は円錐形の先端部を有するシリンジと嵌合することとなる。
第二の目的は、本発明による出口部分と、洗浄液のためのシリンジまたは圧縮性バルーンとを具え、それによって出口部分を、接続手段と共に設けたシリンジまたはバルーンの出口開口部に設けた鼻腔洗浄器具によって達成される。二種類の内いずれか一方に係る鼻腔洗浄器具は単純で安価に製造でき、しかも使用が簡単であり、特にシリンジの変形は、鼻孔の洗浄前に当該シリンジ内に洗浄液を吸引することが容易なものとし、かつ、特にシリンジの変形は当該シリンジを清浄に保つことを容易なものとする。
勿論、出口部分を他のあらゆる形式の鼻腔洗浄器具と接続することとしても良い。
洗浄液は、例えば食塩水、油の乳液もしくは薬剤を含む食塩水とすることができる。より詳細には、本発明による芳香性の組成物は鼻孔へ投与するためのものであり、胡麻油および、ペパーミント油および/またはユーカリ油のような揮発性の油と混合した生理食塩水担体である。この組成物を注入する前にシリンジ内へ吸い込ませ、出口部分を鼻孔を塞ぐように適合させる。
ここで本発明を、添付図面と共に例示的な実施形態により説明する。
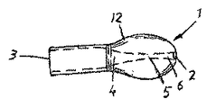
図1は出口部分1を示すものであり、この出口部分1は出口端部2および接続端部3を具える。これら端部2,3の間にチャンネル4を配置する。チャンネル4はノズル形であり、断面中の絞り部5および拡大した出口部6を示す。接続端部3においてチャンネル4は、この接続端部を配置する鼻腔洗浄器具の接続形式に適合させた形状を有している。図示の場合、チャンネル4は、円錐状に先細となる端部を有するシリンジ、例えばモノジェクトシリンジ(a monoject syringe)の端部と嵌合するように接続端部がより大きな直径を有する円錐形状をなす。
出口部分1は棒付き飴(lolly)を想起させるような外形を有する。すなわち、接続端部3が棒であり、出口端部2が棒の先に付いた飴である。出口端部2は円周方向に拡大した部分12を有しており、この部分は風船型あるいは水滴型であることが望ましい。すなわち、出口部分の外径は出口端部2から内方へと所定距離だけ増加し、その後外径は減少する。これは、出口部分1を短い距離で鼻孔内へ導入することができ、同時に、増加する外径が鼻孔の開口部を出口部分1で完全に塞ぐこととなり、それによって出口部分1と鼻孔との間をシールすることとなる。こうしたデザインはまた、出口部分1があらゆる異なる大きさの鼻孔に適合する結果をもたらす。出口部分1はシリコーンゴム製とすることが望ましい。
鼻孔洗浄液を、出口部分1内へ圧送、例えばシリンジからチャンネル4へ圧送する場合、液体が絞り部5を通過すると圧力が増加し、その後拡大した出口に達するときの液体の速度が増加することとなり、それによって流れが乱流となる。
図2は、本発明の第一の実施形態に係る鼻孔洗浄器具7を示すものである。この器具はシリンジ9の先端部8に設けた出口部分1を具え、また図示の場合、シリンジは円錐形の先端部8を有している。
図2は、本発明の第二の実施形態に係る鼻孔洗浄器具を示すものである。この器具は風船型の本体11の中空先端部10に設けた出口部分1を具える。風船型の本体11は、その内部に収容した液体を中空先端部10を通して出口部分から押し出すことができるように圧縮性を有している。
出口部分の使用時、なま暖かい洗浄液が負圧によってシリンジ9またはバルーン11内へ引き込まれ、それによって、洗浄液は出口部分1を通して押し出され、さらには使用者の鼻孔へと導入される。
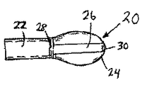
図4を参照すると、本発明の第三の実施形態に係るシリコーン製出口部分20は中空の接続端部22および拡大した風船型の外側端部24を有する。外側端部24は、その内部に規定されたチャンネル26を有し、このチャンネル26は接続端部22の端部28から、外側端部24の外側先端部30まで延在する。チャンネル26は直管状の内壁を有することが好ましく、それによってチャンネル26は一定の内径または、一定の割合で減少あるいは増加する内径のいずれかを有することとなる。勿論、必要に応じてチャンネル26を直径可変としても良い。チャンネル26は先端部30から端部28へと延在し、そのため先端部30は中空の接続端部の内部と流体で連通することとなる。上述したように、外側端部20は、図2に示すシリンジ9のような適切なシリンジ器具と接続することができ、それによって適切な薬剤を使用者の鼻孔の一方の内部へ注入することができる。一旦薬剤がシリンジ9へ引き込まれると、シリコーン製部分20は鼻孔内部または鼻の底部に対してシールされ、薬剤に含まれる溶液がシリンジから注入される。部分20は幾分かの空気を吸い上げることが望ましく、それによって注入される液体が乱流となり、単なる真っ直ぐな流れとはならない。
本発明における好適な薬剤組成物は、鼻への投薬のための多くの基本的な成分を含むものである。この組成物は治療面で効果を有する、多数の選択された、活性を有する芳香性物質を含む。好適な成分は、食塩、胡麻油および、ペパーミント油またはユーカリ油のような揮発性の油を含む。これら組成物は水または他の適切な液体に溶解させても良い。より詳細には、薬剤組成物は微細に粉砕化した食塩、例えば塩化ナトリウム(NaCl)またはあらゆる他の適切な食塩を液体、例えば水と共に具え、これは薬剤としての条件を満たす生理食塩水担体として機能する。生理食塩水担体は生理学的に人体に適合するものである。この適合性は、使用者の快適さおよび、鼻粘膜あるいは鼻孔内の粘膜の損傷を避けるために重要である。生理食塩水担体は、0.1〜約99.4重量%の範囲を取ることができる。溶液内の塩分は約0.5%〜約1.9%の濃度である。より望ましくは、食塩の量は0.8%〜1.0%であり、人体の塩分濃度に非常に近い約0.9重量%が最も望ましい。
本発明における第一の基本的な成分は、胡麻油または他のあらゆる潤滑用の油物質である。胡麻油は低温絞りによる油を用いることができ、この油は抗酸化物質として知られているビタミンEを含んでいる。抗酸化物質は、体内で生成される不所望の物質を排除することに利用できる。抗酸化物質は、体内に存在し得るフリーラジカルO2の有害分子を中和するのに有用なものとなり、それによって酸素が中和される。胡麻油はまた、リノール酸のようなトリグリセリドを大量に含んでいるが、このトリグリセリドは粘膜の細胞の外側部分に自然に含まれているものである。胡麻油はさらに、粘膜の潤滑と、粘膜の不所望の乾燥を防ぐために使用することもできる。完全に従来式の食塩溶液による鼻の洗浄は、粘膜を乾燥させる傾向がある。第一の胡麻油成分は約0.02%〜約0.10%、望ましくは約0.03%〜0.07%であり、0.05重量%が最も望ましい。第一の成分の添加量が多すぎた場合、第一の成分を水に溶解させることが困難となるであろう。不十分な量で第一の成分を使用した場合、第一の成分の殺菌作用および消炎効果が失われることとなる。
本発明における第二の成分は芳香性の殺菌成分を具え、この成分は洗浄効果と、有害なバクテリアの過剰な成長または発生を防ぐ効果を有する。第二の成分は乾燥した粘膜の消炎とむくみを減少させるものである。この成分は、ペパーミント油および/またはユーカリ油のような、本質的に揮発性の油である。第二の成分は、組成物中に0.003%〜約0.040%含まれる。より詳細には、第二の成分がペパーミントの場合、この成分は約0.005%〜0.040%、望ましくは約0.012%〜0.020%含まれ、約0.016重量%含まれることが最も望ましい。第二の成分がユーカリ油の場合、この成分は約0.003%〜0.020%、望ましくは約0.006%〜0.010%含まれ、0.008重量%含まれることが最も望ましい。第二の成分の使用量が過剰となる場合、使用者は溶液が非常に刺激が強いと感じるであろう。
本発明による組成物は、紛状、錠剤あるいは他のあらゆる適切な形で提供することができる。以下に示す例は、本発明の範囲内にある、さらなる実施形態を示すものである。これらの例は、実例を示すために個別に与えているが、本発明を限定するものであると解釈されるべきものではなく、本発明の精神および範囲を外れること無しに多くの変形例が可能である。
下記の成分を混合して鼻腔用薬剤組成物を用意した。
原料 重量%
塩化ナトリウム 0.90%
胡麻油 0.05%
ユーカリ油 0.008%
水 100.00%
原料 重量%
塩化ナトリウム 0.90%
胡麻油 0.05%
ユーカリ油 0.008%
水 100.00%
錠剤または適切な量の紛状物質をグラス一杯の水に添加し、水に溶けるようにした。組成物が水に十分に溶けることを確実にするために、適切な量の混合を適宜行った。溶解した組成物を鼻腔洗浄器具により鼻孔内部へ注入する。
下記の成分を混合して鼻腔用薬剤組成物を用意した。
原料 重量%
塩化ナトリウム 0.9%
胡麻油 0.05%
ペパーミント油 0.016%
水 100.0%
原料 重量%
塩化ナトリウム 0.9%
胡麻油 0.05%
ペパーミント油 0.016%
水 100.0%
この組成物を、溶解した組成物を鼻腔洗浄器具により鼻孔内部へ注入するのに先立って水に溶解する。
好適な組成および実施形態によって本発明を説明したが、以下の請求項の精神および範囲から離れること無しに幾つかの置換および交換が可能であることを理解されたい。
1,20 出口部分
2 出口端部
3,22 接続端部
4,26 チャンネル
5 絞り部
6 出口部
8 シリンジ9の先端部
9 シリンジ
10 器具本体11の中空先端部
11 器具本体(バルーン)
24 外側端部
28 接続端部22の端部
30 外側端部24の先端部
2 出口端部
3,22 接続端部
4,26 チャンネル
5 絞り部
6 出口部
8 シリンジ9の先端部
9 シリンジ
10 器具本体11の中空先端部
11 器具本体(バルーン)
24 外側端部
28 接続端部22の端部
30 外側端部24の先端部
Claims (9)
- 鼻腔へ投与するための芳香性組成物であって、実質上、
0.5%〜1.9%の食塩を含む生理食塩水担体0.1%〜99.4%、
胡麻油0.02%〜0.10%および、
ペパーミント油およびユーカリ油からなる組から選択した揮発性の油性物質0.003%〜0.040%
からなる組成物。 - 請求項1記載の組成物において、
前記食塩が塩化ナトリウムである、鼻腔へ投与するための芳香性組成物。 - 請求項1記載の組成物において、
前記胡麻油が0.03%〜0.07%である、鼻腔へ投与するための芳香性組成物。 - 請求項1記載の組成物において、
前記揮発性の油性物質を0.006%〜0.010%のユーカリ油で構成する、鼻腔へ投与するための芳香性組成物。 - 請求項1記載の組成物において、
前記揮発性の油性物質を0.012%〜0.020%のペパーミント油で構成する、鼻腔へ投与するための芳香性組成物。 - 請求項1記載の組成物において、
食塩を0.9%含む、鼻腔へ投与するための芳香性組成物。 - 芳香性組成物を鼻腔内へ投与する方法であって、
0.03%〜0.07%の胡麻油と、0.003%〜0.040%のペパーミント油およびユーカリ油からなる組から選択した揮発性の油性物質と、0.8%〜1.0%の食塩を含む生理食塩水担体を具える芳香性組成物を調製する過程と、
ノズル型のチャンネルを有する鼻腔洗浄器具内に前記組成物を導入する過程と、
前記器具の少なくとも一部を鼻腔内に配置する過程と、
鼻腔を洗浄するために前記器具から前記組成物を前記鼻腔内へ投与する過程とを具える方法。 - 請求項7記載の方法において、
前記鼻腔洗浄器具が風船型の拡大した周縁部を有し、
鼻腔内へ前記風船型の周縁部を挿入して前記鼻腔を該周縁部でシールする過程をさらに具える、芳香性組成物を鼻腔内へ投与する方法。 - 請求項7記載の方法において、
前記組成物を鼻腔内へ注入する過程をさらに具える、芳香性組成物を鼻腔内へ投与する方法。
Applications Claiming Priority (1)
| Application Number | Priority Date | Filing Date | Title |
|---|---|---|---|
| US10/264,096 US20030225394A1 (en) | 2002-06-04 | 2002-10-02 | Pharmaceutical composition and nasal rinsing device therefor |
Publications (1)
| Publication Number | Publication Date |
|---|---|
| JP2004123750A true JP2004123750A (ja) | 2004-04-22 |
Family
ID=32296815
Family Applications (1)
| Application Number | Title | Priority Date | Filing Date |
|---|---|---|---|
| JP2003344522A Pending JP2004123750A (ja) | 2002-10-02 | 2003-10-02 | 鼻腔洗浄薬組成物およびこれを用いた鼻腔洗浄器具 |
Country Status (2)
| Country | Link |
|---|---|
| US (2) | US20030225394A1 (ja) |
| JP (1) | JP2004123750A (ja) |
Cited By (2)
| Publication number | Priority date | Publication date | Assignee | Title |
|---|---|---|---|---|
| CN110538354A (zh) * | 2019-09-06 | 2019-12-06 | 西安交通大学医学院第一附属医院 | 一体式醋酸灌肠器 |
| JP2021522977A (ja) * | 2018-05-11 | 2021-09-02 | フルケム リミテッドFluchem Ltd | 鼻腔及び副鼻腔薬物投与装置及び方法 |
Families Citing this family (7)
| Publication number | Priority date | Publication date | Assignee | Title |
|---|---|---|---|---|
| US20030225394A1 (en) * | 2002-06-04 | 2003-12-04 | Peter Ahnblad | Pharmaceutical composition and nasal rinsing device therefor |
| WO2009058910A1 (en) * | 2007-10-30 | 2009-05-07 | Nasaline Inc. | Pharmaceutical composition and nasal rinsing device therefor |
| CN102350019B (zh) * | 2009-01-10 | 2013-05-29 | 广东华润顺峰药业有限公司 | 鼻炎药膏鼻腔送药器 |
| US8691286B2 (en) * | 2009-01-27 | 2014-04-08 | Teleflex Medical Incorporated | Sputum dissolving suctioning solution for endotracheal and tracheostomy tubes |
| ITRA20130015A1 (it) * | 2013-06-12 | 2014-12-13 | No & C | Composto finalizzato al miglioramento della respirazione |
| CN109602998A (zh) * | 2019-02-13 | 2019-04-12 | 莒县人民医院 | 一种耳鼻喉科护理用给药器 |
| IT202000020791A1 (it) * | 2020-09-04 | 2022-03-04 | Daniele Scetta | Nebulizzazione ottenuta a partire da un erogatore mobile ancorato ad una siringa contenente una soluzione acquosa |
Citations (11)
| Publication number | Priority date | Publication date | Assignee | Title |
|---|---|---|---|---|
| JPH0367962U (ja) * | 1989-11-01 | 1991-07-03 | ||
| JPH0525033A (ja) * | 1991-07-19 | 1993-02-02 | Kadomitsu Kasei Kk | 浴用剤 |
| JPH0661241U (ja) * | 1992-11-26 | 1994-08-30 | 冨美雄 高橋 | 水の落差を利用した鼻腔洗浄器具 |
| JPH09108295A (ja) * | 1995-10-16 | 1997-04-28 | Yutaka Hirota | 鼻腔洗浄器 |
| JPH1043269A (ja) * | 1996-08-08 | 1998-02-17 | Meiyuu:Kk | 簡易鼻腔洗浄器具 |
| JPH10230007A (ja) * | 1997-02-20 | 1998-09-02 | Nippon Tenganyaku Kenkyusho:Kk | 洗眼器 |
| JP2000070327A (ja) * | 1998-09-01 | 2000-03-07 | Kao Corp | 鼻腔内洗浄具 |
| JP2000273061A (ja) * | 1999-03-19 | 2000-10-03 | Senju Pharmaceut Co Ltd | テルペノイドエマルション |
| JP2000296178A (ja) * | 1999-02-08 | 2000-10-24 | Fuji Photo Optical Co Ltd | シリンジ用アダプタ装置 |
| JP2001354580A (ja) * | 2000-04-13 | 2001-12-25 | Nisshin Shiryo Kk | 抗コクシジウム剤 |
| WO2002067831A1 (en) * | 2001-02-16 | 2002-09-06 | Fust Charles A | Composition for freshening nostrils and sinus cavities |
Family Cites Families (4)
| Publication number | Priority date | Publication date | Assignee | Title |
|---|---|---|---|---|
| DE29723959U1 (de) * | 1997-07-22 | 1999-07-22 | Zellner, Gerhard, Dr., 83435 Bad Reichenhall | Nasenspray-Flüssigkeit |
| US6231865B1 (en) * | 1998-03-26 | 2001-05-15 | Safer Gro Laboratories, Inc. | Natural pesticide |
| DE19851279B4 (de) * | 1998-06-17 | 2006-05-24 | GSF - Forschungszentrum für Umwelt und Gesundheit GmbH | Vorrichtung zum gesteuerten inhalatorischen Einbringen von dosierten Medikamenten in die Lunge |
| US20030225394A1 (en) * | 2002-06-04 | 2003-12-04 | Peter Ahnblad | Pharmaceutical composition and nasal rinsing device therefor |
-
2002
- 2002-10-02 US US10/264,096 patent/US20030225394A1/en not_active Abandoned
-
2003
- 2003-10-02 JP JP2003344522A patent/JP2004123750A/ja active Pending
-
2005
- 2005-04-12 US US11/104,225 patent/US20050214225A1/en not_active Abandoned
Patent Citations (12)
| Publication number | Priority date | Publication date | Assignee | Title |
|---|---|---|---|---|
| JPH0367962U (ja) * | 1989-11-01 | 1991-07-03 | ||
| JPH0525033A (ja) * | 1991-07-19 | 1993-02-02 | Kadomitsu Kasei Kk | 浴用剤 |
| JPH0661241U (ja) * | 1992-11-26 | 1994-08-30 | 冨美雄 高橋 | 水の落差を利用した鼻腔洗浄器具 |
| JPH09108295A (ja) * | 1995-10-16 | 1997-04-28 | Yutaka Hirota | 鼻腔洗浄器 |
| JPH1043269A (ja) * | 1996-08-08 | 1998-02-17 | Meiyuu:Kk | 簡易鼻腔洗浄器具 |
| JPH10230007A (ja) * | 1997-02-20 | 1998-09-02 | Nippon Tenganyaku Kenkyusho:Kk | 洗眼器 |
| JP2000070327A (ja) * | 1998-09-01 | 2000-03-07 | Kao Corp | 鼻腔内洗浄具 |
| JP2000296178A (ja) * | 1999-02-08 | 2000-10-24 | Fuji Photo Optical Co Ltd | シリンジ用アダプタ装置 |
| JP2000273061A (ja) * | 1999-03-19 | 2000-10-03 | Senju Pharmaceut Co Ltd | テルペノイドエマルション |
| JP2001354580A (ja) * | 2000-04-13 | 2001-12-25 | Nisshin Shiryo Kk | 抗コクシジウム剤 |
| WO2002067831A1 (en) * | 2001-02-16 | 2002-09-06 | Fust Charles A | Composition for freshening nostrils and sinus cavities |
| JP2004525903A (ja) * | 2001-02-16 | 2004-08-26 | チャールズ エイ. フスト、 | 鼻腔及び副鼻腔を清浄化するための組成物 |
Cited By (2)
| Publication number | Priority date | Publication date | Assignee | Title |
|---|---|---|---|---|
| JP2021522977A (ja) * | 2018-05-11 | 2021-09-02 | フルケム リミテッドFluchem Ltd | 鼻腔及び副鼻腔薬物投与装置及び方法 |
| CN110538354A (zh) * | 2019-09-06 | 2019-12-06 | 西安交通大学医学院第一附属医院 | 一体式醋酸灌肠器 |
Also Published As
| Publication number | Publication date |
|---|---|
| US20030225394A1 (en) | 2003-12-04 |
| US20050214225A1 (en) | 2005-09-29 |
Similar Documents
| Publication | Publication Date | Title |
|---|---|---|
| EP2335759B1 (en) | Apparatus for nasal rinse | |
| US6688497B2 (en) | Apparatus and method for tissue rinse | |
| US20190184088A1 (en) | Nasal Irrigation Apparatus and Kit | |
| AU2002259029A1 (en) | Apparatus and method for nasal rinse | |
| US12251531B2 (en) | Plug for insertion into the nose or ear of a subject and method for administering a fluid therapeutic agent using said plug | |
| JP2004123750A (ja) | 鼻腔洗浄薬組成物およびこれを用いた鼻腔洗浄器具 | |
| US8652117B2 (en) | Pharmaceutical composition and nasal rinsing device therefor | |
| EP1778315B1 (en) | Device for supplying fluid to an ear | |
| CN102641236B (zh) | 防治口腔疾病的可膨胀性生物粘附缓控释制剂及其制备方法 | |
| US20170360831A1 (en) | Non-nasal treatment methods using carbon dioxide and saline | |
| JP2012193159A (ja) | 鼻用スプレー | |
| US20170224936A1 (en) | Nasal treatment delivery device with carbon dioxide and saline, and methods | |
| CA3013821C (en) | Nasal treatment delivery device with carbon dioxide and saline, and methods, including low flow rates | |
| US10029054B2 (en) | Lower body cavity treatment methods and devices using carbon dioxide and saline | |
| GB2479586A (en) | Nasal inhaler with medicament cartridge | |
| CN116685371A (zh) | 用于将液体溶液受控地施用到鼻腔和鼻旁窦的装置 | |
| EP4061337A1 (en) | Soluble preparation for nasal douches, corresponding nasal irrigation kit and operating procedure for carrying out nasal douches | |
| EP4271452B1 (en) | Disposable nasal liquid dispenser device | |
| CA3200610A1 (en) | Plug for insertion into the nose or ear of a subject for administering a fluid therapeutic agent | |
| CN105596428A (zh) | 一种治疗鼻塞湿巾及其制备方法 | |
| JP2015101584A (ja) | 生薬鼻炎スプレー洗浄液 | |
| BR122013027798B1 (pt) | Sistema para lavar uma passagem nasal humana |
Legal Events
| Date | Code | Title | Description |
|---|---|---|---|
| A621 | Written request for application examination |
Free format text: JAPANESE INTERMEDIATE CODE: A621 Effective date: 20060816 |
|
| A131 | Notification of reasons for refusal |
Free format text: JAPANESE INTERMEDIATE CODE: A131 Effective date: 20100202 |
|
| A521 | Request for written amendment filed |
Free format text: JAPANESE INTERMEDIATE CODE: A523 Effective date: 20100430 |
|
| A02 | Decision of refusal |
Free format text: JAPANESE INTERMEDIATE CODE: A02 Effective date: 20100928 |