JP2004123719A - 粒状農薬組成物の製造方法 - Google Patents
粒状農薬組成物の製造方法 Download PDFInfo
- Publication number
- JP2004123719A JP2004123719A JP2003209396A JP2003209396A JP2004123719A JP 2004123719 A JP2004123719 A JP 2004123719A JP 2003209396 A JP2003209396 A JP 2003209396A JP 2003209396 A JP2003209396 A JP 2003209396A JP 2004123719 A JP2004123719 A JP 2004123719A
- Authority
- JP
- Japan
- Prior art keywords
- mixing
- particles
- pesticide
- mixer
- mixing step
- Prior art date
- Legal status (The legal status is an assumption and is not a legal conclusion. Google has not performed a legal analysis and makes no representation as to the accuracy of the status listed.)
- Pending
Links
Images
Landscapes
- Mixers With Rotating Receptacles And Mixers With Vibration Mechanisms (AREA)
- Mixers Of The Rotary Stirring Type (AREA)
- Agricultural Chemicals And Associated Chemicals (AREA)
Abstract
【課題】混合均一性に優れた粒状農薬組成物の製造方法を提供する。
【解決手段】縮分槽1によって行われ粒子群の位置を水平方向に移動させて全体的な対流混合を行う水平混合工程と、動的混合機2によって行われ上記粒子群の位置を上下方向に移動させて全体的な対流混合を行う上下混合工程と、静的混合機3によって行われ粒子相互間でのすべり・衝突により局部的な拡散混合を行うミクロ混合工程とにより、2種類以上の異なる農薬含有粒子からなる粒子群を混合することによって粒状農薬組成物を製造する。
【選択図】 図1
【解決手段】縮分槽1によって行われ粒子群の位置を水平方向に移動させて全体的な対流混合を行う水平混合工程と、動的混合機2によって行われ上記粒子群の位置を上下方向に移動させて全体的な対流混合を行う上下混合工程と、静的混合機3によって行われ粒子相互間でのすべり・衝突により局部的な拡散混合を行うミクロ混合工程とにより、2種類以上の異なる農薬含有粒子からなる粒子群を混合することによって粒状農薬組成物を製造する。
【選択図】 図1
Description
【0001】
【発明の属する技術分野】
本発明は、2種類以上の異なる農薬含有粒子からなる粒子群を混合することによる粒状農薬組成物の製造方法に関するものである。
【0002】
【従来の技術】
薬効の異なる農薬活性成分を同時に施用する場合、散布の省力化や効力の増強等を目的として、粒剤の同一核内に複数の農薬活性成分を配合する方法がこれまで行われてきた。しかしながら、上記農薬活性成分の施用時期が異なる場合や混合する農薬活性成分が混合禁忌である場合等においては、これらの農薬活性成分を同一核内に配合すると目的とする薬効が発揮されず目的の防除効果を得ることができなかった。
【0003】
このような問題を解決するため、個々の農薬活性成分を含有する複数の核をあらかじめ調製しておき、これらを混合する方法が考えられてきた。例えば、特表平8−509485号公報には単独の農薬活性成分を含有する2種類の顆粒を調製後、これを混合する顆粒状水和剤の製造方法が開示されている。また、肥料分野においては相異なる肥料成分を含有する粒子を混合して施肥する方法が広く利用されてきた。
【0004】
しかしながら、農薬の施用においては先に述べた薬効・薬害の観点から、肥料分野において要求される混合均一性よりもはるかに高い均一性が要求される。そして、個々の農薬活性成分を含有する粒剤を混合して施用する場合において、粒子の混合均一性が乏しければ、一部の施用場所で薬効不足が生じたり、あるいは逆に薬害を生じたりする場合があり、十分な実用効果を備えた製品を提供することができない。
【0005】
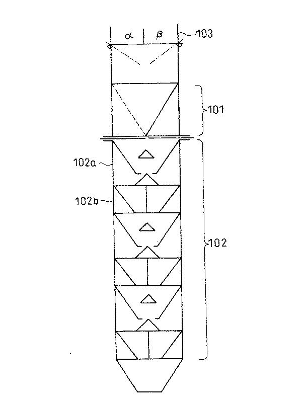
実開昭53−90274号公報には、複数種の粉粒体またはフレーク状物質を混合するための装置として、図6に示すように、縮分槽101と静的混合機102とを上下に配置してなる混合装置が開示されている。
【0006】
上記混合装置において、上記縮分槽101は、仕込台103に載置された所定量の粒子群α,βを水平混合する。ここでの水平混合とは、上記仕込台103上で完全に分離されている粒子群α,βにおいて、これら粒子群α,βのそれぞれの約1/2に相当する粒子群を水平方向に移動させることによって混合する水平方向の全体的混合である。
【0007】
上記縮分槽101を通過した粒子群α,βは、次いで静的混合機102によってさらに混合される。
【0008】
上記静的混合機102は、混合部102aと分流部102bとが交互に配置された構成であり、ここを通過間に粒子の分散・集合を繰り返すことによって、相互粒子間のミクロな混合を行う。すなわち、上記静的混合機102において行われる混合は主に局部的混合(ミクロ混合)となる。
【0009】
【発明が解決しようとする課題】
ところが、上記従来の構成では、縮分槽101においての混合は水平混合であり、静的混合機102においての混合はミクロ混合であるため、上下方向における混合が十分になされない。このため、上記従来の混合方法によって得られる製品を施用した場合、粒子の混合均一性が乏しくなり、一部の施用場所で薬効不足が生じたり、あるいは逆に薬害を生じたりする場合があるという問題が生じる。
【0010】
本発明は、上記の問題点を解決するためになされたもので、その目的は、混合均一性に優れた粒状農薬組成物の製造方法を提供することにある。
【0011】
【課題を解決するための手段】
請求項1の粒状農薬組成物の製造方法は、上記の課題を解決するために、2種類以上の異なる農薬含有粒子からなる粒子群を混合することによる粒状農薬組成物の製造方法において、上記粒子群の位置を水平方向に移動させて全体的な対流混合を行う水平混合工程と、上記粒子群の位置を上下方向に移動させて全体的な対流混合を行う上下混合工程と、粒子相互間でのすべり・衝突により局部的な拡散混合を行うミクロ混合工程とを含むことを特徴としている。
【0012】
上記の構成によれば、上記水平混合工程と上記上下混合工程とによって全ての方向における粒子群の混合性を高め、かつミクロ混合工程において粒子の拡散性を高めることができる。したがって、上記3種類の工程を行うことにより、優れた混合均一性を有する粒状農薬組成物を得ることができる。尚、ここでの異なる農薬含有粒子とは、例えば、構成成分の種類または構成成分の含有率の異なる粒子である。
【0013】
請求項2の粒状農薬組成物の製造方法は、請求項1の構成に加えて、上記水平混合工程を、縮分槽によって行うことを特徴としている。
【0014】
上記の構成により、上記粒状農薬組成物の各粒子の落下を利用して上記水平混合工程を容易に行うことが可能となる。
【0015】
請求項3の粒状農薬組成物の製造方法は、請求項1または2の構成に加えて、上記上下混合工程を、羽根回転型混合機によって行うことを特徴としている。
【0016】
請求項4の粒状農薬組成物の製造方法は、請求項1または2の構成に加えて、上記上下混合工程を、容器回転型混合機によって行うことを特徴としている。
【0017】
上記請求項3または4の構成により、上記上下混合工程を容易に行うことが可能となる。
【0018】
請求項5の粒状農薬組成物の製造方法は、請求項1ないし4の何れかの構成に加えて、上記ミクロ混合工程が、粒子の重力による落下力を利用することを特徴としている。
【0019】
請求項6の粒状農薬組成物の製造方法は、請求項5の構成に加えて、上記ミクロ混合工程において、粒子の集合および分散を行うことを特徴としている。
【0020】
請求項7の粒状農薬組成物の製造方法は、請求項1ないし6の何れかの構成に加えて、上下ミクロ混合工程を、カスケードミキサによって行うことを特徴としている。
【0021】
上記請求項5、6または7の構成により、上記粒状農薬組成物の各粒子の落下を利用して上記ミクロ混合工程を容易に行うことが可能となる。
【0022】
【発明の実施の形態】
本発明において、粒状農薬組成物とは、2種類以上の農薬含有粒子からなる粒子群の混合物である。該粒状農薬組成物を構成する農薬含有粒子が異なるとは、(a)該粒子に含まれる農薬活性成分の種類が異なる場合、(b)該粒子に含まれる農薬活性成分の種類が同じで、その含有量が2倍以上異なる場合、(c)該粒子に含まれる農薬活性成分の種類および含有量が同じで、副資材の種類が異なる場合、(d)該粒子に含まれる農薬活性成分および副資材の種類が同じで、副資材の含有量が2倍以上異なる場合を指す。なお、この場合の副資材とは、農薬活性成分以外の成分でその農薬含有粒子中の含有量が1%以上のものを指す。但し、本発明において、2種類以上の異なる農薬含有粒子からなる粒子群は、1種の農薬含有粒子と1種以上の農薬非含有粒子(農薬活性成分を含んでいない粒子)とからなる粒子群をも含むものである。
【0023】
粒状農薬組成物を構成する各農薬含有粒子種の混合割合は、該組成物中1〜99重量%であり、例えば2種の農薬含有粒子からなる粒子群の混合物の場合、その割合は通常重量比で50:50〜1:99であり、好ましくは50:50〜75:25である。該農薬含有粒子の粒子径は通常、体積中位径として0.2〜20mm、好ましくは0.3〜10mmである。また、該農薬含有粒子の1gあたりの粒子数は通常、50〜5000粒、好ましくは200〜3000粒であり、該農薬含有粒子の見掛比重は通常、0.3〜1.5g/cc、好ましくは0.7〜1.2g/ccである。農薬含有粒子の見掛比重は全農法により測定することができる。本発明で混合される2種以上の農薬含有粒子においては、各農薬含有粒子種の見掛比重の差が0.3以下であることが好ましく、さらに好ましくは0.2以下である。
【0024】
本発明において農薬含有粒子の形状は通常、立方体状、直方体状、三角錐状、円錐状、円柱状、球状、ダンベル状、楕球状、卵状、凸レンズ状、凹レンズ状、板状等である。
【0025】
本発明において農薬含有粒子は通常、農薬活性成分、担体からなり、必要に応じて、界面活性剤、粘結剤、溶剤、安定化剤、着色剤、被覆剤等が添加される。
【0026】
農薬活性成分としては、殺虫剤、殺菌剤、除草剤、昆虫成長制御剤、植物成長制御剤等を挙げることができ、例えば次に示す化合物を具体的に挙げることができる。
【0027】
フェニトロチオン[O,O−ジメチルO−(3−メチル−4−ニトロフェニル)ホスホロチオエート]、フェンチオン[O,O−ジメチルO−(3−メチル−4−(メチルチオ)フェニル)ホスホロチオエート]、ダイアジノン[O,O−ジエチル−O−2−イソプロピル−6−メチルピリミジン−4−イルホスホロチオエート]、クロルピリホス[O,O−ジエチル−O−3,5,6−トリクロロ−2−ピリジルホスホロチオエート]、アセフェート[O,S−ジメチルアセチルホスホラミドチオエート]、メチダチオン[S−2,3−ジヒドロ−5−メトキシ−2−オキソ−1,3,4−チアジアゾール−3−イルメチルO,O−ジメチルホスホロジチオエート]、ジスルホトン[O,O−ジエチルS−2−エチルチオエチルホスホロジチオエート]、DDVP[2,2−ジクロロビニルジメチルホスフェート]、スルプロホス[O−エチルO−4−(メチルチオ)フェニルS−プロピルホスホロジチオエート]、シアノホス[O−4−シアノフェニルO,O−ジメチルホスホロチオエート]、ジオキサベンゾホス[2−メトキシ−4H−1,3,2−ベンゾジオキサホスホリン−2−スルフィド]、ジメトエート[O,O−ジメチル−S−(N−メチルカルバモイルメチル)ジチオホスフェート]、フェントエート[エチル2−ジメトキシホスフィノチオイルチオ(フェニル)アセテート]、マラチオン[ジエチル(ジメトキシホスフィノチオイルチオ)サクシネート]、トリクロルホン[ジメチル2,2,2−トリクロロ−1−ヒドロキシエチルホスホネート]、アジンホスメチル[S−3,4−ジヒドロ−4−オキソ−1,2,3−ベンゾトリアジン−3−イルメチルO,O−ジメチルホスホロジチオエート]、モノクロトホス[ジメチル−{(E)−1−メチル−2−(メチルカルバモイル)ビニル)ホスフェート]、エチオン[O,O,O’,O’−テトラエチル−S,S’−メチレンビス(ホスホロジチオエート)]等の有機リン系化合物、
BPMC[2−sec−ブチルフェニルメチルカーバメート]、ベンフラカルブ[エチル N−{2,3−ジヒドロ−2,2−ジメチルベンゾフラン−7−イルオキシカルボニル(メチル)アミノチオ}−N−イソプロピル−β−アラニネート]、プロポキスル[2−イソプロポキシフェニル−N−メチルカーバメート]、カルボスルファン[2,3−ジヒドロ−2,2−ジメチル−7−ベンゾ[b]フラニル N−ジブチルアミノチオ−N−メチルカーバメート]、カルバリル[1−ナフチル−N−メチルカーバメート]、メソミル[S−メチル−N−(メチルカルバモイルオキシ)チオアセトイミデート]、エチオフェンカルブ[2−(エチルチオメチル)フェニルメチルカーバメート]、アルジカルブ[2−メチル−2−(メチルチオ)プロピオンアルデヒド O−メチルカルバモイルオキシム]、オキサミル[N,N−ジメチル−2−メチルカルバモイルオキシイミノ−2−(メチルチオ)アセトアミド]、フェノチオカルブ[S−4−フェノキシブチル−N,N−ジメチルチオカーバメート]等のカーバメート系化合物、
エトフェンプロックス[2−(4−エトキシフェニル)−2−メチル−1−(3−フェノキシベンジル)オキシプロパン]、フェンバレレート[(RS)−α−シアノ−3−フェノキシベンジル (RS)−2−(4−クロロフェニル)−3−メチルブチレート]、エスフェンバレレート[(S)−α−シアノ−3−フェノキシベンジル (S)−2−(4−クロロフェニル)−3−メチルブチレート]、フェンプロパトリン[(RS)−α−シアノ−3−フェノキシベンジル 2,2,3,3−テトラメチルシクロプロパンカルボキシレート]、シペルメトリン[(RS)−α−シアノ−3−フェノキシベンジル (1RS)−シス,トランス−3−(2,2−ジクロロビニル)−2,2−ジメチルシクロプロパンカルボキシレート]、ペルメトリン[3−フェノキシベンジル (1RS)−シス,トランス−3−(2,2−ジクロロビニル)−2,2−ジメチルシクロプロパンカルボキシレート]、シハロトリン[(RS)−α−シアノ−3−フェノキシベンジル(1RS,3Z)−シス−3−(2−クロロ−3,3,3−トリフルオロプロプ−1−エニル)−2,2−ジメチルシクロプロパンカルボキシレート]、デルタメトリン[(S)−α−シアノ−3−フェノキシベンジル (1R)−シス−3−(2,2−ジブロモビニル)−2,2−ジメチルシクロプロパンカルボキシレート]、シクロプロトリン[(RS)−α−シアノ−3−フェノキシベンジル (RS)−2,2−ジクロロ−1−(4−エトキシフェニル)シクロプロパンカルボキシレート]、フルバリネート[α−シアノ−3−フェノキシベンジル N−(2−クロロ−α,α,α−トリフルオロ−p−トリル)−D−バリネート]、ビフェンスリン[2−メチル−3−フェニルベンジル (1RS,3Z)−シス−3−(2−クロロ−3,3,3−トリフルオロ−1−プロペニル)−2,2−ジメチルシクロプロパンカルボキシレート]、ハルフェンプロックス[2−(4−ブロモジフルオロメトキシフェニル)−2−メチル−1−(3−フェノキシベンジル)メチルプロパン]、トラロメトリン[(S)−α−シアノ−3−フェノキシベンジル (1R)−シス−3−(1,2,2,2−テトラブロモエチル)−2,2−ジメチルシクロプロパンカルボキシレート]、シラフルオフェン[(4−エトキシフェニル)−{3−(4−フルオロ−3−フェノキシフェニル)プロピル}ジメチルシラン]、d−フェノトリン[3−フェノキシベンジル (1R)−シス,トランス−2,2−ジメチル−3−(2−メチル−1−プロペニル)シクロプロパンカルボキシレート]、シフェノトリン[(RS)−α−シアノ−3−フェノキシベンジル (1R)−シス,トランス−2,2−ジメチル−3−(2−メチル−1−プロペニル)シクロプロパンカルボキシレート]、d−レスメトリン[5−ベンジル−3−フリルメチル (1R)−シス,トランス−2,2−ジメチル−3−(2−メチル−1−プロペニル)シクロプロパンカルボキシレート]、アクリナスリン[(S)−α−シアノ−3−フェノキシベンジル (1R,3Z)−シス−(2,2−ジメチル−3−{3−オキソ−3−(1,1,1,3,3,3−ヘキサフルオロプロピルオキシ)プロペニル}シクロプロパンカルボキシレート]、シフルトリン[(RS)−α−シアノ−4−フルオロ−3−フェノキシベンジル 3−(2,2−ジクロロビニル)−2,2−ジメチルシクロプロパンカルボキシレート]、テフルトリン[2,3,5,6−テトラフルオロ−4−メチルベンジル (1RS,3Z)−シス−3−(2−クロロ−3,3,3−トリフルオロ−1−プロペニル)−2,2−ジメチルシクロプロパンカルボキシレート]、トランスフルスリン[2,3,5,6−テトラフルオロベンジル (1R)−トランス−3−(2,2−ジクロロビニル)−2,2−ジメチルシクロプロパンカルボキシレート]、テトラメトリン[3,4,5,6−テトラヒドロフタルイミドメチル (1RS)−シス,トランス−2,2−ジメチル−3−(2−メチル−1−プロペニル)シクロプロパンカルボキシレート]、アレトリン[(RS)−2−メチル−4−オキソ−3−(2−プロペニル)−2−シクロペンテン−1−イル (1RS)−シス,トランス−2,2−ジメチル−3−(2−メチル−1−プロペニル)シクロプロパンカルボキシレート]、プラレトリン[(S)−2−メチル−4−オキソ−3−(2−プロピニル)−2−シクロペンテン−1−イル (1R)−シス,トランス−2,2−ジメチル−3−(2−メチル−1−プロペニル)シクロプロパンカルボキシレート]、エンペントリン[(RS)−1−エチニル−2−メチル−2−ペンテニル (1R)−シス,トランス−2,2−ジメチル−3−(2−メチル−1−プロペニル)シクロプロパンカルボキシレート]、イミプロスリン[2,5−ジオキソ−3−(2−プロピニル)イミダゾリジン−1−イルメチル (1R)−シス,トランス−2,2−ジメチル−3−(2−メチル−1−プロペニル)シクロプロパンカルボキシレート]、d−フラメトリン[5−(2−プロピニル)フルフリル (1R)−シス,トランス−2,2−ジメチル−3−(2−メチル−1−プロペニル)シクロプロパンカルボキシレート]、5−(2−プロピニル)フルフリル 2,2,3,3−テトラメチルシクロプロパンカルボキシレート等のピレスロイド系化合物、
ブプロフェジン[2−tert−ブチルイミノ−3−イソプロピル−5−フェニル−1,3,5−チアジアジン−4−オン]等のチアジアジン誘導体、ニトロイミダゾリジン誘導体、カルタップ[S,S’−(2−ジメチルアミノトリメチレン)ビス(チオカーバメート)]、チオシクラム[N,N−ジメチル−1,2,3−トリチアン−5−イルアミン]、ベンスルタップ[S,S’−2−ジメチルアミノトリメチレンジ(ベンゼンチオスルフォネート)]等のネライストキシン誘導体、N−シアノ−N’−メチル−N’−(6−クロロ−3−ピリジルメチル)アセトアミジン等のN−シアノアミジン誘導体、エンドスルファン[6,7,8,9,10,10−ヘキサクロロ−1,5,5a,6,9,9a−ヘキサヒドロ−6,9−メタノ−2,4,3−ベンゾジオキサチエピンオキサイド]、γ−BHC[1,2,3,4,5,6−ヘキサクロロシクロヘキサン]、ジコホル[1,1−ビス(4−クロロフェニル)−2,2,2−トリクロロエタノール]等の塩素化炭化水素化合物、クロルフルアズロン[1−{3,5−ジクロロ−4−(3−クロロ−5−トリフルオロメチルピリジン−2−イルオキシ)フェニル}−3−(2,6−ジフルオロベンゾイル)ウレア]、テフルベンズロン[1−(3,5−ジクロロ−2,4−ジフルオロフェニル)−3−(2,6−ジフルオロベンゾイル)ウレア]、フルフェノクスロン[1−{4−(2−クロロ−4−トリフルオロメチルフェノキシ)−2−フルオロフェニル}−3−(2,6−ジフルオロベンゾイル)ウレア]等のベンゾイルフェニルウレア系化合物、アミトラズ[N,N’−{(メチルイミノ)ジメチリジン}−ジ−2,4−キシリジン]、クロルジメホルム[N’−(4−クロロ−2−メチルフェニル)−N,N−ジメチルメチニミダミド]等のホルムアミジン誘導体、ジアフェンチウロン[N−(2,6−ジイソプロピル−4−フェノキシフェニル)−N’−t−ブチルカルボジイミド]等のチオ尿素誘導体、N−フェニルピラゾール系化合物、
メトキサジアゾン[5−メトキシ−3−(2−メトキシフェニル)−1,3,4−オキサジアゾール−2−(3H)−オン]、ブロモプロピレート[イソプロピル4,4’−ジブロモベンジレート]、テトラジホン[4−クロロフェニル 2,4,5−トリクロロフェニルスルホン]、キノメチオネート[S,S−6−メチルキノキサリン−2,3−ジイルジチオカルボネート]、プロパルギット[2−(4−tert−ブチルフェノキシ)シクロヘキシルプロピ−2−イルスルファイト]、フェンブタティンオキシド[ビス{トリス(2−メチル−2−フェニルプロピル)ティン}オキシド]、ヘキシチアゾクス[(4RS,5RS)−5−(4−クロロフェニル)−N−クロロヘキシル−4−メチル−2−オキソ−1,3−チアゾリジン−3−カルボキサミド]、クロフェンテジン[3,6−ビス(2−クロロフェニル)−1,2,4,5−テトラジン]、ピリダベン[2−tert−ブチル−5−(4−tert−ブチルベンジルチオ)−4−クロロピリダジン−3(2H)−オン]、フェンピロキシメート[tert−ブチル (E)−4−[(1,3−ジメチル−5−フェノキシピラゾール−4−イル)メチレンアミノオキシメチル]ベンゾエート]、デブフェンピラド[N−4−tert−ブチルベンジル)−4−クロロ−3−エチル−1−メチル−5−ピラゾールカルボキサミド]、ポリナクチンコンプレックス[テトラナクチン、ジナクチン、トリナクチン]、ピリミジフェン[5−クロロ−N−[2−{4−(2−エトキシエチル)−2,3−ジメチルフェノキシ}エチル]−6−エチルピリミジン−4−アミン]、ミルベメクチン、アバメクチン、イバーメクチン、アザジラクチン[AZAD]、5−メチル[1,2,4]トリアゾロ[3,4−b]ベンゾチアゾール、メチル 1−(ブチルカルバモイル)ベンズイミダゾール−2−カーバメート、6−(3,5−ジクロロ−4−メチルフェニル)−3(2H)−ピリダジノン、1−(4−クロロフェノキシ)−3,3−ジメチル−1−(1H−1,2,4−トリアゾール−1−イル)ブタノン、(E)−4−クロロ−2−(トリフルオロメチル)−N−[1−(イミダゾール−1−イル)−2−プロポキシエチリデン]アニリン、1−[N−プロピル−N−[2−(2,4,6−トリクロロフェノキシ)エチル]カルバモイル]イミダゾール、(E)−1−(4−クロロフェニル)−4,4−ジメチル−2−(1H−1,2,4−トリアゾール−1−イル)−1−ペンテン−3−オール、1−(4−クロロフェニル)−4,4−ジメチル−2−(1H−1,2,4−トリアゾール−1−イル)ペンタン−3−オール、(E)−1−(2,4−ジクロロフェニル)−4,4−ジメチル−2−(1H−1,2,4−トリアゾール−1−イル)−1−ペンテン−3−オール、1−(2,4−ジクロロフェニル)−4,4−ジメチル−2−(1H−1,2,4−トリアゾール−1−イル)ペンタン−3−オール、4−[3−(4−tert−ブチルフェニル)−2−メチルプロピル]−2,6−ジメチルモルホリン、2−(2,4−ジクロロフェニル)−1−(1H−1,2,4−トリアゾール−1−イル)ヘキサン−2−オール、O,O−ジエチル O−2−キノキサリニル ホスホロチオエート、O−(6−エトキシ−2−エチル−4−ピリミジニル) O,O−ジメチル ホスホロチオエート、2−ジエチルアミノ−5,6−ジメチルピリミジン−4−イル ジメチルカーバメート、4−(2,4−ジクロロベンゾイル)−1,3−ジメチル−5−ピラゾリル p−トルエンスルホナート、4−アミノ−6−(1,1−ジメチルエチル)−3−メチルチオ−1,2,4−トリアジン−5(4H)−オン、2−クロロ−N−[(4−メトキシ−6−メチル−1,3,5−トリアジン−2−イル)アミノカルボニル]ベンゼンスルホンアミド、2−メトキシカルボニル−N−[(4,6−ジメトキシピリミジン−2−イル)アミノカルボニル]ベンゼンスルホンアミド、2−メトキシカルボニル−N−[(4,6−ジメチルピリミジン−2−イル)アミノカルボニル]ベンゼンスルホンアミド、2−メトキシカルボニル−N−[(4−メトキシ−6−メチル−1,3,5−トリアジン−2−イル)アミノカルボニル]ベンゼンスルホンアミド、2−エトキシカルボニル−N−[(4−クロロ−6−メトキシピリミジン−2−イル)アミノカルボニル]ベンゼンスルホンアミド、2−(2−クロロエトキシ)−N−[(4−メトキシ−6−メチル−1,3,5−トリアジン−2−イル)アミノカルボニル]ベンゼンスルホンアミド、2−メトキシカルボニル−N−[(4,6−ジメトキシピリミジン−2−イル)アミノカルボニル]フェニルメタンスルホンアミド、2−メトキシカルボニル−N−[(4−メトキシ−6−メチル−1,3,5−トリアジン−2−イル)アミノカルボニル]チオフェン−3−スルホンアミド、4−エトキシカルボニル−N−[(4,6−ジメトキシピリミジン−2−イル)アミノカルボニル]−1−メチルピラゾール−5−スルホンアミド、2−[4,5−ジヒドロ−4−メチル−4−(1−メチルエチル)−5−オキソ−1H−イミダゾール−2−イル]−3−キノリンカルボン酸、2−[4,5−ジヒドロ−4−メチル−4−(1−メチルエチル)−5−オキソ−1H−イミダゾール−2−イル]−5−エチル−3−ピリジンカルボン酸、メチル 6−(4−イソプロピル−4−メチル−5−オキソイミダゾリン−2−イル)−m−トルエート、メチル 2−(4−イソプロピル−4−メチル−5−オキソイミダゾリン−2−イル)−p−トルエート、2−(4−イソプロピル−4−メチル−5−オキソイミダゾリン−2−イル)ニコチン酸、N−(4−クロロフェニル)メチル−N−シクロペンチル−N’−フェニルウレア、(RS)−2−シアノ−N−[(R)−1(2,4−ジクロロフェニル)エチル]−3,3−ジメチルブチルアミド、N−(1,3−ジヒドロ−1,1,3−トリメチルイソベンゾフラン−4−イル)−5−クロロ−1,3−ジメチルピラゾール−4−カルボキシアミド、N−[2,6−ジブロモ−4−(トリフルオロメトキシ)フェニル]−2−メチル−4−(トリフルオロメチル)−5−チアゾールカルボキシアミド、2,2−ジクロロ−N−[1−(4−クロロフェニル)エチル]−3−メチルシクロプロパンカルボキシアミド、メチル(E)−2−2−6−(2−シアノフェノキシ)ピリミジン−4−イルオキシ−フェニル−3−メトキシアクリレイト、5−メチル−1,2,4−トリアゾロ[3,4−b]ベンゾチアゾール、3−アリルオキシ−1,2−ベンゾイソチアゾール−1,1−ジオキシド、ジイソプロピル=1,3−ジチオラン−2−イリデン−マロネート、O,O−ジプロピル−O−4−メチルチオプェニルホスフェートなどが挙げられる。
【0028】
担体としては、鉱物質担体、植物質担体、動物質担体、合成担体等が挙げることができる。鉱物質担体としては、例えば、カオリナイト、ディッカナイト、ナクライト、ハロサイト等のカオリン鉱物、クリソタイル、リザータイト、アンチコライト、アメサイト等の蛇紋石、ナトリウムモンモリロナイト、カルシウムモンモリロナイト、マグネシウムモンモリロナイト等のモンモリロナイト鉱物、サポナイト、ヘクトライト、ソーコナイト、ハイデライト等のスメクタイト、パイロフィライト、タルク、蝋石、白雲母、フェンジャイト、セリサイト、イライト等の雲母、クリストバライト、クォーツ等のシリカ、アタパルジャイト、セピオライト等の含水珪酸マグネシウム、ドロマイト、炭酸カルシウム微粉末等の炭酸カルシウム、ギプサム、石膏等の硫酸塩鉱物、ゼオライト、沸石、凝灰石、バーミキュライト、ラポナイト、軽石、珪藻土、酸性白土、活性白土などが挙げられる。植物質担体としては、例えば、セルロース、籾殻、小麦粉、木粉、澱粉、糠、ふすま、大豆粉等が挙げられる。合成担体としては、例えば、湿式法シリカ、乾式法シリカ、湿式法シリカの焼成品、表面改質シリカ、加工澱粉(松谷化学製パインフロー等)などが挙げられる。これらの担体は農薬含有粒子中に、通常0.5〜99.9重量%、好ましくは25〜99.5重量%含有される。
【0029】
界面活性剤としては、例えば、ポリオキシエチレンアルキルエーテル、ポリオキシエチレンアルキルアリールエーテル、ポリオキシエチレンラノリンアルコール、ポリオキシエチレンアルキルフェノールホルマリン縮合物、ポリオキシエチレンソルビタン脂肪酸エステル、ポリオキシエチレングリセリルモノ脂肪酸エステル、ポリオキシプロピレングリコールモノ脂肪酸エステル、ポリオキシエチレンソルビトール脂肪酸エステル、ポリオキシエチレンヒマシ油誘導体、ポリオキシエチレン脂肪酸エステル、高級脂肪酸グリセリンエステル、ソルビタン脂肪酸エステル、ショ糖脂肪酸エステル、ポリオキシエチレンポリオキシプロピレンブロックポリマー、ポリオキシエチレン脂肪酸アミド、アルキロールアミド、ポリオキシエチレンアルキルアミン等のノニオン界面活性剤、ドデシルアミン塩酸塩などのアルキルアミン塩酸塩、ドデシルトリメチルアンモニウム塩、アルキルジメチルベンジルアンモニウム塩、アルキルピリジニウム塩、アルキルイソキノリニウム塩、ジアルキルモルホリニウム塩などのアルキル四級アンモニウム塩、塩化ベンゼトニウム、ポリアルキルビニルピリジニウム塩等のカチオン性界面活性剤、パルミチン酸ナトリウムなどの脂肪酸ナトリウム、ポリオキシエチレンラウリルエーテルカルボン酸ナトリウムなどのエーテルカルボン酸ナトリウム、ラウロイルサルコシンナトリウム、N−ラウロイルグルタミン酸ナトリウムなどの高級脂肪酸のアミノ酸縮合物、高級アルキルスルホン酸塩、ラウリン酸エステルスルホン酸塩などの高級脂肪酸エステルスルホン酸塩、ジオクチルスルホサクシネートのどのジアルキルスルホコハク酸塩、オレイン酸アミドスルホン酸などの高級脂肪酸アミドスルホン酸塩、ドデシルベンゼンスルホン酸ナトリウム、ジイソプロピルナフタレンスルホン酸塩などのアルキルアリールスルホン酸塩、アルキルアリールスルホン酸塩のホルマリン縮合物、ペンタデカン−2−サルフェートなどの高級アルコール硫酸エステル塩、ジポリオキシエチレンドデシルエーテルリン酸エステル等のポリオキシエチレンアルキルリン酸エステル、スチレン−マレイン酸共重合体等のアニオン性界面活性剤、N−ラウリルアラニン、N,N,N−トリメチルアミノプロピオン酸、N,N,N−トリヒドロキシエチルアミノプロピオン酸、N−ヘキシル−N,N−ジメチルアミノ酢酸、1−(2−カルボキシエチル)ピリミジニウムベタイン、レシチン等の両性界面活性剤などが挙げられる。界面活性剤の量は農薬含有粒子に対し、通常0.1〜40重量%、好ましくは0.1〜10重量%である。
【0030】
粘結剤としては、例えば.アクリル系高分子、ビニル系高分子、ポリオキシアルキレンなどの合成高分子、セルロース誘導体、加工澱粉、リグニン誘導体などの半合成高分子、天然高分子等が挙げられる。アクリル系高分子としては、ポリアクリル酸ナトリウム、ポリメタクリル酸ナトリウム等が挙げられ、ビニル系高分子としては、ポリビニルアルコール、ポリビニルピロリドン、酢酸ビニル共重合体等が挙げられる。ポリオキシアルキレンとしてはポリオキシエチレンやポリオキシプロピレン等が挙げられる。セルロース誘導体としては、カルボキシメチルセルロースナトリウム、デキストリン、ヒドロキシプロピルメチルセルロース、メチルセルロース、メチルエチルセルロース、ヒドロキシプロピルセルロース等が挙げられ、加工澱粉としては、変性澱粉、カルボキシメチルデンプン、可溶性澱粉等が挙げられる。リグニン誘導体としては、リグニンスルホン酸ナトリウム等が挙げられる。天然高分子としては、アラビアガム、ザンサンガム、トラガントガム、グアーガム、カラギーナン、アルギン酸、アルギン酸ナトリウムなどの多糖類や、カゼイン、カゼイン石灰、ゼラチン、コラーゲンなどの蛋白質類等が挙げられる。粘結剤の量は農薬含有粒子に対し、通常0.1〜10重量%、好ましくは0.5〜5重量%である。
【0031】
溶媒としては、例えば、ヘキサン、デカン、トリデカン、ヘキサデカン、オクタデカンなどの飽和脂肪族炭化水素、1−ウンデセン、1−ヘンエイコセンなどの不飽和炭化水素、セレクロールS45(ICI製溶剤)などのハロゲン炭化水素類、メチルエチルケトン、シクロヘキサノンなどのケトン類、エタノール、ブタノール、オクタノールなどのアルコール類、酢酸エチル、フタル酸ジメチル、ラウリル酸メチル、パルミチン酸エチル、酢酸オクチル、コハク酸ジオクチル、アジピン酸ジデシルなどのエステル類、キシレン、エチルベンゼン、オクタデシルベンゼン、ソルベッソ100(エクソン化学製溶剤)、ドデシルナフタレン、トリデシルナフタレン、ソルベッソ200(エクソン化学製溶剤)などのアルキルナフタレン類、エチレングリコール、ジエチレングリコールなどのグリコール類、プロピレングリコールモノメチルエーテル、エチレングリコールモノエチルエーテルなどのグリコールエーテル類、オレイン酸、カプリン酸、エナント酸などの脂肪酸類、N,N−ジメチルホルムアミド、N,N−ジエチルホルムアミドなどの酸アミド類、オリーブ油、大豆油、菜種油、ヒマシ油、アマニ油、綿実油、パーム油、アボガド油、サメ肝油などの動植物油、マシン油などの鉱物油、グリセリン、グリセリン脂肪酸エステルなどのグリセリン誘導体等が挙げられる。溶媒の量は農薬含有粒子に対し、通常30重量%以下、好ましくは0.1〜20重量%である。
【0032】
安定化剤としては、例えば、フェノール系酸化防止剤、アミン系酸化防止剤、リン系酸化防止剤、イオウ系酸化防止剤、紫外線吸収剤、エポキシ化大豆油、エポキシ化アマニ油、エポキシ化菜種油等のエポキシ化植物油、イソプロピルアシッドホスフェート、流動パラフィン、エチレングリコールなどが挙げられる。安定化剤の量は農薬含有粒子に対し、通常0.01〜10重量%、好ましくは0.01〜5重量%である。
【0033】
着色剤としては、例えば、ローダミンB,ソーラーローダミンなどのローダミン類、黄色4号、青色1号、赤色2号などの色素等が、香料としては、例えば、アセト酢酸エチル、エナント酸エチル、桂皮酸エチル、酢酸イソアミル等のエステル系香料、カプロン酸、桂皮酸等の有機酸系香料、桂皮アルコール、ゲラニオール、シトラール、デシルアルコール等のアルコール系香料、バニリン、ピペロナール、ペリルアルデヒド等のアルデヒド類、マルトール、メチルβ−ナフチルケトン等のケトン系香料、メントールなどが挙げられる。着色剤及び/又は香料の量は農薬含有粒子に対し、通常0.01〜5重量%である。
【0034】
被膜剤としては、例えば、ワックス、熱可塑性樹脂、熱硬化性樹脂、硫黄等が挙げられる。
【0035】
ワックスとしては、例えば、カーボワックス、ヘキストロウ、蔗糖エステル、脂肪酸エステルなどの合成ワックス、カルナウバワックス、ミツロウ、木ロウなどの天然ワックス、パラフィンワックス、ペトロラクタムなどの石油ワックス等が挙げられる。
【0036】
熱可塑性樹脂としては、例えば、ポリエチレン、ポリプロピレン、ポリブテン、ポリスチレンなどのポリオレフィン、ポリ酢酸ビニル、ポリ塩化ビニル、ポリ塩化ビニリデン、ポリアクリル酸、ポリメタアクリル酸、ポリアクリル酸エステル、ポリメタクリル酸エステルなどのビニル重合物、ブタジエン重合物、イソプレン重合物、クロロプレン重合物、ブタジエン−スチレン共重合物、エチレン−プロピレン−ジエン共重合物、スチレン−イソプレン共重合物などのジエン系重合物、エチレン−プロピレン共重合物、ブテン−エチレン共重合物、ブテン−プロピレン共重合物、エチレン−酢酸ビニル共重合物、エチレン−アクリル酸共重合物、エチレン−メタアクリル酸共重合物、エチレン−メタアクリル酸エステル共重合物、エチレン−一酸化炭素共重合物、エチレン−酢酸ビニル−一酸化炭素共重合物などのポリオレフィン共重合物、塩化ビニル−ビニルアセテート共重合物、塩化ビニリデン−塩化ビニル共重合物などの塩化ビニル共重合物等が挙げられる。
【0037】
熱硬化性樹脂としては、例えば、ウレタン樹脂、エポキシ樹脂、アルキド樹脂、不飽和ポリエステル樹脂、フェノール樹脂、ウレア・メラミン樹脂、尿素樹脂、シリコン樹脂等が挙げられる。
【0038】
ウレタン樹脂は、通常、ポリイソシアナートとポリオールとが、有機金属やアミン等の硬化剤の存在下に反応することによって生成する。該硬化剤としては、ジブチル錫ジアセテート、ジブチル錫ジクロライド、ジブチル錫ジラウレート、ジブチルチオ錫酸、オクチル酸第一錫、ジ−n−オクチル錫ジラウレートなどの有機金属、トリエチレンジアミン、N−メチルモルホリン、N,N−ジメチルジドデシルアミン、N−ドデシルモルホリン、N,N−ジメチルシクロヘキシルアミン、N−エチルモルホリン、ジメチルエタノールアミン、N,N−ジメチルベンジルアミン、1,8−ジアザビシクロ(5,4,0)ウンデセン−7、イソプロピルチタネート、テトラブチルチタネート、オキシイソプロピルバナデート、n−プロピルジルコネート、1,4−ジアザビシクロ[2,2,2]オクタン等が挙げられる。ウレタン樹脂のモノマーであるポリイソシアネートとポリオールは、通常、モノマー単独、溶液、水系エマルジョン、または、有機溶剤系エマルジョン等の形態で使用される。該ポリイソシアネートとしては、トルエンジイソシアネート(TDI)、ジフェニルメタンジイソシアネート(MDI)、ナフタレンジイソシアネート、トリレンジイソシアネート、ヘキサメチレンジイソシアネート、イソホロンジイソシアネート、キシリレンジイソシアネート、4,4−メチレンビス(シクロヘキシルイソシアネート)、トリメチルヘキサメチレンジイソシアネート、1,3−(イソシアネートメチル)シクロヘキサン、トリフェニルメタントリイソシアネート、トリス(イソシアネートフェニル)チオフォスフェイト、及び、これらの混合物等が挙げられる。なお、上記のポリイソシアネートモノマーに代えて、これらの変性体やオリゴマーを用いることもできる。変性体としては、アダクト変性体、ビウレット変性体、イソシアヌレート変性体、ブロック変性体、プレポリマー変性体、2量化変性体等が挙げられる。該ポリオールとしては、縮合系ポリエステルポリオール、ポリエーテルポリオール、ポリ(メタ)アクリル酸ポリオール、ラクトン系ポリエステルポリオール、ポリカーボネートポリオール、天然ポリオールやその変性物、等が挙げられる。縮合系ポリエステルポリオールは、通常、ポリオールと二塩基酸との縮合反応によって、ポリエーテルポリオールは、通常、環状オキシドの重合反応によって得られる。ポリ(メタ)アクリル酸ポリオールは、通常、ポリ(メタ)アクリル酸とポリオールとの縮合反応、(メタ)アクリル酸とポリオールとの縮合反応、または、(メタ)アクリル酸エステルモノマーの重合反応によって得られる。ラクトン系ポリエステルポリオールは多価アルコールを開始剤とするε−カプロラクタムの開環重合によって得られる。ポリカーボネートポリオールは、通常、グリコールとカーボネートとの反応によって得られ、ポリオールとしては、メチレングリコール、エチレングリコール、プロピレングリコール、テトラメチレングリコール、ヘキサメチレンジオール、トリメチロールプロパン、ポリテトラメチレングリコール、グリセリン、ペンタエリスリトール、ソルビトール、ショ糖、および.これらのオリゴマー等が挙げられる。二塩基酸としては、アジピン酸、フタル酸等が挙げられる。(メタ)アクリル酸としては、アクリル酸、メタクリル酸などがー般に用いられる。
【0039】
エポキシ樹脂は、通常、硬化剤の存在下におけるフェノール又はアルコールとエピクロルヒドリンとの反応、硬化剤の存在下におけるカルボン酸とエピクロルヒドリンとの反応、硬化剤の存在下におけるアミン、シアヌル酸又はヒダントインとエピクロルヒドリンとの反応、過酢酸等の硬化剤の存在下における脂肪族環状エポキシ化合物の反応等によって生成する。該硬化剤としては、ジエチレントリアミン、トリエチレンテトラミン、メタキシリレンジアミン、イソホロンジアミン、1,3−ビスアミノメチルシクロヘキサン、ジアミノジフェニルメタン、m−フェニレンジアミン、ジアミノジフェニルスルホン、ジシサンジアミド、有機酸ジヒドラジド、ポリアミド変性ポリアミン、ケトン変性ポリアミン、エポキシ変性ポリアミン、チオ尿素変性ポリアミン、マンニッヒ変性ポリアミン、マイケル付加変性ポリアミン、ドデセニル無水コハク酸、ポリアゼライン酸無水物、ヘキサヒドロ無水フタル酸、メチルテトラヒドロ無水フタル酸、無水メチルナジック酸、無水トリメット酸、無水ピロメリット酸、ベンゾフェノンテトラカルボン酸、テトラブロモ無水フタル酸、無水ヘット酸、ノボラック型ポリフェノール、ポリメルカプタン、ポリイソシアネート、カルボン酸含有ポリエステル樹脂、ベンジルジメチルアニリン、2,4,6−トリスジメチルアミノメチルフェノール、2−メチルイミダゾール、2−エチル、4−メチル−イミダゾール、2−ヘプタデシルイミダゾール、芳香族スルホニウム塩、芳香族ジアゾニウム塩、レゾール型フェノール樹脂、メチロール基含有尿素樹脂、メチロール基含有メラミン樹脂などが挙げられる。生成するエポキシ樹脂としては、ビスフェノールA型、ビスフェノールF型、臭素化ビスフェノールA型、水添ビスフェノールA型、ビスフェノールS型、ビスフェノールAF型、ビフェニル型、ナフタレン型、フルオレイン型、フェノールノボラック型、オルソクレソーンノボラック型、DPPノボラック型、トリスヒドロキシフェニルメタン型、テトラフェニロールエタン型などのグリシジルエーテル型エポキシ樹脂、テトラグリシジルジアミノジフェニルメタン型、トリグリシジルイソシアヌレート型、ヒダントイン型、アミノフェノール型、アニリン型、トルイジン型などのグリシジルアミン型エポキシ樹脂、脂環型エポキシ樹脂等が挙げられる。
【0040】
アルキド樹脂は、例えば、多塩基酸と多価アルコールとの反応を必要に応じて天然植物油または動物脂等の変成剤、金属石鹸、皮張防止剤の存在下に行うことによって生成する。該多塩基酸としては、無水フタル酸、無水マレイン酸等が挙げられ、該多価アルコールとしては、ペンタエリストール、グリセリン等が挙げられる。該変成剤としては、例えば、大豆油、アマニ油、桐油、サフラワー油、ヤシ油、パーム油、脱水ヒマシ油等が挙げられ、該金属石鹸としては、通常、マンガン、コバルト、ジルコニウム、ニッケル、鉄、鉛等のナフテン類またはオクチル酸類、例えば、オクチル酸ジルコニウム、ナフテン酸マンガン、オクチル酸コバルト、およびそれらの混合物等が挙げられる。該皮張防止剤としては、ジペンテン、メトキシフェノール、シクロヘキサノンオキシム、メチルエチルケトンオキシム、およびそれらの混合物等が挙げられる。
【0041】
不飽和ポリエステル樹脂は、通常、不飽和二塩基酸と二価アルコールとをビニルモノマーの存在下に反応させることによって得られる。該不飽和二塩基酸としては、無水フタル酸、イソフタル酸、テレフタル酸、コハク酸、アジピン酸、アゼライン酸、セバシン酸、テトラヒドロ無水フタル酸、ヘキサヒドロ無水フタル酸、テトラブロム無水フタル酸、テトラクロロ無水フタル酸、無水ヘット酸、エンドメチレンテトラヒドロ無水フタル酸等が挙げられ、該二価アルコールとしては、エチレングリコール、プロピレングリコール、1,3−ブチレングリコール、1,6−ヘキサンジオール、ジエチレングリコール、ジプロピレングリコール、ネオペンチルグリコール、トリエチレングリコール、水素化ビスフェノールA、ビスフェノールジヒドロキシプロピルエーテル等が挙げられる。該ビニルモノマーとしては、スチレン、ビニルトルエン、クロロスチレン、フタル酸ジアリル、シアヌル酸トリアリル、メタクリル酸メチル等が挙げられる。
【0042】
フェノール樹脂は、塩酸、しゅう酸、ヘキサメチレンテトラミン等の触媒の存在下、フェノールとアルデヒドとを反応させることによって生成する。該フェノールとしては、フェノール、o−クレゾール、m−クレゾール、p−クレゾール、キシレノール、p−t−ブチルフェノール、レゾルシノール等が挙げられる。この反応において、酸性触媒条件下ではノボラック型フェノール樹脂が、塩基性触媒条件下ではレゾール型フェノール樹脂が得られる。
【0043】
ウレア・メラミン樹脂は、通常、塩基性触媒の存在下におけるウレア又はメラミンとホルマリンとの反応により生成する。
【0044】
シリコン樹脂は、通常、触媒の存在下におけるシリコンと多官能性シロキサンとの反応により生成する。
【0045】
本発明組成物における農薬含有粒子は、農薬を通常製剤化するのに用いられる造粒法で造粒することによって得られる。該造粒法としては、押出し造粒法、圧縮造粒法、撹拌造粒法、流動層造粒法、流動床造粒法、転動造粒法、被覆造粒法等が用いられる。本発明における農薬含有粒子の製造方法は特に限定されるものではないが、押出し造粒法を採用した例を以下に示す。
【0046】
農薬有効成分、固体担体、必要に応じて、界面活性剤、粘結剤、溶剤、安定化剤、着色剤、被膜剤等を混合して、混合物を調製する。この際に用いられる混合機としては、リボンミキサー、ナウターミキサー、シュギミキサー、ヘンシェルミキサー、レディゲーミキサー等が挙げられる。次に、該混合物に水を滴下、噴射、あるいは噴霧し、混練して混練物を調製する。この際に用いられる混練機としては、ナウターミキサー、リボンミキサー、ヘンシェルミキサー、ニーダー等が挙げられる。混練の際に用いられる水の添加量は水添加前の混合物に対し、通常、5〜35重量%、好ましくは、10〜25重量%である。次に、該混練物を造粒機を用いて造粒し、造粒物を調製する。この際に用いられる造粒機としては、バスケット式造粒機、スクリュー式造粒機、ペレタイザーなどの押出し造粒機、ローラーコンパクターなどの圧縮造粒機、ヘンシェルミキサー、ナウターミキサーなどの撹拌造粒機、パングラニュレーターなどの転動造粒機、流動層造粒機等が挙げられる。得られた造粒物は、乾燥、整粒、篩別されて、農薬含有粒子である粒剤が得られる。この際に用いられる乾燥機としては、流動層乾燥機やベッド式乾燥機が挙げられる。整粒機としては、マルメライザーやピンミル、解砕機等が、篩別機としては、ジャイロシフターや電磁振動式篩別機等が挙げられる。
【0047】
本発明において、樹脂で被覆した農薬含有粒子が使用される場合には、前記粒剤に、さらに樹脂で被覆する操作が施される。その際の被覆方法としては、例えば、被膜剤を溶剤に溶解又は分散し、該溶液を回転パン、回転ドラム、流動層、流動床等で運動している前記粒剤に添加しつつ、熱風で同時に乾燥せしめて被覆層を形成・生長させて所定の被覆率にまで被覆する方法(被膜乾燥法)や、被膜剤の原料を、回転パン、回転ドラム、攪拌ミキサー等で運動している前記粒剤に添加しつつ、必要に応じて、加熱あるいは冷却しながら、必要に応じて、触媒を加え、被膜剤の原料を硬化せしめて被覆層を形成・生長させて、所定の被覆率にまで被覆する方法(被膜硬化法)等が挙げられる。これらの被覆方法のうち、一般的に、被膜乾燥法は熱可塑性樹脂を被覆する際に用いられることが多く、被膜硬化法は熱硬化性樹脂を被覆する際に用いられることが多い。ワックスや硫黄による被覆においては、被膜乾燥法及び被膜硬化法の何れも適用され得る。また、農薬含有粒子の凝集、塊状化を防止するためには、前記粒剤を被覆するに際して、被膜剤は小量単位で間欠的に添加することが好ましい。
【0048】
続いて、本発明の特徴である2種類以上の異なる農薬含有粒子の混合方法について図1ないし図5に基づいて説明する。本発明における農薬含有粒子の混合方法は、以下のa)、b)、c)の工程から成り立つものである。
【0049】
a)粒子群の位置を水平方向に移動させて全体的な対流混合を行う水平混合工程。
【0050】
b)粒子群の位置を上下方向に移動させて全体的な対流混合を行う上下混合工程。
【0051】
c)粒子相互間でのすべり・衝突により局部的な拡散混合を行うミクロ混合工程。
【0052】
本発明の一実施形態として、上記混合を行うための混合装置の一例を図1に示す。上記混合装置は、図1に示すように、縮分槽1、動的混合機2、および静的混合機3を備えている。また、上記混合装置は、例えば、2種類の異なる農薬含有粒子からなる粒子群α,βを500gずつ混ぜ合わせて計1kgの粒状農薬組成物を得るものとする。
【0053】
上記混合装置において、上記縮分槽1は上記工程a)を行うための混合手段であり、図2(a)に示すように、薄型形状の複数の漏斗部11aと11bとが交互に配置された構造を有している。上記漏斗部11aおよび11bは、粒子投入口となる上部開口に対して出口12a・12bとなる下部開口が偏った配置となっており、各漏斗部11aおよび11bの配列方向と垂直な面においては非対称形状となっている。
【0054】
上記縮分槽1の上方には、図2(b)に示すように、仕込台4およびダンパ5が配置されている。上記仕込台4は、上記混合装置によって混合される複数種類の粒子群を載置するための台であり、上記漏斗部11aおよび11bの上部開口が配列されてなる縮分槽1の上面積とほぼ同面積の底面積を有する。また、例えば上記混合装置によって混合される粒子群が2種類の粒子α,βからなる場合、上記仕込台4は各漏斗部11aおよび11bの配列方向に沿って形成される仕切板41によって2つの領域に分割され、各領域のそれぞれに所定量の粒子群α,βが載置される。尚、この時、上記仕込台4の底面はダンパ5によって閉じられている。
【0055】
上記仕込台4に所定量の粒子群α,βが載置されると、上記ダンパ5が開放され、該粒子群α,βが上記縮分槽1に向けて落下する。上記縮分槽1においては、各漏斗部11a・11bの出口12a・12bは、上記仕込台4の仕切板41に対して反対方向にそれぞれ配置される。すなわち、上記出口12a・12bは縮分槽1の底面において千鳥状にずれるような配置となる。
【0056】
ここで、上記漏斗部11aに入った粒子群は、粒子群αについては図2(b)における矢印Aに沿って、粒子群βについては矢印Bに沿って漏斗部11a内を落下し、出口12aから排出される。また、上記漏斗部11bに入った粒子群は、粒子群αについては矢印Cに沿って、粒子群βについては矢印Dに沿って漏斗部11b内を落下し、出口12bから排出される。これにより、上記縮分槽1を通過する粒子群α,βのうち、それぞれの粒子群において約半分の粒子が水平に移動しながら落下(矢印B、Cに沿っての落下を指す)するため、該縮分槽1によって粒子群α,βの水平混合がなされる。
【0057】
尚、上記図1の構成では、上記縮分槽1の下部に上記出口12a・12bを塞ぐスライド式のダンパ6が配置されており、上記縮分槽1に投入された粒子群α,βは上記ダンパ6が閉じた状態で各漏斗部11a・11bの底部に蓄積された後、該ダンパ6の開放によって排出される。但し、上記ダンパ6は本発明において必ずしも必要な構成ではなく、これを省略することも可能である。また、ダンパ6を設ける場合であってもその種類は特に限定されるものではなく、例えば上記ダンパ5のように回動開放式のダンパを用いてもよい。もちろん、上記ダンパ5において、回動開放式の代わりにスライド式のダンパを用いてもよい。
【0058】
このように、上記縮分槽1による工程a)では、1つの漏斗部に対してほぼ鉛直真下に落下する粒子群と漏斗部内壁の斜面に沿って水平移動しながら落下する粒子群とが存在する。このとき、これらの粒子群の落下速度の違いによって、出口において粒子層が形成される。すなわち、上記縮分槽1による混合工程は、粒子群を2分割し、粒子が層状となった粒子層を2つ形成せしめる工程であるともいえる。上記工程における農薬含有粒子群を2つに分割する工程は、農薬含有粒子群を重量比で50:50〜30:70の割合で精度良く分割する操作を指す。また、上記縮分槽1は2分器であるが、3分器、4分器等の縮分槽を用いて3分割、4分割を行うことも可能である。
【0059】
上記縮分槽1に水平混合がなされた粒子群は、続いて動的混合機2へ落下される。本実施の形態に係る混合装置において、上記動的混合機2は上記工程b)を行うための、いわゆるアジテータと呼ばれる混合手段であり、図3に示すように、該動的混合機2によって混合される粒子群を滞留させるホッパー21と、該ホッパー21内の粒子群を攪拌混合するための羽根板22・22とを有する。
【0060】
上記羽根板22・22は、その攪拌面が回転軸23と平行になるように該回転軸23に取り付けられており、上記ホッパー21内を鉛直面内に回転することによって、粒子群を上下に移動させる。これによって、上記動的混合機2において上下混合を行うことができる。
【0061】
また、上記ホッパー21の底部には、混合された粒子群を次段の静的攪拌機3へ向けて落下させるための開口24が設けられており、該開口24は攪拌中はダンパ7(図1参照)によって閉じられている。尚、上記ダンパ7は、図1においてはスライド式のダンパとして記載されているが、回動開放式のダンパであってもよい。但し、上記動的混合機2では、羽根板22による粒子群の攪拌中(約5〜6秒間)は該粒子群を上記ホッパー21内に滞留させる必要があるため、縮分槽1の下部に配置されるダンパ6とは異なり、上記ダンパ7を省略することはできない。
【0062】
このように、上記動的混合機2による工程b)は、農薬含有粒子群を撹拌により混合する工程となる。上記粒子群の混合・攪拌には、上記動的混合機2以外にも種々の混合機や撹拌機等の機器が利用できる。本発明において用いられる混合機としては、ドラムミキサーやコンクリートミキサーなどの容器回転型混合機、ナウターミキサー、ヘンシェルミキサー、リボンミキサー、アジテーター等の羽根回転型混合機、フラッシュブレンダー、流動層混合機などの流動型混合機等が用いられ、リボンミキサーやアジテーター等が好適に用いられる。
【0063】
なお、羽根回転型混合機を使用する際には、羽根と混合容器との間の距離(クリアランス)は混合される農薬含有粒子の体積中位径よりも大きいことが好ましく、より好ましくはクリアランスが農薬含有粒子の体積中位径の1.2〜3倍、さらに好ましくはクリアランスが農薬含有粒子の体積中位径の1.5〜2倍である。
【0064】
また、羽根回転型混合機を使用する際には、混合機内のデッドスペースを極力小さくすることが好ましく、混合される粒状農薬組成物の全容量に対するデッドスペースの容量が20%以下、好ましくは10%以下、さらに好ましくは5%以下である。ここで述べるデッドスペースとは、回転する羽根の混合力によって内容物が混合されない混合機内の部分を指し、とりわけ撹拌羽根と混合機の壁との距離が大きい場所に発生しやすい。
【0065】
さらに、羽根回転型混合機を使用する際には、羽根形状も特に限定されるものではなく、例えば、鉛直方向の回転軸にプロペラ型の羽根を取り付けたものであってもよい。すなわち、上記羽根の回転に伴う攪拌によって、少なくともホッパー内の粒子に上下方向の移動力が与えられればよい。
【0066】
流動型混合機とは、一般的に、ベッセル内部に上下方向の高速空気対流を生じせしめることによって粒子群を流動せしめ、該粒子群を混合する混合手段である。通常、流動型混合機を使用した場合には、粒子群はベッセル下部から上部へ向かう空気流にのって上昇し、ベッセル上部まで達した後にベッセルの外壁に沿って落下し、再度、空気流に乗って上昇するという流動運動を繰り返す。流動型混合機においては、粒子群がベッセルでのこのような上下対流を繰り返すことによて全体的混合がなされる。
【0067】
上記縮分槽1および動的混合機2を通過した粒子群α,βは、次いで静的混合機3によってさらに混合される。
【0068】
上記静的混合機3は、いわゆるカスケードミキサと呼ばれる混合機であり、図1に示すように、粒子の流れを分割する分流部31と分散・集合によって混合する混合部32とが交互に複数段配置されてなる構成である。上記図1では、分流部31と混合部32とがそれぞれ3段ずつ配置されているものを示している。
【0069】
上記分流部31は、図4に示すように、粒子群の投入口となる上面が田の字形の4つの領域に区分されており、それぞれの領域において漏斗部が形成されている。そして、各漏斗部の出口は点対称の配置となっている。すなわち、図5に示すように、対角位置にある2つの領域においてその出口33a・33bは中央よりに配置されており、他の2つの領域においてその出口33c・33dは分流部31の上面を仕切る一方の仕切辺とこれに直交する外辺とに接するように配置されている。
【0070】
また、上記混合部32は、その上部において出口34aに向かって下窄まり形状の案内シュート34を有しており、上記案内シュート34の内部には調整傘35が配置されている。上記調整傘35は、アーム36…によって支持され上記案内シュート34の壁面とは離間して設けられており、特に上記分流部31の出口33a・33bから排出されてきた粒子群を分散させる役割を有する。上記調整傘35によって分散された粒子群、および上記分流部31の出口33c・33dから排出されてきた粒子群は、案内シュート34によって集合され、出口34aから落下する。さらに、上記出口34aの直下には分散傘37が配置されており、該分散傘37によって案内シュート34の出口34aから落下してきた粒子群が再び分散させられて次段の分流部31の各漏斗部に振り分けられる。
【0071】
このように、上記静的混合機3を通過する粒子群α,βは、分流部31によって分流され、そして混合部32において分散・集合を繰り返すことによって、ミクロ混合がなされる。
【0072】
このように、上記静的混合機3による工程c)は、粒子群を分散させた後に再び集合せしめる工程となる。上記静的混合機3では、粒子群の分散・集合には、重力による落下力が利用されているが、機械力によって粒子を分散および集合させる工程であってもよい。本発明において用いられる集合・分散機としては、カスケードミキサー等が挙げられ、好ましくは集合・分散運動を2回以上繰り返すことが可能なカスケードミキサーが用いられる。
【0073】
上記静的混合機3の下方には、混合用シュート8が配置されており、上記分流部31および混合部32を通過・混合された粒子群α,βが該混合用シュート8によって包装袋等に投入される。尚、図1の混合装置においては省略されているが、上記静的混合機3と混合用シュートとの間にダンパを設けてもよい。
【0074】
本発明において用いられる混合方法としては、上述した工程a)、b)、c)からなる混合方法が用いられるが、これらの工程の順序を入れ替えたり、あるいは、所定の工程を繰り返すことも可能である。一例を示すと、a)、b)、c)の順の3工程からなる混合方法、b)、a)、c)の順の3工程からなる混合方法、a)、b)、a)、c)の4工程からなる混合方法、a)、b)、b)、c)の4工程からなる混合方法等が挙げられる。
【0075】
本発明において、工程a)およびb)は粒子群の位置の移動によって混合が引き起こされる全体的混合であるのに対し、工程c)は粒子相互間の滑り、衝突等によって混合が引き起こされる局部的混合である。このような局部的混合は、全体的混合によって、同一種類の粒子からなる粒子群をある程度小さなものにしてから行う方がより高い効果が期待できる。したがって、工程c)は最終的な工程とされることが望ましい。
【0076】
また、上記工程a)およびb)においても、その混合機構は全体的混合のみではなく、ある程度の局部的混合も含む。しかしながら、上述の説明において、工程a)を行う縮分槽1は、工程b)を行う動的混合機2に比べ、粒子の衝突等は生じ難く、その局部的混合の効果は小さい。したがって、工程a)を行う手段として縮分槽を用いる場合には、該工程a)を最初の工程とすることが望ましい。
【0077】
本発明方法によって得られる粒状農薬組成物は、通常、適当な包装体で包装された形態で保管、移送等の取扱がなされる。均一性を保持する観点から、混合して直ちに包装し製品化することが好ましい。
【0078】
したがって本発明の実施において、1回の混合で得られる粒状農薬組成物の量を、1包装体に詰める量とし、該粒状農薬組成物をその都度包装体に詰めることが実用上は好ましい。
【0079】
その際、1包装体に詰められる粒状農薬組成物の量としては、通常、20g〜20kg、好ましくは100g〜3kgである。なお、水平混合、上下混合、およびミクロ混合を組み合わせる本発明方法で得られる粒状農薬組成物をその都度直ちに包装体に詰めて包装体で包装された形態とすることは、1包装体へ詰める粒状農薬組成物の量が少ない場合、例えばその量が100g〜3kg程度の場合において、粒状農薬組成物の均一性の点でとりわけ優れた効果を発揮する。
【0080】
包装体としては、クラフト紙袋、紙袋、布袋等の透過性容器やポリ内装クラフト紙袋、アルミ内装クラフト紙袋、ポリ袋、ポリ瓶、水溶性フィルム袋、貼り合せポリ袋等の遮蔽性容器が挙げられる。なお、透過性容器が用いられる際には包装時の空間体積を小さくし、かつその空間体積が変化しないように圧縮して梱包することが好ましい。遮蔽性容器が用いられる際には包装時の空間体積を小さくすることが好ましい。粒状農薬組成物を包装する際の空間体積としては、該空間体積の内容物体積に対する割合が20%以下、好ましくは10%以下、さらに好ましくは5%以下である。
【0081】
また、上記粒状農薬組成物は、殺虫剤、殺菌剤、除草剤、植物生長調整剤等の農薬有効成分を含有してなり、農薬の一般的な使用場面で使用される。例えば、水田、乾田、育苗箱、畑地、果樹園、桑畑、温室、露地などの農耕地、森林、芝生、ゴルフ場、街路樹、道路、路肩、湿地などの非農耕地、池、貯水池、川、水路、下水道などの水系等で使用することができる。
【0082】
上記粒状農薬組成物の施用方法は、農薬の一般的な施用方法によって施用することができ、例えば、手で直接散布、背負い式散粒機、パイプ散粒機、空中散粒機、動力散粒機、育苗箱用散粒機、トラクター搭載型散粒機、多口ホース散粒機、散粒機を搭載した田植機等により施用することができる。上記粒状農薬組成物の施用に際しては、その徐放化性能を活用できる場面での使用が好適である。すなわち、育苗箱施用、田植時用、育苗期施用、播種期施用、発芽時施用などは上記粒状農薬組成物の特性の面からも好適である。例えば上記粒状農薬組成物が育苗箱において使用される場合には、その施用量は育苗箱1枚(通常、0.16m2 程度)あたり、通常10〜200g、好ましくは25〜100gであり、その際の施用方法としては、手で直接施用、あるいは育苗箱用散粒機による施用が行われる。上記粒状農薬組成物が水田や畑地において使用される場合には、その施用量は10アールあたり、通常0.1〜10kg、好ましくは0.25〜5kgであり、その際の施用方法としては、手で直接散布、背負い式散粒機、パイプ散粒機、空中散粒機、多口ホース散粒機、散粒機を搭載した田植機、散粒機を搭載した耕運機等が用いられる。
【0083】
次に、上記粒状農薬組成物の製造例、及び混合後の均一性の試験例をあげて本発明の混合方法による効果を具体的に説明する。
【0084】
〔実施例に用いられる粒状農薬組成物の調製〕
・混合用粒剤A(赤色着色粒)
農薬活性成分としてプロシミドン原体を1w%、ベントナイト20w%、界面活性剤2w%、水溶性高分子2w%、赤色顔料0.3w%、鉱物質担体74.7w%を30L型ナウタミキサーで混合後、加水混練した。これをバスケット型押し出し造粒機(スクリーン径0.9mm)で造粒、次いで整粒乾燥後、篩別して粒径0.5〜1.4mmの粒剤Aを得た。
・混合用粒剤B(農薬成分無添加、無着色粒)
ベントナイト20w%、界面活性剤2w%、水溶性高分子2w%、鉱物質担体74.7w%を上記混合用粒剤Aと同様の方法で製剤して混合用粒剤Bを得た。
【0085】
〔実施例および比較例に用いる混合設備〕
・分散機:図2参照の縮分槽1を使用
・動的混合機:図3参照の動的混合機2を使用
・静的混合機:図4参照の静的混合機3を使用
〔実施例1〕
分散機、動的混合機、静的混合機を、この順番で縦に配置した混合装置を用い、混合用粒剤Aを500g、粒剤Bを500g別々に計量した後、混合実験を実施した。次に混合後の粒状農薬組成物を投入した容器を上中下および左右の計6区域に分け、それぞれの区域のほぼ中心部から50gをサンプリングし、農薬活性成分の含量を分析した後、分析値の変動係数CV%を求め混合均一性を評価した。結果を表1に示す。
【0086】
〔比較例1〕
動的混合機、静的混合機を、この順番で縦に配置した混合装置を用い、混合用粒剤Aを500g、粒剤Bを500g別々に計量した後、混合実験を実施した。次に実施例1と同様の方法により、混合均一性を評価した。結果を表1に示す。
【0087】
〔比較例2〕
分散機、動的混合機を、この順番で縦に配置した混合装置を用い、混合用粒剤Aを500g、粒剤Bを500g別々に計量した後、混合実験を実施した。次に実施例1と同様の方法により、混合均一性を評価した。結果を表1に示す。
【0088】
〔比較例3〕
分散機、静的混合機を、この順番で縦に配置した混合装置を用い、混合用粒剤Aを500g、粒剤Bを500g別々に計量した後、混合実験を実施した。次に実施例1と同様の方法により、混合均一性を評価した。結果を表1に示す。
【0089】
【表1】
【0090】
尚、上記表1において、変動係数CVは、
CV={(標準偏差)/(平均)}×100
によって求められ、上記変動係数CVの値が小さいほど混合均一性に優れていることを示す。
【0091】
【発明の効果】
請求項1の発明の粒状農薬組成物の製造方法は、以上のように、2種類以上の異なる農薬含有粒子からなる粒状群の混合において、上記粒子群の位置を水平方向に移動させて全体的な対流混合を行う水平混合工程と、上記粒子群の位置を上下方向に移動させて全体的な対流混合を行う上下混合工程と、粒子相互間でのすべり・衝突により局部的な拡散混合を行うミクロ混合工程とを含む構成である。
【0092】
それゆえ、上記水平混合工程と上記上下混合工程とによって全ての方向における粒子群の混合性を高め、かつミクロ混合工程において粒子の拡散性を高めることによって、優れた混合均一性を有する粒状農薬組成物を得ることができるという効果を奏する。
【0093】
請求項2の発明の粒状農薬組成物の製造方法は、以上のように、請求項1の構成に加えて、上記水平混合工程を、縮分槽によって行うことにより、上記粒子群の各粒子の落下を利用して上記水平混合工程を容易に行うことができるという効果を奏する。
【0094】
請求項3の発明の粒状農薬組成物の製造方法は、以上のように、請求項1または2の構成に加えて、上記上下混合工程を、羽根回転型混合機によって行う構成である。
【0095】
請求項4の発明の粒状農薬組成物の製造方法は、以上のように、請求項1または2の構成に加えて、上記上下混合工程を、容器回転型混合機によって行う構成である。
【0096】
それゆえ、請求項1または2の構成による効果に加えて、上記上下混合工程を容易に行うことができるという効果を奏する。
【0097】
請求項5の発明の粒状農薬組成物の製造方法は、以上のように、請求項1ないし4の何れかの構成に加えて、上記ミクロ混合工程が、粒子群の各粒子の重力による落下力を利用する構成である。
【0098】
請求項6の発明の粒状農薬組成物の製造方法は、以上のように、請求項5の構成に加えて、上記ミクロ混合工程において、粒子の集合および分散を行う構成である。
【0099】
請求項7の発明の粒状農薬組成物の製造方法は、以上のように、請求項1ないし6の何れかの構成に加えて、上記ミクロ混合工程を、カスケードミキサによって行う構成である。
【0100】
それゆえ、請求項5、6、または7の発明は、上記粒子群の各粒子の落下を利用して上記ミクロ混合工程を容易に行うことができるという効果を奏する。
【図面の簡単な説明】
【図1】本発明の一実施形態を示すものであり、混合装置の概略構成を示す断面図である。
【図2】上記混合装置における縮分槽の構造を示す図であり、図2(a)は斜視図、図2(b)は断面図である。
【図3】上記混合装置における動的混合機の構造を示す斜視図である。
【図4】上記混合装置における静的混合機の構造を示す斜視図である。
【図5】上記静的混合機における分流部の平面図である。
【図6】従来の混合装置の概略構成を示す断面図である。
【符号の説明】
1 縮分槽
2 動的混合機
3 静的混合機
22 羽根板
31 分流部
32 混合部
【発明の属する技術分野】
本発明は、2種類以上の異なる農薬含有粒子からなる粒子群を混合することによる粒状農薬組成物の製造方法に関するものである。
【0002】
【従来の技術】
薬効の異なる農薬活性成分を同時に施用する場合、散布の省力化や効力の増強等を目的として、粒剤の同一核内に複数の農薬活性成分を配合する方法がこれまで行われてきた。しかしながら、上記農薬活性成分の施用時期が異なる場合や混合する農薬活性成分が混合禁忌である場合等においては、これらの農薬活性成分を同一核内に配合すると目的とする薬効が発揮されず目的の防除効果を得ることができなかった。
【0003】
このような問題を解決するため、個々の農薬活性成分を含有する複数の核をあらかじめ調製しておき、これらを混合する方法が考えられてきた。例えば、特表平8−509485号公報には単独の農薬活性成分を含有する2種類の顆粒を調製後、これを混合する顆粒状水和剤の製造方法が開示されている。また、肥料分野においては相異なる肥料成分を含有する粒子を混合して施肥する方法が広く利用されてきた。
【0004】
しかしながら、農薬の施用においては先に述べた薬効・薬害の観点から、肥料分野において要求される混合均一性よりもはるかに高い均一性が要求される。そして、個々の農薬活性成分を含有する粒剤を混合して施用する場合において、粒子の混合均一性が乏しければ、一部の施用場所で薬効不足が生じたり、あるいは逆に薬害を生じたりする場合があり、十分な実用効果を備えた製品を提供することができない。
【0005】
実開昭53−90274号公報には、複数種の粉粒体またはフレーク状物質を混合するための装置として、図6に示すように、縮分槽101と静的混合機102とを上下に配置してなる混合装置が開示されている。
【0006】
上記混合装置において、上記縮分槽101は、仕込台103に載置された所定量の粒子群α,βを水平混合する。ここでの水平混合とは、上記仕込台103上で完全に分離されている粒子群α,βにおいて、これら粒子群α,βのそれぞれの約1/2に相当する粒子群を水平方向に移動させることによって混合する水平方向の全体的混合である。
【0007】
上記縮分槽101を通過した粒子群α,βは、次いで静的混合機102によってさらに混合される。
【0008】
上記静的混合機102は、混合部102aと分流部102bとが交互に配置された構成であり、ここを通過間に粒子の分散・集合を繰り返すことによって、相互粒子間のミクロな混合を行う。すなわち、上記静的混合機102において行われる混合は主に局部的混合(ミクロ混合)となる。
【0009】
【発明が解決しようとする課題】
ところが、上記従来の構成では、縮分槽101においての混合は水平混合であり、静的混合機102においての混合はミクロ混合であるため、上下方向における混合が十分になされない。このため、上記従来の混合方法によって得られる製品を施用した場合、粒子の混合均一性が乏しくなり、一部の施用場所で薬効不足が生じたり、あるいは逆に薬害を生じたりする場合があるという問題が生じる。
【0010】
本発明は、上記の問題点を解決するためになされたもので、その目的は、混合均一性に優れた粒状農薬組成物の製造方法を提供することにある。
【0011】
【課題を解決するための手段】
請求項1の粒状農薬組成物の製造方法は、上記の課題を解決するために、2種類以上の異なる農薬含有粒子からなる粒子群を混合することによる粒状農薬組成物の製造方法において、上記粒子群の位置を水平方向に移動させて全体的な対流混合を行う水平混合工程と、上記粒子群の位置を上下方向に移動させて全体的な対流混合を行う上下混合工程と、粒子相互間でのすべり・衝突により局部的な拡散混合を行うミクロ混合工程とを含むことを特徴としている。
【0012】
上記の構成によれば、上記水平混合工程と上記上下混合工程とによって全ての方向における粒子群の混合性を高め、かつミクロ混合工程において粒子の拡散性を高めることができる。したがって、上記3種類の工程を行うことにより、優れた混合均一性を有する粒状農薬組成物を得ることができる。尚、ここでの異なる農薬含有粒子とは、例えば、構成成分の種類または構成成分の含有率の異なる粒子である。
【0013】
請求項2の粒状農薬組成物の製造方法は、請求項1の構成に加えて、上記水平混合工程を、縮分槽によって行うことを特徴としている。
【0014】
上記の構成により、上記粒状農薬組成物の各粒子の落下を利用して上記水平混合工程を容易に行うことが可能となる。
【0015】
請求項3の粒状農薬組成物の製造方法は、請求項1または2の構成に加えて、上記上下混合工程を、羽根回転型混合機によって行うことを特徴としている。
【0016】
請求項4の粒状農薬組成物の製造方法は、請求項1または2の構成に加えて、上記上下混合工程を、容器回転型混合機によって行うことを特徴としている。
【0017】
上記請求項3または4の構成により、上記上下混合工程を容易に行うことが可能となる。
【0018】
請求項5の粒状農薬組成物の製造方法は、請求項1ないし4の何れかの構成に加えて、上記ミクロ混合工程が、粒子の重力による落下力を利用することを特徴としている。
【0019】
請求項6の粒状農薬組成物の製造方法は、請求項5の構成に加えて、上記ミクロ混合工程において、粒子の集合および分散を行うことを特徴としている。
【0020】
請求項7の粒状農薬組成物の製造方法は、請求項1ないし6の何れかの構成に加えて、上下ミクロ混合工程を、カスケードミキサによって行うことを特徴としている。
【0021】
上記請求項5、6または7の構成により、上記粒状農薬組成物の各粒子の落下を利用して上記ミクロ混合工程を容易に行うことが可能となる。
【0022】
【発明の実施の形態】
本発明において、粒状農薬組成物とは、2種類以上の農薬含有粒子からなる粒子群の混合物である。該粒状農薬組成物を構成する農薬含有粒子が異なるとは、(a)該粒子に含まれる農薬活性成分の種類が異なる場合、(b)該粒子に含まれる農薬活性成分の種類が同じで、その含有量が2倍以上異なる場合、(c)該粒子に含まれる農薬活性成分の種類および含有量が同じで、副資材の種類が異なる場合、(d)該粒子に含まれる農薬活性成分および副資材の種類が同じで、副資材の含有量が2倍以上異なる場合を指す。なお、この場合の副資材とは、農薬活性成分以外の成分でその農薬含有粒子中の含有量が1%以上のものを指す。但し、本発明において、2種類以上の異なる農薬含有粒子からなる粒子群は、1種の農薬含有粒子と1種以上の農薬非含有粒子(農薬活性成分を含んでいない粒子)とからなる粒子群をも含むものである。
【0023】
粒状農薬組成物を構成する各農薬含有粒子種の混合割合は、該組成物中1〜99重量%であり、例えば2種の農薬含有粒子からなる粒子群の混合物の場合、その割合は通常重量比で50:50〜1:99であり、好ましくは50:50〜75:25である。該農薬含有粒子の粒子径は通常、体積中位径として0.2〜20mm、好ましくは0.3〜10mmである。また、該農薬含有粒子の1gあたりの粒子数は通常、50〜5000粒、好ましくは200〜3000粒であり、該農薬含有粒子の見掛比重は通常、0.3〜1.5g/cc、好ましくは0.7〜1.2g/ccである。農薬含有粒子の見掛比重は全農法により測定することができる。本発明で混合される2種以上の農薬含有粒子においては、各農薬含有粒子種の見掛比重の差が0.3以下であることが好ましく、さらに好ましくは0.2以下である。
【0024】
本発明において農薬含有粒子の形状は通常、立方体状、直方体状、三角錐状、円錐状、円柱状、球状、ダンベル状、楕球状、卵状、凸レンズ状、凹レンズ状、板状等である。
【0025】
本発明において農薬含有粒子は通常、農薬活性成分、担体からなり、必要に応じて、界面活性剤、粘結剤、溶剤、安定化剤、着色剤、被覆剤等が添加される。
【0026】
農薬活性成分としては、殺虫剤、殺菌剤、除草剤、昆虫成長制御剤、植物成長制御剤等を挙げることができ、例えば次に示す化合物を具体的に挙げることができる。
【0027】
フェニトロチオン[O,O−ジメチルO−(3−メチル−4−ニトロフェニル)ホスホロチオエート]、フェンチオン[O,O−ジメチルO−(3−メチル−4−(メチルチオ)フェニル)ホスホロチオエート]、ダイアジノン[O,O−ジエチル−O−2−イソプロピル−6−メチルピリミジン−4−イルホスホロチオエート]、クロルピリホス[O,O−ジエチル−O−3,5,6−トリクロロ−2−ピリジルホスホロチオエート]、アセフェート[O,S−ジメチルアセチルホスホラミドチオエート]、メチダチオン[S−2,3−ジヒドロ−5−メトキシ−2−オキソ−1,3,4−チアジアゾール−3−イルメチルO,O−ジメチルホスホロジチオエート]、ジスルホトン[O,O−ジエチルS−2−エチルチオエチルホスホロジチオエート]、DDVP[2,2−ジクロロビニルジメチルホスフェート]、スルプロホス[O−エチルO−4−(メチルチオ)フェニルS−プロピルホスホロジチオエート]、シアノホス[O−4−シアノフェニルO,O−ジメチルホスホロチオエート]、ジオキサベンゾホス[2−メトキシ−4H−1,3,2−ベンゾジオキサホスホリン−2−スルフィド]、ジメトエート[O,O−ジメチル−S−(N−メチルカルバモイルメチル)ジチオホスフェート]、フェントエート[エチル2−ジメトキシホスフィノチオイルチオ(フェニル)アセテート]、マラチオン[ジエチル(ジメトキシホスフィノチオイルチオ)サクシネート]、トリクロルホン[ジメチル2,2,2−トリクロロ−1−ヒドロキシエチルホスホネート]、アジンホスメチル[S−3,4−ジヒドロ−4−オキソ−1,2,3−ベンゾトリアジン−3−イルメチルO,O−ジメチルホスホロジチオエート]、モノクロトホス[ジメチル−{(E)−1−メチル−2−(メチルカルバモイル)ビニル)ホスフェート]、エチオン[O,O,O’,O’−テトラエチル−S,S’−メチレンビス(ホスホロジチオエート)]等の有機リン系化合物、
BPMC[2−sec−ブチルフェニルメチルカーバメート]、ベンフラカルブ[エチル N−{2,3−ジヒドロ−2,2−ジメチルベンゾフラン−7−イルオキシカルボニル(メチル)アミノチオ}−N−イソプロピル−β−アラニネート]、プロポキスル[2−イソプロポキシフェニル−N−メチルカーバメート]、カルボスルファン[2,3−ジヒドロ−2,2−ジメチル−7−ベンゾ[b]フラニル N−ジブチルアミノチオ−N−メチルカーバメート]、カルバリル[1−ナフチル−N−メチルカーバメート]、メソミル[S−メチル−N−(メチルカルバモイルオキシ)チオアセトイミデート]、エチオフェンカルブ[2−(エチルチオメチル)フェニルメチルカーバメート]、アルジカルブ[2−メチル−2−(メチルチオ)プロピオンアルデヒド O−メチルカルバモイルオキシム]、オキサミル[N,N−ジメチル−2−メチルカルバモイルオキシイミノ−2−(メチルチオ)アセトアミド]、フェノチオカルブ[S−4−フェノキシブチル−N,N−ジメチルチオカーバメート]等のカーバメート系化合物、
エトフェンプロックス[2−(4−エトキシフェニル)−2−メチル−1−(3−フェノキシベンジル)オキシプロパン]、フェンバレレート[(RS)−α−シアノ−3−フェノキシベンジル (RS)−2−(4−クロロフェニル)−3−メチルブチレート]、エスフェンバレレート[(S)−α−シアノ−3−フェノキシベンジル (S)−2−(4−クロロフェニル)−3−メチルブチレート]、フェンプロパトリン[(RS)−α−シアノ−3−フェノキシベンジル 2,2,3,3−テトラメチルシクロプロパンカルボキシレート]、シペルメトリン[(RS)−α−シアノ−3−フェノキシベンジル (1RS)−シス,トランス−3−(2,2−ジクロロビニル)−2,2−ジメチルシクロプロパンカルボキシレート]、ペルメトリン[3−フェノキシベンジル (1RS)−シス,トランス−3−(2,2−ジクロロビニル)−2,2−ジメチルシクロプロパンカルボキシレート]、シハロトリン[(RS)−α−シアノ−3−フェノキシベンジル(1RS,3Z)−シス−3−(2−クロロ−3,3,3−トリフルオロプロプ−1−エニル)−2,2−ジメチルシクロプロパンカルボキシレート]、デルタメトリン[(S)−α−シアノ−3−フェノキシベンジル (1R)−シス−3−(2,2−ジブロモビニル)−2,2−ジメチルシクロプロパンカルボキシレート]、シクロプロトリン[(RS)−α−シアノ−3−フェノキシベンジル (RS)−2,2−ジクロロ−1−(4−エトキシフェニル)シクロプロパンカルボキシレート]、フルバリネート[α−シアノ−3−フェノキシベンジル N−(2−クロロ−α,α,α−トリフルオロ−p−トリル)−D−バリネート]、ビフェンスリン[2−メチル−3−フェニルベンジル (1RS,3Z)−シス−3−(2−クロロ−3,3,3−トリフルオロ−1−プロペニル)−2,2−ジメチルシクロプロパンカルボキシレート]、ハルフェンプロックス[2−(4−ブロモジフルオロメトキシフェニル)−2−メチル−1−(3−フェノキシベンジル)メチルプロパン]、トラロメトリン[(S)−α−シアノ−3−フェノキシベンジル (1R)−シス−3−(1,2,2,2−テトラブロモエチル)−2,2−ジメチルシクロプロパンカルボキシレート]、シラフルオフェン[(4−エトキシフェニル)−{3−(4−フルオロ−3−フェノキシフェニル)プロピル}ジメチルシラン]、d−フェノトリン[3−フェノキシベンジル (1R)−シス,トランス−2,2−ジメチル−3−(2−メチル−1−プロペニル)シクロプロパンカルボキシレート]、シフェノトリン[(RS)−α−シアノ−3−フェノキシベンジル (1R)−シス,トランス−2,2−ジメチル−3−(2−メチル−1−プロペニル)シクロプロパンカルボキシレート]、d−レスメトリン[5−ベンジル−3−フリルメチル (1R)−シス,トランス−2,2−ジメチル−3−(2−メチル−1−プロペニル)シクロプロパンカルボキシレート]、アクリナスリン[(S)−α−シアノ−3−フェノキシベンジル (1R,3Z)−シス−(2,2−ジメチル−3−{3−オキソ−3−(1,1,1,3,3,3−ヘキサフルオロプロピルオキシ)プロペニル}シクロプロパンカルボキシレート]、シフルトリン[(RS)−α−シアノ−4−フルオロ−3−フェノキシベンジル 3−(2,2−ジクロロビニル)−2,2−ジメチルシクロプロパンカルボキシレート]、テフルトリン[2,3,5,6−テトラフルオロ−4−メチルベンジル (1RS,3Z)−シス−3−(2−クロロ−3,3,3−トリフルオロ−1−プロペニル)−2,2−ジメチルシクロプロパンカルボキシレート]、トランスフルスリン[2,3,5,6−テトラフルオロベンジル (1R)−トランス−3−(2,2−ジクロロビニル)−2,2−ジメチルシクロプロパンカルボキシレート]、テトラメトリン[3,4,5,6−テトラヒドロフタルイミドメチル (1RS)−シス,トランス−2,2−ジメチル−3−(2−メチル−1−プロペニル)シクロプロパンカルボキシレート]、アレトリン[(RS)−2−メチル−4−オキソ−3−(2−プロペニル)−2−シクロペンテン−1−イル (1RS)−シス,トランス−2,2−ジメチル−3−(2−メチル−1−プロペニル)シクロプロパンカルボキシレート]、プラレトリン[(S)−2−メチル−4−オキソ−3−(2−プロピニル)−2−シクロペンテン−1−イル (1R)−シス,トランス−2,2−ジメチル−3−(2−メチル−1−プロペニル)シクロプロパンカルボキシレート]、エンペントリン[(RS)−1−エチニル−2−メチル−2−ペンテニル (1R)−シス,トランス−2,2−ジメチル−3−(2−メチル−1−プロペニル)シクロプロパンカルボキシレート]、イミプロスリン[2,5−ジオキソ−3−(2−プロピニル)イミダゾリジン−1−イルメチル (1R)−シス,トランス−2,2−ジメチル−3−(2−メチル−1−プロペニル)シクロプロパンカルボキシレート]、d−フラメトリン[5−(2−プロピニル)フルフリル (1R)−シス,トランス−2,2−ジメチル−3−(2−メチル−1−プロペニル)シクロプロパンカルボキシレート]、5−(2−プロピニル)フルフリル 2,2,3,3−テトラメチルシクロプロパンカルボキシレート等のピレスロイド系化合物、
ブプロフェジン[2−tert−ブチルイミノ−3−イソプロピル−5−フェニル−1,3,5−チアジアジン−4−オン]等のチアジアジン誘導体、ニトロイミダゾリジン誘導体、カルタップ[S,S’−(2−ジメチルアミノトリメチレン)ビス(チオカーバメート)]、チオシクラム[N,N−ジメチル−1,2,3−トリチアン−5−イルアミン]、ベンスルタップ[S,S’−2−ジメチルアミノトリメチレンジ(ベンゼンチオスルフォネート)]等のネライストキシン誘導体、N−シアノ−N’−メチル−N’−(6−クロロ−3−ピリジルメチル)アセトアミジン等のN−シアノアミジン誘導体、エンドスルファン[6,7,8,9,10,10−ヘキサクロロ−1,5,5a,6,9,9a−ヘキサヒドロ−6,9−メタノ−2,4,3−ベンゾジオキサチエピンオキサイド]、γ−BHC[1,2,3,4,5,6−ヘキサクロロシクロヘキサン]、ジコホル[1,1−ビス(4−クロロフェニル)−2,2,2−トリクロロエタノール]等の塩素化炭化水素化合物、クロルフルアズロン[1−{3,5−ジクロロ−4−(3−クロロ−5−トリフルオロメチルピリジン−2−イルオキシ)フェニル}−3−(2,6−ジフルオロベンゾイル)ウレア]、テフルベンズロン[1−(3,5−ジクロロ−2,4−ジフルオロフェニル)−3−(2,6−ジフルオロベンゾイル)ウレア]、フルフェノクスロン[1−{4−(2−クロロ−4−トリフルオロメチルフェノキシ)−2−フルオロフェニル}−3−(2,6−ジフルオロベンゾイル)ウレア]等のベンゾイルフェニルウレア系化合物、アミトラズ[N,N’−{(メチルイミノ)ジメチリジン}−ジ−2,4−キシリジン]、クロルジメホルム[N’−(4−クロロ−2−メチルフェニル)−N,N−ジメチルメチニミダミド]等のホルムアミジン誘導体、ジアフェンチウロン[N−(2,6−ジイソプロピル−4−フェノキシフェニル)−N’−t−ブチルカルボジイミド]等のチオ尿素誘導体、N−フェニルピラゾール系化合物、
メトキサジアゾン[5−メトキシ−3−(2−メトキシフェニル)−1,3,4−オキサジアゾール−2−(3H)−オン]、ブロモプロピレート[イソプロピル4,4’−ジブロモベンジレート]、テトラジホン[4−クロロフェニル 2,4,5−トリクロロフェニルスルホン]、キノメチオネート[S,S−6−メチルキノキサリン−2,3−ジイルジチオカルボネート]、プロパルギット[2−(4−tert−ブチルフェノキシ)シクロヘキシルプロピ−2−イルスルファイト]、フェンブタティンオキシド[ビス{トリス(2−メチル−2−フェニルプロピル)ティン}オキシド]、ヘキシチアゾクス[(4RS,5RS)−5−(4−クロロフェニル)−N−クロロヘキシル−4−メチル−2−オキソ−1,3−チアゾリジン−3−カルボキサミド]、クロフェンテジン[3,6−ビス(2−クロロフェニル)−1,2,4,5−テトラジン]、ピリダベン[2−tert−ブチル−5−(4−tert−ブチルベンジルチオ)−4−クロロピリダジン−3(2H)−オン]、フェンピロキシメート[tert−ブチル (E)−4−[(1,3−ジメチル−5−フェノキシピラゾール−4−イル)メチレンアミノオキシメチル]ベンゾエート]、デブフェンピラド[N−4−tert−ブチルベンジル)−4−クロロ−3−エチル−1−メチル−5−ピラゾールカルボキサミド]、ポリナクチンコンプレックス[テトラナクチン、ジナクチン、トリナクチン]、ピリミジフェン[5−クロロ−N−[2−{4−(2−エトキシエチル)−2,3−ジメチルフェノキシ}エチル]−6−エチルピリミジン−4−アミン]、ミルベメクチン、アバメクチン、イバーメクチン、アザジラクチン[AZAD]、5−メチル[1,2,4]トリアゾロ[3,4−b]ベンゾチアゾール、メチル 1−(ブチルカルバモイル)ベンズイミダゾール−2−カーバメート、6−(3,5−ジクロロ−4−メチルフェニル)−3(2H)−ピリダジノン、1−(4−クロロフェノキシ)−3,3−ジメチル−1−(1H−1,2,4−トリアゾール−1−イル)ブタノン、(E)−4−クロロ−2−(トリフルオロメチル)−N−[1−(イミダゾール−1−イル)−2−プロポキシエチリデン]アニリン、1−[N−プロピル−N−[2−(2,4,6−トリクロロフェノキシ)エチル]カルバモイル]イミダゾール、(E)−1−(4−クロロフェニル)−4,4−ジメチル−2−(1H−1,2,4−トリアゾール−1−イル)−1−ペンテン−3−オール、1−(4−クロロフェニル)−4,4−ジメチル−2−(1H−1,2,4−トリアゾール−1−イル)ペンタン−3−オール、(E)−1−(2,4−ジクロロフェニル)−4,4−ジメチル−2−(1H−1,2,4−トリアゾール−1−イル)−1−ペンテン−3−オール、1−(2,4−ジクロロフェニル)−4,4−ジメチル−2−(1H−1,2,4−トリアゾール−1−イル)ペンタン−3−オール、4−[3−(4−tert−ブチルフェニル)−2−メチルプロピル]−2,6−ジメチルモルホリン、2−(2,4−ジクロロフェニル)−1−(1H−1,2,4−トリアゾール−1−イル)ヘキサン−2−オール、O,O−ジエチル O−2−キノキサリニル ホスホロチオエート、O−(6−エトキシ−2−エチル−4−ピリミジニル) O,O−ジメチル ホスホロチオエート、2−ジエチルアミノ−5,6−ジメチルピリミジン−4−イル ジメチルカーバメート、4−(2,4−ジクロロベンゾイル)−1,3−ジメチル−5−ピラゾリル p−トルエンスルホナート、4−アミノ−6−(1,1−ジメチルエチル)−3−メチルチオ−1,2,4−トリアジン−5(4H)−オン、2−クロロ−N−[(4−メトキシ−6−メチル−1,3,5−トリアジン−2−イル)アミノカルボニル]ベンゼンスルホンアミド、2−メトキシカルボニル−N−[(4,6−ジメトキシピリミジン−2−イル)アミノカルボニル]ベンゼンスルホンアミド、2−メトキシカルボニル−N−[(4,6−ジメチルピリミジン−2−イル)アミノカルボニル]ベンゼンスルホンアミド、2−メトキシカルボニル−N−[(4−メトキシ−6−メチル−1,3,5−トリアジン−2−イル)アミノカルボニル]ベンゼンスルホンアミド、2−エトキシカルボニル−N−[(4−クロロ−6−メトキシピリミジン−2−イル)アミノカルボニル]ベンゼンスルホンアミド、2−(2−クロロエトキシ)−N−[(4−メトキシ−6−メチル−1,3,5−トリアジン−2−イル)アミノカルボニル]ベンゼンスルホンアミド、2−メトキシカルボニル−N−[(4,6−ジメトキシピリミジン−2−イル)アミノカルボニル]フェニルメタンスルホンアミド、2−メトキシカルボニル−N−[(4−メトキシ−6−メチル−1,3,5−トリアジン−2−イル)アミノカルボニル]チオフェン−3−スルホンアミド、4−エトキシカルボニル−N−[(4,6−ジメトキシピリミジン−2−イル)アミノカルボニル]−1−メチルピラゾール−5−スルホンアミド、2−[4,5−ジヒドロ−4−メチル−4−(1−メチルエチル)−5−オキソ−1H−イミダゾール−2−イル]−3−キノリンカルボン酸、2−[4,5−ジヒドロ−4−メチル−4−(1−メチルエチル)−5−オキソ−1H−イミダゾール−2−イル]−5−エチル−3−ピリジンカルボン酸、メチル 6−(4−イソプロピル−4−メチル−5−オキソイミダゾリン−2−イル)−m−トルエート、メチル 2−(4−イソプロピル−4−メチル−5−オキソイミダゾリン−2−イル)−p−トルエート、2−(4−イソプロピル−4−メチル−5−オキソイミダゾリン−2−イル)ニコチン酸、N−(4−クロロフェニル)メチル−N−シクロペンチル−N’−フェニルウレア、(RS)−2−シアノ−N−[(R)−1(2,4−ジクロロフェニル)エチル]−3,3−ジメチルブチルアミド、N−(1,3−ジヒドロ−1,1,3−トリメチルイソベンゾフラン−4−イル)−5−クロロ−1,3−ジメチルピラゾール−4−カルボキシアミド、N−[2,6−ジブロモ−4−(トリフルオロメトキシ)フェニル]−2−メチル−4−(トリフルオロメチル)−5−チアゾールカルボキシアミド、2,2−ジクロロ−N−[1−(4−クロロフェニル)エチル]−3−メチルシクロプロパンカルボキシアミド、メチル(E)−2−2−6−(2−シアノフェノキシ)ピリミジン−4−イルオキシ−フェニル−3−メトキシアクリレイト、5−メチル−1,2,4−トリアゾロ[3,4−b]ベンゾチアゾール、3−アリルオキシ−1,2−ベンゾイソチアゾール−1,1−ジオキシド、ジイソプロピル=1,3−ジチオラン−2−イリデン−マロネート、O,O−ジプロピル−O−4−メチルチオプェニルホスフェートなどが挙げられる。
【0028】
担体としては、鉱物質担体、植物質担体、動物質担体、合成担体等が挙げることができる。鉱物質担体としては、例えば、カオリナイト、ディッカナイト、ナクライト、ハロサイト等のカオリン鉱物、クリソタイル、リザータイト、アンチコライト、アメサイト等の蛇紋石、ナトリウムモンモリロナイト、カルシウムモンモリロナイト、マグネシウムモンモリロナイト等のモンモリロナイト鉱物、サポナイト、ヘクトライト、ソーコナイト、ハイデライト等のスメクタイト、パイロフィライト、タルク、蝋石、白雲母、フェンジャイト、セリサイト、イライト等の雲母、クリストバライト、クォーツ等のシリカ、アタパルジャイト、セピオライト等の含水珪酸マグネシウム、ドロマイト、炭酸カルシウム微粉末等の炭酸カルシウム、ギプサム、石膏等の硫酸塩鉱物、ゼオライト、沸石、凝灰石、バーミキュライト、ラポナイト、軽石、珪藻土、酸性白土、活性白土などが挙げられる。植物質担体としては、例えば、セルロース、籾殻、小麦粉、木粉、澱粉、糠、ふすま、大豆粉等が挙げられる。合成担体としては、例えば、湿式法シリカ、乾式法シリカ、湿式法シリカの焼成品、表面改質シリカ、加工澱粉(松谷化学製パインフロー等)などが挙げられる。これらの担体は農薬含有粒子中に、通常0.5〜99.9重量%、好ましくは25〜99.5重量%含有される。
【0029】
界面活性剤としては、例えば、ポリオキシエチレンアルキルエーテル、ポリオキシエチレンアルキルアリールエーテル、ポリオキシエチレンラノリンアルコール、ポリオキシエチレンアルキルフェノールホルマリン縮合物、ポリオキシエチレンソルビタン脂肪酸エステル、ポリオキシエチレングリセリルモノ脂肪酸エステル、ポリオキシプロピレングリコールモノ脂肪酸エステル、ポリオキシエチレンソルビトール脂肪酸エステル、ポリオキシエチレンヒマシ油誘導体、ポリオキシエチレン脂肪酸エステル、高級脂肪酸グリセリンエステル、ソルビタン脂肪酸エステル、ショ糖脂肪酸エステル、ポリオキシエチレンポリオキシプロピレンブロックポリマー、ポリオキシエチレン脂肪酸アミド、アルキロールアミド、ポリオキシエチレンアルキルアミン等のノニオン界面活性剤、ドデシルアミン塩酸塩などのアルキルアミン塩酸塩、ドデシルトリメチルアンモニウム塩、アルキルジメチルベンジルアンモニウム塩、アルキルピリジニウム塩、アルキルイソキノリニウム塩、ジアルキルモルホリニウム塩などのアルキル四級アンモニウム塩、塩化ベンゼトニウム、ポリアルキルビニルピリジニウム塩等のカチオン性界面活性剤、パルミチン酸ナトリウムなどの脂肪酸ナトリウム、ポリオキシエチレンラウリルエーテルカルボン酸ナトリウムなどのエーテルカルボン酸ナトリウム、ラウロイルサルコシンナトリウム、N−ラウロイルグルタミン酸ナトリウムなどの高級脂肪酸のアミノ酸縮合物、高級アルキルスルホン酸塩、ラウリン酸エステルスルホン酸塩などの高級脂肪酸エステルスルホン酸塩、ジオクチルスルホサクシネートのどのジアルキルスルホコハク酸塩、オレイン酸アミドスルホン酸などの高級脂肪酸アミドスルホン酸塩、ドデシルベンゼンスルホン酸ナトリウム、ジイソプロピルナフタレンスルホン酸塩などのアルキルアリールスルホン酸塩、アルキルアリールスルホン酸塩のホルマリン縮合物、ペンタデカン−2−サルフェートなどの高級アルコール硫酸エステル塩、ジポリオキシエチレンドデシルエーテルリン酸エステル等のポリオキシエチレンアルキルリン酸エステル、スチレン−マレイン酸共重合体等のアニオン性界面活性剤、N−ラウリルアラニン、N,N,N−トリメチルアミノプロピオン酸、N,N,N−トリヒドロキシエチルアミノプロピオン酸、N−ヘキシル−N,N−ジメチルアミノ酢酸、1−(2−カルボキシエチル)ピリミジニウムベタイン、レシチン等の両性界面活性剤などが挙げられる。界面活性剤の量は農薬含有粒子に対し、通常0.1〜40重量%、好ましくは0.1〜10重量%である。
【0030】
粘結剤としては、例えば.アクリル系高分子、ビニル系高分子、ポリオキシアルキレンなどの合成高分子、セルロース誘導体、加工澱粉、リグニン誘導体などの半合成高分子、天然高分子等が挙げられる。アクリル系高分子としては、ポリアクリル酸ナトリウム、ポリメタクリル酸ナトリウム等が挙げられ、ビニル系高分子としては、ポリビニルアルコール、ポリビニルピロリドン、酢酸ビニル共重合体等が挙げられる。ポリオキシアルキレンとしてはポリオキシエチレンやポリオキシプロピレン等が挙げられる。セルロース誘導体としては、カルボキシメチルセルロースナトリウム、デキストリン、ヒドロキシプロピルメチルセルロース、メチルセルロース、メチルエチルセルロース、ヒドロキシプロピルセルロース等が挙げられ、加工澱粉としては、変性澱粉、カルボキシメチルデンプン、可溶性澱粉等が挙げられる。リグニン誘導体としては、リグニンスルホン酸ナトリウム等が挙げられる。天然高分子としては、アラビアガム、ザンサンガム、トラガントガム、グアーガム、カラギーナン、アルギン酸、アルギン酸ナトリウムなどの多糖類や、カゼイン、カゼイン石灰、ゼラチン、コラーゲンなどの蛋白質類等が挙げられる。粘結剤の量は農薬含有粒子に対し、通常0.1〜10重量%、好ましくは0.5〜5重量%である。
【0031】
溶媒としては、例えば、ヘキサン、デカン、トリデカン、ヘキサデカン、オクタデカンなどの飽和脂肪族炭化水素、1−ウンデセン、1−ヘンエイコセンなどの不飽和炭化水素、セレクロールS45(ICI製溶剤)などのハロゲン炭化水素類、メチルエチルケトン、シクロヘキサノンなどのケトン類、エタノール、ブタノール、オクタノールなどのアルコール類、酢酸エチル、フタル酸ジメチル、ラウリル酸メチル、パルミチン酸エチル、酢酸オクチル、コハク酸ジオクチル、アジピン酸ジデシルなどのエステル類、キシレン、エチルベンゼン、オクタデシルベンゼン、ソルベッソ100(エクソン化学製溶剤)、ドデシルナフタレン、トリデシルナフタレン、ソルベッソ200(エクソン化学製溶剤)などのアルキルナフタレン類、エチレングリコール、ジエチレングリコールなどのグリコール類、プロピレングリコールモノメチルエーテル、エチレングリコールモノエチルエーテルなどのグリコールエーテル類、オレイン酸、カプリン酸、エナント酸などの脂肪酸類、N,N−ジメチルホルムアミド、N,N−ジエチルホルムアミドなどの酸アミド類、オリーブ油、大豆油、菜種油、ヒマシ油、アマニ油、綿実油、パーム油、アボガド油、サメ肝油などの動植物油、マシン油などの鉱物油、グリセリン、グリセリン脂肪酸エステルなどのグリセリン誘導体等が挙げられる。溶媒の量は農薬含有粒子に対し、通常30重量%以下、好ましくは0.1〜20重量%である。
【0032】
安定化剤としては、例えば、フェノール系酸化防止剤、アミン系酸化防止剤、リン系酸化防止剤、イオウ系酸化防止剤、紫外線吸収剤、エポキシ化大豆油、エポキシ化アマニ油、エポキシ化菜種油等のエポキシ化植物油、イソプロピルアシッドホスフェート、流動パラフィン、エチレングリコールなどが挙げられる。安定化剤の量は農薬含有粒子に対し、通常0.01〜10重量%、好ましくは0.01〜5重量%である。
【0033】
着色剤としては、例えば、ローダミンB,ソーラーローダミンなどのローダミン類、黄色4号、青色1号、赤色2号などの色素等が、香料としては、例えば、アセト酢酸エチル、エナント酸エチル、桂皮酸エチル、酢酸イソアミル等のエステル系香料、カプロン酸、桂皮酸等の有機酸系香料、桂皮アルコール、ゲラニオール、シトラール、デシルアルコール等のアルコール系香料、バニリン、ピペロナール、ペリルアルデヒド等のアルデヒド類、マルトール、メチルβ−ナフチルケトン等のケトン系香料、メントールなどが挙げられる。着色剤及び/又は香料の量は農薬含有粒子に対し、通常0.01〜5重量%である。
【0034】
被膜剤としては、例えば、ワックス、熱可塑性樹脂、熱硬化性樹脂、硫黄等が挙げられる。
【0035】
ワックスとしては、例えば、カーボワックス、ヘキストロウ、蔗糖エステル、脂肪酸エステルなどの合成ワックス、カルナウバワックス、ミツロウ、木ロウなどの天然ワックス、パラフィンワックス、ペトロラクタムなどの石油ワックス等が挙げられる。
【0036】
熱可塑性樹脂としては、例えば、ポリエチレン、ポリプロピレン、ポリブテン、ポリスチレンなどのポリオレフィン、ポリ酢酸ビニル、ポリ塩化ビニル、ポリ塩化ビニリデン、ポリアクリル酸、ポリメタアクリル酸、ポリアクリル酸エステル、ポリメタクリル酸エステルなどのビニル重合物、ブタジエン重合物、イソプレン重合物、クロロプレン重合物、ブタジエン−スチレン共重合物、エチレン−プロピレン−ジエン共重合物、スチレン−イソプレン共重合物などのジエン系重合物、エチレン−プロピレン共重合物、ブテン−エチレン共重合物、ブテン−プロピレン共重合物、エチレン−酢酸ビニル共重合物、エチレン−アクリル酸共重合物、エチレン−メタアクリル酸共重合物、エチレン−メタアクリル酸エステル共重合物、エチレン−一酸化炭素共重合物、エチレン−酢酸ビニル−一酸化炭素共重合物などのポリオレフィン共重合物、塩化ビニル−ビニルアセテート共重合物、塩化ビニリデン−塩化ビニル共重合物などの塩化ビニル共重合物等が挙げられる。
【0037】
熱硬化性樹脂としては、例えば、ウレタン樹脂、エポキシ樹脂、アルキド樹脂、不飽和ポリエステル樹脂、フェノール樹脂、ウレア・メラミン樹脂、尿素樹脂、シリコン樹脂等が挙げられる。
【0038】
ウレタン樹脂は、通常、ポリイソシアナートとポリオールとが、有機金属やアミン等の硬化剤の存在下に反応することによって生成する。該硬化剤としては、ジブチル錫ジアセテート、ジブチル錫ジクロライド、ジブチル錫ジラウレート、ジブチルチオ錫酸、オクチル酸第一錫、ジ−n−オクチル錫ジラウレートなどの有機金属、トリエチレンジアミン、N−メチルモルホリン、N,N−ジメチルジドデシルアミン、N−ドデシルモルホリン、N,N−ジメチルシクロヘキシルアミン、N−エチルモルホリン、ジメチルエタノールアミン、N,N−ジメチルベンジルアミン、1,8−ジアザビシクロ(5,4,0)ウンデセン−7、イソプロピルチタネート、テトラブチルチタネート、オキシイソプロピルバナデート、n−プロピルジルコネート、1,4−ジアザビシクロ[2,2,2]オクタン等が挙げられる。ウレタン樹脂のモノマーであるポリイソシアネートとポリオールは、通常、モノマー単独、溶液、水系エマルジョン、または、有機溶剤系エマルジョン等の形態で使用される。該ポリイソシアネートとしては、トルエンジイソシアネート(TDI)、ジフェニルメタンジイソシアネート(MDI)、ナフタレンジイソシアネート、トリレンジイソシアネート、ヘキサメチレンジイソシアネート、イソホロンジイソシアネート、キシリレンジイソシアネート、4,4−メチレンビス(シクロヘキシルイソシアネート)、トリメチルヘキサメチレンジイソシアネート、1,3−(イソシアネートメチル)シクロヘキサン、トリフェニルメタントリイソシアネート、トリス(イソシアネートフェニル)チオフォスフェイト、及び、これらの混合物等が挙げられる。なお、上記のポリイソシアネートモノマーに代えて、これらの変性体やオリゴマーを用いることもできる。変性体としては、アダクト変性体、ビウレット変性体、イソシアヌレート変性体、ブロック変性体、プレポリマー変性体、2量化変性体等が挙げられる。該ポリオールとしては、縮合系ポリエステルポリオール、ポリエーテルポリオール、ポリ(メタ)アクリル酸ポリオール、ラクトン系ポリエステルポリオール、ポリカーボネートポリオール、天然ポリオールやその変性物、等が挙げられる。縮合系ポリエステルポリオールは、通常、ポリオールと二塩基酸との縮合反応によって、ポリエーテルポリオールは、通常、環状オキシドの重合反応によって得られる。ポリ(メタ)アクリル酸ポリオールは、通常、ポリ(メタ)アクリル酸とポリオールとの縮合反応、(メタ)アクリル酸とポリオールとの縮合反応、または、(メタ)アクリル酸エステルモノマーの重合反応によって得られる。ラクトン系ポリエステルポリオールは多価アルコールを開始剤とするε−カプロラクタムの開環重合によって得られる。ポリカーボネートポリオールは、通常、グリコールとカーボネートとの反応によって得られ、ポリオールとしては、メチレングリコール、エチレングリコール、プロピレングリコール、テトラメチレングリコール、ヘキサメチレンジオール、トリメチロールプロパン、ポリテトラメチレングリコール、グリセリン、ペンタエリスリトール、ソルビトール、ショ糖、および.これらのオリゴマー等が挙げられる。二塩基酸としては、アジピン酸、フタル酸等が挙げられる。(メタ)アクリル酸としては、アクリル酸、メタクリル酸などがー般に用いられる。
【0039】
エポキシ樹脂は、通常、硬化剤の存在下におけるフェノール又はアルコールとエピクロルヒドリンとの反応、硬化剤の存在下におけるカルボン酸とエピクロルヒドリンとの反応、硬化剤の存在下におけるアミン、シアヌル酸又はヒダントインとエピクロルヒドリンとの反応、過酢酸等の硬化剤の存在下における脂肪族環状エポキシ化合物の反応等によって生成する。該硬化剤としては、ジエチレントリアミン、トリエチレンテトラミン、メタキシリレンジアミン、イソホロンジアミン、1,3−ビスアミノメチルシクロヘキサン、ジアミノジフェニルメタン、m−フェニレンジアミン、ジアミノジフェニルスルホン、ジシサンジアミド、有機酸ジヒドラジド、ポリアミド変性ポリアミン、ケトン変性ポリアミン、エポキシ変性ポリアミン、チオ尿素変性ポリアミン、マンニッヒ変性ポリアミン、マイケル付加変性ポリアミン、ドデセニル無水コハク酸、ポリアゼライン酸無水物、ヘキサヒドロ無水フタル酸、メチルテトラヒドロ無水フタル酸、無水メチルナジック酸、無水トリメット酸、無水ピロメリット酸、ベンゾフェノンテトラカルボン酸、テトラブロモ無水フタル酸、無水ヘット酸、ノボラック型ポリフェノール、ポリメルカプタン、ポリイソシアネート、カルボン酸含有ポリエステル樹脂、ベンジルジメチルアニリン、2,4,6−トリスジメチルアミノメチルフェノール、2−メチルイミダゾール、2−エチル、4−メチル−イミダゾール、2−ヘプタデシルイミダゾール、芳香族スルホニウム塩、芳香族ジアゾニウム塩、レゾール型フェノール樹脂、メチロール基含有尿素樹脂、メチロール基含有メラミン樹脂などが挙げられる。生成するエポキシ樹脂としては、ビスフェノールA型、ビスフェノールF型、臭素化ビスフェノールA型、水添ビスフェノールA型、ビスフェノールS型、ビスフェノールAF型、ビフェニル型、ナフタレン型、フルオレイン型、フェノールノボラック型、オルソクレソーンノボラック型、DPPノボラック型、トリスヒドロキシフェニルメタン型、テトラフェニロールエタン型などのグリシジルエーテル型エポキシ樹脂、テトラグリシジルジアミノジフェニルメタン型、トリグリシジルイソシアヌレート型、ヒダントイン型、アミノフェノール型、アニリン型、トルイジン型などのグリシジルアミン型エポキシ樹脂、脂環型エポキシ樹脂等が挙げられる。
【0040】
アルキド樹脂は、例えば、多塩基酸と多価アルコールとの反応を必要に応じて天然植物油または動物脂等の変成剤、金属石鹸、皮張防止剤の存在下に行うことによって生成する。該多塩基酸としては、無水フタル酸、無水マレイン酸等が挙げられ、該多価アルコールとしては、ペンタエリストール、グリセリン等が挙げられる。該変成剤としては、例えば、大豆油、アマニ油、桐油、サフラワー油、ヤシ油、パーム油、脱水ヒマシ油等が挙げられ、該金属石鹸としては、通常、マンガン、コバルト、ジルコニウム、ニッケル、鉄、鉛等のナフテン類またはオクチル酸類、例えば、オクチル酸ジルコニウム、ナフテン酸マンガン、オクチル酸コバルト、およびそれらの混合物等が挙げられる。該皮張防止剤としては、ジペンテン、メトキシフェノール、シクロヘキサノンオキシム、メチルエチルケトンオキシム、およびそれらの混合物等が挙げられる。
【0041】
不飽和ポリエステル樹脂は、通常、不飽和二塩基酸と二価アルコールとをビニルモノマーの存在下に反応させることによって得られる。該不飽和二塩基酸としては、無水フタル酸、イソフタル酸、テレフタル酸、コハク酸、アジピン酸、アゼライン酸、セバシン酸、テトラヒドロ無水フタル酸、ヘキサヒドロ無水フタル酸、テトラブロム無水フタル酸、テトラクロロ無水フタル酸、無水ヘット酸、エンドメチレンテトラヒドロ無水フタル酸等が挙げられ、該二価アルコールとしては、エチレングリコール、プロピレングリコール、1,3−ブチレングリコール、1,6−ヘキサンジオール、ジエチレングリコール、ジプロピレングリコール、ネオペンチルグリコール、トリエチレングリコール、水素化ビスフェノールA、ビスフェノールジヒドロキシプロピルエーテル等が挙げられる。該ビニルモノマーとしては、スチレン、ビニルトルエン、クロロスチレン、フタル酸ジアリル、シアヌル酸トリアリル、メタクリル酸メチル等が挙げられる。
【0042】
フェノール樹脂は、塩酸、しゅう酸、ヘキサメチレンテトラミン等の触媒の存在下、フェノールとアルデヒドとを反応させることによって生成する。該フェノールとしては、フェノール、o−クレゾール、m−クレゾール、p−クレゾール、キシレノール、p−t−ブチルフェノール、レゾルシノール等が挙げられる。この反応において、酸性触媒条件下ではノボラック型フェノール樹脂が、塩基性触媒条件下ではレゾール型フェノール樹脂が得られる。
【0043】
ウレア・メラミン樹脂は、通常、塩基性触媒の存在下におけるウレア又はメラミンとホルマリンとの反応により生成する。
【0044】
シリコン樹脂は、通常、触媒の存在下におけるシリコンと多官能性シロキサンとの反応により生成する。
【0045】
本発明組成物における農薬含有粒子は、農薬を通常製剤化するのに用いられる造粒法で造粒することによって得られる。該造粒法としては、押出し造粒法、圧縮造粒法、撹拌造粒法、流動層造粒法、流動床造粒法、転動造粒法、被覆造粒法等が用いられる。本発明における農薬含有粒子の製造方法は特に限定されるものではないが、押出し造粒法を採用した例を以下に示す。
【0046】
農薬有効成分、固体担体、必要に応じて、界面活性剤、粘結剤、溶剤、安定化剤、着色剤、被膜剤等を混合して、混合物を調製する。この際に用いられる混合機としては、リボンミキサー、ナウターミキサー、シュギミキサー、ヘンシェルミキサー、レディゲーミキサー等が挙げられる。次に、該混合物に水を滴下、噴射、あるいは噴霧し、混練して混練物を調製する。この際に用いられる混練機としては、ナウターミキサー、リボンミキサー、ヘンシェルミキサー、ニーダー等が挙げられる。混練の際に用いられる水の添加量は水添加前の混合物に対し、通常、5〜35重量%、好ましくは、10〜25重量%である。次に、該混練物を造粒機を用いて造粒し、造粒物を調製する。この際に用いられる造粒機としては、バスケット式造粒機、スクリュー式造粒機、ペレタイザーなどの押出し造粒機、ローラーコンパクターなどの圧縮造粒機、ヘンシェルミキサー、ナウターミキサーなどの撹拌造粒機、パングラニュレーターなどの転動造粒機、流動層造粒機等が挙げられる。得られた造粒物は、乾燥、整粒、篩別されて、農薬含有粒子である粒剤が得られる。この際に用いられる乾燥機としては、流動層乾燥機やベッド式乾燥機が挙げられる。整粒機としては、マルメライザーやピンミル、解砕機等が、篩別機としては、ジャイロシフターや電磁振動式篩別機等が挙げられる。
【0047】
本発明において、樹脂で被覆した農薬含有粒子が使用される場合には、前記粒剤に、さらに樹脂で被覆する操作が施される。その際の被覆方法としては、例えば、被膜剤を溶剤に溶解又は分散し、該溶液を回転パン、回転ドラム、流動層、流動床等で運動している前記粒剤に添加しつつ、熱風で同時に乾燥せしめて被覆層を形成・生長させて所定の被覆率にまで被覆する方法(被膜乾燥法)や、被膜剤の原料を、回転パン、回転ドラム、攪拌ミキサー等で運動している前記粒剤に添加しつつ、必要に応じて、加熱あるいは冷却しながら、必要に応じて、触媒を加え、被膜剤の原料を硬化せしめて被覆層を形成・生長させて、所定の被覆率にまで被覆する方法(被膜硬化法)等が挙げられる。これらの被覆方法のうち、一般的に、被膜乾燥法は熱可塑性樹脂を被覆する際に用いられることが多く、被膜硬化法は熱硬化性樹脂を被覆する際に用いられることが多い。ワックスや硫黄による被覆においては、被膜乾燥法及び被膜硬化法の何れも適用され得る。また、農薬含有粒子の凝集、塊状化を防止するためには、前記粒剤を被覆するに際して、被膜剤は小量単位で間欠的に添加することが好ましい。
【0048】
続いて、本発明の特徴である2種類以上の異なる農薬含有粒子の混合方法について図1ないし図5に基づいて説明する。本発明における農薬含有粒子の混合方法は、以下のa)、b)、c)の工程から成り立つものである。
【0049】
a)粒子群の位置を水平方向に移動させて全体的な対流混合を行う水平混合工程。
【0050】
b)粒子群の位置を上下方向に移動させて全体的な対流混合を行う上下混合工程。
【0051】
c)粒子相互間でのすべり・衝突により局部的な拡散混合を行うミクロ混合工程。
【0052】
本発明の一実施形態として、上記混合を行うための混合装置の一例を図1に示す。上記混合装置は、図1に示すように、縮分槽1、動的混合機2、および静的混合機3を備えている。また、上記混合装置は、例えば、2種類の異なる農薬含有粒子からなる粒子群α,βを500gずつ混ぜ合わせて計1kgの粒状農薬組成物を得るものとする。
【0053】
上記混合装置において、上記縮分槽1は上記工程a)を行うための混合手段であり、図2(a)に示すように、薄型形状の複数の漏斗部11aと11bとが交互に配置された構造を有している。上記漏斗部11aおよび11bは、粒子投入口となる上部開口に対して出口12a・12bとなる下部開口が偏った配置となっており、各漏斗部11aおよび11bの配列方向と垂直な面においては非対称形状となっている。
【0054】
上記縮分槽1の上方には、図2(b)に示すように、仕込台4およびダンパ5が配置されている。上記仕込台4は、上記混合装置によって混合される複数種類の粒子群を載置するための台であり、上記漏斗部11aおよび11bの上部開口が配列されてなる縮分槽1の上面積とほぼ同面積の底面積を有する。また、例えば上記混合装置によって混合される粒子群が2種類の粒子α,βからなる場合、上記仕込台4は各漏斗部11aおよび11bの配列方向に沿って形成される仕切板41によって2つの領域に分割され、各領域のそれぞれに所定量の粒子群α,βが載置される。尚、この時、上記仕込台4の底面はダンパ5によって閉じられている。
【0055】
上記仕込台4に所定量の粒子群α,βが載置されると、上記ダンパ5が開放され、該粒子群α,βが上記縮分槽1に向けて落下する。上記縮分槽1においては、各漏斗部11a・11bの出口12a・12bは、上記仕込台4の仕切板41に対して反対方向にそれぞれ配置される。すなわち、上記出口12a・12bは縮分槽1の底面において千鳥状にずれるような配置となる。
【0056】
ここで、上記漏斗部11aに入った粒子群は、粒子群αについては図2(b)における矢印Aに沿って、粒子群βについては矢印Bに沿って漏斗部11a内を落下し、出口12aから排出される。また、上記漏斗部11bに入った粒子群は、粒子群αについては矢印Cに沿って、粒子群βについては矢印Dに沿って漏斗部11b内を落下し、出口12bから排出される。これにより、上記縮分槽1を通過する粒子群α,βのうち、それぞれの粒子群において約半分の粒子が水平に移動しながら落下(矢印B、Cに沿っての落下を指す)するため、該縮分槽1によって粒子群α,βの水平混合がなされる。
【0057】
尚、上記図1の構成では、上記縮分槽1の下部に上記出口12a・12bを塞ぐスライド式のダンパ6が配置されており、上記縮分槽1に投入された粒子群α,βは上記ダンパ6が閉じた状態で各漏斗部11a・11bの底部に蓄積された後、該ダンパ6の開放によって排出される。但し、上記ダンパ6は本発明において必ずしも必要な構成ではなく、これを省略することも可能である。また、ダンパ6を設ける場合であってもその種類は特に限定されるものではなく、例えば上記ダンパ5のように回動開放式のダンパを用いてもよい。もちろん、上記ダンパ5において、回動開放式の代わりにスライド式のダンパを用いてもよい。
【0058】
このように、上記縮分槽1による工程a)では、1つの漏斗部に対してほぼ鉛直真下に落下する粒子群と漏斗部内壁の斜面に沿って水平移動しながら落下する粒子群とが存在する。このとき、これらの粒子群の落下速度の違いによって、出口において粒子層が形成される。すなわち、上記縮分槽1による混合工程は、粒子群を2分割し、粒子が層状となった粒子層を2つ形成せしめる工程であるともいえる。上記工程における農薬含有粒子群を2つに分割する工程は、農薬含有粒子群を重量比で50:50〜30:70の割合で精度良く分割する操作を指す。また、上記縮分槽1は2分器であるが、3分器、4分器等の縮分槽を用いて3分割、4分割を行うことも可能である。
【0059】
上記縮分槽1に水平混合がなされた粒子群は、続いて動的混合機2へ落下される。本実施の形態に係る混合装置において、上記動的混合機2は上記工程b)を行うための、いわゆるアジテータと呼ばれる混合手段であり、図3に示すように、該動的混合機2によって混合される粒子群を滞留させるホッパー21と、該ホッパー21内の粒子群を攪拌混合するための羽根板22・22とを有する。
【0060】
上記羽根板22・22は、その攪拌面が回転軸23と平行になるように該回転軸23に取り付けられており、上記ホッパー21内を鉛直面内に回転することによって、粒子群を上下に移動させる。これによって、上記動的混合機2において上下混合を行うことができる。
【0061】
また、上記ホッパー21の底部には、混合された粒子群を次段の静的攪拌機3へ向けて落下させるための開口24が設けられており、該開口24は攪拌中はダンパ7(図1参照)によって閉じられている。尚、上記ダンパ7は、図1においてはスライド式のダンパとして記載されているが、回動開放式のダンパであってもよい。但し、上記動的混合機2では、羽根板22による粒子群の攪拌中(約5〜6秒間)は該粒子群を上記ホッパー21内に滞留させる必要があるため、縮分槽1の下部に配置されるダンパ6とは異なり、上記ダンパ7を省略することはできない。
【0062】
このように、上記動的混合機2による工程b)は、農薬含有粒子群を撹拌により混合する工程となる。上記粒子群の混合・攪拌には、上記動的混合機2以外にも種々の混合機や撹拌機等の機器が利用できる。本発明において用いられる混合機としては、ドラムミキサーやコンクリートミキサーなどの容器回転型混合機、ナウターミキサー、ヘンシェルミキサー、リボンミキサー、アジテーター等の羽根回転型混合機、フラッシュブレンダー、流動層混合機などの流動型混合機等が用いられ、リボンミキサーやアジテーター等が好適に用いられる。
【0063】
なお、羽根回転型混合機を使用する際には、羽根と混合容器との間の距離(クリアランス)は混合される農薬含有粒子の体積中位径よりも大きいことが好ましく、より好ましくはクリアランスが農薬含有粒子の体積中位径の1.2〜3倍、さらに好ましくはクリアランスが農薬含有粒子の体積中位径の1.5〜2倍である。
【0064】
また、羽根回転型混合機を使用する際には、混合機内のデッドスペースを極力小さくすることが好ましく、混合される粒状農薬組成物の全容量に対するデッドスペースの容量が20%以下、好ましくは10%以下、さらに好ましくは5%以下である。ここで述べるデッドスペースとは、回転する羽根の混合力によって内容物が混合されない混合機内の部分を指し、とりわけ撹拌羽根と混合機の壁との距離が大きい場所に発生しやすい。
【0065】
さらに、羽根回転型混合機を使用する際には、羽根形状も特に限定されるものではなく、例えば、鉛直方向の回転軸にプロペラ型の羽根を取り付けたものであってもよい。すなわち、上記羽根の回転に伴う攪拌によって、少なくともホッパー内の粒子に上下方向の移動力が与えられればよい。
【0066】
流動型混合機とは、一般的に、ベッセル内部に上下方向の高速空気対流を生じせしめることによって粒子群を流動せしめ、該粒子群を混合する混合手段である。通常、流動型混合機を使用した場合には、粒子群はベッセル下部から上部へ向かう空気流にのって上昇し、ベッセル上部まで達した後にベッセルの外壁に沿って落下し、再度、空気流に乗って上昇するという流動運動を繰り返す。流動型混合機においては、粒子群がベッセルでのこのような上下対流を繰り返すことによて全体的混合がなされる。
【0067】
上記縮分槽1および動的混合機2を通過した粒子群α,βは、次いで静的混合機3によってさらに混合される。
【0068】
上記静的混合機3は、いわゆるカスケードミキサと呼ばれる混合機であり、図1に示すように、粒子の流れを分割する分流部31と分散・集合によって混合する混合部32とが交互に複数段配置されてなる構成である。上記図1では、分流部31と混合部32とがそれぞれ3段ずつ配置されているものを示している。
【0069】
上記分流部31は、図4に示すように、粒子群の投入口となる上面が田の字形の4つの領域に区分されており、それぞれの領域において漏斗部が形成されている。そして、各漏斗部の出口は点対称の配置となっている。すなわち、図5に示すように、対角位置にある2つの領域においてその出口33a・33bは中央よりに配置されており、他の2つの領域においてその出口33c・33dは分流部31の上面を仕切る一方の仕切辺とこれに直交する外辺とに接するように配置されている。
【0070】
また、上記混合部32は、その上部において出口34aに向かって下窄まり形状の案内シュート34を有しており、上記案内シュート34の内部には調整傘35が配置されている。上記調整傘35は、アーム36…によって支持され上記案内シュート34の壁面とは離間して設けられており、特に上記分流部31の出口33a・33bから排出されてきた粒子群を分散させる役割を有する。上記調整傘35によって分散された粒子群、および上記分流部31の出口33c・33dから排出されてきた粒子群は、案内シュート34によって集合され、出口34aから落下する。さらに、上記出口34aの直下には分散傘37が配置されており、該分散傘37によって案内シュート34の出口34aから落下してきた粒子群が再び分散させられて次段の分流部31の各漏斗部に振り分けられる。
【0071】
このように、上記静的混合機3を通過する粒子群α,βは、分流部31によって分流され、そして混合部32において分散・集合を繰り返すことによって、ミクロ混合がなされる。
【0072】
このように、上記静的混合機3による工程c)は、粒子群を分散させた後に再び集合せしめる工程となる。上記静的混合機3では、粒子群の分散・集合には、重力による落下力が利用されているが、機械力によって粒子を分散および集合させる工程であってもよい。本発明において用いられる集合・分散機としては、カスケードミキサー等が挙げられ、好ましくは集合・分散運動を2回以上繰り返すことが可能なカスケードミキサーが用いられる。
【0073】
上記静的混合機3の下方には、混合用シュート8が配置されており、上記分流部31および混合部32を通過・混合された粒子群α,βが該混合用シュート8によって包装袋等に投入される。尚、図1の混合装置においては省略されているが、上記静的混合機3と混合用シュートとの間にダンパを設けてもよい。
【0074】
本発明において用いられる混合方法としては、上述した工程a)、b)、c)からなる混合方法が用いられるが、これらの工程の順序を入れ替えたり、あるいは、所定の工程を繰り返すことも可能である。一例を示すと、a)、b)、c)の順の3工程からなる混合方法、b)、a)、c)の順の3工程からなる混合方法、a)、b)、a)、c)の4工程からなる混合方法、a)、b)、b)、c)の4工程からなる混合方法等が挙げられる。
【0075】
本発明において、工程a)およびb)は粒子群の位置の移動によって混合が引き起こされる全体的混合であるのに対し、工程c)は粒子相互間の滑り、衝突等によって混合が引き起こされる局部的混合である。このような局部的混合は、全体的混合によって、同一種類の粒子からなる粒子群をある程度小さなものにしてから行う方がより高い効果が期待できる。したがって、工程c)は最終的な工程とされることが望ましい。
【0076】
また、上記工程a)およびb)においても、その混合機構は全体的混合のみではなく、ある程度の局部的混合も含む。しかしながら、上述の説明において、工程a)を行う縮分槽1は、工程b)を行う動的混合機2に比べ、粒子の衝突等は生じ難く、その局部的混合の効果は小さい。したがって、工程a)を行う手段として縮分槽を用いる場合には、該工程a)を最初の工程とすることが望ましい。
【0077】
本発明方法によって得られる粒状農薬組成物は、通常、適当な包装体で包装された形態で保管、移送等の取扱がなされる。均一性を保持する観点から、混合して直ちに包装し製品化することが好ましい。
【0078】
したがって本発明の実施において、1回の混合で得られる粒状農薬組成物の量を、1包装体に詰める量とし、該粒状農薬組成物をその都度包装体に詰めることが実用上は好ましい。
【0079】
その際、1包装体に詰められる粒状農薬組成物の量としては、通常、20g〜20kg、好ましくは100g〜3kgである。なお、水平混合、上下混合、およびミクロ混合を組み合わせる本発明方法で得られる粒状農薬組成物をその都度直ちに包装体に詰めて包装体で包装された形態とすることは、1包装体へ詰める粒状農薬組成物の量が少ない場合、例えばその量が100g〜3kg程度の場合において、粒状農薬組成物の均一性の点でとりわけ優れた効果を発揮する。
【0080】
包装体としては、クラフト紙袋、紙袋、布袋等の透過性容器やポリ内装クラフト紙袋、アルミ内装クラフト紙袋、ポリ袋、ポリ瓶、水溶性フィルム袋、貼り合せポリ袋等の遮蔽性容器が挙げられる。なお、透過性容器が用いられる際には包装時の空間体積を小さくし、かつその空間体積が変化しないように圧縮して梱包することが好ましい。遮蔽性容器が用いられる際には包装時の空間体積を小さくすることが好ましい。粒状農薬組成物を包装する際の空間体積としては、該空間体積の内容物体積に対する割合が20%以下、好ましくは10%以下、さらに好ましくは5%以下である。
【0081】
また、上記粒状農薬組成物は、殺虫剤、殺菌剤、除草剤、植物生長調整剤等の農薬有効成分を含有してなり、農薬の一般的な使用場面で使用される。例えば、水田、乾田、育苗箱、畑地、果樹園、桑畑、温室、露地などの農耕地、森林、芝生、ゴルフ場、街路樹、道路、路肩、湿地などの非農耕地、池、貯水池、川、水路、下水道などの水系等で使用することができる。
【0082】
上記粒状農薬組成物の施用方法は、農薬の一般的な施用方法によって施用することができ、例えば、手で直接散布、背負い式散粒機、パイプ散粒機、空中散粒機、動力散粒機、育苗箱用散粒機、トラクター搭載型散粒機、多口ホース散粒機、散粒機を搭載した田植機等により施用することができる。上記粒状農薬組成物の施用に際しては、その徐放化性能を活用できる場面での使用が好適である。すなわち、育苗箱施用、田植時用、育苗期施用、播種期施用、発芽時施用などは上記粒状農薬組成物の特性の面からも好適である。例えば上記粒状農薬組成物が育苗箱において使用される場合には、その施用量は育苗箱1枚(通常、0.16m2 程度)あたり、通常10〜200g、好ましくは25〜100gであり、その際の施用方法としては、手で直接施用、あるいは育苗箱用散粒機による施用が行われる。上記粒状農薬組成物が水田や畑地において使用される場合には、その施用量は10アールあたり、通常0.1〜10kg、好ましくは0.25〜5kgであり、その際の施用方法としては、手で直接散布、背負い式散粒機、パイプ散粒機、空中散粒機、多口ホース散粒機、散粒機を搭載した田植機、散粒機を搭載した耕運機等が用いられる。
【0083】
次に、上記粒状農薬組成物の製造例、及び混合後の均一性の試験例をあげて本発明の混合方法による効果を具体的に説明する。
【0084】
〔実施例に用いられる粒状農薬組成物の調製〕
・混合用粒剤A(赤色着色粒)
農薬活性成分としてプロシミドン原体を1w%、ベントナイト20w%、界面活性剤2w%、水溶性高分子2w%、赤色顔料0.3w%、鉱物質担体74.7w%を30L型ナウタミキサーで混合後、加水混練した。これをバスケット型押し出し造粒機(スクリーン径0.9mm)で造粒、次いで整粒乾燥後、篩別して粒径0.5〜1.4mmの粒剤Aを得た。
・混合用粒剤B(農薬成分無添加、無着色粒)
ベントナイト20w%、界面活性剤2w%、水溶性高分子2w%、鉱物質担体74.7w%を上記混合用粒剤Aと同様の方法で製剤して混合用粒剤Bを得た。
【0085】
〔実施例および比較例に用いる混合設備〕
・分散機:図2参照の縮分槽1を使用
・動的混合機:図3参照の動的混合機2を使用
・静的混合機:図4参照の静的混合機3を使用
〔実施例1〕
分散機、動的混合機、静的混合機を、この順番で縦に配置した混合装置を用い、混合用粒剤Aを500g、粒剤Bを500g別々に計量した後、混合実験を実施した。次に混合後の粒状農薬組成物を投入した容器を上中下および左右の計6区域に分け、それぞれの区域のほぼ中心部から50gをサンプリングし、農薬活性成分の含量を分析した後、分析値の変動係数CV%を求め混合均一性を評価した。結果を表1に示す。
【0086】
〔比較例1〕
動的混合機、静的混合機を、この順番で縦に配置した混合装置を用い、混合用粒剤Aを500g、粒剤Bを500g別々に計量した後、混合実験を実施した。次に実施例1と同様の方法により、混合均一性を評価した。結果を表1に示す。
【0087】
〔比較例2〕
分散機、動的混合機を、この順番で縦に配置した混合装置を用い、混合用粒剤Aを500g、粒剤Bを500g別々に計量した後、混合実験を実施した。次に実施例1と同様の方法により、混合均一性を評価した。結果を表1に示す。
【0088】
〔比較例3〕
分散機、静的混合機を、この順番で縦に配置した混合装置を用い、混合用粒剤Aを500g、粒剤Bを500g別々に計量した後、混合実験を実施した。次に実施例1と同様の方法により、混合均一性を評価した。結果を表1に示す。
【0089】
【表1】
【0090】
尚、上記表1において、変動係数CVは、
CV={(標準偏差)/(平均)}×100
によって求められ、上記変動係数CVの値が小さいほど混合均一性に優れていることを示す。
【0091】
【発明の効果】
請求項1の発明の粒状農薬組成物の製造方法は、以上のように、2種類以上の異なる農薬含有粒子からなる粒状群の混合において、上記粒子群の位置を水平方向に移動させて全体的な対流混合を行う水平混合工程と、上記粒子群の位置を上下方向に移動させて全体的な対流混合を行う上下混合工程と、粒子相互間でのすべり・衝突により局部的な拡散混合を行うミクロ混合工程とを含む構成である。
【0092】
それゆえ、上記水平混合工程と上記上下混合工程とによって全ての方向における粒子群の混合性を高め、かつミクロ混合工程において粒子の拡散性を高めることによって、優れた混合均一性を有する粒状農薬組成物を得ることができるという効果を奏する。
【0093】
請求項2の発明の粒状農薬組成物の製造方法は、以上のように、請求項1の構成に加えて、上記水平混合工程を、縮分槽によって行うことにより、上記粒子群の各粒子の落下を利用して上記水平混合工程を容易に行うことができるという効果を奏する。
【0094】
請求項3の発明の粒状農薬組成物の製造方法は、以上のように、請求項1または2の構成に加えて、上記上下混合工程を、羽根回転型混合機によって行う構成である。
【0095】
請求項4の発明の粒状農薬組成物の製造方法は、以上のように、請求項1または2の構成に加えて、上記上下混合工程を、容器回転型混合機によって行う構成である。
【0096】
それゆえ、請求項1または2の構成による効果に加えて、上記上下混合工程を容易に行うことができるという効果を奏する。
【0097】
請求項5の発明の粒状農薬組成物の製造方法は、以上のように、請求項1ないし4の何れかの構成に加えて、上記ミクロ混合工程が、粒子群の各粒子の重力による落下力を利用する構成である。
【0098】
請求項6の発明の粒状農薬組成物の製造方法は、以上のように、請求項5の構成に加えて、上記ミクロ混合工程において、粒子の集合および分散を行う構成である。
【0099】
請求項7の発明の粒状農薬組成物の製造方法は、以上のように、請求項1ないし6の何れかの構成に加えて、上記ミクロ混合工程を、カスケードミキサによって行う構成である。
【0100】
それゆえ、請求項5、6、または7の発明は、上記粒子群の各粒子の落下を利用して上記ミクロ混合工程を容易に行うことができるという効果を奏する。
【図面の簡単な説明】
【図1】本発明の一実施形態を示すものであり、混合装置の概略構成を示す断面図である。
【図2】上記混合装置における縮分槽の構造を示す図であり、図2(a)は斜視図、図2(b)は断面図である。
【図3】上記混合装置における動的混合機の構造を示す斜視図である。
【図4】上記混合装置における静的混合機の構造を示す斜視図である。
【図5】上記静的混合機における分流部の平面図である。
【図6】従来の混合装置の概略構成を示す断面図である。
【符号の説明】
1 縮分槽
2 動的混合機
3 静的混合機
22 羽根板
31 分流部
32 混合部
Claims (7)
- 2種類以上の異なる農薬含有粒子からなる粒子群を混合することによる粒状農薬組成物の製造方法において、
上記粒子群の位置を水平方向に移動させて全体的な対流混合を行う水平混合工程と、
上記粒子群の位置を上下方向に移動させて全体的な対流混合を行う上下混合工程と、
粒子相互間でのすべり・衝突により局部的な拡散混合を行うミクロ混合工程とを含むことを特徴とする粒状農薬組成物の製造方法。 - 上記水平混合工程を、縮分槽によって行うことを特徴とする請求項1に記載の粒状農薬組成物の製造方法。
- 上記上下混合工程を、羽根回転型混合機によって行うことを特徴とする請求項1または2に記載の粒状農薬組成物の製造方法。
- 上記上下混合工程を、容器回転型混合機によって行うことを特徴とする請求項1または2の何れかに記載の粒状農薬組成物の製造方法。
- 上記ミクロ混合工程が、粒子の重力による落下力を利用することを特徴とする請求項1ないし4の何れかに記載の粒状農薬組成物の製造方法。
- 上記ミクロ混合工程において、粒子の集合および分散を行うことを特徴とする請求項5に記載の粒状農薬組成物の製造方法。
- 上記ミクロ混合工程を、カスケードミキサによって行うことを特徴とする請求項1ないし6の何れかに記載の粒状農薬組成物の製造方法。
Priority Applications (1)
| Application Number | Priority Date | Filing Date | Title |
|---|---|---|---|
| JP2003209396A JP2004123719A (ja) | 2003-08-28 | 2003-08-28 | 粒状農薬組成物の製造方法 |
Applications Claiming Priority (1)
| Application Number | Priority Date | Filing Date | Title |
|---|---|---|---|
| JP2003209396A JP2004123719A (ja) | 2003-08-28 | 2003-08-28 | 粒状農薬組成物の製造方法 |
Related Parent Applications (1)
| Application Number | Title | Priority Date | Filing Date |
|---|---|---|---|
| JP19366699A Division JP3850175B2 (ja) | 1999-07-07 | 1999-07-07 | 粒状農薬組成物の製造方法 |
Publications (1)
| Publication Number | Publication Date |
|---|---|
| JP2004123719A true JP2004123719A (ja) | 2004-04-22 |
Family
ID=32290664
Family Applications (1)
| Application Number | Title | Priority Date | Filing Date |
|---|---|---|---|
| JP2003209396A Pending JP2004123719A (ja) | 2003-08-28 | 2003-08-28 | 粒状農薬組成物の製造方法 |
Country Status (1)
| Country | Link |
|---|---|
| JP (1) | JP2004123719A (ja) |
Cited By (4)
| Publication number | Priority date | Publication date | Assignee | Title |
|---|---|---|---|---|
| JP2006281199A (ja) * | 2005-03-08 | 2006-10-19 | Sumitomo Chemical Co Ltd | 粒子混合物の製造方法 |
| JP2012193142A (ja) * | 2011-03-16 | 2012-10-11 | Sumitomo Chemical Co Ltd | 被覆組成物の製造方法 |
| WO2018139173A1 (ja) * | 2017-01-24 | 2018-08-02 | クミアイ化学工業株式会社 | 混合粒状農薬組成物、これを利用した粒状農薬合剤および粒状農薬合剤キット |
| KR20210135020A (ko) * | 2020-05-04 | 2021-11-12 | 주식회사 노브 | 무동력 원료 혼합기 |
Citations (6)
| Publication number | Priority date | Publication date | Assignee | Title |
|---|---|---|---|---|
| JPS5390274U (ja) * | 1976-12-25 | 1978-07-24 | ||
| JPH0577447B2 (ja) * | 1988-12-05 | 1993-10-26 | Shokichi Matsui | |
| JPH0626342Y2 (ja) * | 1989-03-13 | 1994-07-20 | 株式会社石井製作所 | 混合機 |
| JPH09155172A (ja) * | 1995-12-01 | 1997-06-17 | Sintokogio Ltd | 粉粒体撹拌混合装置 |
| JPH09206574A (ja) * | 1996-02-05 | 1997-08-12 | Furukawa Electric Co Ltd:The | 材料の連続混合方法 |
| JP3850175B2 (ja) * | 1999-07-07 | 2006-11-29 | 住友化学株式会社 | 粒状農薬組成物の製造方法 |
-
2003
- 2003-08-28 JP JP2003209396A patent/JP2004123719A/ja active Pending
Patent Citations (6)
| Publication number | Priority date | Publication date | Assignee | Title |
|---|---|---|---|---|
| JPS5390274U (ja) * | 1976-12-25 | 1978-07-24 | ||
| JPH0577447B2 (ja) * | 1988-12-05 | 1993-10-26 | Shokichi Matsui | |
| JPH0626342Y2 (ja) * | 1989-03-13 | 1994-07-20 | 株式会社石井製作所 | 混合機 |
| JPH09155172A (ja) * | 1995-12-01 | 1997-06-17 | Sintokogio Ltd | 粉粒体撹拌混合装置 |
| JPH09206574A (ja) * | 1996-02-05 | 1997-08-12 | Furukawa Electric Co Ltd:The | 材料の連続混合方法 |
| JP3850175B2 (ja) * | 1999-07-07 | 2006-11-29 | 住友化学株式会社 | 粒状農薬組成物の製造方法 |
Cited By (5)
| Publication number | Priority date | Publication date | Assignee | Title |
|---|---|---|---|---|
| JP2006281199A (ja) * | 2005-03-08 | 2006-10-19 | Sumitomo Chemical Co Ltd | 粒子混合物の製造方法 |
| JP2012193142A (ja) * | 2011-03-16 | 2012-10-11 | Sumitomo Chemical Co Ltd | 被覆組成物の製造方法 |
| WO2018139173A1 (ja) * | 2017-01-24 | 2018-08-02 | クミアイ化学工業株式会社 | 混合粒状農薬組成物、これを利用した粒状農薬合剤および粒状農薬合剤キット |
| KR20210135020A (ko) * | 2020-05-04 | 2021-11-12 | 주식회사 노브 | 무동력 원료 혼합기 |
| KR102412100B1 (ko) * | 2020-05-04 | 2022-06-22 | 주식회사 노브 | 무동력 원료 혼합기 |
Similar Documents
| Publication | Publication Date | Title |
|---|---|---|
| JP3850175B2 (ja) | 粒状農薬組成物の製造方法 | |
| JP3808637B2 (ja) | 農薬粒剤 | |
| JP2004123717A (ja) | 粒状農薬組成物の製造方法 | |
| JP5343296B2 (ja) | 粒状物の混合装置 | |
| JP2004123719A (ja) | 粒状農薬組成物の製造方法 | |
| JP2004123718A (ja) | 粒状農薬組成物の製造方法 | |
| JP2003286109A (ja) | 農薬粒剤 | |
| JP4560872B2 (ja) | 農薬粒剤 | |
| JP4352479B2 (ja) | 粒状農薬組成物 | |
| JP4599788B2 (ja) | 農薬顆粒状水和剤の製法 | |
| JP4899245B2 (ja) | 農薬粒剤 | |
| JP2003286106A (ja) | 農薬粒剤及びその製造法 | |
| JP2003286108A (ja) | 農薬粒剤及びその製造方法 | |
| JP4670123B2 (ja) | 農薬粒剤 | |
| JP4617630B2 (ja) | 農薬顆粒状水和剤 | |
| US20080170462A1 (en) | Mixing Apparatus | |
| JP2003286107A (ja) | 農薬粒剤及びその製法 | |
| JP4595277B2 (ja) | 農薬粒状水和剤の製造方法 | |
| JP4617631B2 (ja) | 農薬顆粒状水和剤の製造方法 | |
| JP2000086405A (ja) | 粒状農薬組成物 | |
| JP4548361B2 (ja) | 農薬粒剤 | |
| JP4599789B2 (ja) | 農薬粒状水和剤の製法 | |
| JP4576855B2 (ja) | 粒状農薬の製造方法 | |
| JP5076325B2 (ja) | 生物活性物質含有粒状物の混合組成物 | |
| JP4556271B2 (ja) | 粒状農薬組成物 |
Legal Events
| Date | Code | Title | Description |
|---|---|---|---|
| A621 | Written request for application examination |
Effective date: 20060609 Free format text: JAPANESE INTERMEDIATE CODE: A621 |
|
| RD02 | Notification of acceptance of power of attorney |
Effective date: 20060609 Free format text: JAPANESE INTERMEDIATE CODE: A7422 |
|
| A131 | Notification of reasons for refusal |
Free format text: JAPANESE INTERMEDIATE CODE: A131 Effective date: 20100209 |
|
| A02 | Decision of refusal |
Free format text: JAPANESE INTERMEDIATE CODE: A02 Effective date: 20100720 |
