JP2001183550A5 - - Google Patents

Download PDF

Info

Publication number
JP2001183550A5
JP2001183550A5 JP2000384309A JP2000384309A JP2001183550A5 JP 2001183550 A5 JP2001183550 A5 JP 2001183550A5 JP 2000384309 A JP2000384309 A JP 2000384309A JP 2000384309 A JP2000384309 A JP 2000384309A JP 2001183550 A5 JP2001183550 A5 JP 2001183550A5
Authority
JP
Japan
Legal status (The legal status is an assumption and is not a legal conclusion. Google has not performed a legal analysis and makes no representation as to the accuracy of the status listed.)
Granted
Application number
JP2000384309A
Other languages
Japanese (ja)
Other versions
JP4933691B2 (ja
JP2001183550A (ja
Filing date
Publication date
Priority claimed from US09/464,815 external-priority patent/US6547449B1/en
Application filed filed Critical
Publication of JP2001183550A publication Critical patent/JP2001183550A/ja
Publication of JP2001183550A5 publication Critical patent/JP2001183550A5/ja
Application granted granted Critical
Publication of JP4933691B2 publication Critical patent/JP4933691B2/ja
Anticipated expiration legal-status Critical
Expired - Fee Related legal-status Critical Current

Links

Images

JP2000384309A 1999-12-17 2000-12-18 マルチファイバ型フェルール、マルチファイバ型コネクタ及びその予備組立て方法 Expired - Fee Related JP4933691B2 (ja)

Applications Claiming Priority (2)

Application Number Priority Date Filing Date Title
US09/464815 1999-12-17
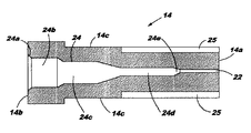
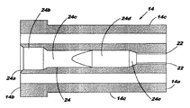
US09/464,815 US6547449B1 (en) 1999-12-17 1999-12-17 Windowless, rectangular ferrule in a preassembled multifiber connector and associated assembly method

Publications (3)

Publication Number Publication Date
JP2001183550A JP2001183550A (ja) 2001-07-06
JP2001183550A5 true JP2001183550A5 (enExample) 2008-02-07
JP4933691B2 JP4933691B2 (ja) 2012-05-16

Family

ID=23845344

Family Applications (1)

Application Number Title Priority Date Filing Date
JP2000384309A Expired - Fee Related JP4933691B2 (ja) 1999-12-17 2000-12-18 マルチファイバ型フェルール、マルチファイバ型コネクタ及びその予備組立て方法

Country Status (2)

Country Link
US (2) US6547449B1 (enExample)
JP (1) JP4933691B2 (enExample)

Families Citing this family (21)

* Cited by examiner, † Cited by third party
Publication number Priority date Publication date Assignee Title
US6623175B2 (en) * 2001-07-09 2003-09-23 The Furukawa Electric Co., Ltd. Optical connector ferrule
US20040101251A1 (en) * 2002-11-27 2004-05-27 Fci Americas Technology, Inc. Plastic optical connector
US6971803B2 (en) * 2004-03-12 2005-12-06 Corning Cable Systems Llc Multi-fiber ferrule with an alignment portion
CA2531263C (en) * 2004-12-22 2015-11-03 Tyco Electronics Corporation Optical fiber termination apparatus, entry sealing members and methods for using the same
US7359613B2 (en) * 2005-05-27 2008-04-15 Tyco Electronics Corporation Optical fiber termination apparatus for taut sheath splicing and method for using the same
US7356237B2 (en) * 2005-07-25 2008-04-08 Tyco Electronics Corporation Optical fiber cable termination apparatus
US20070036489A1 (en) * 2005-08-15 2007-02-15 Barbara Grzegorzewska Industrial interconnect system incorporating transceiver module cage
US7281856B2 (en) * 2005-08-15 2007-10-16 Molex Incorporated Industrial optical fiber connector assembly
US7756372B2 (en) 2006-02-22 2010-07-13 Tyco Electronics Corporation Fiber optic cable systems and kits and methods for terminating the same
US7668432B2 (en) * 2007-01-31 2010-02-23 Tyco Electronics Corporation Multi-drop closure systems and methods for fiber optic cabling
JP4957363B2 (ja) * 2007-05-02 2012-06-20 住友電気工業株式会社 光コネクタ及び光コネクタの組立方法
US8109679B2 (en) 2008-11-25 2012-02-07 Corning Cable Systems Llc Optical ferrule assemblies and methods of making the same
WO2010135408A2 (en) 2009-05-19 2010-11-25 Adc Telecommunications, Inc. Mechanical interface between a fiber optic cable and a fiber optic connector
CN104335091A (zh) 2012-03-20 2015-02-04 康宁光电通信有限责任公司 具有镜片的简化光纤连接器和用于制造所述光纤连接器的方法
CN106133571B (zh) 2014-02-07 2018-12-21 泰科电子公司 硬化的光功率连接系统
CN107209329A (zh) * 2014-11-26 2017-09-26 康宁光电通信有限责任公司 使用可插光学主体的收发器
JP1613186S (enExample) * 2017-12-26 2018-09-10
US12210196B2 (en) 2019-12-13 2025-01-28 Us Conec Ltd. Cover for a fiber optic ferrule and ferrule push
WO2021119517A1 (en) * 2019-12-13 2021-06-17 US Conec, Ltd Cover for a fiber optic ferrule and ferrule push
WO2021200559A1 (ja) * 2020-03-31 2021-10-07 日東電工株式会社 光電変換モジュールプラグおよび光ケーブル
EP4139726B1 (en) 2020-04-23 2025-06-25 US Conec, Ltd Fiber optic ferrule and fiber optic ferrule receiver

Family Cites Families (10)

* Cited by examiner, † Cited by third party
Publication number Priority date Publication date Assignee Title
JPS6380510A (ja) * 1986-09-24 1988-04-11 Sony Corp ロータリートランス
JPH0834384B2 (ja) * 1990-02-08 1996-03-29 富士通株式会社 マイクロ波発振器
JP2574527B2 (ja) * 1990-08-22 1997-01-22 山一電機工業 株式会社 光コネクタ
JPH08136763A (ja) * 1994-11-08 1996-05-31 Nippon Petrochem Co Ltd 光コネクター用フェルールの製造方法
JP3333349B2 (ja) * 1995-04-07 2002-10-15 株式会社日立製作所 光センサファイバケーブル布設方法
KR0171384B1 (ko) * 1995-11-09 1999-05-01 양승택 리본형 광케이블용 다심 광커넥터
US5737463A (en) * 1995-12-22 1998-04-07 Weiss; Roger E. Massive parallel optical interconnect system
US5809191A (en) * 1997-02-20 1998-09-15 Lockheed Martin Corporation Optical connector
US6062740A (en) * 1997-08-25 2000-05-16 Sumitomo Electric Industries, Ltd. Optical connector and method of making the same
KR100261307B1 (ko) * 1997-11-20 2000-07-01 이계철 리본형 광케이블 결선용 광커넥터 페룰 제조방법

Similar Documents

Publication Publication Date Title
BE2017C009I2 (enExample)
BE2016C059I2 (enExample)
BE2010C018I2 (enExample)
AU2000236815A8 (enExample)
JP2001211200A5 (enExample)
JP2001243243A5 (enExample)
JP2002016920A5 (enExample)
BRPI0110940B8 (enExample)
JP2001199105A5 (enExample)
JP2000347797A5 (enExample)
AR028236A3 (enExample)
BE2014C025I2 (enExample)
JP2002066131A5 (enExample)
JP2002000726A5 (enExample)
JP2001236688A5 (enExample)
JP2001304855A5 (enExample)
JP2001182858A5 (enExample)
BRPI0113372A8 (enExample)
JP2002106623A5 (enExample)
JP2002175155A5 (enExample)
JP2002539053A5 (enExample)
JP2002176001A5 (enExample)
JP2002137471A5 (enExample)
JP2002045022A5 (enExample)
JP2001067796A5 (enExample)