EP4367658B1 - Aufsteller mit karton-grundkörper - Google Patents
Aufsteller mit karton-grundkörper Download PDFInfo
- Publication number
- EP4367658B1 EP4367658B1 EP23718617.6A EP23718617A EP4367658B1 EP 4367658 B1 EP4367658 B1 EP 4367658B1 EP 23718617 A EP23718617 A EP 23718617A EP 4367658 B1 EP4367658 B1 EP 4367658B1
- Authority
- EP
- European Patent Office
- Prior art keywords
- fold
- cover body
- metal strip
- planar
- section
- Prior art date
- Legal status (The legal status is an assumption and is not a legal conclusion. Google has not performed a legal analysis and makes no representation as to the accuracy of the status listed.)
- Active
Links
Images
Classifications
-
- G—PHYSICS
- G09—EDUCATION; CRYPTOGRAPHY; DISPLAY; ADVERTISING; SEALS
- G09F—DISPLAYING; ADVERTISING; SIGNS; LABELS OR NAME-PLATES; SEALS
- G09F1/00—Cardboard or like show-cards of foldable or flexible material
- G09F1/04—Folded cards
- G09F1/06—Folded cards to be erected in three dimensions [3D]
-
- G—PHYSICS
- G09—EDUCATION; CRYPTOGRAPHY; DISPLAY; ADVERTISING; SEALS
- G09F—DISPLAYING; ADVERTISING; SIGNS; LABELS OR NAME-PLATES; SEALS
- G09F1/00—Cardboard or like show-cards of foldable or flexible material
- G09F1/04—Folded cards
-
- G—PHYSICS
- G09—EDUCATION; CRYPTOGRAPHY; DISPLAY; ADVERTISING; SEALS
- G09F—DISPLAYING; ADVERTISING; SIGNS; LABELS OR NAME-PLATES; SEALS
- G09F1/00—Cardboard or like show-cards of foldable or flexible material
- G09F1/10—Supports or holders for show-cards
- G09F2001/106—Supports or holders for show-cards made of metal
Definitions
- the invention relates to a display stand, a method for erecting the stand, and a method for producing the stand.
- the invention relates to displays with a flat base made of cardboard.
- a stand is understood to be a structure or body designed to be raised on a flat surface, i.e., so that the stand rises above the flat surface.
- a stand can, for example, have one or more bases and/or edges with which it stands or rests on the surface. Such stands can be used, for example, as a sign, advertising medium, or other perceptible mark.
- a stand can be provided with an inscription and/or an image that is easily visible due to the position in which it is erected.
- the WO 2009/052240 A1 Describes a support element made of a slightly flexible material that is capable of maintaining its bent position without further bending force. Pressure-sensitive adhesive surfaces allow the element to be removably attached to surfaces such as cards or paper objects to provide support.
- the KR 1020180122833A Describes a material for displaying information comprising a main body made by attaching printing paper to panels formed from plastic, foam, or wood materials.
- the main body has first and second supports folded relative to the main body to form a fold.
- a sheet metal piece is attached over the fold.
- the US20210/0319607A1 discloses a foldable cone having first and second side walls that taper upwards. Each side wall has an outer surface, an inner surface, a lower edge, a top edge, and opposite side edges.
- the cone further comprises a base plate having a fold seam extending along its central portion in a direction generally parallel to the lower edges of the side plates, the base plate being folded along the fold seam.
- the first and second side walls are secured to each other at a predetermined location to form concave first and second side walls when the base wall is unfolded.
- the WO 2019/156436 A1 describes an information board comprising first and second product sections connected to each other for folding along a fold line.
- the first and second product sections face each other and have respective bottom portions to be laid on the floor surface.
- a connecting plate and a reinforcing member are sequentially attached to each of the facing inner surfaces of the first and second product sections, the connecting plate being a plate member having a connecting portion formed thereon.
- the reinforcing member is a plate member covering the connecting plate and having a through-portion through which the connecting portion of the connecting plate extends in exposed fashion.
- Connecting means are formed on the facing rear sides of the first and second product parts, respectively, and connect the exposed connecting portions to each other by extending through the through-portions of the reinforcing members.
- the GB 1 601 120 A describes an article comprising two parts and a flexible support element adhesively attached to the two parts to maintain them in a desired orientation relative to each other while allowing adjustment to different orientations.
- the support element comprises two webs with at least one longitudinal stiffener arranged therebetween, the stiffener or stiffeners providing sufficient rigidity to the support element to maintain the parts in the desired orientation.
- the inventor started from the realization that for a display intended for use as a sign and/or advertising medium, an initially flat shape is crucial, both for production, especially for possible printing, as well as for storage and shipping. However, for use as a display, a three-dimensional shape should be produced as simply as possible.
- the display stand according to the invention comprises at least one flat base body and a first and a second flat cover body, each of which is made entirely or partially of cardboard.
- cardboard is understood here to mean any flat, rigid paper product, in particular with a basis weight of at least 150 g/ m2 . This includes, in particular, cardboard and thicker paper.
- the term can refer to single- and multi-layer products, including structural products such as corrugated cardboard.
- the flat base body comprises at least a first and a second flat section, which are hingedly connected to one another by a folding fold.
- the folding fold is preferably embossed or otherwise manufactured such that the flat sections can be pivoted relative to one another by bending or folding the material along the folding fold.
- the predefined folding fold determines the course of the pivoting edge when the base body is folded. This can ensure, for example, a straight fold at the desired position.
- first cover body rests on an inner surface of the first planar section of the base body and is partially bonded thereto.
- An inner surface of the second cover body rests on an inner surface of the second planar section and is partially bonded thereto. While the overlap may also be only partial, the inner sides of the first and/or second planar section are preferably predominantly (i.e., more than 50% of the area) and particularly preferably at least almost completely (i.e., at least 90% of the area) covered by the respective cover body.
- the first and second cover bodies can be separate cardboard elements, but they can also be formed with each other and/or with the base body from a continuous piece of cardboard, for example divided by folds.
- the bond can be formed using various possible types of adhesive and by various possible methods of application.
- the bond can be formed using chemically or physically setting adhesives, e.g. solvent-based adhesives, hot melt adhesives, polymerizing adhesives, etc.
- the use of pressure-sensitive adhesives is also possible.
- the adhesive can be sprayed on, printed on or applied in some other way.
- the bond can particularly preferably be formed using one or more adhesive tapes, preferably double-sided adhesive tapes, e.g. carriers with adhesive surfaces on both sides, preferably with pressure-sensitive adhesive.
- one or more strips of double-sided adhesive tapes are arranged between the cover body(s) and the inner surface(s) in order to form flat adhesive areas.
- a first and a second adhesive-free pocket region are formed between the inner side of the first cover body and the inner side of the first flat section, as well as between the inner side of the second cover body and the inner side of the second flat section.
- An adhesive-free pocket region is defined as a continuous surface area where the inner sides of the cover body and the flat section lie on top of one another but are not connected by adhesive.
- the adhesive-free pocket regions each border the folding fold; preferably, they are located directly opposite one another at the folding fold.
- a flat metal strip is arranged bridging the fold, with at least a first part, preferably comprising a first end of the metal strip, in the first pocket area and a second part, preferably comprising a second end of the metal strip, in the second pocket area.
- the metal strip is held in at least one of the pocket areas without any material connection to the respective cover body and flat section and is thus - at least to a small extent - displaceable, ie in particular without adhesive.
- displaceability is provided at least in the longitudinal direction, ie transversely to the course of the fold. A minimum degree of displaceability in the range of, for example, 1 mm or even less may be sufficient, as will be explained in more detail below.
- the metal strip for example, only has to be connected to the respective ends can be accommodated in the pocket areas, it is preferred if it is accommodated in the pocket areas over at least substantially the entire length (i.e., for example, more than 90% of the length) except for a possibly short free area at the folding fold.
- such a stand can be converted from a flat arrangement in which the first and second sections are arranged in alignment with one another in a plane into an angular arrangement by pivoting the first and second sections relative to one another about the support fold, in which the first and second sections are arranged at an installation angle to one another.
- the installation angle can be, for example, 120° or less, preferably 100° or less.
- the metal strip plastically deforms during pivoting and, in the angular arrangement, holds the first and second sections at the installation angle to one another.
- the manufacturing method according to the invention provides the provision of the flat base body made of cardboard with the first and a second flat section and the folding fold that connects them to one another in an articulated manner.
- the inner surfaces of the first and second flat cover bodies made of cardboard are applied to the first and second flat sections and partially glued to them, whereby a first adhesive-free pocket area is formed between the inner side of the first cover body and the inner side of the first flat section, which borders the folding fold and a second adhesive-free pocket area is formed between the inner side of the second cover body and the inner side of the second flat section, which second pocket area is also bordered by the folding fold.
- the flat metal strip is arranged to bridge the folding fold with a first part in the first pocket area and a second part in the second pocket area, whereby the metal strip is held displaceably in at least one of the pocket areas without any material connection to the respective cover body and flat section.
- the order of the process steps is not necessarily fixed; for example, the metal strip can already be arranged when one or both pocket areas are formed or can be added subsequently.
- a steel sheet with a thickness of 0.1 to 0.15 mm has proven to be suitable for the metal strip.
- the material, thickness and width of the metal strip must be selected so that it can be easily bent and that it also has sufficient holding power.
- the metal strip can be arranged completely on one or both sides of the fold, i.e., with its entire surface within the adhesive-free pocket area, so that on at least one of the sides it is held across its entire surface without any material connection only by the boundaries of the pocket area, i.e., in particular, not by adhesive.
- - at least on one side - the metal strip is located with the majority (i.e., more than 50%, preferably more than 75%, particularly preferably more than 90%) of its surface on the respective side of the fold in the adhesive-free pocket area, but is nevertheless fixed by adhesive at one or more points, e.g., at one or more edges of the respective adhesive-free pocket area.
- the metal strip can thus still move by the required minimum amount when bent, despite the proportionally low bonding.
- the stand according to the invention and the method according to the invention thus allow the production of a three-dimensional shape of the stand in a particularly simple manner.
- a desired installation angle, created by pivoting can be maintained.
- the stand according to the invention is particularly suitable for a visually appealing presentation, for example as an advertising medium.
- a visually appealing presentation for example as an advertising medium.
- one or both of the outer surfaces opposite the inner surfaces of the first and/or second flat section can be printed.
- the stand-up fold allows a precisely located, straight edge to be produced.
- the movable nature of the metal strip prevents compression of the metal strip and/or the material of the base body when pivoting, thus preventing cracks, bulges and other undesirable deformations, particularly on the outer surfaces.
- a pocket area that is well suited to receiving the metal strip is created in a particularly simple manner.
- the metal strip is held displaceably in only one of the pocket areas, while being fixed in the other pocket area.
- the metal strip is held displaceably in both pocket areas relative to the base body and the cover bodies without any material connection. This has proven advantageous for preventing or reducing deformation, particularly of the base body, when setting up the stand, i.e., when pivoting the flat sections relative to each other to create an angular arrangement.
- the inner surface of the first cover body is bonded to the inner surface of the first planar section in a first bonding area, wherein the first bonding area surrounds the pocket area on three sides.
- the pocket area is surrounded by a continuous bonding area, wherein the fourth side is preferably formed by the folding fold.
- a second bonding area can preferably be formed between the second cover body and the second planar section, which bonding area surrounds the second, non-adhesive pocket area there.
- the first and/or second cover body can be formed as a single piece with the base body.
- the respective cover body can be hingedly connected to the first and/or second section by a closing fold.
- the respective cover bodies can then be placed onto the inner surface of the respective section of the cover body by folding them over at the closing fold.
- the base body can thus be formed as a single piece with both cover bodies.
- the closing fold further preferably runs parallel to the support fold.
- the inside of the base body can, for example, be completely covered by the two cover bodies.
- an arrangement in which the folding fold on the inside surface of the base body is not covered or not completely covered by the cover bodies is preferred.
- the first and second cover bodies are arranged at a distance from one another along the folding fold. This allows the sections to pivot relative to one another around the folding fold in a particularly simple manner in order to produce an angular arrangement. Due to the distance and a resulting The free space between the inner cover elements means that no or less material needs to be displaced during pivoting or folding. This reduces or completely eliminates the otherwise possible undesirable deformation of the flat sections and the folding fold.
- the distance between the first and second cover elements can be, for example, 0.3 to 5 mm, preferably 0.5 to 3 mm, and particularly preferably 1 to 2 mm.
- first and/or second section of the base body may have a length (measured perpendicular to the folding fold) that is greater than the respective length of the associated cover body.
- a shorter design of the cover body can create a gap or a free area on the inside of the folding fold, which simplifies folding along the folding fold and can prevent or reduce undesirable deformations.
- the length of the first and/or second section of the base body may be greater by an amount of 0.2 to 2 mm than the length of the first and/or second cover body.
- the dimensions of the stand as a whole and in particular of the pocket areas can be selected differently for different requirements.
- the first and/or the second pocket area can have a length, measured in each case at right angles to the stand-up fold, which is less than 80% of the length of the first and/or the second section.
- the respective pocket area (and preferably also the metal strip accommodated therein) then extends only over part of the length of the respective section of the base body.
- Preferred dimensions for the length of the respective pocket area and/or the length of the respective part of the metal strip accommodated therein can be, for example, at least 10%, preferably at least 20% of the length of the respective section.
- At least one slot can be formed on the first and/or second planar section and/or on the first or second planar cover body, which slot penetrates the planar section or cover body.
- the slot can be positioned and dimensioned such that insertion of the metal strip into the first and/or second pocket area is possible.
- only one A slot is formed in one of the pocket areas, particularly preferably in the region of its end facing away from the folding fold.
- the slot is preferably arranged so that the metal strip can be pushed through in the longitudinal direction.
- Fig. 1 shows a first embodiment of a stand 10, in which two flat sections 14a, 14b of a cardboard base body 12 form an angular arrangement in which they are arranged at an angle ⁇ to each other.
- a stand 10 can serve, for example, as a sign or advertising medium, wherein the Fig. 1
- the outer surfaces of the base body 12 shown above can be printed.
- the stand can be printed as shown in Fig. 1 shown on edges of the planar sections 14a, 14b of the base body 12 or, in particular with an installation angle ⁇ of less than 90°, also on one of the outer surfaces, as shown below with reference to a second embodiment ( Fig. 5, 6 ) is shown.
- the stand 10 has a concealed metal strip 20 which is plastically deformable when the flat sections 14a, 14b of the base body 12 are pivoted about a folding fold 16 and thus in the angular position of Fig. 1 maintains the achieved angle of installation ⁇ .
- Fig. 2 shows the stand 10 in an unfolded form.
- the base body 12 with the flat sections 14a, 14b and the stand-up fold 16 formed therebetween is formed in one piece from cardboard material with a first and a second flat cover body 18a, 18b, which are foldable, i.e., hingedly connected, to the base body 12 via end folds 28a, 28b.
- the flat sections 14a, 14b of the base body 12 each have identical lengths B1, and the adjoining cover bodies 18a, 18b also have identical lengths B2 (although the lengths may differ in different embodiments).
- the length B2 of each of the cover bodies 18a, 18b is shorter by a certain amount, for example 1-2 millimeters, than the length B1 of the respective adjacent flat section 14a, 14b of the base body 12.
- Adhesive areas 24a, 24b are formed on the inner surface of the base body 12, each of which surrounds adhesive-free areas 22a, 22b on three sides.
- the adhesive-free areas 22a, 22b are located opposite each other via the folding fold 16.
- Figures 3a-3c shows steps in the production of the stand 10 in a possible sequence.
- a flat piece of cardboard material which is divided into the flat sections 14a, 14b and cover bodies 18a, 18b by introducing the stand-up fold 16 and the end folds 28a, 28b, after applying adhesive to the adhesive areas 24a, 24b (in Fig. 3a-3c not shown) by folding the inner sides of the flat sections 14a, 14b and the cover bodies 18a, 18b onto each other at the end folds 28a, 28b.
- the central adhesive-free areas 22a, 22b in Fig. 3a-3c also not shown
- the metal strip 20 is placed.
- the metal strip 30 can also be inserted subsequently.
- the cover bodies 18a, 18b By folding the cover bodies 18a, 18b, their inner sides and the inner sides of the flat sections 14a, 14b adhere to one another via the adhesive areas 24a, 24b.
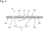
- the adhesive-free areas 22a, 22b form pockets between the inner sides, into which the metal strip 20 is received. This is shown in section in Fig. 4 shown.
- the metal strip 20 bridges the folding fold 16 and is accommodated on both sides in adhesive-free pocket areas 22a, 22b.
- the metal strip 20 is clamped between the inner surfaces of the flat sections 14a, 14b and the cover bodies 18a, 18b, but without any material connection, ie, in particular, without adhesive bonding.
- the adhesive-free pocket areas 22a, 22b are dimensioned somewhat larger than the metal strip 20, so that the latter is accommodated therein with a certain amount of play, i.e. can be displaced parallel to the inner surfaces to at least a small extent.
- a free area 26 is formed between their edges, ie they form a distance of, for example, a few millimeters there.
- the thus formed and in Fig. 4 The structure shown is particularly well suited for folding around the folding fold 16, i.e. for pivoting the flat sections 14a, 14b against each other to form the folding angle ⁇ .
- the position and straight course of the folding fold 16 embossed into the material are predetermined.
- the metal strip 20 deforms plastically, but can move within the adhesive-free pocket areas 22a, 22b so that there is no stretching or compression of the cardboard material, which could otherwise lead to undesirable deformation or even tearing of the material.
- Due to the free area 26, the edges of the cover bodies 18a, 18b do not abut one another (or at least not to a significant extent), so that here too, material compression is avoided or at least reduced.
- the stand 10 can be set up particularly easily and stably starting from an initially flat arrangement (see e.g. Fig. 3c ) the angular arrangement ( Fig. 1 ) of the stand 10.
- the stand 10 can thus be arranged in a flat arrangement processed (e.g. printed), stored and/or transported or shipped and only when used in the angular arrangement ( Fig. 1 ) can be brought.
- the adhesive areas 24a, 24b are shown protruding from the inner sides of the flat sections 14a, 14b of the base body 12; alternatively or additionally, adhesive can also be applied to the inner sides of one or both of the cover bodies 18a, 18b during production. While the above assumed continuous, flat adhesive areas 24a, 24b, adhesive can also be applied intermittently in these areas, for example, in dotted or linear patterns.
- the dimensions shown and relative dimensions of the flat sections 14a, 14b of the base body 12 as well as the adhesive-free areas 22a, 22b and the metal strip 20 are merely examples and can vary for different designs; in particular, the base body 12 does not have to be divided symmetrically as shown, but one of the flat sections 14a, 14b can differ in size and/or shape from the other section.
- Fig. 5 - 7 show a stand 110 according to a second embodiment.
- the stand 110 according to the second embodiment largely corresponds to the stand 10 according to the first embodiment.
- Identical parts and elements are provided with identical reference numerals. Only the differences will be discussed in more detail below.
- the stand 110 has surfaces of different lengths, i.e., the first flat section 14a and the first flat cover body 18a have, measured from the fold 16, a significantly greater length than the second flat section 14b and the second flat cover body 18b.
- the length can, for example, correspond to at least twice the length of the second flat section 14b and cover body 18b.
- the angle ⁇ is less than 90°.
- the stand 110 is particularly suitable for being placed on the shorter second flat section 14b as a base, so that the first flat section 14a stands upright, for example as a sign, as in Fig. 5 shown.
- a hole is provided on the second flat section 14b, i.e. on the underside of the foot (see Fig. 6 ), a slot 30 is formed which penetrates the second planar section 14b and which is formed between the second planar section 14b and the second second planar cover body 18b makes pocket area 22b accessible.
- Fig. 7 This is shown in section.
- the slot 30 is arranged at the longitudinal end of the pocket area 22b so that the metal strip 20 can be inserted through the slot 30 into the pocket areas 22a, 22b.
Landscapes
- Physics & Mathematics (AREA)
- General Physics & Mathematics (AREA)
- Engineering & Computer Science (AREA)
- Theoretical Computer Science (AREA)
- Display Racks (AREA)
- Toys (AREA)
- Purses, Travelling Bags, Baskets, Or Suitcases (AREA)
Description
- Die Erfindung betrifft einen Aufsteller, ein Verfahren zum Aufstellen des Aufstellers und ein Verfahren zur Herstellung des Aufstellers. Insbesondere betrifft die Erfindung Aufsteller mit einem planen Grundkörper aus Karton.
- Unter einem Aufsteller wird ein Gebilde bzw. ein Körper verstanden, der dazu ausgebildet ist, auf einer planen Aufstellebene erhaben aufgestellt zu werden, d. h. so, dass der Aufsteller sich aus der planen Aufstellebene erhebt. Ein Aufsteller kann bspw. eine oder mehrere Standflächen und/oder Kanten aufweisen, mit denen er auf der Aufstellebene aufsteht bzw. aufliegt. Solche Aufsteller können genutzt werden bspw. als Schild, Werbeträger oder sonstiges wahrnehmbares Kennzeichen. Insbesondere kann ein Aufsteller mit einer Aufschrift und/oder einem Bild versehen sein, die durch die aufgestellte Position gut wahrnehmbar sind.
- Die
WO 2009/052240 A1 beschreibt ein Stützelement aus einem leicht biegsamen Material, das in der Lage ist, die gebogene Position ohne weitere Einwirkung der Biegekraft zu halten. Druckempfindliche Klebe-Oberflächen erlauben es, das Element auf Flächen wie Karten oder Gegenstände aus Papier lösbar aufzukleben, um diese zu stützen. - Die
beschreibt Material zur Darstellung von Informationen mit einem Hauptkörper der hergestellt ist durch Anbringen von Druckpapier an Platten, die durch Kunststoff, Schaum oder Holzwerkstoffe gebildet sind. Der Hauptkörper weist eine erste und zweite Stütze auf, die gegenüber dem Hauptkörper gefaltet sind, so dass ein Falz gebildet ist. Ein Blechstück ist über dem Falz angebracht.KR 1020180122833A - Die
offenbart einen faltbaren Kegel mit erster und eine zweiter Seitenwand, die sich nach oben hin verjüngen. Jede Seitenwand weist eine Außenfläche, eine Innenfläche, eine Unterkante, eine Oberkante und gegenüberliegende Seitenkanten auf. Der Kegel umfasst ferner eine Grundplatte mit einer Faltnaht, die sich entlang ihres Mittelteils in einer Richtung erstreckt, die im Allgemeinen parallel zu den unteren Kanten der Seitenplatten verläuft, wobei die Grundplatte entlang der Faltnaht gefaltet wird. Die erste und die zweite Seitenwand sind an einer vorbestimmten Stelle aneinander befestigt, um eine konkave erste und zweite Seitenwand zu bilden, wenn die Grundwand aufgeklappt ist.US20210/0319607A1 - Die
WO 2019/156436 A1 beschreibt eine Informationstafel, die einen ersten und einen zweiten Produktabschnitt aufweist, die miteinander verbunden sind, um entlang einer Faltlinie gefaltet zu werden. Der erste und zweite Produktabschnitt sind einander zugewandt und weisen jeweilige untere Abschnitte auf, die auf die Bodenfläche zu legen sind. Eine Verbindungsplatte und ein Verstärkungselement sind nacheinander an jeder der einander zugewandten Innenflächen des ersten und des zweiten Produktabschnitts angebracht, wobei die Verbindungsplatte ein Plattenelement mit einem darauf ausgebildeten Verbindungsabschnitt ist., Das Verstärkungselement ist ein Plattenelement, das die Verbindungsplatte abdeckt und einen Durchgangsabschnitt aufweist, durch den sich der Verbindungsabschnitt der Verbindungsplatte freiliegend erstreckt. Verbindungsmittel sind an den einander zugewandten Rückseiten des ersten bzw. des zweiten Produktteils ausgebildet und verbinden Verbindungsabschnitte die zueinander hin freiliegen, indem sie sich durch die Durchgangsabschnitte der Verstärkungselemente erstrecken. - Die
beschreibt einen Gegenstand, der zwei Teile und ein flexibles Stützelement umfasst, das durch Klebstoff an den beiden Teilen befestigt ist, um sie in einer gewünschten Ausrichtung relativ zueinander zu halten und gleichzeitig eine Anpassung an verschiedene Ausrichtungen zu ermöglichen. Das Stützelement umfasst zwei Stege mit mindestens einer dazwischen angeordneten Längsversteifung, wobei die Versteifung oder Versteifungen dem Stützelement eine ausreichende Steifigkeit verleihen, um die Teile in der gewünschten Ausrichtung zu halten.GB 1 601 120 A - Es kann als Aufgabe angesehen werden, einen Aufsteller, ein Verfahren zum Aufstellen des Aufstellers und ein Verfahren zur Herstellung des Aufstellers vorzuschlagen, mit denen besonders einfach und kostengünstig ein gut als Schild oder Werbeträger verwendbarer Aufsteller mit ansprechender Erscheinung ermöglicht wird.
- Die Aufgabe wird gelöst durch einen Aufsteller gemäß Anspruch 1 sowie durch die Verfahren gemäß den Ansprüchen 11 und 12. Abhängige Ansprüche beziehen sich auf vorteilhafte Ausführungsformen der Erfindung.
- Der Erfinder ist ausgegangen von der Erkenntnis, dass für einen Aufsteller zur Verwendung als Schild und/oder Werbeträger eine zunächst flache Form maßgeblich ist, sowohl für die Herstellung, insbesondere ein mögliches Bedrucken, als auch für Lagerung bzw. den Versand. Für die Verwendung als Aufsteller soll allerdings auf möglichst einfache Weise eine räumliche Form hergestellt werden.
- Der erfindungsgemäße Aufsteller weist zumindest einen planen Grundkörper und einen ersten sowie einen zweiten planen Deckkörper auf, die jeweils ganz oder zum Teil aus Karton bestehen. Unter dem Begriff "Karton" wird vorliegend jedes flächige, steife Papierprodukt verstanden, insbesondere mit einer flächenbezogenen Masse von mindestens 150 g/m2. Dies umfasst insbesondere Pappe und dickeres Papier. Der Begriff kann sich auf einsowie mehrlagige Produkte beziehen, inklusive Strukturprodukte wie bspw. Wellpappe.
- Der plane Grundkörper umfasst zumindest einen ersten und einen zweiten planen Abschnitt, die durch eine Aufstell-Falz gelenkig miteinander verbunden sind. Die Aufstell-Falz ist bevorzugt eingeprägt oder anderweitig so hergestellt, dass die planen Abschnitte durch Biegen bzw. Knicken des Materials entlang der Aufstell-Falz gegeneinander verschwenkt werden können. Durch die vorgegebene Aufstell-Falz ist bei einem Knicken des Grundkörpers der Verlauf der Schwenkkante vorgegeben. So kann bspw. ein gerader Knick an gewünschter Position gewährleistet werden.
- Eine Innenfläche des ersten Deckkörpers liegt auf einer Innenfläche des ersten planen Abschnitts des Grundkörpers auf und ist teilweise mit dieser verklebt. Eine Innenfläche des zweiten Deckkörpers liegt auf einer Innenfläche des zweiten planen Abschnitts auf und ist teilweise mit dieser verklebt. Während die Überdeckung auch nur zum Teil bestehen kann, sind die Innenseiten des ersten und/oder zweiten planen Abschnitts bevorzugt überwiegend (d. h. zu mehr als 50% der Fläche) und besonders bevorzugt mindestens nahezu vollständig (d. h. zu mindestens 90% der Fläche) durch den jeweiligen Deckkörper bedeckt. Der erste und zweite Deckkörper können separate Karton-Elemente sein, sie können aber auch miteinander und/oder mit dem Grundkörper aus einem durchgehenden, bspw. durch Falzen unterteilten Kartonstück gebildet sein. Die Verklebung kann gebildet sein durch verschiedene mögliche Sorten von Klebstoff und durch verschiedene mögliche Arten der Aufbringung. Beispielsweise kann die Verklebung durch chemisch oder physikalisch abbindende Klebstoffe gebildet sein, d.h. bspw. lösemittelhaltige Klebstoffe, Schmelzklebstoffe, polymerisierende Klebstoffe, etc. Ebenso ist die Verwendung von Haftklebstoffen möglich. Der Klebstoff kann aufgesprüht, aufgedruckt oder anderweitig aufgetragen werden. Besonders bevorzugt kann die Verklebung gebildet werden durch ein oder mehrere Klebebänder, bevorzugt doppelseitige Klebebänder, d.h. Träger mit beidseitigen Klebeflächen, bevorzugt mit Haftklebstoff. Bevorzugt sind jeweils ein oder mehre Streifen von doppelseitigen Klebebändern zwischen Deckkörper(n) und Innenfläche(n) angeordnet, um flächige Klebebereiche zu bilden.
- Zwischen der Innenseite des ersten Deckkörpers und der Innenseite des ersten planen Abschnitts sowie zwischen der Innenseite des zweiten Deckkörpers und der Innenseite des zweiten planen Abschnitts sind jeweils ein erster und ein zweiter kleberfreier Taschenbereich gebildet. Als kleberfreier Taschenbereich wird ein jeweils zusammenhängender Flächenbereich angesehen, an dem die Innenseiten von Deckkörper und planem Abschnitt aufeinander liegen, aber nicht durch Kleber verbunden sind. Die kleberfreien Taschenbereiche grenzen jeweils an die Aufstell-Falz an, bevorzugt liegen sie einander an der Aufstell-Falz direkt gegenüber.
- Erfindungsgemäß ist ein flacher Metallstreifen die Aufstell-Falz überbrückend angeordnet mit zumindest einem ersten Teil, bevorzugt umfassend ein erstes Ende des Metallstreifens, im ersten Taschenbereich und einem zweiten Teil, bevorzugt umfassend ein zweites Ende des Metallstreifens, im zweiten Taschenbereich. Dabei ist der Metallstreifen in mindestens einem der Taschenbereiche ohne stoffliche Verbindung zum jeweiligen Deckkörper und planen Abschnitt und damit - zumindest in geringem Maße - verschiebbar gehalten, d. h. insbesondere ohne Verklebung. Bevorzugt ist eine Verschiebbarkeit mindestens in Längsrichtung, d.h. quer zum Verlauf der Aufstell-Falz gegeben. Es kann dabei ein Mindestmaß der Verschiebbarkeit im Bereich von bspw. 1 mm oder sogar weniger ausreichen, wie nachfolgend näher erläutert wird. Während der Metallstreifen bspw. nur mit den jeweiligen Enden in den Taschenbereichen aufgenommen sein kann, ist es bevorzugt, wenn er - bis auf einen ggfs. kurzen freien Bereich an der Aufstell-Falz - über mindestens im Wesentlichen die gesamte Länge (d.h. bspw. mehr als 90% der Länge) in den Taschenbereichen aufgenommen ist.
- Erfindungsgemäß kann ein solcher Aufsteller ausgehend von einer planen Anordnung, in der der erste und der zweite Abschnitt fluchtend zueinander in einer Ebene angeordnet sind, durch Schwenken des ersten und zweiten Abschnitts gegeneinander um die Aufstell-Falz in eine Winkel-Anordnung gebracht werden, in der der erste und der zweite Abschnitt unter einem Aufstellwinkel zueinander angeordnet sind. Der Aufstell-Winkel kann bspw. 120° oder weniger, bevorzugt 100° oder weniger betragen. Dabei verformt sich der Metallstreifen beim Schwenken plastisch und hält in der Winkel-Anordnung den ersten und den zweiten Abschnitt in dem Aufstellwinkel zueinander.
- Das erfindungsgemäße Herstellungsverfahren sieht die Bereitstellung des planen Grundkörper aus Karton mit dem ersten und einen zweiten planen Abschnitt und der diese gelenkig miteinander verbindenden Aufstell-Falz vor. Die Innenflächen des ersten und zweiten planen Deckkörpers aus Karton werden, auf den ersten und zweiten planen Abschnitt aufgebracht und teilweise mit diesen verklebt, wobei zwischen der Innenseite des ersten Deckkörpers und der Innenseite des ersten planen Abschnitts ein erster kleberfreier Taschenbereich gebildet wird, der an die Aufstell-Falz angrenzt und zwischen der Innenseite des zweiten Deckkörpers und der Innenseite des zweiten planen Abschnitts ein zweiter kleberfreier Taschenbereich gebildet wird, der ebenfalls an die Aufstell-Falz angrenzt. Der flache Metallstreifen wird die Aufstell-Falz überbrückend mit einem ersten Teil im ersten Taschenbereich und mit einem zweiten Teil im zweiten Taschenbereich angeordnet, wobei der Metallstreifen in mindestens einem der Taschenbereiche ohne stoffliche Verbindung zum jeweiligen Deckkörper und planen Abschnitt verschiebbar gehalten sind. Dabei ist die Reihenfolge der Verfahrensschritte nicht zwingend festgelegt, bspw. kann der Metallstreifen bereits bei Bildung eines oder beider Taschenbereiche darin angeordnet sein oder nachträglich eingebracht werden.
- Um ein Halten des Aufstell-Winkels zu ermöglichen, hat sich für den Metallstreifen bspw. ein Stahlblech einer Dicke im Bereich von 0,1 bis 0,15 mm als günstig erwiesen. Generell sind Material, Dicke und Breite des Metallstreifens so zu wählen, dass einerseits eine gute Knickbarkeit, andererseits aber auch ausreichende Haltekraft erreicht wird.
- Der Metallstreifen kann auf einer oder beiden Seiten der Aufstell-Falz vollständig, d.h. mit seiner gesamten Fläche innerhalb des kleberfreien Taschenbereiches angeordnet sein, so dass er auf mindestens einer der Seiten über seine gesamte Fläche ohne stoffliche Verbindung nur durch die Begrenzungen des Taschenbereiches gehalten ist, also insbesondere nicht durch Klebstoff. Es kann aber alternativ auch vorgesehen sein, dass sich - zumindest auf einer Seite - der Metallstreifen zwar mit dem überwiegenden (d.h. mehr als 50%, bevorzugt mehr als 75%, besonders bevorzugt mehr als 90%) Anteil seiner Fläche auf der jeweiligen Seite der Falz im kleberfreien Taschenbereich befindet, aber an einer oder mehreren Stellen, bspw. an einem oder mehreren Rändern des jeweiligen kleberfreien Taschenbereichs dennoch durch Kleber fixiert wird. Insbesondere bei einem teilweise flexiblen Kleber und nur einem geringen Flächenanteil kann sich so der Metallstreifen beim Biegen trotz der anteilig geringen Verklebung dennoch um das erforderliche Mindestmaß bewegen.
- Der erfindungsgemäße Aufsteller und das erfindungsgemäße Verfahren erlauben somit auf besonders einfache Weise das Herstellen einer räumlichen Form des Aufstellers. Durch eine plastische Verformung des Metallstreifens kann ein gewünschter, durch Schwenken hergestellter Aufstellwinkel gehalten werden.
- Dabei eignet sich der erfindungsgemäße Aufsteller in besonderer Weise für eine optisch ansprechende Präsentation, bspw. als Werbeträger. Hierzu können bspw. eine oder beide der den Innenflächen des ersten und/oder zweiten planen Abschnitts gegenüberliegenden Außenflächen bedruckt sein. Durch die Aufstell-Falz ist eine exakt lokalisierte, gerade Kante, herstellbar. Dabei wird durch die Verschiebbarkeit des Metallstreifens ein Stauchen des Metallstreifens und/oder des Materials des Grundkörpers beim Schwenken vermieden, so dass es nicht zu Rissen, Ausbeulungen und anderen unerwünschten Verformungen kommt, insbesondere auf den Außenflächen. Durch die nur teilweise Verklebung der Innenflächen von Deckkörper und Grundkörper wird auf besonders einfache Weise ein zur Aufnahme des Metallstreifens gut geeigneter Taschenbereich gebildet.
- Es ist möglich, dass der Metallstreifen nur in einem der Taschenbereiche verschiebbar gehalten ist, während er im anderen Taschenbereich fixiert ist. Bevorzugt ist der Metallstreifen in beiden Taschenbereichen gegenüber dem Grundkörper und den Deckkörpern ohne stoffliche Verbindung verschiebbar gehalten. Dies hat sich als günstig erwiesen, um Verformungen insbesondere des Grundkörpers beim Aufstellen des Aufstellers, d.h. beim Schwenken der planen Abschnitte zueinander zur Herstellung einer Winkel-Anordnung zu vermeiden bzw. zu verringern.
- Bevorzugt ist die Innenfläche des ersten Deckkörpers mit der Innenfläche des ersten planen Abschnitts in einem ersten Klebebereich verklebt, wobei der erste Klebebereich den Taschenbereich an drei Seiten umgibt. Somit ist der Taschenbereich von einem zusammenhängenden Klebebereich umgeben, wobei die vierte Seite bevorzugt durch die Aufstell-Falz gebildet wird. In gleicher Weise kann bevorzugt zwischen dem zweiten Deckkörper und dem zweiten planen Abschnitt ein zweiter Klebebereich gebildet sein, der den dortigen zweiten klebefreien Taschenbereich umgibt.
- Gemäß einer Weiterbildung kann der erste und/oder zweite Deckkörper durchgehend einstückig mit dem Grundkörper gebildet sein. Hierzu kann bspw. der jeweilige Deckkörper mit dem ersten und/oder zweiten Abschnitt durch eine Abschluss-Falz gelenkig verbunden sein. Die jeweiligen Deckkörper können dann durch Umschlagen an der Abschluss-Falz auf die Innenfläche des jeweiligen Abschnitts des Deckkörpers aufgelegt werden. Besonders bevorzugt kann so der Grundkörper mit beiden Deckkörpern einstückig gebildet sein. Die Abschluss-Falz verläuft weiter bevorzugt parallel zur Aufstell-Falz.
- Die Innenseite des Grundkörpers kann bspw. durch die beiden Deckkörper vollständig bedeckt sein. Bevorzugt ist allerdings eine Anordnung, bei der die Aufstell-Falz auf der Innenfläche des Grundkörpers nicht oder nicht vollständig durch die Deckkörper abgedeckt ist.
- Gemäß einer bevorzugten Ausführung sind der erste und der zweite Deckkörper entlang der Aufstell-Falz in einem Abstand zueinander angeordnet. So wird in besonders einfacher Weise ein Schwenken der Abschnitte zueinander um die Aufstell-Falz ermöglicht, um eine Winkelanordnung herzustellen. Durch den Abstand und einen sich daraus ergebenden freien Bereich zwischen den innen angeordneten Deckkörpern muss beim Schwenken bzw. Falten kein bzw. weniger Material verdrängt werden. Hierdurch wird eine sonst mögliche unerwünschte Verformung der planen Abschnitte sowie der Aufstell-Falz verringert oder ganz vermieden. Der Abstand zwischen dem ersten und zweiten Deckkörper kann bspw. 0,3 bis 5 mm, bevorzugt 0,5 bis 3 mm, besonders bevorzugt 1 - 2 mm betragen.
- Hierzu kann es bspw. bevorzugt sein, dass der erste und/oder der zweite Abschnitt des Grundkörpers eine Länge (zu messen rechtwinklig zur Aufstell-Falz) aufweist, die größer ist als die jeweilige Länge des zugehörigen Deckkörpers. Durch eine kürzere Ausbildung der Deckkörper kann ein Abstand bzw. ein freier Bereich auf der Innenseite der Aufstell-Falz erreicht werden, durch den das Umfalten entlang der Aufstell-Falz vereinfacht und unerwünschte Verformungen vermieden oder verringert werden können.
- Bspw. kann die Länge des ersten und/oder des zweiten Abschnitts des Grundkörpers um einen Betrag von 0,2 bis 2 mm größer sein als die Länge des ersten und/oder zweiten Deckkörpers.
- Die Dimensionierung des Aufstellers insgesamt und insbesondere der Taschenbereiche kann für verschiedene Anforderungen unterschiedlich gewählt werden. Gemäß einer bevorzugten Ausführung kann der erste und/oder der zweite Taschenbereich eine Länge aufweisen, gemessen jeweils rechtwinklig zur Aufstell-Falz, die weniger als 80% einer Länge des ersten und/oder des zweiten Abschnitts beträgt. Der jeweilige Taschenbereich (und bevorzugt ebenso der darin aufgenommene Metallstreifen) erstreckt sich dann nur über einen Teil der Länge des jeweiligen Abschnitts des Grundkörpers. Bevorzugte Maße für die Länge des jeweiligen Taschenbereichs und/oder die darin aufgenommene Länge des jeweiligen Teils des Metallstreifens kann bspw. bei mindestens 10%, bevorzugt mindestens 20% der Länge des jeweiligen Abschnitts betragen.
- Gemäß einer bevorzugten Ausführungsform kann am ersten und/oder am zweiten planen Abschnitt und/oder am ersten oder zweiten planen Deckkörper mindestens ein Schlitz gebildet sein, der den planen Abschnitt oder Deckkörper durchdringt. Der Schlitz kann so positioniert und dimensioniert sein, dass ein Einschieben des Metallstreifens in den ersten und/oder zweiten Taschenbereich ermöglicht wird. Bevorzugt ist nur ein Schlitz an einem der Taschenbereiche gebildet, besonders bevorzugt im Bereich von dessen der Aufstell-Falz abgewandten Ende. Der Schlitz ist bevorzugt so angeordnet, dass der Metallstreifen in Längsrichtung hindurch geschoben werden kann.
- Nachfolgend werden Ausführungsformen der Erfindung anhand von Zeichnungen näher beschrieben. Dabei zeigen:
- Fig. 1
- in perspektivischer Darstellung eine erste Ausführungsform eines Aufstellers in einer räumlichen Verwendungsform;
- Fig. 2
- der Aufsteller aus
Fig. 1 in einer Draufsicht auf eine aufgefaltete Form; - Fig. 3a-3c
- Schritte der Herstellung des Aufstellers aus
Fig. 1, Fig. 2 ausgehend von der aufgefalteten Form ausFig. 2 ; - Fig. 4
- ein teilweise gezeigter Querschnitt durch den Aufsteller auf
Fig. 1-3c in einer planen Anordnung gemäßFig. 3c - Fig. 5, 6
- in perspektivischen Darstellungen eine zweite Ausführungsform eines Aufstellers in seiner räumlichen Verwendungsform;
- Fig. 7
- ein teilweise gezeigter Querschnitt durch den Aufsteller auf
Fig. 5, 6 in einer planen Anordnung. -
Fig. 1 zeigt eine erste Ausführungsform eines Aufstellers 10, bei dem zwei plane Abschnitte 14a, 14b eines Grundkörpers 12 aus Karton eine Winkelanordnung bilden, in der sie unter einem Aufstellwinkel α zueinander angeordnet sind. Ein solcher Aufsteller 10 kann bspw. als Schild oder Werbeträger dienen, wobei die inFig. 1 oben gezeigten Außenflächen des Grundkörpers 12 bedruckt sein können. Dabei kann der Aufsteller wie inFig. 1 gezeigt auf Kanten der planen Abschnitte 14a, 14b des Grundkörpers 12 aufgestellt werden oder, insbesondere bei einem Aufstellwinkel α von weniger als 90°, auch auf einer der Außenflächen aufgestellt sein, wie nachfolgend anhand einer zweiten Ausführungsform (Fig. 5, 6 ) gezeigt wird. - Voraussetzung ist dabei jeweils, dass der Aufstellwinkel α gehalten wird, was durch das Karton-Material des Grundkörpers 12 alleine nicht gewährleistet ist. Wie in
Fig. 1 angedeutet ist und nachfolgend näher erläutert wird, weist der Aufsteller 10 einen verdeckt angeordneten Metallstreifen 20 auf, der beim Verschwenken der planen Abschnitte 14a, 14b des Grundkörpers 12 um eine Aufstell-Falz 16 plastisch verformbar ist und so in der Winkelstellung vonFig. 1 den erreichten Aufstellwinkel α hält. -
Fig. 2 zeigt den Aufsteller 10 in einer aufgefalteten Form. Der Grundkörper 12 mit den planen Abschnitten 14a, 14b und der dazwischen gebildeten Aufstell-Falz 16 ist einstückig aus Karton-Material gebildet mit einem ersten und einem zweiten planen Deckkörper 18a, 18b, die über Abschluss-Falzen 28a, 28b mit dem Grundkörper 12 faltbar, d.h. gelenkig verbunden sind. Rechtwinklig zur Aufstell-Falz 16 gemessen weisen bei der gezeigten Ausführungsform die planen Abschnitte 14a, 14b des Grundkörpers 12 jeweils identische Längen B1 auf und die daran anschließenden Deckkörper 18a, 18b weisen ebenfalls identische Längen B2 auf (wobei sich die Längen bei abweichenden Ausführungsformen allerdings unterscheiden können). Die Länge B2 jedes der Deckkörper 18a, 18b ist dabei um ein gewisses Maß von bspw. 1- 2 Millimetern kürzer als die Länge B1 des jeweiligen daran angrenzenden planen Abschnitts 14a, 14b des Grundkörpers 12. - Auf der Innenfläche des Grundkörpers 12 sind Klebebereiche 24a, 24b gebildet, die jeweils von drei Seiten kleberfreie Bereiche 22a, 22b umgeben. Die kleberfreien Bereiche 22a, 22b liegen sich über die Aufstell-Falz 16 gegenüber.
- Die Abfolge der
Figuren 3a- 3c zeigt Schritte der Herstellung des Aufstellers 10 in einer möglichen Reihenfolge. Ausgehend von einem planen Stück Kartonmaterial, das durch Einbringen der Aufstell-Falz 16 und der Abschluss-Falzen 28a, 28b in die planen Abschnitte 14a, 14b sowie Deckkörper 18a, 18b unterteilt wird, werden nach Aufbringen von Klebstoff auf die Klebebereiche 24a, 24b (inFig. 3a-3c nicht gezeigt) durch Umfalten an den Abschluss-Falzen 28a, 28b die Innenseiten der planen Abschnitte 14a, 14b und der Deckkörper 18a, 18b aufeinander gefaltet. Zuvor kann auf die mittleren kleberfreien Bereiche 22a, 22b (inFig. 3a-3c ebenfalls nicht gezeigt) der Metallstreifen 20 aufgelegt werden. Alternativ kann der Metallstreifen 30 auch nachträglich eingebracht werden. - Durch das Umfalten der Deckkörper 18a, 18b haften deren Innenseiten sowie die Innenseiten der planen Abschnitte 14a, 14b durch die Klebebereiche 24a, 24b aufeinander. Durch die kleberfreien Bereiche 22a, 22b sind zwischen den Innenseiten jeweils Taschen gebildet, in den der Metallstreifen 20 aufgenommen ist. Dies ist im Schnitt in
Fig. 4 gezeigt. Der Metallstreifen 20 überbrückt die Aufstell-Falz 16 und ist beidseitig aufgenommen in kleberfreien Taschenbereichen 22a, 22b. So ist der Metallstreifen 20 zwischen den Innenflächen der planen Abschnitts 14a, 14b und der Deckkörper 18a, 18b klemmend gehalten, allerdings ohne stoffliche Verbindung, d.h. insbesondere ohne Verklebung. - Die kleberfreien Taschenbereichen 22a, 22b sind dabei etwas größer bemessen als der Metallstreifen 20, so dass dieser mit einem gewissen Spiel darin aufgenommen ist, d.h. in zumindest geringem Maß parallel zu den Innenflächen verschiebbar ist.
- Wie weiter in
Fig. 4 gezeigt, bildet sich beim Umfalten der Deckkörper 18a, 18b im Bereich der Aufstell-Falz 16 ein freier Bereich 26 zwischen deren Kanten, d.h. sie bilden dort einen Abstand von bspw. einigen Millimetern. - Die so gebildete und in
Fig. 4 gezeigte Struktur eignet sich besonders gut zum Falten um die Aufstell-Falz 16, d.h. zum Verschwenken der planen Abschnitte 14a, 14b gegeneinander zur Bildung des Aufstell-Winkels α. Durch die in das Material eingeprägte Aufstell-Falz 16 ist deren Position und gerader Verlauf vorgegeben. Beim Falten verformt sich der Metallstreifen 20 plastisch, kann sich dabei aber innerhalb der kleberfreien Taschenbereiche 22a, 22b verschieben, so dass es nicht zu einer Dehnung oder Stauchung des Karton-Materials kommt, was sonst zu unerwünschten Verformungen oder sogar zu einem Reißen des Materials führen könnte. Durch den freien Bereich 26 stoßen die Kanten der Deckkörper 18a, 18b nicht (oder zumindest nicht in erheblichem Maß) aufeinander, so dass auch hier Materialstauchung vermieden oder zumindest verringert wird. - Somit kann mit dem dargestellten Aufbau des Aufstellers 10 besonders einfach und stabil ausgehend von einer zunächst planen Anordnung (s. bspw.
Fig. 3c ) die Winkel-Anordnung (Fig. 1 ) des Aufstellers 10 erreicht werden. Der Aufsteller 10 kann so bspw. in planer Anordnung bearbeitet (bspw. bedruckt), gelagert und/oder transportiert bzw. versandt und erst beim Einsatz in die Winkel-Anordnung (Fig. 1 ) gebracht werden. - Zu der gezeigten Ausführungsform sind verschiedene Variationen möglich. So sind die Klebebereiche 24a, 24b vorstehend auf den Innenseiten der planen Abschnitte 14a, 14b des Grundkörpers 12 gezeigt; alternativ oder zusätzlich kann bei der Herstellung Klebstoff auch auf den Innenseiten eines oder beider der Deckkörper 18a, 18b aufgetragen sein. Während vorstehend von durchgehenden flächigen Kleberbereichen 24a, 24b ausgegangen wurde, kann Klebstoff in diesen Bereichen auch intermittierend, bspw. punkt- oder linienförmig aufgetragen sein. Die gezeigten Dimensionen und relativen Abmessungen der planen Abschnitte 14a, 14b des Grundkörpers 12 sowie der kleberfreien Bereiche 22a, 22b und des Metallstreifens 20 sind lediglich beispielhaft und können für verschiedene Ausführungen variieren; insbesondere muss der Grundkörper 12 nicht wie gezeigt symmetrisch geteilt sein, sondern einer der planen Abschnitte 14a, 14b kann in Größe und/oder Form von dem anderen Abschnitt abweichen.
-
Fig. 5 - 7 zeigen einen Aufsteller 110 gemäß einer zweiten Ausführungsform. Der Aufsteller 110 gemäß der zweiten Ausführungsform entspricht weitgehend dem Aufsteller 10 gemäß der ersten Ausführungsform. Gleiche Teile und Elemente sind mit identischen Bezugszeichen versehen. Nachfolgend wird nur auf die Unterschiede näher eingegangen. - Der Aufsteller 110 gemäß der zweiten Ausführungsform weist verschieden lange Flächen auf, d.h. der erste plane Abschnitt 14a und der erste plane Deckkörper 18a weisen, gemessen ausgehend von der Falz 16, eine deutlich größere Länge auf als der zweite plane Abschnitt 14b und der zweite plane Deckkörper 18b. Die Länge kann bspw. mindestens dem Doppelten der Länge des zweiten planen Abschnitts 14b und Deckkörpers 18b entsprechen. Der Winkel α beträgt weniger als 90°. So ist der Aufsteller 110 besonders geeignet, auf den kürzeren zweiten planen Abschnitt 14b als Fuß aufgestellt zu werden, so dass der erste plane Abschnitt 14a bspw. als Schild aufrecht steht, wie in
Fig. 5 gezeigt. - Zur Einbringung des Metallstreifens 20 ist an dem zweiten planen Abschnitt 14b, d.h. an der Unterseite des Fußes (s.
Fig. 6 ), ein Schlitz 30 gebildet, der den zweiten planen Abschnitt 14b durchdringt und den zwischen dem zweiten planen Abschnitt 14b und dem zweiten zweite planen Deckkörper 18b gebildete Taschenbereich 22b zugänglich macht. InFig. 7 ist dies im Schnitt dargestellt. Der Schlitz 30 ist am Längs-Ende des Taschenbereichs 22b so angeordnet, dass der Metallstreifen 20 durch den Schlitz 30 in die Taschenbereiche 22a, 22b eingeschoben werden kann.
Claims (14)
- Aufsteller (10), mit- einem planen Grundkörper (12) aus Karton, mindestens umfassend einen ersten und einen zweiten planen Abschnitt (14a, 14b), die durch eine Aufstell-Falz (16) gelenkig miteinander verbunden sind, gekennzeichnet durch- einen ersten und einen zweiten planen Deckkörper (18a, 18b) aus Karton, wobei eine Innenfläche des ersten Deckkörpers (18a) auf einer Innenfläche des ersten planen Abschnitts (14a) aufliegt und teilweise mit dieser verklebt ist und eine Innenfläche des zweiten Deckkörpers (18b) auf einer Innenfläche des zweiten planen Abschnitts (14b) aufliegt und teilweise mit dieser verklebt ist,- wobei zwischen der Innenseite des ersten Deckkörpers (18a) und der Innenseite des ersten planen Abschnitts (14a) ein erster kleberfreier Taschenbereich (22a) gebildet ist, der an die Aufstell-Falz (16) angrenzt und zwischen der Innenseite des zweiten Deckkörpers (18b) und der Innenseite des zweiten planen Abschnitts (14b) ein zweiter kleberfreier Taschenbereich (22b) gebildet ist, der an die Aufstell-Falz (16) angrenzt,- und wobei ein flacher Metallstreifen (20) die Aufstell-Falz (16) überbrückend mit einem ersten Teil im ersten Taschenbereich (22a) und mit einem zweiten Teil im zweiten Taschenbereich (22b) angeordnet ist, wobei der Metallstreifen (20) in mindestens einem der Taschenbereiche (22a, 22b) ohne stoffliche Verbindung zum jeweiligen Deckkörper (18a, 18b) und planen Abschnitt (14a, 14b) verschiebbar gehalten ist.
- Aufsteller nach Anspruch 1, bei dem- der Metallstreifen (20) in beiden Taschenbereichen (22a, 22b) zwischen dem Grundkörper (12) und den Deckkörpern (18a, 18b) ohne stoffliche Verbindung verschiebbar gehalten ist.
- Aufsteller nach einem der vorangehenden Ansprüche, bei dem- die Innenfläche des ersten Deckkörpers (18a) mit der Innenfläche des ersten planen Abschnitts (14a) in einem ersten Klebebereich (24a) verklebt ist,- wobei der erste Klebebereich (24a) den ersten Taschenbereich (22a) an drei Seiten umgibt.
- Aufsteller nach einem der vorangehenden Ansprüche, bei dem- der erste und/oder zweite Deckkörper (18a, 18b) durchgehend einstückig mit dem Grundkörper (12) gebildet ist und mit dem ersten und/oder zweiten Abschnitt (14a, 14b) des Grundkörpers (12) durch eine Abschluss-Falz (28a, 28b) gelenkig verbunden ist.
- Aufsteller nach Anspruch 4, bei dem- die Abschluss-Falz (28a, 28b) parallel zur Aufstell-Falz (16) verläuft.
- Aufsteller nach einem der vorangehenden Ansprüche, bei dem- der erste und der zweite Deckkörper (18a, 18b) entlang der Aufstell-Falz (16) in einem Abstand (26) zueinander angeordnet sind.
- Aufsteller nach einem der vorangehenden Ansprüche, bei dem- der erste und/oder zweite Abschnitt (14a, 14b) eine Länge (B1) gemessen rechtwinklig zur Aufstell-Falz (16) aufweist,- und der erste und/oder zweite Deckkörper (18a, 18b) eine Länge (B2) gemessen rechtwinklig zur Aufstell-Falz (16) aufweist,- wobei die Länge (B1) des ersten und/oder zweiten Abschnitts (14a, 14b) größer ist als die Länge (B2) des ersten und/oder zweiten Deckkörpers (18a, 18b).
- Aufsteller nach Anspruch 7, bei dem- die Länge (B1) des ersten und/oder zweiten Abschnitts (14a, 14b) um einen Betrag von 0,2 - 2 mm größer ist als die Länge (B2) des ersten und/oder zweiten Deckkörpers (18a, 18b).
- Aufsteller nach einem der vorangehenden Ansprüche, bei dem- der erste und/oder zweite Taschenbereich (22a, 22b) eine Länge, gemessen rechtwinklig zur Aufstell-Falz (16), aufweist, die weniger als 80% einer Länge des ersten und/oder zweiten Abschnitts (14a, 14b), gemessen rechtwinklig zur Aufstell-Falz (16), beträgt.
- Aufsteller nach einem der vorangehenden Ansprüche, bei dem- am ersten und/oder zweiten planen Abschnitt (14a, 14b) und/oder am ersten oder zweiten planen Deckkörper (18a, 18b) ein Schlitz (30) vorgesehen ist, der ein Einschieben des Metallstreifens (20) in den ersten und/oder zweiten Taschenbereich (22a, 22b) erlaubt.
- Verfahren zum Aufstellen eines Aufstellers (10), bei dem- ein Aufsteller (10) nach einem der vorangehenden Ansprüche ausgehend von einer planen Anordnung, in der der erste und der zweite Abschnitt (14a, 14b) fluchtend zueinander angeordnet sind, durch Schwenken des ersten und zweiten Abschnitts (14a, 14b) gegeneinander um die Aufstell-Falz (16) in eine Winkel-Anordnung gebracht wird, in der der erste und der zweite Abschnitt (14a, 14b) unter einem Aufstellwinkel (α) zueinander angeordnet sind- wobei sich beim Schwenken der Metallstreifen (20) plastisch verformt und in der Winkel-Anordnung der Metallstreifen (20) den ersten und den zweiten Abschnitt (14a, 14b) in dem Aufstellwinkel (α) zueinander hält.
- Verfahren zur Herstellung eines Aufstellers (10) nach einem der Ansprüche 1 - 10, bei dem- der plane Grundkörper (12) aus Karton mit dem ersten und einen zweiten planen Abschnitt (14a, 14b) und der diese gelenkig miteinander verbindenden Aufstell-Falz (16) bereitgestellt wird,- die Innenflächen des ersten und zweiten planen Deckkörpers (18a, 18b) aus Karton, auf den ersten und zweiten planen Abschnitt (14a, 14b) aufgebracht und teilweise mit diesen verklebt werden, wobei zwischen der Innenseite des ersten Deckkörpers (18a) und der Innenseite des ersten planen Abschnitts (14a) ein erster kleberfreier Taschenbereich (22a) gebildet wird, der an die Aufstell-Falz (16) angrenzt und zwischen der Innenseite des zweiten Deckkörpers (18b) und der Innenseite des zweiten planen Abschnitts (14b) ein zweiter kleberfreier Taschenbereich (22b) gebildet wird, der an die Aufstell-Falz (16) angrenzt,- und wobei der flache Metallstreifen (20) die Aufstell-Falz (16) überbrückend mit einem ersten Teil im ersten Taschenbereich (22a) und mit einem zweiten Teil im zweiten Taschenbereich (22b) angeordnet wird, wobei der Metallstreifen (20) in mindestens einem der Taschenbereiche (22a, 22b) ohne stoffliche Verbindung zum jeweiligen Deckkörper (18a, 18b) und planen Abschnitt (14a, 14b) verschiebbar gehalten ist.
- Verfahren nach Anspruch 12, bei dem- der flache Metallstreifen (20) bei Bildung der Taschenbereiche (22a, 22b) bereits in diesen angeordnet ist.
- Verfahren nach Anspruch 12, bei dem- der flache Metallstreifen (20) nach Bildung der Taschenbereiche (22a, 22b) durch einen Schlitz (30) in diese eingeschoben wird.
Applications Claiming Priority (2)
| Application Number | Priority Date | Filing Date | Title |
|---|---|---|---|
| DE102022108028.5A DE102022108028B3 (de) | 2022-04-04 | 2022-04-04 | Aufsteller mit Karton-Grundkörper |
| PCT/EP2023/058515 WO2023194247A1 (de) | 2022-04-04 | 2023-03-31 | Aufsteller mit karton-grundkörper |
Publications (3)
| Publication Number | Publication Date |
|---|---|
| EP4367658A1 EP4367658A1 (de) | 2024-05-15 |
| EP4367658C0 EP4367658C0 (de) | 2025-05-07 |
| EP4367658B1 true EP4367658B1 (de) | 2025-05-07 |
Family
ID=86095905
Family Applications (1)
| Application Number | Title | Priority Date | Filing Date |
|---|---|---|---|
| EP23718617.6A Active EP4367658B1 (de) | 2022-04-04 | 2023-03-31 | Aufsteller mit karton-grundkörper |
Country Status (10)
| Country | Link |
|---|---|
| US (1) | US12603020B2 (de) |
| EP (1) | EP4367658B1 (de) |
| JP (1) | JP7842223B2 (de) |
| KR (1) | KR20240164872A (de) |
| CN (1) | CN118648047A (de) |
| AU (1) | AU2023251141A1 (de) |
| CA (1) | CA3252282A1 (de) |
| DE (1) | DE102022108028B3 (de) |
| MX (1) | MX2024012278A (de) |
| WO (1) | WO2023194247A1 (de) |
Citations (2)
| Publication number | Priority date | Publication date | Assignee | Title |
|---|---|---|---|---|
| US20090098328A1 (en) * | 2007-10-16 | 2009-04-16 | Bentab Llc | Supports for greeting cards and the like |
| US20110239505A1 (en) * | 2010-03-15 | 2011-10-06 | Steven Fink | Multi-panel foamboard displays |
Family Cites Families (16)
| Publication number | Priority date | Publication date | Assignee | Title |
|---|---|---|---|---|
| US1762900A (en) * | 1927-06-09 | 1930-06-10 | Wilson Fastener Company | Display box |
| US3216582A (en) * | 1963-09-09 | 1965-11-09 | Carroll N Cross | Foldable sheet holder |
| DE1936326U (de) | 1966-01-28 | 1966-04-07 | Europa Carton Ag | Wellpappe fuer biegesteife zuschnitte. |
| US3713578A (en) * | 1971-03-02 | 1973-01-30 | G Johnson | Lid hinge |
| US3973720A (en) * | 1972-07-17 | 1976-08-10 | Republic Packaging Corporation | Protective cushioning pad |
| JPS51131198U (de) * | 1975-04-16 | 1976-10-22 | ||
| DE7523165U (de) | 1975-07-21 | 1975-12-04 | Storck August Kg | Transport- und Anbietepackung fuer Suesswaren in Riegelform |
| GB1601120A (en) * | 1978-05-30 | 1981-10-28 | Jordan J T | Flexible supporting member |
| JPH04128663U (ja) * | 1991-05-17 | 1992-11-24 | 凸版印刷株式会社 | 表示体 |
| JP2000187444A (ja) | 1998-12-22 | 2000-07-04 | Tanakaya Inc | 金属板貼折自立ポップ |
| US7845099B2 (en) * | 2007-07-27 | 2010-12-07 | Vertis, Inc. | Method for manufacturing a pop-up article |
| US8302551B2 (en) | 2008-03-24 | 2012-11-06 | Vanguard Ada Systems Of America, Inc. | Foldable cone |
| KR20180107520A (ko) * | 2017-03-22 | 2018-10-02 | 이광준 | 광고대 |
| KR20180122833A (ko) | 2017-05-04 | 2018-11-14 | 이광준 | 발포성형된 합성수지보드를 가공하여 만들어진 판을 자재로 사용하여 광고 또는 홍보를 포함한 정보를 전달하는 정보전달체 및 그 제조방법 |
| KR102310855B1 (ko) | 2017-08-30 | 2021-10-08 | 이광준 | 접힘성을 가지는 발포성형된 합성수지판을 이용한 제품 및 그 제조방법 |
| CN111489311B (zh) | 2020-04-09 | 2023-08-08 | 北京百度网讯科技有限公司 | 一种人脸美化方法、装置、电子设备及存储介质 |
-
2022
- 2022-04-04 DE DE102022108028.5A patent/DE102022108028B3/de active Active
-
2023
- 2023-03-31 JP JP2024541752A patent/JP7842223B2/ja active Active
- 2023-03-31 CA CA3252282A patent/CA3252282A1/en active Pending
- 2023-03-31 WO PCT/EP2023/058515 patent/WO2023194247A1/de not_active Ceased
- 2023-03-31 CN CN202380020007.7A patent/CN118648047A/zh active Pending
- 2023-03-31 EP EP23718617.6A patent/EP4367658B1/de active Active
- 2023-03-31 AU AU2023251141A patent/AU2023251141A1/en active Pending
- 2023-03-31 US US18/852,604 patent/US12603020B2/en active Active
- 2023-03-31 KR KR1020247024344A patent/KR20240164872A/ko active Pending
-
2024
- 2024-10-03 MX MX2024012278A patent/MX2024012278A/es unknown
Patent Citations (2)
| Publication number | Priority date | Publication date | Assignee | Title |
|---|---|---|---|---|
| US20090098328A1 (en) * | 2007-10-16 | 2009-04-16 | Bentab Llc | Supports for greeting cards and the like |
| US20110239505A1 (en) * | 2010-03-15 | 2011-10-06 | Steven Fink | Multi-panel foamboard displays |
Also Published As
| Publication number | Publication date |
|---|---|
| US20250218311A1 (en) | 2025-07-03 |
| US12603020B2 (en) | 2026-04-14 |
| WO2023194247A1 (de) | 2023-10-12 |
| MX2024012278A (es) | 2024-11-08 |
| EP4367658C0 (de) | 2025-05-07 |
| EP4367658A1 (de) | 2024-05-15 |
| DE102022108028B3 (de) | 2023-05-25 |
| CN118648047A (zh) | 2024-09-13 |
| KR20240164872A (ko) | 2024-11-21 |
| JP7842223B2 (ja) | 2026-04-07 |
| AU2023251141A1 (en) | 2024-08-22 |
| CA3252282A1 (en) | 2025-02-04 |
| JP2025510469A (ja) | 2025-04-15 |
Similar Documents
| Publication | Publication Date | Title |
|---|---|---|
| DE2855121A1 (de) | Leiste zur herstellung eines rahmens fuer die befestigung eines blattes sowie rahmen mit einer solchen leiste | |
| DE3852401T2 (de) | Blattfaltverfahren und vorrichtung. | |
| EP4367658B1 (de) | Aufsteller mit karton-grundkörper | |
| DE102014215122A1 (de) | Transportabler Sockel | |
| DE3346275A1 (de) | Blumenvase | |
| EP4620355A1 (de) | Warendisplay und verfahren zu dessen herstellung | |
| EP1792551B1 (de) | Faltbare Platte | |
| EP2447931A2 (de) | Selbstaufstellende konkave Säule | |
| DE3901481A1 (de) | Regalelement | |
| DE69627434T2 (de) | Gefaltetes Pappelement wie Regal, Träger oder dergleichen für einen Schaustand oder dergleichen | |
| WO2011076158A1 (de) | Informationsträger und verfahren zum herstellen eines informationsträgers | |
| EP1798151B1 (de) | Verpackung für einen rollenförmigen Körper und Faltzuschnitt hierfür | |
| DE2164201C3 (de) | Werbeaufsteller | |
| EP0941538A1 (de) | Gehäuse für einen scheibenförmigen gegenstand, ein verfahren sowie eine einrichtung zur herstellung des gehäuses | |
| DE102018132416A1 (de) | Regalträger für ein offenes Regal | |
| DE3718744C2 (de) | ||
| EP1918899A2 (de) | Präsentationsaufsteller | |
| DE69901497T2 (de) | Anzeigeelement für anzeigetafeln mit veränderbaren bildern | |
| DE19822884A1 (de) | Wandelement für einen Fahrzeugaufbau und Verfahren zur Herstellung eines solchen Wandelements | |
| DE20009660U1 (de) | Aufsteller | |
| DE3909983C1 (en) | Hollow placard panel | |
| DE2555219B2 (de) | Mehrschichtige Faltverpackung und Verfahren zu ihrer Herstellung | |
| DE102011014385A1 (de) | Rahmen aus einem knickbaren Material | |
| DE102010008891A1 (de) | Faltbarer Informationsträger | |
| DE2705109C2 (de) | Stützkörper |
Legal Events
| Date | Code | Title | Description |
|---|---|---|---|
| STAA | Information on the status of an ep patent application or granted ep patent |
Free format text: STATUS: UNKNOWN |
|
| STAA | Information on the status of an ep patent application or granted ep patent |
Free format text: STATUS: THE INTERNATIONAL PUBLICATION HAS BEEN MADE |
|
| PUAI | Public reference made under article 153(3) epc to a published international application that has entered the european phase |
Free format text: ORIGINAL CODE: 0009012 |
|
| STAA | Information on the status of an ep patent application or granted ep patent |
Free format text: STATUS: REQUEST FOR EXAMINATION WAS MADE |
|
| 17P | Request for examination filed |
Effective date: 20240205 |
|
| AK | Designated contracting states |
Kind code of ref document: A1 Designated state(s): AL AT BE BG CH CY CZ DE DK EE ES FI FR GB GR HR HU IE IS IT LI LT LU LV MC ME MK MT NL NO PL PT RO RS SE SI SK SM TR |
|
| REG | Reference to a national code |
Ref country code: DE Ref legal event code: R079 Free format text: PREVIOUS MAIN CLASS: G09F0001040000 Ipc: G09F0001060000 Ref document number: 502023000970 Country of ref document: DE |
|
| GRAP | Despatch of communication of intention to grant a patent |
Free format text: ORIGINAL CODE: EPIDOSNIGR1 |
|
| STAA | Information on the status of an ep patent application or granted ep patent |
Free format text: STATUS: GRANT OF PATENT IS INTENDED |
|
| RIC1 | Information provided on ipc code assigned before grant |
Ipc: G09F 1/10 20060101ALI20241111BHEP Ipc: G09F 1/06 20060101AFI20241111BHEP |
|
| DAV | Request for validation of the european patent (deleted) | ||
| DAX | Request for extension of the european patent (deleted) | ||
| INTG | Intention to grant announced |
Effective date: 20241206 |
|
| GRAS | Grant fee paid |
Free format text: ORIGINAL CODE: EPIDOSNIGR3 |
|
| GRAA | (expected) grant |
Free format text: ORIGINAL CODE: 0009210 |
|
| STAA | Information on the status of an ep patent application or granted ep patent |
Free format text: STATUS: THE PATENT HAS BEEN GRANTED |
|
| AK | Designated contracting states |
Kind code of ref document: B1 Designated state(s): AL AT BE BG CH CY CZ DE DK EE ES FI FR GB GR HR HU IE IS IT LI LT LU LV MC ME MK MT NL NO PL PT RO RS SE SI SK SM TR |
|
| REG | Reference to a national code |
Ref country code: GB Ref legal event code: FG4D Free format text: NOT ENGLISH |
|
| REG | Reference to a national code |
Ref country code: CH Ref legal event code: EP |
|
| REG | Reference to a national code |
Ref country code: IE Ref legal event code: FG4D Free format text: LANGUAGE OF EP DOCUMENT: GERMAN |
|
| U01 | Request for unitary effect filed |
Effective date: 20250507 |
|
| U07 | Unitary effect registered |
Designated state(s): AT BE BG DE DK EE FI FR IT LT LU LV MT NL PT RO SE SI Effective date: 20250513 |
|
| PG25 | Lapsed in a contracting state [announced via postgrant information from national office to epo] |
Ref country code: ES Free format text: LAPSE BECAUSE OF FAILURE TO SUBMIT A TRANSLATION OF THE DESCRIPTION OR TO PAY THE FEE WITHIN THE PRESCRIBED TIME-LIMIT Effective date: 20250507 |
|
| PG25 | Lapsed in a contracting state [announced via postgrant information from national office to epo] |
Ref country code: NO Free format text: LAPSE BECAUSE OF FAILURE TO SUBMIT A TRANSLATION OF THE DESCRIPTION OR TO PAY THE FEE WITHIN THE PRESCRIBED TIME-LIMIT Effective date: 20250807 Ref country code: GR Free format text: LAPSE BECAUSE OF FAILURE TO SUBMIT A TRANSLATION OF THE DESCRIPTION OR TO PAY THE FEE WITHIN THE PRESCRIBED TIME-LIMIT Effective date: 20250808 |
|
| PG25 | Lapsed in a contracting state [announced via postgrant information from national office to epo] |
Ref country code: PL Free format text: LAPSE BECAUSE OF FAILURE TO SUBMIT A TRANSLATION OF THE DESCRIPTION OR TO PAY THE FEE WITHIN THE PRESCRIBED TIME-LIMIT Effective date: 20250507 |
|
| PG25 | Lapsed in a contracting state [announced via postgrant information from national office to epo] |
Ref country code: HR Free format text: LAPSE BECAUSE OF FAILURE TO SUBMIT A TRANSLATION OF THE DESCRIPTION OR TO PAY THE FEE WITHIN THE PRESCRIBED TIME-LIMIT Effective date: 20250507 |
|
| PG25 | Lapsed in a contracting state [announced via postgrant information from national office to epo] |
Ref country code: RS Free format text: LAPSE BECAUSE OF FAILURE TO SUBMIT A TRANSLATION OF THE DESCRIPTION OR TO PAY THE FEE WITHIN THE PRESCRIBED TIME-LIMIT Effective date: 20250807 |
|
| PG25 | Lapsed in a contracting state [announced via postgrant information from national office to epo] |
Ref country code: IS Free format text: LAPSE BECAUSE OF FAILURE TO SUBMIT A TRANSLATION OF THE DESCRIPTION OR TO PAY THE FEE WITHIN THE PRESCRIBED TIME-LIMIT Effective date: 20250907 |
|
| PG25 | Lapsed in a contracting state [announced via postgrant information from national office to epo] |
Ref country code: SM Free format text: LAPSE BECAUSE OF FAILURE TO SUBMIT A TRANSLATION OF THE DESCRIPTION OR TO PAY THE FEE WITHIN THE PRESCRIBED TIME-LIMIT Effective date: 20250507 |
|
| PG25 | Lapsed in a contracting state [announced via postgrant information from national office to epo] |
Ref country code: CZ Free format text: LAPSE BECAUSE OF FAILURE TO SUBMIT A TRANSLATION OF THE DESCRIPTION OR TO PAY THE FEE WITHIN THE PRESCRIBED TIME-LIMIT Effective date: 20250507 |
|
| PG25 | Lapsed in a contracting state [announced via postgrant information from national office to epo] |
Ref country code: SK Free format text: LAPSE BECAUSE OF FAILURE TO SUBMIT A TRANSLATION OF THE DESCRIPTION OR TO PAY THE FEE WITHIN THE PRESCRIBED TIME-LIMIT Effective date: 20250507 |
|
| PLBE | No opposition filed within time limit |
Free format text: ORIGINAL CODE: 0009261 |
|
| STAA | Information on the status of an ep patent application or granted ep patent |
Free format text: STATUS: NO OPPOSITION FILED WITHIN TIME LIMIT |
|
| REG | Reference to a national code |
Ref country code: CH Ref legal event code: L10 Free format text: ST27 STATUS EVENT CODE: U-0-0-L10-L00 (AS PROVIDED BY THE NATIONAL OFFICE) Effective date: 20260318 |
|
| 26N | No opposition filed |
Effective date: 20260210 |