EP4279647B1 - Apparatus for treating yarns comprising a threading device - Google Patents

Apparatus for treating yarns comprising a threading device Download PDF

Info

Publication number
EP4279647B1
EP4279647B1 EP23169754.1A EP23169754A EP4279647B1 EP 4279647 B1 EP4279647 B1 EP 4279647B1 EP 23169754 A EP23169754 A EP 23169754A EP 4279647 B1 EP4279647 B1 EP 4279647B1
Authority
EP
European Patent Office
Prior art keywords
yarn
yarns
holding unit
guide
placing
Prior art date
Legal status (The legal status is an assumption and is not a legal conclusion. Google has not performed a legal analysis and makes no representation as to the accuracy of the status listed.)
Active
Application number
EP23169754.1A
Other languages
German (de)
English (en)
French (fr)
Other versions
EP4279647A1 (en
Inventor
Shuhei Kobayashi
Tosei Yonekura
Current Assignee (The listed assignees may be inaccurate. Google has not performed a legal analysis and makes no representation or warranty as to the accuracy of the list.)
TMT Machinery Inc
Original Assignee
TMT Machinery Inc
Priority date (The priority date is an assumption and is not a legal conclusion. Google has not performed a legal analysis and makes no representation as to the accuracy of the date listed.)
Filing date
Publication date
Application filed by TMT Machinery Inc filed Critical TMT Machinery Inc
Publication of EP4279647A1 publication Critical patent/EP4279647A1/en
Application granted granted Critical
Publication of EP4279647B1 publication Critical patent/EP4279647B1/en
Active legal-status Critical Current
Anticipated expiration legal-status Critical

Links

Images

Classifications

    • DTEXTILES; PAPER
    • D01NATURAL OR MAN-MADE THREADS OR FIBRES; SPINNING
    • D01DMECHANICAL METHODS OR APPARATUS IN THE MANUFACTURE OF ARTIFICIAL FILAMENTS, THREADS, FIBRES, BRISTLES OR RIBBONS
    • D01D7/00Collecting the newly-spun products
    • DTEXTILES; PAPER
    • D02YARNS; MECHANICAL FINISHING OF YARNS OR ROPES; WARPING OR BEAMING
    • D02JFINISHING OR DRESSING OF FILAMENTS, YARNS, THREADS, CORDS, ROPES OR THE LIKE
    • D02J1/00Modifying the structure or properties resulting from a particular structure; Modifying, retaining, or restoring the physical form or cross-sectional shape, e.g. by use of dies or squeeze rollers
    • D02J1/08Interlacing constituent filaments without breakage thereof, e.g. by use of turbulent air streams
    • BPERFORMING OPERATIONS; TRANSPORTING
    • B65CONVEYING; PACKING; STORING; HANDLING THIN OR FILAMENTARY MATERIAL
    • B65HHANDLING THIN OR FILAMENTARY MATERIAL, e.g. SHEETS, WEBS, CABLES
    • B65H57/00Guides for filamentary materials; Supports therefor
    • B65H57/04Guiding surfaces within slots or grooves
    • BPERFORMING OPERATIONS; TRANSPORTING
    • B65CONVEYING; PACKING; STORING; HANDLING THIN OR FILAMENTARY MATERIAL
    • B65HHANDLING THIN OR FILAMENTARY MATERIAL, e.g. SHEETS, WEBS, CABLES
    • B65H57/00Guides for filamentary materials; Supports therefor
    • B65H57/16Guides for filamentary materials; Supports therefor formed to maintain a plurality of filaments in spaced relation
    • DTEXTILES; PAPER
    • D01NATURAL OR MAN-MADE THREADS OR FIBRES; SPINNING
    • D01DMECHANICAL METHODS OR APPARATUS IN THE MANUFACTURE OF ARTIFICIAL FILAMENTS, THREADS, FIBRES, BRISTLES OR RIBBONS
    • D01D11/00Other features of manufacture
    • D01D11/04Fixed guides
    • BPERFORMING OPERATIONS; TRANSPORTING
    • B65CONVEYING; PACKING; STORING; HANDLING THIN OR FILAMENTARY MATERIAL
    • B65HHANDLING THIN OR FILAMENTARY MATERIAL, e.g. SHEETS, WEBS, CABLES
    • B65H2701/00Handled material; Storage means
    • B65H2701/30Handled filamentary material
    • B65H2701/31Textiles threads or artificial strands of filaments
    • B65H2701/313Synthetic polymer threads
    • B65H2701/3132Synthetic polymer threads extruded from spinnerets

Definitions

  • the present invention relates to a yarn processing apparatus configured to perform a predetermined process for yarns.
  • Patent Literature 1 Japanese Laid-Open Patent Publication No. 2013-057148 discloses a yarn production system (spun yarn take-up winding apparatus in Reference cited 1) including a spinning apparatus configured to spin out yarns downward and a yarn feed roller which is provided below the spinning apparatus and which is configured to send the yarns.
  • a yarn processing apparatus including a yarn processing unit such as a migration nozzle may be provided on yarn paths between the spinning apparatus and the yarn feed roller.
  • the migration nozzle is configured to bundle the yarns by means of the injection of compressed air.
  • the migration nozzle is structured in the same manner as an interlacing portion of an interlacing device of, e.g., Patent Literature 2 ( Japanese Laid-Open Patent Publication No. 2019-105007 ).
  • the migration nozzle yarn running spaces extending along a yarn running direction are provided. The yarn running spaces are aligned at predetermined intervals in an arrangement direction of the yarns.
  • the migration nozzle is configured to bundle the yarns placed in the respective yarn running spaces.
  • Document EP3967794 A1 discloses a yarn processing apparatus from which the present apparatus differs in the pair of movable positioning members threading the yarns, movable between two extreme positions.
  • the yarns spun out from the spinning apparatus are placed in the yarn running spaces while being converged by a convergence unit such as a suction gun configured to converge the yarns.
  • a convergence unit such as a suction gun configured to converge the yarns.
  • intervals of the yarns in the arrangement direction are narrowed toward the convergence unit.
  • the yarns are placed in the yarn running spaces while the intervals of the yarns in the arrangement direction vary between the upstream and downstream sides in a yarn running direction. Because of this, the following problem occurs.
  • the intervals of the yarns are narrowed toward the convergence unit.
  • the intervals of the yarns in the arrangement direction vary between the upstream and downstream sides in the yarn running direction.
  • the yarn running spaces extending along the yarn running direction are aligned at predetermined intervals in the arrangement direction.
  • these intervals of the yarns are different from intervals of downstream ends of the yarn running spaces in the yarn running direction. In this case where the intervals of the yarns in the arrangement direction vary between the upstream and downstream sides in the yarn running direction, these yarns are not properly placed in the respective yarn running spaces.
  • This problem may occur not only in the yarn processing apparatus including the migration nozzle as the yarn processing unit, but also in a yarn processing apparatus described below. That is, the above-described problem may occur in a yarn processing apparatus (such as an oil nozzle configured to apply oil to yarns and a tension sensor configured to detect the tension of yarns) configured to perform a predetermined process for yarns which run in yarn running spaces aligned at predetermined intervals in an arrangement direction.
  • a yarn processing apparatus such as an oil nozzle configured to apply oil to yarns and a tension sensor configured to detect the tension of yarns
  • An object of the present invention is to easily place yarns the intervals of which vary between the upstream and downstream sides in a yarn running direction, in yarn running spaces provided in a yarn processing unit.
  • a yarn processing apparatus of the present invention includes: a yarn processing unit in which yarn running spaces are formed and which is configured to perform a predetermined process for yarns running in the yarn running spaces, the yarn running spaces extending along a yarn running direction and being aligned at predetermined intervals in an arrangement direction intersecting with the yarn running direction; and a yarn placing unit configured to place the yarns in the yarn running spaces.
  • the yarn placing unit includes: a first holding unit including first retaining grooves aligned in the arrangement direction; and a second holding unit which is provided downstream of the first holding unit in the yarn running direction and which is configured to hold the yarns while intervals of the yarns held by the first retaining grooves are maintained.
  • the first holding unit is able to take a first yarn threading position where the yarns are threaded to the first holding unit and a first placing completion position which is positioned upstream of the yarn running spaces in the yarn running direction and where placing of the yarns in the yarn running spaces is completed
  • the second holding unit is able to take a second yarn threading position where the yarns are threaded to the second holding unit and a second placing completion position which is positioned downstream of the yarn running spaces in the yarn running direction and where the placing of the yarns in the yarn running spaces is completed.
  • the first holding unit at the first yarn threading position is adjacent to the second holding unit at the second yarn threading position in the yarn running direction.
  • the first holding unit at the first yarn threading position is adjacent to the second holding unit at the second yarn threading position in the yarn running direction.
  • the yarns are placed in the yarn running spaces while the intervals of the yarns are adjusted to those of the yarn running spaces in the arrangement direction. Because of this, the yarns the intervals of which vary between the upstream and downstream sides in the yarn running direction are easily placed in the yarn running spaces aligned at the predetermined intervals in the arrangement direction.
  • the yarn processing apparatus of the present invention further includes: a first regulatory guide which includes first groove portions and which is provided at a position which is positioned upstream of the yarn running spaces in the yarn running direction and where the yarns threaded to the first groove portions are able to be placed in the yarn running spaces, intervals of the first groove portions in the arrangement direction being identical with intervals of the first retaining grooves; and a second regulatory guide which includes second groove portions and which is provided at a position which is positioned downstream of the yarn running spaces in the yarn running direction and where the yarns threaded to the second groove portions are able to be placed the yarn running spaces, intervals of the second groove portions in the arrangement direction being identical with intervals of the first groove portions.
  • a first regulatory guide which includes first groove portions and which is provided at a position which is positioned upstream of the yarn running spaces in the yarn running direction and where the yarns threaded to the first groove portions are able to be placed in the yarn running spaces, intervals of the first groove portions in the arrangement direction being identical with intervals of the first
  • the first placing completion position is a position where the first holding unit is deviated from yarn paths of the yarns threaded to the first regulatory guide and the second regulatory guide
  • the second placing completion position is a position where the second holding unit is deviated from yarn paths of the yarns threaded to the first regulatory guide and the second regulatory guide
  • the first holding unit is configured to hand over the yarns to the first regulatory guide when the first holding unit is moving from the first yarn threading position to the first placing completion position
  • the second holding unit is configured to hand over the yarns to the second regulatory guide when the second holding unit is moving from the second yarn threading position to the second placing completion position.
  • the present invention is arranged so that the yarns are placed in the yarn running spaces by being threaded to (i) the first regulatory guide provided upstream of the yarn running spaces in the yarn running direction and (ii) the second regulatory guide provided downstream of the yarn running spaces in the yarn running direction.
  • the yarns are easily and simultaneously threaded to the first regulatory guide and the second regulatory guide by simultaneously threading the yarns to the first holding unit at the first yarn threading position and the second holding unit at the second yarn threading position, moving the first holding unit to the first placing completion position, and moving the second holding unit to the second placing completion position.
  • the yarns the intervals of which vary between the upstream and downstream sides in the yarn running direction are easily placed in the yarn running spaces aligned at the predetermined intervals in the arrangement direction.
  • the second holding unit includes second retaining grooves, and intervals of the second retaining grooves in the arrangement direction are identical with intervals of the second groove portions.
  • intervals of the yarns threaded to the second retaining grooves of the second holding unit are identical with those of the second groove portions in the arrangement direction. It is therefore possible to reliably hand over the yarns to the respective second groove portions. Because of this, the yarns can be accurately threaded to the second regulatory guide and placed in the yarn running spaces aligned in the arrangement direction.
  • the second holding unit is a rotatable roller which is rotatable about a rotation shaft extending along the arrangement direction.
  • the yarns when the yarns are threaded to the second holding unit which is the rotatable roller, the yarns make contact with a circumferential surface of the rotatable roller at first in a direction orthogonal to the circumferential surface of the rotatable roller by means of the friction force between the circumferential surface of the rotatable roller and the yarns.
  • the intervals of the yarns threaded to the second holding unit are adjusted to those of the yarns threaded to the first groove portions of the first holding unit provided upstream of the second holding unit in the yarn running direction.
  • the intervals of the yarns threaded to the second holding unit are maintained as those are by the friction force between the circumferential surface of the rotatable roller and the yarns. Because of this, the intervals of the yarns threaded to the second holding unit are adjusted to those of the first retaining grooves in the arrangement direction, i.e., to those of the first groove portions and those of the second groove portions in the arrangement direction. It is therefore possible to further reliably hand over the yarns to the respective second groove portions. Because of this, the yarns can be accurately threaded to the second regulatory guide and placed in the yarn running spaces aligned in the arrangement direction.
  • the yarn placing unit includes a synchronizing mechanism configured to synchronize movement of the first holding unit between the first yarn threading position and the first placing completion position with movement of the second holding unit between the second yarn threading position and the second placing completion position.
  • the yarns may be lifted up and detached from one regulatory guide, in which the handover of the yarns has been completed, in accordance with the handover of the yarns from the other holding unit to the other regulatory guide.
  • the handover of the yarns from the first holding unit to the first regulatory guide is performable at the same time as the handover of the yarns from the second holding unit to the second regulatory guide. It is therefore possible to further reliably perform yarn threading to two regulatory guides.
  • the synchronizing mechanism includes: a first swing arm which is rotatable about a first swing shaft extending along the arrangement direction and which swingably supports the first holding unit; and a second swing arm which is rotatable about a second swing shaft extending along the arrangement direction and which swingably supports the second holding unit.
  • the first swing arm includes a first gear
  • the second swing arm includes a second gear
  • the synchronizing mechanism is configured to synchronize movement of the first holding unit and movement of the second holding unit by rotating the first swing arm and the second swing arm in a synchronous manner by means of the first gear and the second gear which mesh with each other.
  • the first holding unit and the second holding unit are swung in a synchronous manner such that the first swing arm and the second swing arm are rotated in a synchronous manner by the first gear and the second gear which mesh with each other.
  • a complicated structure and complicated control are not required for the synchronized movement of the first holding unit and the second holding unit.
  • the first yarn threading position is a position where the first holding unit viewed in the arrangement direction is deviated from yarn paths of the yarns, which are threaded to the first regulatory guide and the second regulatory guide, in an opening direction in which the first groove portions are open and the second yarn threading position is a position where the second holding unit viewed in the arrangement direction is deviated from yarn paths of the yarns, which are threaded to the first regulatory guide and the second regulatory guide, in an opening direction in which the second groove portions are open.
  • the yarns when the yarns are threaded to the first holding unit at the first yarn threading position and the second holding unit at the second yarn threading position, the yarns are suppressed from being unintentionally threaded to some first groove portions and some second groove portions to which the yarns are not supposed to be threaded. It is therefore possible to further reliably thread the yarns to some first groove portions to which the yarns are supposed to be threaded, by moving the first holding unit to the first placing completion position while the yarns are held by the first holding unit and not threaded to the first regulatory guide.
  • the first regulatory guide viewed in the arrangement direction is provided not to overlap yarn paths of the yarns threaded to the first holding unit at the first yarn threading position.
  • the yarns when the yarns are threaded to the first holding unit at the first yarn threading position, the yarns are further suppressed from being unintentionally threaded to some first groove portions to which the yarns are not supposed to be threaded. It is therefore possible to further reliably thread the yarns to some first groove portions to which the yarns are supposed to be threaded, by moving the first holding unit to the first placing completion position while the yarns are held by the first holding unit and not threaded to the first regulatory guide.
  • the first holding unit at the first placing completion position is at a position which is provided upstream of the yarn running spaces in the yarn running direction and where the yarns held by the first retaining grooves can be placed in the yarn running spaces
  • the second holding unit at the second placing completion position is at a position which is provided downstream of the yarn running spaces in the yarn running direction and where the yarns held by the second holding unit can be placed in the yarn running spaces.
  • the first holding unit is moved to the first placing completion position and the second holding unit is moved to the second placing completion position. Because of this, without the first regulatory guide and the second regulatory guide which are described above, the yarns the intervals of which vary between the upstream and downstream sides in the yarn running direction are placed in the yarn running spaces aligned at the predetermined intervals in the arrangement direction. It is therefore possible to reduce the number of members used for placing the yarns in the yarn running spaces.
  • the yarn placing unit further includes a regulator which is switchable between a regulatory state in which the yarns threaded to the first holding unit and the second holding unit are prevented from being placed in the yarn running spaces and a release state in which the placing of the yarns is allowed.
  • the regulator is in the regulatory state when the first holding unit is moving from the first yarn threading position to the first placing completion position and the second holding unit is moving from the second yarn threading position to the second placing completion position, and is in the release state when the first holding unit reaches the first placing completion position and the second holding unit reaches the second placing completion position.
  • the yarns threaded to the first holding unit and the second holding unit may be placed in the yarn running spaces before these holding units respectively reach the first placing completion position and the second placing completion position. In this case, because these holding units do not reach the placing completion positions, the yarns may not be properly placed in the respective yarn running spaces.
  • the yarns are prevented from being placed in the yarn running spaces before the first holding unit and the second holding unit respectively reach the first placing completion position and the second placing completion position. It is therefore possible to properly place the yarns in the respective yarn running spaces.
  • the second holding unit includes the second retaining grooves, and intervals of the second retaining grooves in the arrangement direction are identical with intervals of the first retaining grooves.
  • the first holding unit is moved to the first placing completion position and the second holding unit is moved to the second placing completion position. Because of this, the yarns the intervals of which vary between the upstream and downstream sides in the yarn running direction are further reliably placed in the yarn running spaces aligned at the predetermined intervals in the arrangement direction.
  • the second holding unit is a rotatable roller which is rotatable about a rotation shaft extending along the arrangement direction.
  • the yarns when the yarns are threaded to the second holding unit which is the rotatable roller, the yarns make contact with a circumferential surface of the rotatable roller at first in a direction orthogonal to the circumferential surface of the rotatable roller by means of the friction force between the circumferential surface of the rotatable roller and the yarns.
  • the intervals of the yarns threaded to the second holding unit are adjusted to those of the yarns threaded to the first groove portions of the first holding unit provided upstream of the second holding unit in the yarn running direction.
  • FIG. 1 schematically shows a yarn production system 1.
  • the up-down direction on the sheet of FIG. 1 will be referred to as an up-down direction
  • the left-right direction on the sheet will be referred to as a left-right direction
  • a direction perpendicular to the sheet of FIG. 1 will be referred to as a front-rear direction
  • a direction toward the viewer of FIG. 1 will be referred to as a forward direction.
  • the yarn production system 1 is configured to wind yarns Y spun out from a spinning apparatus 2 by means of a winding device 4.
  • the spinning apparatus 2 is configured to spin out molten polymer downward as the yarns Y.
  • the yarn production system 1 includes: oil guides 5 which respectively have oil nozzles; guides 6; a yarn processing apparatus 7; two godet rollers 11 and 12; a spun yarn drawing apparatus 3; and the winding device 4.
  • the spinning apparatus 2, the oil guides 5, and the guides 6 are provided on an upper floor (on the second floor), and the oil guides 5 and the guides 6 are provided below the spinning apparatus 2.
  • the yarn processing apparatus 7, two godet rollers 11 and 12, the spun yarn drawing apparatus 3, and the winding device 4 are provided on a lower floor (on the first floor).
  • the oil guides 5 are provided below the spinning apparatus 2, and configured to apply oil to the respective yarns Y spun out downward from the spinning apparatus 2.
  • the guides 6 are provided below the respective oil guides 5 at regular intervals in the left-right direction, and configured to individually guide the oiled yarns Y.
  • the yarn processing apparatus 7 is provided below the guides 6 and configured to bundle the yarns Y, which are individually guided by the guides 6, by means of the injection of compressed air.
  • the yarn processing apparatus 7 includes a first regulatory guide 22 and a second regulatory guide 23 (see FIG. 2 ).
  • the yarns Y threaded to the first regulatory guide 22 and the second regulatory guide 23 run at substantially equal intervals in the left-right direction while being substantially parallel to one another.
  • the yarn processing apparatus 7 will be detailed later.
  • the godet rollers 11 and 12 are provided downstream of the yarn processing apparatus 7 in a yarn running direction as shown in FIG. 1 , and rotationally driven by unillustrated motors.
  • the yarns Y spun out from the spinning apparatus 2 are wound onto the godet roller 11 via the oil guides 5, the guides 6, and the yarn processing apparatus 7. Subsequently, the yarns Y are sent to the spun yarn drawing apparatus 3 by the godet roller 11.
  • the yarns Y heated and drawn by the spun yarn drawing apparatus 3 are wound onto the godet roller 12, and then sent to the winding device 4 by the godet roller 12.
  • an interlacing device and other godet rollers are actually provided downstream of the godet roller 12 and upstream of the winding device 4 in the yarn running direction.
  • FIG. 1 does not illustrate these members.
  • the spun yarn drawing device 3 is configured to heat and draw the yarns Y, and provided below the spinning apparatus 2.
  • the spun yarn drawing apparatus 3 includes a thermal insulation box 60 and five godet rollers 91 to 95 housed in the thermal insulation box 60.
  • a yarn inlet 60a is formed to introduce the yarns Y into the thermal insulation box 60.
  • a yarn outlet 60b is formed to take the yarns Y out from the thermal insulation box 60.
  • the lower three godet rollers 91 to 93 are preheating rollers for preliminarily heating the yarns Y which are to be drawn.
  • the upper two godet rollers 94 and 95 are conditioning rollers for thermally setting the drawn yarns Y.
  • the roller surface temperatures of the upper two godet rollers 94 and 95 are arranged to be higher than those of the lower three godet rollers 91 to 93.
  • the yarn feeding speeds of the upper two godet rollers 94 and 95 are higher than those of the lower three godet rollers 91 to 93.
  • the yarns Y introduced into the thermal insulation box 60 through the yarn inlet 60a are preliminarily heated to a drawable temperature while being transferred by the godet rollers 91 to 93.
  • the preliminarily-heated yarns Y are drawn on account of a difference between the yarn feeding speed of the godet roller 93 and that of the godet roller 94.
  • the yarns Y are further heated while being transferred by the godet rollers 94 and 95.
  • the drawn state is thermally set.
  • the yarns Y having been drawn in this way go out from the thermal insulation box 60 through the yarn outlet 60b.
  • the winding device 4 is configured to wind the yarns Y, and provided below the spun yarn drawing apparatus 3.
  • the winding device 4 includes members such as a bobbin holder 13 and a contact roller 14.
  • the bobbin holder 13 is cylindrical in shape, and extends in the front-rear direction.
  • the bobbin holder 13 is rotationally driven by an unillustrated motor.
  • To the bobbin holder 13, bobbins B are attached to be side by side along an axial direction of the bobbin holder 13.
  • the winding device 4 is configured to simultaneously wind the yarns Y onto the bobbins B by rotating the bobbin holder 13, so as to produce packages P.
  • the contact roller 14 is configured to apply a predetermined contact pressure to surfaces of the packages P by making contact with the surfaces of the packages P, so as to adjust the shape of each package P.
  • the yarn processing apparatus 7 includes a base 20, a yarn processing unit 21, the first regulatory guide 22, the second regulatory guide 23, and a yarn placing unit 50.
  • the base 20 is substantially rectangular parallelepiped in shape.
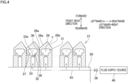
  • the yarn processing unit 21 is configured to bundle the yarns Y by means of the injection of compressed air. As shown in FIG. 3 and FIG. 4 , the yarn processing unit 21 is formed in such a way that interlacing pieces 26 aligned in the left-right direction are provided on a front surface of the base 20 in the front-rear direction. As shown in FIG. 1 , the yarn processing unit 21 is provided below the guides 6 and above the godet roller 11.
  • the yarn processing unit 21 includes yarn running spaces 31, yarn introduction passages 32, and injection passages 33.
  • the yarn running spaces 31 extend along the yarn running direction, and are aligned at substantially equal intervals in an arrangement direction (the left-right direction of FIG. 4 ) intersecting with the yarn running direction.
  • Each of the intervals of the yarn running spaces 31 indicates a distance between the centers of two adjacent yarn running spaces 31 in the left-right direction (see FIG. 4 ).
  • the yarn running spaces 31 are provided in the respective interlacing pieces 26.
  • each yarn running space 31 is substantially elliptical in shape and is long in the left-right direction.
  • each yarn running space 31 extends over the entire length of a corresponding interlacing piece 26 and is open at the both ends.
  • the yarn introduction passages 32 are provided for the respective yarn running spaces 31 to introduce the yarns Y to the yarn running spaces 31.
  • each yarn introduction passage 32 extends over the entire length of an interlacing piece 26 and is open at the both ends.
  • Each yarn introduction passage 32 includes a first yarn passage 36, a second yarn passage 37, and a third yarn passage 38.
  • Each first yarn passage 36 is a gap formed between two adjacent interlacing pieces 26, and extends in the front-rear direction at a substantially front half of an interlacing piece 26.
  • a front end of each first yarn passage 36 in the front-rear direction is an insertion slot 36a from which a yarn Y is inserted.
  • Each second yarn passage 37 is connected to a rear end of the first yarn passage 36 in the front-rear direction, and extends rightward from the junction with the first yarn passage 36.
  • Each third yarn passage 38 is connected to a right end of the second yarn passage 37, and extends forward from the junction with the second yarn passage 37 in the front-rear direction.
  • a front end of each third yarn passage 38 in the front-rear direction is connected to a yarn running space 31.
  • approximately a left half of a front surface of the interlacing piece 26 is provided on the left side of a substantial central part of the front surface of the interlacing piece 26 in the left-right direction.
  • This left half of the front surface of the interlacing piece 26 is an inclined surface 26a inclined relative to the left-right direction so that its left end is provided behind its right end, i.e., behind the substantial central part of the front surface of the interlacing piece 26.
  • the substantial central part of the front surface of the interlacing piece 26 is provided on the right side of an actual central part of the front surface of the interlacing piece 26 in the left-right direction.
  • approximately a right half of the front surface of the interlacing piece 26 is provided on the right side of the substantial central part of the front surface of the interlacing piece 26 in the left-right direction.
  • This right half of the front surface of the interlacing piece 26 is an inclined surface 26b inclined relative to the left-right direction so that its right end is provided behind its left end, i.e., behind the substantial central part of the front surface of the interlacing piece 26.
  • the inclined surfaces 26a and 26b are provided on both sides of each first yarn passage 36 in the left-right direction.
  • each of the yarns Y threaded to the later-described first regulatory guide 22 and the later-described second regulatory guide 23 so as to run substantially in parallel to one another is guided by the inclined surfaces 26a and 26b and threaded to the first yarn passage 36.
  • the injection passages 33 are provided for the respective yarn running spaces 31.
  • One injection passage 33 is formed for each interlacing piece 26, and extends in the front-rear direction.
  • a leading end (front end) of the injection passage 33 is an injection port 33a which is open to a rear wall surface of the junction between the second yarn passage 37 and the third yarn passage 38 in the front-rear direction. With this arrangement, the injection port 33a opposes a yarn running space 31 across the third yarn passage 38 in the front-rear direction.
  • a rear end portion of the injection passage 33 is connected to a fluid supply source 40 via a fluid supply path 43.
  • a valve 39 is provided on the fluid supply path 43.
  • fluid such as air supplied from the fluid supply source 40 is supplied to the injection passage 33 via the fluid supply path 43, and is injected into the yarn running space 31 through the injection port 33a of the injection passage 33.
  • a swirling flow is generated in the yarn running space 31, and filaments forming a yarn Y running in the yarn running space 31 are bundled.
  • the first regulatory guide 22 is provided upstream of the yarn processing unit 21 in the yarn running direction and on the front surface of the base 20 in the front-rear direction.
  • the first regulatory guide 22 has first groove portions 22a aligned at regular intervals in the left-right direction which is the arrangement direction of the yarns Y.
  • Each of the intervals of the first groove portions 22a indicates a distance between the centers of two adjacent first groove portions 22a in the left-right direction.
  • the intervals of the first groove portions 22a are identical with those of the yarn running spaces 31.
  • Each first groove portion 22a is open to the front side in the front-rear direction.
  • a forward direction in the front-rear direction is equivalent to an opening direction of the present invention, in which each first groove portion 22a is open.
  • the first regulatory guide 22 is provided not to overlap yarn paths of the yarns Y threaded to a first holding guide 24 (described later) at a first yarn threading position.
  • the first regulatory guide 22 is provided behind the yarn paths of the yarns Y threaded to the first holding guide 24 at the first yarn threading position in the front-rear direction.
  • the second regulatory guide 23 is provided downstream of the yarn processing unit 21 in the yarn running direction and on the front surface of the base 20 in the front-rear direction.
  • the second regulatory guide 23 has second groove portions 23a aligned at regular intervals in the left-right direction in the same manner as the first groove portions 22a.
  • Each of the intervals of the second groove portions 23a indicates a distance between the centers of two adjacent second groove portions 23a in the left-right direction.
  • Each second groove portion 23a is open to the front side in the front-rear direction.
  • a direction toward the front side in the front-rear direction is equivalent to an opening direction of the present invention, in which each second groove portion 23a is open.
  • the positions of the first groove portions 22a are substantially identical with those of the second groove portions 23a in the left-right direction.
  • the movement of the yarns Y in the left-right direction is regulated and yarn paths are defined. While the yarns Y are bundled by the yarn processing unit 21, the first regulatory guide 22 and the second regulatory guide 23 support the yarns Y.
  • the yarn placing unit 50 is configured to place the yarns Y in the yarn running spaces 31.
  • the yarn placing unit 50 includes the first holding guide 24 (first holding unit of the present invention), a second holding guide 25 (second holding unit of the present invention), and a synchronizing mechanism 30.
  • the first holding guide 24 is able to hold the yarns Y threaded to the first regulatory guide 22.
  • the first holding guide 24 which is cylindrical in shape and which extends in the left-right direction has first retaining grooves 24a.
  • the intervals of the first retaining grooves 24a in the left-right direction are identical with those of the first groove portions 22a in the left-right direction.
  • Each of the intervals of the first retaining grooves 24a indicates a distance between the centers of two adjacent first retaining grooves 24a in the left-right direction.
  • the movement of the yarns Y threaded to the first retaining grooves 24a is regulated in the left-right direction.
  • the positions of the first groove portions 22a are substantially identical with those of the first retaining grooves 24a in the left-right direction.
  • the first holding guide 24 is movable between a first yarn threading position (see FIG. 2 and FIG. 5 ) at which the yarns Y are threaded to the first holding guide 24 and a first placing completion position (see FIG. 3 and FIG. 6 ) at which the first holding guide 24 is deviated from yarn paths of the yarns Y threaded to the first regulatory guide 22 and the second regulatory guide 23.
  • the yarn paths of the yarns Y threaded to the first regulatory guide 22 and the second regulatory guide 23 are yarn paths shown in FIG. 6 .
  • the first holding guide 24 at the first yarn threading position is provided downstream of the first regulatory guide 22 in the yarn running direction and in front of the yarn processing unit 21 in the front-rear direction.
  • the first holding guide 24 at the first yarn threading position is deviated in the forward direction from the above-described yarn paths of the yarns Y threaded to the first regulatory guide 22 and the second regulatory guide 23.
  • the first holding guide 24 at the first placing completion position is provided upstream of the first regulatory guide 22 in the yarn running direction and behind the first regulatory guide 22 in the front-rear direction.
  • the second holding guide 25 is able to hold the yarns Y threaded to the first regulatory guide 22.
  • the second holding guide 25 is provided downstream of the first holding guide 24 in the yarn running direction.
  • the second holding guide 25 which is cylindrical in shape and which extends in the left-right direction has second retaining grooves 25a.
  • the intervals of the second retaining grooves 25a in the left-right direction are identical with those of the second groove portions 23a in the left-right direction.
  • Each of the intervals of the second groove portions 25a indicates a distance between the centers of two adjacent second groove portions 25a in the left-right direction.
  • the movement of the yarns Y threaded to the second retaining grooves 25a is regulated in the left-right direction.
  • the positions of the second groove portions 23a are substantially identical with those of the second retaining grooves 25a in the left-right direction.
  • the second holding guide 25 is movable between a second yarn threading position (see FIG. 2 and FIG. 5 ) at which the yarns Y are threaded to the second holding guide 25 and a second placing completion position (see FIG. 3 and FIG. 6 ) at which the second holding guide 25 is deviated from the above-described yarn paths of the yarns Y threaded to the first regulatory guide 22 and the second regulatory guide 23.
  • the second holding guide 25 at the second yarn threading position is provided upstream of the second regulatory guide 23 in the yarn running direction, downstream of the first holding guide 24 in the yarn running direction, and in front of the yarn processing unit 21 in the front-rear direction.
  • the second holding guide 25 at the second yarn threading position is deviated in the forward direction from the above-described yarn paths of the yarns Y threaded to the first regulatory guide 22 and the second regulatory guide 23.
  • the second holding guide 25 at the second placing completion position is provided downstream of the second regulatory guide 23 in the yarn running direction and behind the second regulatory guide 23 in the front-rear direction.
  • the first holding guide 24 at the first yarn threading position is adjacent to the second holding guide 25 at the second yarn threading position in the yarn running direction.
  • a distance between the first holding guide 24 and the second holding guide 25 is 0 to 10 mm.
  • the synchronizing mechanism 30 is configured to synchronize the movement of the first holding guide 24 between the first yarn threading position and the first placing completion position with the movement of the second holding guide 25 between the second yarn threading position and the second placing completion position.
  • the synchronizing mechanism 30 includes a first swing arm 41 which is rotatable about a first swing shaft 51 extending along the left-right direction and a second swing arm 42 which is rotatable about a second swing shaft 52 extending along the left-right direction.
  • the first swing arm 41 cantilevers a left end of the first holding guide 24 at its leading end part.
  • the first holding guide 24 is swingable between the first yarn threading position and the first placing completion position in such a way that the first swing arm 41 rotates about the first swing shaft 51.
  • the first swing arm 41 extends in the front-rear direction (see FIG. 7 ).
  • the first swing arm 41 extends upward and forward (see FIG. 8 ).
  • the second swing arm 42 cantilevers a left end of the second holding guide 25 at its leading end part.
  • the second holding guide 25 is swingable between the second yarn threading position and the second placing completion position in such a way that the second swing arm 42 rotates about the second swing shaft 52.
  • the second swing arm 42 extends in the front-rear direction (see FIG. 7 ).
  • the second swing arm 42 extends downward and forward (see FIG. 8 ).
  • the first swing arm 41 has a first gear 53 with four teeth
  • the second swing arm 42 has a second gear 54 with five teeth.
  • the first gear 53 meshes with the second gear 54.
  • the number of teeth forming the first gear 53 may not be four.
  • the number of teeth forming the second gear 54 may not be five.
  • the synchronizing mechanism 30 is configured to rotate the first swing arm 41 and the second swing arm 42 in a synchronous manner by means of the first gear 53 and the second gear 54 which mesh with each other.
  • the synchronizing mechanism 30 includes an unillustrated motor configured to rotationally drive one of the first swing shaft 51 and the second swing shaft 52.
  • the synchronizing mechanism 30 may not include the motor.
  • the synchronizing mechanism 30 may include, e.g., a lever (not illustrated) attached to one of the first swing arm 41 and the second swing arm 42. In this case, as the operator pulls the lever, one of the first swing arm 41 and the second swing arm 42 starts to rotate. Because the first gear 53 meshes with the second gear 54, the other of the first swing arm 41 and the second swing arm 42 also starts to rotate in sync with one of the first swing arm 41 and the second swing arm 42.
  • the following will describe specific processes of threading the yarns Y to the first regulatory guide 22 and second regulatory guide 23 of the yarn processing apparatus 7.
  • yarn threading to the two regulatory guides 22 and 23 of the yarn processing apparatus 7 is performed after yarn threading to the guides 6.
  • the yarn threading to the first regulatory guide 22 and second regulatory guide 23 of the yarn processing apparatus 7 is performed by using, e.g., a suction gun 80 (convergence unit of the present invention).
  • the suction gun 80 is configured to suck and converge the yarns Y.
  • the synchronizing mechanism 30 moves (i) the first holding guide 24 to the first yarn threading position and (ii) the second holding guide 25 to the second yarn threading position in advance (see FIG. 2 ). Subsequently, the operator threads the yarns Y which are sucked and bundled by the suction gun 80 to (i) the respective first retaining grooves 24a of the first holding guide 24 and (ii) the respective second retaining grooves 25a of the second holding guide 25 as shown in FIG. 5 .
  • the operator performs the yarn threading while positioning the suction gun 80 so that the intervals of the yarns Y sucked by a suction port 81 of the suction gun 80 are adjusted to (i) those of the respective first retaining grooves 24a of the first holding guide 24 at the first yarn threading position and (ii) those of the respective second retaining grooves 25a of the second holding guide 25 at the second yarn threading position.
  • the first holding guide 24 at the first yarn threading position and the second holding guide 25 at the second yarn threading position are moved to the first placing completion position and the second placing completion position, respectively, in a synchronous manner by the synchronizing mechanism 30.
  • the first holding guide 24 when viewed from the right side in the left-right direction, the first holding guide 24 is swung from the first yarn threading position to the first placing completion position as the first swing arm 41 rotates counterclockwise (indicated by a solid arrow in FIG. 7 ) about the first swing shaft 51.
  • the second holding guide 25 When viewed from the right side in the left-right direction, the second holding guide 25 is swung from the second yarn threading position to the second placing completion position as the second swing arm 42 rotates clockwise (indicated by a solid arrow in FIG. 7 ) about the second swing shaft 52.
  • the yarns Y held by the first holding guide 24 are handed over to the respective first groove portions 22a of the first regulatory guide 22.
  • the first holding guide 24 is further moved toward the first placing completion position. Because of this, the yarns Y threaded to the first retaining grooves 24a are handed over to the first groove portions 22a. As a result, the yarn threading to the first regulatory guide 22 is completed.
  • the second holding guide 25 When the second holding guide 25 is moving from the second yarn threading position to the second placing completion position, the yarns Y held by the second holding guide 25 are handed over to the respective second groove portions 23a of the second regulatory guide 23.
  • the second holding guide 25 After the yarns Y threaded to the second retaining grooves 25a make contact with bottoms of the second groove portions 23a of the second regulatory guide 23, the second holding guide 25 is further moved toward the second placing completion position. Because of this, the yarns Y threaded to the second retaining grooves 25a are handed over to the second groove portions 23a. As a result, the yarn threading to the second regulatory guide 23 is completed.
  • the yarns Y threaded to the first regulatory guide 22 and the second regulatory guide 23 are guided by the inclined surfaces 26a and 26b of the yarn processing unit 21 and threaded to the first yarn passages 36.
  • the yarn processing apparatus 7 of the present embodiment includes: the first holding guide 24 which is able to take the first yarn threading position and the first placing completion position; and the second holding guide 25 which is able to take the second yarn threading position and the second placing completion position.
  • the first holding guide 24 at the first yarn threading position is adjacent to the second holding guide 25 at the second yarn threading position in the yarn running direction.
  • the first holding guide 24 at the first yarn threading position is adjacent to the second holding guide 25 at the second yarn threading position in the yarn running direction.
  • the yarns Y are simultaneously threaded to the first holding guide 24 and the second holding guide 25 while being threaded to the first holding guide 24 at the same intervals as the second holding guide 25 in the left-right direction.
  • the first holding guide 24 to which the yarns Y are threaded takes the first placing completion position and (ii) the second holding guide 25 to which the yarns Y are threaded takes the second placing completion position
  • the yarns Y are placed in the yarn running spaces 31 while the intervals of the yarns Y are adjusted to those of the yarn running spaces 31 in the left-right direction. Because of this, the yarns Y the intervals of which vary between the upstream and downstream sides in the yarn running direction are easily placed in the yarn running spaces 31 aligned at predetermined intervals in the left-right direction.
  • the yarn processing apparatus 7 of the present embodiment further includes: the first regulatory guide 22 provided upstream of the yarn running spaces 31 in the yarn running direction; and the second regulatory guide 23 provided downstream of the yarn running spaces 31 in the yarn running direction.
  • the first placing completion position is a position at which the first holding guide 24 is deviated from the above-described yarn paths of the yarns Y threaded to the first regulatory guide 22 and the second regulatory guide 23, and the second placing completion position is a position where the second holding guide 25 is deviated from the above-described yarn paths of the yarns Y threaded to the first regulatory guide 22 and the second regulatory guide 23.
  • the second holding guide 25 When the second holding guide 25 is moving from the second yarn threading position to the second placing completion position, the second holding guide 25 hands over the yarns Y to the second regulatory guide 23.
  • the intervals of the yarns Y vary between the upstream and downstream sides in the yarn running direction and (ii) the yarns Y are threaded to the first regulatory guide 22 and the second regulatory guide 23, the following problem occurs. That is, when the intervals of the yarns Y are adjusted to those of one of the first regulatory guide 22 and the second regulatory guide 23, these intervals of the yarns Y are different those of the other of the first regulatory guide 22 and the second regulatory guide 23 because the intervals of the yarns Y vary between the upstream and downstream sides in the yarn running direction.
  • the yarns Y are easily and simultaneously threaded to the first regulatory guide 22 and the second regulatory guide 23 by simultaneously threading the yarns Y to the first holding guide 24 at the first yarn threading position and the second holding guide 25 at the second yarn threading position, moving the first holding guide 24 to the first placing completion position, and moving the second holding guide 25 to the second placing completion position.
  • the yarns Y the intervals of which vary between the upstream and downstream sides in the yarn running direction are easily placed in the yarn running spaces 31 aligned at predetermined intervals in the left-right direction.
  • the second holding guide 25 has the second retaining grooves 25a.
  • the intervals of the second retaining grooves 25a in the left-right direction are identical with those of the second groove portions 23a in the left-right direction.
  • the intervals of the yarns Y threaded to the second retaining grooves 25a of the second holding guide 25 are identical with those of the second groove portions 23a in the left-right direction. It is therefore possible to further reliably hand over the yarns Y to the respective second groove portions 23a. Because of this, the yarns Y can be accurately threaded to the second regulatory guide 23 and placed in the yarn running spaces 31 aligned in the left-right direction.
  • the yarn placing unit 50 includes the synchronizing mechanism 30 configured to synchronize the movement of the first holding guide 24 between the first yarn threading position and the first placing completion position with the movement of the second holding guide 25 between the second yarn threading position and the second placing completion position.
  • the yarns Y may be lifted up and detached from one regulatory guide, in which the handover of the yarns Y has been completed, in accordance with the handover of the yarns Y from the other holding guide to the other regulatory guide.
  • the handover of the yarns Y from the first holding guide 24 to the first regulatory guide 22 is performable at the same time as the handover of the yarns Y from the second holding guide 25 to the second regulatory guide 23. It is therefore possible to further reliably perform the yarn threading to the first regulatory guide 22 and the second regulatory guide 23.
  • the synchronizing mechanism 30 includes: the first swing arm 41 which is rotatable about the first swing shaft 51 extending along the left-right direction and which swingably supports the first holding guide 24; and the second swing arm 42 which is rotatable about the second swing shaft 52 extending along the left-right direction and which swingably supports the second holding guide 25.
  • the first swing arm 41 has the first gear 53
  • the second swing arm 42 has the second gear 54.
  • the synchronizing mechanism 30 is configured to synchronize the movement of the first holding guide 24 and that of the second holding guide 25, by rotating the first swing arm 41 and the second swing arm 42 in a synchronous manner by means of the first gear 53 and the second gear 54 which mesh with each other.
  • the first holding guide 24 and the second holding guide 25 are swung in a synchronous manner such that the first swing arm 41 and the second swing arm 42 are rotated in a synchronous manner by the first gear 53 and the second gear 54 which mesh with each other. Because of this, a complicated structure and complicated control are not required for the synchronized movement of the first holding guide 24 and the second holding guide 25.
  • the first yarn threading position is a position where the first holding guide 24 viewed in the left-right direction is deviated from the above-described yarn paths of the yarns Y, which are threaded to the first regulatory guide 22 and the second regulatory guide 23, in the forward direction, i.e., in the opening direction in which the first groove portions 22a are open.
  • the second yarn threading position is a position where the second holding guide 25 viewed in the left-right direction is deviated from the above-described yarn paths of the yarns Y, which are threaded to the first regulatory guide 22 and the second regulatory guide 23, in the forward direction, i.e., in the opening direction in which the second groove portions 23a are open.
  • the first regulatory guide 22 when viewed in the left-right direction, is provided not to overlap the yarn paths of the yarns Y threaded to the first holding guide 24 at the first yarn threading position.
  • the yarns Y when the yarns Y are threaded to the first holding guide 24 at the first yarn threading position, the yarns Y are further suppressed from being unintentionally threaded to some first groove portions 22a to which the yarns Y are not supposed to be threaded.
  • the second holding guide 25 has the second retaining grooves 25a.
  • the intervals of the second retaining grooves 25a in the left-right direction are identical with those of the second groove portions 23a in the left-right direction.
  • the second holding guide may not have grooves.
  • a second holding guide 125 of a first modification is a rotatable roller which is rotatable about a rotation shaft extending along the left-right direction.
  • the rotatable roller may be a drive roller which is electrically driven (rotated) by an unillustrated motor or a free roller (driven roller) which has no driving force.
  • the first holding guide 24 included in a yarn processing apparatus 107 is structured in the same manner as that in the embodiment above.
  • FIG. 9 shows the first holding guide 24 at the first yarn threading position and the second holding guide 125 at the second yarn threading position.
  • the intervals of the yarns Y threaded to the second holding guide 125 are adjusted to those of the yarns Y threaded to the first retaining grooves 24a of the first holding guide 24 provided upstream of the second holding guide 125 in the yarn running direction. Even when the intervals of the yarns Y running on the downstream side of the second holding guide 125 in the yarn running direction are narrowed by the suction gun 80 which generates the friction force between the circumferential surface of the rotatable roller and the yarns Y, the intervals of the yarns Y threaded to the second holding guide 125 are maintained as those are.
  • the intervals of the yarns Y threaded to the second holding guide 125 are adjusted to those of the first retaining grooves 24a in the left-right direction, i.e., to those of the first groove portions 22a and those of the second groove portions 23a in the left-right direction. It is therefore possible to further reliably hand over the yarns Y to the respective second groove portions 23a. Because of this, the yarns Y can be further accurately threaded to the yarn processing apparatus 107.
  • the posture of the second holding guide 125 functioning as the rotatable roller is suitably arranged in consideration of the friction force between the circumferential surface of the rotatable roller and the yarns Y.
  • the yarns Y may not be threaded to the first holding guide 24 at the first yarn threading position and the second holding guide 125 at the second yarn threading position at the same time.
  • the yarns Y may be threaded to the second holding guide 125 at the second yarn threading position immediately after being threaded to the first holding guide 24 at the first yarn threading position.
  • a yarn processing apparatus 207 includes a yarn placing unit 150 including a first holding guide 224 and a second holding guide 225.
  • the first holding guide 224 has first retaining grooves (not illustrated). The intervals of the first retaining grooves in the left-right direction are identical with those of the yarn running spaces 31 in the left-right direction.
  • the first holding guide 224 is able to take a first yarn threading position (see FIG. 10 ) and a first placing completion position (see FIG. 11 ).
  • the first yarn threading position is a position where the yarns Y are threaded to the first holding guide 224.
  • the first holding guide 224 at the first yarn threading position is at a position positioned upstream of the yarn running spaces 31 in the yarn running direction. As shown in FIG.
  • the first holding guide 224 at the first placing completion position is at a position which is positioned upstream of the yarn running spaces 31 in the yarn running direction and where the yarns Y held by the first retaining grooves can be placed in the yarn running spaces 31.
  • the first yarn threading position and first placing completion position of the first holding guide 224 are the same position.
  • the second holding guide 225 has second retaining grooves (not illustrated). The intervals of the second retaining grooves in the left-right direction are identical with those of the yarn running spaces 31 in the left-right direction.
  • the second holding guide 225 is able to take a second yarn threading position (see FIG. 10 ) and a second placing completion position (see FIG. 11 ).
  • the second yarn threading position is a position where the yarns Y are threaded to the second holding guide 225.
  • the second holding guide 225 at the second yarn threading position is at a position positioned upstream of the yarn running spaces 31 in the yarn running direction. As shown in FIG.
  • the second holding guide 225 at the second placing completion position is at a position which is positioned downstream of the yarn running spaces 31 in the yarn running direction and where the yarns Y held by the second retaining grooves can be placed in the yarn running spaces 31.
  • the first holding guide 224 at the first yarn threading position is adjacent to the second holding guide 225 at the second yarn threading position in the yarn running direction.
  • the movement of the second holding guide 225 between the second yarn threading position and the second placing completion position may be performed by a motor-driven movement mechanism (not illustrated) or may be manually performed by the operator.
  • the yarn placing unit 150 of the second modification further includes a regulator 231, a supporter 232, and a rotation shaft 233.
  • the regulator 231 is switchable between a regulatory state and a release state.
  • the regulator 231 in the regulatory state is configured to prevent the yarns Y threaded to the first holding guide 224 and the second holding guide 225 from being placed in the yarn running spaces 31 (see FIG. 10 ). Such regulation is canceled when the regulating member 231 is in the release state (see FIG. 11 ).
  • the regulator 231 is provided downstream of the yarn running spaces 31 in the yarn running direction.
  • the rotation shaft 233 extends along the left-right direction, and is formed at the base 20.
  • the base end part of the supporter 232 is connected to the rotation shaft 233 while the leading end part of the supporter 232 is connected to the regulator 231.
  • the regulator 231 is connected to the rotation shaft 233 through the supporter 232.
  • the regulator 231 is switchable between the regulatory state and the release state by rotating about the rotation shaft 233.
  • the yarn threading to the first holding guide 224 and the second holding guide 225 is performed by using, e.g., the suction gun 80.
  • the first holding guide 224 is moved to the first yarn threading position
  • the second holding guide 225 is moved to the second yarn threading position.
  • the regulator 231 is in the regulatory state.
  • the operator then threads the yarns Y which are bundled and sucked by the suction gun 80 to (i) the respective first retaining grooves of the first holding guide 224 and (ii) the second retaining grooves of the second holding guide 225.
  • the second holding guide 225 is moved to the second placing completion position. While the second holding guide 225 is moved from the second yarn threading position to the second placing completion position, the regulator 231 is in the regulatory state. When the second holding guide 225 reaches the second placing completion position, the regulator 231 rotates downward about the rotation shaft 233 to be switched to the release state as shown in FIG. 11 . Because of this, the yarns Y threaded to the first holding guide 224 and the second holding guide 225 are placed in the yarn running spaces 31.
  • the first holding guide 224 is moved to the first placing completion position and the second holding guide 225 is moved to the second placing completion position.
  • the yarns Y threaded to the first holding guide 224 and the second holding guide 225 may be placed in the yarn running spaces 31 before these holding guides 224 and 225 respectively reach the first placing completion position and the second placing completion position. In this case, because these holding guides 224 and 225 do not reach the respective placing completion positions, the yarns Y may not be properly placed in the respective yarn running spaces 31. In the second modification, the yarns Y are prevented from being placed in the yarn running spaces 31 before the first holding guide 224 and the second holding guide 225 reach the respective placing completion positions. It is therefore possible to properly place the yarns Y in the respective yarn running spaces 31.
  • the first yarn threading position and first placing completion position of the first holding guide 224 are the same position.
  • the first holding guide 224 may be moveable between the first yarn threading position and the first placing completion position.
  • the first holding guide 224 is moveable between a first yarn threading position positioned downstream of the yarn running spaces 31 in the yarn running direction and a first placing completion position positioned upstream of the yarn running spaces 31 in the yarn running direction.
  • the second yarn threading position and second placing completion position of the second holding guide 225 are the same position positioned downstream of the yarn running spaces 31 in the yarn running direction.
  • both of the first holding guide 224 and the second holding guide 225 may be configured to move.
  • the second holding guide 225 has the second retaining grooves.
  • the second holding guide 225 may not have the second retaining grooves.
  • the second holding guide 225 may be a rotatable roller which is rotatable about a rotation shaft extending along the left-right direction in the same manner as in the above-described first modification.
  • the yarn processing apparatus 7 is configured to bundle the yarns Y by means of the injection of compressed air.
  • the yarn processing apparatus may be another apparatus in which the regulatory guides (the first regulatory guide and the second regulatory guide) are provided upstream and downstream of the yarn processing unit in order to perform a predetermined process for the yarns Y running at substantially equal intervals and in parallel to one another by means of the yarn processing unit.
  • the yarn processing apparatus may be another apparatus which includes a member such as an oil nozzle configured to apply oil to the yarns Y and a tension sensor configured to detect the tension of the yarns Y as the yarn processing unit.
  • the first holding guide 24 is swung by the first swing arm 41
  • the second holding guide 25 is swung by the second swing arm 42.
  • the first holding guide 24 and the second holding guide 25 may not be guides of a swing type.
  • the first holding guide 24 may be movable between the first yarn threading position and the first placing completion position by being moved in the up-down direction and the front-rear direction.
  • the second holding guide 25 may be movable between the second yarn threading position and the second placing completion position by being moved in the up-down direction and the front-rear direction.
  • the first holding guide 24 at the first yarn threading position is moved to the first placing completion position by being moved upward and then rearward.
  • the second holding guide 25 at the second yarn threading position is moved to the second placing completion position by being moved downward and then rearward.
  • the first holding guide 24 may be movable between the first yarn threading position and the first placing completion position in an oblique direction.
  • the second holding guide 25 may be movable between the second yarn threading position and the second placing completion position in an oblique direction.
  • the yarn processing apparatus 7 includes the synchronizing mechanism 30 configured to synchronize the movement of the first holding guide 24 with the movement of the second holding guide 25.
  • the yarn processing apparatus 7 may not include the synchronizing mechanism 30. In this case, the movement of the first holding guide 24 between the first yarn threading position and the first placing completion position is performed independently from the movement of the second holding guide 25 between the second yarn threading position and the second placing completion position.
  • the yarn threading to the yarn processing apparatus 7 is performed by using the suction gun 80.
  • a hook guide configured to converge the yarns Y at one position may be used for performing the yarn threading.
  • first holding guide 24 at the first yarn threading position and the second holding guide 25 at the second yarn threading position are provided downstream of the first regulatory guide 22 and upstream of the second regulatory guide 23 in the yarn running direction.
  • first holding guide 24 at the first yarn threading position and the second holding guide 25 at the second yarn threading position may be provided upstream of the first regulatory guide 22 in the yarn running direction or downstream of the second regulatory guide 23 in the yarn running direction.
  • the first holding guide 24 when the first holding guide 24 reaches the first placing completion position, the movement of the first holding guide 24 from the first yarn threading position to the first placing completion position stops. However, the first holding guide 24 may be moved further across the first placing completion position after reaching the first placing completion position. For example, the first holding guide 24 may be moved across the first placing completion position to a position behind the yarn processing unit 21.
  • the second holding guide 25 when the second holding guide 25 reaches the second placing completion position, the movement of the second holding guide 25 from the second yarn threading position to the second placing completion position stops. However, the second holding guide 25 may be moved further across the second placing completion position after reaching the second placing completion position. For example, the second holding guide 25 may be moved across the second placing completion position to a position behind the yarn processing unit 21.
  • the first retaining grooves 24a may be provided on the entire circumferential surface of the first holding guide 24 or on a part of the circumferential surface of the first holding guide 24. In this regard, the first retaining grooves 24a need to be formed so that the yarns Y are not detached from the first retaining grooves 24a while the first holding guide 24 is moving from the first yarn threading position to the first placing completion position.
  • the second retaining grooves 25a may be provided on the entire circumferential surface of the second holding guide 25 or on a part of the circumferential surface of the second holding guide 25. In this regard, the second retaining grooves 25a need to be formed so that the yarns Y are not detached from the second retaining grooves 25a while the second holding guide 25 is moving from the second yarn threading position to the second placing completion position.
  • the yarn processing apparatus 7 is provided below the guides 6 and above the godet roller 11 in the yarn production system 1.
  • the position of the yarn processing apparatus 7 is not limited to this.
  • the yarns Y which are converged at the suction gun 80 functioning as the convergence unit are placed in the yarn running spaces 31 formed at the yarn processing unit 21.
  • the intervals of upstream parts in the yarn running direction of the yarns Y are larger than those of downstream parts in the yarn running direction of the yarns Y.
  • the intervals of upstream parts in the yarn running direction of the yarns Y may be smaller than those of downstream parts in the yarn running direction of the yarns Y.

Landscapes

  • Engineering & Computer Science (AREA)
  • Textile Engineering (AREA)
  • Mechanical Engineering (AREA)
  • Physics & Mathematics (AREA)
  • Fluid Mechanics (AREA)
  • Yarns And Mechanical Finishing Of Yarns Or Ropes (AREA)
  • Spinning Methods And Devices For Manufacturing Artificial Fibers (AREA)
  • Guides For Winding Or Rewinding, Or Guides For Filamentary Materials (AREA)
EP23169754.1A 2022-05-19 2023-04-25 Apparatus for treating yarns comprising a threading device Active EP4279647B1 (en)

Applications Claiming Priority (1)

Application Number Priority Date Filing Date Title
JP2022082252A JP2023170466A (ja) 2022-05-19 2022-05-19 糸処理装置

Publications (2)

Publication Number Publication Date
EP4279647A1 EP4279647A1 (en) 2023-11-22
EP4279647B1 true EP4279647B1 (en) 2024-10-02

Family

ID=86226752

Family Applications (1)

Application Number Title Priority Date Filing Date
EP23169754.1A Active EP4279647B1 (en) 2022-05-19 2023-04-25 Apparatus for treating yarns comprising a threading device

Country Status (3)

Country Link
EP (1) EP4279647B1 (enExample)
JP (1) JP2023170466A (enExample)
CN (1) CN117089936A (enExample)

Family Cites Families (4)

* Cited by examiner, † Cited by third party
Publication number Priority date Publication date Assignee Title
JP5854720B2 (ja) 2011-09-09 2016-02-09 Tmtマシナリー株式会社 糸切断吸引装置及び紡糸巻取装置
JP6495051B2 (ja) * 2015-03-02 2019-04-03 Tmtマシナリー株式会社 交絡装置
JP7128572B2 (ja) 2017-12-13 2022-08-31 Tmtマシナリー株式会社 交絡装置
JP7549999B2 (ja) * 2020-09-14 2024-09-12 Tmtマシナリー株式会社 油剤回収装置、糸処理機構及び紡糸引取装置

Also Published As

Publication number Publication date
JP2023170466A (ja) 2023-12-01
CN117089936A (zh) 2023-11-21
EP4279647A1 (en) 2023-11-22

Similar Documents

Publication Publication Date Title
JP5837064B2 (ja) 複数のマルチフィラメント糸を溶融紡糸し、延伸しかつ巻き上げる装置
US6209302B1 (en) False twist texturizing machine
EP3842576B1 (en) Combined filament yarn producing device
EP2407407B1 (en) Yarn threading method of take-up winding apparatus and take-up winding apparatus
EP3098336A1 (en) Yarn heater
JP5453004B2 (ja) 仮撚り繊維機械
CN105658854B (zh) 丝束牵伸和卷绕装置
EP2551226B1 (en) Yarn winder
JP7128572B2 (ja) 交絡装置
EP4279647B1 (en) Apparatus for treating yarns comprising a threading device
EP4269305A1 (en) Winding device
EP4345039B1 (en) Yarn processing apparatus
JP6153791B2 (ja) 紡糸引取機、及び、紡糸引取方法
CN100485100C (zh) 气流纺纱机
CN101218386A (zh) 用于假捻变形的设备
EP4242152B1 (en) Yarn threading apparatus, false-twist texturing machine, and yarn threading method
EP4086212B1 (en) Connection member and yarn threading method
JP4155922B2 (ja) 仮よりテクスチャード機械
JP2005505705A (ja) テクスチャード加工機械
JP5431471B2 (ja) テクスチャード加工機
EP4190734A1 (en) Spun yarn take-up apparatus
EP4067277A1 (en) Spun yarn take-up apparatus
EP4382648A1 (en) Yarn heater and false-twist texturing machine
EP4242154B1 (en) Winding device and winding system
EP4180377B1 (en) Take-up tube replenishment device

Legal Events

Date Code Title Description
PUAI Public reference made under article 153(3) epc to a published international application that has entered the european phase

Free format text: ORIGINAL CODE: 0009012

STAA Information on the status of an ep patent application or granted ep patent

Free format text: STATUS: THE APPLICATION HAS BEEN PUBLISHED

AK Designated contracting states

Kind code of ref document: A1

Designated state(s): AL AT BE BG CH CY CZ DE DK EE ES FI FR GB GR HR HU IE IS IT LI LT LU LV MC ME MK MT NL NO PL PT RO RS SE SI SK SM TR

STAA Information on the status of an ep patent application or granted ep patent

Free format text: STATUS: REQUEST FOR EXAMINATION WAS MADE

17P Request for examination filed

Effective date: 20240209

RBV Designated contracting states (corrected)

Designated state(s): AL AT BE BG CH CY CZ DE DK EE ES FI FR GB GR HR HU IE IS IT LI LT LU LV MC ME MK MT NL NO PL PT RO RS SE SI SK SM TR

GRAP Despatch of communication of intention to grant a patent

Free format text: ORIGINAL CODE: EPIDOSNIGR1

STAA Information on the status of an ep patent application or granted ep patent

Free format text: STATUS: GRANT OF PATENT IS INTENDED

INTG Intention to grant announced

Effective date: 20240620

GRAS Grant fee paid

Free format text: ORIGINAL CODE: EPIDOSNIGR3

GRAA (expected) grant

Free format text: ORIGINAL CODE: 0009210

STAA Information on the status of an ep patent application or granted ep patent

Free format text: STATUS: THE PATENT HAS BEEN GRANTED

P01 Opt-out of the competence of the unified patent court (upc) registered

Free format text: CASE NUMBER: APP_44980/2024

Effective date: 20240802

AK Designated contracting states

Kind code of ref document: B1

Designated state(s): AL AT BE BG CH CY CZ DE DK EE ES FI FR GB GR HR HU IE IS IT LI LT LU LV MC ME MK MT NL NO PL PT RO RS SE SI SK SM TR

REG Reference to a national code

Ref country code: GB

Ref legal event code: FG4D

REG Reference to a national code

Ref country code: CH

Ref legal event code: EP

REG Reference to a national code

Ref country code: DE

Ref legal event code: R096

Ref document number: 602023000639

Country of ref document: DE

REG Reference to a national code

Ref country code: IE

Ref legal event code: FG4D

REG Reference to a national code

Ref country code: LT

Ref legal event code: MG9D

REG Reference to a national code

Ref country code: NL

Ref legal event code: MP

Effective date: 20241002

REG Reference to a national code

Ref country code: AT

Ref legal event code: MK05

Ref document number: 1728562

Country of ref document: AT

Kind code of ref document: T

Effective date: 20241002

PG25 Lapsed in a contracting state [announced via postgrant information from national office to epo]

Ref country code: NL

Free format text: LAPSE BECAUSE OF FAILURE TO SUBMIT A TRANSLATION OF THE DESCRIPTION OR TO PAY THE FEE WITHIN THE PRESCRIBED TIME-LIMIT

Effective date: 20241002

PG25 Lapsed in a contracting state [announced via postgrant information from national office to epo]

Ref country code: NL

Free format text: LAPSE BECAUSE OF FAILURE TO SUBMIT A TRANSLATION OF THE DESCRIPTION OR TO PAY THE FEE WITHIN THE PRESCRIBED TIME-LIMIT

Effective date: 20241002

PG25 Lapsed in a contracting state [announced via postgrant information from national office to epo]

Ref country code: PT

Free format text: LAPSE BECAUSE OF FAILURE TO SUBMIT A TRANSLATION OF THE DESCRIPTION OR TO PAY THE FEE WITHIN THE PRESCRIBED TIME-LIMIT

Effective date: 20250203

Ref country code: IS

Free format text: LAPSE BECAUSE OF FAILURE TO SUBMIT A TRANSLATION OF THE DESCRIPTION OR TO PAY THE FEE WITHIN THE PRESCRIBED TIME-LIMIT

Effective date: 20250202

Ref country code: HR

Free format text: LAPSE BECAUSE OF FAILURE TO SUBMIT A TRANSLATION OF THE DESCRIPTION OR TO PAY THE FEE WITHIN THE PRESCRIBED TIME-LIMIT

Effective date: 20241002

PG25 Lapsed in a contracting state [announced via postgrant information from national office to epo]

Ref country code: FI

Free format text: LAPSE BECAUSE OF FAILURE TO SUBMIT A TRANSLATION OF THE DESCRIPTION OR TO PAY THE FEE WITHIN THE PRESCRIBED TIME-LIMIT

Effective date: 20241002

PG25 Lapsed in a contracting state [announced via postgrant information from national office to epo]

Ref country code: BG

Free format text: LAPSE BECAUSE OF FAILURE TO SUBMIT A TRANSLATION OF THE DESCRIPTION OR TO PAY THE FEE WITHIN THE PRESCRIBED TIME-LIMIT

Effective date: 20241002

PG25 Lapsed in a contracting state [announced via postgrant information from national office to epo]

Ref country code: ES

Free format text: LAPSE BECAUSE OF FAILURE TO SUBMIT A TRANSLATION OF THE DESCRIPTION OR TO PAY THE FEE WITHIN THE PRESCRIBED TIME-LIMIT

Effective date: 20241002

PG25 Lapsed in a contracting state [announced via postgrant information from national office to epo]

Ref country code: NO

Free format text: LAPSE BECAUSE OF FAILURE TO SUBMIT A TRANSLATION OF THE DESCRIPTION OR TO PAY THE FEE WITHIN THE PRESCRIBED TIME-LIMIT

Effective date: 20250102

PG25 Lapsed in a contracting state [announced via postgrant information from national office to epo]

Ref country code: AT

Free format text: LAPSE BECAUSE OF FAILURE TO SUBMIT A TRANSLATION OF THE DESCRIPTION OR TO PAY THE FEE WITHIN THE PRESCRIBED TIME-LIMIT

Effective date: 20241002

Ref country code: GR

Free format text: LAPSE BECAUSE OF FAILURE TO SUBMIT A TRANSLATION OF THE DESCRIPTION OR TO PAY THE FEE WITHIN THE PRESCRIBED TIME-LIMIT

Effective date: 20250103

Ref country code: LV

Free format text: LAPSE BECAUSE OF FAILURE TO SUBMIT A TRANSLATION OF THE DESCRIPTION OR TO PAY THE FEE WITHIN THE PRESCRIBED TIME-LIMIT

Effective date: 20241002

PG25 Lapsed in a contracting state [announced via postgrant information from national office to epo]

Ref country code: CZ

Free format text: LAPSE BECAUSE OF FAILURE TO SUBMIT A TRANSLATION OF THE DESCRIPTION OR TO PAY THE FEE WITHIN THE PRESCRIBED TIME-LIMIT

Effective date: 20241002

Ref country code: PL

Free format text: LAPSE BECAUSE OF FAILURE TO SUBMIT A TRANSLATION OF THE DESCRIPTION OR TO PAY THE FEE WITHIN THE PRESCRIBED TIME-LIMIT

Effective date: 20241002

PG25 Lapsed in a contracting state [announced via postgrant information from national office to epo]

Ref country code: RS

Free format text: LAPSE BECAUSE OF FAILURE TO SUBMIT A TRANSLATION OF THE DESCRIPTION OR TO PAY THE FEE WITHIN THE PRESCRIBED TIME-LIMIT

Effective date: 20250102

PG25 Lapsed in a contracting state [announced via postgrant information from national office to epo]

Ref country code: SM

Free format text: LAPSE BECAUSE OF FAILURE TO SUBMIT A TRANSLATION OF THE DESCRIPTION OR TO PAY THE FEE WITHIN THE PRESCRIBED TIME-LIMIT

Effective date: 20241002

REG Reference to a national code

Ref country code: DE

Ref legal event code: R097

Ref document number: 602023000639

Country of ref document: DE

PGFP Annual fee paid to national office [announced via postgrant information from national office to epo]

Ref country code: DE

Payment date: 20250423

Year of fee payment: 3

PG25 Lapsed in a contracting state [announced via postgrant information from national office to epo]

Ref country code: DK

Free format text: LAPSE BECAUSE OF FAILURE TO SUBMIT A TRANSLATION OF THE DESCRIPTION OR TO PAY THE FEE WITHIN THE PRESCRIBED TIME-LIMIT

Effective date: 20241002

PG25 Lapsed in a contracting state [announced via postgrant information from national office to epo]

Ref country code: EE

Free format text: LAPSE BECAUSE OF FAILURE TO SUBMIT A TRANSLATION OF THE DESCRIPTION OR TO PAY THE FEE WITHIN THE PRESCRIBED TIME-LIMIT

Effective date: 20241002

PG25 Lapsed in a contracting state [announced via postgrant information from national office to epo]

Ref country code: RO

Free format text: LAPSE BECAUSE OF FAILURE TO SUBMIT A TRANSLATION OF THE DESCRIPTION OR TO PAY THE FEE WITHIN THE PRESCRIBED TIME-LIMIT

Effective date: 20241002

PG25 Lapsed in a contracting state [announced via postgrant information from national office to epo]

Ref country code: SK

Free format text: LAPSE BECAUSE OF FAILURE TO SUBMIT A TRANSLATION OF THE DESCRIPTION OR TO PAY THE FEE WITHIN THE PRESCRIBED TIME-LIMIT

Effective date: 20241002

PG25 Lapsed in a contracting state [announced via postgrant information from national office to epo]

Ref country code: IT

Free format text: LAPSE BECAUSE OF FAILURE TO SUBMIT A TRANSLATION OF THE DESCRIPTION OR TO PAY THE FEE WITHIN THE PRESCRIBED TIME-LIMIT

Effective date: 20241002

PLBE No opposition filed within time limit

Free format text: ORIGINAL CODE: 0009261

STAA Information on the status of an ep patent application or granted ep patent

Free format text: STATUS: NO OPPOSITION FILED WITHIN TIME LIMIT

PG25 Lapsed in a contracting state [announced via postgrant information from national office to epo]

Ref country code: SE

Free format text: LAPSE BECAUSE OF FAILURE TO SUBMIT A TRANSLATION OF THE DESCRIPTION OR TO PAY THE FEE WITHIN THE PRESCRIBED TIME-LIMIT

Effective date: 20241002

26N No opposition filed

Effective date: 20250703

PG25 Lapsed in a contracting state [announced via postgrant information from national office to epo]

Ref country code: LU

Free format text: LAPSE BECAUSE OF NON-PAYMENT OF DUE FEES

Effective date: 20250425

PG25 Lapsed in a contracting state [announced via postgrant information from national office to epo]

Ref country code: MC

Free format text: LAPSE BECAUSE OF FAILURE TO SUBMIT A TRANSLATION OF THE DESCRIPTION OR TO PAY THE FEE WITHIN THE PRESCRIBED TIME-LIMIT

Effective date: 20241002