EP4159487B1 - Umhüllungsstruktur für eine gürtelpackung eines reifens - Google Patents

Umhüllungsstruktur für eine gürtelpackung eines reifens Download PDF

Info

Publication number
EP4159487B1
EP4159487B1 EP22198164.0A EP22198164A EP4159487B1 EP 4159487 B1 EP4159487 B1 EP 4159487B1 EP 22198164 A EP22198164 A EP 22198164A EP 4159487 B1 EP4159487 B1 EP 4159487B1
Authority
EP
European Patent Office
Prior art keywords
ply
wrap around
tire
belt ply
belt
Prior art date
Legal status (The legal status is an assumption and is not a legal conclusion. Google has not performed a legal analysis and makes no representation as to the accuracy of the status listed.)
Active
Application number
EP22198164.0A
Other languages
English (en)
French (fr)
Other versions
EP4159487A1 (de
Inventor
Olivier Guy Jacques
Nigel Carl Hosker
Hendrikus Lambertus Johannes Maria De Wit
Current Assignee (The listed assignees may be inaccurate. Google has not performed a legal analysis and makes no representation or warranty as to the accuracy of the list.)
Goodyear Tire and Rubber Co
Original Assignee
Goodyear Tire and Rubber Co
Priority date (The priority date is an assumption and is not a legal conclusion. Google has not performed a legal analysis and makes no representation as to the accuracy of the date listed.)
Filing date
Publication date
Application filed by Goodyear Tire and Rubber Co filed Critical Goodyear Tire and Rubber Co
Publication of EP4159487A1 publication Critical patent/EP4159487A1/de
Application granted granted Critical
Publication of EP4159487B1 publication Critical patent/EP4159487B1/de
Active legal-status Critical Current
Anticipated expiration legal-status Critical

Links

Images

Classifications

    • BPERFORMING OPERATIONS; TRANSPORTING
    • B60VEHICLES IN GENERAL
    • B60CVEHICLE TYRES; TYRE INFLATION; TYRE CHANGING; CONNECTING VALVES TO INFLATABLE ELASTIC BODIES IN GENERAL; DEVICES OR ARRANGEMENTS RELATED TO TYRES
    • B60C17/00Tyres characterised by means enabling restricted operation in damaged or deflated condition; Accessories therefor
    • B60C17/0009Tyres characterised by means enabling restricted operation in damaged or deflated condition; Accessories therefor comprising sidewall rubber inserts, e.g. crescent shaped inserts
    • BPERFORMING OPERATIONS; TRANSPORTING
    • B60VEHICLES IN GENERAL
    • B60CVEHICLE TYRES; TYRE INFLATION; TYRE CHANGING; CONNECTING VALVES TO INFLATABLE ELASTIC BODIES IN GENERAL; DEVICES OR ARRANGEMENTS RELATED TO TYRES
    • B60C9/00Reinforcements or ply arrangement of pneumatic tyres
    • B60C9/18Structure or arrangement of belts or breakers, crown-reinforcing or cushioning layers
    • B60C9/1835Rubber strips or cushions at the belt edges
    • BPERFORMING OPERATIONS; TRANSPORTING
    • B60VEHICLES IN GENERAL
    • B60CVEHICLE TYRES; TYRE INFLATION; TYRE CHANGING; CONNECTING VALVES TO INFLATABLE ELASTIC BODIES IN GENERAL; DEVICES OR ARRANGEMENTS RELATED TO TYRES
    • B60C9/00Reinforcements or ply arrangement of pneumatic tyres
    • B60C9/18Structure or arrangement of belts or breakers, crown-reinforcing or cushioning layers
    • B60C9/20Structure or arrangement of belts or breakers, crown-reinforcing or cushioning layers built-up from rubberised plies each having all cords arranged substantially parallel
    • B60C9/22Structure or arrangement of belts or breakers, crown-reinforcing or cushioning layers built-up from rubberised plies each having all cords arranged substantially parallel the plies being arranged with all cords disposed along the circumference of the tyre
    • BPERFORMING OPERATIONS; TRANSPORTING
    • B60VEHICLES IN GENERAL
    • B60CVEHICLE TYRES; TYRE INFLATION; TYRE CHANGING; CONNECTING VALVES TO INFLATABLE ELASTIC BODIES IN GENERAL; DEVICES OR ARRANGEMENTS RELATED TO TYRES
    • B60C9/00Reinforcements or ply arrangement of pneumatic tyres
    • B60C9/18Structure or arrangement of belts or breakers, crown-reinforcing or cushioning layers
    • B60C9/1835Rubber strips or cushions at the belt edges
    • B60C2009/1864Rubber strips or cushions at the belt edges wrapped around the edges of the belt
    • BPERFORMING OPERATIONS; TRANSPORTING
    • B60VEHICLES IN GENERAL
    • B60CVEHICLE TYRES; TYRE INFLATION; TYRE CHANGING; CONNECTING VALVES TO INFLATABLE ELASTIC BODIES IN GENERAL; DEVICES OR ARRANGEMENTS RELATED TO TYRES
    • B60C9/00Reinforcements or ply arrangement of pneumatic tyres
    • B60C9/18Structure or arrangement of belts or breakers, crown-reinforcing or cushioning layers
    • B60C9/20Structure or arrangement of belts or breakers, crown-reinforcing or cushioning layers built-up from rubberised plies each having all cords arranged substantially parallel
    • B60C2009/2012Structure or arrangement of belts or breakers, crown-reinforcing or cushioning layers built-up from rubberised plies each having all cords arranged substantially parallel with particular configuration of the belt cords in the respective belt layers
    • B60C2009/2016Structure or arrangement of belts or breakers, crown-reinforcing or cushioning layers built-up from rubberised plies each having all cords arranged substantially parallel with particular configuration of the belt cords in the respective belt layers comprising cords at an angle of 10 to 30 degrees to the circumferential direction
    • BPERFORMING OPERATIONS; TRANSPORTING
    • B60VEHICLES IN GENERAL
    • B60CVEHICLE TYRES; TYRE INFLATION; TYRE CHANGING; CONNECTING VALVES TO INFLATABLE ELASTIC BODIES IN GENERAL; DEVICES OR ARRANGEMENTS RELATED TO TYRES
    • B60C9/00Reinforcements or ply arrangement of pneumatic tyres
    • B60C9/18Structure or arrangement of belts or breakers, crown-reinforcing or cushioning layers
    • B60C9/28Structure or arrangement of belts or breakers, crown-reinforcing or cushioning layers characterised by the belt or breaker dimensions or curvature relative to carcass

Definitions

  • the present invention is directed towards a pneumatic or a non-pneumatic tire. More specifically, the present invention is directed towards a belt package for a tire wherein a wraparound structure for belt package improves tire durability and tread wear uniformity.
  • a continuing goal of the tire industry is the improvement of the performance of tires. Desirable characteristics for tires may be light weight, low drag, good traction, minimal runout, low noise, good handling, low treadwear, and/or low rolling resistance. Further, the tire industry strives for tire constructions well-suited for specific conditions and uses. Optimization of handling using one construction, and high-speed durability using another construction, may be one method for addressing a specific condition. Light weight tires with improved and/or maintained physical properties and optimization for different conditions are desirable goals for tire designers.
  • US 2010/0084069 A1 describes a tire in accordance with the preamble of claim 1.
  • Apex means an elastomeric filler located radially above the bead core and between the plies and the turnup ply.
  • “Circumferential” means lines or directions extending along the perimeter of the surface of the annular tire parallel to the Equatorial Plane (EP) and perpendicular to the axial direction.
  • Core means one of the reinforcement strands which the reinforcement structures of the tire comprise.
  • Cord angle means the acute angle, left or right in a plan view of the tire, formed by a cord with respect to the equatorial plane.
  • the “cord angle” is measured in a cured but uninflated tire.
  • “Crown area” means that portion of the tire within the width limits of the tire tread.
  • Equatorial plane means the plane perpendicular to the tire's axis of rotation and passing through the center of its tread; or the plane containing the circumferential centerline of the tread.
  • “Lateral” means an axial direction.
  • Ply means a cord-reinforced layer of rubber-coated radially deployed or otherwise parallel cords.
  • Ring and radially are used to mean directions radially toward or away from the axis of rotation of the tire.
  • Thread width means the arc length of the tread surface in a plane including the axis of rotation of the tire.
  • the invention relates to a tire in accordance with claim 1 and to a method in accordance with claim 12.
  • a tire in accordance with the present invention includes a carcass ply and a belt structure disposed radially outward of the carcass ply in a crown portion of the tire.
  • the belt structure includes a first belt ply, a second belt ply radially adjacent the first belt ply, an overlay ply radially adjacent the first belt ply, a first wrap around strip encompassing both axial edges of the first belt ply, and a second wrap around strip encompassing both axial edges of the second belt ply.
  • the overlay ply has an axial width less than a maximum axial width of the first belt ply and a maximum axial width of the second belt ply.
  • the first wrap around strip includes reinforcing cords.
  • the second wrap around strip includes reinforcing cords.
  • the first wrap around strip includes reinforcing fibers.
  • the second wrap around strip includes reinforcing fibers.
  • the first wrap around strip includes reinforcing fabric.
  • the second wrap around strip includes reinforcing fabric.
  • radially inner portions of the first wrap around strips axially overlap radially outer portions of the second wrap around gum strips.
  • a method in accordance with the present invention reinforces a crown area of a tire.
  • the method includes the steps of: extending a carcass ply from a first bead portion to a second bead portion; placing a belt structure radially outward of the carcass ply in the crown area of the tire, the belt structure including a first belt ply, a second belt ply, an overlay ply, a first wrap around strip, and a second wrap around strip; encompassing each axial edge of the first belt ply with a first wrap around strip; encompassing each axial edge of the second belt ply with a second wrap around strip; axially overlapping each axial edge of the overlay ply with a radially outer portion of the first wrap around strip; and axially overlapping a radially inner portion of a first wrap around strip with a radially outer portion of the second wrap around strip.
  • the overlay ply has an axial width less than both a maximum axial width of the first belt ply and a maximum axial width of the second belt ply.
  • radially outer portions of the first wrap around strips directly contact axially outer edges of the overlay ply.
  • radially inner portions of the first wrap around strips directly contact radially outer portions of the second wrap around gum strips.
  • FIG. 1 is a cross-sectional view of an example tire 10, for mounting on a tire rim 11, designed to be capable of continued operation during inflated, under-inflated, and deflated conditions.
  • One half of the cross-sectional view of the example tire 10 is shown, it being understood that, the other half may be a mirror image of that which is illustrated in FIG. 1 .
  • the example tire 10 has at least one carcass reinforcing ply 12 extending from one bead area 14 of the tire to an opposing bead area (not shown).
  • the ends of the reinforcing ply 12 are preferably turned axially inward to axially outward about bead cores 16 and bead apexes 18.
  • the terminal ends of the reinforcing ply 12 preferably extend past the radially outer ends of the bead apexes 18 thereby enveloping the bead apexes.
  • each sidewall insert 20 located in each sidewall region of the example tire 10.
  • the insert 20 is preferably located adjacent to the tire innerliner 22 or axially outward of the reinforcing ply 12.
  • the insert 20 is preferably formed of elastomeric material and preferably extends from the crown area, such as from radially inward of a belt structure to radially inward of the outermost terminal end of the bead apexes 18 that overlap the bead apexes 18.
  • the elastomeric material of the insert 20 is preferably selected to provide the example tire 10 with support during underinflated and deflated operation of the tire.
  • a belt structure is located radially outward of the carcass ply 12.
  • the belt structure has at least two inclined, crossed cord belt plies 24, 25 and a radially outer overlay ply 26.
  • the cords are preferably inclined with respect to the circumferential direction of the example tire 10 in the first belt ply 24 and the cords in the second belt ply 25 directly adjacent the first belt ply 24 are preferably inclined at similar, but opposing, angles to the cords in the first belt ply 24. These angles are preferably both in a range of from 15 to 30 degrees.
  • the overlay ply 26 Radially outward of the crossed cord belt plies 24, 25 is the overlay ply 26.
  • the overlay ply 26 may have a lateral width in a range of from 85 to 97 percent of the maximum lateral width of the crossed cord plies 24, 25.
  • the radially inner second belt ply 25 is the laterally widest ply.
  • the lateral width of the adjacent first belt ply 24 is preferably in a range of from 85 to 97 percent of the lateral width of the second belt ply.
  • the lateral width of the adjacent overlay ply is preferably in a range of from 85 to 97 percent of the lateral width of the first belt ply 24.
  • the overlay ply 26 is preferably reinforced with cords inclined at angles between of 15° and -15°, more preferably at angles between 5° and -5° or at angles between -2° to 2°, with respect to the circumferential direction of the example tire 10.
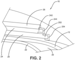
  • the overlay ply 26 has a width less than a maximum width of the crossed cord plies of the belt structure 24, 25 ( FIGS. 1-2 ).
  • first wrap around gum strips 244 are encompassed by first wrap around gum strips 244 (one shown).
  • each first gum strip 244 extends on the radially upper side of the first belt ply 24 over a lateral distance of preferably 2 to 10 percent, more preferably 3 to 7 percent, of the lateral width of the first belt ply 24.
  • each first gum strip 244 extends on the radially outer side of the first belt ply 24 over a lateral distance that is lower, preferably 5 to 15 percent lower, than the respective distance on the radially inner side of the first belt ply 24.
  • each first gum strip 244 extends on the radially outer side partially under the overlay ply 26.
  • the overlay ply 26 is in contact with each first gum strip 244 over a lateral distance in a range of from 1 to 5 percent or from 2 to 4 percent of the lateral width of the overlay belt ply 26.
  • each second gum strip 254 extends on the radially upper side of the second belt ply 25 over a lateral distance of preferably 2 to 10 percent, more preferably 3 to 7 percent, of the lateral width of the second belt ply 25.
  • each second gum strip 254 extends on the radially outer side of the second belt ply 25 over a lateral distance that is higher, preferably 15 to 40 percent higher, than the respective distance on the radially inner side of the second belt ply 25.
  • the radially inner side of the first gum strip 244 and the radially outer side of the second gum strip 254 are adjacent to each other and partially overlap.
  • each second gum strip 254 extends on the radially upper side of the second belt ply 25 laterally under the first gum strip 244 over a lateral distance in a range of from 0.5 to 3 percent of the lateral width of the first belt ply 24.
  • the first and second wrap around gum strips 244, 254 may or may not include reinforcement structures such as cords, fibers, short fibers, fabric, etc.
  • the construction of the tire 10 is symmetrical with respect to the equatorial plane of the tire 10.
  • the disclosed belt/overlay construction 24, 25, 26, 244, 254 allows it to mitigate material flow in the area or the belt edges 242, 252 and to thereby prevent cords of the second belt ply 25 from directly contacting cords of the first belt ply 24 and cords of the first belt ply 24 from directly contacting cords of the overlay ply 26 there, thereby increasing durability of the crown area of the tire 10. This is of particular relevance when the tire 10 is a truck tire or when it is a self-supporting tire (run-flat tire).
  • the axially outer edges of the overlay ply 26 preferably axially overlap a radially outer portion of each first wrap around gum strip 244.
  • a radially inner portion of the first wrap around gum strips 244 preferably axially overlap a radially outer portion of each second wrap around gum strip 254.

Landscapes

  • Engineering & Computer Science (AREA)
  • Mechanical Engineering (AREA)
  • Tires In General (AREA)

Claims (14)

  1. Reifen, der eine Karkassenlage (12) und einen Gürtelaufbau, der radial außerhalb der Karkassenlage (12) in einem Zenitabschnitt des Reifens (10) angeordnet ist, umfasst, wobei der Gürtelaufbau eine erste Gürtellage (24), eine zweite Gürtellage (25), die radial an die erste Gürtellage (24) angrenzt, und eine Überlagerungslage (26), die radial an die erste Gürtellage (24) angrenzt, umfasst, wobei ein erstes zum Aufwickeln bestimmtes Band (244) eine axiale Kante oder beide axiale Kanten (242) der ersten Gürtellage (24) umschließt, und ein zweites zum Aufwickeln bestimmtes Band (254) eine axiale Kante oder beide axiale Kanten der zweiten Gürtellage (25) umschließt, und wobei die Überlagerungslage (26) eine axiale Breite aufweist, die geringer ist als eine maximale axiale Breite der ersten Gürtellage (24) und als eine maximale axiale Breite der zweiten Gürtellage (25), dadurch gekennzeichnet, dass die Überlagerungslage (26) mit jedem ersten zum Aufwickeln bestimmten Band (244) über eine seitliche Strecke in einem Bereich von 1 bis 5 Prozent der seitlichen Breite der zum Überlagern bestimmten Gürtellage (26) in Kontakt ist.
  2. Reifen nach Anspruch 1, wobei das erste zum Aufwickeln bestimmte Band (244) und/oder das zweite zum Aufwickeln bestimmte Band (254) mindestens einen von Verstärkungskorden, Verstärkungsfasern oder Verstärkungsgewebe enthält.
  3. Reifen nach mindestens einem der vorhergehenden Ansprüche, wobei radial äußere Abschnitte des ersten zum Aufwickeln bestimmten Bandes (244) äußere Kanten der Überlagerungslage (26) axial überlappen.
  4. Reifen nach mindestens einem der vorhergehenden Ansprüche, wobei radial innere Abschnitte des ersten zum Aufwickeln bestimmten Bandes (244) radial äußere Abschnitte des zweiten zum Aufwickeln bestimmten Bandes (254) axial überlappen.
  5. Reifen nach mindestens einem der vorhergehenden Ansprüche, wobei der Reifen (10) einen Luftreifen des Typs, der die Weiterfahrt nach einer Reifenpanne oder Luftentleerung ermöglicht, ist und/oder wobei der Reifen (10) einen Seitenwandeinsatz (20) aufweist, um dem Reifen (10) während des Betriebs mit zu niedrigem Luftdruck und ohne Luft Unterstützung zu geben.
  6. Reifen nach mindestens einem der vorhergehenden Ansprüche, wobei jedes erste zum Aufwickeln bestimmte Band (244) sich auf der radialen oberen Seite der ersten Gürtellage (24) über eine seitliche Strecke von 2 bis 10 Prozent, vorzugsweise 3 bis 7 Prozent, der seitlichen Breite der ersten Gürtellage (24) erstreckt.
  7. Reifen nach mindestens einem der vorhergehenden Ansprüche, wobei jedes erste zum Aufwickeln bestimmte Band (244) sich auf der radial äußeren Seite der ersten Gürtellage (24) über eine seitliche Strecke erstreckt, der geringer, vorzugsweise 5 bis 15 Prozent geringer, ist als die jeweilige Strecke auf der radial inneren Seite der ersten Gürtellage (24).
  8. Reifen nach mindestens einem der vorhergehenden Ansprüche, wobei die Überlagerungslage (26) mit jedem ersten zum Aufwickeln bestimmten Band (244) über eine seitliche Strecke in einem Bereich von 2 bis 4 Prozent der seitlichen Breite der zum Überlagern bestimmten Gürtellage (26) in Kontakt ist.
  9. Reifen nach mindestens einem der vorhergehenden Ansprüche, wobei jedes zweite zum Aufwickeln bestimmte Band (254) sich auf der radialen oberen Seite der zweiten Gürtellage (25) über eine axiale Strecke in einem Bereich von 2 bis 10 Prozent, vorzugsweise 3 bis 7 Prozent, der seitlichen Breite der zweiten Gürtellage (25) erstreckt.
  10. Reifen nach mindestens einem der vorhergehenden Ansprüche, wobei jedes zweite zum Aufwickeln bestimmte Band (254) sich auf der radial äußeren Seite der zweiten Gürtellage (25) über eine seitliche Strecke erstreckt, der höher, vorzugsweise 15 bis 40 Prozent höher, ist als die jeweilige Strecke auf der radial inneren Seite der zweiten Gürtellage (25).
  11. Reifen nach mindestens einem der vorhergehenden Ansprüche, wobei die radial innere Seite des ersten zum Aufwickeln bestimmten Bandes (244) und die radial äußere Seite des zweiten zum Aufwickeln bestimmten Bandes (254) aneinander angrenzen und sich teilweise überlappen; und/oder wobei jedes zweite zum Aufwickeln bestimmte Band (254) sich auf der radial oberen Seite der zweiten Gürtellage (25) seitlich unter dem ersten zum Aufwickeln bestimmten Band (244) über eine seitliche Strecke in einem Bereich von 0,5 bis 3 Prozent der seitlichen Breite der ersten Gürtellage (24) erstreckt.
  12. Verfahren zur Verstärkung eines Zenitbereichs eines Reifens (10), wobei das Verfahren die folgenden Schritte umfasst:
    das Verlängern einer Karkassenlage (12) von einem ersten Wulstabschnitt (14) zu einem zweiten Wulstabschnitt (14);
    das Anordnen einer Gürtelstruktur radial außerhalb der Karkassenlage (12) in dem Zenitbereich des Reifens (10), wobei die Gürtelstruktur eine erste Gürtellage (24), eine zweite Gürtellage (25), eine Überlagerungslage (26), einen ersten zum Aufwickeln bestimmten Band (244) und einen zweiten zum Aufwickeln bestimmten Band (254) umfasst;
    das Umschließen einer oder jeder axialen Kante der ersten Gürtellage (24) mit dem ersten zum Aufwickeln bestimmten Band (244);
    das Umschließen einer oder jeder axialen Kante der zweiten Gürtellage (25) mit dem zweiten zum Aufwickeln bestimmten Band (254);
    das axiale Überlappen einer oder jeder axialen Kante der Überlagerungslage (26) mit einem radial äußeren Abschnitt des ersten zum Aufwickeln bestimmten Bandes (244); und
    das axiale Überlappen eines radial inneren Teils eines ersten zum Aufwickeln bestimmtes Bandes (244) mit einem radial äußeren Teil des zweiten zum Aufwickeln bestimmten Bandes (254);
    wobei die Überlagerungslage (26) eine axiale Breite aufweist, die geringer ist als eine maximale axiale Breite der ersten Gürtellage (24) und als eine maximale axiale Breite der zweiten Gürtellage (25); und
    wobei die Überlagerungslage (26) mit jedem ersten zum Aufwickeln bestimmten Band (244) über eine seitliche Strecke in einem Bereich von 1 bis 5 Prozent der seitlichen Breite der zum Überlagern bestimmten Gürtellage (26) in Kontakt ist.
  13. Verfahren nach Anspruch 12, wobei radial äußere Abschnitte des einen ersten zum Aufwickeln bestimmten Bandes oder der beiden ersten zum Aufwickeln bestimmten Bänder (244) die axial äußeren Kanten der Überlagerungslage (26) direkt berühren.
  14. Verfahren nach Anspruch 12 oder 13, bei dem radial innere Abschnitte des einen ersten zum Aufwickeln bestimmten Bandes oder der beiden ersten zum Aufwickeln bestimmten Bänder (244) radial äußere Abschnitte jeweils des einen zweiten zum Aufwickeln bestimmten Bandes oder der beiden zweiten zum Aufwickeln bestimmten Bänder (254) direkt berühren.
EP22198164.0A 2021-09-30 2022-09-27 Umhüllungsstruktur für eine gürtelpackung eines reifens Active EP4159487B1 (de)

Applications Claiming Priority (1)

Application Number Priority Date Filing Date Title
US17/490,335 US20230098208A1 (en) 2021-09-30 2021-09-30 Wraparound structure for a belt package of a tire

Publications (2)

Publication Number Publication Date
EP4159487A1 EP4159487A1 (de) 2023-04-05
EP4159487B1 true EP4159487B1 (de) 2024-11-06

Family

ID=83505984

Family Applications (1)

Application Number Title Priority Date Filing Date
EP22198164.0A Active EP4159487B1 (de) 2021-09-30 2022-09-27 Umhüllungsstruktur für eine gürtelpackung eines reifens

Country Status (2)

Country Link
US (1) US20230098208A1 (de)
EP (1) EP4159487B1 (de)

Family Cites Families (6)

* Cited by examiner, † Cited by third party
Publication number Priority date Publication date Assignee Title
BR8305477A (pt) * 1982-10-18 1984-07-10 Goodyear Tire & Rubber Estrutura de cinta anular para pneu radial
JP2009173131A (ja) * 2008-01-23 2009-08-06 Toyo Tire & Rubber Co Ltd 空気入りタイヤ
JP4805322B2 (ja) * 2008-10-03 2011-11-02 住友ゴム工業株式会社 重荷重用タイヤ
JP5377454B2 (ja) * 2010-10-21 2013-12-25 住友ゴム工業株式会社 バンドトッピング用ゴム組成物、ブレーカーエッジストリップ用ゴム組成物、及び空気入りタイヤ
JP5216077B2 (ja) * 2010-12-29 2013-06-19 住友ゴム工業株式会社 重荷重用空気入りタイヤ
JP6623735B2 (ja) * 2015-12-14 2019-12-25 住友ゴム工業株式会社 重荷重用空気入りタイヤ

Also Published As

Publication number Publication date
US20230098208A1 (en) 2023-03-30
EP4159487A1 (de) 2023-04-05

Similar Documents

Publication Publication Date Title
US7409974B2 (en) Self-supporting pneumatic tire with a partial inner liner
US10226966B2 (en) Pneumatic radial tire for passenger vehicle, method for using the tire, and tire-rim assembly including the tire
US20110083779A1 (en) Pneumatic tire
US5200006A (en) Pneumatic tire with uniform ground pressure at the tread face
JP3066332B2 (ja) 空気入りラジアルタイヤ
EP3666556B1 (de) Luftreifen
JP7298622B2 (ja) 空気入りタイヤ
EP1129870B1 (de) Luftreifen
EP2261060B1 (de) Motorradreifen
EP1116605B1 (de) Luftreifen mit verbesserter Haltbarkeit der Wülste
US5529102A (en) Motorcycle radial tire with supplementary breaker ply
EP1862333B1 (de) Reifen mit neuem Wulstkern
GB2283215A (en) Motor-cycle radial tyre
EP4159487B1 (de) Umhüllungsstruktur für eine gürtelpackung eines reifens
EP0748705A2 (de) Luftreifen
JP2017001432A (ja) 空気入りタイヤ
EP3838630B1 (de) Luftreifen
EP4400330A1 (de) Motorradreifen
EP4005826B1 (de) Radialreifen
EP4659969A1 (de) Luftreifen mit reduziertem gewicht
EP4098461B1 (de) Luftreifen
EP4292833A1 (de) Motorradreifen
WO2022091117A1 (en) Heavy duty tire
WO1998056605A1 (en) Aircraft tire with embedded breaker plies

Legal Events

Date Code Title Description
PUAI Public reference made under article 153(3) epc to a published international application that has entered the european phase

Free format text: ORIGINAL CODE: 0009012

STAA Information on the status of an ep patent application or granted ep patent

Free format text: STATUS: THE APPLICATION HAS BEEN PUBLISHED

AK Designated contracting states

Kind code of ref document: A1

Designated state(s): AL AT BE BG CH CY CZ DE DK EE ES FI FR GB GR HR HU IE IS IT LI LT LU LV MC MK MT NL NO PL PT RO RS SE SI SK SM TR

STAA Information on the status of an ep patent application or granted ep patent

Free format text: STATUS: REQUEST FOR EXAMINATION WAS MADE

17P Request for examination filed

Effective date: 20231005

RBV Designated contracting states (corrected)

Designated state(s): AL AT BE BG CH CY CZ DE DK EE ES FI FR GB GR HR HU IE IS IT LI LT LU LV MC MK MT NL NO PL PT RO RS SE SI SK SM TR

RIC1 Information provided on ipc code assigned before grant

Ipc: B60C 9/20 20060101ALI20240418BHEP

Ipc: B60C 9/18 20060101ALI20240418BHEP

Ipc: B60C 9/22 20060101ALI20240418BHEP

Ipc: B60C 9/28 20060101ALI20240418BHEP

Ipc: B60C 17/00 20060101AFI20240418BHEP

GRAP Despatch of communication of intention to grant a patent

Free format text: ORIGINAL CODE: EPIDOSNIGR1

STAA Information on the status of an ep patent application or granted ep patent

Free format text: STATUS: GRANT OF PATENT IS INTENDED

INTG Intention to grant announced

Effective date: 20240528

GRAS Grant fee paid

Free format text: ORIGINAL CODE: EPIDOSNIGR3

GRAA (expected) grant

Free format text: ORIGINAL CODE: 0009210

STAA Information on the status of an ep patent application or granted ep patent

Free format text: STATUS: THE PATENT HAS BEEN GRANTED

AK Designated contracting states

Kind code of ref document: B1

Designated state(s): AL AT BE BG CH CY CZ DE DK EE ES FI FR GB GR HR HU IE IS IT LI LT LU LV MC MK MT NL NO PL PT RO RS SE SI SK SM TR

REG Reference to a national code

Ref country code: GB

Ref legal event code: FG4D

REG Reference to a national code

Ref country code: CH

Ref legal event code: EP

REG Reference to a national code

Ref country code: DE

Ref legal event code: R096

Ref document number: 602022007446

Country of ref document: DE

REG Reference to a national code

Ref country code: IE

Ref legal event code: FG4D

REG Reference to a national code

Ref country code: LT

Ref legal event code: MG9D

REG Reference to a national code

Ref country code: NL

Ref legal event code: MP

Effective date: 20241106

PG25 Lapsed in a contracting state [announced via postgrant information from national office to epo]

Ref country code: IS

Free format text: LAPSE BECAUSE OF FAILURE TO SUBMIT A TRANSLATION OF THE DESCRIPTION OR TO PAY THE FEE WITHIN THE PRESCRIBED TIME-LIMIT

Effective date: 20250306

Ref country code: HR

Free format text: LAPSE BECAUSE OF FAILURE TO SUBMIT A TRANSLATION OF THE DESCRIPTION OR TO PAY THE FEE WITHIN THE PRESCRIBED TIME-LIMIT

Effective date: 20241106

Ref country code: PT

Free format text: LAPSE BECAUSE OF FAILURE TO SUBMIT A TRANSLATION OF THE DESCRIPTION OR TO PAY THE FEE WITHIN THE PRESCRIBED TIME-LIMIT

Effective date: 20250306

PG25 Lapsed in a contracting state [announced via postgrant information from national office to epo]

Ref country code: FI

Free format text: LAPSE BECAUSE OF FAILURE TO SUBMIT A TRANSLATION OF THE DESCRIPTION OR TO PAY THE FEE WITHIN THE PRESCRIBED TIME-LIMIT

Effective date: 20241106

Ref country code: NL

Free format text: LAPSE BECAUSE OF FAILURE TO SUBMIT A TRANSLATION OF THE DESCRIPTION OR TO PAY THE FEE WITHIN THE PRESCRIBED TIME-LIMIT

Effective date: 20241106

REG Reference to a national code

Ref country code: AT

Ref legal event code: MK05

Ref document number: 1739007

Country of ref document: AT

Kind code of ref document: T

Effective date: 20241106

PG25 Lapsed in a contracting state [announced via postgrant information from national office to epo]

Ref country code: BG

Free format text: LAPSE BECAUSE OF FAILURE TO SUBMIT A TRANSLATION OF THE DESCRIPTION OR TO PAY THE FEE WITHIN THE PRESCRIBED TIME-LIMIT

Effective date: 20241106

PG25 Lapsed in a contracting state [announced via postgrant information from national office to epo]

Ref country code: ES

Free format text: LAPSE BECAUSE OF FAILURE TO SUBMIT A TRANSLATION OF THE DESCRIPTION OR TO PAY THE FEE WITHIN THE PRESCRIBED TIME-LIMIT

Effective date: 20241106

PG25 Lapsed in a contracting state [announced via postgrant information from national office to epo]

Ref country code: NO

Free format text: LAPSE BECAUSE OF FAILURE TO SUBMIT A TRANSLATION OF THE DESCRIPTION OR TO PAY THE FEE WITHIN THE PRESCRIBED TIME-LIMIT

Effective date: 20250206

PG25 Lapsed in a contracting state [announced via postgrant information from national office to epo]

Ref country code: LV

Free format text: LAPSE BECAUSE OF FAILURE TO SUBMIT A TRANSLATION OF THE DESCRIPTION OR TO PAY THE FEE WITHIN THE PRESCRIBED TIME-LIMIT

Effective date: 20241106

Ref country code: GR

Free format text: LAPSE BECAUSE OF FAILURE TO SUBMIT A TRANSLATION OF THE DESCRIPTION OR TO PAY THE FEE WITHIN THE PRESCRIBED TIME-LIMIT

Effective date: 20250207

Ref country code: AT

Free format text: LAPSE BECAUSE OF FAILURE TO SUBMIT A TRANSLATION OF THE DESCRIPTION OR TO PAY THE FEE WITHIN THE PRESCRIBED TIME-LIMIT

Effective date: 20241106

PG25 Lapsed in a contracting state [announced via postgrant information from national office to epo]

Ref country code: PL

Free format text: LAPSE BECAUSE OF FAILURE TO SUBMIT A TRANSLATION OF THE DESCRIPTION OR TO PAY THE FEE WITHIN THE PRESCRIBED TIME-LIMIT

Effective date: 20241106

PG25 Lapsed in a contracting state [announced via postgrant information from national office to epo]

Ref country code: RS

Free format text: LAPSE BECAUSE OF FAILURE TO SUBMIT A TRANSLATION OF THE DESCRIPTION OR TO PAY THE FEE WITHIN THE PRESCRIBED TIME-LIMIT

Effective date: 20250206

PG25 Lapsed in a contracting state [announced via postgrant information from national office to epo]

Ref country code: SM

Free format text: LAPSE BECAUSE OF FAILURE TO SUBMIT A TRANSLATION OF THE DESCRIPTION OR TO PAY THE FEE WITHIN THE PRESCRIBED TIME-LIMIT

Effective date: 20241106

PG25 Lapsed in a contracting state [announced via postgrant information from national office to epo]

Ref country code: DK

Free format text: LAPSE BECAUSE OF FAILURE TO SUBMIT A TRANSLATION OF THE DESCRIPTION OR TO PAY THE FEE WITHIN THE PRESCRIBED TIME-LIMIT

Effective date: 20241106

PG25 Lapsed in a contracting state [announced via postgrant information from national office to epo]

Ref country code: EE

Free format text: LAPSE BECAUSE OF FAILURE TO SUBMIT A TRANSLATION OF THE DESCRIPTION OR TO PAY THE FEE WITHIN THE PRESCRIBED TIME-LIMIT

Effective date: 20241106

PG25 Lapsed in a contracting state [announced via postgrant information from national office to epo]

Ref country code: RO

Free format text: LAPSE BECAUSE OF FAILURE TO SUBMIT A TRANSLATION OF THE DESCRIPTION OR TO PAY THE FEE WITHIN THE PRESCRIBED TIME-LIMIT

Effective date: 20241106

PG25 Lapsed in a contracting state [announced via postgrant information from national office to epo]

Ref country code: SK

Free format text: LAPSE BECAUSE OF FAILURE TO SUBMIT A TRANSLATION OF THE DESCRIPTION OR TO PAY THE FEE WITHIN THE PRESCRIBED TIME-LIMIT

Effective date: 20241106

PG25 Lapsed in a contracting state [announced via postgrant information from national office to epo]

Ref country code: CZ

Free format text: LAPSE BECAUSE OF FAILURE TO SUBMIT A TRANSLATION OF THE DESCRIPTION OR TO PAY THE FEE WITHIN THE PRESCRIBED TIME-LIMIT

Effective date: 20241106

REG Reference to a national code

Ref country code: DE

Ref legal event code: R097

Ref document number: 602022007446

Country of ref document: DE

PG25 Lapsed in a contracting state [announced via postgrant information from national office to epo]

Ref country code: SE

Free format text: LAPSE BECAUSE OF FAILURE TO SUBMIT A TRANSLATION OF THE DESCRIPTION OR TO PAY THE FEE WITHIN THE PRESCRIBED TIME-LIMIT

Effective date: 20241106

PLBE No opposition filed within time limit

Free format text: ORIGINAL CODE: 0009261

STAA Information on the status of an ep patent application or granted ep patent

Free format text: STATUS: NO OPPOSITION FILED WITHIN TIME LIMIT

PGFP Annual fee paid to national office [announced via postgrant information from national office to epo]

Ref country code: DE

Payment date: 20250820

Year of fee payment: 4

26N No opposition filed

Effective date: 20250807

PGFP Annual fee paid to national office [announced via postgrant information from national office to epo]

Ref country code: TR

Payment date: 20250902

Year of fee payment: 4

PGFP Annual fee paid to national office [announced via postgrant information from national office to epo]

Ref country code: FR

Payment date: 20250820

Year of fee payment: 4