EP3699057A1 - Hebbare tragvorrichtung - Google Patents

Hebbare tragvorrichtung Download PDF

Info

Publication number
EP3699057A1
EP3699057A1 EP19158578.5A EP19158578A EP3699057A1 EP 3699057 A1 EP3699057 A1 EP 3699057A1 EP 19158578 A EP19158578 A EP 19158578A EP 3699057 A1 EP3699057 A1 EP 3699057A1
Authority
EP
European Patent Office
Prior art keywords
pocket
support
rail vehicle
longitudinal
support device
Prior art date
Legal status (The legal status is an assumption and is not a legal conclusion. Google has not performed a legal analysis and makes no representation as to the accuracy of the status listed.)
Granted
Application number
EP19158578.5A
Other languages
English (en)
French (fr)
Other versions
EP3699057B1 (de
EP3699057C0 (de
Inventor
Franz Blum
Horst FÖSSL
Current Assignee (The listed assignees may be inaccurate. Google has not performed a legal analysis and makes no representation or warranty as to the accuracy of the list.)
Kaessbohrer Transport Technik GmbH
Original Assignee
Kaessbohrer Transport Technik GmbH
Priority date (The priority date is an assumption and is not a legal conclusion. Google has not performed a legal analysis and makes no representation as to the accuracy of the date listed.)
Filing date
Publication date
Application filed by Kaessbohrer Transport Technik GmbH filed Critical Kaessbohrer Transport Technik GmbH
Priority to EP19158578.5A priority Critical patent/EP3699057B1/de
Publication of EP3699057A1 publication Critical patent/EP3699057A1/de
Application granted granted Critical
Publication of EP3699057B1 publication Critical patent/EP3699057B1/de
Publication of EP3699057C0 publication Critical patent/EP3699057C0/de
Active legal-status Critical Current
Anticipated expiration legal-status Critical

Links

Images

Classifications

    • BPERFORMING OPERATIONS; TRANSPORTING
    • B61RAILWAYS
    • B61DBODY DETAILS OR KINDS OF RAILWAY VEHICLES
    • B61D3/00Wagons or vans
    • B61D3/16Wagons or vans adapted for carrying special loads
    • B61D3/18Wagons or vans adapted for carrying special loads for vehicles
    • B61D3/182Wagons or vans adapted for carrying special loads for vehicles specially adapted for heavy vehicles, e.g. public work vehicles, trucks, trailers
    • B61D3/184Wagons or vans adapted for carrying special loads for vehicles specially adapted for heavy vehicles, e.g. public work vehicles, trucks, trailers the heavy vehicles being of the trailer or semi-trailer type
    • BPERFORMING OPERATIONS; TRANSPORTING
    • B61RAILWAYS
    • B61DBODY DETAILS OR KINDS OF RAILWAY VEHICLES
    • B61D3/00Wagons or vans
    • B61D3/16Wagons or vans adapted for carrying special loads
    • B61D3/20Wagons or vans adapted for carrying special loads for forwarding containers
    • BPERFORMING OPERATIONS; TRANSPORTING
    • B61RAILWAYS
    • B61DBODY DETAILS OR KINDS OF RAILWAY VEHICLES
    • B61D47/00Loading or unloading devices combined with vehicles, e.g. loading platforms, doors convertible into loading and unloading ramps
    • B61D47/005Loading or unloading devices combined with road vehicles carrying wagons, e.g. ramps, turntables, lifting means

Definitions

  • the invention relates to a support device with the features of the preamble of claim 1 and a rail vehicle in the form of a pocket wagon with at least one such support device, as well as a method for loading a rail vehicle using at least one such support device.
  • cranable cargo refers to a cargo which itself has gripping edges for a lifting device, that is to say can be loaded by a lifting device essentially without further aids.
  • a cranable semi-trailer can be named as an example of a load that can be craned directly.
  • Cargo that cannot be craned directly refers to cargo that does not itself have any gripping edges for a lifting device. Such cargo is often loaded by means of a lifting device, the lifting device having gripping edges for a lifting device. Such a lifting device can therefore not be made cranable directly cranable cargo.
  • An ordinary semi-trailer or, for example, a car can be named as an example of a load that cannot be craned directly.
  • Liftable carrying devices known in the prior art are limited to loading the pocket of a rail vehicle with cargo that cannot be craned directly by means of the carrying device and empty transports.
  • the bag of the rail vehicle is only loaded with a carrying device without cargo.
  • Carrying devices therefore place restrictive requirements on the cargo to be loaded. Due to the limited suitability of carrying devices known in the prior art, increased demands are placed on the transport logistics, since empty transports are to be avoided for economic reasons.
  • a generic support device is based, for example, on WO 2016/141399 A1 emerged.
  • the object of the invention is to provide a generic carrying device in which the problems discussed above are avoided and in particular a broader suitability for different cargo results.
  • a liftable support device also has a support frame with at least two interconnected, at least partially a certain height extending longitudinal beams, wherein the support frame has a certain length along the at least two longitudinal beams extending between these, Has drive-on support for the cargo.
  • the at least two longitudinal members each have at least two gripping edges (generally lifting points) for the lifting device.
  • the liftable support device also has support surfaces for setting up the support device directly on a terminal floor.
  • the at least two gripping edges for the lifting device is detachably arranged on the respective longitudinal member of the at least two longitudinal members.
  • the height of the respective longitudinal member in the area of the gripping edges can be reduced.
  • a gripping edge of a load placed on the carrying device can be made accessible to the lifting device.
  • cranable loads especially, for example, cranable semitrailers (also known as cranable trailers)
  • the gripping edges are usually arranged at a certain, often predetermined or even standardized height relative to the roadway on which the semitrailer stands.
  • the depth of a pocket of a pocket wagon is now selected on the one hand so that the craneable load can be deposited in the pocket without the grippers of the lifting device used colliding with the pocket.
  • care must be taken to ensure that craneable cargo sits as deep as possible in the pocket of the rail vehicle in order to keep the center of gravity of the pocket wagon and the cargo low.
  • analogous requirements can be given.
  • the gripping edges of a craneable load arranged in the pocket are at essentially the same height and longitudinal position relative to the pocket wagon as the gripping edges of a carrying device arranged in the pocket.
  • the detachable arrangement of the gripping edges of the carrying device can enable the cranable cargo to be placed on the carrying device already arranged in the bag by a lifting process.
  • the releasable gripping edges of the respective longitudinal member of the Support device are released and a collision of the gripper of the lifting device with the gripping edges of the support device can be prevented.
  • cranable semitrailers For the example of cranable semitrailers, it can therefore be made possible that these can be lifted with a lifting device onto a carrying device already arranged in a pocket of a pocket wagon. It can also be made possible that a cranable semi-trailer, which is parked on a carrying device arranged in a pocket of a pocket wagon, can be lifted out of the pocket while the carrying apparatus remains in the pocket wagon.
  • the carrying device can thus be suitable for a wide variety of craneable and not cranable loads.
  • the releasable gripping edges are designed to be laterally accessible on the side members. It can therefore be provided that the gripping edges are accessible in a direction transverse to the longitudinal extension of the longitudinal beams.
  • gripping edges are accessible and detachable from outside the pocket.
  • the gripping edges for the lifting device can each be moved between at least one use position and at least one storage position.
  • a use position can correspond to a position of the respective gripping edges, in which the gripper of a lifting device can grip the gripping edges for a lifting process.
  • a Storage position can correspond to a position of the respective gripping edges in which they have been moved out of their position of use. In the storage position, the gripping edges can be positioned in such a way that they allow the grippers of a lifting device to reach a load placed on the carrying device (especially its gripping edges).
  • the mobility of the gripping edges can preferably be limited. Particularly preferably, the gripping edges can each be pivotable between at least one use position and at least one storage position.
  • the gripping edges for the lifting device are each formed on a detachable bracket.
  • the bracket can be designed to be pivotable or foldable, for example.
  • the at least two longitudinal members each have a reduced height in relation to the vertical extent H in sections. This makes it possible for fixing means arranged on the rail vehicle to be arranged in the area above the at least two longitudinal members.
  • the longitudinal members have at least two recesses on the upper side in the sections with a reduced height. By providing recesses, areas can be created with a height deviating from the greatest height extension of the longitudinal beams.
  • the longitudinal beams have at least one stiffening element, for example an upper chord, at least in sections in the sections with the height extension H.
  • the at least one stiffening element can prevent the support device from bending or buckling during the lifting process, and the at least one stiffening element can also help to keep the wall thickness of the side members as small as possible.
  • the longitudinal beams have at least one stiffening element, for example an upper chord, at least in sections in the sections with the height which is reduced compared to the height extension H. It is conceivable that the gripping edges of the support device are arranged on this at least one stiffening element. If the gripping edges are formed on a releasable bracket, the releasable bracket can be arranged on this at least one stiffening element.
  • the at least one stiffening element is designed transversely to a longitudinal extension of the longitudinal beams and transversely to the vertical extension of the longitudinal beams.
  • the at least one stiffening element can be arranged, for example, on the outside of the longitudinal beams in order not to impair the available width between the longitudinal beams.
  • the stiffening element can preferably be designed in the form of at least one web projecting from the longitudinal beams.
  • the length of the drive-on support essentially corresponds to the length of the longitudinal beams.
  • the drive-on support ends flush with the longitudinal members on the end face of the support device.
  • the length of the drive-on support can be maximized, which can result in a high degree of variability for the support of cargo (for example for the support position of support feet for the cargo).
  • the length of the drive-on support is preferably less than the longitudinal extension of the pocket of the pocket wagon.
  • the length of the drive-on support corresponds to more than half (50%) of the longitudinal extent of the pocket and less than 3/4 (75%) of the longitudinal extent of the pocket of the pocket wagon.
  • the drivable support for the load has an offset.
  • the contour of the drivable support can follow a contour of the pocket wagon.
  • the drivable support for the load has at least one stop for a cross member of the rail vehicle in a free space created by the offset. This can, for example, result in a safeguard against unintentional longitudinal displacement of the carrying device inserted into the pocket, for example when the rail vehicle moves. Likewise, the positioning of the carrying device in the pocket of the pocket wagon during the process of arranging the carrying device in the pocket can thereby be facilitated.
  • the stop is preferably designed in the form of an elastic buffer, for example a block made of elastic rubber.
  • the support frame has at least one longitudinal support, via which the support device can be supported on fixing means of the rail vehicle.
  • the fixing means used for the support are preferably arranged at the end of the rail vehicle. This can, for example, result in a safeguard against unintentional longitudinal displacement of the carrying device inserted into the pocket, for example when the rail vehicle moves.
  • the longitudinal support can be designed, for example, in the form of optionally adjustable-length support arms which can be connected on the one hand to the support device and on the other hand to the rail vehicle.
  • At least two receiving openings are provided for fixing means for fixing the support device on the rail vehicle.
  • the receiving openings can be provided for fixing the carrying device on fixing means arranged above and outside the pocket of the pocket wagon.
  • the receiving openings are preferred for receiving ISO cones formed.
  • the receiving openings are particularly preferably designed in the drive-on support, for example as openings in the drive-on support.
  • Protection is also sought for a rail vehicle in the form of a pocket wagon, with a pocket and fixing means arranged movably between two positions on the pocket wagon, and with at least one support device as described above, with at least one support device over the entire length L A of the drivable support inside the pocket is arranged and the at least two longitudinal beams each have in sections a height reduced compared to the vertical extent H such that the fixing means arranged on the rail vehicle can be arranged in the area above the at least two longitudinal beams.
  • the rail vehicle makes it possible for the rail vehicle to be able to be loaded with cargo and / or one or more optionally loaded carrying device (s) outside the bag, regardless of the loading condition of the bag.
  • the cargo or carrying device (s) loaded outside the pocket on the rail vehicle can (at least partially) be supported and fixed on the said fixing means. A load on a carrying device possibly present in the pocket can thereby be avoided.
  • the vertical extension H of the longitudinal members protrudes in sections beyond the upper edge of the pocket of the pocket wagon.
  • the vertical extension H of the side members can be greater in sections than the depth of the pocket of the pocket wagon.
  • the height (seen from the drive-on support) of the sections with the reduced height compared to the height extension H can be essentially the same as the height of the carrier device arranged in the pocket The upper edge of the pocket of the pocket wagon.
  • the height of the sections with the reduced height compared to the height extension H can essentially correspond to the depth of the pocket of the pocket wagon.
  • the height (as seen from the drivable support) of the sections with the reduced height compared to the height extension H can be the same or less than the height of the upper edge of the pocket of the pocket wagon in the area of the fixing means in the case of the carrying device arranged in the pocket.
  • the arrangement of the fixing means arranged on the rail vehicle in the area above the at least two longitudinal members can advantageously result in a low loading edge for cargo arranged on the fixing means or a further carrying device arranged thereon.
  • the wall thickness of the longitudinal members can be kept as small as possible in order to be able to make the best possible use of the interior space (clear width) between the longitudinal members.
  • the variable height extension also makes it economically advantageous to place lower demands on the strength of the steel used.
  • the fixing means arranged on the rail vehicle are arranged in the area of the pocket of the pocket wagon. It should not be ruled out that the rail vehicle also has fixing means in areas outside the pocket, for example in areas of the end faces of the rail vehicle.
  • Protection is also sought for rail vehicles in the form of a pocket wagon, in particular in the form of the pocket wagon described above, with a pocket and, preferably movable between two positions, fixing means arranged on the pocket wagon and with at least one carrying device as described above, which is above the pocket on the fixing means of the pocket wagon is fixed.
  • the carrying device can be fixed above the pocket with at least part of its longitudinal extension.
  • fixing means can be provided above and outside the pocket of the pocket wagon, for example in areas of the end faces of the rail vehicle.
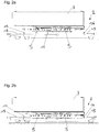
  • a first embodiment of a support device 1 is shown, the support device 1 having a support frame 8 with two longitudinal beams 4 as shown.
  • the longitudinal beams 4 are connected to one another and have a vertical extent H in sections.
  • the support frame 8 also has a drivable support 10 for cargo 3 (see FIG. 3), which extends with a length L A along the two longitudinal members 4 and runs between them Figure 2 ) on.
  • the two longitudinal members 4 each have two gripping edges 5, formed on brackets 19, for a lifting device (not shown).
  • the support device 1 can be set up directly on a terminal floor 7 with its support surfaces 6 arranged on the underside of the support frame 8.
  • the gripping edges 5, on which a lifting device for lifting the support device 1 can act are detachably arranged on the respective longitudinal member 4. Details on the gripping edges 5 of the in Figure 1 Support device 1 shown are the Figures 7a to 7c refer to. Alternative designs of releasable gripping edges 5 are in the Figures 8a to 8c and 9a to 9c shown.
  • the two longitudinal members 4 each have in sections a height that is reduced compared to the vertical extension H.
  • two recesses 13 are provided on the upper side of the longitudinal members 4.
  • the length L A of the drive-on support 10 essentially corresponds to the length of the longitudinal beams 4. However, this need not be the case. It is also conceivable that the length of the drivable support 10 differs from the length of the longitudinal beams 4.
  • the receiving openings 9 are designed as openings in the drive-on support 10.
  • the drivable support 10 has an offset 11, that is to say a course deviating from a straight or flat course.
  • At least one stop 12 is provided in the free space created by the crank 11 (see FIG Figure 1c ), which can be designed, for example, in the form of an elastic buffer.
  • a cross member 17 (see for example Figure 2c ) of a rail vehicle 2 protrude, whereby, for example, a support device 1 inserted into a pocket 14 of a rail vehicle 2 can be secured against undesired displacement movements, in particular during empty transport.
  • the longitudinal members 4 each have a stiffening element in the sections with the height extension H. 18 on.
  • the stiffening elements 18 are each designed in the form of a web protruding laterally from the longitudinal beams 4.
  • the longitudinal beams 4 also have a stiffening element 18 in some areas in the sections with the height that is reduced compared to the vertical extent H.
  • the releasable brackets 19 with the gripping edges 5 formed thereon are arranged on the upper side of these stiffening elements 18.
  • FIG. 2a to 2d is a loading process (or, in reverse order, an unloading process) of an arrangement comprising a rail vehicle 2 and a support device 1 according to the embodiment of FIG Figure 1 shown.
  • the carrying device 1 is loaded with a load 3 in the form of a vehicle which itself cannot be craned directly.
  • the shown loading state of the carrying device 1 can be given, for example, by the fact that a load 3 in the form of a vehicle which itself cannot be directly craned was driven onto a carrying device 1 set up on a terminal floor 7 and placed thereon.
  • the carrying device 1 loaded in this way can have been lifted together with the cargo 3 by a lifting device engaging the gripping edges 5 of the carrying device 1 and, as shown, moved over a pocket 14 of a rail vehicle 2.
  • the ones in the Figures 2a to 2b The fixing means 15 shown on the end face and adjacent to the pocket 14 on the rail vehicle 2 can be used for different loading configurations, for example in FIGS Figures 3 , 4th and 5 can be used.
  • FIGS 3a to 3c 3 are a side view and detailed views of an arrangement of a rail vehicle 2 and a support device 1 according to the embodiment of FIG Figure 1 shown, wherein the support device 1 is loaded with cargo 3 in the form of a directly cranable vehicle.
  • the representation of the Figure 3a can, for example, correspond to a loading state immediately after parking (or also immediately before lifting out) the load 3 in the form of the directly craneable vehicle onto (or from) the carrying device 1 arranged in the pocket 14 of the rail vehicle 2.
  • the loading state shown can result, for example, from the fact that a carrying device 1 provided on a terminal floor 7 was raised with a lifting device that engages the gripping edges 5 of the carrying device 1 and arranged inside the pocket 14 of the rail vehicle 2 in the form of a pocket wagon, followed by a A terminal floor 7 provided directly cranable cargo 3 in the form of a cranable vehicle with a lifting device engaging the gripping edges 20 of the cranable vehicle and placed on the support device 1 already arranged in the pocket 14 of the rail vehicle 2 (lifting can be done in reverse order) .
  • a cargo 3 in the form of a container is arranged above the pocket 14 of the rail vehicle 2, the cargo 3 being supported on fixing means 15 arranged adjacent to the pocket 14 and on the front side of the rail vehicle 2 and being fixed to these.
  • Loads 3 in the form of containers are arranged above the pocket 14 of the rail vehicle 2, the containers being supported on fixing means 15 arranged adjacent to the pocket 14 and on fixing means 15 arranged in the region of the pocket 14.
  • the fixing means 15 arranged in the area of the pocket 14 can be moved between two positions (a use position and a storage position), said fixing means 15 being arranged in the use position above the pocket 14 and in the storage position essentially completely outside the pocket 14, for example in each case are arranged on an outside of the pocket wagon.
  • the two longitudinal members 4 of the support device 1 arranged over the entire length L A of the drivable support 10 within the pocket 14 each have a height that is reduced in sections compared to the height extension H (see also FIG Figure 1a and 1c ) that the fixing means 15 arranged on the rail vehicle 2 can be arranged in the area above the at least two longitudinal members 4.
  • a carrying device 1 is located in the pocket 14 of the rail vehicle 2, which is designed in the form of a pocket wagon. Another carrying device 1 is arranged above the pocket 14 and is supported and fixed on the one hand on fixing means 15 arranged on the end face of the rail vehicle 2 and engaging in the receiving openings 9, and on the other hand, supported and fixed on fixing means 15 arranged on the rail vehicle 2 and in the area above the pocket 14.
  • the recesses 13 on the upper side of the longitudinal beams 4 make it possible to arrange these fixing means 15 arranged on the rail vehicle 2 in the area above the at least two longitudinal beams 4.
  • additional fixing means 15 can be used in the area of the pocket 14, while a carrying device 1 is arranged in the pocket 14.
  • a third carrying device 1 is additionally arranged above the pocket 14.
  • Such an arrangement of support devices 1 enables the rail vehicle 2 to be used in the form of a pocket wagon in a manner analogous to a flat wagon.
  • FIGS. 6a and 6b are detailed views of a support device 1 inserted into a pocket 14 of a rail vehicle 2 according to the embodiment of FIG Figure 1 shown.
  • crank 11 can initially be seen in the drivable support 10 of the carrying device 1, a cross member 17 of the rail vehicle 2 protruding into the free space created by the crank 11.
  • the height (seen from the drivable support 10) of the sections with the reduced height compared to the height extension H is lower in this embodiment in the case of the carrying device 1 arranged in the pocket 14 than the height of the upper edge 21 of the pocket 14 of the pocket wagon in the area of the fixing means 15. This is for example also in the side view of the Figure 7a recognizable.
  • FIG. 7a to 7c is an embodiment of the releasable gripping edges 5 according to the embodiment of the support device 1 of Figure 1 shown.
  • the gripping edge 5 is formed on a bracket 19 that can be pivoted about a horizontal pivot axis.
  • the bracket 19 is pivotably mounted on both sides with releasable locking devices 22 on the longitudinal beam 4 of the support device 1.
  • the position of the bracket 19 shown corresponds to the position of use in which the grippers of a lifting device can grip the gripping edges 5 for a lifting process.
  • bracket 19 corresponds to the storage position in which the grippers of a lifting device are allowed to reach a load 3 placed on the carrying device 1 (see FIG Figures 3a to 3c ).
  • the bracket 19 can also be completely detached from the support device 1.
  • FIG. 8a to 8c a further embodiment of the releasable gripping edges 5 is shown.
  • the gripping edges 5 are formed on a bracket 19 that can be pivoted about vertical pivot axes.
  • the pivotable mounting of the bracket 19 on the longitudinal member 4 is implemented here by a screw connection 23.
  • the ones in the Figures 8a to 8c The positions shown correspond in their suitability to those of the Figures 7a to 7c .
  • the bracket 19 can also be completely detached from the support device 1.
  • FIG. 9a to 9c a further embodiment of the releasable gripping edges 5 is shown.
  • the gripping edges 5 are formed on a bracket 19 that is displaceable along a guide rail 24 and can be locked with a bolt 25.
  • the ones in the Figures 9a to 9c The suitability of the positions shown can in principle match those of the Figures 7a to 7c correspond. However, it is also possible that each of the Figures 9a to 9c The position shown corresponds to a position of use or a storage position.
  • the bracket 19 can also be completely detached from the support device 1.
  • FIGS Figure 10 a side view of an arrangement with a rail vehicle 2 and a fourth embodiment of a support device 1 is shown.
  • This embodiment differs essentially from that of the one discussed above in that the gripping edges 5 are formed in the longitudinal members 4.
  • FIG 11 A perspective view of an embodiment of a longitudinal support 16 is shown, via which the support device 1 can be supported on fixing means 15 of the rail vehicle 2.
  • the fixing means 15 used for support are arranged here on the front side adjacent to the pocket 14 on the rail vehicle 2.
  • FIG. 3 is a perspective view of a possible loading state of an arrangement with a rail vehicle 2 and a support device 1 according to the embodiment of FIG Figure 1
  • the carrying device 1 arranged in the pocket 14 of the rail vehicle 2 is loaded with a non-craneable cargo 3 in the form of a vehicle and a cargo in the form of a container 3 above the pocket 14 is additionally loaded onto the fixing means 15 arranged on the rail vehicle 2.
  • FIG. 3 is a perspective view of the stacked support devices 1 according to the embodiment of FIG Figure 1 shown.

Landscapes

  • Engineering & Computer Science (AREA)
  • Transportation (AREA)
  • Mechanical Engineering (AREA)
  • Loading Or Unloading Of Vehicles (AREA)
  • Jib Cranes (AREA)

Abstract

Hebbare Tragvorrichtung (1) für das Beladen eines Schienenfahrzeuges (2) mit Ladegut (3) durch eine Hubvorrichtung, mit:
- einem Tragrahmen (8), welcher zumindest zwei Längsträger (4) aufweist, die miteinander verbunden sind und zumindest abschnittsweise eine Höhenerstreckung (H) aufweisen, wobei der Tragrahmen (8) eine sich mit einer Länge (LA) entlang der zumindest zwei Längsträgern (4) erstreckende, zwischen diesen verlaufende, befahrbare Abstützung (10) für das Ladegut (3) aufweist und wobei die zumindest zwei Längsträger (4) jeweils wenigstens zwei Greifkanten (5) für die Hubvorrichtung aufweisen
- Aufstandsflächen (6) zum unmittelbaren Aufstellen der Tragvorrichtung (1) auf einem Terminalflur (7)
wobei die jeweils wenigstens zwei Greifkanten (5) für die Hubvorrichtung lösbar an dem jeweiligen Längsträger (4) der zumindest zwei Längsträger (2) angeordnet sind.

Description

  • Die Erfindung betrifft eine Tragvorrichtung mit den Merkmalen des Oberbegriffs des Anspruchs 1 und ein Schienenfahrzeug in Form eines Taschenwagens mit wenigstens einer solchen Tragvorrichtung, sowie ein Verfahren zum Beladen eines Schienenfahrzeugs unter Verwendung wenigstens einer solchen Tragvorrichtung.
  • Im Stand der Technik sind im Zusammenhang mit dem Beladen eines Schienenfahrzeuges mit Ladegut durch eine Hubvorrichtung grundsätzlich Ladegüter in Form von unmittelbar kranbarem Ladegut und nicht unmittelbar kranbaren Ladegut bekannt.
  • Unmittelbar kranbares Ladegut bezieht sich auf ein Ladegut, welches selbst Greifkanten für eine Hubvorrichtung aufweist, also im Wesentlichen ohne weitere Hilfsmittel von einer Hubvorrichtung verladen werden kann. Als Beispiel für ein unmittelbar kranbares Ladegut kann ein kranbarer Sattelauflieger genannt werden.
  • Nicht unmittelbar kranbares Ladegut bezieht sich auf ein Ladegut, welches selbst keinerlei Greifkanten für eine Hubvorrichtung aufweist. Solches Ladegut wird oft mittels einer hebbaren Tragvorrichtung verladen, wobei die hebbare Tragvorrichtung Greifkanten für eine Hubvorrichtung aufweisen. Durch eine solche Hubvorrichtung kann also nicht unmittelbar kranbares Ladegut kranbar gemacht werden. Als Beispiel für ein nicht unmittelbar kranbares Ladegut kann ein gewöhnlicher Sattelauflieger oder beispielsweise ein Pkw genannt werden.
  • Im Stand der Technik bekannte hebbare Tragvorrichtungen sind auf das Beladen der Tasche eines Schienenfahrzeugs mit nicht unmittelbar kranbarem Ladegut mittels der Tragvorrichtung und Leertransporte beschränkt. Bei einem Leertransport wird die Tasche des Schienenfahrzeugs lediglich mit einer Tragvorrichtung ohne Ladegut beladen. Im Stand der Technik bekannte Tragvorrichtungen stellen somit einschränkende Anforderungen an das zu verladende Ladegut. Durch eine so eingeschränkte Eignung von im Stand der Technik bekannten Tragvorrichtungen werden erhöhte Anforderungen an die Transportlogistik gestellt, da Leertransporte aus wirtschaftlichen Gründen zu vermeiden sind.
  • Eine gattungsgemäße Tragvorrichtung geht beispielsweise aus der WO 2016/141399 A1 hervor.
  • Aufgabe der Erfindung ist die Bereitstellung einer gattungsgemäßen Tragvorrichtung, bei welchen die oben diskutierten Probleme vermieden werden und sich insbesondere eine breitere Eignung für unterschiedliche Ladegüter ergibt.
  • Diese Aufgabe wird durch eine hebbare Tragvorrichtung mit den Merkmalen des Oberbegriffs des Anspruchs 1 gelöst. Vorteilhafte Ausführungsformen der Erfindung sind in den abhängigen Ansprüchen definiert.
  • Wie im Stand der Technik bekannte Tragvorrichtungen weist eine erfindungsgemäße hebbare Tragvorrichtung auch einen Tragrahmen mit zumindest zwei miteinander verbundenen, zumindest abschnittsweise eine gewisse Höhenerstreckung aufweisenden Längsträger auf, wobei der Tragrahmen eine sich mit einer gewissen Länge entlang der zumindest zwei Längsträgern erstreckende, zwischen diesen verlaufende, befahrbare Abstützung für das Ladegut aufweist. Die zumindest zwei Längsträger weisen jeweils wenigstens zwei Greifkanten (allgemein Anhebepunkte) für die Hubvorrichtung auf. Auch weist die hebbare Tragvorrichtung Aufstandsflächen zum unmittelbaren Aufstellen der Tragvorrichtung auf einem Terminalflur auf.
  • Im Unterschied zum Stand der Technik ist bei einer erfindungsgemäßen Tragvorrichtung vorgesehen, dass die jeweils wenigstens zwei Greifkanten für die Hubvorrichtung lösbar an dem jeweiligen Längsträger der zumindest zwei Längsträger angeordnet sind.
  • Durch das Lösen der Greifkanten von dem jeweiligen Längsträger kann die Höhe des jeweiligen Längsträgers im Bereich der Greifkanten verringert werden. Dadurch kann eine Greifkante eines auf der Tragvorrichtung abgestellten Ladeguts für die Hubvorrichtung erreichbar gemacht werden.
  • Bei kranbaren Ladegütern, speziell beispielsweise bei kranbaren Sattelaufliegern (auch kranbare Trailer genannt), ist es in der Praxis so, dass die Greifkanten üblicherweise in einer gewissen, oftmals vorgegebenen oder gar normierten Höhenlage gegenüber der Fahrbahn, auf welcher der Sattelauflieger aufsteht, angeordnet sind. Die Tiefe einer Tasche eines Taschenwagens ist nun einerseits so gewählt, dass das kranbare Ladegut in der Tasche abgesetzt werden kann, ohne dass die Greifer der verwendeten Hubvorrichtung mit der Tasche kollidieren. Andererseits muss auch darauf geachtet werden, dass kranbaren Ladegut möglichst tief in der Tasche des Schienenfahrzeugs sitzt, um den Schwerpunktslage des Taschenwagens und des Ladeguts niedrig zu halten. Für die Positionierung der Greifkanten an der Tragvorrichtung können analoge Voraussetzungen gegeben sein.
  • Es kann somit vorkommen, dass sich die Greifkanten eines in der Tasche angeordneten, kranbaren Ladeguts an der im Wesentlichen gleichen Höhen- und Längsposition relativ zum Taschenwagen befinden, wie die Greifkanten einer in der Tasche angeordneten Tragvorrichtung.
  • Soll nun kranbares Ladegut gemeinsam mit der hebbaren Tragvorrichtung gemeinsam in der Tasche eines Taschenwagens angeordnet werden, kann durch die lösbare Anordnung der Greifkanten der Tragvorrichtung ermöglicht werden, dass das kranbare Ladegut durch einen Hubvorgang auf die bereits in der Tasche angeordnete Tragvorrichtung abgestellt werden kann. Dabei können die lösbaren Greifkanten von dem jeweiligen Längsträger der Tragvorrichtung gelöst werden und eine Kollision der Greifer der Hubvorrichtung mit den Greifkanten der Tragvorrichtung verhindert werden.
  • Andererseits kann so ermöglicht werden, dass gemeinsam mit der Tagvorrichtung in einer Tasche eines Taschenwagens angeordnetes, kranbares Ladegut, welches auf der Tragvorrichtung abgestellt ist, gesondert von der Tragvorrichtung aus der Tasche gehoben werden kann.
  • Für das Beispiel von kranbaren Sattelauflieger an kann es also ermöglicht werden, dass diese mit einer Hubvorrichtung auf eine bereits in einer Tasche eines Taschenwagens angeordnete Tragvorrichtung gehoben werden können. Auch kann es ermöglicht werden, dass ein kranbarer Sattelauflieger, welcher auf einer in einer Tasche eines Taschenwagens angeordneten Tragvorrichtung abgestellt ist, aus der Tasche gehoben werden kann, während die Tragvorrichtung im Taschenwagen verbleibt.
  • Die Tragvorrichtung kann sich dadurch für unterschiedlichste kranbare und nicht selbst kranbare Ladegüter eignen.
  • Es kann allgemein vorgesehen sein, dass die lösbaren Greifkanten seitlich zugänglich an den Längsträgern ausgebildet sind. Es kann also vorgesehen sein, dass die Greifkanten in einer Richtung quer zur Längserstreckung der Längsträger zugänglich sind.
  • Es kann allgemein vorgesehen sein, dass die Greifkanten von außerhalb der Tasche zugänglich und lösbar sind.
  • Dabei kann von Vorteil sein, wenn die Greifkanten für die Hubvorrichtung jeweils zwischen zumindest einer Verwendungsposition und zumindest einer Verwahrposition bewegbar sind. Eine Verwendungsposition kann einer Position der jeweiligen Greifkanten entsprechen, in welcher die Greifer eine Hubvorrichtung an die Greifkanten für einen Hubvorgang angreifen kann. Eine Verwahrposition kann einer Position der jeweiligen Greifkanten entsprechen, in welcher diese aus deren Verwendungsposition herausbewegt wurden. In der Verwahrposition können die Greifkanten derart positioniert sein, dass diese den Greifern einer Hubvorrichtung ein Erreichen eines auf der Tragvorrichtung abgestellten Ladeguts (speziell dessen Greifkanten) gestatten. Die Bewegbarkeit der Greifkanten kann vorzugsweise begrenzt sein. Besonders bevorzugt können die Greifkanten jeweils zwischen zumindest einer Verwendungsposition und zumindest einer Verwahrposition verschwenkbar sein.
  • Es kann von Vorteil sein, wenn die Greifkanten für die Hubvorrichtung jeweils an einem lösbaren Bügel ausgebildet sind. Der Bügel kann beispielsweise schwenkbar oder klappbar ausgebildet sein.
  • Es kann von Vorteil sein, wenn die zumindest zwei Längsträger jeweils abschnittsweise eine gegenüber der Höhenerstreckung H verringerte Höhe aufweisen. Dadurch kann ermöglicht werden, dass am Schienenfahrzeug angeordnete Fixiermittel im Bereich oberhalb der zumindest zwei Längsträger anordenbar sind.
  • Dabei kann vorteilhaft sein, wenn die Längsträger in den Abschnitten mit verringerter Höhe an der Oberseite zumindest zwei Ausnehmungen aufweisen. Durch das Vorsehen von Ausnehmungen können Bereiche mit von der größten Höhenerstreckung der Längsträger abweichender Höhe geschaffen werden.
  • Es kann vorteilhaft sein, wenn die Längsträger zumindest abschnittsweise in den Abschnitten mit der Höhenerstreckung H zumindest ein Versteifungselement, beispielsweise einen Obergurt, aufweisen. Das zumindest eine Versteifungselement kann ein Durchbiegen oder Ausknicken der Tragvorrichtung während des Hebevorganges verhindern auch kann das zumindest eine Versteifungselement dazu beitragen, die Wandstärke der Längsträger so gering wie möglich zu halten.
  • Es kann vorteilhaft sein, wenn die Längsträger zumindest abschnittsweise in den Abschnitten mit der gegenüber der Höhenerstreckung H verringerten Höhe zumindest ein Versteifungselement, beispielsweise einen Obergurt, aufweisen. Es ist denkbar, dass die Greifkanten der Tragvorrichtung auf diesem zumindest einen Versteifungselement angeordnet sind. Sind die Greifkanten an einem lösbaren Bügel ausgebildet, kann der lösbare Bügel an diesem zumindest einen Versteifungselement angeordnet sein.
  • Dabei kann jeweils vorteilhaft sein, wenn das zumindest eine Versteifungselement quer zu einer Längserstreckung der Längsträger und quer zur Höhenerstreckung der Längsträger ausgebildet ist. Das zumindest eine Versteifungselement kann beispielsweise an der Außenseite der Längsträger angeordnet sein, um die zur Verfügung stehende Breite zwischen den Längsträgern nicht zu beeinträchtigen. Vorzugsweise kann das Versteifungselement in Form von zumindest einem von den Längsträgern abstehenden Steg ausgebildet sein.
  • Es kann vorteilhaft sein, wenn die Länge der befahrbaren Abstützung im Wesentlichen der Länge der Längsträger entspricht. Zum Beispiel falls vorgesehen sein, dass die befahrbare Abstützung jeweils stirnseitig an der Tragvorrichtung bündig mit den Längsträgern abschließt. Dadurch kann die Länge der befahrbaren Abstützung maximiert werden, wodurch sich eine hohe Variabilität für die Abstützung von Ladegut (beispielsweise für die Abstützposition von Stützfüßen des Ladeguts) ergeben kann. Vorzugsweise ist die Länge der befahrbaren Abstützung geringer als die Längserstreckung der Tasche des Taschenwagens. Besonders bevorzugt entspricht die Länge der befahrbaren Abstützung mehr als der Hälfte (50%) der Längserstreckung der Tasche und weniger als 3/4 (75%) der Längserstreckung der Tasche des Taschenwagens.
  • Es kann vorteilhaft sein, wenn die befahrbare Abstützung für das Ladegut eine Kröpfung aufweist. Dadurch kann die Kontur der befahrbaren Abstützung einer Kontur des Taschenwagens folgen.
  • Dabei kann vorteilhaft sein, wenn die befahrbare Abstützung für das Ladegut in einem durch die Kröpfung geschaffenen Freiraum zumindest einen Anschlag für einen Querträger des Schienenfahrzeugs aufweist. Es kann sich dadurch beispielsweise eine Sicherung gegen einen unbeabsichtigten Längsversatz der in die Tasche eingesetzten Tragvorrichtung, etwa bei Bewegungen des Schienenfahrzeugs, ergeben. Ebenso kann sich dadurch die Positionierung der Tragvorrichtung in der Tasche des Taschenwagens beim Vorgang des Anordnens der Tragvorrichtung in der Tasche erleichtern lassen. Vorzugsweise ist der Anschlag in Form eines elastischen Puffers, beispielsweise eines Blocks aus elastischem Gummi, ausgebildet.
  • Es kann vorteilhaft sein, wenn der Tragrahmen zumindest eine Längsabstützung aufweist, über welche die Tragvorrichtung an Fixiermitteln des Schienenfahrzeugs abstützbar ist. Die zur Abstützung verwendeten Fixiermittel sind vorzugsweise stirnseitig am Schienenfahrzeug angeordnet. Es kann sich dadurch beispielsweise eine Sicherung gegen einen unbeabsichtigten Längsversatz der in die Tasche eingesetzten Tragvorrichtung, etwa bei Bewegungen des Schienenfahrzeugs, ergeben. Die Längsabstützung kann beispielsweise in Form von gegebenenfalls längenveränderbaren Stützarmen, welche einerseits mit der Tragvorrichtung und andererseits mit dem Schienenfahrzeug verbindbar sind, ausgebildet sein.
  • Es kann vorteilhaft sein, wenn wenigstens zwei, an der Unterseite des Tragrahmens angeordnete Aufnahmeöffnungen für Fixiermittel zum Fixieren der Tragvorrichtung am Schienenfahrzeug vorgesehen sind. Die Aufnahmeöffnungen können zum Fixieren der Tragvorrichtung an oberhalb und außerhalb der Tasche des Taschenwagens angeordneten Fixiermitteln vorgesehen sein. Bevorzugt sind die Aufnahmeöffnungen zur Aufnahme von ISO-Zapfen ausgebildet. Besonders bevorzugt sind die Aufnahmeöffnungen in der befahrbaren Abstützung ausgebildet, beispielsweise als Durchbrüche in der befahrbaren Abstützung.
  • Auch wird Schutz begehrt für ein Schienenfahrzeug in Form eines Taschenwagens, mit einer Tasche und zwischen zwei Stellungen bewegbar am Taschenwagen angeordneten Fixiermitteln, und mit wenigstens einer wie zuvor beschriebenen Tragvorrichtung, wobei zumindest eine Tragvorrichtung über die gesamte Länge LA der befahrbaren Abstützung innerhalb der Tasche angeordnet ist und die zumindest zwei Längsträger jeweils abschnittsweise eine solche gegenüber der Höhenerstreckung H verringerte Höhe aufweisen, dass die am Schienenfahrzeug angeordneten Fixiermittel im Bereich oberhalb der zumindest zwei Längsträger anordenbar sind.
  • Dadurch kann es ermöglicht werden, dass das Schienenfahrzeug unabhängig vom Beladungszustand der Tasche auch außerhalb der Tasche mit Ladegut und/oder einer oder mehreren gegebenenfalls beladenen Tragvorrichtung(en) beladen werden kann. Die außerhalb der Tasche auf dem Schienenfahrzeug geladenen Ladegüter oder Tragvorrichtung(en) können (zumindest teilweise) auf den besagten Fixiermitteln abgestützt und fixiert werden. Eine Belastung einer gegebenenfalls in der Tasche vorhandenen Tragvorrichtung kann dadurch vermieden werden.
  • Es kann vorgesehen sein, dass bei der in der Tasche angeordneten Tragvorrichtung die Höhenerstreckung H der Längsträger abschnittsweise über die Oberkante der Tasche des Taschenwagens hinausragt. In anderen Worten gesagt, kann abschnittsweise die Höhenerstreckung H der Längsträger größer sein, als die Tiefe der Tasche des Taschenwagens.
  • Die Höhe (von der befahrbaren Abstützung aus gesehen) der Abschnitte mit der gegenüber der Höhenerstreckung H verringerten Höhe kann bei der in der Tasche angeordneten Tragvorrichtung im Wesentlichen der Höhe der Oberkante der Tasche des Taschenwagens entsprechen. In anderen Worten gesagt kann die Höhe der Abschnitte mit der gegenüber der Höhenerstreckung H verringerten Höhe im Wesentlichen der Tiefe der Tasche des Taschenwagens entsprechen.
  • Die Höhe (von der befahrbaren Abstützung aus gesehen) der Abschnitte mit der gegenüber der Höhenerstreckung H verringerten Höhe kann bei der in der Tasche angeordneten Tragvorrichtung gleich groß oder geringer sein, als die Höhe der Oberkante der Tasche des Taschenwagens im Bereich der Fixiermittel.
  • Durch die Anordnung der am Schienenfahrzeug angeordneten Fixiermittel im Bereich oberhalb der zumindest zwei Längsträger kann sich vorteilhaft eine niedrige Ladekante für auf den Fixiermitteln angeordnetes Ladegut oder eine darauf angeordnete weitere Tragvorrichtung ergeben.
  • Dadurch, dass die Längsträger der Tragvorrichtung eine variierende Höhenerstreckung (also Abschnitte mit unterschiedlicher Höhenerstreckung) aufweisen, kann die Wandstärke der Längsträger so gering wie möglich gehalten werden, um den zwischen den Längsträgern bestehenden Innenraum (lichte Weite) bestmöglich nutzen zu können. Bei einer Fertigung der Tragvorrichtung aus Stahl können durch die variable Höhenerstreckung auch wirtschaftlich vorteilhaft geringere Anforderungen an die Festigkeit des verwendeten Stahls gestellt werden.
  • Es kann vorteilhaft sein, wenn die am Schienenfahrzeug angeordneten Fixiermittel im Bereich der Tasche des Taschenwagens angeordnet sind. Es soll nicht ausgeschlossen sein, dass das Schienenfahrzeug auch in Bereichen außerhalb der Tasche, beispielsweise in Bereichen der Stirnseiten des Schienenfahrzeugs, Fixiermittel aufweist.
  • Auch wird Schutz begehrt für Schienenfahrzeug in Form eines Taschenwagens, insbesondere in Form des zuvor beschriebenen Taschenwagens, mit einer Tasche und, vorzugsweise zwischen zwei Stellungen bewegbar, am Taschenwagen angeordneten Fixiermitteln und mit zumindest einer wie zuvor beschriebenen Tragvorrichtung, welche oberhalb der Tasche an den Fixiermitteln des Taschenwagens fixiert ist. Die Tragvorrichtung kann dabei zumindest mit einem Teil ihrer Längserstreckung oberhalb der Tasche fixiert sein. Zur Fixieren der Tragvorrichtung können oberhalb und außerhalb - beispielsweise in Bereichen der Stirnseiten des Schienenfahrzeugs - der Tasche des Taschenwagens angeordnete Fixiermitteln vorgesehen sein.
  • Auch wird Schutz begehrt für ein Verfahren zum Beladen eines Schienenfahrzeug in Form eines Taschenwagens mit wenigstens einem unmittelbar kranbaren Fahrzeug, unter Verwendung einer wie zuvor beschriebenen Tragvorrichtung, dadurch gekennzeichnet, dass das Verfahren zumindest die folgenden Schritte aufweist:
    • Bereitstellen einer Tragvorrichtung auf einem Terminalflur
    • Anheben und Verbringen der Tragvorrichtung mit einer Hubvorrichtung über eine Tasche des Schienenfahrzeugs in Form eines Taschenwagens, wobei die Hubvorrichtung für den Hebevorgang an den wenigstens zwei Greifkanten der Tragvorrichtung angreift
    • Anordnen der Tragvorrichtung über die gesamte Länge LA der befahrbaren Abstützung der Tragvorrichtung innerhalb der Tasche
    • Lösen der wenigstens zwei Greifkanten für die Hubvorrichtung von dem jeweiligen Längsträgern
    • Bereitstellen wenigstens eines unmittelbar kranbaren Fahrzeugs auf einem Terminalflur
    • Anheben und Verbringen des unmittelbar kranbaren Fahrzeugs mit einer Hubvorrichtung über die in der Tasche des Schienenfahrzeugs angeordnete Tragvorrichtung, wobei die Hubvorrichtung für den Hebevorgang an wenigstens zwei Greifkanten des unmittelbar kranbaren Fahrzeugs angreift
    • Abstellen des unmittelbar kranbaren Fahrzeugs auf der in der Tasche des Schienenfahrzeugs angeordneten Tragvorrichtung.
  • Ausführungsbeispiele der Erfindung werden anhand der Figuren diskutiert. Es zeigen:
  • Fig. 1a bis 1d
    eine erste Ausführung einer Tragvorrichtung
    Fig. 2a bis 2d
    einen Beladevorgang einer Anordnung mit einem Schienenfahrzeug und einer Tragvorrichtung gemäß der Ausführung der Figur 1
    Fig. 3a bis 3c
    eine Seitenansicht und Detailansichten zu einer mit einem kranbaren Fahrzeug beladenen Anordnung mit einem Schienenfahrzeug und einer Tragvorrichtung gemäß der Ausführung der Figur 1
    Fig. 4a bis 4d
    verschiedene Beladungszustände einer Anordnung mit einem Schienenfahrzeug und einer Tragvorrichtung gemäß der Ausführung der Figur 1
    Fig. 5a bis 5f
    weitere unterschiedliche Beladungszustände einer Anordnung mit einem Schienenfahrzeug und einer Tragvorrichtung gemäß der Ausführung der Figur 1
    Fig. 6a und 6b
    Detailansichten einer Anordnung mit einem Schienenfahrzeug und einer Tragvorrichtung gemäß der Ausführung der Figur 1
    Fig. 7a bis 7c
    Detailansichten einer Tragvorrichtung gemäß der Ausführung der Figur 1
    Fig. 8a bis 8c
    Detailansichten einer zweiten Ausführung einer Tragvorrichtung
    Fig. 9a bis 9c
    Detailansichten einer dritten Ausführung einer Tragvorrichtung
    Fig. 10
    eine Seitenansicht einer vierten Ausführung einer Tragvorrichtung
    Fig. 11
    eine Ausführung einer Längsabstützung
    Fig. 12
    eine Ansicht eines möglichen Beladungszustands einer Anordnung mit einem Schienenfahrzeug und einer Tragvorrichtung gemäß der Ausführung der Figur 1
    Fig. 13
    eine perspektivische Ansicht von aufeinandergestapelten Tragvorrichtungen gemäß der Ausführung der Figur 1
  • In den Figuren 1a bis 1d ist eine erste Ausführung einer Tragvorrichtung 1 gezeigt, wobei die Tragvorrichtung 1 wie dargestellt einen Tragrahmen 8 mit zwei Längsträgern 4 aufweist. Die Längsträger 4 sind miteinander verbunden und weisen abschnittsweise eine Höhenerstreckung H auf. Der Tragrahmen 8 weist weiter eine sich mit einer Länge LA entlang der zwei Längsträger 4 erstreckende, zwischen diesen verlaufende, befahrbare Abstützung 10 für Ladegut 3 (siehe Figur 2) auf. Die zwei Längsträger 4 weisen in der gezeigten Ausführung jeweils zwei an Bügeln 19 ausgebildete Greifkanten 5 für eine Hubvorrichtung (nicht dargestellt) auf. Die Tragvorrichtung 1 kann mit deren an der Unterseite des Tragrahmens 8 angeordneten Aufstandsflächen 6 unmittelbar auf einem Terminalflur 7 aufgestellt werden.
  • In der gezeigten Ausführung sind die Greifkanten 5, an welche eine Hubvorrichtung zum Anheben der Tragvorrichtung 1 angreifen kann, lösbar an dem jeweiligen Längsträger 4 angeordnet. Details zu den Greifkanten 5 der in Figur 1 gezeigten Tragvorrichtung 1 sind den Figuren 7a bis 7c zu entnehmen. Alternative Ausführungen von lösbaren Greifkanten 5 sind in den Figuren 8a bis 8c und 9a bis 9c gezeigt.
  • Wie der in Figur 1 gezeigten Ausführung weiter zu entnehmen ist, weisen die zwei Längsträger 4 jeweils abschnittsweise eine gegenüber der Höhenerstreckung H verringerte Höhe auf. In den Abschnitten mit verringerter Höhe sind an der Oberseite der Längsträger 4 jeweils zwei Ausnehmungen 13 vorgesehen.
  • Die Länge LA der befahrbaren Abstützung 10 entspricht in der gezeigten Darstellung im Wesentlichen der Länge der Längsträger 4. Dies muss jedoch nicht so sein. Es ist auch denkbar, dass die Länge der befahrbaren Abstützung 10 von der Länge der Längsträger 4 abweicht.
  • Wie in der Draufsicht der Figur 1b gezeigt ist, sind an der Unterseite des Tragrahmens 1 angeordnete Aufnahmeöffnungen 9 für Fixiermittel 15 (siehe beispielsweise Figuren 2a und 5a) wie etwa ISO-Zapfen zum Fixieren der Tragvorrichtung 1 an einem Schienenfahrzeug 2 vorgesehen. In der gezeigten Ausführung sind die Aufnahmeöffnungen 9 als Durchbrüche in der befahrbaren Abstützung 10 ausgebildet.
  • Weiter weist in der gezeigten Ausführung die befahrbare Abstützung 10 eine Kröpfung 11, d.h. einen von einem geraden bzw. ebenen Verlauf abweichenden Verlauf, auf. In dem durch die Kröpfung 11 geschaffenen Freiraum ist zumindest ein Anschlag 12 vorgesehen (siehe Figur 1c), welcher beispielsweise in Form eines elastischen Puffers ausgebildet sein kann. In diesen durch die Kröpfung 11 geschaffenen Freiraum kann ein Querträger 17 (siehe beispielsweise Figur 2c) eines Schienenfahrzeugs 2 hineinragen, wodurch sich beispielsweise eine in eine Tasche 14 eines Schienenfahrzeugs 2 eingesetzte Tragvorrichtung 1 gegen unerwünschte Versatzbewegungen, insbesondere bei einem Leertransport, sichern lassen kann.
  • In der gezeigten Ausführung der Tragvorrichtung 1 weisen die Längsträger 4 in den Abschnitten mit der Höhenerstreckung H jeweils ein Versteifungselement 18 auf. Die Versteifungselemente 18 sind jeweils in Form eines von den Längsträgern 4 lateral abstehenden Stegs ausgebildet.
  • Auch weisen die Längsträger 4 bereichsweise in den Abschnitten mit der gegenüber der Höhenerstreckung H verringerten Höhe ein Versteifungselement 18 auf. Die lösbaren Bügel 19 mit den daran ausgebildeten Greifkanten 5 sind an der Oberseite dieser Versteifungselemente 18 angeordnet.
  • In den Figuren 2a bis 2d ist ein Beladevorgang (oder in umgekehrter Betrachtungsreihenfolge ein Entladevorgang) einer Anordnung aus einem Schienenfahrzeug 2 und einer Tragvorrichtung 1 gemäß der Ausführung der Figur 1 gezeigt. Die Tragvorrichtung 1 ist mit einem Ladegut 3 in Form eines selbst nicht unmittelbar kranbaren Fahrzeugs beladen. Der gezeigte Beladungszustand der Tragvorrichtung 1 kann sich beispielsweise dadurch gegeben, dass ein Ladegut 3 in Form eines selbst nicht unmittelbar kranbaren Fahrzeugs auf eine auf einem Terminalflur 7 aufgestellte Tragvorrichtung 1 aufgefahren und auf dieser abgestellt wurde. Die so beladene Tragvorrichtung 1 kann gemeinsam mit dem Ladegut 3 durch eine an die Greifkanten 5 der Tragvorrichtung 1 angreifende Hubvorrichtung angehoben worden sein und wie dargestellt über eine Tasche 14 eines Schienenfahrzeugs 2 verbracht worden sein. Durch ein Absenken kann ein wie in den Figuren 2c und 2d gezeigtes Anordnen der beladenen Tragvorrichtung 1 über die gesamte Länge LA der befahrbaren Abstützung 10 der Tragvorrichtung 1 innerhalb der Tasche 14 erfolgen. Wie dargestellt ist die Länge LA der befahrbaren Abstützung geringer als die Längserstreckung LT der Tasche 14 des Taschenwagens.
  • Die in den Figuren 2a bis 2b gezeigten Fixiermittel 15 an der Stirnseite und benachbart zur Tasche 14 am Schienenfahrzeug 2 können für unterschiedliche Beladungskonfigurationen, wie beispielsweise in den Figuren 3, 4 und 5 dargestellt, genutzt werden.
  • In den Figuren 3a bis 3c sind eine Seitenansicht und Detailansichten einer Anordnung aus einem Schienenfahrzeug 2 und einer Tragvorrichtung 1 gemäß der Ausführung der Figur 1 gezeigt, wobei die Tragvorrichtung 1 mit Ladegut 3 in Form eines unmittelbar kranbaren Fahrzeugs beladen ist.
  • Die Darstellung der Figur 3a kann beispielsweise einem Beladungszustand unmittelbar nach dem Abstellen (oder auch unmittelbar vor dem Herausheben) des Ladeguts 3 in Form des unmittelbar kranbaren Fahrzeugs auf die (oder von der) in der Tasche 14 des Schienenfahrzeugs 2 angeordnete Tragvorrichtung 1 entsprechen.
  • Der gezeigte Beladungszustand kann sich beispielsweise dadurch ergeben, dass eine auf einem Terminalflur 7 bereitgestellte Tragvorrichtung 1 mit einer an die Greifkanten 5 der Tragvorrichtung 1 angreifenden Hubvorrichtung angehoben und innerhalb der Tasche 14 des Schienenfahrzeugs 2 in Form eines Taschenwagens angeordnet wurde, und darauf folgend ein auf einem Terminalflur 7 bereitgestelltes unmittelbar kranbares Ladegut 3 in Form eines kranbaren Fahrzeugs mit einer an die Greifkanten 20 des kranbaren Fahrzeugs angreifenden Hubvorrichtung angehoben und auf der in der Tasche 14 des Schienenfahrzeugs 2 bereits angeordneten Tragvorrichtung 1 abgestellt wurde (ein Herausheben kann in umgekehrter Reihenfolge erfolgen). Vor dem Abstellen (oder dem Herausheben) des unmittelbar kranbaren Ladeguts 3 in Form eines kranbaren Fahrzeugs auf der (oder von der) in der Tasche 14 angeordneten Tragvorrichtung 1 sind die lösbaren Greifkanten 5 für die Hubvorrichtung von den jeweiligen Längsträgern 4 der Tragvorrichtung 1 gelöst worden bzw. zu lösen (Details hierzu sind den Figuren 7a bis 7c zu entnehmen).
  • Wie in der Detailansicht der Figuren 3b und 3c (strichliert markierter Bereich der Figur 3a) illustriert ist, kann es vorkommen, dass sich die Greifkanten 20 eines in der Tasche 14 angeordneten, kranbaren Ladeguts 3 an der im Wesentlichen gleichen Höhen- und Längsposition relativ zum Taschenwagen befinden, wie die Greifkanten 5 einer in der Tasche 14 angeordneten Tragvorrichtung 1 (Figur 3c). Durch ein Lösen der Greifkanten 5 vom jeweiligen Längsträger 4 (Figur 3b) kann den Greifern einer Hubvorrichtung ein Erreichen der Greifkanten 20 des kranbaren Ladeguts 3 gestattet werden.
  • In den Figuren 4a bis 4d sind verschiedene Beladungszustände der Anordnung aus einem Schienenfahrzeug 2 mit einer Tragvorrichtung 1 gemäß Ausführung der Figur 1 gezeigt.
  • In den Figuren 4a und 4b ist oberhalb der Tasche 14 des Schienenfahrzeugs 2 ein Ladegut 3 in Form eines Containers angeordnet, wobei sich das Ladegut 3 an benachbart zur Tasche 14 und stirnseitig am Schienenfahrzeug 2 angeordneten Fixiermitteln 15 abstützt und an diesen fixiert ist.
  • In den Figuren 4c und 4d sind oberhalb der Tasche 14 des Schienenfahrzeugs 2 Ladegüter 3 in Form von Containern angeordnet, wobei sich die Container jeweils an benachbart zur Tasche 14 sowie an im Bereich der Tasche 14 angeordneten Fixiermitteln 15 abstützen.
  • Die im Bereich der Tasche 14 angeordneten Fixiermittel 15 sind zwischen zwei Stellungen (einer Verwendungsposition und Verwahrposition) bewegbar, wobei besagte Fixiermittel 15 jeweils in der Verwendungsposition oberhalb der Tasche 14 angeordnet sind und jeweils in der Verwahrposition im Wesentlichen vollständig außerhalb der Tasche 14, beispielsweise jeweils an einer Außenseite des Taschenwagens, angeordnet sind.
  • Die zwei Längsträger 4 der über die gesamte Länge LA der befahrbaren Abstützung 10 innerhalb der Tasche 14 angeordneten Tragvorrichtung 1 weisen jeweils abschnittsweise eine solche gegenüber der Höhenerstreckung H verringerte Höhe auf (vergleiche auch Figur 1a und 1c), dass die am Schienenfahrzeug 2 angeordneten Fixiermittel 15 im Bereich oberhalb der zumindest zwei Längsträger 4 anordenbar sind.
  • In den Figuren 5a bis 5f sind weitere unterschiedliche Beladungszustände einer Anordnung mit einem Schienenfahrzeug 2 und einer Tragvorrichtung 1 gemäß der Ausführung der Figur 1 gezeigt.
  • In den Figuren 5a und 5c befindet sich eine Tragvorrichtung 1 in der Tasche 14 des in Form eines Taschenwagen ausgebildeten Schienenfahrzeug 2. Eine weitere Tragvorrichtung 1 ist oberhalb der Tasche 14 angeordnet und ist einerseits an stirnseitig am Schienenfahrzeug 2 angeordneten und in die Aufnahmeöffnungen 9 eingreifenden Fixiermittel 15 abgestützt und fixiert, und andererseits an am Schienenfahrzeug 2 und im Bereich oberhalb der Tasche 14 angeordneten Fixiermittel 15 abgestützt und fixiert.
  • Durch die Ausnehmungen 13 an der Oberseite der Längsträger 4 ist es möglich, diese am Schienenfahrzeug 2 angeordneten Fixiermittel 15 im Bereich oberhalb der zumindest zwei Längsträger 4 anzuordnen. Dadurch können zusätzlich zu den außerhalb der Tasche 14 (benachbart zur Tasche 14 und stirnseitig am Schienenfahrzeug 2) bestehenden Fixiermitteln 15 zusätzliche Fixiermittel 15 im Bereich der Tasche 14 genutzt werden, während eine Tragvorrichtung 1 in der Tasche 14 angeordnet ist.
  • In den Figuren 5b und 5d ist zusätzlich eine dritte Tragvorrichtung 1 oberhalb der Tasche 14 angeordnet. Durch eine solche Anordnung von Tragvorrichtungen 1 kann eine Nutzung des Schienenfahrzeugs 2 in Form eines Taschenwagens analog zu einem Flachwagen erfolgen.
  • In den Figuren 5e und 5f ist die Anordnung von zwei Tragvorrichtungen 1 oberhalb der Tasche 14 eines Schienenfahrzeugs 2 gezeigt, wobei jedoch keine Tragvorrichtung 1 in der Tasche 14 angeordnet ist.
  • In den Figuren 6a und 6b sind Detailansichten einer in eine Tasche 14 eines Schienenfahrzeug 2 eingesetzten Tragvorrichtung 1 gemäß der Ausführung der Figur 1 gezeigt.
  • Dabei ist zunächst die Kröpfung 11 in der befahrbaren Abstützung 10 der Tragvorrichtung 1 erkennbar, wobei ein Querträger 17 des Schienenfahrzeugs 2 in den durch die Kröpfung 11 geschaffenen Freiraum hineinragt.
  • In Figur 6b ist erneut der in der Höhe variierende Verlauf der Längsträger 4 der Tragvorrichtung 1 gezeigt, wobei der abgebildete Längsträger 4 abschnittsweise eine durch Ausnehmungen 13 bedingte solche gegenüber der Höhenerstreckung H verringerte Höhe aufweist, dass die am Schienenfahrzeug 2 angeordneten Fixiermittel 15 im Bereich oberhalb der zumindest zwei Längsträger 4 anordenbar sind.
  • Es ist erkennbar, dass in dieser Ausführung bei der in der Tasche 14 angeordneten Tragvorrichtung 1 die Höhenerstreckung H der Längsträger 4 abschnittsweise über die Oberkante 21 der Tasche 14 des Taschenwagens hinausragt.
  • Die Höhe (von der befahrbaren Abstützung 10 aus gesehen) der Abschnitte mit der gegenüber der Höhenerstreckung H verringerten Höhe ist bei dieser Ausführung bei der in der Tasche 14 angeordneten Tragvorrichtung 1 geringer als die Höhe der Oberkante 21 der Tasche 14 des Taschenwagens im Bereich der Fixiermittel 15. Dies ist beispielsweise auch in der Seitenansicht der Figur 7a erkennbar.
  • In den Figuren 7a bis 7c, 8a bis 8c und 9a bis 9c sind jeweils Detailansichten zu unterschiedlichen Ausführungen der Tragvorrichtung 1 gezeigt, wobei sich die gezeigten Ausführungen im Wesentlichen in der Ausführung der lösbaren Greifkanten 5 unterscheiden.
  • In den Figuren 7a bis 7c ist eine Ausführung der lösbaren Greifkanten 5 gemäß der Ausführung der Tragvorrichtung 1 der Figur 1 gezeigt. In dieser Ausführung ist die Greifkante 5 an einem um eine horizontale Schwenkachse verschwenkbaren Bügel 19 ausgebildet. Der Bügel 19 ist beidseitig mit lösbaren Arretiervorrichtungen 22 am Längsträger 4 der Tragvorrichtung 1 schwenkbar gelagert. Die in Figur 7a gezeigte Stellung des Bügels 19 entspricht der Verwendungsposition, in welcher die Greifer einer Hubvorrichtung an die Greifkanten 5 für einen Hubvorgang angreifen können. Die in den Figuren 7b und 7c gezeigten Stellungen des Bügels 19 entsprechen der Verwahrposition, in welcher den Greifern einer Hubvorrichtung ein Erreichen eines auf der Tragvorrichtung 1 abgestellten Ladeguts 3 gestattet wird (siehe dazu die Figuren 3a bis 3c). Der Bügel 19 kann in dieser Ausführung auch gänzlich von der Tragvorrichtung 1 gelöst werden.
  • In den Figuren 8a bis 8c ist eine weitere Ausführung der lösbaren Greifkanten 5 gezeigt. In dieser Ausführung sind die Greifkanten 5 an einem um vertikale Schwenkachsen verschwenkbaren Bügel 19 ausgebildet. Die schwenkbare Lagerung des Bügels 19 am Längsträger 4 ist hier durch eine Verschraubung 23 ausgeführt. Die in den Figuren 8a bis 8c gezeigten Stellungen entsprechen in ihrer Eignung jenen der Figuren 7a bis 7c. Der Bügel 19 kann in dieser Ausführung auch gänzlich von der Tragvorrichtung 1 gelöst werden.
  • In den Figuren 9a bis 9c ist eine weitere Ausführung der lösbaren Greifkanten 5 gezeigt. In dieser Ausführung sind die Greifkanten 5 an einem entlang einer Führungsschiene 24 verschiebbaren und mit einer Verbolzung 25 arretierbaren Bügel 19 ausgebildet. Die in den Figuren 9a bis 9c gezeigten Stellungen können in ihrer Eignung grundsätzlich jenen der Figuren 7a bis 7c entsprechen. Es ist jedoch auch möglich, dass jede der in den Figuren 9a bis 9c gezeigte Stellung einer Verwendungsposition oder einer Verwahrposition entspricht. Der Bügel 19 kann in dieser Ausführung auch gänzlich von der Tragvorrichtung 1 gelöst werden.
  • Die in den In den Figuren 7a bis 7c, 8a bis 8c und 9a bis 9c gezeigten lösbaren Greifkanten 5 sind jeweils von außerhalb der Tasche 15 zugänglich und lösbar.
  • In Figur 10 ist eine Seitenansicht einer Anordnung mit einem Schienenfahrzeug 2 und einer vierten Ausführung einer Tragvorrichtung 1 gezeigt. Diese Ausführung unterscheidet sich im Wesentlichen von jener der zuvor diskutierten darin, dass die Greifkanten 5 in den Längsträgern 4 ausgebildet sind. Auch für eine solche Ausführung einer Tragvorrichtung 1 sind Beladungszustände gemäß den Figuren 2, 4 und 5 möglich.
  • In Figur 11 ist eine perspektivische Ansicht einer Ausführung einer Längsabstützung 16 gezeigt, über welche die Tragvorrichtung 1 an Fixiermitteln 15 des Schienenfahrzeugs 2 abstützbar ist. Die zur Abstützung verwendeten Fixiermittel 15 sind hier stirnseitig benachbart zur Tasche 14 am Schienenfahrzeug 2 angeordnet.
  • In Figur 12 ist eine perspektivische Ansicht eines möglichen Beladungszustands einer Anordnung mit einem Schienenfahrzeug 2 und einer Tragvorrichtung 1 gemäß der Ausführung der Figur 1 gezeigt, wobei die in der Tasche 14 des Schienenfahrzeug 2 angeordnete Tragvorrichtung 1 mit einem nicht kranbaren Ladegut 3 in Form eines Fahrzeugs beladen ist und auf am Schienenfahrzeug 2 angeordneten Fixiermittel 15 zusätzlich ein Ladegut in Form eines Containers 3 oberhalb der Tasche 14 geladen ist.
  • In Figur 13 ist eine perspektivische Ansicht von aufeinandergestapelten Tragvorrichtungen 1 gemäß der Ausführung der Figur 1 gezeigt.
  • Bezugszeichenliste:
  • 1
    hebbare Tragvorrichtung
    2
    Schienenfahrzeug
    3
    Ladegut
    4
    Längsträger
    5
    Greifkante
    6
    Aufstandsfläche
    7
    Terminalflur
    8
    Tragrahmen
    9
    Aufnahmeöffnung für Fixiermittel
    10
    befahrbare Abstützung
    11
    Kröpfung der befahrbaren Abstützung
    12
    Anschlag für einen Querträger eines Schienenfahrzeugs
    13
    Ausnehmung am Längsträger
    14
    Tasche eines Taschenwagens
    15
    Fixiermittel
    16
    Längsabstützung
    17
    Querträger
    18
    Versteifungselement
    19
    Bügel
    20
    Greifkanten Fahrzeug
    21
    Oberkante Taschenwagen
    22
    Arretiervorrichtung
    23
    Verschraubung
    24
    Führungsschiene
    25
    Verbolzung
    H
    Höhenerstreckung Längsträger
    LA
    Längserstreckung der Abstützung
    LT
    Längserstreckung der Tasche

Claims (15)

  1. Hebbare Tragvorrichtung (1) für das Beladen eines Schienenfahrzeuges (2) mit Ladegut (3) durch eine Hubvorrichtung, mit:
    - einem Tragrahmen (8), welcher zumindest zwei Längsträger (4) aufweist, die miteinander verbunden sind und zumindest abschnittsweise eine Höhenerstreckung (H) aufweisen, wobei der Tragrahmen (8) eine sich mit einer Länge (LA) entlang der zumindest zwei Längsträgern (4) erstreckende, zwischen diesen verlaufende, befahrbare Abstützung (10) für das Ladegut (3) aufweist und wobei die zumindest zwei Längsträger (4) jeweils wenigstens zwei Greifkanten (5) für die Hubvorrichtung aufweisen
    - Aufstandsflächen (6) zum unmittelbaren Aufstellen der Tragvorrichtung (1) auf einem Terminalflur (7)
    dadurch gekennzeichnet, dass die jeweils wenigstens zwei Greifkanten (5) für die Hubvorrichtung lösbar an dem jeweiligen Längsträger (4) der zumindest zwei Längsträger (2) angeordnet sind.
  2. Hebbare Tragvorrichtung (1) nach Anspruch 1, wobei die Greifkanten (5) für die Hubvorrichtung jeweils zwischen zumindest einer Verwendungsposition und zumindest einer Verwahrposition, vorzugsweise begrenzt, bewegbar sind und besonders bevorzugt jeweils zwischen zumindest einer Verwendungsposition und zumindest einer Verwahrposition verschwenkbar sind.
  3. Hebbare Tragvorrichtung (1) nach einem der vorangehenden Ansprüche, wobei die Greifkanten (5) für die Hubvorrichtung jeweils an einem lösbaren Bügel (19) ausgebildet sind.
  4. Hebbare Tragvorrichtung (1) nach einem der vorangehenden Ansprüche, wobei die zumindest zwei Längsträger (4) jeweils abschnittsweise eine gegenüber der Höhenerstreckung (H) verringerte Höhe aufweisen.
  5. Hebbare Tragvorrichtung (1) nach dem vorangehenden Anspruch, wobei die Längsträger (4) in den Abschnitten mit verringerter Höhe an der Oberseite zumindest zwei Ausnehmungen (13) aufweisen.
  6. Hebbare Tragvorrichtung (1) nach einem der vorangehenden Ansprüche, wobei die Längsträger (4) zumindest abschnittsweise in den Abschnitten mit der Höhenerstreckung (H) zumindest ein Versteifungselement (18) aufweisen und/oder Längsträger (4) zumindest abschnittsweise in den Abschnitten mit der gegenüber der Höhenerstreckung (H) verringerten Höhe zumindest ein Versteifungselement (18), beispielsweise einen Obergurt, aufweisen.
  7. Hebbare Tragvorrichtung (1) nach dem vorangehenden Anspruch, wobei das zumindest eine Versteifungselement (18) quer zu einer Längserstreckung der Längsträger (4) und quer zur Höhenerstreckung der Längsträger (4) ausgebildet ist, vorzugsweise durch zumindest einen von den Längsträgern (4) abstehenden Steg.
  8. Hebbare Tragvorrichtung (1) nach einem der vorangehenden Ansprüche, wobei die Länge (LA) der befahrbaren Abstützung (10) im Wesentlichen der Länge der Längsträger (4) entspricht.
  9. Hebbare Tragvorrichtung (1) nach einem der vorangehenden Ansprüche, wobei die befahrbare Abstützung (10) für das Ladegut eine Kröpfung (11) aufweist.
  10. Hebbare Tragvorrichtung (1) nach dem vorangehenden Anspruch, wobei die befahrbare Abstützung (10) für das Ladegut in einem durch die Kröpfung (11) geschaffenen Freiraum zumindest einen Anschlag (12), vorzugsweise in Form eines elastischen Puffers, für einen Querträger (17) eines Schienenfahrzeugs (2) eines in Form eines Taschenwagens aufweist.
  11. Hebbare Tragvorrichtung (1) nach einem der vorangehenden Ansprüche, wobei der Tragrahmen (8) zumindest eine Längsabstützung (16) aufweist, über welche die Tragvorrichtung (1) an - vorzugsweise stirnseitig am Schienenfahrzeug (2) angeordneten - Fixiermitteln (15) eines Schienenfahrzeugs (2) in Form eines Taschenwagens abstützbar ist.
  12. Hebbare Tragvorrichtung (1) nach einem der vorangehenden Ansprüche, wobei wenigstens zwei, an der Unterseite des Tragrahmens (8) angeordnete Aufnahmeöffnungen (9) für Fixiermittel (15) eines Schienenfahrzeugs (2) in Form eines Taschenwagens, vorzugsweise für ISO-Zapfen, zum Fixieren der Tragvorrichtung (1) an dem Schienenfahrzeug (2) vorgesehen sind, wobei vorzugsweise die Aufnahmeöffnungen (9) in der befahrbaren Abstützung (10) ausgebildet sind.
  13. Schienenfahrzeug in Form eines Taschenwagens, mit einer Tasche (14) und zwischen zwei Stellungen bewegbar am Taschenwagen angeordneten Fixiermitteln (15) und mit wenigstens einer Tragvorrichtung (1) nach wenigstens einem der vorangehenden Ansprüche, wobei zumindest eine Tragvorrichtung (1) über die gesamte Länge (LA) der befahrbaren Abstützung (10) innerhalb der Tasche (14) angeordnet ist und die zumindest zwei Längsträger (4) jeweils abschnittsweise eine solche gegenüber der Höhenerstreckung (H) verringerte Höhe aufweisen, dass die am Schienenfahrzeug (2) angeordneten Fixiermittel (15) im Bereich oberhalb der zumindest zwei Längsträger (4) anordenbar sind.
  14. Schienenfahrzeug (2) in Form eines Taschenwagens, insbesondere nach dem vorangehenden Anspruch, mit einer Tasche (14) und, vorzugsweise zwischen zwei Stellungen bewegbar, am Taschenwagen angeordneten Fixiermitteln (15) und mit zumindest einer Tragvorrichtung (1) nach wenigstens einem der Ansprüche 1 bis 12, welche oberhalb der Tasche (14) an den Fixiermitteln (15) des Taschenwagens fixiert ist.
  15. Verfahren zum Beladen eines Schienenfahrzeug (2) in Form eines Taschenwagens mit wenigstens einem unmittelbar kranbaren Fahrzeug (3), unter Verwendung einer Tragvorrichtung (1) nach wenigstens einem der Ansprüche 1 bis 12, dadurch gekennzeichnet, dass das Verfahren zumindest die folgenden Schritte aufweist:
    - Bereitstellen einer Tragvorrichtung (1) auf einem Terminalflur (7)
    - Anheben und Verbringen der Tragvorrichtung (1) mit einer Hubvorrichtung über eine Tasche (14) des Schienenfahrzeugs (2) in Form eines Taschenwagens, wobei die Hubvorrichtung für den Hebevorgang an den wenigstens zwei Greifkanten (5) der Tragvorrichtung (1) angreift
    - Anordnen der Tragvorrichtung (1) über die gesamte Länge (LA) der befahrbaren Abstützung (10) der Tragvorrichtung (1) innerhalb der Tasche (14)
    - Lösen der wenigstens zwei Greifkanten (5) für die Hubvorrichtung von dem jeweiligen Längsträgern (4)
    - Bereitstellen wenigstens eines unmittelbar kranbaren Fahrzeugs (3) auf einem Terminalflur (7)
    - Anheben und Verbringen des unmittelbar kranbaren Fahrzeugs (3) mit einer Hubvorrichtung über die in der Tasche (14) des Schienenfahrzeugs (2) angeordnete Tragvorrichtung (1), wobei die Hubvorrichtung für den Hebevorgang an wenigstens zwei Greifkanten (20) des unmittelbar kranbaren Fahrzeugs (3) angreift
    - Abstellen des unmittelbar kranbaren Fahrzeugs (3) auf der in der Tasche (14) des Schienenfahrzeugs (2) angeordneten Tragvorrichtung (1).
EP19158578.5A 2019-02-21 2019-02-21 Hebbare tragvorrichtung Active EP3699057B1 (de)

Priority Applications (1)

Application Number Priority Date Filing Date Title
EP19158578.5A EP3699057B1 (de) 2019-02-21 2019-02-21 Hebbare tragvorrichtung

Applications Claiming Priority (1)

Application Number Priority Date Filing Date Title
EP19158578.5A EP3699057B1 (de) 2019-02-21 2019-02-21 Hebbare tragvorrichtung

Publications (3)

Publication Number Publication Date
EP3699057A1 true EP3699057A1 (de) 2020-08-26
EP3699057B1 EP3699057B1 (de) 2024-01-31
EP3699057C0 EP3699057C0 (de) 2024-01-31

Family

ID=65598425

Family Applications (1)

Application Number Title Priority Date Filing Date
EP19158578.5A Active EP3699057B1 (de) 2019-02-21 2019-02-21 Hebbare tragvorrichtung

Country Status (1)

Country Link
EP (1) EP3699057B1 (de)

Cited By (3)

* Cited by examiner, † Cited by third party
Publication number Priority date Publication date Assignee Title
EP4455048A1 (de) 2023-04-28 2024-10-30 Peter Jonathan Pieringer Container zum aufsatz auf einen schienengebundenen containertragwagen
WO2024223523A1 (de) 2023-04-28 2024-10-31 Peter Jonathan Pieringer Container zum aufsatz auf einen schienengebundenen containertragwagen, verfahren zum beladen eines containers
PL246594B1 (pl) * 2022-11-20 2025-02-17 Astra Rail Project S R O Wagon kieszeniowy

Citations (4)

* Cited by examiner, † Cited by third party
Publication number Priority date Publication date Assignee Title
EP1712444A1 (de) * 2005-04-14 2006-10-18 Arbel Fauvet Rail S.A. Bewegbare Wanne für den Transport von einem Sattelauflieger, mit einer solchen Wanne ausgerüsteter Waggon und Ladenverfahren des Sattelaufliegers
EP2902299A1 (de) * 2014-01-30 2015-08-05 Bayernhafen GmbH & Co. KG Verfahren zum Kranen von LKW-Sattelaufliegern sowie Verladevorrichtung für einen LKW-Sattelauflieger
WO2016141399A1 (de) 2015-03-11 2016-09-15 Kässbohrer Transport Technik Gmbh Hebbare tragvorrichtung
RU2675745C1 (ru) * 2018-09-11 2018-12-24 Общество с ограниченной ответственностью "ГЕРМЕС МультиМодал ГРУПП" Способ погрузки автомобильного полуприцепа на вагон-платформу

Patent Citations (4)

* Cited by examiner, † Cited by third party
Publication number Priority date Publication date Assignee Title
EP1712444A1 (de) * 2005-04-14 2006-10-18 Arbel Fauvet Rail S.A. Bewegbare Wanne für den Transport von einem Sattelauflieger, mit einer solchen Wanne ausgerüsteter Waggon und Ladenverfahren des Sattelaufliegers
EP2902299A1 (de) * 2014-01-30 2015-08-05 Bayernhafen GmbH & Co. KG Verfahren zum Kranen von LKW-Sattelaufliegern sowie Verladevorrichtung für einen LKW-Sattelauflieger
WO2016141399A1 (de) 2015-03-11 2016-09-15 Kässbohrer Transport Technik Gmbh Hebbare tragvorrichtung
RU2675745C1 (ru) * 2018-09-11 2018-12-24 Общество с ограниченной ответственностью "ГЕРМЕС МультиМодал ГРУПП" Способ погрузки автомобильного полуприцепа на вагон-платформу

Cited By (5)

* Cited by examiner, † Cited by third party
Publication number Priority date Publication date Assignee Title
PL246594B1 (pl) * 2022-11-20 2025-02-17 Astra Rail Project S R O Wagon kieszeniowy
EP4538143A1 (de) * 2022-11-20 2025-04-16 Wagony Swidnica sp. z o.o. Taschenwagen
EP4455048A1 (de) 2023-04-28 2024-10-30 Peter Jonathan Pieringer Container zum aufsatz auf einen schienengebundenen containertragwagen
WO2024223523A1 (de) 2023-04-28 2024-10-31 Peter Jonathan Pieringer Container zum aufsatz auf einen schienengebundenen containertragwagen, verfahren zum beladen eines containers
WO2024223074A1 (de) 2023-04-28 2024-10-31 Peter Jonathan Pieringer Container zum aufsatz auf einen schienengebundenen containertragwagen

Also Published As

Publication number Publication date
EP3699057B1 (de) 2024-01-31
EP3699057C0 (de) 2024-01-31

Similar Documents

Publication Publication Date Title
EP3268257B1 (de) Hebbare tragvorrichtung
EP3699058B1 (de) Anordnung aus schienenfahrzeug und tragvorrichtung
DE69317993T2 (de) Eingebaute Wägevorrichtung in einem Fahrzeug, wie ein Lastkraftwagen oder ein ähnliches Fahrzeug
EP3604075B1 (de) Hebbare tragvorrichtung
EP2079607A1 (de) Flurgebundenes transportfahrzeug, insbesondere für den transport von containern
DE2731386A1 (de) Rechteckiger behaelter von der groesse eines wagenaufbaus, insbesondere container nach iso-norm
DE602006000206T2 (de) Bewegbare Wanne für den Transport von einem Sattelauflieger, mit einer solchen Wanne ausgerüsteter Waggon und Ladenverfahren des Sattelaufliegers
EP3699057B1 (de) Hebbare tragvorrichtung
EP4410631A2 (de) Güterwagen zum transport von ladegut
DE202005021742U1 (de) Lastentransportfahrzeug, insbesondere Absetzkipper
DE9014816U1 (de) Bahnwaggon mit anheb- und absenkbarem Ladeplatz, insbesondere für den Transport von Straßenfahrzeugen wie Lastkraftwagen u.ä.
DE102019105689B3 (de) Untergestell eines Schienenfahrzeuges
EP2420406A1 (de) Vorrichtung zum Sichern von Ladung auf einer Ladefläche eines Fahrzeugaufbaus
EP4032777A1 (de) Tragvorrichtung und taschenwagen
DE29801555U1 (de) Aufbau für ein Transportfahrzeug
DE2632492C3 (de) Transportfahrzeug zum Transport von Großbehältern
DE29606845U1 (de) Hilfsrahmen für einen Lastkraftwagen für den Transport von Wechselbehältern
EP3604072A1 (de) Hebbare tragvorrichtung
DE2802267A1 (de) Lastzug zum transport von fahrzeugen, insbesondere von mittleren und schweren industriefahrzeugen
EP3276112B1 (de) Türverriegelungsvorrichtung
EP0616938A1 (de) Festlegevorrichtung für Wechselaufbauten und/oder Container
DE3723452A1 (de) Schiebeverdeckgestell fuer lastfahrzeuge
DE102005039355B4 (de) Vorrichtung und Verfahren zum Befestigen von Wechselbehältern an Trägerfahrzeugen
DE202019106853U1 (de) Hebbare Tragvorrichtung
DE102019126508B4 (de) Nutzfahrzeug

Legal Events

Date Code Title Description
PUAI Public reference made under article 153(3) epc to a published international application that has entered the european phase

Free format text: ORIGINAL CODE: 0009012

STAA Information on the status of an ep patent application or granted ep patent

Free format text: STATUS: THE APPLICATION HAS BEEN PUBLISHED

AK Designated contracting states

Kind code of ref document: A1

Designated state(s): AL AT BE BG CH CY CZ DE DK EE ES FI FR GB GR HR HU IE IS IT LI LT LU LV MC MK MT NL NO PL PT RO RS SE SI SK SM TR

AX Request for extension of the european patent

Extension state: BA ME

STAA Information on the status of an ep patent application or granted ep patent

Free format text: STATUS: REQUEST FOR EXAMINATION WAS MADE

17P Request for examination filed

Effective date: 20210226

RBV Designated contracting states (corrected)

Designated state(s): AL AT BE BG CH CY CZ DE DK EE ES FI FR GB GR HR HU IE IS IT LI LT LU LV MC MK MT NL NO PL PT RO RS SE SI SK SM TR

STAA Information on the status of an ep patent application or granted ep patent

Free format text: STATUS: EXAMINATION IS IN PROGRESS

17Q First examination report despatched

Effective date: 20221117

GRAP Despatch of communication of intention to grant a patent

Free format text: ORIGINAL CODE: EPIDOSNIGR1

STAA Information on the status of an ep patent application or granted ep patent

Free format text: STATUS: GRANT OF PATENT IS INTENDED

INTG Intention to grant announced

Effective date: 20230822

GRAS Grant fee paid

Free format text: ORIGINAL CODE: EPIDOSNIGR3

GRAA (expected) grant

Free format text: ORIGINAL CODE: 0009210

STAA Information on the status of an ep patent application or granted ep patent

Free format text: STATUS: THE PATENT HAS BEEN GRANTED

AK Designated contracting states

Kind code of ref document: B1

Designated state(s): AL AT BE BG CH CY CZ DE DK EE ES FI FR GB GR HR HU IE IS IT LI LT LU LV MC MK MT NL NO PL PT RO RS SE SI SK SM TR

REG Reference to a national code

Ref country code: GB

Ref legal event code: FG4D

Free format text: NOT ENGLISH

Ref country code: CH

Ref legal event code: EP

REG Reference to a national code

Ref country code: DE

Ref legal event code: R096

Ref document number: 502019010487

Country of ref document: DE

REG Reference to a national code

Ref country code: IE

Ref legal event code: FG4D

Free format text: LANGUAGE OF EP DOCUMENT: GERMAN

U01 Request for unitary effect filed

Effective date: 20240229

U07 Unitary effect registered

Designated state(s): AT BE BG DE DK EE FI FR IT LT LU LV MT NL PT SE SI

Effective date: 20240307

U20 Renewal fee for the european patent with unitary effect paid

Year of fee payment: 6

Effective date: 20240327

PG25 Lapsed in a contracting state [announced via postgrant information from national office to epo]

Ref country code: IS

Free format text: LAPSE BECAUSE OF FAILURE TO SUBMIT A TRANSLATION OF THE DESCRIPTION OR TO PAY THE FEE WITHIN THE PRESCRIBED TIME-LIMIT

Effective date: 20240531

PG25 Lapsed in a contracting state [announced via postgrant information from national office to epo]

Ref country code: GR

Free format text: LAPSE BECAUSE OF FAILURE TO SUBMIT A TRANSLATION OF THE DESCRIPTION OR TO PAY THE FEE WITHIN THE PRESCRIBED TIME-LIMIT

Effective date: 20240501

PG25 Lapsed in a contracting state [announced via postgrant information from national office to epo]

Ref country code: HR

Free format text: LAPSE BECAUSE OF FAILURE TO SUBMIT A TRANSLATION OF THE DESCRIPTION OR TO PAY THE FEE WITHIN THE PRESCRIBED TIME-LIMIT

Effective date: 20240131

Ref country code: RS

Free format text: LAPSE BECAUSE OF FAILURE TO SUBMIT A TRANSLATION OF THE DESCRIPTION OR TO PAY THE FEE WITHIN THE PRESCRIBED TIME-LIMIT

Effective date: 20240430

PG25 Lapsed in a contracting state [announced via postgrant information from national office to epo]

Ref country code: ES

Free format text: LAPSE BECAUSE OF FAILURE TO SUBMIT A TRANSLATION OF THE DESCRIPTION OR TO PAY THE FEE WITHIN THE PRESCRIBED TIME-LIMIT

Effective date: 20240131

PG25 Lapsed in a contracting state [announced via postgrant information from national office to epo]

Ref country code: RS

Free format text: LAPSE BECAUSE OF FAILURE TO SUBMIT A TRANSLATION OF THE DESCRIPTION OR TO PAY THE FEE WITHIN THE PRESCRIBED TIME-LIMIT

Effective date: 20240430

Ref country code: NO

Free format text: LAPSE BECAUSE OF FAILURE TO SUBMIT A TRANSLATION OF THE DESCRIPTION OR TO PAY THE FEE WITHIN THE PRESCRIBED TIME-LIMIT

Effective date: 20240430

Ref country code: IS

Free format text: LAPSE BECAUSE OF FAILURE TO SUBMIT A TRANSLATION OF THE DESCRIPTION OR TO PAY THE FEE WITHIN THE PRESCRIBED TIME-LIMIT

Effective date: 20240531

Ref country code: HR

Free format text: LAPSE BECAUSE OF FAILURE TO SUBMIT A TRANSLATION OF THE DESCRIPTION OR TO PAY THE FEE WITHIN THE PRESCRIBED TIME-LIMIT

Effective date: 20240131

Ref country code: GR

Free format text: LAPSE BECAUSE OF FAILURE TO SUBMIT A TRANSLATION OF THE DESCRIPTION OR TO PAY THE FEE WITHIN THE PRESCRIBED TIME-LIMIT

Effective date: 20240501

Ref country code: ES

Free format text: LAPSE BECAUSE OF FAILURE TO SUBMIT A TRANSLATION OF THE DESCRIPTION OR TO PAY THE FEE WITHIN THE PRESCRIBED TIME-LIMIT

Effective date: 20240131

PG25 Lapsed in a contracting state [announced via postgrant information from national office to epo]

Ref country code: PL

Free format text: LAPSE BECAUSE OF FAILURE TO SUBMIT A TRANSLATION OF THE DESCRIPTION OR TO PAY THE FEE WITHIN THE PRESCRIBED TIME-LIMIT

Effective date: 20240131

PG25 Lapsed in a contracting state [announced via postgrant information from national office to epo]

Ref country code: PL

Free format text: LAPSE BECAUSE OF FAILURE TO SUBMIT A TRANSLATION OF THE DESCRIPTION OR TO PAY THE FEE WITHIN THE PRESCRIBED TIME-LIMIT

Effective date: 20240131

REG Reference to a national code

Ref country code: CH

Ref legal event code: PL

PG25 Lapsed in a contracting state [announced via postgrant information from national office to epo]

Ref country code: SM

Free format text: LAPSE BECAUSE OF FAILURE TO SUBMIT A TRANSLATION OF THE DESCRIPTION OR TO PAY THE FEE WITHIN THE PRESCRIBED TIME-LIMIT

Effective date: 20240131

PG25 Lapsed in a contracting state [announced via postgrant information from national office to epo]

Ref country code: CH

Free format text: LAPSE BECAUSE OF NON-PAYMENT OF DUE FEES

Effective date: 20240229

PG25 Lapsed in a contracting state [announced via postgrant information from national office to epo]

Ref country code: CZ

Free format text: LAPSE BECAUSE OF FAILURE TO SUBMIT A TRANSLATION OF THE DESCRIPTION OR TO PAY THE FEE WITHIN THE PRESCRIBED TIME-LIMIT

Effective date: 20240131

PG25 Lapsed in a contracting state [announced via postgrant information from national office to epo]

Ref country code: SK

Free format text: LAPSE BECAUSE OF FAILURE TO SUBMIT A TRANSLATION OF THE DESCRIPTION OR TO PAY THE FEE WITHIN THE PRESCRIBED TIME-LIMIT

Effective date: 20240131

PG25 Lapsed in a contracting state [announced via postgrant information from national office to epo]

Ref country code: SM

Free format text: LAPSE BECAUSE OF FAILURE TO SUBMIT A TRANSLATION OF THE DESCRIPTION OR TO PAY THE FEE WITHIN THE PRESCRIBED TIME-LIMIT

Effective date: 20240131

Ref country code: SK

Free format text: LAPSE BECAUSE OF FAILURE TO SUBMIT A TRANSLATION OF THE DESCRIPTION OR TO PAY THE FEE WITHIN THE PRESCRIBED TIME-LIMIT

Effective date: 20240131

Ref country code: RO

Free format text: LAPSE BECAUSE OF FAILURE TO SUBMIT A TRANSLATION OF THE DESCRIPTION OR TO PAY THE FEE WITHIN THE PRESCRIBED TIME-LIMIT

Effective date: 20240131

Ref country code: CZ

Free format text: LAPSE BECAUSE OF FAILURE TO SUBMIT A TRANSLATION OF THE DESCRIPTION OR TO PAY THE FEE WITHIN THE PRESCRIBED TIME-LIMIT

Effective date: 20240131

Ref country code: CH

Free format text: LAPSE BECAUSE OF NON-PAYMENT OF DUE FEES

Effective date: 20240229

REG Reference to a national code

Ref country code: DE

Ref legal event code: R097

Ref document number: 502019010487

Country of ref document: DE

PG25 Lapsed in a contracting state [announced via postgrant information from national office to epo]

Ref country code: MC

Free format text: LAPSE BECAUSE OF FAILURE TO SUBMIT A TRANSLATION OF THE DESCRIPTION OR TO PAY THE FEE WITHIN THE PRESCRIBED TIME-LIMIT

Effective date: 20240131

PG25 Lapsed in a contracting state [announced via postgrant information from national office to epo]

Ref country code: MC

Free format text: LAPSE BECAUSE OF FAILURE TO SUBMIT A TRANSLATION OF THE DESCRIPTION OR TO PAY THE FEE WITHIN THE PRESCRIBED TIME-LIMIT

Effective date: 20240131

PLBE No opposition filed within time limit

Free format text: ORIGINAL CODE: 0009261

STAA Information on the status of an ep patent application or granted ep patent

Free format text: STATUS: NO OPPOSITION FILED WITHIN TIME LIMIT

GBPC Gb: european patent ceased through non-payment of renewal fee

Effective date: 20240430

26N No opposition filed

Effective date: 20241101

PG25 Lapsed in a contracting state [announced via postgrant information from national office to epo]

Ref country code: GB

Free format text: LAPSE BECAUSE OF NON-PAYMENT OF DUE FEES

Effective date: 20240430

PG25 Lapsed in a contracting state [announced via postgrant information from national office to epo]

Ref country code: IE

Free format text: LAPSE BECAUSE OF NON-PAYMENT OF DUE FEES

Effective date: 20240221

PG25 Lapsed in a contracting state [announced via postgrant information from national office to epo]

Ref country code: IE

Free format text: LAPSE BECAUSE OF NON-PAYMENT OF DUE FEES

Effective date: 20240221

Ref country code: GB

Free format text: LAPSE BECAUSE OF NON-PAYMENT OF DUE FEES

Effective date: 20240430

U20 Renewal fee for the european patent with unitary effect paid

Year of fee payment: 7

Effective date: 20250220

PG25 Lapsed in a contracting state [announced via postgrant information from national office to epo]

Ref country code: CY

Free format text: LAPSE BECAUSE OF FAILURE TO SUBMIT A TRANSLATION OF THE DESCRIPTION OR TO PAY THE FEE WITHIN THE PRESCRIBED TIME-LIMIT; INVALID AB INITIO

Effective date: 20190221

PG25 Lapsed in a contracting state [announced via postgrant information from national office to epo]

Ref country code: HU

Free format text: LAPSE BECAUSE OF FAILURE TO SUBMIT A TRANSLATION OF THE DESCRIPTION OR TO PAY THE FEE WITHIN THE PRESCRIBED TIME-LIMIT; INVALID AB INITIO

Effective date: 20190221