EP3366869B1 - Steuerungssystem für automatische parkhäuser - Google Patents

Steuerungssystem für automatische parkhäuser Download PDF

Info

Publication number
EP3366869B1
EP3366869B1 EP18157874.1A EP18157874A EP3366869B1 EP 3366869 B1 EP3366869 B1 EP 3366869B1 EP 18157874 A EP18157874 A EP 18157874A EP 3366869 B1 EP3366869 B1 EP 3366869B1
Authority
EP
European Patent Office
Prior art keywords
parking
vehicle
time
parking space
platform
Prior art date
Legal status (The legal status is an assumption and is not a legal conclusion. Google has not performed a legal analysis and makes no representation as to the accuracy of the status listed.)
Active
Application number
EP18157874.1A
Other languages
German (de)
English (en)
French (fr)
Other versions
EP3366869A1 (de
Inventor
Alexander Vogler
Current Assignee (The listed assignees may be inaccurate. Google has not performed a legal analysis and makes no representation or warranty as to the accuracy of the list.)
First Move! Ag
Original Assignee
First Move! Ag
Priority date (The priority date is an assumption and is not a legal conclusion. Google has not performed a legal analysis and makes no representation as to the accuracy of the date listed.)
Filing date
Publication date
Application filed by First Move! Ag filed Critical First Move! Ag
Publication of EP3366869A1 publication Critical patent/EP3366869A1/de
Application granted granted Critical
Publication of EP3366869B1 publication Critical patent/EP3366869B1/de
Active legal-status Critical Current
Anticipated expiration legal-status Critical

Links

Images

Classifications

    • GPHYSICS
    • G08SIGNALLING
    • G08GTRAFFIC CONTROL SYSTEMS
    • G08G1/00Traffic control systems for road vehicles
    • G08G1/14Traffic control systems for road vehicles indicating individual free spaces in parking areas
    • EFIXED CONSTRUCTIONS
    • E04BUILDING
    • E04HBUILDINGS OR LIKE STRUCTURES FOR PARTICULAR PURPOSES; SWIMMING OR SPLASH BATHS OR POOLS; MASTS; FENCING; TENTS OR CANOPIES, IN GENERAL
    • E04H6/00Buildings for parking cars, rolling-stock, aircraft, vessels or like vehicles, e.g. garages
    • E04H6/08Garages for many vehicles
    • E04H6/12Garages for many vehicles with mechanical means for shifting or lifting vehicles
    • E04H6/18Garages for many vehicles with mechanical means for shifting or lifting vehicles with means for transport in vertical direction only or independently in vertical and horizontal directions
    • E04H6/22Garages for many vehicles with mechanical means for shifting or lifting vehicles with means for transport in vertical direction only or independently in vertical and horizontal directions characterised by use of movable platforms for horizontal transport, i.e. cars being permanently parked on palettes
    • EFIXED CONSTRUCTIONS
    • E04BUILDING
    • E04HBUILDINGS OR LIKE STRUCTURES FOR PARTICULAR PURPOSES; SWIMMING OR SPLASH BATHS OR POOLS; MASTS; FENCING; TENTS OR CANOPIES, IN GENERAL
    • E04H6/00Buildings for parking cars, rolling-stock, aircraft, vessels or like vehicles, e.g. garages
    • E04H6/42Devices or arrangements peculiar to garages, not covered elsewhere, e.g. securing devices, safety devices, monitoring and operating schemes; centering devices
    • E04H6/422Automatically operated car-parks
    • GPHYSICS
    • G07CHECKING-DEVICES
    • G07BTICKET-ISSUING APPARATUS; FARE-REGISTERING APPARATUS; FRANKING APPARATUS
    • G07B15/00Arrangements or apparatus for collecting fares, tolls or entrance fees at one or more control points
    • G07B15/02Arrangements or apparatus for collecting fares, tolls or entrance fees at one or more control points taking into account a variable factor such as distance or time, e.g. for passenger transport, parking systems or car rental systems
    • G07B15/04Arrangements or apparatus for collecting fares, tolls or entrance fees at one or more control points taking into account a variable factor such as distance or time, e.g. for passenger transport, parking systems or car rental systems comprising devices to free a barrier, turnstile, or the like

Definitions

  • the invention relates to a control system for a number of automatic parking garages.
  • the invention further relates to a method for operating a number of automatic parking garages.
  • Control systems for so-called automatic parking garages are generally known from the state of the art, in which vehicles are parked vertically and/or horizontally in designated parking spaces using a partially or fully automatic transport device.
  • a pallet is provided for each parking space.
  • the driver places the vehicle to be parked on such a pallet in the area of an entrance to the parking garage.
  • the vehicle is then automatically parked in a free parking space together with the pallet using the transport device.
  • the vehicle is picked up, it is automatically transported from the parking space to an exit area together with the pallet using the transport device.
  • Such an automatic parking garage describes the DE 10 2013 113 172 A1
  • the parking garage comprises a plurality of parking spaces arranged vertically one above the other and horizontally next to one another and a transport device for transporting a vehicle into and out of a free parking space.
  • a parking platform also referred to as a pallet, is provided for each parking space, on which the vehicle can be positioned and which can be transported together with the vehicle into a free parking space, onto the parking area and out of the parking space by means of the transport device.
  • the DE 10 2014 221 754 A1 describes a method for carrying out an automatic parking process of a vehicle, wherein a reservation request for a parking position of a parking space is sent to a parking space management server via a communications network. If an estimated arrival time of the vehicle at the parking space is later than a parking start time included in the transmitted reservation request, a reservation adjustment request is transmitted to the parking space management server via the communications network in order to adjust the reservation. Furthermore, a parking space management server is described which comprises a communications interface which is designed to receive a reservation request for a parking position of a parking space for a vehicle via a communications network.
  • a device for carrying out a reservation of a parking position of a parking space comprises a processor which is designed to determine a reservation request for a parking position of a parking space for a vehicle, and a communications interface which is designed to transmit the reservation request to the parking space management server via a communications network.
  • the device is a mobile radio device.
  • DE 102 55 945 A1 a method and a device for storing and retrieving vehicles in automatic parking garages.
  • the invention is based on the object of specifying a control system for a number of automatic parking garages that is improved compared to the prior art and a method for operating a number of automatic parking garages.
  • the control system also comprises at least one central processing unit, comprising at least one communication interface for communicating with a number of user data processing units and at least one communication interface for communicating with the number of parking garages.
  • the central processing unit controls the times of storage and removal of vehicles to be parked in or out of the relevant parking garage and the repositioning of vehicles within the parking garage at least as a function of an arrival time transmitted by at least one user data processing unit to the central processing unit during booking and/or while approaching the booked parking garage and as a function of occupancy of the booked parking garage.
  • the control system enables a user to select and book a parking space within an automatic parking garage, for example before setting off for a desired destination. For this purpose, free parking spaces are shown to the user via the user data processing unit. for example, sorted by price, distance to the destination and/or availability. This allows the user to be provided with highly transparent information about the current parking situation at the destination.
  • the central control and monitoring of at least one parking garage makes it possible for data on the availability of free parking spaces, i.e. data on a number of free parking spaces, to always be made available to the user in an up-to-date manner.
  • the control system also enables very fast order processing, i.e. very fast storage and retrieval of the vehicles to be parked.
  • very fast order processing i.e. very fast storage and retrieval of the vehicles to be parked.
  • this is achieved by using the central processing unit to select a position, i.e. a parking space, for positioning the respective parking platform in such a way that the distance and time required to transport the respective parking platform are minimized. This means that waiting times for users of at least one parking garage can be minimized.
  • control system enables the utilization of automatic parking garages to be maximized.
  • Each of the parking garages comprises at least one parking level with a plurality of parking spaces, wherein at least one parking platform is provided for at least one number of parking spaces, on which at least one vehicle to be parked can be positioned. Furthermore, each parking garage comprises at least one transport device for transporting the parking platforms into and out of a free parking space, wherein each parking space and the transport device each comprise a transport device for transporting the respective parking platform into and out of a neighboring parking space.
  • a parking garage enables the vehicles to be parked to be stored and retrieved very quickly, which means that waiting times for users of the parking garage can be minimized. In particular, this can also reduce the volume of traffic in the area surrounding the parking garage.
  • the positioning of the parking platforms is carried out in such a way that when choosing a parking space, the distance of the latter from the transport device is taken into account, whereby if the time until the storage or retrieval time is long, a parking space with a long distance from the transport device is selected, and if the time until the storage or retrieval time is shorter than the long time, a parking space with a shorter distance than the long distance from the transport device is selected.
  • the parking platforms can therefore be positioned at different distances from the transport device depending on known storage and/or retrieval times, so that rapid order processing is possible depending on an order sequence.
  • the positioning of a parking platform is carried out by means of at least one repositioning between a vehicle being stored and retrieved from this parking platform and/or between a vehicle being retrieved and another vehicle being stored on the same parking platform.
  • This means that the parking platforms are positioned, for example, in periods in which order density is low, depending on the respective storage time and/or retrieval time, in such a way that they are quickly available at the time of storage or retrieval.
  • the user data processing unit is a mobile device, for example a so-called smartphone, a tablet PC or a mobile navigation device.
  • the user data processing unit is a device mounted inside a vehicle, for example a navigation device of the vehicle.
  • a navigation device of the vehicle for example a navigation device of the vehicle.
  • each of the parking garages comprises at least one control device for controlling the transport device, with the central processing unit transmitting control commands for setting the storage times and/or removal times to the number of control devices of the number of parking garages.
  • At least one local computing device is provided for determining a positioning of a parking platform within the at least one parking level depending on a storage time of a vehicle to be stored in the future and/or depending on a removal time of a stored vehicle.
  • a position, ie a parking space, for positioning the respective parking platform is selected using the local computing device in such a way that the distance and time required to transport the respective parking platform are minimized. Waiting times for users of the parking garage can thus be further minimized.
  • each transport device comprises at least one motor-driven, endless and circulating conveyor belt, with a conveying surface of the at least one conveyor belt running essentially parallel to the undersides of the parking platforms. Because conveyor belts are used to transport the parking platforms, they can be transported reliably and quickly with little effort.
  • the number of parking platforms is at least 1 smaller than the number of parking spaces in order to enable the parking platforms to be easily moved within the parking garage.
  • the number of parking platforms corresponds to the number of parking spaces, whereby at least one other parking platform can be temporarily relocated in order to move a parking platform.
  • the conveyor belt is designed as a chain of interconnected belt links. This means that the respective conveyor belt is characterized by high mechanical flexibility, robustness and reliability.
  • At least one of the transport devices comprises several conveyor belts, wherein a transport direction of at least one conveyor belt runs in the direction of the parking spaces arranged in rows one behind the other and a transport direction of at least one further conveyor belt runs perpendicular to the direction of the parking spaces arranged in rows one behind the other.
  • the parking platforms can thus be transported both within a row of parking spaces and between the rows.
  • At least one transport device is designed as a transport frame and comprises four conveyor belts, with two conveyor belts each arranged on opposite edges of the transport frame.
  • a transport direction of a pair of opposing conveyor belts runs in the direction of the parking spaces arranged in rows one behind the other and a transport direction of another pair of opposing conveyor belts runs perpendicular to the direction of the parking spaces arranged in rows one behind the other.
  • the transport frame is designed in particular in such a way that the respective parking platform rests with its underside all the way around the edge on the transport frame, i.e. the four conveyor belts. It is also possible for the parking platform to rest with its underside on two opposing conveyor belts. This design of the transport device not only ensures that the parking platforms are held securely, but also enables reliable transport of the parking platforms in the parking garage and precise positioning of these within the parking spaces.
  • a transport device comprises several conveyor belts with different transport directions
  • the height of a conveyor belt for one transport direction can be changed in such a way that when the parking platform is transported in one transport direction there is no contact between the underside of the parking platform and the at least one conveyor belt for the other transport direction. This minimizes or avoids friction between the parking platforms and the conveyor belts that do not act on a currently set transport device.
  • a further development provides that a plurality of circular cylindrical rolling elements are arranged between a bearing surface of the at least one conveyor belt and an annular inner guide rail running essentially parallel to this bearing surface.
  • the bearing surface of the conveyor belt is located on a side of the conveyor belt opposite the conveyor surface.
  • the rolling elements enable On the one hand, a support of the conveyor belt on the inner guide rail and, on the other hand, a low-wear and low-noise operation of the transport device.
  • the rolling elements are arranged in a rolling element cage, whereby the rolling element cage is designed in the shape of a band and the flat sides of the band run essentially parallel to the bearing surface of the conveyor belt.
  • the vertical axes of the rolling elements run perpendicular to a longitudinal axis of the band-shaped rolling element cage. This rolling element cage ensures that the rolling elements are permanently positioned.
  • the rolling elements are designed as hollow cylinders or at least with a recess on their front sides.
  • the band-shaped rolling element cage has recesses which comprise fastening structures on two opposite edge areas which engage in the hollow space of the rolling element or in the recesses.
  • the vertical axes of the rolling elements run in the same plane as the band.
  • a further development provides that a plurality of circular cylindrical rolling elements are arranged starting from the conveyor surface below the at least one conveyor belt facing the bearing surface.
  • the rolling elements are arranged in one plane and are mounted axially and radially on a support frame.
  • the rolling elements also enable the conveyor belt to be supported on the support frame on the one hand and the transport device to be operated with little wear and noise on the other.
  • the parking garage comprises several parking levels arranged vertically one above the other, with the transport device comprising an elevator system for the essentially vertical transport of the parking platforms.
  • the transport device comprising an elevator system for the essentially vertical transport of the parking platforms.
  • At least one transfer station is provided for transferring the respective parking platform into the transport device and out of the transport device, wherein the transfer station comprises at least one transport device with at least one motor-driven, endless and circulating conveyor belt.
  • the at least one transfer station is arranged inside or outside a unit formed by the parking spaces. The transfer station enables the vehicle to be parked to be parked or positioned on the respective parking platform in a simple manner and the vehicle to be safely transported with the parking platform into the designated parking space within the parking garage.
  • the transfer station comprises a rotating device for rotating the transport device and the respective parking platform around a vertical axis.
  • At least one parking space in an automatic parking garage is selected and booked by means of at least one user data processing unit and an application program with a user interface executed on the latter, and the selection and booking are transmitted to at least one central processing unit by means of a communication interface, wherein the at least one central processing unit is Communication interface receives selections and bookings of parking spaces from the number of user data processing units and transmits them to the number of parking garages via a communication interface.
  • the central processing unit controls the times of storage and removal of vehicles to be parked in or out of the relevant parking garage and the repositioning of vehicles within the parking garage, at least depending on an arrival time transmitted to the central processing unit by at least one user data processing unit during the booking and/or while approaching the booked parking garage, and depending on the occupancy of the booked parking garage.
  • the method enables a user to select and book a parking space within an automatic parking garage, for example before setting off for a desired destination.
  • the user data processing unit provides the user with free parking spaces, sorted by price, distance to the destination and/or availability, for example. This allows the user to be provided with highly transparent information about the current parking situation at the destination.
  • the central control and monitoring of at least one parking garage makes it possible for data on the availability of free parking spaces, i.e. data on a number of free parking spaces, to always be made available to the user in an up-to-date manner.
  • the process enables very fast order processing, i.e. very fast storage and retrieval of the vehicles to be parked.
  • this is achieved by using the central processing unit to select a position, i.e. a parking space, for positioning the respective parking platform in such a way that the distance and time required to transport the respective parking platform are minimized. In this way, waiting times for users of at least one parking garage can be minimized.
  • control system enables an increase in the utilization of automatic parking garages.
  • the positioning of the parking platforms is carried out in such a way that when choosing a parking space, the distance of the latter from the transport device is taken into account, whereby if the time until the storage or retrieval time is long, a parking space with a long distance from the transport device is selected, and if the time until the storage or retrieval time is shorter than the long time, a parking space with a shorter distance than the long distance from the transport device is selected.
  • the parking platforms can therefore be positioned at different distances from the transport device depending on known storage and/or retrieval times, so that rapid order processing is possible depending on an order sequence.
  • the positioning of a parking platform is carried out by means of at least one repositioning between a vehicle being stored and retrieved from this parking platform and/or between a vehicle being retrieved and another vehicle being stored on the same parking platform.
  • This means that the parking platforms are positioned, for example, in periods in which order density is low, depending on the respective storage time and/or retrieval time, in such a way that they are quickly available at the time of storage or retrieval.
  • the arrival time at the selected parking garage is specified when booking using the user data processing unit. This enables precise occupancy planning of the parking garage and the utilization of automatic parking garages can be further improved.
  • the arrival time in the selected parking garage is continuously determined during a vehicle journey depending on the remaining distance and/or traffic data and transmitted to the central processing unit. This allows the accuracy of the occupancy planning to be further increased.
  • the determination of the arrival time is carried out by means of the user data processing unit or a unit connected to it.
  • the positioning of a parking platform is carried out when a vehicle is stored on this parking platform. This enables at least a pre-positioning, which reduces the effort required for any repositioning that may be carried out.
  • Figure 1 A perspective view of a section of a possible embodiment of an automatic parking garage 1.1 is shown.
  • the parking garage 1.1 comprises several parking levels E1 to E4 arranged vertically one above the other, wherein each parking level E1 to E4 comprises a plurality of horizontally adjacent rows R1 to R3 of parking spaces P1 to Pn.
  • the parking garage 1.1 in the illustrated embodiment comprises a plurality of parking platforms 2.1 to 2.m, on which at least one object to be parked, for example a vehicle 3, can be positioned and whose number is 1 less than a number of parking spaces P1 to Pn.
  • the number of parking platforms 2.1 to 2.m corresponds to the number of parking spaces P1 to Pn.
  • the parking garage 1.1 has a modular design, whereby the number of rows R1 to R3, the number of parking spaces P1 to Pn arranged in a row R1 to R3 and the number of parking levels E1 to E4 can be as large as desired.
  • the parking garage 1.1 can be easily expanded. This means that the number of rows R1 to R3, the number of parking spaces P1 to Pn arranged in a row R1 to R3 and the number of parking levels E1 to E4 can be easily changed, in particular expanded.
  • the parking garage 1.1 For transporting the parking platforms 2.1 to 2.m into a free parking space P1 to Pn and out of a parking space P1 to Pn, the parking garage 1.1 comprises a transport device 4.
  • the transport device 4 comprises a lift system 4.1 for vertical transport of the parking platforms 2.1 to 2.m.
  • a transfer station 5 For transporting a parking platform 2.1 to 2.m into the elevator system 4.1, a transfer station 5 is provided, which in the illustrated embodiment is arranged outside a unit formed by the parking spaces P1 to Pn and the conveying device 4. In an embodiment not shown, the transfer station 5 is arranged within this unit.
  • the number of conveying devices 4 and transfer stations 5 is variable.
  • the transfer station 5 For movement, i.e. for transporting the parking platforms 2.1 to 2.m from the transfer station 5 into the conveying device 4, i.e. the elevator system 4.1, from there into a free parking space P1 to Pn and for transporting between the parking spaces P1 to Pn, the transfer station 5, the conveying device 4 and the parking spaces P1 to Pn each comprise a transport device 6.1 to 6.x.
  • Each of the transport devices 6.1 to 6.x comprises at least one transport unit 7, which in turn comprises a Figure 2 motor-driven, endless and circulating conveyor belt 8 shown in more detail.
  • a user drives it onto the parking platform 2.1 located in the transfer station 5.
  • a space occupied by a vehicle 3 or an unoccupied parking platform 2.2 to 2.m is transported by means of the transport device 4 to a free position in the lowest level E1 or, depending on availability, to one of the other levels E2, E3.
  • at least one parking platform 2.2 to 2.m is transported to a parking area A, which is intended to accommodate several parking platforms 2.1 to 2.m and connects the parking garage 1.1 with another parking garage (not shown).
  • the parking platform 2.1 with the vehicle 3 parked on it is transported to the conveying device 4 using the transport device 6.x.
  • the parking platform 2.1 is transported from the parking level E1 to the parking level E4 using the elevator system 4.1.
  • the parking platform 2.1 is transported to the free parking space P1 to Pn on the parking level E4 using the transport device 6.1 arranged in the elevator system 4.1 and a transport device 6.2 to 6.x-1 arranged in a free parking space P1 to Pn immediately adjacent to the conveying device 4.
  • the transport devices 6.2 to 6.x-1 of the parking spaces P1 to Pn on the level E4 the vehicle 3 is transported together with the parking platform 2.1 to a predetermined parking space P1 to Pn.
  • the transfer station 5 comprises, in a manner not shown in detail, a rotating device for rotating the transport device 6.x and the parking platform 2.1 about a vertical axis.
  • FIGS. 2 and 3 show in a side view a section of a possible embodiment of a transport unit 7 of a transport device 6.1 to 6.x and in a side view the complete Transport unit 7 and a parking platform 2.1 arranged on the transport unit 7.
  • the transport unit 7 comprises a conveyor belt 8, which is formed from a plurality of belt links 8.1 to 8.z connected to one another as a chain.
  • a conveying surface F of the conveyor belt 8 runs parallel to an underside U of the storage platform 2.1.
  • a plurality of circular cylindrical rolling elements 10 are arranged between a bearing surface L of the conveyor belt 8 and an annular inner guide rail 9 running parallel to this bearing surface L.
  • the rolling elements 10 are designed as hollow cylinders and arranged in a rolling element cage 11, wherein the rolling element cage 11 is band-shaped and flat sides of the band run parallel to the bearing surface L of the conveyor belt 8.
  • a rolling bearing formed from the rolling elements 10 and the rolling element cage 11 is shown in various sectional views.
  • the band-shaped rolling element cage 11 has recesses 11.1, which comprise fastening structures 11.2, 11.3 on two opposite edge areas, which engage in the cavity of the rolling element 10.
  • the vertical axes of the rolling elements 10 run in a plane with the band-shaped rolling element cage 11.
  • Figure 6 shows a side view of a section of another embodiment of the transport unit 7 of the transport device 6.1 to 6.x.
  • a plurality of circular cylindrical rolling elements 10 are arranged facing the bearing surface L.
  • the rolling elements 10 are arranged in one plane and are mounted axially and radially on a support frame 14.
  • the rolling elements 10 comprise, in a manner not shown in detail, on their front sides in particular pins which are arranged and mounted in corresponding recesses within the support frame 14.
  • Figure 7 shows a plan view of a section of a first embodiment of a parking level E1 of a parking garage 1.1, wherein the parking platforms 2.1 to 2.m are not shown.
  • the transfer station 5 comprises two transport devices 6.1, 6.2, each with two transport units 7, by means of which a respective parking platform 2.1 to 2.m can be transported transversely to the rows R1 to R3 of the parking spaces P1 to P8.
  • Each transport unit 7 corresponds in its structure to the Figures 2 to 5 .
  • the transport devices 6.3, 6.9, 6.6 of the parking spaces P1, P6 and the transport device 4 each comprise four transport units 7, the structure of which corresponds to the illustrations of the Figures 2 to 5
  • the transport devices 6.3, 6.9 the storage platforms 2.1 to 2.m can be transported within the row R1 and between the Rows R1 and R2 are possible.
  • not all transport units 7 are provided with a reference symbol.
  • transport devices 6.3, 6.9, 6.6 are designed as transport frames, with two transport units 7 and the associated conveyor belts 8 being arranged on opposite edges of the transport frame.
  • a transport direction of a pair of opposing conveyor belts 8 runs in the direction of the parking spaces P1 to Pn arranged in rows one behind the other and a transport direction of the other pair of opposing conveyor belts 8 runs perpendicular to the direction of the parking spaces P1 to Pn arranged in rows one behind the other.
  • a transport device 6.1 to 6.x comprises several conveyor belts 8 with different transport directions, such as the described transport frame
  • the conveyor belts 8 of a pair for one transport direction can be changed in height, i.e. raised or lowered, such that when a storage platform 2.1 to 2.m is transported in one of the transport directions, there is no contact between the underside U of the respective storage platform 2.1 to 2.m and the pair of conveyor belts 8 for the other transport direction.
  • this raising or lowering takes place by means of a motor-operated eccentric arrangement and/or pneumatically and/or hydraulically.
  • the conveyor belts 8 of a pair which are intended for movement in a transport direction along a row R1 to R3, are fixed in their height and the conveyor belts 8 of a pair, which are intended for movement in a transport direction transverse to a row R1 to R3, are variable in their height.
  • the conveyor belts 8 of a pair which are intended for movement with the transport direction along a row R1 to R3 are variable in height and the conveyor belts 8 of a pair, which are intended to move with the transport direction transverse to a row R1 to R3, are fixed in height.
  • Figure 8 is a plan view of a section of a second embodiment of a parking level E1 of a parking garage 1.1, wherein the parking platforms 2.1 to 2.m are not shown.
  • all transport devices 6.1 to 6.11 have four transport units 7, each transport unit 7 being constructed in the same way as in the illustrations of the Figures 2 to 5 corresponds.
  • Figure 9 shows a top view of a third embodiment of a parking level E1 of the parking garage 1.1, wherein the parking platforms 2.1 to 2.m are not shown.
  • All transport devices 6.10 to 6.x of the parking spaces P1 to Pn and the conveying device 4 each comprise four transport units 7, so that the parking platforms 2.1 to 2.m can be transported in any manner both within all rows R1 to R6 and between all rows R1 to R6.
  • FIG. 10 Top views of various embodiments of transport devices 6.1 to 6.9 of the parking garage 1.1 are shown. Furthermore, various embodiments of parking platforms 2.1 to 2.5 are shown.
  • the transport devices 6.1 to 6.3 are intended for use for the elevator system 4.1 of the conveying device 4, wherein their possible transport directions run along a row R1 to R6 (transport device 6.1), transversely to a row R1 to R6 (transport device 6.2) or along and transversely to a row R1 to R6 (transport device 6.3).
  • the transport devices 6.4 to 6.6 are intended for use for a transfer station 5, wherein their possible transport directions are along a row R1 to R6 (transport device 6.4), transverse to a Row R1 to R6 (transport device 6.5) or along and across a row R1 to R6 (transport device 6.6). Furthermore, the transport devices 6.4 to 6.6 are each coupled to or include a rotating device for rotating the respective transport device 6.4 to 6.6 about the vertical axis.
  • the transport devices 6.7 to 6.9 are intended for use for a parking space P1, wherein their possible transport directions run along a row R1 to R6 (transport device 6.7), transversely to a row R1 to R6 (transport device 6.8) or along and transversely to a row R1 to R6 (transport device 6.9).
  • the illustrated parking platforms 2.1 to 2.4 are each designed to accommodate at least one vehicle 3, with the parking platform 2.1 being designed such that at least one bicycle can be safely parked on it.
  • fastening devices for securing the bicycle are provided, for example.
  • the parking platform 2.2 is designed for parking a vehicle 3, in particular a passenger car, and in one possible embodiment comprises structures which prevent or at least inhibit a parked vehicle 3 from rolling away.
  • the parking platform 2.3 is designed in such a way that at least one motorcycle can be safely parked on it.
  • fastening devices for securing the motorcycle are provided, for example.
  • the parking platform 2.4 is designed for parking a fully electrically operated vehicle 3 or a hybrid vehicle, and in one possible embodiment comprises structures which prevent or at least inhibit a parked vehicle 3 from rolling away. Furthermore, the parking platform 2.4 comprises a charging device 12 for charging a electrical storage of the vehicle 3. To connect this charging device 12, the parking platform comprises an electrical contact device (not shown) by means of which it can be connected to an electrical network in the corresponding parking space P1 to Pn. All parking platforms 2.1 to 2.m can comprise such an electrical contact device, regardless of their other design.
  • the parking platform 2.5 is intended and designed to accommodate a vehicle 3 designed as a storage container, so that the automatic parking garage 1.1 can be used as a multifunctional storage building and thus an increase in capacity can be achieved if required.
  • All parking platforms 2.1 to 2.m can be easily expanded and/or converted at a later date so that they can be easily adapted for use with other functions.
  • all parking platforms 2.1 to 2.m can be adapted or designed so that a vehicle 3 designed as a storage container can be arranged on them.
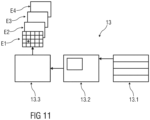
  • Figure 11 shows a block diagram of a device 13 for controlling operation of the parking garage 1.1.
  • the device 13 comprises an input and output unit 13.1, by means of which a user can, for example, obtain a parking ticket, specify the desired parking duration and make a payment.
  • the input and output unit 13.1 is, for example, arranged stationary at the parking garage 1.1. Alternatively, the input and output unit 13.1 can be a Figure 14
  • the user data processing unit 15 shown in more detail is provided with a corresponding data processing and/or application program.
  • the input and output unit 13.1 is coupled wirelessly or by cable to a computing device 13.2.
  • the computing device 13.2 comprises at least one data processing program, by means of which at least one order management and one positioning of the parked vehicles 3 in the parking garage 1.1 are carried out and optimized. In this case, a sequence of orders, in particular a sequence of storage and removal, is determined and stored by means of the computing device 13.2.
  • the computing device 13.2 is designed such that a positioning of a parking platform 2.1 to 2.m within the parking garage 1.1 is carried out depending on a storage time of a vehicle 3 to be stored in the future and/or depending on a removal time of a stored vehicle 3.
  • a position i.e. a parking space P1 to Pn, is selected for positioning the respective parking platform 2.1 to 2.m in such a way that the distance and time required to transport the respective parking platform 2.1 to 2.m to the transfer station 5 are minimized.
  • the positioning of the parking platforms 2.1 to 2.m is carried out in such a way that when selecting a parking space P1 to Pn, a distance of the same from the transport device 4 is taken into account, whereby if the time until the storage or retrieval time is long, a parking space P1 to Pn with a long distance from the transport device 4 is selected and if the time until the storage or retrieval time is shorter than the long time, a parking space P1 to Pn with a shorter distance than the long distance from the transport device 4 is selected.
  • an empty parking platform 2.1 to 2.m is placed near the transport device 4, in particular in a parking space P1 to Pn arranged immediately adjacent to the conveying device 4.
  • the parking platform 2.1 to 2.m occupied by the vehicle 3 is arranged near the transport device 4, in particular in a parking space P1 to Pn arranged immediately adjacent to the transport device 4.
  • the computing device 13.2 is designed such that the positioning of a parking platform 2.1 to 2.m occupied by a vehicle 3 is already carried out when it is stored. This is done in particular if the time of removal is already known when it is stored. For example, if it is already known when it is stored that a user wants to pick up his vehicle 3 from the parking garage 1.1 at a certain time, the parking platform 2.1 to 2.m occupied by the vehicle 3 is already arranged near the transport device 4 when it is stored, in particular in a parking space P1 to Pn arranged immediately adjacent to the transport device 4, if it is foreseeable that no further storage or removal process will take place in the meantime that would affect the planned removal.
  • the computing device 13.2 is designed in a possible embodiment such that the positioning of a parking platform 2.1 to 2.m is carried out by means of at least one repositioning between a storage and a retrieval of a vehicle 3 on this parking platform 2.1 to 2.m and/or between a retrieval of a vehicle 3 and a storage of another vehicle 3 on the same parking platform 2.1 to 2.m.
  • the parking platforms 2.1 to 2.m are positioned in time periods in which an order density is low, depending on the respective storage time and/or retrieval time, that they are quickly available at the time of storage or removal.
  • the corresponding parking platforms 2.1 to 2.m are positioned in the order of their removal times near the conveying device 4 in such a way that they can be transported one after the other by means of the latter to the transfer station 5.
  • the computing device 13.2 is coupled to a control device 13.3, which comprises, for example, a programmable logic controller.
  • the control device 13.3 controls the transport devices 6.1 to 6.x and thus the transport of the parking platforms 2.1 to 2.m. Sensors are provided in a manner not shown in detail to detect a position of a parking platform 2.1 to 2.m.
  • FIG 12 a top view of a section of a fourth embodiment of a parking level E1 of a parking garage 1.1 is shown.
  • the parking platforms 2.3, 2.5 are each occupied by vehicles 3 which are to be removed next and were therefore positioned immediately adjacent to the transport device 4.
  • the parking platforms 2.6, 2.9 are each unoccupied and are intended for the next storage or relocation of vehicles 3. These parking platforms 2.6, 2.9 were also positioned immediately adjacent to the transport device 4 for this reason.
  • Figure 13 shows a top view of a section of a fifth embodiment of a parking level E1 of a parking garage 1.1.
  • all parking spaces P1 to P8 are occupied by a parking platform 2.1 to 2.8 and each parking platform 2.1 to 2.8 is occupied by a vehicle 3.
  • All Parking platforms 2.1 to 2.8 can be moved both within a row R1 to R3 of parking spaces P1 to P8 and between these rows R1 to R3.
  • the parking platform 2.2 is first transported to the transport device 4.
  • the parking platform 2.3 is then transported to the free parking space P2 and the parking platform 2.8 is transported to the free parking space P3.
  • the parking platform 2.7 is then transported to the free parking space P8 and the parking platform 2.4 is transported to the free parking space P7.
  • the parking platform 2.8 is now transported from the parking space P3 to the free parking space P4 located immediately adjacent to the transport device 4, the parking platform 2.3 is transported from the parking space P2 to the parking space P3 and the parking platform 2.2 is transported from the transport device 4 to the parking space P2.
  • the number of parking platforms 2.1 to 2.m is at least 1 smaller than the number of parking spaces P1 to Pn.
  • the corresponding repositioning of the parking platforms 2.1 to 2.m will begin at 6:00 a.m. so that the corresponding parking platforms 2.1 to 2.m will be available as quickly as possible, in particular immediately, at 6:30 a.m., 6:40 a.m. and 6:50 a.m.
  • FIG 14 is a block diagram of a possible embodiment of a control system 16 for a number of automatic parking garages 1.1 to 1.y and the number of automatic parking garages 1.1 to 1.y themselves.
  • the parking garages 1.1 to 1.y are in particular like a Figures 1 to 13 described parking garage 1.1 was constructed.
  • the control system 16 comprises at least one user data processing unit 15, which is a mobile terminal, for example a so-called smartphone, a so-called tablet computer or a mobile navigation device, a terminal mounted within a vehicle 3, for example a navigation device of the vehicle 3.
  • a mobile terminal for example a so-called smartphone, a so-called tablet computer or a mobile navigation device, a terminal mounted within a vehicle 3, for example a navigation device of the vehicle 3.
  • the user data processing unit 15 comprises an application program with a user interface for selecting and booking at least one parking space P1 to Pn within an automatic parking garage 1.1 to 1.y.
  • the user interface is displayed, for example, on a touch-sensitive screen, which simultaneously forms an input unit of the user data processing unit 15.
  • the user data processing unit 15 comprises a communication interface 15.1 for communication with a communication interface 17.1 of a central processing unit 17, which is also part of the control system 16.
  • the central processing unit 17, which is, for example, a so-called backend server, comprises, in addition to the communication interface 17.1 for communication with a number of user data processing units 15, at least one further communication interface 17.2 for communication with the number of parking garages 1.1 to 1.y.
  • the central processing unit 17 is designed in such a way that it can, at least as a function of a data input during booking and/or during an approach to the booked parking garage 1.1 to 1.y from the user data processing unit 15 to the central processing unit 17, and depending on the occupancy B1 to By of the booked parking garage 1.1 to 1.y, controls the times of storage and/or removal of the vehicles 3 to be parked in or out of the relevant parking garage 1.1 to 1.y.
  • the central processing unit 17 sends control commands SB to set the times of storage and/or removal to the control devices 13.3 of the parking garages 1.1 to 1.y.
  • Storage platforms 2.1 to 2.m are carried out according to the description of the Figures 11 to 13 by means of the calculation devices provided locally at the parking garages 1.1 to 1.y 13.2.
  • the control system 16 enables a user to search for parking garages 1.1 to 1.y with free capacity using the user data processing unit 15 before leaving for a desired destination and also during a trip there.
  • the user specifies his estimated arrival time t and his desired parking duration so that the central processing unit 17 can determine the occupancy B1 to By of the parking garages 1.1 to 1.y in question.
  • the user is shown available parking garages 1.1 to 1.y with free parking spaces P1 to P.n as well as parking prices.
  • the user can select a parking garage 1.1 to 1.y and book a parking space P1 to Pn in it for a specific or indefinite period after his arrival time t.
  • the arrival time t in the selected parking garage 1.1 to 1.y is continuously determined or updated during the journey of a vehicle 3 depending on a remaining distance and/or depending on traffic data and is transmitted to the central The data is transmitted to the computing unit 17. This can thus further increase the accuracy of the occupancy planning and the utilization of the corresponding parking garage 1.1 to 1.y. Waiting times for users to store and retrieve their vehicles 3 can also be minimized.
  • the determination and updating of the arrival time t during the journey of the vehicle 3 is carried out, for example, by means of the user data processing unit 15.

Landscapes

  • Engineering & Computer Science (AREA)
  • Architecture (AREA)
  • Civil Engineering (AREA)
  • Structural Engineering (AREA)
  • Mechanical Engineering (AREA)
  • Physics & Mathematics (AREA)
  • General Physics & Mathematics (AREA)
  • Traffic Control Systems (AREA)
  • Warehouses Or Storage Devices (AREA)
EP18157874.1A 2017-02-22 2018-02-21 Steuerungssystem für automatische parkhäuser Active EP3366869B1 (de)

Applications Claiming Priority (1)

Application Number Priority Date Filing Date Title
DE102017202880.7A DE102017202880A1 (de) 2017-02-22 2017-02-22 Steuerungssystem für automatische Parkhäuser

Publications (2)

Publication Number Publication Date
EP3366869A1 EP3366869A1 (de) 2018-08-29
EP3366869B1 true EP3366869B1 (de) 2024-11-06

Family

ID=61256689

Family Applications (1)

Application Number Title Priority Date Filing Date
EP18157874.1A Active EP3366869B1 (de) 2017-02-22 2018-02-21 Steuerungssystem für automatische parkhäuser

Country Status (5)

Country Link
EP (1) EP3366869B1 (da)
DE (1) DE102017202880A1 (da)
DK (1) DK3366869T3 (da)
ES (1) ES3010550T3 (da)
FI (1) FI3366869T3 (da)

Families Citing this family (5)

* Cited by examiner, † Cited by third party
Publication number Priority date Publication date Assignee Title
CN113119923B (zh) * 2019-12-31 2023-03-28 国创移动能源创新中心(江苏)有限公司 定位泊车系统和方法
DE102020118417A1 (de) 2020-07-13 2022-01-13 Wöhr Autoparksysteme GmbH Parkanlage für Kraftfahrzeuge
CN113882290B (zh) * 2021-08-19 2023-07-21 宁波工程学院 一种坡面安全减速带
CN114120697A (zh) * 2021-10-20 2022-03-01 深圳市捷顺科技实业股份有限公司 一种应用于停车场的三方通话方法以及装置
DE102022113339A1 (de) 2022-05-25 2023-11-30 Klaus Multiparking Gmbh Parkanlage und Verfahren zu deren Betrieb

Family Cites Families (6)

* Cited by examiner, † Cited by third party
Publication number Priority date Publication date Assignee Title
US4312623A (en) * 1979-03-15 1982-01-26 Eaton-Kenway, Inc. High through-put materials handling system and method
DE9315932U1 (de) * 1993-02-04 1994-02-03 Geilersdorfer, Josef, 84137 Vilsbiburg Tiefgarage
DE10255945B4 (de) * 2002-11-14 2009-09-10 Shb Saalfelder Hebezeugbau Gmbh Verfahren und Vorrichtung zum Ein- und Auslagern von Fahrzeugen in automatischen Parkhäusern
US9140028B2 (en) 2011-10-03 2015-09-22 Unitronics Automated Solutions Ltd Automated parking system
CA2938378A1 (en) 2014-01-30 2015-08-06 Universidade Do Porto Device and method for self-automated parking lot for autonomous vehicles based on vehicular networking
DE102014221754A1 (de) 2014-10-27 2016-04-28 Robert Bosch Gmbh Verfahren zum Durchführen eines automatischen Parkvorgangs eines Fahrzeugs

Also Published As

Publication number Publication date
DK3366869T3 (da) 2025-02-10
DE102017202880A1 (de) 2018-08-23
FI3366869T3 (fi) 2025-02-13
ES3010550T3 (en) 2025-04-03
EP3366869A1 (de) 2018-08-29

Similar Documents

Publication Publication Date Title
EP3366869B1 (de) Steuerungssystem für automatische parkhäuser
DE3930425C2 (de) Verfahren zum Steuern der Bewegung von Transportfahrzeugen
DE68913285T2 (de) Mehrstöckiges Lager.
EP2607292B1 (de) System zum Transport von auf Hilfsmitteln angeordneten Gütern
DE69607238T2 (de) Träger mit mehreren Fächern für ein Speichersystem für vorzeitig eingetroffene Gepäckstücke
EP4052962B1 (de) Lageranordnung
EP3350389B1 (de) Automatisches parkhaus
DE102009032406A1 (de) Regallagersystem und Verfahren zum Betreiben eines Regallagersystems
EP1136395A2 (de) System zum Kommissionieren von in Regallagern befindlichen Artikeln
EP1799594B1 (de) Kommissioniersystem
EP3510456B1 (de) Verfahren zum montieren eines objekts
EP2766284B1 (de) Bewegungsvorrichtung für transporteinheiten
DE102016217632B4 (de) Automatisches Parkhaus
DE19635026A1 (de) Lagersystem
DE1759140A1 (de) Verbesserungen an mechanisierten Speichersystemen und zugehoerige Vorrichtung
EP3499333A1 (de) Fahrerloses transportsystem und verfahren zum betreiben eines fahrerlosen transportsystems
DE3902080A1 (de) Parkhaus
DE102017117908A1 (de) Flächenspeicher sowie Verfahren zur Förderung von Fahrzeugkarosserien oder Fahrzeugkarosserieaufnahmen
DE102015217959B4 (de) Verfahren und Vorrichtung zur Steuerung eines automatischen Parkhauses
DE3021472A1 (de) Lagerhalle fuer stueckgueter
DE102020122194A1 (de) Steuereinheit sowie Verfahren zum Steuern von Transporten einer Vielzahl an Werkstücken in einem modularen Montagesystem mittels eines genetischen Algorithmus; Montagesystem
DE102015217960A1 (de) Automatisches Parkhaus
EP4269319A2 (de) Fördereinrichtung für ladungsträger
DE3819710C2 (da)
EP3495588A1 (de) Fahrzeugparksystem

Legal Events

Date Code Title Description
PUAI Public reference made under article 153(3) epc to a published international application that has entered the european phase

Free format text: ORIGINAL CODE: 0009012

STAA Information on the status of an ep patent application or granted ep patent

Free format text: STATUS: THE APPLICATION HAS BEEN PUBLISHED

AK Designated contracting states

Kind code of ref document: A1

Designated state(s): AL AT BE BG CH CY CZ DE DK EE ES FI FR GB GR HR HU IE IS IT LI LT LU LV MC MK MT NL NO PL PT RO RS SE SI SK SM TR

AX Request for extension of the european patent

Extension state: BA ME

STAA Information on the status of an ep patent application or granted ep patent

Free format text: STATUS: REQUEST FOR EXAMINATION WAS MADE

17P Request for examination filed

Effective date: 20190227

RBV Designated contracting states (corrected)

Designated state(s): AL AT BE BG CH CY CZ DE DK EE ES FI FR GB GR HR HU IE IS IT LI LT LU LV MC MK MT NL NO PL PT RO RS SE SI SK SM TR

RAP1 Party data changed (applicant data changed or rights of an application transferred)

Owner name: FIRST MOVE! AG

STAA Information on the status of an ep patent application or granted ep patent

Free format text: STATUS: EXAMINATION IS IN PROGRESS

17Q First examination report despatched

Effective date: 20221021

GRAP Despatch of communication of intention to grant a patent

Free format text: ORIGINAL CODE: EPIDOSNIGR1

STAA Information on the status of an ep patent application or granted ep patent

Free format text: STATUS: GRANT OF PATENT IS INTENDED

INTG Intention to grant announced

Effective date: 20240531

GRAS Grant fee paid

Free format text: ORIGINAL CODE: EPIDOSNIGR3

GRAA (expected) grant

Free format text: ORIGINAL CODE: 0009210

STAA Information on the status of an ep patent application or granted ep patent

Free format text: STATUS: THE PATENT HAS BEEN GRANTED

AK Designated contracting states

Kind code of ref document: B1

Designated state(s): AL AT BE BG CH CY CZ DE DK EE ES FI FR GB GR HR HU IE IS IT LI LT LU LV MC MK MT NL NO PL PT RO RS SE SI SK SM TR

REG Reference to a national code

Ref country code: GB

Ref legal event code: FG4D

Free format text: NOT ENGLISH

REG Reference to a national code

Ref country code: CH

Ref legal event code: EP

REG Reference to a national code

Ref country code: DE

Ref legal event code: R096

Ref document number: 502018015285

Country of ref document: DE

REG Reference to a national code

Ref country code: IE

Ref legal event code: FG4D

Free format text: LANGUAGE OF EP DOCUMENT: GERMAN

REG Reference to a national code

Ref country code: DK

Ref legal event code: T3

Effective date: 20250206

REG Reference to a national code

Ref country code: FI

Ref legal event code: FGE

REG Reference to a national code

Ref country code: SE

Ref legal event code: TRGR

REG Reference to a national code

Ref country code: NL

Ref legal event code: FP

REG Reference to a national code

Ref country code: LT

Ref legal event code: MG9D

PGFP Annual fee paid to national office [announced via postgrant information from national office to epo]

Ref country code: SE

Payment date: 20250318

Year of fee payment: 8

PGFP Annual fee paid to national office [announced via postgrant information from national office to epo]

Ref country code: MC

Payment date: 20250320

Year of fee payment: 8

PG25 Lapsed in a contracting state [announced via postgrant information from national office to epo]

Ref country code: HR

Free format text: LAPSE BECAUSE OF FAILURE TO SUBMIT A TRANSLATION OF THE DESCRIPTION OR TO PAY THE FEE WITHIN THE PRESCRIBED TIME-LIMIT

Effective date: 20241106

Ref country code: IS

Free format text: LAPSE BECAUSE OF FAILURE TO SUBMIT A TRANSLATION OF THE DESCRIPTION OR TO PAY THE FEE WITHIN THE PRESCRIBED TIME-LIMIT

Effective date: 20250306

Ref country code: PT

Free format text: LAPSE BECAUSE OF FAILURE TO SUBMIT A TRANSLATION OF THE DESCRIPTION OR TO PAY THE FEE WITHIN THE PRESCRIBED TIME-LIMIT

Effective date: 20250306

PGFP Annual fee paid to national office [announced via postgrant information from national office to epo]

Ref country code: DE

Payment date: 20250327

Year of fee payment: 8

PGFP Annual fee paid to national office [announced via postgrant information from national office to epo]

Ref country code: DK

Payment date: 20250317

Year of fee payment: 8

Ref country code: FI

Payment date: 20250317

Year of fee payment: 8

Ref country code: NL

Payment date: 20250324

Year of fee payment: 8

PG25 Lapsed in a contracting state [announced via postgrant information from national office to epo]

Ref country code: BG

Free format text: LAPSE BECAUSE OF FAILURE TO SUBMIT A TRANSLATION OF THE DESCRIPTION OR TO PAY THE FEE WITHIN THE PRESCRIBED TIME-LIMIT

Effective date: 20241106

PGFP Annual fee paid to national office [announced via postgrant information from national office to epo]

Ref country code: LU

Payment date: 20250317

Year of fee payment: 8

PGFP Annual fee paid to national office [announced via postgrant information from national office to epo]

Ref country code: ES

Payment date: 20250318

Year of fee payment: 8

PGFP Annual fee paid to national office [announced via postgrant information from national office to epo]

Ref country code: IE

Payment date: 20250320

Year of fee payment: 8

PGFP Annual fee paid to national office [announced via postgrant information from national office to epo]

Ref country code: NO

Payment date: 20250320

Year of fee payment: 8

PG25 Lapsed in a contracting state [announced via postgrant information from national office to epo]

Ref country code: LV

Free format text: LAPSE BECAUSE OF FAILURE TO SUBMIT A TRANSLATION OF THE DESCRIPTION OR TO PAY THE FEE WITHIN THE PRESCRIBED TIME-LIMIT

Effective date: 20241106

Ref country code: GR

Free format text: LAPSE BECAUSE OF FAILURE TO SUBMIT A TRANSLATION OF THE DESCRIPTION OR TO PAY THE FEE WITHIN THE PRESCRIBED TIME-LIMIT

Effective date: 20250207

PGFP Annual fee paid to national office [announced via postgrant information from national office to epo]

Ref country code: BE

Payment date: 20250320

Year of fee payment: 8

Ref country code: CH

Payment date: 20250325

Year of fee payment: 8

Ref country code: AT

Payment date: 20250319

Year of fee payment: 8

PG25 Lapsed in a contracting state [announced via postgrant information from national office to epo]

Ref country code: PL

Free format text: LAPSE BECAUSE OF FAILURE TO SUBMIT A TRANSLATION OF THE DESCRIPTION OR TO PAY THE FEE WITHIN THE PRESCRIBED TIME-LIMIT

Effective date: 20241106

PGFP Annual fee paid to national office [announced via postgrant information from national office to epo]

Ref country code: FR

Payment date: 20250319

Year of fee payment: 8

PGFP Annual fee paid to national office [announced via postgrant information from national office to epo]

Ref country code: GB

Payment date: 20250324

Year of fee payment: 8

PG25 Lapsed in a contracting state [announced via postgrant information from national office to epo]

Ref country code: RS

Free format text: LAPSE BECAUSE OF FAILURE TO SUBMIT A TRANSLATION OF THE DESCRIPTION OR TO PAY THE FEE WITHIN THE PRESCRIBED TIME-LIMIT

Effective date: 20250206

PGFP Annual fee paid to national office [announced via postgrant information from national office to epo]

Ref country code: TR

Payment date: 20250313

Year of fee payment: 8

PG25 Lapsed in a contracting state [announced via postgrant information from national office to epo]

Ref country code: SM

Free format text: LAPSE BECAUSE OF FAILURE TO SUBMIT A TRANSLATION OF THE DESCRIPTION OR TO PAY THE FEE WITHIN THE PRESCRIBED TIME-LIMIT

Effective date: 20241106

PGFP Annual fee paid to national office [announced via postgrant information from national office to epo]

Ref country code: IT

Payment date: 20250331

Year of fee payment: 8

PG25 Lapsed in a contracting state [announced via postgrant information from national office to epo]

Ref country code: EE

Free format text: LAPSE BECAUSE OF FAILURE TO SUBMIT A TRANSLATION OF THE DESCRIPTION OR TO PAY THE FEE WITHIN THE PRESCRIBED TIME-LIMIT

Effective date: 20241106

PG25 Lapsed in a contracting state [announced via postgrant information from national office to epo]

Ref country code: RO

Free format text: LAPSE BECAUSE OF FAILURE TO SUBMIT A TRANSLATION OF THE DESCRIPTION OR TO PAY THE FEE WITHIN THE PRESCRIBED TIME-LIMIT

Effective date: 20241106

PG25 Lapsed in a contracting state [announced via postgrant information from national office to epo]

Ref country code: SK

Free format text: LAPSE BECAUSE OF FAILURE TO SUBMIT A TRANSLATION OF THE DESCRIPTION OR TO PAY THE FEE WITHIN THE PRESCRIBED TIME-LIMIT

Effective date: 20241106

PG25 Lapsed in a contracting state [announced via postgrant information from national office to epo]

Ref country code: CZ

Free format text: LAPSE BECAUSE OF FAILURE TO SUBMIT A TRANSLATION OF THE DESCRIPTION OR TO PAY THE FEE WITHIN THE PRESCRIBED TIME-LIMIT

Effective date: 20241106

REG Reference to a national code

Ref country code: DE

Ref legal event code: R097

Ref document number: 502018015285

Country of ref document: DE

PLBE No opposition filed within time limit

Free format text: ORIGINAL CODE: 0009261

STAA Information on the status of an ep patent application or granted ep patent

Free format text: STATUS: NO OPPOSITION FILED WITHIN TIME LIMIT

26N No opposition filed

Effective date: 20250807