EP3263222B1 - Centrifugal separator having a ventilation system - Google Patents

Centrifugal separator having a ventilation system Download PDF

Info

Publication number
EP3263222B1
EP3263222B1 EP16176418.8A EP16176418A EP3263222B1 EP 3263222 B1 EP3263222 B1 EP 3263222B1 EP 16176418 A EP16176418 A EP 16176418A EP 3263222 B1 EP3263222 B1 EP 3263222B1
Authority
EP
European Patent Office
Prior art keywords
air
space
centrifugal separator
rotor
flow
Prior art date
Legal status (The legal status is an assumption and is not a legal conclusion. Google has not performed a legal analysis and makes no representation as to the accuracy of the status listed.)
Active
Application number
EP16176418.8A
Other languages
German (de)
English (en)
French (fr)
Other versions
EP3263222A1 (en
Inventor
Linus HELMING
Yasaman SAFFARI
Current Assignee (The listed assignees may be inaccurate. Google has not performed a legal analysis and makes no representation or warranty as to the accuracy of the list.)
Alfa Laval Corporate AB
Original Assignee
Alfa Laval Corporate AB
Priority date (The priority date is an assumption and is not a legal conclusion. Google has not performed a legal analysis and makes no representation as to the accuracy of the date listed.)
Filing date
Publication date
Priority to EP16176418.8A priority Critical patent/EP3263222B1/en
Application filed by Alfa Laval Corporate AB filed Critical Alfa Laval Corporate AB
Priority to PL16176418T priority patent/PL3263222T3/pl
Priority to PCT/EP2017/064119 priority patent/WO2018001699A1/en
Priority to CN201780039148.8A priority patent/CN109311031B/zh
Priority to JP2018567820A priority patent/JP6856672B2/ja
Priority to RU2019102022A priority patent/RU2709310C1/ru
Priority to BR112018075544-3A priority patent/BR112018075544B1/pt
Publication of EP3263222A1 publication Critical patent/EP3263222A1/en
Application granted granted Critical
Publication of EP3263222B1 publication Critical patent/EP3263222B1/en
Active legal-status Critical Current
Anticipated expiration legal-status Critical

Links

Images

Classifications

    • BPERFORMING OPERATIONS; TRANSPORTING
    • B04CENTRIFUGAL APPARATUS OR MACHINES FOR CARRYING-OUT PHYSICAL OR CHEMICAL PROCESSES
    • B04BCENTRIFUGES
    • B04B15/00Other accessories for centrifuges
    • B04B15/08Other accessories for centrifuges for ventilating or producing a vacuum in the centrifuge
    • BPERFORMING OPERATIONS; TRANSPORTING
    • B04CENTRIFUGAL APPARATUS OR MACHINES FOR CARRYING-OUT PHYSICAL OR CHEMICAL PROCESSES
    • B04BCENTRIFUGES
    • B04B7/00Elements of centrifuges
    • B04B7/02Casings; Lids
    • BPERFORMING OPERATIONS; TRANSPORTING
    • B04CENTRIFUGAL APPARATUS OR MACHINES FOR CARRYING-OUT PHYSICAL OR CHEMICAL PROCESSES
    • B04BCENTRIFUGES
    • B04B7/00Elements of centrifuges
    • B04B7/02Casings; Lids
    • B04B7/06Safety devices ; Regulating

Definitions

  • the present invention relates to the field of centrifugal separators, and more specifically to centrifugal separators having a system for ventilating the space around the centrifuge rotor.
  • Centrifugal separators are generally used for separation of liquids and/or solids from a liquid mixture or a gas mixture.
  • fluid mixture that is about to be separated is introduced into a rotating bowl and due to the centrifugal forces, heavy particles or denser liquid, such as water, accumulates at the periphery of the rotating bowl whereas less dense liquid accumulates closer to the central axis of rotation. This allows for collection of the separated fractions, e.g. by means of different outlets arranged at the periphery and close to the rotational axis, respectively.
  • JP 2015104701 describes a centrifuge system where the operation of the system is terminated if flammable gas is detected by a flammable gas detector.
  • a common method today for preventing explosions when processing a flammable fluid is purging the separation system with inert gas, such as nitrogen or carbon dioxide, which reduces or eliminates the oxygen content.
  • inert gas such as nitrogen or carbon dioxide
  • a centrifuge is located in a container that can be sealed by means of a lid.
  • Means is provided for supplying an inert gas for purging the container and centrifuge of all oxygen and other combustible gases/vapors etc. before start of the centrifuge process to reduce the risk of explosion.
  • a main object of the present invention is to provide a centrifugal separator having a convenient ventilation system.
  • a further object is to provide a centrifugal separator having a reduced risk for explosion during processing of a flammable fluid.
  • a centrifugal separator for separation of at least two components of a fluid mixture which are of different densities which fluid mixture comprises a flammable fluid
  • which centrifugal separator comprises a stationary frame, a drive member configured to rotate a rotating part in relation to the stationary frame, wherein the rotating part comprises a spindle and a centrifuge rotor enclosing a separation space, the centrifuge rotor being mounted to the spindle to rotate together with the spindle around an axis (X) of rotation, wherein the rotating part is supported by the stationary frame by at least one bearing device, wherein the stationary frame surrounds the centrifuge rotor, thereby forming a rotor space between the stationary frame and the centrifuge rotor, and wherein the stationary frame comprises at least one first air inlet arranged to provide fluid communication into the rotor space and at least one first air outlet arranged to provide fluid communication out from the rotor space, wherein the at least one first air
  • the centrifugal separator is for separation of a fluid mixture, such as a gas mixture or a liquid mixture.
  • the stationary frame of the centrifugal separator is a non-rotating part, and the rotating part, such as the spindle is supported by the frame by at least one bearing device, such as by at least one ball-bearing.
  • the drive member is arranged for rotating the spindle and the centrifuge rotor mounted on the spindle.
  • a drive member for rotating the rotating part may comprise an electrical motor having a rotor and a stator.
  • the rotor may be provided on or fixed to the spindle so that it transmits driving torque to the spindle and hence to the centrifuge rotor during operation.
  • the drive member may be provided beside the spindle and rotates the rotating part by a suitable transmission, such as a belt or a gear transmission.
  • the centrifuge rotor is adjoined to a first end of the spindle and is thus mounted to rotate with the spindle. During operation, the spindle thus forms a rotating shaft.
  • the first end of the spindle may be an upper end of the spindle.
  • the spindle is thus rotatable around the axis of rotation (X).
  • the rotating part may be arranged to rotate at a speed of above 3000 rpm, such as above 3600 rpm.
  • the centrifuge rotor further encloses a separation space in which the separation of the fluid mixture takes place.
  • the centrifuge rotor forms a rotor casing for the separation space.
  • the separation space may comprise a stack of separation discs arranged centrally around the axis of rotation. Such separation discs form surface enlarging inserts in the separation space.
  • the separation discs may have the form of a truncated cone, i.e. the stack may be a stack of frustoconical separation discs.
  • the discs may also be axial discs arranged around the axis of rotation.
  • the centrifugal separator may further comprise at least one inlet for fluid mixture, i.e. feed, that is to be separated.
  • Such inlet may be a stationary pipe arranged for supplying the feed to the separation space.
  • the inlet may also be provided inside a rotating shaft, such as the spindle.
  • the spindle may be hollow and may further have a diameter of at least 10 mm, such as at least 20 mm.
  • the outer diameter of the spindle may be between 10-300 mm, such as between 20-200 mm.
  • the centrifugal separator may further comprise at least one liquid outlet for fluid that has been separated.
  • the at least one liquid outlet for fluid that has been separated may comprise a first outlet and a second outlet arranged at a larger radius from the rotational axis as compared to the first liquid outlet.
  • liquids of different densities may be separated and be discharged via the first and second liquid outlets, respectively.
  • a sludge phase i.e. mixed solid and liquid particles forming a heavy phase, may be collected in an outer peripheral part of the separation space. Therefore, the centrifugal separator may further comprise outlets for discharging such a sludge phase from the periphery of the separation space.
  • the outlets may be in the form of a plurality of peripheral ports extending from the separation space through the centrifuge rotor to the rotor space between the centrifuge rotor and the stationary frame.
  • the peripheral ports may be arranged to be opened intermittently, during a short period of time in the order of milliseconds, to enable discharge of a sludge phase from the separation space to the rotor space.
  • the peripheral ports may also be in the form of nozzles that are constantly open during operation to allow a constant discharge of sludge.
  • the stationary frame may be single walled or e.g. double or triple walled and surrounds the centrifuge rotor at a distance from the rotor, thereby forming a rotor space between the rotor and the frame wall.
  • the stationary frame comprises at least one first air inlet and at least one first air outlet.
  • the frame may comprise a single air inlet and/or a single air outlet, or as an alternative, two or more air inlets and/or two or more air outlets.
  • the at least one air inlet and the at least one first air outlet are arranged so as to provide fluid communication between the outside of the frame to the rotor space.
  • the at least one air inlet and the at least one air outlet may be through holes in the stationary frame.
  • Air may be atmospheric air and the pressure of the air may be atmospheric pressure or a pressure that is higher than atmospheric pressure.
  • the at least one first air inlet and the at least one first air outlet are arranged in the frame so as to provide a flow of air from the at least one first air inlet to the at least one first air outlet upon rotation of the rotating part.
  • the rotation of the centrifuge rotor may drive air from the outside of the stationary frame through the at least one first air inlet to the rotor space surrounding the rotor and then out from the rotor space through the at least one first air outlet.
  • the rotation of the bowl may drive a flow of ventilating air through the stationary frame, thereby ventilating the centrifuge bowl.
  • the at least one first air inlet is further arranged to be connected to a source of air.
  • the source of air may be the ambient air surrounding the centrifugal separator, and the at least one first air inlet may thus simply be a through hole or a pipe through the stationary frame.
  • the source of air may also be pressurized air, such as the pressurized air from a common air source that is found in almost all industrial environments.
  • the at least one air inlet may be arranged to provide a connection with such a pressurized air source, e.g. by means of threads or the like.
  • the at least one first air outlet is arranged to allow outflow of air from the rotor space.
  • “Outflow of air” refers to the air outlet or outlets being arranged to allow a flow of air out from the rotor space upon rotation of the centrifuge rotor.
  • the at least one first air outlet may be free of any device that exerts a counter pressure to the air in the rotor space. Consequently, the at least one first air outlet may be arranged to allow free outflow of air from the rotor space. Thus, the at least one first air outlet may be free of e.g. any liquid seals.
  • the at least one first inlet and/or the at least one first air outlet may have a cross-sectional area of more than 0.5 cm 2 , such as more than 1.0 cm 2 , such as more than 1.5 cm 2 , such as more than 2.0 cm 2 , such as more than 2.5 cm 2 .
  • the at least one first air inlet and/or the at least one first air outlet may comprise a substantially circular through hole in the frame having a diameter of more than 5 mm, such as more than 10 mm, such as more than 15 mm.
  • the at least one first air inlet and the at least one first air outlet may be arranged so as to provide a flow of air of above 4 Nm 3 /hour, such as above 6 Nm 3 /hour, such as above 8 Nm 3 /hour from inlet to and out through outlet upon rotation of the centrifuge rotor at its operational speed.
  • the first aspect of the invention is based on the insight that the centrifuge rotor may be ventilated using a flow of air that is generated upon rotation of the centrifuge rotor.
  • the rotation of the centrifuge rotor may draw air into the rotor space via the air inlet, which then may leave the rotor space via the air outlet.
  • the ventilation may thus be performed constantly by the air outside the separator.
  • the centrifuge rotor may also be ventilated during standstill of the separator and the ventilation using pressurised air may be performed constantly or with a frequency according to a time schedule.
  • the at least one first air inlet is arranged in the frame so that it communicates with a left portion of the rotor space and the at least one first air outlet is arranged in the frame so that it communicates with a right portion of the rotor space, or vice versa.
  • the “left” and “right” portions may be as seen in an axial plane through the centre of the centrifugal separator.
  • the "left” portion may then be left of the rotational axis X whereas the “right” portion may be right of the rotational axis X.
  • the left and right portions may be different portions of the rotor space.
  • An air inlet, an air outlet and the rotational axis may all be arranged in the same axial plane.
  • an air inlet may be provided in the frame to communicate with a first half of the rotor space and a first outlet may be provided in the frame to communicate with a second half, other than the first half, of the rotor space. This may facilitate that a large amount of the rotor space is ventilated when air flows from the air inlet to the air outlet.
  • the at least one first air inlet is arranged in the frame so that it communicates with an upper portion of the rotor space and the at least one first air outlet is arranged in the frame so that it communicates with a lower portion of the rotor space, or vice versa.
  • the "upper” and “lower” portions may be as seen in an axial plane through the centre of the centrifugal separator.
  • the "upper” portion may then be axially above the centre of the centrifuge rotor, whereas the “lower” portion may be axially below the centre of the centrifuge rotor.
  • the upper and lower portions may be different portions of the rotor space.
  • the at least one first air inlet may be arranged in the frame so that it communicates with an upper left portion of the rotor space and the at least one first air outlet may be arranged in the frame so that it communicates with a lower right portion of the rotor space, or vice versa. This may facilitate that a large amount of the rotor space is ventilated when air flows from an air inlet to an air outlet.
  • the flammable gas may be a combustible gas, such as a hydrocarbon that originates from a flammable liquid, such as from an oil or fuel.
  • the sensor may thus be a sensor comprising e.g. infrared or catalytic bead sensing technologies for detecting flammable gases.
  • the at least one sensor may be arranged within the rotor space, such as on the inner surface of the stationary frame.
  • a sensor for detecting a parameter related to the concentration of flammable gas may be advantageous in that it allows for adjusting the flow of air, i.e. the ventilation, based on output from the sensor, and it may further give information that the concentration of flammable gas is below a specific, non-harmful level.
  • the parameter may be the ratio of hydrocarbons to oxygen in the air of the rotor space.
  • the parameter may also be the actual concentration of hydrocarbons.
  • the centrifugal separator may thus also include a sensor configured to detect the concentration of oxygen in the rotor space, or it may comprise at least one sensor with the capacity of detecting both the concentration of oxygen and the concentration of hydrocarbon, or directly the ratio of hydrocarbons to oxygen.
  • At least one of the at least one sensor may be arranged in an additional space that is in fluid communication with the rotor space.
  • such an additional space does not surround the centrifuge rotor.
  • the additional space may thus be a passage or chamber, such as a tube-shaped passage or chamber, arranged outside the actual stationary frame but communicates with the rotor space via at least one opening in the frame. This may be advantageous allows for easy access to the at least one sensor.
  • the at least one first air inlet may be arranged to be connected to a source of pressurized air.
  • the at least one first air inlet may be arranged to be connected to a source of pressurized air and the centrifugal separator may further comprise a control unit configured to receive an input signal related to the parameter and generate a signal to regulate the flow of pressurized air based on the input signal.
  • the control unit may comprise a processor and an input/output interface for communicating with the source of pressurized air and for receiving information about the parameter related to the concentration of flammable gas in the rotor space from at least one sensor.
  • Regulating may comprise increasing the flow of pressurized air if the detected parameter is above a threshold value.
  • the threshold value may for example be a lower explosion limit for the ratio of hydrocarbons to oxygen in the rotor space or a specific concentration of hydrocarbons in the rotor space.
  • Regulating may further comprise decreasing the flow of pressurized air if the detected parameter is below a threshold value.
  • Regulating may also comprise using a regulation loop to keep the flow of pressurized air at a constant level or turning on or off the flow of pressurized air.
  • the control unit may be configured to decrease the flow of pressurized air at standstill of the separator, i.e. it may further be configured to receive information about the rotational speed of the centrifugal separator and control the flow of pressurized air based on that information.
  • the centrifugal separator may thus comprise pressure regulating means arranged for supplying the air at a pressure that is higher than atmospheric pressure to the at least one first air inlet.
  • the pressure regulating means may comprise a valve.
  • the control unit may thus be arranged to generate a signal that is sent to the pressure regulating means.
  • the frame further surrounds the drive member thereby also forming a drive space enclosing the drive member, and further comprises at least one second air inlet arranged to provide fluid communication into the drive space and at least one second air outlet arranged to provide fluid communication out from the drive space, wherein the centrifugal separator further comprises means for generating a flow of air from a second air inlet to and out through a second air outlet.
  • the means for generating a flow of air from a second air inlet to and out through a second air outlet may for example comprise a fan.
  • the means for generating a flow of air from a second air inlet to and out through a second air outlet may further be a source of pressurized air.
  • at least one second air inlet may be arranged to be connected to a source of pressurized air.
  • the at least one second air outlet may be arranged to allow outflow of air from the drive space, such as a free outflow without any counter pressure means.
  • the at least one second air inlet and the at least one second air outlet may be as or have a size as discussed in relation to the at least one first air inlet and the at least one first air outlet above.
  • the centrifugal separator may further be arranged for ventilating the drive space around the drive member in analogy with what is described about ventilation of the rotor space above.
  • the drive space may be in fluid communication with the rotor space or it may be sealed from the rotor space.
  • the centrifuge rotor may be arranged axially above or below the drive member, and the rotor space and the drive space may be sealed using e.g. a liquid seal axially between the rotor space and the drive space.
  • the bearing device may be arranged in the drive space.
  • the centrifugal separator may comprise at least one sensor configured to detect a parameter related to the concentration of flammable gas in the air of the drive space.
  • a sensor arranged in the drive space may be a sensor as described in relation to the rotor space above.
  • At least one second gas inlet may be arranged to be connected to a source of pressurized air, and wherein the centrifugal separator further comprises a control unit configured to receive an input signal related to the parameter and generate a signal to regulate the flow of pressurized air based on the input signal.
  • the control unit may be and may function, e.g. in terms of regulating the flow of pressurized air, as described in relation to the control unit for receiving a signal from at least one sensor configured to detect a parameter related to the concentration of flammable gas in the rotor space.
  • the same control unit may be used for receiving and controlling the flow of air in the rotor space and the drive space.
  • the centrifuge rotor is at its outer periphery provided with a set of sludge outlets for discharge of a higher density component such as sludge or other solids in a fluid mixture, and wherein the frame further encloses a solids collector for collecting the discharged component, and wherein the centrifugal separator further comprises at least one sensor configured to detect a parameter related to the concentration of flammable gas in the air of the solids collector.
  • the sludge outlets may be arranged to be opened intermittently or they may be arranged to be permanently opened, i.e. forming nozzles.
  • the solids collector may comprise a cyclone.
  • the centrifugal separator comprises a control unit as described above, also the sensor in the solids collector may be connected to the control unit so that the flow of ventilation air may be regulated based on information from the sensor in the solids collector.
  • the sensor in the solids collector may function as described in relation to the sensor in the rotor space and drive space, respectively.
  • the fluid mixture to be separated may be a liquid mixture.
  • the liquid mixture to be separated may have different temperature and if the liquid mixture to be separated comprises petrol or ethanol or other volatile chemical substances, it may start to have a substantial evaporation rate at room temperature or above.
  • the liquid mixture supplied to the separator may be supplied at room temperature.
  • the liquid mixture may have a temperature of at least 40 °C, such as at least 50 °C, such as at least 90 °C, such as at least 95 °C, such as at least 98 °C.
  • the liquid mixture may be supplied to the separation space via a stationary inlet pipe from above or below, or it may be supplied via the spindle, such as through a duct in the spindle that co-rotates with the spindle.
  • Rotating the rotating part thus includes using the drive member for transmitting torque to the spindle so that the spindle and centrifuge rotor rotates.
  • Rotating the rotating part may comprise rotating the centrifuge rotor at a speed that is above 3000 rpm, such as above 3600 rpm.
  • the method may of course also comprise separating the fluid mixture into two or several phases, such as one or two liquid phases and a solid or sludge phase.
  • the flammable fluid may comprise an oil.
  • the oil may be selected from heavy fuel oil (HFO), lubrication oil or crude oil.
  • HFO may be defined as in ISO 8217, Petroleum products - Fuels (class F) - Specification of marine fuels. Editions 2005 and 2012 .
  • the fluid mixture to be separated may be heated to a temperature of above 70° C, such as to a temperature between 70° C and 98 ° C, such as to a temperature above 98 ° C, before being supplied to the separation space. This may increase the handling and separation of e.g. an oil mixture to be separated.
  • the parameter may be the ratio of hydrocarbons to oxygen in the rotor space.
  • the parameter may also be the actual concentration of hydrocarbons.
  • Regulating may comprise increasing the flow of pressurized air if the detected parameter is above a threshold value.
  • the threshold value may for example be a lower explosion limit for the ratio of hydrocarbons to oxygen in the rotor space or a specific concentration of hydrocarbons in the rotor space.
  • Regulating may further comprise decreasing the flow of pressurized air if the detected parameter is below a threshold value.
  • Regulating may also comprise using a regulation loop to keep the flow of pressurized air at a constant level or turning on or off the flow of pressurized air
  • the method is further comprising
  • the method is further comprising
  • the method may of course comprise detecting a parameter related to the concentration of flammable gas in both the rotor space and the drive space, in the rotor space and in the solids collector, or in all three of the rotor space, the drive space and the solids collector.
  • centrifugal separator according to the present disclosure will be further illustrated by the following description of some embodiments with reference to the accompanying drawings.
  • Fig. 1 shows an embodiment of a centrifugal separator 1 having a stationary frame 2 and a rotating part 4.
  • the rotating part 4 comprises a vertical spindle 5 and a centrifuge rotor 6, in which the actual separation takes place during operation of the centrifugal separator 1.
  • a liquid mixture that is to be separated may during operation be introduced into a separation space (not shown) inside centrifuge rotor 6 from the top via a channel in pipe 33.
  • separated liquid phases e.g. one or two depending on the application, are discharged in channels in this pipe 33.
  • the separation space further comprise a stack of frusto-conical separation discs (not shown) in order to achieve effective separation of the liquid.
  • the stack of truncated conical separation discs are thus examples of surface-enlarging inserts and are fitted centrally and coaxially with the centrifuge rotor. 6.
  • the centrifuge rotor 6 comprises at its periphery a set of sludge outlets 19, which may be opened intermittently to discharge a separated sludge phase radially out from centrifuge rotor 6.
  • the sludge phase is collected in solids collector 20 after discharge.
  • the solids collector 20 is in this case arranged radially outside the stationary frame 2.
  • the spindle 5 is journalled in an upper bearing 7a and a lower bearing 7b and carries at its upper end above the upper bearing 7a the centrifuge rotor 6.
  • the rotating part 4 is rotatable about an axis X of rotation and driven by drive member 3, which in these examples comprise a screw gear.
  • the drive device may of course as an alternative comprise an electrical motor or a belt drive.
  • the drive member 3 may also be arranged axially above the centrifuge rotor 6.
  • the stationary frame 2 surrounds centrifuge rotor 6 at a distance from the centrifuge rotor 6 so that a rotor space 8 is formed around the centrifuge rotor 6.
  • the rotor space 8 may be divided in a left portion 11 and a right portion 12 of the rotational axis X.
  • the rotor space 8 may also be divided in an upper portion 13 and a lower portion 14.
  • the division between the upper portion 13 and the lower portion 14 may for example be a radial line through the sludge outlets 19, as illustrated by dotted line "Y" in the figures.
  • the rotor space 8 may be divided in an upper right portion, an upper left portion, a lower right portion and a lower left portion.
  • a first air inlet 9 is arranged in the stationary frame 2 in the upper left portion, whereas a first air outlet 10 is arranged in the stationary frame in the lower right portion.
  • the first air inlet 9 and first air outlet 10 are arranged as through holes in the frame, with a diameter between 5 - 10 mm, so that the air inlet 9, the air outlet 10 and the rotational axis are all substantially in the same axial plane.
  • the first air inlet 9 and the first air outlet 10 communicate with the ambient air.
  • the first air outlet 10 has no liquid seal or the like that exerts a counter pressure, i.e. it is arranged so that it allows for a substantially free flow of air out from the rotor space 8.
  • the air inlet 9 thus communicates with the upper left portion of the rotor space 8 whereas the air outlet 10 communicates with the lower right portion.
  • the air inlet 9 for example also could be arranged in the frame 2 so that it communicates with an upper right portion of rotor space 8
  • the air outlet 10 also could be arranged in the frame 2 so that it communicates with the lower left portion of the rotor space 8.
  • the stationary frame further comprises a lower part 16 that also surrounds drive member 3, thereby forming a drive space 27 around the drive member 3.
  • the drive space 27 and the rotor space 8 is in this embodiment not in fluid contact, and may be separated by means of e.g. a water seal arranged e.g. above the upper bearing 7a.
  • the lower part 16 of the frame comprises an air inlet and an air outlet, and are in Fig. 1 seen as a second air inlet 17 that communicates with a portion of the drive space 27 that is left of the rotational axis X, and a second air outlet 18 that communicates with a portion of the drive space 27 that is right of the rotational axis X, as seen in an axial plane.
  • the separator 1 comprises means for generating a flow of air (not shown) through the drive space 27, such as a fan.
  • a flow of ventilating air may be generated that ventilates the drive space 27 during operation of the centrifugal separator 1. This flow of air flows in the drive space 27 from the second air inlet 17 to and out through the second air outlet 18, as is illustrated by arrows "B" in the figures.
  • the centrifugal separator 1 comprises a sensor 15a arranged in the rotor space 8, a sensor 15b arranged in the solids collector 20 and a sensor 15c arranged in the drive space 27. All these sensors may be sensors that detect a parameter related to the concentration of flammable gas, such as the ratio of hydrocarbons to oxygen in the vicinity of the sensors. Thus, these sensors 15 a-c may give information related to the concentration of harmful or flammable gases, and may be used e.g. to confirm that the ventilation around the rotor and/or the solids collector and/or the drive member is ok, or if the concentration of flammable gas is above e.g. a lower explosion limit in the rotor space 8, the solids collector 20 and or the drive space 27. Detecting a concentration of flammable gas above a certain limit could then trigger e.g. shutting down the separator, i.e. turning off the feed of mixture to be separated and/or decreasing the rotational speed of the drive member 3.
  • Fig. 2 shows a further embodiment of a centrifugal separator 1.
  • This centrifugal separator 1 functions as discussed in relation to the separator of Fig. 1 above, with the only difference that the sensor 15a, which is arranged to detect a parameter related to the concentration flammable gas in the rotor space 8, is arranged in an additional space 21 that is in fluid contact with the rotor space 8.
  • the additional space 21 is formed by a tube shaped extension 34 of the frame 2.
  • This tube shaped extension 34 communicates with rotor space via through holes 22a and 22b of the stationary frame 2, but does not itself surround the centrifugal rotor 1.
  • the concentration of flammable gas in additional space 21 detected using sensor 15a is representative for the concentration of flammable gas in the rotor space 8. Having the sensor 15a arranged in such an additional space is advantageous in that it allows for easy access to the sensor.
  • Fig. 3 shows a further embodiment of a centrifugal separator 1.
  • This centrifugal separator 1 functions as discussed in relation to the separator of Fig. 1 above, with the exception that the separator 1 is free of any sensors for detecting the concentration of flammable gas and uses a flow of pressurized air for ventilating the rotor space 8 and the drive space 27.
  • This is achieved by connecting the first air inlet 9 and the second air inlet 17 to a source of pressurized air, illustrated by "P" in the figures, using connections 29a and 29b, respectively, which may be in the form of pipes or tubings.
  • the air is withdrawn from rotor space 8 and drive space 27 via first air outlet 10 and second air outlet 18, respectively, as discussed in relation to Fig. 1 above.
  • the source of pressurized air "P" is a common air source that is found in almost all industrial environments.
  • the flow of air in connection 29a to the first air inlet 9 is regulated using valve 30a, whereas the flow of air in connection 29b to the second air inlet 10 is regulated using valve 30b.
  • Having a flow of pressurized air, such as a constant flow of pressurized air may thus make the sensors for detecting flammable gas redundant.
  • the flow of pressurized air may be set at such level so that it keeps the concentration of flammable gas in the rotor space 8 and in the drive space 27 below a threshold, such as below a lower explosion limit.
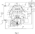
  • Fig. 4 shows a further embodiment of a centrifugal separator 1.
  • This centrifugal separator 1 functions as discussed in relation to the separator of Fig. 3 above, i.e. the air inlets 9 and 17 are connected to a source of pressurized air "P", but in this embodiment the regulation of the flow of air in connections 29a and 29b are performed using information from sensors for detecting flammable gas.
  • the centrifugal separator as shown in the embodiment of Fig. 4 comprises sensors as discussed in relation to Fig. 1 above, i.e. a sensor 15a arranged in the rotor space 8, a sensor 15b arranged in the solids collector 20 and a sensor 15c arranged in the drive space 27.
  • the sensors are connected to a control unit 23, which may be arranged within the centrifugal separator 1 or as a separate unit.
  • control unit 23 By means of control unit 23, the valves 30a and 30b, and thereby the flow of ventilating air may be controlled in a suitable way so that a required flow of air is obtained. This is achieved by means of connection 32a to valve 30a and connection 32b to valve 30b.
  • the control unit 23 may further comprise a communication interface 26, such as a transmitter/receiver, via which it may receive data from the sensors 15a, 15b and 15c and further transmit data to the valves 30a and 30b.
  • a communication interface 26 such as a transmitter/receiver, via which it may receive data from the sensors 15a, 15b and 15c and further transmit data to the valves 30a and 30b.
  • the received data may for instance include data of the measured parameter related to the concentration of flammable gas, such as data of the ratio of hydrocarbons to oxygen. This is indicated by connection 31a to sensor 15a in the rotor space 8, connection 31b to the sensor 15b in the solids collector 20 and connection 31c to the sensor 15c in the drive space 27.
  • the transmitted data may for instance include a control signal for controlling the valves 30a and 30b.
  • the control unit 23 is further configured to carry out a method for controlling the flow of pressurized air to air inlets 9 and 17 according to embodiments disclosed herein.
  • the control unit 23 may comprise a processing unit 24, such as a central processing unit, which is configured to execute computer code instructions which for instance may be stored on a memory 25.
  • the memory 25 may thus form a (non-transitory) computer-readable medium for storing such computer code instructions.
  • the processing unit 24 may alternatively be in the form of a hardware component, such as an application specific integrated circuit, a field-programmable gate array or the like.
  • the control unit 23 may receive information from the various sensors 15a-c, and regulate the flow of ventilating air to the air inlets 9 and 17 based on the received information. For example, the control unit 23 may regulate valve 30a so that the flow of air is increased if the signal from sensor 15a arranged in the rotor space 8 indicates that the concentration of flammable gas in the rotor space 8 is above a certain threshold, such as above lower explosion limit. The control unit 23 may then regulate valve 30a so that the flow of air is decreased if the signal from sensor 15a indicates that the concentration of flammable gas in the rotor space 8 has decreased.
  • a certain threshold such as above lower explosion limit
  • Regulating the valve 30a to decrease the flow of air may involve shutting valve 30a so that no air reaches the first air inlet 9.
  • control unit 23 may regulate valve 30a to increase or decrease the flow of pressurized air based on the information from sensor 15b arranged in the solids collector 20, or it may regulate valve 30a to increase or decrease the flow of pressurized air based on the information from both sensor 15a and 15b.
  • control unit 23 may regulate valve 30b to increase or decrease the flow of pressurized air that reaches the second air inlet 17 based on the information from sensor 15c, and may thus regulate the ventilation of the drive space 27 in analogy with what is discussed in relation to ventilating the rotor space 8 above.
  • control unit 23 comprise a regulation loop, i.e. it may be configured to regulate the flow of air to the first inlet 9 and/or to the second air inlet 17 so that the concentration of flammable gas in rotor space 8 and/or drive space 27 is kept at a constant level or below a constant level.
  • the control unit may also be configured to receive information from other parts of the separator, e.g. from the drive means 3, which may be an electrical motor, and/or from a feed pump that regulates the feed of fluid mixture to be separated in the centrifugal separator 1. In this way, it may regulate the flow of pressurized air to first air inlet 9 and/or second air inlet 17 based on that information.
  • the control unit 23 may receive information that the centrifugal separator is at standstill or that the feed to the separator is shut off, and may then regulate the valves 30a and 30b to decrease to shut off the flow of pressurized air to the first air inlet 9a and/or the second air inlet 9b.
  • centrifugal separator also comprises centrifugal separators with a substantially horizontally oriented axis of rotation.

Landscapes

  • Centrifugal Separators (AREA)
  • Separating Particles In Gases By Inertia (AREA)
EP16176418.8A 2016-06-27 2016-06-27 Centrifugal separator having a ventilation system Active EP3263222B1 (en)

Priority Applications (7)

Application Number Priority Date Filing Date Title
PL16176418T PL3263222T3 (pl) 2016-06-27 2016-06-27 Separator odśrodkowy wyposażony w system wentylacji
EP16176418.8A EP3263222B1 (en) 2016-06-27 2016-06-27 Centrifugal separator having a ventilation system
CN201780039148.8A CN109311031B (zh) 2016-06-27 2017-06-09 具有通风系统的离心分离器
JP2018567820A JP6856672B2 (ja) 2016-06-27 2017-06-09 換気システムを有する遠心分離機
PCT/EP2017/064119 WO2018001699A1 (en) 2016-06-27 2017-06-09 Centrifugal separator having a ventilation system
RU2019102022A RU2709310C1 (ru) 2016-06-27 2017-06-09 Центробежный сепаратор, имеющий систему вентиляции
BR112018075544-3A BR112018075544B1 (pt) 2016-06-27 2017-06-09 Separador centrífuga, e, método para ventilação de um separador centrífuga

Applications Claiming Priority (1)

Application Number Priority Date Filing Date Title
EP16176418.8A EP3263222B1 (en) 2016-06-27 2016-06-27 Centrifugal separator having a ventilation system

Publications (2)

Publication Number Publication Date
EP3263222A1 EP3263222A1 (en) 2018-01-03
EP3263222B1 true EP3263222B1 (en) 2020-10-14

Family

ID=56296533

Family Applications (1)

Application Number Title Priority Date Filing Date
EP16176418.8A Active EP3263222B1 (en) 2016-06-27 2016-06-27 Centrifugal separator having a ventilation system

Country Status (7)

Country Link
EP (1) EP3263222B1 (pl)
JP (1) JP6856672B2 (pl)
CN (1) CN109311031B (pl)
BR (1) BR112018075544B1 (pl)
PL (1) PL3263222T3 (pl)
RU (1) RU2709310C1 (pl)
WO (1) WO2018001699A1 (pl)

Families Citing this family (1)

* Cited by examiner, † Cited by third party
Publication number Priority date Publication date Assignee Title
KR102646571B1 (ko) * 2020-10-05 2024-03-11 주식회사 엘지화학 연속식 원심 탈수기

Family Cites Families (10)

* Cited by examiner, † Cited by third party
Publication number Priority date Publication date Assignee Title
CH107681A (de) * 1924-02-13 1925-03-16 Bbc Brown Boveri & Cie Elektromotorisch unmittelbar angetriebene raschlaufende Arbeitsmaschine.
GB751078A (en) * 1953-09-04 1956-06-27 Sandoz Ltd Improvements in or relating to centrifuges
GB2011808B (en) 1977-04-22 1982-01-20 Marl Associates Ltd Centrifuges
JPS5932966A (ja) * 1982-08-12 1984-02-22 Hitachi Koki Co Ltd バイオハザ−ド用遠心分離機
JPS609552U (ja) * 1983-06-29 1985-01-23 株式会社久保田製作所 遠心分離機
DE19646038C2 (de) * 1996-11-08 1998-08-06 Heinkel Ind Zentrifugen Stülpfilterzentrifuge
JP4771294B2 (ja) * 2007-05-31 2011-09-14 日立工機株式会社 遠心分離機
SE533089C2 (sv) * 2008-05-13 2010-06-22 Alfa Laval Corp Ab Centrifugalseparator
JP5330893B2 (ja) * 2009-05-13 2013-10-30 パナソニック株式会社 換気装置
JP6252748B2 (ja) * 2013-11-29 2017-12-27 日立工機株式会社 遠心機、及び遠心機におけるロータ室の開放方法

Non-Patent Citations (1)

* Cited by examiner, † Cited by third party
Title
None *

Also Published As

Publication number Publication date
BR112018075544A2 (pt) 2019-04-09
WO2018001699A1 (en) 2018-01-04
JP6856672B2 (ja) 2021-04-07
CN109311031B (zh) 2021-11-19
CN109311031A (zh) 2019-02-05
PL3263222T3 (pl) 2021-01-11
JP2019519368A (ja) 2019-07-11
RU2709310C1 (ru) 2019-12-17
BR112018075544B1 (pt) 2022-06-21
EP3263222A1 (en) 2018-01-03

Similar Documents

Publication Publication Date Title
US11325136B2 (en) Seal assembly for a centrifugal separator
CN108698051B (zh) 具有间歇排放系统的离心分离器
KR100944817B1 (ko) 크랭크실 가스의 정화를 위한 방법 및 장치
US7662220B2 (en) Drain separator
SE528387C2 (sv) Centrifugalseparator och förfarande för separering av en produkt i åtminstone en relativt tung fas och en relativt lätt fas
SE427248B (sv) Centrifugalseparator med automatisk flodeskontroll i utloppet for fastfasfraktion
CN114401793A (zh) 离心分离器和其控制方法
EP3263222B1 (en) Centrifugal separator having a ventilation system
CA1328861C (en) Low speed particle concentrator
RO119347B1 (ro) Dispozitiv de evacuare şi separator centrifugal
US11596955B2 (en) Centrifugal separator for separating a liquid mixture, and method therefor
CN117500604A (zh) 操作离心分离器的方法
US10058876B2 (en) Decanter centrifuge with double axial sealing
WO2023046495A1 (en) A centrifugal separator having a hermetic inlet and outlet
EP4574267A1 (en) Method and centrifugal separation system
JPS5881453A (ja) 垂直な回転軸線を有する遠心分離機
JPH0131326Y2 (pl)

Legal Events

Date Code Title Description
PUAI Public reference made under article 153(3) epc to a published international application that has entered the european phase

Free format text: ORIGINAL CODE: 0009012

STAA Information on the status of an ep patent application or granted ep patent

Free format text: STATUS: REQUEST FOR EXAMINATION WAS MADE

17P Request for examination filed

Effective date: 20160627

AK Designated contracting states

Kind code of ref document: A1

Designated state(s): AL AT BE BG CH CY CZ DE DK EE ES FI FR GB GR HR HU IE IS IT LI LT LU LV MC MK MT NL NO PL PT RO RS SE SI SK SM TR

AX Request for extension of the european patent

Extension state: BA ME

GRAP Despatch of communication of intention to grant a patent

Free format text: ORIGINAL CODE: EPIDOSNIGR1

STAA Information on the status of an ep patent application or granted ep patent

Free format text: STATUS: GRANT OF PATENT IS INTENDED

INTG Intention to grant announced

Effective date: 20200609

GRAS Grant fee paid

Free format text: ORIGINAL CODE: EPIDOSNIGR3

GRAA (expected) grant

Free format text: ORIGINAL CODE: 0009210

STAA Information on the status of an ep patent application or granted ep patent

Free format text: STATUS: THE PATENT HAS BEEN GRANTED

AK Designated contracting states

Kind code of ref document: B1

Designated state(s): AL AT BE BG CH CY CZ DE DK EE ES FI FR GB GR HR HU IE IS IT LI LT LU LV MC MK MT NL NO PL PT RO RS SE SI SK SM TR

REG Reference to a national code

Ref country code: GB

Ref legal event code: FG4D

REG Reference to a national code

Ref country code: AT

Ref legal event code: REF

Ref document number: 1323054

Country of ref document: AT

Kind code of ref document: T

Effective date: 20201015

Ref country code: CH

Ref legal event code: EP

REG Reference to a national code

Ref country code: DE

Ref legal event code: R096

Ref document number: 602016045704

Country of ref document: DE

REG Reference to a national code

Ref country code: IE

Ref legal event code: FG4D

REG Reference to a national code

Ref country code: AT

Ref legal event code: MK05

Ref document number: 1323054

Country of ref document: AT

Kind code of ref document: T

Effective date: 20201014

REG Reference to a national code

Ref country code: NL

Ref legal event code: MP

Effective date: 20201014

PG25 Lapsed in a contracting state [announced via postgrant information from national office to epo]

Ref country code: NL

Free format text: LAPSE BECAUSE OF FAILURE TO SUBMIT A TRANSLATION OF THE DESCRIPTION OR TO PAY THE FEE WITHIN THE PRESCRIBED TIME-LIMIT

Effective date: 20201014

Ref country code: NO

Free format text: LAPSE BECAUSE OF FAILURE TO SUBMIT A TRANSLATION OF THE DESCRIPTION OR TO PAY THE FEE WITHIN THE PRESCRIBED TIME-LIMIT

Effective date: 20210114

Ref country code: RS

Free format text: LAPSE BECAUSE OF FAILURE TO SUBMIT A TRANSLATION OF THE DESCRIPTION OR TO PAY THE FEE WITHIN THE PRESCRIBED TIME-LIMIT

Effective date: 20201014

Ref country code: PT

Free format text: LAPSE BECAUSE OF FAILURE TO SUBMIT A TRANSLATION OF THE DESCRIPTION OR TO PAY THE FEE WITHIN THE PRESCRIBED TIME-LIMIT

Effective date: 20210215

Ref country code: FI

Free format text: LAPSE BECAUSE OF FAILURE TO SUBMIT A TRANSLATION OF THE DESCRIPTION OR TO PAY THE FEE WITHIN THE PRESCRIBED TIME-LIMIT

Effective date: 20201014

Ref country code: GR

Free format text: LAPSE BECAUSE OF FAILURE TO SUBMIT A TRANSLATION OF THE DESCRIPTION OR TO PAY THE FEE WITHIN THE PRESCRIBED TIME-LIMIT

Effective date: 20210115

REG Reference to a national code

Ref country code: LT

Ref legal event code: MG4D

PG25 Lapsed in a contracting state [announced via postgrant information from national office to epo]

Ref country code: LV

Free format text: LAPSE BECAUSE OF FAILURE TO SUBMIT A TRANSLATION OF THE DESCRIPTION OR TO PAY THE FEE WITHIN THE PRESCRIBED TIME-LIMIT

Effective date: 20201014

Ref country code: SE

Free format text: LAPSE BECAUSE OF FAILURE TO SUBMIT A TRANSLATION OF THE DESCRIPTION OR TO PAY THE FEE WITHIN THE PRESCRIBED TIME-LIMIT

Effective date: 20201014

Ref country code: IS

Free format text: LAPSE BECAUSE OF FAILURE TO SUBMIT A TRANSLATION OF THE DESCRIPTION OR TO PAY THE FEE WITHIN THE PRESCRIBED TIME-LIMIT

Effective date: 20210214

Ref country code: BG

Free format text: LAPSE BECAUSE OF FAILURE TO SUBMIT A TRANSLATION OF THE DESCRIPTION OR TO PAY THE FEE WITHIN THE PRESCRIBED TIME-LIMIT

Effective date: 20210114

Ref country code: ES

Free format text: LAPSE BECAUSE OF FAILURE TO SUBMIT A TRANSLATION OF THE DESCRIPTION OR TO PAY THE FEE WITHIN THE PRESCRIBED TIME-LIMIT

Effective date: 20201014

Ref country code: AT

Free format text: LAPSE BECAUSE OF FAILURE TO SUBMIT A TRANSLATION OF THE DESCRIPTION OR TO PAY THE FEE WITHIN THE PRESCRIBED TIME-LIMIT

Effective date: 20201014

PG25 Lapsed in a contracting state [announced via postgrant information from national office to epo]

Ref country code: HR

Free format text: LAPSE BECAUSE OF FAILURE TO SUBMIT A TRANSLATION OF THE DESCRIPTION OR TO PAY THE FEE WITHIN THE PRESCRIBED TIME-LIMIT

Effective date: 20201014

REG Reference to a national code

Ref country code: DE

Ref legal event code: R097

Ref document number: 602016045704

Country of ref document: DE

PG25 Lapsed in a contracting state [announced via postgrant information from national office to epo]

Ref country code: RO

Free format text: LAPSE BECAUSE OF FAILURE TO SUBMIT A TRANSLATION OF THE DESCRIPTION OR TO PAY THE FEE WITHIN THE PRESCRIBED TIME-LIMIT

Effective date: 20201014

Ref country code: SK

Free format text: LAPSE BECAUSE OF FAILURE TO SUBMIT A TRANSLATION OF THE DESCRIPTION OR TO PAY THE FEE WITHIN THE PRESCRIBED TIME-LIMIT

Effective date: 20201014

Ref country code: EE

Free format text: LAPSE BECAUSE OF FAILURE TO SUBMIT A TRANSLATION OF THE DESCRIPTION OR TO PAY THE FEE WITHIN THE PRESCRIBED TIME-LIMIT

Effective date: 20201014

Ref country code: CZ

Free format text: LAPSE BECAUSE OF FAILURE TO SUBMIT A TRANSLATION OF THE DESCRIPTION OR TO PAY THE FEE WITHIN THE PRESCRIBED TIME-LIMIT

Effective date: 20201014

Ref country code: LT

Free format text: LAPSE BECAUSE OF FAILURE TO SUBMIT A TRANSLATION OF THE DESCRIPTION OR TO PAY THE FEE WITHIN THE PRESCRIBED TIME-LIMIT

Effective date: 20201014

Ref country code: SM

Free format text: LAPSE BECAUSE OF FAILURE TO SUBMIT A TRANSLATION OF THE DESCRIPTION OR TO PAY THE FEE WITHIN THE PRESCRIBED TIME-LIMIT

Effective date: 20201014

PLBE No opposition filed within time limit

Free format text: ORIGINAL CODE: 0009261

STAA Information on the status of an ep patent application or granted ep patent

Free format text: STATUS: NO OPPOSITION FILED WITHIN TIME LIMIT

PG25 Lapsed in a contracting state [announced via postgrant information from national office to epo]

Ref country code: DK

Free format text: LAPSE BECAUSE OF FAILURE TO SUBMIT A TRANSLATION OF THE DESCRIPTION OR TO PAY THE FEE WITHIN THE PRESCRIBED TIME-LIMIT

Effective date: 20201014

26N No opposition filed

Effective date: 20210715

PG25 Lapsed in a contracting state [announced via postgrant information from national office to epo]

Ref country code: AL

Free format text: LAPSE BECAUSE OF FAILURE TO SUBMIT A TRANSLATION OF THE DESCRIPTION OR TO PAY THE FEE WITHIN THE PRESCRIBED TIME-LIMIT

Effective date: 20201014

PG25 Lapsed in a contracting state [announced via postgrant information from national office to epo]

Ref country code: SI

Free format text: LAPSE BECAUSE OF FAILURE TO SUBMIT A TRANSLATION OF THE DESCRIPTION OR TO PAY THE FEE WITHIN THE PRESCRIBED TIME-LIMIT

Effective date: 20201014

PG25 Lapsed in a contracting state [announced via postgrant information from national office to epo]

Ref country code: MC

Free format text: LAPSE BECAUSE OF FAILURE TO SUBMIT A TRANSLATION OF THE DESCRIPTION OR TO PAY THE FEE WITHIN THE PRESCRIBED TIME-LIMIT

Effective date: 20201014

REG Reference to a national code

Ref country code: CH

Ref legal event code: PL

GBPC Gb: european patent ceased through non-payment of renewal fee

Effective date: 20210627

REG Reference to a national code

Ref country code: BE

Ref legal event code: MM

Effective date: 20210630

PG25 Lapsed in a contracting state [announced via postgrant information from national office to epo]

Ref country code: LU

Free format text: LAPSE BECAUSE OF NON-PAYMENT OF DUE FEES

Effective date: 20210627

PG25 Lapsed in a contracting state [announced via postgrant information from national office to epo]

Ref country code: LI

Free format text: LAPSE BECAUSE OF NON-PAYMENT OF DUE FEES

Effective date: 20210630

Ref country code: IE

Free format text: LAPSE BECAUSE OF NON-PAYMENT OF DUE FEES

Effective date: 20210627

Ref country code: GB

Free format text: LAPSE BECAUSE OF NON-PAYMENT OF DUE FEES

Effective date: 20210627

Ref country code: CH

Free format text: LAPSE BECAUSE OF NON-PAYMENT OF DUE FEES

Effective date: 20210630

PG25 Lapsed in a contracting state [announced via postgrant information from national office to epo]

Ref country code: IS

Free format text: LAPSE BECAUSE OF FAILURE TO SUBMIT A TRANSLATION OF THE DESCRIPTION OR TO PAY THE FEE WITHIN THE PRESCRIBED TIME-LIMIT

Effective date: 20210214

Ref country code: FR

Free format text: LAPSE BECAUSE OF NON-PAYMENT OF DUE FEES

Effective date: 20210630

PG25 Lapsed in a contracting state [announced via postgrant information from national office to epo]

Ref country code: BE

Free format text: LAPSE BECAUSE OF NON-PAYMENT OF DUE FEES

Effective date: 20210630

PG25 Lapsed in a contracting state [announced via postgrant information from national office to epo]

Ref country code: HU

Free format text: LAPSE BECAUSE OF FAILURE TO SUBMIT A TRANSLATION OF THE DESCRIPTION OR TO PAY THE FEE WITHIN THE PRESCRIBED TIME-LIMIT; INVALID AB INITIO

Effective date: 20160627

P01 Opt-out of the competence of the unified patent court (upc) registered

Effective date: 20230420

PG25 Lapsed in a contracting state [announced via postgrant information from national office to epo]

Ref country code: CY

Free format text: LAPSE BECAUSE OF FAILURE TO SUBMIT A TRANSLATION OF THE DESCRIPTION OR TO PAY THE FEE WITHIN THE PRESCRIBED TIME-LIMIT

Effective date: 20201014

PG25 Lapsed in a contracting state [announced via postgrant information from national office to epo]

Ref country code: MK

Free format text: LAPSE BECAUSE OF FAILURE TO SUBMIT A TRANSLATION OF THE DESCRIPTION OR TO PAY THE FEE WITHIN THE PRESCRIBED TIME-LIMIT

Effective date: 20201014

PG25 Lapsed in a contracting state [announced via postgrant information from national office to epo]

Ref country code: TR

Free format text: LAPSE BECAUSE OF FAILURE TO SUBMIT A TRANSLATION OF THE DESCRIPTION OR TO PAY THE FEE WITHIN THE PRESCRIBED TIME-LIMIT

Effective date: 20201014

PG25 Lapsed in a contracting state [announced via postgrant information from national office to epo]

Ref country code: MT

Free format text: LAPSE BECAUSE OF FAILURE TO SUBMIT A TRANSLATION OF THE DESCRIPTION OR TO PAY THE FEE WITHIN THE PRESCRIBED TIME-LIMIT

Effective date: 20201014

PGFP Annual fee paid to national office [announced via postgrant information from national office to epo]

Ref country code: PL

Payment date: 20250414

Year of fee payment: 10

Ref country code: DE

Payment date: 20250402

Year of fee payment: 10

PGFP Annual fee paid to national office [announced via postgrant information from national office to epo]

Ref country code: IT

Payment date: 20250522

Year of fee payment: 10