EP3246096B1 - Dispositif de pulvérisation et utilisation de ce dispositif - Google Patents

Dispositif de pulvérisation et utilisation de ce dispositif Download PDF

Info

Publication number
EP3246096B1
EP3246096B1 EP17175982.2A EP17175982A EP3246096B1 EP 3246096 B1 EP3246096 B1 EP 3246096B1 EP 17175982 A EP17175982 A EP 17175982A EP 3246096 B1 EP3246096 B1 EP 3246096B1
Authority
EP
European Patent Office
Prior art keywords
front wall
spraying device
holes
side wall
pusher
Prior art date
Legal status (The legal status is an assumption and is not a legal conclusion. Google has not performed a legal analysis and makes no representation as to the accuracy of the status listed.)
Active
Application number
EP17175982.2A
Other languages
German (de)
English (en)
Other versions
EP3246096A1 (fr
Inventor
Bernard Clerget
Jean-Pierre Songbe
Pierre Dumont
Current Assignee (The listed assignees may be inaccurate. Google has not performed a legal analysis and makes no representation or warranty as to the accuracy of the list.)
Silgan Dispensing Systems Le Treport SAS
Original Assignee
Albea Le Treport SAS
Priority date (The priority date is an assumption and is not a legal conclusion. Google has not performed a legal analysis and makes no representation as to the accuracy of the date listed.)
Filing date
Publication date
Family has litigation
First worldwide family litigation filed litigation Critical https://patents.darts-ip.com/?family=38510412&utm_source=google_patent&utm_medium=platform_link&utm_campaign=public_patent_search&patent=EP3246096(B1) "Global patent litigation dataset” by Darts-ip is licensed under a Creative Commons Attribution 4.0 International License.
Priority claimed from FR0606259A external-priority patent/FR2903328B1/fr
Application filed by Albea Le Treport SAS filed Critical Albea Le Treport SAS
Publication of EP3246096A1 publication Critical patent/EP3246096A1/fr
Application granted granted Critical
Publication of EP3246096B1 publication Critical patent/EP3246096B1/fr
Active legal-status Critical Current
Anticipated expiration legal-status Critical

Links

Images

Classifications

    • BPERFORMING OPERATIONS; TRANSPORTING
    • B05SPRAYING OR ATOMISING IN GENERAL; APPLYING FLUENT MATERIALS TO SURFACES, IN GENERAL
    • B05BSPRAYING APPARATUS; ATOMISING APPARATUS; NOZZLES
    • B05B1/00Nozzles, spray heads or other outlets, with or without auxiliary devices such as valves, heating means
    • B05B1/14Nozzles, spray heads or other outlets, with or without auxiliary devices such as valves, heating means with multiple outlet openings; with strainers in or outside the outlet opening
    • BPERFORMING OPERATIONS; TRANSPORTING
    • B05SPRAYING OR ATOMISING IN GENERAL; APPLYING FLUENT MATERIALS TO SURFACES, IN GENERAL
    • B05BSPRAYING APPARATUS; ATOMISING APPARATUS; NOZZLES
    • B05B1/00Nozzles, spray heads or other outlets, with or without auxiliary devices such as valves, heating means
    • B05B1/14Nozzles, spray heads or other outlets, with or without auxiliary devices such as valves, heating means with multiple outlet openings; with strainers in or outside the outlet opening
    • B05B1/18Roses; Shower heads
    • B05B1/185Roses; Shower heads characterised by their outlet element; Mounting arrangements therefor
    • BPERFORMING OPERATIONS; TRANSPORTING
    • B65CONVEYING; PACKING; STORING; HANDLING THIN OR FILAMENTARY MATERIAL
    • B65DCONTAINERS FOR STORAGE OR TRANSPORT OF ARTICLES OR MATERIALS, e.g. BAGS, BARRELS, BOTTLES, BOXES, CANS, CARTONS, CRATES, DRUMS, JARS, TANKS, HOPPERS, FORWARDING CONTAINERS; ACCESSORIES, CLOSURES, OR FITTINGS THEREFOR; PACKAGING ELEMENTS; PACKAGES
    • B65D83/00Containers or packages with special means for dispensing contents
    • B65D83/14Containers for dispensing liquid or semi-liquid contents by internal gaseous pressure, i.e. aerosol containers comprising propellant
    • B65D83/75Aerosol containers not provided for in groups B65D83/16 - B65D83/74
    • B65D83/753Aerosol containers not provided for in groups B65D83/16 - B65D83/74 characterised by details or accessories associated with outlets
    • BPERFORMING OPERATIONS; TRANSPORTING
    • B05SPRAYING OR ATOMISING IN GENERAL; APPLYING FLUENT MATERIALS TO SURFACES, IN GENERAL
    • B05BSPRAYING APPARATUS; ATOMISING APPARATUS; NOZZLES
    • B05B11/00Single-unit hand-held apparatus in which flow of contents is produced by the muscular force of the operator at the moment of use
    • B05B11/01Single-unit hand-held apparatus in which flow of contents is produced by the muscular force of the operator at the moment of use characterised by the means producing the flow
    • B05B11/10Pump arrangements for transferring the contents from the container to a pump chamber by a sucking effect and forcing the contents out through the dispensing nozzle

Definitions

  • the present invention relates to a spray device and to a use of this device.
  • the document US-A-6 145 712 describes an example of such a spray device, in which the front face of the spray nozzle has a single central hole.
  • the spray nozzles which are conventionally mounted on pumps or on spray valves, have the drawback of causing a large dispersion in the diameter of the droplets of sprayed fluid.
  • the fractionation of the fluid product into fine droplets is obtained by a dynamic phenomenon which is particularly difficult to control, generally consisting in creating a vortex in the inner chamber of the nozzle and in splitting the fluid. fluid product in fine droplets when it exits at very high speed through the central hole.
  • spray devices are described in WO03 / 020436A , EP 1 698 399 A , EP0 613 836 A , WO 02/0201981 A , JP 2002 186882A and US 6 341 735 B1 .
  • the sprayed product consists of droplets having diameters between 5 ⁇ m and 300 ⁇ m.
  • This dispersion may prove to be undesirable when it is desired to spray droplets of substantially homogeneous sizes. For example, one may wish to spray small droplets for inhaling medicinal treatments of the bronchi, or else one may wish to spray larger size drops for cosmetic or perfume applications, so that the droplets penetrate the least. possible in the user's bronchi.
  • droplets of very different sizes also follow very different paths, which is detrimental for a controlled application of the sprayed product.
  • oversized droplets may fall on the user's clothing instead of being projected onto the skin, risking indelible stains. .
  • the object of the present invention is in particular to overcome these drawbacks.
  • the invention provides a spray device of the aforementioned type in which the front wall comprises a plurality of calibrated holes each having a diameter between 1 and 100 ⁇ m, the diameter of each hole not differing by more than 20%. an average of the diameters of the various holes, the front wall being elastically deformable between a state of rest, in which said front wall is flat, and an actuation state when the fluid under pressure is transferred into the inner chamber, in wherein said front wall has an outwardly facing convexity.
  • the term “diameter” does not necessarily imply that this section is circular.
  • the holes in the front face could, where appropriate, have a polygonal section, for example square, without departing from the scope of the present invention.
  • the aforementioned diameter would be the diameter equivalent of the hole, that is to say the diameter of a circular hole having a section of the same area as the polygonal hole. If the holes are not of constant section along their length, the diameter in question is the diameter of the minimum section of the holes.
  • the size of the droplets sprayed by the spraying device is controlled and good homogeneity of this size of the droplets is ensured.
  • the aforementioned arrangements also make it possible at least partially to overcome the pressure differences with which the fluid is fed into the interior chamber of the spray nozzle, since experience shows that the size of the droplets obtained by virtue of the The present invention is not very dependent on this pressure (the pressure differences in question may arise, for example, from differences in the actuating force of a user if the fluid product is supplied by means of a manual pump, or even when the fluid product is supplied through a valve from a pressurized product tank, the pressure differences in question may come from the fact that the tank has already been partially emptied by previous uses of the spray device).
  • the invention aims to improve control over the shape of the aerosol obtained at the outlet of the spray nozzle while allowing simplified production of the calibrated holes.
  • the front wall is elastically deformable between a state of rest, in which said front wall is flat, and an actuation state when fluid under pressure is transferred into the inner chamber, in which said front wall has a convexity turned outwards.
  • the holes can be made in a simple manner in the flat front wall, each hole possibly having an axis which extends in a plane parallel to a central axis perpendicular to the front wall.
  • the axes of the holes move away from the central axis so as to present an outward divergence and the fluid product can be sprayed in the form of 'an aerosol with a high opening angle.
  • the invention aims to improve control over the distribution of droplets and the shape of the aerosol.
  • the holes in the front wall are distributed around a center, each hole extends along an axis inclined with respect to the normal to said front wall at the level of said hole, said axis and said normal defining a plane substantially tangent to a circle centered on said central point and passing through the hole, and the axes of all the holes having an inclination with respect to the corresponding normal, and said axes of all the holes holes being inclined in the direction of the same angular direction around said central point so as to generate a swirling aerosol when fluid is sprayed from said nozzle.
  • the aerosol may have, in the vicinity of the spray nozzle, a first substantially conical portion having a high opening angle and a second portion substantially symmetrical with respect to the central axis of the nozzle.
  • a subject of the invention is also the use of a spraying device as defined above, for spraying a non-gaseous fluid product.
  • the figure 1 represents a spraying device 1 suitable for spraying a non-gaseous fluid product 2 contained in a reservoir 3.
  • the fluid product in question can be a liquid or semi-liquid product, for example a pharmaceutical product, a cosmetic product, a perfume product Or other.
  • the dynamic viscosity of the fluid 2 is generally less than 50 cps (centipoise) at 20 ° C.
  • the spraying device 1 further comprises a dispensing device 4 which is fixed so known to a neck 5 of the reservoir 3 at the upper end of said reservoir.
  • the dispensing device 4 can for example be a manual spray pump or else a spray valve, in which case the reservoir 3 is under pressure.
  • the dispensing device 4 comprises a fluid product inlet 6, oriented downwards, which communicates with the bottom of the reservoir 3 via a dip tube 7, and a hollow actuating rod 8 that protrudes upwards.
  • a push button 9 is fitted to the upper end of the actuating rod 8, and serves both for actuating the dispensing device 4 and for the output of the sprayed fluid, output which takes place through the actuating rod 8, according to the arrow 10 shown on the figure 2 .
  • the dispensing device shown in figure 1 could, alternatively, be used in the inverted position, that is to say the bottom of the tank 3 facing upwards.
  • the distribution device 4 would not include a dip tube 7.
  • the pusher 9 can for example be molded in a single piece of plastic, in particular a polyolefin, for example polypropylene or the like.
  • the pusher 9 comprises a substantially horizontal upper wall 11 and a substantially cylindrical and vertical skirt 12 which extends from the periphery of the upper wall 11.
  • the pusher 9 further comprises a central well 13 which extends vertically downward from the upper wall 11, in the center of the side wall 12. The upper end of the actuating rod 8 is fitted. in the central well 13.
  • a lateral passage 14 which communicates with a housing for receiving the nozzle 15 of substantially cylindrical shape, extending substantially horizontally along a central axis X and opening outwards from the pusher 9.
  • the side wall 18 of the spray nozzle 16 may include, at its end opposite the front wall 17, an annular gaudron 19 which projects radially outwards and which penetrates into the material of the pusher 9 for anchor spray tip 16 in nozzle housing 15.
  • the spray nozzle 16 delimits, with the pusher 9, an interior chamber 20 which communicates with the aforementioned passage 14 and which receives the fluid product to be sprayed upon actuation of the dispensing device 4.
  • the pusher 9 may include a core 21 which protrudes inside the side wall 18 of the spray nozzle to limit the volume of this interior chamber 20.
  • the front wall 17 of the spray nozzle has a plurality of holes 22 which are distributed over the surface of said front face.
  • the holes 22 can be 10 to 1000 in number, for example.
  • the diameter of each hole 22 is generally between 1 and 100 ⁇ m, all the holes 22 being substantially of the same diameter.
  • the diameter of each hole 22 does not differ from the average value of the diameters of the various holes 22 by more than 20% and advantageously, the diameter of each hole 22 does not differ from said average value by more than 10%.
  • the holes 22 may be of substantially cylindrical shape with a circular section, but they could optionally have a polygonal section, for example square, in which case the aforementioned diameter would be the equivalent diameter of the hole, that is to say the diameter d 'a circular hole having a section of the same area as the polygonal hole.
  • the front wall 17 may have a convex shape with a concavity facing inward, as in the example shown in FIG. figure 3 , but said front wall may be flat or have any other desired shape.
  • the front wall 17 may have a thickness e generally between 0.08 and 1.5 mm, in particular between 0.2 and 0.4 mm.
  • the holes 22 may have a constant section, as in the example shown, but the holes 22 could, where appropriate, have portions flared inward and / or outward, in which case the length of the holes 22 to be taken into account. account would be the length in which these holes have a constant section and the diameter to be taken into account would be the diameter of the minimum section.
  • the length of the holes 22 in their part with constant section is generally between 0.08 and 0.5 mm, advantageously between 0.08 and 0.3 mm, and more advantageously still between 0.08 and 0.2 mm, in particular equal to approximately 0.1 mm.
  • the pusher 9 when a user presses the pusher 9, the latter actuates the dispensing device 4, which supplies the inner chamber 20 of the nozzle with pressurized fluid, at a pressure generally less than 7 bars, for example order of 5 bars.
  • the fluid product is expelled through the calibrated holes 22 of the front wall 17, which produces an aerosol 23 of fine droplets of relatively homogeneous size and little dependent on the exact value of the pressure of the fluid product in the interior chamber 20.
  • the spray nozzle 16 differs from the spray nozzle previously described in that the front wall 17b is elastically deformable between a rest state shown in the figure. figure 4 and an actuation state shown in figure 5 , when the pressurized fluid product is transferred into the inner chamber 20.
  • the front wall 17b in the rest state, extends in a plane perpendicular to the central axis X. And in the actuation state, the front wall 17b has a convexity facing outwardly. so, for example, to have the shape of a spherical cap.
  • the front wall 17b is flat.
  • This arrangement makes it possible to produce in a simple manner the holes 22 having an axis which extends, for example, along a normal to the front wall 17b, parallel to the central axis X.
  • the pressurized fluid product is transferred into the inner chamber 20 exerting a force on the front wall 17b so as to cause it to pass into the actuation state.
  • the axes of the holes 22 move away from the central axis X so as to present an outward divergence.
  • the fluid product is expelled through the holes 22 diverging from the front wall 17b, which produces an aerosol 23 of fine droplets of relatively homogeneous size, the aerosol 23 being substantially conical with a high cone angle ⁇ .
  • the side wall 18 is a separate part of the pusher 9, secured to the pusher 9, and the front wall 17b integrally with the side wall 18 is made of the same material as the side wall 18.
  • the wall front 17b has a thickness e of between 0.05 and 0.10 mm.
  • the realization of the elastically deformable front wall 17b according to the second embodiment can be provided in a complementary or independent manner to the previously described embodiment in which all the holes 22 have substantially the same diameter, between 1 and 100 ⁇ m, and the diameter of each hole 22 does not differ from the average value of the diameters of the various holes 22 by more than 20% and advantageously.
  • the side wall 18a can be formed in one piece with the pusher 9.
  • the front wall 17c can thus be made in one piece with the pusher 9 and be in the same material as the pusher 9.
  • the core 21 can then be an attached part and secured to the pusher 9 in an appropriate manner.
  • the front wall 17c may be deformable.
  • the front wall 17c may have a thickness of between 0.10 and 0.20 mm.
  • the spray nozzle 16 differs from the spray nozzle described above in that the front wall 17a is made of a material different from the side wall 18 of the nozzle, the side wall 18 being a separate part from the pusher 9, secured with pusher 9.
  • the front wall 17a can be made of a material chosen from among silicon, glass, metals and their alloys, ceramics or polymers, while the side wall 18 is made of plastic as in the previous example. , said side wall 18 being able to be overmolded around the periphery of the front wall 17a.
  • the front wall 17a is flat, but could be convex as in the embodiment of figures 2 and 3 or have any other form.
  • the front wall 17a can be deformable.
  • the front wall 17a can be produced in the form of a complex comprising at least one layer of polymer and optionally one layer of metallic material.
  • the complex can have a thickness between 0.025 and 0.120 mm.
  • each hole 22 of the front wall 17 of the spray nozzle extends along an axis X2 inclined with respect to the normal X1 to said front wall at the level of said hole 22.
  • the axis X2 and the normal X1 define a plane substantially tangent to a circle C centered on the central point of the front wall 17 and passing through the hole 22.
  • the axes X2 of all the holes 22 have an inclination ⁇ of the same direction compared to the corresponding normal X1. This inclination can advantageously be the same for all the holes, and be between 10 and 60 °, for example, in particular of the order of 30 °.
  • the holes 22 are all inclined in the same angular direction 24 ( figure 6 ), when an aerosol A is generated by the spray nozzle (see figure 8 ), the path v followed by each droplet of liquid in the aerosol is a swirling path around the central axis X of the spray nozzle.
  • the aerosol A has a first part b1, in the vicinity of the spray nozzle, in which the liquid droplets are driven at a high speed of advance and which is substantially conical having a relatively high opening angle ⁇ , for example example of the order of 20 ° or more.
  • the aerosol A has a second part p2 forming a cloud in which the liquid droplets have a lower forward speed than in the first part p1. Thanks to the swirling movement of the liquid droplets, the second part b2 of the aerosol remains relatively symmetrical with respect to the X axis.
  • the front wall 17 is elastically deformable.
  • the calibrated holes 22 can then be made in a simple manner with an axis X2 which extends in a plane parallel to the central axis X of the spray nozzle 16.
  • the divergence of the axis X2 calibrated holes 22 can be obtained when actuating the pusher to increase the opening angle ⁇ of the first part of the aerosol A.

Landscapes

  • Chemical & Material Sciences (AREA)
  • Dispersion Chemistry (AREA)
  • Engineering & Computer Science (AREA)
  • Mechanical Engineering (AREA)
  • Containers And Packaging Bodies Having A Special Means To Remove Contents (AREA)
  • Nozzles (AREA)

Description

  • La présente invention se rapporte à un dispositif de pulvérisation et à une utilisation de ce dispositif.
  • Plus particulièrement, l'invention se rapporte à un dispositif de pulvérisation manuel comportant :
    • un poussoir actionnable manuellement, ledit poussoir comportant une buse de pulvérisation, ladite buse de pulvérisation comportant une chambre intérieure adaptée pour recevoir un produit fluide non gazeux sous pression et délimitée vers l'extérieur par une paroi frontale perforée,
    • un réservoir de produit fluide à pulvériser,
    • et un dispositif de distribution actionnable mécaniquement par le poussoir et adapté pour transférer du produit fluide depuis le réservoir jusqu'à la chambre intérieure de la buse.
  • Le document US-A-6 145 712 décrit un exemple d'un tel dispositif de pulvérisation, dans laquelle la face frontale de la buse de pulvérisation comporte un unique trou central.
  • Dans les dispositifs de pulvérisation de ce type, les buses de pulvérisation, qui sont classiquement montées sur des pompes ou sur des valves de pulvérisation, présentent l'inconvénient d'entraîner une grande dispersion du diamètre des gouttelettes de produit fluide pulvérisé.
  • En effet, dans les buses de pulvérisation de dispositif de ce type, le fractionnement du produit fluide en fines gouttelettes est obtenu par un phénomène dynamique particulièrement difficile à maîtriser, consistant généralement à créer un tourbillon dans la chambre intérieure de la buse et à fractionner le produit fluide en fines gouttelettes lors de sa sortie à très haute vitesse par le trou central. D'autres exemples de dispositifs de pulvérisation sont décrits dans WO03/020436A , EP 1 698 399 A , EP0 613 836 A , WO 02/0201981 A , JP 2002 186882A et US 6 341 735 B1 .
  • A titre d'exemple, on a pu mesurer que, pour une buse de pulvérisation du type susmentionné dont la chambre intérieure reçoit une solution alcoolique sous une pression de 5 bars depuis une pompe manuelle ou une valve, et pour un trou central de la buse présentant un diamètre de 0,3 mm, le produit pulvérisé est constitué de gouttelettes ayant des diamètres compris entre 5 µm et 300 µm.
  • Cette dispersion peut s'avérer indésirable lorsque l'on souhaite pulvériser des gouttelettes de tailles sensiblement homogènes. Par exemple, on peut souhaiter pulvériser des gouttelettes de petite taille pour l'inhalation de traitements médicamenteux des bronches, ou encore, on peut souhaiter pulvériser des gouttes de plus grande taille pour des applications cosmétiques ou de parfumerie, pour que les gouttelettes pénètrent le moins possible dans les bronches de l'utilisateur.
  • De plus, les gouttelettes de tailles très différentes suivent des trajectoires également très différentes, ce qui est néfaste pour une application contrôlée du produit pulvérisé. Par exemple, lors de la pulvérisation d'un parfum vers la peau d'un utilisateur, des gouttelettes de trop grande taille peuvent tomber sur les vêtements de l'utilisateur au lieu d'être projetées sur la peau, risquant de provoquer des tâches indélébiles.
  • La présente invention a notamment pour but de pallier ces inconvénients.
  • A cet effet, l'invention propose un dispositif de pulvérisation du type précité dans lequel la paroi frontale comporte une pluralité de trous calibrés ayant chacun un diamètre compris entre 1 et 100 µm, le diamètre de chaque trou ne différant pas de plus de 20 % d'une moyenne des diamètres des différents trous, la paroi frontale étant déformable élastiquement entre un état de repos, dans lequel ladite paroi frontale est plane, et un état d'actionnement lorsque du produit fluide sous pression est transféré dans la chambre intérieure, dans lequel ladite paroi frontale présente une convexité tournée vers l'extérieur.
  • On notera que, le terme de « diamètre » n'implique pas nécessairement que cette section soit circulaire. Ainsi, les trous de la face frontale pourraient le cas échéant présenter une section polygonale, par exemple carrée, sans sortir du cadre de la présente invention. Dans ce cas, le diamètre susmentionné serait le diamètre équivalent du trou, c'est-à-dire le diamètre d'un trou circulaire présentant une section de même surface que le trou polygonal. Si les trous ne sont pas de section constante sur leur longueur, le diamètre en question est le diamètre de la section minimale des trous.
  • Grâce aux dispositions exposées ci-dessus, on maîtrise la taille des gouttelettes pulvérisées par le dispositif de pulvérisation et on assure une bonne homogénéité de cette taille des gouttelettes.
  • Par ailleurs, les dispositions précitées permettent également de s'affranchir au moins partiellement des différences de pression avec lesquelles le produit fluide est alimenté dans la chambre intérieure de la buse de pulvérisation, puisque l'expérience montre que la taille des gouttelettes obtenues grâce à la présente invention est peu dépendante de cette pression (les différences de pression en question peuvent provenir par exemple de différences dans la force d'actionnement d'un utilisateur si le produit fluide est alimenté grâce à une pompe manuelle, ou encore, lorsque le produit fluide est alimenté grâce à une valve à partir d'un réservoir de produit sous pression, les différences de pression en question peuvent provenir du fait que le réservoir a déjà été partiellement vidé par de précédentes utilisations du dispositif de pulvérisation).
  • Par ailleurs, l'invention vise à améliorer la maîtrise de la forme de l'aérosol obtenu en sortie de la buse de pulvérisation tout en permettant une réalisation simplifiée des trous calibrés.
  • A cet effet, selon l'invention, la paroi frontale est déformable élastiquement entre un état de repos, dans lequel ladite paroi frontale est plane, et un état d'actionnement lorsque du produit fluide sous pression est transféré dans la chambre intérieure, dans lequel ladite paroi frontale présente une convexité tournée vers l'extérieur.
  • Ainsi, à l'état de repos, les trous peuvent être réalisés de manière simple dans la paroi frontale plane, chaque trou pouvant présenter un axe qui s'étend dans un plan parallèle à un axe central perpendiculaire à la paroi frontale. A l'état d'actionnement, lorsque du produit fluide est pulvérisé, les axes des trous s'écartent par rapport à l'axe central de sorte à présenter une divergence vers l'extérieur et le produit fluide peut être pulvérisé sous la forme d'un aérosol présentant un angle d'ouverture élevé.
  • Dans divers modes de réalisation du dispositif de pulvérisation selon l'invention, on peut éventuellement avoir recours en outre à l'une et/ou à l'autre des dispositions suivantes :
    • la paroi frontale dans l'état d'actionnement présente une forme de calotte sphérique,
    • la paroi frontale est solidaire d'une paroi latérale périphérique qui s'étend longitudinalement selon un axe central sensiblement perpendiculaire à ladite paroi frontale,
    • la paroi frontale est formée d'une seule pièce avec la paroi latérale,
    • la paroi latérale est formée d'une seule pièce avec le poussoir, et la paroi frontale présente une épaisseur comprise entre 0,10 et 0,20 mm,
    • la paroi latérale est une pièce distincte du poussoir, solidarisée avec ledit poussoir, et la paroi frontale présente une épaisseur comprise entre 0,05 et 0,10 mm,
    • la paroi frontale est une pièce distincte de la paroi latérale, solidarisée avec ladite paroi latérale,
    • la paroi frontale est réalisée en un matériau choisi parmi le silicium, le verre, les métaux et leurs alliages, les céramiques, les polymères,
    • la paroi latérale est réalisée en matière plastique et est surmoulée autour de la paroi frontale,
    • la paroi frontale est réalisée sous la forme d'un complexe comprenant au moins une couche de polymère,
    • le complexe comprend une couche de polyester,
    • le complexe comprend en outre une enduction de matériau thermocollant, la paroi frontale étant collée sur la paroi latérale,
    • le complexe comprend en outre au moins une couche de polymère choisi parmi le polyéthylène et le polypropylène, la paroi frontale étant soudée sur la paroi latérale,
    • le complexe comprend en outre au moins une couche de matériau métallique,
    • le complexe présente une épaisseur comprise entre 0,025 et 0,120 mm,
    • le diamètre de chaque trou de la paroi frontale ne diffère pas de ladite moyenne de plus de 10 %.
  • En outre, l'invention vise à améliorer la maîtrise de la distribution des gouttelettes et de la forme de l'aérosol.
  • Pour ce faire, de manière indépendante ou complémentaire du mode de réalisation défini précédemment, les trous de la paroi frontale sont répartis autour d'un centre, chaque trou s'étend selon un axe incliné par rapport à la normale à ladite paroi frontale au niveau dudit trou, ledit axe et ladite normale définissant un plan sensiblement tangent à un cercle centré sur ledit point central et passant par le trou, et les axes de tous les trous présentant une inclinaison par rapport à la normale correspondante, et lesdits axes de tous les trous étant inclinés dans le sens d'une même direction angulaire autour dudit point central de façon à générer un aérosol tourbillonnant lorsque du produit fluide est pulvérisé par ladite buse.
  • Du fait de la trajectoire tourbillonnaire des gouttelettes, l'aérosol peut présenter, au voisinage de la buse de pulvérisation, une première partie sensiblement conique ayant un angle d'ouverture élévé et une deuxième partie sensiblement symétrique par rapport à l'axe central de la buse.
  • Dans divers modes de réalisation du dispositif de pulvérisation selon l'invention, on peut éventuellement avoir recours en outre à l'une et/ou à l'autre des dispositions suivantes :
    • tous les trous présentent une même inclinaison,
    • tous les trous présentent une inclinaison comprise entre 10 et 60 degrés,
    • chaque trou présente un tronçon de section sensiblement constante et de longueur comprise entre 0,08 et 0,3 mm,
    • la paroi frontale de la buse comporte de 10 à 1000 trous,
    • la moyenne des diamètres des trous est comprise entre 1 et 3 µm (cette plage de valeurs est spécialement adaptée pour la pulvérisation de produits pharmaceutiques de traitement des poumons),
    • la moyenne des diamètres des trous est comprise est comprise entre 3 et 10 µm (cette plage de valeurs est spécialement adaptée pour la pulvérisation de produits pharmaceutiques de traitement de la trachée et des bronches),
    • la moyenne des diamètres des trous est comprise entre 10 et 60 µm (cette plage de valeurs est spécialement adaptée pour la pulvérisation de produits pharmaceutiques de traitement du nez, de la bouche et de la gorge),
    • la moyenne des diamètres des trous est comprise entre 50 et 100 µm (cette plage de valeurs est spécialement adaptée pour la pulvérisation de produits pharmaceutiques de traitement de la peau ou pour la pulvérisation de produits de maquillage),
    • la moyenne des diamètres des trous est comprise entre 15 et 60 µm (cette plage de valeurs est spécialement adaptée pour la pulvérisation de produits de parfumerie),
    • la moyenne des diamètres est comprise entre 20 et 70 µm (cette plage de valeurs est spécialement adaptée pour la pulvérisation de produits cosmétiques de soin de la peau),
    • le dispositif de distribution est choisi parmi une pompe manuelle et une valve,
    • le réservoir est rempli de produit fluide à pulvériser présentant une viscosité dynamique inférieure à 50 cps,
    • le dispositif de distribution est adapté pour alimenter la chambre intérieure de la buse en produit fluide à pulvériser sous une pression inférieure à 7 bars.
  • Par ailleurs, l'invention a également pour objet une utilisation d'un dispositif de pulvérisation tel que défini ci-dessus, pour pulvériser un produit fluide non gazeux.
  • Dans divers modes de réalisation de cette utilisation, on peut éventuellement avoir recours en outre à l'une et/ou à l'autre des dispositions suivantes :
    • le produit fluide présente une viscosité dynamique inférieure à 50 cps à 20°C,
    • on utilise le dispositif de pulvérisation pour pulvériser au moins un produit pharmaceutique de traitement des poumons, la moyenne des diamètres des trous de la buse étant comprise entre 1 et 3 µm,
    • on utilise le dispositif de pulvérisation pour pulvériser au moins un produit pharmaceutique de traitement de la trachée et/ou des bronches, la moyenne des diamètres des trous de la buse étant comprise entre 3 et 10 µm,
    • on utilise le dispositif de pulvérisation pour pulvériser au moins un produit pharmaceutique de traitement du nez, de la bouche ou de la gorge, la moyenne des diamètres des trous de la buse étant comprise entre 10 et 60 µm,
    • on utilise le dispositif de pulvérisation pour pulvériser au moins un produit pharmaceutique de traitement de la peau, la moyenne des diamètres des trous de la buse étant comprise entre 50 et 100 µm,
    • on utilise le dispositif de pulvérisation pour pulvériser au moins un produit de parfumerie, la moyenne des diamètres des trous de la buse étant comprise entre 15 et 60 µm,
    • on utilise le dispositif de pulvérisation pour pulvériser au moins un produit cosmétique de soin de la peau, la moyenne des diamètres des trous de la buse étant comprise entre 20 et 70 µm,
    • on utilise le dispositif de pulvérisation pour pulvériser au moins un produit de maquillage, la moyenne des diamètres des trous de la buse étant comprise entre 50 et 100 µm,
    • on alimente la chambre intérieure de la buse en produit à pulvériser, sous une pression inférieure à 7 bars.
  • D'autres caractéristiques et avantages de l'invention apparaîtront au cours de la description suivante de trois de ses modes de réalisation, donnés à titre d'exemples non limitatifs, en regard des dessins joints.
  • Sur les dessins :
    • la figure 1 est une vue en coupe verticale d'un dispositif de pulvérisation de produit fluide selon une forme de réalisation de l'invention,
    • la figure 2 est une vue en coupe verticale du poussoir du dispositif de pulvérisation de la figue 1, dans un premier mode de réalisation de l'invention,
    • la figure 3 est une vue de détail en coupe de la buse de pulvérisation équipant le poussoir de la figure 2,
    • les figures 4 et 5 sont des vues en coupe verticale du poussoir du dispositif de pulvérisation de la figue 1, dans un deuxième mode de réalisation de l'invention, les figures représentant la buse de pulvérisation respectivement dans un état de repos et dans un état d'actionnement,
    • les figures 6 et 7 sont des vues similaires respectivement aux figures 4 et 5, dans une variante du deuxième mode de réalisation de l'invention,
    • les figures 8 et 9 sont des vues similaires respectivement aux figures 2 et 3, dans un troisième mode de réalisation de l'invention,
    • la figure 10 est une vue similaire à la figure 9, dans une variante du troisième mode de réalisation de l'invention,
    • la figure 11 est une vue de face de la paroi frontale de la buse de pulvérisation du dispositif, dans un quatrième mode de réalisation, les trous de cette paroi frontale étant représentés plus larges qu'en réalité, pour plus de clarté,
    • la figure 12 est une vue en coupe développée, selon la ligne courbe XII-XII de la figure 11,
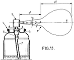
    • la figure 13 est une vue similaire à la figure 1, illustrant le fonctionnement du quatrième mode de réalisation de l'invention.
  • Sur les différentes figures, les mêmes références désignent des éléments identiques ou similaires.
  • La figure 1 représente un dispositif de pulvérisation 1 adapté pour pulvériser un produit fluide non gazeux 2 contenu dans un réservoir 3. Le produit fluide en question peut être un produit liquide ou semi-liquide, par exemple un produit pharmaceutique, un produit cosmétique, un produit de parfumerie ou autre. La viscosité dynamique du produit fluide 2 est généralement inférieure à 50 cps (centipoises) à 20°C.
  • Le dispositif de pulvérisation 1 comporte en outre un dispositif de distribution 4 qui est fixé de façon connue à un col 5 du réservoir 3 à l'extrémité supérieure dudit réservoir.
  • Le dispositif de distribution 4 peut par exemple être une pompe manuelle de pulvérisation ou encore une valve de pulvérisation, auquel cas le réservoir 3 est sous pression.
  • Dans tous les cas, le dispositif de distribution 4 comporte une entrée 6 de produit fluide, orientée vers le bas, qui communique avec le fond du réservoir 3 par l'intermédiaire d'un tube plongeur 7, et une tige d'actionnement creuse 8 qui fait saillie vers le haut. Un bouton poussoir 9 est emboîté à l'extrémité supérieure de la tige d'actionnement 8, et sert à la fois à l'actionnement du dispositif de distribution 4 et à la sortie du produit fluide pulvérisé, sortie qui s'effectue au travers de la tige actionnement 8, selon la flèche 10 représentée sur la figure 2.
  • On notera que le dispositif de distribution représenté en figure 1 pourrait, en variante, être utilisé en position inversée, c'est-à-dire le fond du réservoir 3 orienté vers le haut. Dans ce cas, le dispositif de distribution 4 ne comporterait pas de tube plongeur 7.
  • Comme représenté sur la figure 2, le poussoir 9 peut par exemple être moulé d'une seule pièce en matière plastique, notamment un polyoléfine, par exemple en polypropylène ou autre.
  • Le poussoir 9 comporte une paroi supérieure 11 sensiblement horizontale et une jupe 12 sensiblement cylindrique et verticale, qui s'étend à partir de la périphérie de la paroi supérieure 11.
  • Par ailleurs, le poussoir 9 comporte en outre un puits central 13 qui s'étend verticalement vers le bas à partir de la paroi supérieure 11, au centre de la paroi latérale 12. L'extrémité supérieure de la tige d'actionnement 8 est emboîtée dans le puits central 13.
  • A l'extrémité supérieure du puits central 13 est ménagé un passage latéral 14 qui communique avec un logement de réception de buse 15 de forme sensiblement cylindrique, s'étendant sensiblement horizontalement selon un axe central X et débouchant vers l'extérieur du poussoir 9.
  • Comme représenté sur les figures 2 et 3, une buse de pulvérisation 16 est emboîtée à force dans le logement de buse 15. Cette buse de pulvérisation 16 peut être formée d'une seule pièce en matière plastique, par exemple en polybutylènetérephtalate (PBT), en copolymère cyclo-oléfine (COC) ou encore en polyacétal (POM) et comporte :
    • une paroi frontale perforée 17,
    • et une paroi latérale annulaire 18 qui présente une forme cylindrique (de révolution ou non) qui s'étend selon l'axe X à l'intérieur du logement de buse 15, à partir de la périphérie de la paroi frontale 17.
  • De façon connue en soi, la paroi latérale 18 de la buse de pulvérisation 16 peut comporter, à son extrémité opposée à la paroi frontale 17 un gaudron annulaire 19 qui fait saillie radialement vers l'extérieur et qui pénètre dans la matière du poussoir 9 pour ancrer la buse de pulvérisation 16 dans le logement de buse 15.
  • La buse de pulvérisation 16 délimite, avec le poussoir 9, une chambre intérieure 20 qui communique avec le passage 14 susmentionné et qui reçoit le produit fluide à pulvériser lors de l'actionnement du dispositif de distribution 4. Eventuellement, comme on peut le voir sur la figure 2, le poussoir 9 peut comporter un noyau 21 qui fait saillie à l'intérieur de la paroi latérale 18 de la buse de pulvérisation pour limiter le volume de cette chambre intérieure 20.
  • Comme représenté plus en détail sur la figure 3, la paroi frontale 17 de la buse de pulvérisation comporte une pluralité de trous 22 qui sont répartis sur la surface de ladite face frontale. Les trous 22 peuvent être au nombre de 10 à 1000 par exemple. Le diamètre de chaque trou 22 est généralement compris entre 1 et 100 µm, tous les trous 22 étant sensiblement de même diamètre.
  • Plus généralement, le diamètre de chaque trou 22 ne diffère pas de la valeur moyenne des diamètres des différents trous 22 de plus de 20% et avantageusement, le diamètre de chaque trou 22 ne diffère pas de ladite valeur moyenne de plus de 10%.
  • Les trous 22 peuvent être de forme sensiblement cylindrique à section circulaire, mais ils pourraient le cas échéant présenter une section polygonale, par exemple carrée, auquel cas le diamètre susmentionné serait le diamètre équivalent du trou, c'est-à-dire le diamètre d'un trou circulaire présentant une section de même surface que le trou polygonal.
  • Le diamètre des trous 22 peut être choisi en fonction du produit fluide à pulvériser, et par exemple :
    • le diamètre moyen des trous 22 peut être compris entre 1 et 3 µm (micromètres) pour la pulvérisation de produits pharmaceutiques de traitement des poumons,
    • le diamètre moyen des trous 22 peut être compris entre 3 et 10 µm pour la pulvérisation de produits pharmaceutiques de traitement de la trachée et des bronches,
    • le diamètre moyen des trous 22 peut être compris entre 10 et 60 µm pour la pulvérisation de produits pharmaceutiques de traitement du nez, de la bouche ou de la gorge,
    • le diamètre moyen des trous 22 peut être compris entre 50 et 100 µm pour la pulvérisation de produits pharmaceutiques de traitement de la peau ou pour la pulvérisation de produits de maquillage,
    • le diamètre moyen des trous 22 peut être compris entre 15 et 60 µm pour la pulvérisation de produits de parfumerie,
    • le diamètre moyen des trous 22 peut être compris entre 20 et 70 µm pour la pulvérisation de produits cosmétiques de soin de la peau,
  • La paroi frontale 17 peut présenter une forme bombée de concavité tournée vers l'intérieur, comme dans l'exemple représenté sur la figure 3, mais ladite paroi frontale peut être plate ou présenter tout autre forme souhaitée.
  • Par ailleurs, la paroi frontale 17 peut présenter une épaisseur e comprise généralement entre 0,08 et 1,5 mm, notamment entre 0,2 et 0,4 mm.
  • Les trous 22 peuvent présenter une section constante, comme dans l'exemple représenté, mais les trous 22 pourraient le cas échéant présenter des parties évasées vers l'intérieur et/ou vers l'extérieur, auquel cas la longueur des trous 22 à prendre en compte serait la longueur dans laquelle ces trous présentent une section constante et le diamètre à prendre en compte serait le diamètre de la section minimale. La longueur des trous 22 dans leur partie à section constante, est généralement comprise entre 0,08 et 0,5 mm, avantageusement entre 0,08 et 0,3 mm, et plus avantageusement encore entre 0,08 et 0,2 mm, notamment égale à environ 0,1 mm.
  • Comme représenté sur la figure 2, lorsqu'un utilisateur appuie sur le poussoir 9, celui-ci actionne le dispositif de distribution 4, qui alimente la chambre intérieure 20 de la buse en produit fluide sous pression, à une pression généralement inférieure à 7 bars, par exemple de l'ordre de 5 bars. Le produit fluide est expulsé au travers des trous calibrés 22 de la paroi frontale 17, ce qui produit un aérosol 23 de fines gouttelettes de taille relativement homogène et peu dépendante de la valeur exacte de la pression du produit fluide dans la chambre intérieure 20.
  • Dans un deuxième mode de réalisation représenté sur les figures 4 et 5, la buse de pulvérisation 16 diffère de la buse de pulvérisation précédemment décrite en ce que la paroi frontale 17b est déformable élastiquement entre un état de repos représenté sur la figure 4 et un état d'actionnement représenté sur la figure 5, lorsque du produit fluide sous pression est transféré dans la chambre intérieure 20.
  • En particulier, dans l'état de repos, la paroi frontale 17b s'étend dans un plan perpendiculaire à l'axe central X. Et dans l'état d'actionnement, la paroi frontale 17b présente une convexité tournée vers l'extérieur de sorte, par exemple, à présenter une forme de calotte sphérique.
  • Comme représenté sur les figures 4 et 5, à l'état de repos, la paroi frontale 17b est plane. Cette disposition permet de réaliser de manière simple les trous 22 présentant un axe qui s'étend, par exemple, selon une normale à la paroi frontale 17b, parallèlement à l'axe central X. Lorsqu'un utilisateur appuie sur le poussoir 9, du produit fluide sous pression est transféré dans la chambre intérieure 20 exerçant une force sur la paroi frontale 17b de sorte à la faire passer dans l'état d'actionnement. Les axes des trous 22 s'écartent par rapport à l'axe central X de sorte à présenter une divergence vers l'extérieur. Le produit fluide est expulsé au travers des trous 22 divergeant de la paroi frontale 17b, ce qui produit un aérosol 23 de fines gouttelettes de taille relativement homogène, l'aérosol 23 étant sensiblement conique avec un angle de cône α élevé.
  • Sur les figures 4 et 5, la paroi latérale 18 est une pièce distincte du poussoir 9, solidarisée avec le poussoir 9, et la paroi frontale 17b venue de matière avec la paroi latérale 18 est réalisée dans le même matériau que la paroi latérale 18. Pour permettre le passage de l'état de repos à l'état d'actionnement, on prévoit que la paroi frontale 17b présente une épaisseur e comprise entre 0,05 et 0,10 mm.
  • La réalisation de la paroi frontale 17b déformable élastiquement selon deuxième mode de réalisation peut être prévue de manière complémentaire ou indépendante de la réalisation précédemment décrite dans laquelle tous les trous 22 sont sensiblement de même diamètre, compris entre 1 et 100 µm, et le diamètre de chaque trou 22 ne diffère pas de la valeur moyenne des diamètres des différents trous 22 de plus de 20% et avantageusement.
  • En variante représentée sur les figures 6 et 7, on peut prévoir que la paroi latérale 18a soit formée d'une seule pièce avec le poussoir 9. La paroi frontale 17c peut ainsi être réalisée d'une seule pièce avec le poussoir 9 et être dans le même matériau que le poussoir 9. Le noyau 21 peut alors être une pièce rapportée et solidarisée au poussoir 9 de manière appropriée.
  • Comme représenté sur les figures 6 et 7, on peut prévoir que la paroi frontale 17c soit déformable. Pour ce faire, la paroi frontale 17c peut présenter une épaisseur comprise entre 0,10 et 0,20 mm. On pourrait toutefois prévoir que la paroi frontale 17c présente uniquement une forme plane, une forme bombée ou toute autre forme souhaitée.
  • Le troisième mode de réalisation des figures 8 et 9 est similaire au mode de réalisation des figures 2 et 3, et ne sera donc pas décrit à nouveau en détail. Dans ce mode de réalisation des figures 8 et 9, la buse de pulvérisation 16 diffère de la buse de pulvérisation précédemment décrite par le fait que la paroi frontale 17a est réalisée en un matériau différent de la paroi latérale 18 de la buse, la paroi latérale 18 étant une pièce distincte du poussoir 9, solidarisée avec le poussoir 9.
  • En variante représentée sur la figure 10, on peut prévoir que la paroi frontale 17a soit solidarisée avec la paroi latérale 18a formée d'une seule pièce avec le poussoir 9.
  • Par exemple, la paroi frontale 17a peut être réalisée en un matériau choisi parmi le silicium, le verre, les métaux et leurs alliages, les céramiques ou les polymères, tandis que la paroi latérale 18 est réalisée en matière plastique comme dans l'exemple précédent, ladite paroi latérale 18 pouvant être surmoulée sur le pourtour de la paroi frontale 17a.
  • Dans le mode de réalisation des figures 8 et 9, la paroi frontale 17a est plane, mais pourrait être bombée comme dans le mode de réalisation des figures 2 et 3 ou présenter toute autre forme.
  • Par ailleurs, dans un autre mode de réalisation, la paroi frontale 17a peut être déformable. Par exemple, la paroi frontale 17a peut être réalisée sous la forme d'un complexe comprenant au moins une couche de polymère et éventuellement une couche de matériau métallique. Le complexe peut présenter une épaisseur comprise entre 0,025 et 0,120 mm.
  • A titre d'exemples non limitatifs, le complexe peut comprendre :
    • une couche de polyester, d'une épaisseur de 0,025 mm, et une enduction thermocollante permettant le collage de la paroi frontale 17a sur la paroi latérale 18, ou
    • une couche de polyester, d'une épaisseur de 0,025 mm, et une couche de polyéthylène, d'une épaisseur de 0,020 mm, permettant le soudage de la paroi frontale 17a sur la paroi latérale 18, ou
    • une couche de polyester, d'une épaisseur de 0,025 mm, et une couche de polypropylène, d'une épaisseur de 0,020 mm, ou
    • une couche de polyester, d'une épaisseur de 0,025 mm, une couche d'aluminium, d'une épaisseur de 0,008 mm, et une couche de polyéthylène, d'une épaisseur de 0,040 mm.
  • Dans le quatrième mode de réalisation de l'invention, représentée sur les figures 11 à 13, de manière complémentaire ou indépendante de la réalisation de la paroi frontale 17 déformable élastiquement, la chaque trou 22 de la paroi frontale 17 de la buse de pulvérisation s'étend selon un axe X2 incliné par rapport à la normale X1 à ladite paroi frontale au niveau dudit trou 22. L'axe X2 et la normale X1 définissent un plan sensiblement tangent à un cercle C centré sur le point central de la paroi frontale 17 et passant par le trou 22. Les axes X2 de tous les trous 22 présentent une inclinaison γ de même sens par rapport à la normale X1 correspondante. Cette inclinaison peut avantageusement être la même pour tous les trous, et être comprise par exemple entre 10 et 60°, notamment de l'ordre de 30°.
  • Du fait que les trous 22 sont tous inclinés dans le même sens angulaire 24 (figure 6), lorsqu'un aérosol A est généré par la buse de pulvérisation (voir figure 8), la trajectoire v suivie par chaque gouttelette de liquide de l'aérosol est une trajectoire tourbillonnante autour de l'axe central X de la buse de pulvérisation.
  • L'aérosol A présente une première partie b1, au voisinage de la buse de pulvérisation, dans laquelle les gouttelettes de liquide sont animées d'une grande vitesse d'avancement et qui est sensiblement conique ayant un angle d'ouverture α relativement élevé, par exemple de l'ordre de 20° ou plus.
  • De plus, l'aérosol A présente une deuxième partie p2 formant un nuage dans lequel les gouttelettes de liquide ont une vitesse d'avancement moindre que dans la première partie p1. Grâce au mouvement tourbillonnaire des gouttelettes de liquide, la deuxième partie b2 de l'aérosol reste relativement symétrique par rapport à l'axe X.
  • Dans ce mode de réalisation, avec une paroi frontale 17 comprenant une centaine de trous 22 de diamètre 3 µm ménagés dans une paroi 17 d'épaisseur 0,3 mm, avec une inclinaison des trous de l'ordre de 30° et avec une pression d'un liquide alcoolique de l'ordre de 0,5 bars à l'intérieur de la buse de pulvérisation, on obtient la pulvérisation d'un aérosol constitué de gouttelettes de diamètre 5 µm à 7 µm.
  • Selon l'invention, la paroi frontale 17 est déformable élastiquement. A l'état de repos, les trous calibrés 22 peuvent alors être réalisés de manière simple avec un axe X2 qui s'étend dans un plan parallèle à l'axe central X de la buse de pulvérisation 16. La divergence de l'axe X2 des trous calibrés 22 peut être obtenue lors de l'actionnement du poussoir pour augmenter l'angle d'ouverture α de la première partie de l'aérosol A.

Claims (17)

  1. Dispositif de pulvérisation manuel comportant :
    - un poussoir (9) actionnable manuellement, ledit poussoir comportant une buse de pulvérisation (16), ladite buse de pulvérisation comportant une chambre intérieure (20) adaptée pour recevoir un produit fluide non gazeux sous pression et délimitée vers l'extérieur par une paroi frontale (17) perforée,
    - un réservoir (3) de produit fluide à pulvériser,
    - et un dispositif de distribution (4) actionnable mécaniquement par le poussoir et adapté pour transférer du produit fluide depuis le réservoir (3) jusqu'à la chambre intérieure (20) de la buse,
    - la paroi frontale (17) comporte une pluralité de trous calibrés (22) ayant chacun un diamètre compris entre 1 et 100 µm, le diamètre de chaque trou ne différant pas d'une moyenne des diamètres des différents trous de plus de 20 %
    - la paroi frontale (17b ; 17c) est déformable élastiquement entre un état de repos, dans lequel ladite paroi frontale (17b ; 17c) est plane, et un état d'actionnement lorsque du produit fluide sous pression est transféré dans la chambre intérieure (20), dans lequel ladite paroi frontale (17b 17c) présente une convexité tournée vers l'extérieur.
  2. Dispositif de pulvérisation selon la revendication 1, dans lequel la paroi frontale (17b ;17c) dans l'état d'actionnement présente une forme de calotte sphérique.
  3. Dispositif de pulvérisation selon l'une quelconque des revendications 1 à 2, dans lequel la paroi frontale (17) est solidaire d'une paroi latérale périphérique
    (18 ; 18a) qui s'étend longitudinalement selon un axe central (X) sensiblement perpendiculaire à ladite paroi frontale (17).
  4. Dispositif de pulvérisation selon la revendication 3, dans lequel la paroi frontale (17) est formée d'une seule pièce avec la paroi latérale (18 ; 18a).
  5. Dispositif de pulvérisation selon la revendication 4, dans lequel la paroi latérale (18a) est formée d'une seule pièce avec le poussoir (9), et la paroi frontale (17b ; 17c) présente une épaisseur (e) comprise entre 0,10 et 0,20 mm.
  6. Dispositif de pulvérisation selon la revendication 4, dans lequel la paroi latérale (18) est une pièce distincte du poussoir, solidarisée avec ledit poussoir (9), et la paroi frontale (17b ; 17c) présente une épaisseur comprise entre 0,05 et 0,10 mm.
  7. Dispositif de pulvérisation selon la revendication 3, dans lequel la paroi frontale (17a) est une pièce distincte de la paroi latérale (18 ; 18a), solidarisée avec ladite paroi latérale (18 ; 18a).
  8. Dispositif de pulvérisation selon la revendication 7, dans lequel la paroi frontale (17a) est réalisée en un matériau choisi parmi le silicium, le verre, les métaux et leurs alliages, les céramiques, les polymères.
  9. Dispositif de pulvérisation selon la revendication 7 ou la revendication 8, dans lequel la paroi latérale (18) est réalisée en matière plastique et est surmoulée autour de la paroi frontale.
  10. Dispositif de pulvérisation selon la revendication 7, dans lequel la paroi frontale (17a) est réalisée sous la forme d'un complexe comprenant au moins une couche de polymère.
  11. Dispositif de pulvérisation selon la revendication 10, dans lequel le complexe comprend une couche de polyester.
  12. Dispositif de pulvérisation selon la revendication 11, dans lequel le complexe comprend en outre une enduction de matériau thermocollant, la paroi frontale (17a) étant collée sur la paroi latérale (18 ; 18a).
  13. Dispositif de pulvérisation selon la revendication 11, dans lequel le complexe comprend en outre au moins une couche de polymère choisi parmi le polyéthylène et le polypropylène, la paroi frontale (17a) étant soudée sur la paroi latérale (18 ; 18a).
  14. Dispositif de pulvérisation selon l'une quelconque des revendications 10 à 13, dans lequel le complexe comprend en outre au moins une couche de matériau métallique.
  15. Dispositif de pulvérisation selon l'une quelconque des revendications 10 à 13, dans lequel le complexe présente une épaisseur comprise entre 0,025 et 0,120 mm.
  16. Dispositif de pulvérisation selon l'une quelconque des revendications 1 à 15, dans lequel le diamètre de chaque trou (22) de la paroi frontale ne diffère pas de ladite moyenne de plus de 10 %.
  17. Dispositif de pulvérisation selon l'une quelconque des revendications 1 à 16, dans lequel les trous (22) de la paroi frontale (17) sont répartis autour d'un centre (O), chaque trou (22) s'étend selon un axe (X2) incliné par rapport à la normale (X1) à ladite paroi frontale au niveau dudit trou (22), ledit axe (X2) et ladite normale (X1) définissant un plan sensiblement tangent à un cercle
    (C) centré sur ledit point central (O) et passant par le trou (22), les axes (X2) de tous les trous présentant une inclinaison (γ) par rapport à la normale (X1) correspondante, et lesdits axes (X2) de tous les trous (22) étant tous inclinés dans le sens d'une même direction angulaire (24) autour dudit point central (O), de façon à générer un aérosol (A) tourbillonnant lorsque du produit fluide est pulvérisé par ladite buse.
EP17175982.2A 2006-07-10 2007-07-04 Dispositif de pulvérisation et utilisation de ce dispositif Active EP3246096B1 (fr)

Applications Claiming Priority (3)

Application Number Priority Date Filing Date Title
FR0606259A FR2903328B1 (fr) 2006-07-10 2006-07-10 Buse de pulverisation, dispositif de pulverisation et utilisation de ce dispositif.
FR0700485A FR2903329B3 (fr) 2006-07-10 2007-01-24 Buse de pulverisation, dispositif de pulverisation et utilisation de ce dispositif.
EP07111772.5A EP1878507B2 (fr) 2006-07-10 2007-07-04 Dispositif de pulvérisation et utilisation de ce dispositif

Related Parent Applications (2)

Application Number Title Priority Date Filing Date
EP07111772.5A Division-Into EP1878507B2 (fr) 2006-07-10 2007-07-04 Dispositif de pulvérisation et utilisation de ce dispositif
EP07111772.5A Division EP1878507B2 (fr) 2006-07-10 2007-07-04 Dispositif de pulvérisation et utilisation de ce dispositif

Publications (2)

Publication Number Publication Date
EP3246096A1 EP3246096A1 (fr) 2017-11-22
EP3246096B1 true EP3246096B1 (fr) 2021-09-08

Family

ID=38510412

Family Applications (2)

Application Number Title Priority Date Filing Date
EP17175982.2A Active EP3246096B1 (fr) 2006-07-10 2007-07-04 Dispositif de pulvérisation et utilisation de ce dispositif
EP07111772.5A Active EP1878507B2 (fr) 2006-07-10 2007-07-04 Dispositif de pulvérisation et utilisation de ce dispositif

Family Applications After (1)

Application Number Title Priority Date Filing Date
EP07111772.5A Active EP1878507B2 (fr) 2006-07-10 2007-07-04 Dispositif de pulvérisation et utilisation de ce dispositif

Country Status (5)

Country Link
US (1) US7748647B2 (fr)
EP (2) EP3246096B1 (fr)
BR (1) BRPI0702942B1 (fr)
FR (1) FR2903329B3 (fr)
RU (1) RU2007125994A (fr)

Families Citing this family (34)

* Cited by examiner, † Cited by third party
Publication number Priority date Publication date Assignee Title
FR2903329B3 (fr) 2006-07-10 2008-10-03 Rexam Dispensing Systems Sas Buse de pulverisation, dispositif de pulverisation et utilisation de ce dispositif.
DE102007049614B4 (de) * 2007-03-15 2015-03-05 Aptar Dortmund Gmbh Abgabevorrichtung
ES2436002T3 (es) 2008-06-20 2013-12-26 Aptar Dortmund Gmbh Dispositivo de distribución
DE102008038654B4 (de) 2008-08-12 2019-09-19 Aptar Dortmund Gmbh Abgabekopf mit schwenkbarem Ventilelement
GB2466631A (en) * 2008-10-21 2010-07-07 Philip Alan Durrant A spray device for atomising fluids having at least three nozzles with a restriction
DE102009030627B4 (de) * 2009-06-25 2020-03-12 Aptar Dortmund Gmbh Ventil und Abgabevorrichtung
FR2971772B1 (fr) * 2011-02-17 2013-03-22 Valois Sas Dispositif de distribution de produit fluide.
DE102013202531B3 (de) * 2013-02-16 2014-05-28 Aptar Radolfzell Gmbh Spender zum Austrag von Flüssigkeiten
EP3157681A1 (fr) * 2014-06-20 2017-04-26 Medspray B.V. Aérosol ou dispositif de pulvérisation, unité de buse de pulvérisation et procédé de fabrication associé
EP3095522A1 (fr) * 2015-05-20 2016-11-23 Aptar Radolfzell GmbH Dispositif d'inhalation, kit pour un dispositif d'inhalation et porte-filière associé
JP6634255B2 (ja) * 2015-09-30 2020-01-22 株式会社吉野工業所 ノズルチップを有する吐出器
EP3383550A1 (fr) 2015-12-04 2018-10-10 Medspray B.V. Pulvérisateur fluidique
WO2017095219A1 (fr) 2015-12-04 2017-06-08 Medspray Bv Dispositif de pulvérisation et corps de buse de pulvérisation
FR3048236B1 (fr) * 2016-02-29 2019-07-12 Albea Le Treport Systeme de distribution de produit pour flacon
CN113413479B (zh) 2016-08-03 2023-02-28 斯肯特桥控股有限公司 联网气味扩散装置的方法和系统
WO2019106315A1 (fr) 2017-12-01 2019-06-06 Aptar France Sas Procédé de fabrication d'une paroi de distribution
WO2019106321A1 (fr) 2017-12-01 2019-06-06 Aptar France Sas Tête de distribution de produit fluide
WO2019106319A1 (fr) 2017-12-01 2019-06-06 Aptar France Sas Tête de distribution de produit fluide
FR3059573B1 (fr) 2016-12-02 2019-01-25 Aptar France Sas Tete de distribution de produit fluide
WO2019038500A1 (fr) 2017-08-24 2019-02-28 Safran Aircraft Engines Pale pour turbomachine et son procede de fabrication
WO2019106323A1 (fr) 2017-12-01 2019-06-06 Aptar France Sas Tete de distribution de produit fluide et procede correspondant
US11305142B2 (en) * 2018-01-12 2022-04-19 Carrier Corporation End cap agent nozzle
US11691161B2 (en) 2018-05-02 2023-07-04 Innovative Product Brands, Inc. Sprayer with a six-hole spray pattern
EP3569318A1 (fr) 2018-05-16 2019-11-20 Medspray B.V. Dispositif de pulvérisation pour générer une pulvérisation par microjet
NL2021704B1 (en) 2018-09-25 2020-05-07 Medspray B V Spray device, nozzle unit and nozzle body
FR3096090B1 (fr) 2019-05-14 2022-10-28 Aptar France Sas Pompe à précompression haute pression
FR3095968B1 (fr) 2019-05-14 2021-10-01 Aptar France Sas Dispositif de distribution de produit fluide
FR3096089B1 (fr) 2019-05-14 2022-08-05 Aptar France Sas Procédé d'assemblage d'une pompe à précompression haute pression
FR3098137B1 (fr) 2019-07-02 2022-07-15 Aptar France Sas Procédé de fabrication d’une paroi de distribution
BR112022009354B1 (pt) 2019-11-22 2023-12-12 Aptar France Sas Método de fabricação de uma parede de pulverização, bocal e cabeça dispensadora de fluido
CN111701779B (zh) * 2020-06-19 2021-11-26 湖南云天雾化科技有限公司 自喷式雾化器及冷却雾化头
CN114681723A (zh) * 2020-12-30 2022-07-01 亿索智能科技(上海)有限公司 一种精密吸入给药雾化器
FR3156350A1 (fr) 2023-12-12 2025-06-13 Capsum Dispositif adapté au conditionnement d’un mélange hétérogène et à sa distribution sous forme d’un spray de composition fluide
US20250270026A1 (en) * 2024-02-23 2025-08-28 Marcelo Lazaro Zelicovich Aerosol delivery system with enhanced air suspension

Family Cites Families (38)

* Cited by examiner, † Cited by third party
Publication number Priority date Publication date Assignee Title
US1869809A (en) 1930-12-24 1932-08-02 John M Hewlett Liquid atomizing device
US2273830A (en) 1940-11-29 1942-02-24 Ralph C Brierly Method of making nozzle sprayer plates
US2493209A (en) 1949-01-25 1950-01-03 Burgess Battery Co Spray or atomizer nozzle
US2767023A (en) 1956-03-27 1956-10-16 Risdon Mfg Co Spray nozzles
US2874001A (en) 1956-06-21 1959-02-17 Ernest C Webb Shower head
US3504862A (en) 1968-01-05 1970-04-07 Gillette Co Dispensing device
FR2284533A1 (fr) 1974-09-13 1976-04-09 Blendax Werke Schneider Co Obturateur pour tubes d'emballage
DE2925435A1 (de) 1979-06-23 1981-01-22 Hans Ing Grad Grothoff Spruehkopf
JP2922935B2 (ja) 1989-08-11 1999-07-26 東興薬品工業株式会社 粘稠液用鼻孔内噴霧容器の使捨てアダプタ
GB8921745D0 (en) 1989-09-27 1989-11-08 Aerosol Inventions Dev Pressurised dispensers
US5152456A (en) 1989-12-12 1992-10-06 Bespak, Plc Dispensing apparatus having a perforate outlet member and a vibrating device
ATE131421T1 (de) 1991-12-04 1995-12-15 The Technology Partnership Plc Vorrichtung und verfahren zur erzeugung von fluessigkeitstroepfchen
FR2702196B1 (fr) * 1993-03-05 1995-05-12 Oreal Distributeur de mousse sous pression.
US5435884A (en) 1993-09-30 1995-07-25 Parker-Hannifin Corporation Spray nozzle and method of manufacturing same
US5642860A (en) 1995-07-07 1997-07-01 The Procter & Gamble Company Pump sprayer for viscous or solids laden liquids
FR2756502B1 (fr) 1996-12-03 1999-01-22 Oreal Buse pour dispositif de pulverisation d'un liquide et dispositif de pulverisation equipe d'une telle buse
US5868003A (en) * 1997-07-14 1999-02-09 Praxair Technology, Inc. Apparatus for producing fine snow particles from a flow liquid carbon dioxide
DE69834210T2 (de) 1997-11-19 2007-01-04 Microflow Engineering S.A. Sprühvorrichtung für einen Inhalator
FR2773783B1 (fr) 1998-01-22 2000-03-24 Rexam Smt Distributeur manuel auto-obturateur
FR2774077B1 (fr) 1998-01-23 2000-04-07 Oreal Valve a regulation de debit de sortie, et recipient equipe d'une telle valve
FR2785222B1 (fr) 1998-11-02 2001-01-19 Valois Sa Procede de fabrication d'un obturateur, poussoir et tete de distribution incorporant un tel obturateur
FR2790742B1 (fr) 1999-03-10 2001-05-04 Oreal Ensemble pour le conditionnement et la distribution sous pression d'un produit, notamment cosmetique
FR2793222B1 (fr) 1999-05-05 2001-07-06 Oreal Tete de distribution et recipient ainsi equipe
JP2004501709A (ja) * 2000-07-05 2004-01-22 ユニリーバー・ナームローゼ・ベンノートシヤープ スプレーヘッド
NL1016030C1 (nl) 2000-08-28 2002-03-01 Aquamarijn Holding B V Sproei inrichting met een nozzleplaat, een nozzleplaat, alsmede werkwijzen ter vervaardiging en voor toepassing van een dergelijke nozzleplaat.
JP2002186882A (ja) * 2000-12-19 2002-07-02 Kyowa Kogyo Kk ノズル組立体
US6732943B2 (en) * 2001-04-05 2004-05-11 Aradigm Corporation Method of generating uniform pores in thin polymer films
DE10143350A1 (de) * 2001-09-04 2003-03-20 Boehringer Ingelheim Int Sperrspannwerk für einen miniaturisierten Hochdruckerzeuger
EP1295644B1 (fr) 2001-09-21 2008-12-10 Ing. Erich Pfeiffer GmbH Dispositif de dosage avec un réservoir ainsi qu'une pompe
FR2831522B1 (fr) 2001-10-30 2004-08-27 Valois Sa Distributeur de produit fluide
FR2832988B1 (fr) 2001-12-04 2004-11-19 Valois Sa Distributeur de produit fluide
FR2836401B1 (fr) 2002-02-26 2004-12-17 Rieter Perfojet Dispositif de projection reguliere de jets d'eau s'appliquant notamment a une installation de liage de non tisses
DE20212798U1 (de) 2002-08-21 2002-11-28 Dirschnabel, Hans-Peter, 73249 Wernau Düse mit Mikrodüsenöffnungen
FR2851483B1 (fr) 2003-02-20 2005-05-13 Valois Sas Tete de distribution
NL1026752C2 (nl) 2004-07-30 2006-02-02 Stork Veco Bv Vernevelplaat voor het vernevelen van een fluïdum, werkwijze voor het vervaardigen van een vernevelplaat en toepassing van een vernevelplaat.
US7654419B2 (en) 2004-09-17 2010-02-02 Meadwestvaco Calmar, Inc. Dispenser having elastomer discharge valve
DE102005010173B4 (de) * 2005-03-05 2006-11-16 Aero Pump GmbH, Zerstäuberpumpen Austrittshaube für ein Sprühgerät zum Versprühen einer hochviskosen Flüssigkeit
FR2903329B3 (fr) 2006-07-10 2008-10-03 Rexam Dispensing Systems Sas Buse de pulverisation, dispositif de pulverisation et utilisation de ce dispositif.

Also Published As

Publication number Publication date
EP1878507B2 (fr) 2023-08-30
FR2903329B3 (fr) 2008-10-03
BRPI0702942B1 (pt) 2019-01-08
BRPI0702942A (pt) 2008-02-26
US7748647B2 (en) 2010-07-06
EP1878507B1 (fr) 2017-09-06
EP3246096A1 (fr) 2017-11-22
FR2903329A1 (fr) 2008-01-11
US20080006719A1 (en) 2008-01-10
RU2007125994A (ru) 2009-01-20
BRPI0702942A8 (pt) 2015-04-07
EP1878507A3 (fr) 2010-03-03
EP1878507A2 (fr) 2008-01-16

Similar Documents

Publication Publication Date Title
EP3246096B1 (fr) Dispositif de pulvérisation et utilisation de ce dispositif
EP2496361B2 (fr) Bouton poussoir pour un système de distribution d'un produit sous pression
EP3231516B1 (fr) Buse de pulverisation, notamment pour un systeme de distribution d'un produit sous pression muni d'un bouton poussoir, et systeme de distribution comprenant une telle buse
FR2903328A1 (fr) Buse de pulverisation, dispositif de pulverisation et utilisation de ce dispositif.
EP0655208B1 (fr) Dispositif applicateur pour liquide
EP0952090B1 (fr) Embout doseur
WO1996021512A1 (fr) Buse de pulverisation
FR2985201A1 (fr) Tete de distribution creuse
FR2985202A1 (fr) Tete de distribution
WO2009007657A1 (fr) Dispositif de pulverisation a effet venturi et son utilisation en cosmetologie et en parfumerie
FR2826344A1 (fr) Dispositif pour la pulverisation d'un produit, notamment sous forme de dose echantillon
EP2606980B1 (fr) Bouton poussoir pour un système de distribution d'un produit sous pression
CA2383305C (fr) Dispositif pour la pulverisation d'un produit, notamment sous forme d'une dose echantillon dudit produit
FR3004904A1 (fr) Tete de distribution d'un produit sous forme de spray ou de goutte a goutte
EP0669167B1 (fr) Ensemble de distribution d'un liquide de façon quasi-continue, comportant une pompe et utilisation d'un tel ensemble pour la pulvérisation d'une laque capillaire
FR2819493A1 (fr) Recipient distribuant des quantites de produit constantes jusqu'a ce que ledit recipient soit presque completement vide
EP2119508B1 (fr) Bouton poussoir à canaux de distribution convergents
EP2233211B1 (fr) Bouton poussoir pour un système de distribution d'un liquide sous pression
EP2353726B1 (fr) Bouton poussoir pour un système de distribution d'un produit sous pression
WO2012143664A1 (fr) Dispositif de distribution de produit liquide muni d'un organe de réduction de débit
EP2279795B1 (fr) Système de distribution d'un produit fluide
FR3078271A1 (fr) Tete de distribution a chambre tourbillonnaire etagee pour un systeme de distribution
FR3047235A1 (fr) Recipient pressurise avec tete creuse et valve a prise de gaz additionnelle
WO2018041594A1 (fr) Tête de distribution d'un fluide sous pression et bombe aérosol ou pompe à actionnement manuel comprenant une telle tête de distribution
WO2016174331A1 (fr) Bouton poussoir pour un système de distribution sous pression d'un produit

Legal Events

Date Code Title Description
PUAI Public reference made under article 153(3) epc to a published international application that has entered the european phase

Free format text: ORIGINAL CODE: 0009012

STAA Information on the status of an ep patent application or granted ep patent

Free format text: STATUS: THE APPLICATION HAS BEEN PUBLISHED

AC Divisional application: reference to earlier application

Ref document number: 1878507

Country of ref document: EP

Kind code of ref document: P

AK Designated contracting states

Kind code of ref document: A1

Designated state(s): DE FR GB

STAA Information on the status of an ep patent application or granted ep patent

Free format text: STATUS: REQUEST FOR EXAMINATION WAS MADE

17P Request for examination filed

Effective date: 20180522

RBV Designated contracting states (corrected)

Designated state(s): DE FR GB

STAA Information on the status of an ep patent application or granted ep patent

Free format text: STATUS: EXAMINATION IS IN PROGRESS

17Q First examination report despatched

Effective date: 20190313

GRAP Despatch of communication of intention to grant a patent

Free format text: ORIGINAL CODE: EPIDOSNIGR1

STAA Information on the status of an ep patent application or granted ep patent

Free format text: STATUS: GRANT OF PATENT IS INTENDED

INTG Intention to grant announced

Effective date: 20210325

GRAJ Information related to disapproval of communication of intention to grant by the applicant or resumption of examination proceedings by the epo deleted

Free format text: ORIGINAL CODE: EPIDOSDIGR1

STAA Information on the status of an ep patent application or granted ep patent

Free format text: STATUS: EXAMINATION IS IN PROGRESS

GRAS Grant fee paid

Free format text: ORIGINAL CODE: EPIDOSNIGR3

STAA Information on the status of an ep patent application or granted ep patent

Free format text: STATUS: GRANT OF PATENT IS INTENDED

GRAP Despatch of communication of intention to grant a patent

Free format text: ORIGINAL CODE: EPIDOSNIGR1

INTC Intention to grant announced (deleted)
INTG Intention to grant announced

Effective date: 20210708

GRAA (expected) grant

Free format text: ORIGINAL CODE: 0009210

STAA Information on the status of an ep patent application or granted ep patent

Free format text: STATUS: THE PATENT HAS BEEN GRANTED

AC Divisional application: reference to earlier application

Ref document number: 1878507

Country of ref document: EP

Kind code of ref document: P

AK Designated contracting states

Kind code of ref document: B1

Designated state(s): DE FR GB

REG Reference to a national code

Ref country code: GB

Ref legal event code: FG4D

Free format text: NOT ENGLISH

REG Reference to a national code

Ref country code: DE

Ref legal event code: R096

Ref document number: 602007061299

Country of ref document: DE

REG Reference to a national code

Ref country code: DE

Ref legal event code: R026

Ref document number: 602007061299

Country of ref document: DE

PLBI Opposition filed

Free format text: ORIGINAL CODE: 0009260

26 Opposition filed

Opponent name: APTAR FRANCE SAS

Effective date: 20220607

PLAB Opposition data, opponent's data or that of the opponent's representative modified

Free format text: ORIGINAL CODE: 0009299OPPO

PLAX Notice of opposition and request to file observation + time limit sent

Free format text: ORIGINAL CODE: EPIDOSNOBS2

R26 Opposition filed (corrected)

Opponent name: APTAR FRANCE SAS

Effective date: 20220607

PLBB Reply of patent proprietor to notice(s) of opposition received

Free format text: ORIGINAL CODE: EPIDOSNOBS3

P01 Opt-out of the competence of the unified patent court (upc) registered

Effective date: 20230607

PLCK Communication despatched that opposition was rejected

Free format text: ORIGINAL CODE: EPIDOSNREJ1

REG Reference to a national code

Ref country code: DE

Ref legal event code: R100

Ref document number: 602007061299

Country of ref document: DE

PLBN Opposition rejected

Free format text: ORIGINAL CODE: 0009273

STAA Information on the status of an ep patent application or granted ep patent

Free format text: STATUS: OPPOSITION REJECTED

27O Opposition rejected

Effective date: 20241205

PGFP Annual fee paid to national office [announced via postgrant information from national office to epo]

Ref country code: DE

Payment date: 20250729

Year of fee payment: 19

PGFP Annual fee paid to national office [announced via postgrant information from national office to epo]

Ref country code: GB

Payment date: 20250728

Year of fee payment: 19

PGFP Annual fee paid to national office [announced via postgrant information from national office to epo]

Ref country code: FR

Payment date: 20250725

Year of fee payment: 19