EP3175192B1 - Verfahren zur tieftemperaturzerlegung von luft und luftzerlegungsanlage - Google Patents

Verfahren zur tieftemperaturzerlegung von luft und luftzerlegungsanlage Download PDF

Info

Publication number
EP3175192B1
EP3175192B1 EP15742185.0A EP15742185A EP3175192B1 EP 3175192 B1 EP3175192 B1 EP 3175192B1 EP 15742185 A EP15742185 A EP 15742185A EP 3175192 B1 EP3175192 B1 EP 3175192B1
Authority
EP
European Patent Office
Prior art keywords
fraction
pressure level
air
pressure
turbine
Prior art date
Legal status (The legal status is an assumption and is not a legal conclusion. Google has not performed a legal analysis and makes no representation as to the accuracy of the status listed.)
Active
Application number
EP15742185.0A
Other languages
English (en)
French (fr)
Other versions
EP3175192C0 (de
EP3175192A1 (de
Inventor
Tobias Lautenschlager
Dimitri GOLUBEV
Current Assignee (The listed assignees may be inaccurate. Google has not performed a legal analysis and makes no representation or warranty as to the accuracy of the list.)
Linde GmbH
Original Assignee
Linde GmbH
Priority date (The priority date is an assumption and is not a legal conclusion. Google has not performed a legal analysis and makes no representation as to the accuracy of the date listed.)
Filing date
Publication date
Application filed by Linde GmbH filed Critical Linde GmbH
Publication of EP3175192A1 publication Critical patent/EP3175192A1/de
Application granted granted Critical
Publication of EP3175192B1 publication Critical patent/EP3175192B1/de
Publication of EP3175192C0 publication Critical patent/EP3175192C0/de
Active legal-status Critical Current
Anticipated expiration legal-status Critical

Links

Images

Classifications

    • FMECHANICAL ENGINEERING; LIGHTING; HEATING; WEAPONS; BLASTING
    • F25REFRIGERATION OR COOLING; COMBINED HEATING AND REFRIGERATION SYSTEMS; HEAT PUMP SYSTEMS; MANUFACTURE OR STORAGE OF ICE; LIQUEFACTION SOLIDIFICATION OF GASES
    • F25JLIQUEFACTION, SOLIDIFICATION OR SEPARATION OF GASES OR GASEOUS OR LIQUEFIED GASEOUS MIXTURES BY PRESSURE AND COLD TREATMENT OR BY BRINGING THEM INTO THE SUPERCRITICAL STATE
    • F25J3/00Processes or apparatus for separating the constituents of gaseous or liquefied gaseous mixtures involving the use of liquefaction or solidification
    • F25J3/02Processes or apparatus for separating the constituents of gaseous or liquefied gaseous mixtures involving the use of liquefaction or solidification by rectification, i.e. by continuous interchange of heat and material between a vapour stream and a liquid stream
    • F25J3/04Processes or apparatus for separating the constituents of gaseous or liquefied gaseous mixtures involving the use of liquefaction or solidification by rectification, i.e. by continuous interchange of heat and material between a vapour stream and a liquid stream for air
    • F25J3/04406Processes or apparatus for separating the constituents of gaseous or liquefied gaseous mixtures involving the use of liquefaction or solidification by rectification, i.e. by continuous interchange of heat and material between a vapour stream and a liquid stream for air using a dual pressure main column system
    • F25J3/04412Processes or apparatus for separating the constituents of gaseous or liquefied gaseous mixtures involving the use of liquefaction or solidification by rectification, i.e. by continuous interchange of heat and material between a vapour stream and a liquid stream for air using a dual pressure main column system in a classical double column flowsheet, i.e. with thermal coupling by a main reboiler-condenser in the bottom of low pressure respectively top of high pressure column
    • FMECHANICAL ENGINEERING; LIGHTING; HEATING; WEAPONS; BLASTING
    • F25REFRIGERATION OR COOLING; COMBINED HEATING AND REFRIGERATION SYSTEMS; HEAT PUMP SYSTEMS; MANUFACTURE OR STORAGE OF ICE; LIQUEFACTION SOLIDIFICATION OF GASES
    • F25JLIQUEFACTION, SOLIDIFICATION OR SEPARATION OF GASES OR GASEOUS OR LIQUEFIED GASEOUS MIXTURES BY PRESSURE AND COLD TREATMENT OR BY BRINGING THEM INTO THE SUPERCRITICAL STATE
    • F25J3/00Processes or apparatus for separating the constituents of gaseous or liquefied gaseous mixtures involving the use of liquefaction or solidification
    • F25J3/02Processes or apparatus for separating the constituents of gaseous or liquefied gaseous mixtures involving the use of liquefaction or solidification by rectification, i.e. by continuous interchange of heat and material between a vapour stream and a liquid stream
    • F25J3/04Processes or apparatus for separating the constituents of gaseous or liquefied gaseous mixtures involving the use of liquefaction or solidification by rectification, i.e. by continuous interchange of heat and material between a vapour stream and a liquid stream for air
    • F25J3/04006Providing pressurised feed air or process streams within or from the air fractionation unit
    • F25J3/04012Providing pressurised feed air or process streams within or from the air fractionation unit by compression of warm gaseous streams; details of intake or interstage cooling
    • F25J3/04018Providing pressurised feed air or process streams within or from the air fractionation unit by compression of warm gaseous streams; details of intake or interstage cooling of main feed air
    • FMECHANICAL ENGINEERING; LIGHTING; HEATING; WEAPONS; BLASTING
    • F25REFRIGERATION OR COOLING; COMBINED HEATING AND REFRIGERATION SYSTEMS; HEAT PUMP SYSTEMS; MANUFACTURE OR STORAGE OF ICE; LIQUEFACTION SOLIDIFICATION OF GASES
    • F25JLIQUEFACTION, SOLIDIFICATION OR SEPARATION OF GASES OR GASEOUS OR LIQUEFIED GASEOUS MIXTURES BY PRESSURE AND COLD TREATMENT OR BY BRINGING THEM INTO THE SUPERCRITICAL STATE
    • F25J3/00Processes or apparatus for separating the constituents of gaseous or liquefied gaseous mixtures involving the use of liquefaction or solidification
    • F25J3/02Processes or apparatus for separating the constituents of gaseous or liquefied gaseous mixtures involving the use of liquefaction or solidification by rectification, i.e. by continuous interchange of heat and material between a vapour stream and a liquid stream
    • F25J3/04Processes or apparatus for separating the constituents of gaseous or liquefied gaseous mixtures involving the use of liquefaction or solidification by rectification, i.e. by continuous interchange of heat and material between a vapour stream and a liquid stream for air
    • F25J3/04006Providing pressurised feed air or process streams within or from the air fractionation unit
    • F25J3/04012Providing pressurised feed air or process streams within or from the air fractionation unit by compression of warm gaseous streams; details of intake or interstage cooling
    • F25J3/04024Providing pressurised feed air or process streams within or from the air fractionation unit by compression of warm gaseous streams; details of intake or interstage cooling of purified feed air, so-called boosted air
    • FMECHANICAL ENGINEERING; LIGHTING; HEATING; WEAPONS; BLASTING
    • F25REFRIGERATION OR COOLING; COMBINED HEATING AND REFRIGERATION SYSTEMS; HEAT PUMP SYSTEMS; MANUFACTURE OR STORAGE OF ICE; LIQUEFACTION SOLIDIFICATION OF GASES
    • F25JLIQUEFACTION, SOLIDIFICATION OR SEPARATION OF GASES OR GASEOUS OR LIQUEFIED GASEOUS MIXTURES BY PRESSURE AND COLD TREATMENT OR BY BRINGING THEM INTO THE SUPERCRITICAL STATE
    • F25J3/00Processes or apparatus for separating the constituents of gaseous or liquefied gaseous mixtures involving the use of liquefaction or solidification
    • F25J3/02Processes or apparatus for separating the constituents of gaseous or liquefied gaseous mixtures involving the use of liquefaction or solidification by rectification, i.e. by continuous interchange of heat and material between a vapour stream and a liquid stream
    • F25J3/04Processes or apparatus for separating the constituents of gaseous or liquefied gaseous mixtures involving the use of liquefaction or solidification by rectification, i.e. by continuous interchange of heat and material between a vapour stream and a liquid stream for air
    • F25J3/04006Providing pressurised feed air or process streams within or from the air fractionation unit
    • F25J3/04048Providing pressurised feed air or process streams within or from the air fractionation unit by compression of cold gaseous streams, e.g. intermediate or oxygen enriched (waste) streams
    • F25J3/04054Providing pressurised feed air or process streams within or from the air fractionation unit by compression of cold gaseous streams, e.g. intermediate or oxygen enriched (waste) streams of air
    • FMECHANICAL ENGINEERING; LIGHTING; HEATING; WEAPONS; BLASTING
    • F25REFRIGERATION OR COOLING; COMBINED HEATING AND REFRIGERATION SYSTEMS; HEAT PUMP SYSTEMS; MANUFACTURE OR STORAGE OF ICE; LIQUEFACTION SOLIDIFICATION OF GASES
    • F25JLIQUEFACTION, SOLIDIFICATION OR SEPARATION OF GASES OR GASEOUS OR LIQUEFIED GASEOUS MIXTURES BY PRESSURE AND COLD TREATMENT OR BY BRINGING THEM INTO THE SUPERCRITICAL STATE
    • F25J3/00Processes or apparatus for separating the constituents of gaseous or liquefied gaseous mixtures involving the use of liquefaction or solidification
    • F25J3/02Processes or apparatus for separating the constituents of gaseous or liquefied gaseous mixtures involving the use of liquefaction or solidification by rectification, i.e. by continuous interchange of heat and material between a vapour stream and a liquid stream
    • F25J3/04Processes or apparatus for separating the constituents of gaseous or liquefied gaseous mixtures involving the use of liquefaction or solidification by rectification, i.e. by continuous interchange of heat and material between a vapour stream and a liquid stream for air
    • F25J3/04006Providing pressurised feed air or process streams within or from the air fractionation unit
    • F25J3/04078Providing pressurised feed air or process streams within or from the air fractionation unit providing pressurized products by liquid compression and vaporisation with cold recovery, i.e. so-called internal compression
    • F25J3/04084Providing pressurised feed air or process streams within or from the air fractionation unit providing pressurized products by liquid compression and vaporisation with cold recovery, i.e. so-called internal compression of nitrogen
    • FMECHANICAL ENGINEERING; LIGHTING; HEATING; WEAPONS; BLASTING
    • F25REFRIGERATION OR COOLING; COMBINED HEATING AND REFRIGERATION SYSTEMS; HEAT PUMP SYSTEMS; MANUFACTURE OR STORAGE OF ICE; LIQUEFACTION SOLIDIFICATION OF GASES
    • F25JLIQUEFACTION, SOLIDIFICATION OR SEPARATION OF GASES OR GASEOUS OR LIQUEFIED GASEOUS MIXTURES BY PRESSURE AND COLD TREATMENT OR BY BRINGING THEM INTO THE SUPERCRITICAL STATE
    • F25J3/00Processes or apparatus for separating the constituents of gaseous or liquefied gaseous mixtures involving the use of liquefaction or solidification
    • F25J3/02Processes or apparatus for separating the constituents of gaseous or liquefied gaseous mixtures involving the use of liquefaction or solidification by rectification, i.e. by continuous interchange of heat and material between a vapour stream and a liquid stream
    • F25J3/04Processes or apparatus for separating the constituents of gaseous or liquefied gaseous mixtures involving the use of liquefaction or solidification by rectification, i.e. by continuous interchange of heat and material between a vapour stream and a liquid stream for air
    • F25J3/04006Providing pressurised feed air or process streams within or from the air fractionation unit
    • F25J3/04078Providing pressurised feed air or process streams within or from the air fractionation unit providing pressurized products by liquid compression and vaporisation with cold recovery, i.e. so-called internal compression
    • F25J3/0409Providing pressurised feed air or process streams within or from the air fractionation unit providing pressurized products by liquid compression and vaporisation with cold recovery, i.e. so-called internal compression of oxygen
    • FMECHANICAL ENGINEERING; LIGHTING; HEATING; WEAPONS; BLASTING
    • F25REFRIGERATION OR COOLING; COMBINED HEATING AND REFRIGERATION SYSTEMS; HEAT PUMP SYSTEMS; MANUFACTURE OR STORAGE OF ICE; LIQUEFACTION SOLIDIFICATION OF GASES
    • F25JLIQUEFACTION, SOLIDIFICATION OR SEPARATION OF GASES OR GASEOUS OR LIQUEFIED GASEOUS MIXTURES BY PRESSURE AND COLD TREATMENT OR BY BRINGING THEM INTO THE SUPERCRITICAL STATE
    • F25J3/00Processes or apparatus for separating the constituents of gaseous or liquefied gaseous mixtures involving the use of liquefaction or solidification
    • F25J3/02Processes or apparatus for separating the constituents of gaseous or liquefied gaseous mixtures involving the use of liquefaction or solidification by rectification, i.e. by continuous interchange of heat and material between a vapour stream and a liquid stream
    • F25J3/04Processes or apparatus for separating the constituents of gaseous or liquefied gaseous mixtures involving the use of liquefaction or solidification by rectification, i.e. by continuous interchange of heat and material between a vapour stream and a liquid stream for air
    • F25J3/04006Providing pressurised feed air or process streams within or from the air fractionation unit
    • F25J3/04109Arrangements of compressors and /or their drivers
    • F25J3/04115Arrangements of compressors and /or their drivers characterised by the type of prime driver, e.g. hot gas expander
    • F25J3/04121Steam turbine as the prime mechanical driver
    • FMECHANICAL ENGINEERING; LIGHTING; HEATING; WEAPONS; BLASTING
    • F25REFRIGERATION OR COOLING; COMBINED HEATING AND REFRIGERATION SYSTEMS; HEAT PUMP SYSTEMS; MANUFACTURE OR STORAGE OF ICE; LIQUEFACTION SOLIDIFICATION OF GASES
    • F25JLIQUEFACTION, SOLIDIFICATION OR SEPARATION OF GASES OR GASEOUS OR LIQUEFIED GASEOUS MIXTURES BY PRESSURE AND COLD TREATMENT OR BY BRINGING THEM INTO THE SUPERCRITICAL STATE
    • F25J3/00Processes or apparatus for separating the constituents of gaseous or liquefied gaseous mixtures involving the use of liquefaction or solidification
    • F25J3/02Processes or apparatus for separating the constituents of gaseous or liquefied gaseous mixtures involving the use of liquefaction or solidification by rectification, i.e. by continuous interchange of heat and material between a vapour stream and a liquid stream
    • F25J3/04Processes or apparatus for separating the constituents of gaseous or liquefied gaseous mixtures involving the use of liquefaction or solidification by rectification, i.e. by continuous interchange of heat and material between a vapour stream and a liquid stream for air
    • F25J3/04006Providing pressurised feed air or process streams within or from the air fractionation unit
    • F25J3/04109Arrangements of compressors and /or their drivers
    • F25J3/04145Mechanically coupling of different compressors of the air fractionation process to the same driver(s)
    • FMECHANICAL ENGINEERING; LIGHTING; HEATING; WEAPONS; BLASTING
    • F25REFRIGERATION OR COOLING; COMBINED HEATING AND REFRIGERATION SYSTEMS; HEAT PUMP SYSTEMS; MANUFACTURE OR STORAGE OF ICE; LIQUEFACTION SOLIDIFICATION OF GASES
    • F25JLIQUEFACTION, SOLIDIFICATION OR SEPARATION OF GASES OR GASEOUS OR LIQUEFIED GASEOUS MIXTURES BY PRESSURE AND COLD TREATMENT OR BY BRINGING THEM INTO THE SUPERCRITICAL STATE
    • F25J3/00Processes or apparatus for separating the constituents of gaseous or liquefied gaseous mixtures involving the use of liquefaction or solidification
    • F25J3/02Processes or apparatus for separating the constituents of gaseous or liquefied gaseous mixtures involving the use of liquefaction or solidification by rectification, i.e. by continuous interchange of heat and material between a vapour stream and a liquid stream
    • F25J3/04Processes or apparatus for separating the constituents of gaseous or liquefied gaseous mixtures involving the use of liquefaction or solidification by rectification, i.e. by continuous interchange of heat and material between a vapour stream and a liquid stream for air
    • F25J3/04151Purification and (pre-)cooling of the feed air; recuperative heat-exchange with product streams
    • F25J3/04163Hot end purification of the feed air
    • FMECHANICAL ENGINEERING; LIGHTING; HEATING; WEAPONS; BLASTING
    • F25REFRIGERATION OR COOLING; COMBINED HEATING AND REFRIGERATION SYSTEMS; HEAT PUMP SYSTEMS; MANUFACTURE OR STORAGE OF ICE; LIQUEFACTION SOLIDIFICATION OF GASES
    • F25JLIQUEFACTION, SOLIDIFICATION OR SEPARATION OF GASES OR GASEOUS OR LIQUEFIED GASEOUS MIXTURES BY PRESSURE AND COLD TREATMENT OR BY BRINGING THEM INTO THE SUPERCRITICAL STATE
    • F25J3/00Processes or apparatus for separating the constituents of gaseous or liquefied gaseous mixtures involving the use of liquefaction or solidification
    • F25J3/02Processes or apparatus for separating the constituents of gaseous or liquefied gaseous mixtures involving the use of liquefaction or solidification by rectification, i.e. by continuous interchange of heat and material between a vapour stream and a liquid stream
    • F25J3/04Processes or apparatus for separating the constituents of gaseous or liquefied gaseous mixtures involving the use of liquefaction or solidification by rectification, i.e. by continuous interchange of heat and material between a vapour stream and a liquid stream for air
    • F25J3/04151Purification and (pre-)cooling of the feed air; recuperative heat-exchange with product streams
    • F25J3/04163Hot end purification of the feed air
    • F25J3/04169Hot end purification of the feed air by adsorption of the impurities
    • F25J3/04175Hot end purification of the feed air by adsorption of the impurities at a pressure of substantially more than the highest pressure column
    • FMECHANICAL ENGINEERING; LIGHTING; HEATING; WEAPONS; BLASTING
    • F25REFRIGERATION OR COOLING; COMBINED HEATING AND REFRIGERATION SYSTEMS; HEAT PUMP SYSTEMS; MANUFACTURE OR STORAGE OF ICE; LIQUEFACTION SOLIDIFICATION OF GASES
    • F25JLIQUEFACTION, SOLIDIFICATION OR SEPARATION OF GASES OR GASEOUS OR LIQUEFIED GASEOUS MIXTURES BY PRESSURE AND COLD TREATMENT OR BY BRINGING THEM INTO THE SUPERCRITICAL STATE
    • F25J3/00Processes or apparatus for separating the constituents of gaseous or liquefied gaseous mixtures involving the use of liquefaction or solidification
    • F25J3/02Processes or apparatus for separating the constituents of gaseous or liquefied gaseous mixtures involving the use of liquefaction or solidification by rectification, i.e. by continuous interchange of heat and material between a vapour stream and a liquid stream
    • F25J3/04Processes or apparatus for separating the constituents of gaseous or liquefied gaseous mixtures involving the use of liquefaction or solidification by rectification, i.e. by continuous interchange of heat and material between a vapour stream and a liquid stream for air
    • F25J3/04151Purification and (pre-)cooling of the feed air; recuperative heat-exchange with product streams
    • F25J3/04187Cooling of the purified feed air by recuperative heat-exchange; Heat-exchange with product streams
    • F25J3/04193Division of the main heat exchange line in consecutive sections having different functions
    • F25J3/042Division of the main heat exchange line in consecutive sections having different functions having an intermediate feed connection
    • FMECHANICAL ENGINEERING; LIGHTING; HEATING; WEAPONS; BLASTING
    • F25REFRIGERATION OR COOLING; COMBINED HEATING AND REFRIGERATION SYSTEMS; HEAT PUMP SYSTEMS; MANUFACTURE OR STORAGE OF ICE; LIQUEFACTION SOLIDIFICATION OF GASES
    • F25JLIQUEFACTION, SOLIDIFICATION OR SEPARATION OF GASES OR GASEOUS OR LIQUEFIED GASEOUS MIXTURES BY PRESSURE AND COLD TREATMENT OR BY BRINGING THEM INTO THE SUPERCRITICAL STATE
    • F25J3/00Processes or apparatus for separating the constituents of gaseous or liquefied gaseous mixtures involving the use of liquefaction or solidification
    • F25J3/02Processes or apparatus for separating the constituents of gaseous or liquefied gaseous mixtures involving the use of liquefaction or solidification by rectification, i.e. by continuous interchange of heat and material between a vapour stream and a liquid stream
    • F25J3/04Processes or apparatus for separating the constituents of gaseous or liquefied gaseous mixtures involving the use of liquefaction or solidification by rectification, i.e. by continuous interchange of heat and material between a vapour stream and a liquid stream for air
    • F25J3/04248Generation of cold for compensating heat leaks or liquid production, e.g. by Joule-Thompson expansion
    • F25J3/04284Generation of cold for compensating heat leaks or liquid production, e.g. by Joule-Thompson expansion using internal refrigeration by open-loop gas work expansion, e.g. of intermediate or oxygen enriched (waste-)streams
    • F25J3/0429Generation of cold for compensating heat leaks or liquid production, e.g. by Joule-Thompson expansion using internal refrigeration by open-loop gas work expansion, e.g. of intermediate or oxygen enriched (waste-)streams of feed air, e.g. used as waste or product air or expanded into an auxiliary column
    • FMECHANICAL ENGINEERING; LIGHTING; HEATING; WEAPONS; BLASTING
    • F25REFRIGERATION OR COOLING; COMBINED HEATING AND REFRIGERATION SYSTEMS; HEAT PUMP SYSTEMS; MANUFACTURE OR STORAGE OF ICE; LIQUEFACTION SOLIDIFICATION OF GASES
    • F25JLIQUEFACTION, SOLIDIFICATION OR SEPARATION OF GASES OR GASEOUS OR LIQUEFIED GASEOUS MIXTURES BY PRESSURE AND COLD TREATMENT OR BY BRINGING THEM INTO THE SUPERCRITICAL STATE
    • F25J3/00Processes or apparatus for separating the constituents of gaseous or liquefied gaseous mixtures involving the use of liquefaction or solidification
    • F25J3/02Processes or apparatus for separating the constituents of gaseous or liquefied gaseous mixtures involving the use of liquefaction or solidification by rectification, i.e. by continuous interchange of heat and material between a vapour stream and a liquid stream
    • F25J3/04Processes or apparatus for separating the constituents of gaseous or liquefied gaseous mixtures involving the use of liquefaction or solidification by rectification, i.e. by continuous interchange of heat and material between a vapour stream and a liquid stream for air
    • F25J3/04248Generation of cold for compensating heat leaks or liquid production, e.g. by Joule-Thompson expansion
    • F25J3/04284Generation of cold for compensating heat leaks or liquid production, e.g. by Joule-Thompson expansion using internal refrigeration by open-loop gas work expansion, e.g. of intermediate or oxygen enriched (waste-)streams
    • F25J3/0429Generation of cold for compensating heat leaks or liquid production, e.g. by Joule-Thompson expansion using internal refrigeration by open-loop gas work expansion, e.g. of intermediate or oxygen enriched (waste-)streams of feed air, e.g. used as waste or product air or expanded into an auxiliary column
    • F25J3/04296Claude expansion, i.e. expanded into the main or high pressure column
    • FMECHANICAL ENGINEERING; LIGHTING; HEATING; WEAPONS; BLASTING
    • F25REFRIGERATION OR COOLING; COMBINED HEATING AND REFRIGERATION SYSTEMS; HEAT PUMP SYSTEMS; MANUFACTURE OR STORAGE OF ICE; LIQUEFACTION SOLIDIFICATION OF GASES
    • F25JLIQUEFACTION, SOLIDIFICATION OR SEPARATION OF GASES OR GASEOUS OR LIQUEFIED GASEOUS MIXTURES BY PRESSURE AND COLD TREATMENT OR BY BRINGING THEM INTO THE SUPERCRITICAL STATE
    • F25J3/00Processes or apparatus for separating the constituents of gaseous or liquefied gaseous mixtures involving the use of liquefaction or solidification
    • F25J3/02Processes or apparatus for separating the constituents of gaseous or liquefied gaseous mixtures involving the use of liquefaction or solidification by rectification, i.e. by continuous interchange of heat and material between a vapour stream and a liquid stream
    • F25J3/04Processes or apparatus for separating the constituents of gaseous or liquefied gaseous mixtures involving the use of liquefaction or solidification by rectification, i.e. by continuous interchange of heat and material between a vapour stream and a liquid stream for air
    • F25J3/04248Generation of cold for compensating heat leaks or liquid production, e.g. by Joule-Thompson expansion
    • F25J3/04284Generation of cold for compensating heat leaks or liquid production, e.g. by Joule-Thompson expansion using internal refrigeration by open-loop gas work expansion, e.g. of intermediate or oxygen enriched (waste-)streams
    • F25J3/0429Generation of cold for compensating heat leaks or liquid production, e.g. by Joule-Thompson expansion using internal refrigeration by open-loop gas work expansion, e.g. of intermediate or oxygen enriched (waste-)streams of feed air, e.g. used as waste or product air or expanded into an auxiliary column
    • F25J3/04303Lachmann expansion, i.e. expanded into oxygen producing or low pressure column
    • FMECHANICAL ENGINEERING; LIGHTING; HEATING; WEAPONS; BLASTING
    • F25REFRIGERATION OR COOLING; COMBINED HEATING AND REFRIGERATION SYSTEMS; HEAT PUMP SYSTEMS; MANUFACTURE OR STORAGE OF ICE; LIQUEFACTION SOLIDIFICATION OF GASES
    • F25JLIQUEFACTION, SOLIDIFICATION OR SEPARATION OF GASES OR GASEOUS OR LIQUEFIED GASEOUS MIXTURES BY PRESSURE AND COLD TREATMENT OR BY BRINGING THEM INTO THE SUPERCRITICAL STATE
    • F25J3/00Processes or apparatus for separating the constituents of gaseous or liquefied gaseous mixtures involving the use of liquefaction or solidification
    • F25J3/02Processes or apparatus for separating the constituents of gaseous or liquefied gaseous mixtures involving the use of liquefaction or solidification by rectification, i.e. by continuous interchange of heat and material between a vapour stream and a liquid stream
    • F25J3/04Processes or apparatus for separating the constituents of gaseous or liquefied gaseous mixtures involving the use of liquefaction or solidification by rectification, i.e. by continuous interchange of heat and material between a vapour stream and a liquid stream for air
    • F25J3/04248Generation of cold for compensating heat leaks or liquid production, e.g. by Joule-Thompson expansion
    • F25J3/04375Details relating to the work expansion, e.g. process parameter etc.
    • F25J3/04387Details relating to the work expansion, e.g. process parameter etc. using liquid or hydraulic turbine expansion
    • FMECHANICAL ENGINEERING; LIGHTING; HEATING; WEAPONS; BLASTING
    • F25REFRIGERATION OR COOLING; COMBINED HEATING AND REFRIGERATION SYSTEMS; HEAT PUMP SYSTEMS; MANUFACTURE OR STORAGE OF ICE; LIQUEFACTION SOLIDIFICATION OF GASES
    • F25JLIQUEFACTION, SOLIDIFICATION OR SEPARATION OF GASES OR GASEOUS OR LIQUEFIED GASEOUS MIXTURES BY PRESSURE AND COLD TREATMENT OR BY BRINGING THEM INTO THE SUPERCRITICAL STATE
    • F25J3/00Processes or apparatus for separating the constituents of gaseous or liquefied gaseous mixtures involving the use of liquefaction or solidification
    • F25J3/02Processes or apparatus for separating the constituents of gaseous or liquefied gaseous mixtures involving the use of liquefaction or solidification by rectification, i.e. by continuous interchange of heat and material between a vapour stream and a liquid stream
    • F25J3/04Processes or apparatus for separating the constituents of gaseous or liquefied gaseous mixtures involving the use of liquefaction or solidification by rectification, i.e. by continuous interchange of heat and material between a vapour stream and a liquid stream for air
    • F25J3/04248Generation of cold for compensating heat leaks or liquid production, e.g. by Joule-Thompson expansion
    • F25J3/04375Details relating to the work expansion, e.g. process parameter etc.
    • F25J3/04393Details relating to the work expansion, e.g. process parameter etc. using multiple or multistage gas work expansion
    • FMECHANICAL ENGINEERING; LIGHTING; HEATING; WEAPONS; BLASTING
    • F25REFRIGERATION OR COOLING; COMBINED HEATING AND REFRIGERATION SYSTEMS; HEAT PUMP SYSTEMS; MANUFACTURE OR STORAGE OF ICE; LIQUEFACTION SOLIDIFICATION OF GASES
    • F25JLIQUEFACTION, SOLIDIFICATION OR SEPARATION OF GASES OR GASEOUS OR LIQUEFIED GASEOUS MIXTURES BY PRESSURE AND COLD TREATMENT OR BY BRINGING THEM INTO THE SUPERCRITICAL STATE
    • F25J2210/00Processes characterised by the type or other details of the feed stream
    • F25J2210/06Splitting of the feed stream, e.g. for treating or cooling in different ways
    • FMECHANICAL ENGINEERING; LIGHTING; HEATING; WEAPONS; BLASTING
    • F25REFRIGERATION OR COOLING; COMBINED HEATING AND REFRIGERATION SYSTEMS; HEAT PUMP SYSTEMS; MANUFACTURE OR STORAGE OF ICE; LIQUEFACTION SOLIDIFICATION OF GASES
    • F25JLIQUEFACTION, SOLIDIFICATION OR SEPARATION OF GASES OR GASEOUS OR LIQUEFIED GASEOUS MIXTURES BY PRESSURE AND COLD TREATMENT OR BY BRINGING THEM INTO THE SUPERCRITICAL STATE
    • F25J2215/00Processes characterised by the type or other details of the product stream
    • F25J2215/42Nitrogen or special cases, e.g. multiple or low purity N2
    • FMECHANICAL ENGINEERING; LIGHTING; HEATING; WEAPONS; BLASTING
    • F25REFRIGERATION OR COOLING; COMBINED HEATING AND REFRIGERATION SYSTEMS; HEAT PUMP SYSTEMS; MANUFACTURE OR STORAGE OF ICE; LIQUEFACTION SOLIDIFICATION OF GASES
    • F25JLIQUEFACTION, SOLIDIFICATION OR SEPARATION OF GASES OR GASEOUS OR LIQUEFIED GASEOUS MIXTURES BY PRESSURE AND COLD TREATMENT OR BY BRINGING THEM INTO THE SUPERCRITICAL STATE
    • F25J2215/00Processes characterised by the type or other details of the product stream
    • F25J2215/50Oxygen or special cases, e.g. isotope-mixtures or low purity O2
    • FMECHANICAL ENGINEERING; LIGHTING; HEATING; WEAPONS; BLASTING
    • F25REFRIGERATION OR COOLING; COMBINED HEATING AND REFRIGERATION SYSTEMS; HEAT PUMP SYSTEMS; MANUFACTURE OR STORAGE OF ICE; LIQUEFACTION SOLIDIFICATION OF GASES
    • F25JLIQUEFACTION, SOLIDIFICATION OR SEPARATION OF GASES OR GASEOUS OR LIQUEFIED GASEOUS MIXTURES BY PRESSURE AND COLD TREATMENT OR BY BRINGING THEM INTO THE SUPERCRITICAL STATE
    • F25J2220/00Processes or apparatus involving steps for the removal of impurities
    • F25J2220/40Separating high boiling, i.e. less volatile components from air, e.g. CO2, hydrocarbons
    • FMECHANICAL ENGINEERING; LIGHTING; HEATING; WEAPONS; BLASTING
    • F25REFRIGERATION OR COOLING; COMBINED HEATING AND REFRIGERATION SYSTEMS; HEAT PUMP SYSTEMS; MANUFACTURE OR STORAGE OF ICE; LIQUEFACTION SOLIDIFICATION OF GASES
    • F25JLIQUEFACTION, SOLIDIFICATION OR SEPARATION OF GASES OR GASEOUS OR LIQUEFIED GASEOUS MIXTURES BY PRESSURE AND COLD TREATMENT OR BY BRINGING THEM INTO THE SUPERCRITICAL STATE
    • F25J2240/00Processes or apparatus involving steps for expanding of process streams
    • F25J2240/02Expansion of a process fluid in a work-extracting turbine (i.e. isentropic expansion), e.g. of the feed stream
    • F25J2240/10Expansion of a process fluid in a work-extracting turbine (i.e. isentropic expansion), e.g. of the feed stream the fluid being air
    • FMECHANICAL ENGINEERING; LIGHTING; HEATING; WEAPONS; BLASTING
    • F25REFRIGERATION OR COOLING; COMBINED HEATING AND REFRIGERATION SYSTEMS; HEAT PUMP SYSTEMS; MANUFACTURE OR STORAGE OF ICE; LIQUEFACTION SOLIDIFICATION OF GASES
    • F25JLIQUEFACTION, SOLIDIFICATION OR SEPARATION OF GASES OR GASEOUS OR LIQUEFIED GASEOUS MIXTURES BY PRESSURE AND COLD TREATMENT OR BY BRINGING THEM INTO THE SUPERCRITICAL STATE
    • F25J2290/00Other details not covered by groups F25J2200/00 - F25J2280/00
    • F25J2290/12Particular process parameters like pressure, temperature, ratios

Definitions

  • the invention relates to a method for the low-temperature separation of air in an air separation plant and to a corresponding air separation plant according to the preambles of the independent patent claims.
  • Air separation plants have distillation column systems which can be designed, for example, as two-column systems, in particular as classic Linde double-column systems, but also as three- or multi-column systems.
  • distillation columns for obtaining nitrogen and/or oxygen in liquid and/or gaseous state for example liquid oxygen, LOX, gaseous oxygen, GOX, liquid nitrogen, LIN and/or gaseous nitrogen, GAN
  • distillation columns for nitrogen-oxygen separation distillation columns can be provided for obtaining other air components, in particular the noble gases krypton, xenon and/or argon.
  • the distillation column systems are operated at different operating pressures in their respective distillation columns.
  • Known double column systems have, for example, a so-called high-pressure column (sometimes also referred to simply as a pressure column) and a so-called low-pressure column.
  • the operating pressure of the high-pressure column is, for example, 4.3 to 6.9 bar, preferably about 5.0 bar.
  • the low-pressure column is operated at an operating pressure of, for example, 1.3 to 1.7 bar, preferably about 1.5 bar.
  • the pressures specified here and below are absolute pressures.
  • High-air-pressure processes can be used for air separation.
  • a HAP process the entire The air supplied to the air separation plant or the air used in a corresponding process (referred to as feed air) is compressed in a main air compressor to a pressure that is significantly higher than the highest operating pressure of the distillation column system, typically significantly higher than the operating pressure of the high-pressure column.
  • the pressure difference is preferably between 6 and 16 bar.
  • the pressure is at least twice as high as the operating pressure of the high-pressure column.
  • HAP processes are known, for example, from the EP 2 466 236 A1 , the EP 2 458 311 A1 and the US 5 329 776 A known.
  • the container and pipe dimensions required for air purification can be reduced due to the greater compression. Furthermore, the absolute water content of the compressed air is reduced. Depending on the prevailing conditions, a refrigeration system for air purification may not be necessary.
  • the amount of air compressed in the main air compressor can also be decoupled from the amount of process air.
  • process air i.e. used for the actual rectification and fed into the high-pressure column.
  • Another portion is expanded to obtain cold, whereby the amount of cold can be set independently of the process air.
  • decoupling is not provided for in all HAP processes.
  • processes are known in which the feed air is only compressed in the main air compressor to the highest operating pressure of the distillation column system, typically only the operating pressure of the high-pressure column or slightly above. A portion of the feed air can therefore be fed into the distillation column system after cooling without further expansion. Only certain portions, which are required, for example, for additional cold production or for heating liquid streams (see below), are further compressed in one or more booster compressors.
  • Such processes with main and booster compressor(s) are also referred to as MAC/BAC processes (Main Air Compressor/Booster Air Compressor). In a MAC/BAC process, not all of the feed air, but only a portion, is compressed to a pressure significantly above the highest operating pressure of the distillation column system.
  • So-called internal compression can be used in air separation.
  • a liquid stream is taken from the distillation column system and at least partially pressurized in liquid form.
  • the pressurized liquid stream is heated against a heat transfer medium in a main heat exchanger of the air separation plant and evaporated or, if the appropriate pressures are present, converted from a liquid to a supercritical state.
  • the liquid stream can be liquid oxygen in particular, but also nitrogen or argon.
  • Internal compression is therefore used to obtain corresponding gaseous pressure products.
  • the advantage of internal compression processes is, among other things, that the corresponding fluids do not have to be compressed in a gaseous state outside the air separation plant, which often proves to be very complex and/or requires considerable safety measures. Internal compression is also described in the specialist literature cited at the beginning.
  • the EP 2 520 886 A1 discloses a method for producing a gaseous oxygen pressure product by low-temperature separation of air.
  • an air stream is formed from feed air compressed in a main air compressor and is recompressed in a secondary compressor system with at least two stages.
  • the secondary compressor system is designed to be adiabatical.
  • liquefaction is used for the conversion from the liquid to the supercritical or gaseous state.
  • a heat transfer medium is liquefied against the flow to be deliquesced.
  • the heat transfer medium is usually formed by a portion of the air supplied to the air separation plant.
  • this heat transfer medium In order to efficiently heat and deliquesce the liquid pressurized flow, this heat transfer medium must be thermodynamic conditions have a higher pressure than the liquid pressurized stream. Therefore, a correspondingly highly compressed stream must be provided.
  • This is also referred to as a "throttle stream” because it is conventionally expanded using an expansion valve (“throttle”), thereby at least partially deliquescing and fed into the distillation column system used.
  • the aim of the present invention is to combine the low investment costs associated with HAP processes with the efficiency advantages of conventional MAC/BAC processes.
  • the present invention proposes a method for the low-temperature separation of feed air in an air separation plant and a corresponding air separation plant with the features of the independent patent claims.
  • Preferred embodiments are the subject of the dependent patent claims and the following description.
  • expansion turbine or “expansion machine” which can be coupled to other expansion turbines or energy converters such as oil brakes, generators or compressors via a common shaft, is designed to expand a gaseous or at least partially liquid stream.
  • expansion turbines for use in the present invention can be designed as turbo expanders. If a compressor is driven with one or more expansion turbines, but without externally supplied energy, for example by means of an electric motor, the term “turbine-driven compressor” or alternatively “turbine booster” is used.
  • a “compressor” is a device that is designed to compress at least one gaseous stream from at least one inlet pressure at which it is fed to the compressor to at least one final pressure at which it is removed from the compressor.
  • a compressor forms a structural unit, which can, however, have several “compressor stages” in the form of piston, screw and/or impeller or turbine arrangements (i.e. axial or radial compressor stages). This also applies in particular to the "main (air) compressor” of an air separation plant, which is characterized by the fact that it compresses all or the majority of the air quantity fed into the air separation plant, i.e. the entire feed air flow.
  • a "post-compressor”, in which part of the air quantity compressed in the main air compressor is brought to an even higher pressure in the MAC/BAC process, is often also designed in several stages.
  • corresponding compressor stages are driven by means of a common drive, for example via a common shaft.
  • MAC/BAC processes traditionally use booster compressors that are driven by externally supplied energy, but HAP processes do not use such booster compressors.
  • turbine boosters are typically present in both cases, in particular in order to be able to make effective use of the shaft power released during expansion to produce cold.
  • a “heat exchanger” is used for the indirect transfer of heat between at least two streams, e.g. in countercurrent to each other, for example a warm compressed air stream and one or more cold streams or a cryogenic liquid air product and one or more warm streams.
  • a heat exchanger can be formed from a single or several parallel and/or serially connected heat exchanger sections, e.g. from one or more plate heat exchanger blocks.
  • a heat exchanger for example the "main heat exchanger” used in an air separation plant, which is characterized by the fact that it cools or heats the majority of the streams to be cooled or heated, has "passages" which are designed as separate fluid channels with heat exchange surfaces.
  • pressure level and "temperature level” to characterize pressures and temperatures, which is intended to express that corresponding pressures and temperatures in a corresponding system do not have to be used in the form of exact pressure or temperature values in order to implement the inventive concept.
  • pressures and temperatures typically move in certain ranges, which are, for example, ⁇ 1%, 5%, 10% or even 20% around an average value.
  • Corresponding pressure levels and temperature levels can lie in disjoint ranges or in ranges that overlap one another.
  • pressure levels for example, include unavoidable or expected pressure losses, for example due to cooling effects. The same applies to temperature levels.
  • a feed air stream which comprises all the feed air supplied to the air separation plant, is compressed in the main air compressor to a third pressure level which is at least 6 bar above the second pressure level.
  • the third pressure level can, for example, also be twice the second pressure level.
  • a first portion of the compressed feed air stream is cooled at least once in the main heat exchanger and expanded in a first expansion turbine starting from the third pressure level.
  • "Cooled at least once” is understood here and below to mean that a corresponding stream is passed through at least one section of the main heat exchanger at least once before and/or after the expansion.
  • a third portion is further compressed to a fourth pressure level and then also cooled at least once in the main heat exchanger and expanded starting from the fourth pressure level.
  • the third portion is the so-called throttle flow, which, as previously explained, enables internal compression in particular.
  • Air from the first portion and/or the second portion and/or the third portion is then fed into the distillation column system at the first and/or the second pressure level.
  • All of the air from the first portion is fed into the high-pressure column at the second pressure level.
  • All or part of the air from the second portion can be fed into the low-pressure column at the first pressure level and/or into the high-pressure column at the second pressure level. The same applies to the third portion.
  • the final pressure of the main air compressor depends on both the internal compression pressures, i.e. the pressures of the gaseous air products to be provided by internal compression, and the amount of liquid air products to be obtained.
  • the former dependence results from the evaporation capacity of a corresponding flow, which is essentially set by the pressure, the latter from the amount of cold "removed” by removing the liquid air products, which must be compensated for by expanding another flow.
  • the air volume of the feed air flow i.e. the air volume of the total feed air compressed by the main air compressor
  • the air volume of the feed air flow is determined by the amount of air products produced, more or less exergy can only be supplied to the system by varying the final pressure of the main air compressor. Due to technical and economic limitations (pipe classes used), this is typically limited to around 23 bar.
  • the present invention therefore proposes further compressing the third portion to the fourth pressure level in succession in a secondary compressor, a first turbine booster and a second turbine booster.
  • a secondary compressor instead of the usual maximum of two compression steps, which are typically implemented by two turbine boosters, at least three compression steps are used, two of which are implemented by a turbine booster and one by a secondary compressor.
  • At least the first turbine booster is operated in warm conditions, i.e. not as a cold compressor. This allows the process to be operated in a particularly energy-efficient manner.
  • the secondary compressor in the invention is designed as a single-stage, two-stage or multi-stage compressor.
  • booster compressors driven by externally supplied energy are used.
  • the booster compressor used in the present invention is a compressor driven by external energy, which is not, or at least not exclusively, driven by the expansion of a fluid previously compressed in the air separation plant itself.
  • the invention enables the third portion (throttle flow) to be provided at a significantly increased fourth pressure level through the compression mentioned, which makes the use of a sealing fluid expander energetically sensible. Therefore, the invention provides for using a corresponding sealing fluid expander to expand the third portion, to which the third portion is supplied in a liquid state and at the fourth (supercritical) pressure level.
  • the third component can be supplied to the second turbine booster at different temperature levels, in particular depending on the quantity of liquid air product(s) to be obtained in and removed from a corresponding air separation plant.
  • the third portion For the provision of larger quantities of one or more liquid air products, it has proven particularly advantageous to supply the third portion to the first turbine booster at a temperature level of 0 to 50 °C and to the second turbine booster at a temperature level of -40 to 50 °C.
  • the second turbine booster is therefore not a typical cold compressor, i.e. not a "cold" turbine booster.
  • the third portion may be significantly reduced, below the ambient temperature, but downstream of the second turbine booster its temperature is above the ambient temperature.
  • cold turbine boosters are less advantageous because the entire available cooling capacity is used to provide these liquid air products.
  • a cold turbine booster inevitably introduces heat into the system, since the compression heat from the compressed flow cannot typically be dissipated in an aftercooler, but only in the main heat exchanger, combined with a corresponding heat input.
  • liquid oxygen for example liquid oxygen (LOX), liquid nitrogen (LIN) and/or liquid argon (LAR).
  • LOX liquid oxygen
  • LIN liquid nitrogen
  • LAR liquid argon
  • the third portion For an air separation plant that is intended to provide predominantly or exclusively gaseous air products (which can also be obtained from liquid intermediate products, for example, using internal compression processes), it is advantageous to supply the third portion to the first turbine booster at a temperature level of 0 to 50 °C and to the second turbine booster at a temperature level of -140 to -20 °C.
  • the second turbine booster is a typical cold compressor, i.e. a "cold" turbine booster.
  • the third portion (throttle flow) is supplied to this at a temperature below the ambient temperature; downstream of the second turbine booster, its temperature is still (significantly) below the ambient temperature.
  • the temperature of the third portion compressed in the second turbine booster can be, for example, -90 to 20 °C directly downstream of the second turbine booster.
  • a cold turbine booster introduces heat into the system, since the compression heat from the compressed flow is typically not dissipated in an aftercooler operated with cooling water, but only in the main heat exchanger itself, combined with a corresponding heat input.
  • a cold turbine booster enables particularly good heating and deliquescing of internal compression products through this heat input, which is desired in this case, and is suitable for air separation plants for producing large quantities of corresponding gaseous pressure products and comparatively small quantities of liquid air products.
  • liquid oxygen for example liquid oxygen (LOX), liquid nitrogen (LIN) and/or liquid argon (LAR).
  • LOX liquid oxygen
  • LIN liquid nitrogen
  • LAR liquid argon
  • the invention advantageously provides for the said turbine boosters to be driven each with one of the expansion turbines, for example the first turbine booster with the second expansion turbine and the second turbine booster with the first expansion turbine.
  • the booster compressor used in addition to compress the third part (throttle flow), however, is driven by external energy, i.e. not by associated expansion turbines, which each expand air parts of the feed air flow. It can be advantageous, for example, to drive the booster compressor with high-pressure fluid and/or electrically and/or together with a compressor stage of the main air compressor. In the latter case, at least one compressor stage of the main air compressor and at least one compressor stage of the booster compressor are arranged on a common shaft, for example. Several corresponding measures can also be used simultaneously.
  • the third portion is removed from or fed to the main heat exchanger at suitable temperature levels.
  • a Additional cooling downstream of the second turbine booster and before renewed feeding into the main heat exchanger must be provided.
  • the second turbine booster is operated at the lower temperatures mentioned, this is not the case, as explained.
  • the cooling in the main heat exchanger after the recompression in the second turbine booster is advantageously carried out from a temperature level that depends on the inlet and outlet temperature of the second turbine booster and a possible aftercooling, i.e. from, for example, 10 to 50 °C or -90 to 20 °C to a temperature level of -140 to -180 °C.
  • the first portion is cooled to a temperature level of 0 to -150 °C in the main heat exchanger before being expanded in the first expansion turbine.
  • the first portion is cooled to a temperature level of -130 to -180 °C in the main heat exchanger after being expanded in the first expansion turbine.
  • the first portion is passed through the main heat exchanger again after being expanded in the first expansion turbine.
  • the second portion is advantageously cooled to a temperature level of -50 to -150 °C in the main heat exchanger before being expanded in the second expansion turbine.
  • the first pressure level is advantageously 1 to 2 bar and/or the second pressure level is 5 to 6 bar and/or the third pressure level is 8 to 23 bar and/or the fourth pressure level is 50 to 70 bar absolute pressure if the second turbine booster is operated at the higher temperatures mentioned.
  • the third pressure level is in any case at least 6 bar above the second pressure level. If the second turbine booster is operated at the lower temperatures mentioned, the first pressure level is advantageously 1 to 2 bar and/or the second pressure level is 5 to 6 bar and/or the third pressure level is 8 to 23 bar and/or the fourth pressure level is 50 to 70 bar absolute pressure; the third pressure level is in any case at least 6 bar above the second pressure level.
  • the third pressure level can still be achieved with conventional HAP main air compressors, the fourth, in particular with the aid of the The pressure level achieved by the so-called booster compressor enables the use of a sealing fluid expander.
  • the fourth pressure level is supercritical pressure.
  • the process according to the invention makes it possible in particular to remove at least one liquid air product from the distillation column system, to pressurize it in liquid form, to evaporate it in the main heat exchanger or to convert it into the supercritical state ("deliquefy") and to discharge it from the air separation plant as at least one internal compression product, i.e., as mentioned several times, for use with an internal compression process.
  • the at least one internal compression product can be discharged from the air separation plant at a pressure of 6 bar to 100 bar. Due to the additional heat input explained above, the method according to the invention is particularly suitable for providing internal compression products at a comparatively high pressure, i.e. at least 30 bar, if the second turbine booster is operated at the lower temperatures mentioned.
  • Feed air is supplied to the air separation plant 100 in the form of a feed air stream a, pre-cleaned by a filter 1 and then supplied to a main air compressor 2.
  • the main air compressor 2 is shown in a highly schematic manner.
  • the main air compressor 2 typically has several compressor stages that can be driven by one or more electric motors via a common shaft.
  • the feed air stream a compressed in it which here is all the feed air treated in the air separation plant 100, is fed to a cleaning device 3 (not shown) and freed there of residual moisture and carbon dioxide, for example.
  • a compressed (and cleaned) feed air stream b is obtained, which downstream of the cleaning device 3 is at a pressure level of, for example, 15 to 23 bar, referred to as the third pressure level in the context of this application.
  • the third pressure level in the example shown is significantly higher than the operating pressure of a typical high-pressure column of an air separation plant, as explained at the beginning, namely at least 6 bar above the second pressure level. This is therefore a HAP process.
  • the feed air stream b is divided successively into streams c, d and e.
  • stream c is referred to as the first portion
  • stream d is referred to as the second portion
  • stream e is the third portion of the feed air stream b.
  • the streams c and d are fed separately from one another on the warm side to a main heat exchanger 4 of the air separation plant 100 and are removed from this again at different intermediate temperature levels.
  • the stream c is expanded in an expansion turbine 5, which is referred to as the first expansion turbine in the context of this application, to a pressure level of, for example, 5 to 6 bar, which is referred to as the second pressure level in the context of this application, and is again passed through a section of the main heat exchanger 4.
  • the stream d is expanded in an expansion turbine 6, which is referred to as the second pressure level in the context of this application, Registration referred to as the second expansion turbine, is also expanded to the second pressure level.
  • the flow e is the so-called throttle flow, which in particular enables internal compression.
  • the flow e is first recompressed in a secondary compressor 7 and then in two turbine boosters, each of which is driven by the first expansion turbine 5 and the second expansion turbine 6 (not separately designated).
  • the turbine booster driven by the second expansion turbine 6 is referred to here as the first turbine booster, while the turbine booster driven by the first expansion turbine 5 is referred to as the second turbine booster.
  • the assignment of the turbine boosters to the expansion turbines 5, 6 can also be reversed.
  • the recompression takes place to a pressure level of, for example, 50 to 70 bar, which is referred to as the fourth pressure level in this application.
  • the flow e Downstream of the secondary compressor 7 and upstream of the turbine boosters, the flow e is at a pressure level of, for example, 26 to 36 bar.
  • the booster compressor 7 is driven by external energy, i.e. not by a relaxation of compressed air components of the feed air stream b.
  • the stream e is cooled down in aftercoolers of the turbine boosters (not separately designated) to a temperature that corresponds approximately to the cooling water temperature. Further cooling takes place as shown using the main heat exchanger 4 as required.
  • the stream e is therefore led again through an aftercooler and then through the main heat exchanger 4 and then expanded in a sealing fluid expander 8.
  • the fourth pressure level is significantly above the critical pressure for nitrogen and above the critical pressure for oxygen.
  • the stream e After cooling in the main heat exchanger 4 and upstream of the sealing fluid expander 8, the stream e is in a liquid state at supercritical pressure.
  • the sealing fluid expander 8 is coupled, for example, to a generator or an oil brake (no designation). After expansion, the stream e is here at the second pressure level. It is still liquid, but at a subcritical pressure.
  • the distillation column system 10 is shown in a highly simplified manner. It comprises at least one low-pressure column 11 operated at a pressure level of 1 to 2 bar (referred to here as the first pressure level) and a high-pressure column 12 operated at the second pressure level of a double column system in which the low-pressure column 11 and the high-pressure column 12 are in heat-exchanging connection via a main condenser 13.
  • the specific representation of lines, valves, pumps, other heat exchangers and the like that feed the low-pressure column 11 and the high-pressure column 12 and connect them and the main condenser 13 has been omitted for the sake of clarity.
  • streams c, d and e are fed into the high-pressure column 12.
  • stream d and/or stream e are fed into the low-pressure column 11 after appropriate expansion and/or that portions are not fed into the distillation column system.
  • streams f, g and h can be taken from the distillation column system 10.
  • the air separation plant 100 is set up to carry out an internal compression process, as explained several times.
  • streams f and g which can be a liquid, oxygen-rich stream f and a liquid, nitrogen-rich stream g, are therefore pressurized in the liquid state by means of pumps 9 and evaporated in the main heat exchanger 4 or, depending on the pressure, converted from the liquid to the supercritical state.
  • Fluid from streams f and g can be taken from the air separation plant 100 as internally compressed oxygen (GOX-IC) or internally compressed nitrogen (GAN-IC).
  • Stream h illustrates one or more streams taken from the distillation column system 10 in the gaseous state at the first pressure level.
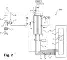
  • FIG 2 An air separation plant according to a particularly preferred embodiment of the invention is shown schematically and designated overall by 200.
  • the same or comparable plant components and streams as in the Figure 1 shown air separation plant 100 are indicated with identical reference numerals and will not be explained repeatedly.
  • the feed air flow b is at a third pressure level downstream of the cleaning device 3, which here is, for example, 9 to 17 bar, but in any case at least 6 bar above the second pressure level.
  • the fourth pressure level to which the flow e (throttle flow) is compressed is, for example, 30 to 80 bar.
  • the drive of the secondary compressor 7 is carried out together with one or more compressor stages of the main air compressor 2 and using a pressurized fluid, e.g. pressurized steam, which is expanded in an expansion turbine (not separately designated).
  • a pressurized fluid e.g. pressurized steam
  • an air separation plant 100 according to Figure 1 in which the second turbine booster is operated as a "warm” turbine booster, especially for the provision of larger quantities of liquid air products (not shown), an air separation plant 200 according to Figure 2 in which the second turbine booster is operated as a "cold” turbine booster, especially for the provision of gaseous internal compression products at high pressure.

Landscapes

  • Engineering & Computer Science (AREA)
  • Physics & Mathematics (AREA)
  • Mechanical Engineering (AREA)
  • Thermal Sciences (AREA)
  • General Engineering & Computer Science (AREA)
  • Health & Medical Sciences (AREA)
  • Emergency Medicine (AREA)
  • Separation By Low-Temperature Treatments (AREA)

Description

  • Die Erfindung betrifft ein Verfahren zur Tieftemperaturzerlegung von Luft in einer Luftzerlegungsanlage sowie eine entsprechende Luftzerlegungsanlage gemäß den Oberbegriffen der unabhängigen Patentansprüche.
  • Stand der Technik
  • Die Herstellung von Luftprodukten in flüssigem oder gasförmigem Zustand durch Tieftemperaturzerlegung von Luft in Luftzerlegungsanlagen ist bekannt und in der Fachliteratur, beispielsweise bei H.-W. Häring (Hrsg.), Industrial Gases Processing, Wiley-VCH 2006, insbesondere Abschnitt 2.2.5, "Cryogenic Rectification", beschrieben. Luftzerlegungsanlagen weisen Destillationssäulensysteme auf, die beispielsweise als Zweisäulensysteme, insbesondere als klassische Linde-Doppelsäulensysteme, aber auch als Drei- oder Mehrsäulensysteme ausgebildet sein können. Neben den Destillationssäulen zur Gewinnung von Stickstoff und/oder Sauerstoff in flüssigem und/oder gasförmigem Zustand (beispielsweise flüssigem Sauerstoff, LOX, gasförmigem Sauerstoff, GOX, flüssigem Stickstoff, LIN und/oder gasförmigem Stickstoff, GAN), also den Destillationssäulen zur Stickstoff-Sauerstoff-Trennung, können Destillationssäulen zur Gewinnung weiterer Luftkomponenten, insbesondere der Edelgase Krypton, Xenon und/oder Argon, vorgesehen sein.
  • Die Destillationssäulensysteme werden bei unterschiedlichen Betriebsdrücken in ihren jeweiligen Destillationssäulen betrieben. Bekannte Doppelsäulensysteme weisen beispielsweise eine sogenannte Hochdrucksäule (bisweilen auch lediglich als Drucksäule bezeichnet) und eine sogenannte Niederdrucksäule auf. Der Betriebsdruck der Hochdrucksäule beträgt beispielsweise 4,3 bis 6,9 bar, vorzugsweise etwa 5,0 bar. Die Niederdrucksäule wird bei einem Betriebsdruck von beispielsweise 1,3 bis 1,7 bar, vorzugsweise etwa 1,5 bar, betrieben. Bei den hier und im Folgenden angegebenen Drücken handelt es sich um Absolutdrücke.
  • Bei der Luftzerlegung können sogenannte High-Air-Pressure-Verfahren (HAP-Verfahren) eingesetzt werden. Bei einem HAP-Verfahren wird die gesamte, der Luftzerlegungsanlage zugeführte bzw. die in einem entsprechenden Verfahren insgesamt eingesetzte Luft (als Einsatzluft bezeichnet) in einem Hauptluftverdichter auf einen Druck verdichtet, der deutlich über dem höchsten Betriebsdruck des Destillationssäulensystems, typischerweise also deutlich über dem Betriebsdruck der Hochdrucksäule, liegt. Der Druckunterschied beträgt vorzugsweise zwischen 6 und 16 bar. Beispielsweise ist der Druck mindestens doppelt so hoch wie der Betriebsdruck der Hochdrucksäule. HAP-Verfahren sind z.B. aus der EP 2 466 236 A1 , der EP 2 458 311 A1 und der US 5 329 776 A bekannt.
  • Bei HAP-Verfahren lassen sich aufgrund der stärkeren Verdichtung die zur Luftreinigung erforderlichen Behälter- und Leitungsdimensionen verringern. Ferner sinkt der absolute Wassergehalt der verdichteten Luft. Je nach den vorliegenden Randbedingungen kann auf eine Kälteanlage zur Luftreinigung verzichtet werden.
  • In HAP-Verfahren kann die im Hauptlufttverdichter verdichtete Luftmenge ferner von der Prozessluftmenge entkoppelt werden. In einem derartigen Fall wird nur ein Teil der auf den genannten Druck verdichteten Einsatzluft als sogenannte Prozessluft genutzt, also für die eigentliche Rektifikation verwendet und in die Hochdrucksäule eingespeist. Ein weiterer Teil wird zur Gewinnung von Kälte entspannt, wobei die Kältemenge unabhängig von der Prozessluft eingestellt werden kann. Eine derartige Entkopplung ist jedoch nicht in allen HAP-Verfahren vorgesehen.
  • Ferner sind Verfahren bekannt, bei denen die Einsatzluft in dem Hauptluftverdichter nur auf den höchsten Betriebsdruck des Destillationssäulensystems, typischerweise also nur den Betriebsdruck der Hochdrucksäule oder geringfügig darüber, verdichtet wird. Ein Teil der Einsatzluft kann daher nach Abkühlung ohne weitere Entspannung in das Destillationssäulensystem eingespeist werden. Nur bestimmte Anteile, die beispielsweise zur zusätzlichen Kälteproduktion oder auch zur Erwärmung flüssiger Ströme (siehe sogleich) benötigt werden, werden in einem oder mehreren Nachverdichtern weiter verdichtet. Derartige Verfahren mit Haupt- und Nachverdichter(n) werden auch als MAC/BAC-Verfahren (engl. Main Air Compressor/Booster Air Compressor) bezeichnet. In einem MAC/BAC-Verfahren wird also nicht die gesamte Einsatzluft, sondern nur ein Teil auf einen Druck deutlich über dem höchsten Betriebsdruck des Destillationssäulensystems verdichtet.
  • Bei der Luftzerlegung kann die sogenannte Innenverdichtung zum Einsatz kommen. Bei der Innenverdichtung wird dem Destillationssäulensystem ein flüssiger Strom entnommen und zumindest zum Teil flüssig auf Druck gebracht. Der flüssig auf Druck gebrachte Strom wird in einem Hauptwärmetauscher der Luftzerlegungsanlage gegen einen Wärmeträger erwärmt und verdampft oder, beim Vorliegen entsprechender Drücke, vom flüssigen in den überkritischen Zustand überführt. Bei dem flüssigen Strom kann es sich insbesondere um flüssigen Sauerstoff, jedoch auch um Stickstoff oder Argon handeln. Die Innenverdichtung wird damit zur Gewinnung entsprechender gasförmiger Druckprodukte eingesetzt. Der Vorteil an Innenverdichtungsverfahren ist unter anderem, dass entsprechende Fluide nicht außerhalb der Luftzerlegungsanlage in gasförmigem Zustand verdichtet werden müssen, was sich häufig als sehr aufwendig erweist und/oder beträchtliche Sicherheitsmaßnahmen erfordert. Auch die Innenverdichtung ist in der eingangs zitierten Fachliteratur beschrieben.
  • Die EP 2 520 886 A1 offenbart ein Verfahren zur Erzeugung eines gasförmigen Sauerstoff-Druckprodukts durch Tieftemperaturzerlegung von Luft. In diesem wird ein Luftstrom aus in einem Hauptluftverdichter verdichteter Einsatzluft gebildet und in einem Nachverdichtersystem mit mindestens zwei Stufen nachverdichtet. Das Nachverdichtersystem ist adiabat ausgebildet.
  • In der DE 10 2007 014 643 A1 ist ein Verfahren offenbart, bei dem die gesamte Einsatzluft auf einen ersten Druck verdichtet wird, der etwas oberhalb des Betriebsdruck einer Hochdrucksäule liegt. Hiervon wird ein Teilstrom durch einen Nachverdichter geführt und dann erneut in zwei Teilströme aufgeteilt, die Boosterturbinen zugeführt werden.
  • Nachfolgend wird für die Überführung aus dem flüssigen in den überkritischen oder gasförmigen Zustand der Sammelbegriff "Entflüssigung" verwendet. Die Überführung aus dem überkritischen oder gasförmigen in den flüssigen Zustand, deren Produkt eine eindeutig definierte Flüssigkeit ist, wird als "Verflüssigung" bezeichnet.
  • Gegen den zu entflüssigenden Strom wird ein Wärmeträger verflüssigt. Der Wärmeträger wird dabei üblicherweise durch einen Teil der der Luftzerlegungsanlage zugeführten Luft gebildet. Um den flüssig auf Druck gebrachten Strom effizient erwärmen und entflüssigen zu können, muss dieser Wärmeträger aufgrund thermodynamischer Gegebenheiten einen höheren Druck als der flüssig auf Druck gebrachte Strom aufweisen. Daher muss ein entsprechend hoch verdichteter Strom bereitgestellt werden. Dieser wird auch als "Drosselstrom" bezeichnet, weil er herkömmlicherweise mittels eines Entspannungsventils ("Drossel") entspannt, hierdurch zumindest zum Teil entflüssigt und in das verwendete Destillationssäulensystem eingespeist wird.
  • Die Herstellung von innenverdichtetem, gasförmigem Sauerstoff mittels HAP-Verfahren ist insbesondere aufgrund des Wegfalls eines Nachverdichters zur Bereitstellung eines entsprechend hoch verdichteten Stroms vergleichsweise kostengünstig und in unterschiedlichen Ausgestaltungen realisierbar. In bestimmten Fällen können sich jedoch MAC/BAC-Verfahren als energetisch günstiger erweisen, was insbesondere auf den Einsatz einer Turbine (statt des herkömmlichen Entspannungsventils) zurückzuführen ist, der der Drosselstrom im flüssigen Zustand bei überkritischem Druck zugeführt und in weiterhin flüssigem Zustand bei unterkritischem Druck entnommen wird. Eine derartige Turbine wird im Rahmen dieser Anmeldung als Dichtfluidexpander bezeichnet (engl. Dense Liquid Expander bzw. Dense Fluid Expander, DLE). Die energetischen Vorteile eines derartigen Dichtfluidexpanders sind ebenfalls in der eingangs zitierten Fachliteratur, beispielsweise Abschnitt 2.2.5.6, "Apparatus", Seite 48 und 49, beschrieben.
  • Ziel der vorliegenden Erfindung ist es, die mit den HAP-Verfahren verbundenen niedrigen Investitionskosten mit den Effizienzvorteilen von herkömmlichen MAC/BAC-Verfahren zu kombinieren.
  • Offenbarung der Erfindung
  • Vor diesem Hintergrund schlägt die vorliegende Erfindung ein Verfahren zur Tieftemperaturzerlegung von Einsatzluft in einer Luftzerlegungsanlage sowie eine entsprechende Luftzerlegungsanlage mit den Merkmalen der unabhängigen Patentansprüche vor. Bevorzugte Ausgestaltungen sind jeweils Gegenstand der abhängigen Patentansprüche sowie der nachfolgenden Beschreibung.
  • Vor der Erläuterung der Merkmale und Vorteile der vorliegenden Erfindung werden deren Grundlagen und die verwendeten Begriffe erläutert.
  • Eine "Entspannungsturbine" bzw. "Entspannungsmaschine", die über eine gemeinsame Welle mit weiteren Entspannungsturbinen oder Energiewandlern wie Ölbremsen, Generatoren oder Verdichtern gekoppelt sein kann, ist zur Entspannung eines gasförmigen oder zumindest teilweise flüssigen Stroms eingerichtet. Insbesondere können Entspannungsturbinen zum Einsatz in der vorliegenden Erfindung als Turboexpander ausgebildet sein. Wird ein Verdichter mit einer oder mehreren Entspannungsturbinen angetrieben, jedoch ohne extern, beispielsweise mittels eines Elektromotors, zugeführte Energie, wird der Begriff "turbinengetriebener Verdichter" oder alternativ "Turbinenbooster" verwendet.
  • Ein "Verdichter" ist eine Vorrichtung, die zum Verdichten wenigstens eines gasförmigen Stroms von wenigstens einem Eingangsdruck, bei dem dieser dem Verdichter zugeführt wird, auf wenigstens einen Enddruck, bei dem dieser dem Verdichter entnommen wird, eingerichtet ist. Ein Verdichter bildet eine bauliche Einheit, die jedoch mehrere "Verdichterstufen" in Form von Kolben-, Schrauben- und/oder Schaufelrad- bzw. Turbinenanordnungen (also Axial- oder Radialverdichterstufen) aufweisen kann. Dies gilt auch insbesondere für den "Haupt(luft)verdichter" einer Luftzerlegungsanlage, der sich dadurch auszeichnet, dass durch diesen die gesamte oder der überwiegende Anteil der in die Luftzerlegungsanlage eingespeisten Luftmenge, also der gesamte Einsatzluftstrom, verdichtet wird. Ein "Nachverdichter", in dem in MAC/BAC-Verfahren ein Teil der im Hauptluftverdichter verdichteten Luftmenge auf einen nochmals höheren Druck gebracht wird, ist häufig ebenfalls mehrstufig ausgebildet. Insbesondere werden entsprechende Verdichterstufen mittels eines gemeinsamen Antriebs, beispielsweise über eine gemeinsame Welle, angetrieben.
  • Herkömmlicherweise kommen in MAC/BAC-Verfahren Nachverdichter zum Einsatz, die mittels extern zugeführter Energie angetrieben werden, in HAP-Verfahren finden sich derartige Nachverdichter nicht. Turbinenbooster sind jedoch typischerweise in beiden Fällen vorhanden, insbesondere um bei der Entspannung zur Kälteproduktion freiwerdende Wellenleistung sinnvoll nutzen zu können.
  • Ein "Wärmetauscher" dient zur indirekten Übertragung von Wärme zwischen zumindest zwei z.B. im Gegenstrom zueinander geführten Strömen, beispielsweise einem warmen Druckluftstrom und einem oder mehreren kalten Strömen oder einem tiefkalten flüssigen Luftprodukt und einem oder mehreren warmen Strömen. Ein Wärmetauscher kann aus einem einzelnen oder mehreren parallel und/oder seriell verbundenen Wärmetauscherabschnitten gebildet sein, z.B. aus einem oder mehreren Plattenwärmetauscherblöcken. Ein Wärmetauscher, beispielsweise auch der in einer Luftzerlegungsanlage eingesetzte "Hauptwärmetauscher", der sich dadurch auszeichnet, dass durch ihn der Hauptanteil der abzukühlenden bzw. zu erwärmenden Ströme abgekühlt bzw. erwärmt wird, weist "Passagen" auf, die als voneinander getrennte Fluidkanäle mit Wärmeaustauschflächen ausgebildet sind.
  • Die vorliegende Anmeldung verwendet zur Charakterisierung von Drücken und Temperaturen die Begriffe "Druckniveau" und "Temperaturniveau", wodurch zum Ausdruck gebracht werden soll, dass entsprechende Drücke und Temperaturen in einer entsprechenden Anlage nicht in Form exakter Druck- bzw. Temperaturwerte verwendet werden müssen, um das erfinderische Konzept zu verwirklichen. Jedoch bewegen sich derartige Drücke und Temperaturen typischerweise in bestimmten Bereichen, die beispielsweise ± 1 %, 5%, 10%oder sogar 20% um einen Mittelwert liegen. Entsprechende Druckniveaus und Temperaturniveaus können dabei in disjunkten Bereichen liegen oder in Bereichen, die einander überlappen. Insbesondere schließen beispielsweise Druckniveaus unvermeidliche oder zu erwartende Druckverluste, beispielsweise aufgrund von Abkühlungseffekten, ein. Entsprechendes gilt für Temperaturniveaus.
  • Vorteile der Erfindung
  • Das erfindungsgemäße Verfahren verwendet eine Luftzerlegungsanlage mit einem Hauptluftverdichter, einem Hauptwärmetauscher und einem Destillationssäulensystem mit einer auf einem ersten Druckniveau betriebenen Niederdrucksäule und einer auf einem zweiten Druckniveau betriebenen Hochdrucksäule. Die genannten und weitere verwendete Druckniveaus sind unten im Detail angegeben.
  • In dem erfindungsgemäßen Verfahren wird ein Einsatzluftstrom, der die gesamte, der Luftzerlegungsanlage zugeführte Einsatzluft umfasst, in dem Hauptluftverdichter auf ein drittes Druckniveau verdichtet, welches mindestens 6 bar oberhalb des zweiten Druckniveaus liegt. Das dritte Druckniveau kann beispielsweise auch das Doppelte des zweiten Druckniveaus betragen. Es wird also ein HAP-Verfahren durchgeführt.
  • Von dem verdichteten Einsatzluftstrom wird ein erster Anteil mindestens einmal in dem Hauptwärmetauscher abgekühlt und in einer ersten Entspannungsturbine ausgehend von dem dritten Druckniveau entspannt. Unter "mindestens einmal abgekühlt" wird hier und im Folgenden verstanden, dass ein entsprechender Strom vor und/oder nach der Entspannung mindestens einmal zumindest durch einen Abschnitt des Hauptwärmetauschers geführt wird.
  • Ein zweiter Anteil wird ähnlich behandelt, d.h. ebenfalls mindestens einmal in dem Hauptwärmetauscher abgekühlt und in einer zweiten Entspannungsturbine ausgehend von dem dritten Druckniveau entspannt. Bei dem zweiten Anteil handelt es sich um den sogenannten Turbinenstrom, seine Entspannung erfolgt, um in einer entsprechenden Anlage zusätzliche Kälte bereitstellen und diese regeln zu können.
  • Ein dritter Anteil wird auf ein viertes Druckniveau weiter verdichtet und dann ebenfalls mindestens einmal in dem Hauptwärmetauscher abgekühlt und ausgehend von dem vierten Druckniveau entspannt. Bei dem dritten Anteil handelt es sich um den sogenannten Drosselstrom, der, wie zuvor erläutert, insbesondere die Innenverdichtung ermöglicht.
  • Luft des ersten Anteils und/oder des zweiten Anteils und/oder des dritten Anteils wird anschließend auf dem ersten und/oder auf dem zweiten Druckniveau in das Destillationssäulensystem eingespeist. Typischerweise wird dabei die gesamte Luft des ersten Anteils auf dem zweiten Druckniveau in die Hochdrucksäule eingespeist. Die gesamte oder ein Teil der Luft des zweiten Anteils kann auf dem ersten Druckniveau in die Niederdrucksäule und/oder auf dem zweiten Druckniveau in die Hochdrucksäule eingespeist werden. Entsprechendes gilt für den dritten Anteil.
  • Die vorliegende Erfindung beruht auf der Erkenntnis, dass eine Kombination eines HAP-Verfahrens verbunden mit der energetischen Effizienz eines MAC/BAC-Verfahrens sowohl hinsichtlich der Erstellungs- als auch hinsichtlich der Betriebskosten einer Luftzerlegungsanlage besonders vorteilhaft ist. Wie erläutert, ist insbesondere der Einsatz eines Dichtfluidexpanders aus energetischer Sicht (also hinsichtlich der Betriebskosten) besonders günstig, wohingegen der Einsatz eines HAP-Verfahrens geringe Erstellungskosten ermöglicht. Der Einsatz eines Dichtfluidexpanders ist jedoch in herkömmlichen HAP-Verfahren nicht vorteilhaft, weil die durch einen Dichtfluidexpander erzielbare Energieeinsparung an die an dem Dichtfluidexpander auftretende Druckdifferenz gekoppelt ist. Bei geringeren Eintrittsdrücken und damit geringeren Druckdifferenzen ist der Einsatz insgesamt weniger lohnend. Auch die durch die erhöhten Drücke eines MAC/BAC-Verfahrens verbesserten Q,T-Profile lassen sich herkömmlicherweise mittels eines HAP-Verfahrens nicht erreichen.
  • Bei HAP-Verfahren ist der Enddruck des Hauptluftverdichters (hier also das "dritte Druckniveau") sowohl von den Innenverdichtungsdrücken, also den Drücken der mittels Innenverdichtung bereitzustellenden gasförmigen Luftprodukte, als auch von der Menge der zu gewinnenden flüssigen Luftprodukte abhängig. Erstere Abhängigkeit ergibt sich aus der im Wesentlichen durch den Druck eingestellten Verdampfungskapazität eines entsprechenden Stroms, letztere aus der durch die Entnahme der flüssigen Luftprodukte "entzogenen" Kältemenge, die durch Entspannung eines weiteren Stroms ausgeglichen werden muss.
  • Da die Luftmenge des Einsatzluftstroms, also die Luftmenge der gesamten, durch den Hauptluftverdichter verdichteten Einsatzluft, durch die Menge der erzeugten Luftprodukte festgelegt ist, kann der Anlage aber nur über eine Variation des Enddrucks des Hauptluftverdichters mehr oder weniger Exergie zugeführt werden. Aufgrund technisch-ökonomischer Grenzen (eingesetzte Rohrklassen) ist dieser typischerweise auf ca. 23 bar limitiert.
  • Unter diesen Randbedingungen kann in herkömmlichen HAP-Verfahren kein ausreichender Druck zur Verfügung gestellt werden, der den Einsatz einer Flüssigturbine vorteilhaft erscheinen lässt. Wie erwähnt, ist der Einsatz einer Flüssigturbine nur dann technisch vorteilhaft, wenn hierüber eine ausreichende Druckdifferenz erzielt werden kann.
  • Die vorliegende Erfindung schlägt daher vor, den dritten Anteil nacheinander in einem Nachverdichter, einem ersten Turbinenbooster und einem zweiten Turbinenbooster auf das vierte Druckniveau weiter zu verdichten. Es werden also statt den üblichen maximal zwei Verdichtungsschritten, die typischerweise durch zwei Turbinenbooster realisiert sind, zumindest drei Verdichtungsschritte eingesetzt, von denen zwei durch jeweils einen Turbinenbooster und einer durch einen Nachverdichter realisiert werden.
  • Hierdurch kann ein deutlich höheres viertes Druckniveau erzielt werden. Dabei wird zumindest der erste Turbinenbooster im Warmen betrieben, also nicht als Kaltverdichter. Dies erlaubt einen energetisch besonders günstigen Betrieb des Prozesses. Der Nachverdichter ist bei der Erfindung einstufig, zweistufig oder mehrstufig ausgebildet.
  • Wie erwähnt, kommen herkömmlicherweise zwar in MAC/BAC-Verfahren, jedoch nicht in HAP-Verfahren, Nachverdichter zum Einsatz, die mittels extern zugeführter Energie angetrieben werden. Die vorliegende Erfindung schlägt jedoch ebendies vor. Bei dem im Rahmen der vorliegenden Erfindung eingesetzten Nachverdichter handelt es sich um einen mit externer Energie angetriebenen Verdichter, der also nicht oder zumindest nicht ausschließlich durch Entspannung eines zuvor in der Luftzerlegungsanlage selbst verdichteten Fluids angetrieben wird. Zu den unterschiedlichen Möglichkeiten, einen erfindungsgemäß bereitgestellten Nachverdichter mit externer Energie anzutreiben, sei auf die Erläuterungen unten verwiesen.
  • Die Erfindung ermöglicht durch die genannte Verdichtung eine Bereitstellung des dritten Anteils (Drosselstrom) auf einem deutlich erhöhten vierten Druckniveau, das den Einsatz eines Dichtfluidexpanders energetisch sinnvoll macht. Daher ist erfindungsgemäß vorgesehen, zum Entspannen des dritten Anteils einen entsprechenden Dichtfluidexpander zu verwenden, dem der dritte Anteil in flüssigem Zustand und auf dem vierten (überkritischen) Druckniveau zugeführt wird.
  • Der dritte Anteil (Drosselstrom) kann dem zweiten Turbinenbooster insbesondere je nach der Menge des oder der flüssigen Luftprodukte, die in einer entsprechenden Luftzerlegungsanlage gewonnen und dieser entnommen werden sollen, auf unterschiedlichen Temperaturniveaus zugeführt werden.
  • Für eine Bereitstellung größerer Mengen eines oder mehrerer flüssiger Luftprodukte hat es sich als besonders vorteilhaft erwiesen, den dritten Anteil dem ersten Turbinenbooster auf einem Temperaturniveau von 0 bis 50 °C und dem zweiten Turbinenbooster auf einem Temperaturniveau von -40 bis 50 °C zuzuführen. Auch der zweite Turbinenbooster ist daher kein typischer Kaltverdichter, also kein "kalter" Turbinenbooster. Zwar wird diesem der dritte Anteil (Drosselstrom) ggf. deutlich unterhalb der Umgebungstemperatur zugeführt, stromab des zweiten Turbinenboosters liegt seine Temperatur jedoch oberhalb der Umgebungstemperatur.
  • Sollen einer entsprechenden Luftzerlegungsanlage größere Mengen von Luftprodukten flüssig entnommen werden, sind "kalte" Turbinenbooster weniger vorteilhaft, weil die gesamte zur Verfügung stehende Kälteleistung zur Bereitstellung dieser flüssigen Luftprodukte verwendet wird. Ein kalter Turbinenbooster trägt aber unvermeidlich Wärme in das System ein, da die Verdichtungswärme aus dem verdichteten Strom typischerweise nicht in einem Nachkühler, sondern nur im Hauptwärmetauscher, verbunden mit einem entsprechendem Wärmeeintrag, abgeführt werden kann. Ein bei höheren Eintrittstemperaturen betriebener Turbinenbooster, bei dem der verdichtete Strom deutlich höhere Temperaturen aufweist als beispielsweise vorhandenes Kühlwasser, ermöglicht eine effektive Wärmeabfuhr in einem üblichen Nachkühler. Durch das Abführen der Verdichtungswärme stromab des zweiten Turbinenboosters ist die Verdichtung in diesem weitgehend wärmeneutral, da die Verdichtungsarbeit hier durch den Nachkühler kompensiert wird.
  • Insgesamt erlaubt die Verwendung eines bei den erwähnten höheren Eintrittstemperaturen betriebenen zweiten Turbinenboosters daher eine Entnahme einer vergleichsweise großen Menge von 3 bis 10 Mol.-% des Einsatzluftstroms in Form von flüssigen Luftprodukten, beispielsweise flüssigem Sauerstoff (LOX), flüssigem Stickstoff (LIN) und/oder flüssigem Argon (LAR).
  • Für eine Luftzerlegungsanlage, die hingegen überwiegend oder ausschließlich gasförmige Luftprodukte bereitstellen soll (die aber auch beispielsweise mittels Innenverdichtungsverfahren aus flüssigen Zwischenprodukten gewonnen werden können), ist es hingegen vorteilhaft, den dritten Anteil dem ersten Turbinenbooster auf einem Temperaturniveau von 0 bis 50 °C und dem zweiten Turbinenbooster auf einem Temperaturniveau von -140 bis -20 °C zuzuführen. Der zweite Turbinenbooster ist in diesem Fall ein typischer Kaltverdichter, also ein "kalter" Turbinenbooster. Diesem wird der dritte Anteil (Drosselstrom) unterhalb der Umgebungstemperatur zugeführt, stromab des zweiten Turbinenboosters liegt seine Temperatur weiterhin (deutlich) unterhalb der Umgebungstemperatur. Die Temperatur des in dem zweiten Turbinenboosters verdichteten dritten Anteils kann direkt stromab des zweiten Turbinenboosters beispielsweise bei -90 bis 20 °C liegen.
  • Ein kalter Turbinenbooster trägt Wärme in das System ein, da die Verdichtungswärme aus dem verdichteten Strom typischerweise nicht in einem Nachkühler, der mit Kühlwasser betrieben wird, sondern nur im Hauptwärmetauscher selbst, verbunden mit einem entsprechenden Wärmeeintrag, abgeführt wird. Ein kalter Turbinenbooster ermöglicht durch diesen im vorliegenden Fall gewollten Wärmeeintrag eine besonders gute Erwärmung und Entflüssigung von Innenverdichtungsprodukten und eignet sich für Luftzerlegungsanlagen zur Erzeugung großer Mengen entsprechender gasförmiger Druckprodukte und vergleichsweise geringer Mengen an flüssigen Luftprodukten.
  • Insgesamt erlaubt die Verwendung eines bei den erwähnten niedrigen Eintrittstemperaturen betriebenen zweiten Turbinenboosters daher eine Entnahme einer vergleichsweise geringen Menge von bis zu 3 Mol.-% des Einsatzluftstroms in Form von flüssigen Luftprodukten, beispielsweise flüssigem Sauerstoff (LOX), flüssigem Stickstoff (LIN) und/oder flüssigem Argon (LAR).
  • Die Erfindung sieht vorteilhafterweise vor, die genannten Turbinenbooster jeweils mit einer der Entspannungsturbinen anzutreiben, beispielsweise den ersten Turbinenbooster mit der zweiten Entspannungsturbine und den zweiten Turbinenbooster mit der ersten Entspannungsturbine.
  • Der zusätzlich zur Verdichtung des dritten Anteils (Drosselstrom) eingesetzte Nachverdichter wird hingegen mit externer Energie angetrieben, also nicht über zugeordnete Entspannungsturbinen, die jeweils Luftanteile des Einsatzluftstroms entspannen. Vorteilhaft kann beispielsweise sein, den Nachverdichter mit Hochdruckfluid und/oder elektrisch und/oder zusammen mit einer Verdichterstufe des Hauptluftverdichters anzutreiben. In letzterem Fall sind zumindest eine Verdichterstufe des Hauptluftverdichters und zumindest eine Verdichterstufe des Nachverdichters beispielsweise auf einer gemeinsamen Welle angeordnet. Auch ein Einsatz mehrerer entsprechender Maßnahmen gleichzeitig kann erfolgen.
  • Besonders vorteilhaft ist es, den dritten Anteil vor und nach dem weiteren Verdichten in dem zweiten Turbinenbooster in dem Hauptwärmetauscher abzukühlen. Der dritte Anteil wird dem Hauptwärmetauscher dabei auf geeigneten Temperaturniveaus entnommen bzw. zugeführt. Wie erläutert, kann ferner in Fällen, in denen der zweite Turbinenbooster bei den erwähnten höheren Temperaturen betrieben wird, eine zusätzliche Nachkühlung stromab des zweiten Turbinenboosters und vor einer erneuten Einspeisung in den Hauptwärmetauscher vorgesehen sein. Wird dagegen der zweite Turbinenbooster bei den erwähnten geringeren Temperaturen betrieben, ist dies, wie erläutert, nicht der Fall.
  • Die Abkühlung in dem Hauptwärmetauscher nach dem Nachverdichten in dem zweiten Turbinenbooster erfolgt dabei vorteilhafterweise von einem Temperaturniveau, das sich nach der Ein- und Austrittstemperatur des zweiten Turbinenboosters und einer möglichen Nachkühlung richtet, also von beispielsweise 10 bis 50 °C oder -90 bis 20 °C auf ein Temperaturniveau von -140 bis -180 °C.
  • Vorteilhaft kann auch sein, wenn der erste Anteil vor dem Entspannen in der ersten Entspannungsturbine in dem Hauptwärmetauscher auf ein Temperaturniveau von 0 bis -150 °C abgekühlt wird. Vorteilhafterweise wird der erste Anteil nach dem Entspannen in der ersten Entspannungsturbine in dem Hauptwärmetauscher auf ein Temperaturniveau von -130 bis -180 °C abgekühlt. Mit anderen Worten wird der erste Anteil nach der Entspannung in der ersten Entspannungsturbine also nochmals durch den Hauptwärmetauscher geführt.
  • Der zweite Anteil wird vorteilhafterweise vor dem Entspannen in der zweiten Entspannungsturbine in dem Hauptwärmetauscher auf ein Temperaturniveau von -50 bis -150 °C abgekühlt.
  • Im Rahmen der vorliegenden Erfindung beträgt vorteilhafterweise das erste Druckniveau 1 bis 2 bar und/oder das zweite Druckniveau 5 bis 6 bar und/oder das dritte Druckniveau 8 bis 23 bar und/oder das vierte Druckniveau 50 bis 70 bar Absolutdruck, wenn der zweite Turbinenbooster bei den erwähnten höheren Temperaturen betrieben wird. Das dritte Druckniveau liegt jedenfalls mindestens 6 bar oberhalb des zweiten Druckniveaus. Wird der zweite Turbinenbooster bei den erwähnten niedrigeren Temperaturen betrieben, beträgt vorteilhafterweise das erste Druckniveau 1 bis 2 bar und/oder das zweite Druckniveau 5 bis 6 bar und/oder das dritte Druckniveau 8 bis 23 bar und/oder das vierte Druckniveau 50 bis 70 bar Absolutdruck; das dritte Druckniveau liegt jedenfalls mindestens 6 bar oberhalb des zweiten Druckniveaus. Das dritte Druckniveau lässt sich dabei jeweils noch mit üblichen HAP-Hauptluftverdichtern erreichen, das vierte, insbesondere mit Hilfe des genannten Nachverdichters erzielte Druckniveau ermöglicht den Einsatz eines Dichtfluidexpanders. Das vierte Druckniveau liegt dabei bei überkritischem Druck.
  • Das erfindungsgemäße Verfahren ermöglicht es insbesondere, dem Destillationssäulensystem zumindest ein flüssiges Luftprodukt zu entnehmen, flüssig mit Druck zu beaufschlagen, in dem Hauptwärmetauscher zu verdampfen oder in den überkritischen Zustand zu überführen (zu "entflüssigen") und als wenigstens ein Innenverdichtungsprodukt aus der Luftzerlegungsanlage auszuführen, also wie mehrfach erwähnt zum Einsatz mit einem Innenverdichtungsverfahren.
  • Das wenigstens eine Innenverdichtungsprodukt kann bei einem Druck von 6 bar bis 100 bar aus der Luftzerlegungsanlage ausgeführt werden. Das erfindungsgemäße Verfahren eignet sich aufgrund des zusätzlichen, oben erläuterten Wärmeeintrags insbesondere zur Bereitstellung von Innenverdichtungsprodukten bei vergleichsweise hohem Druck, d.h. bei mindestens 30 bar, wenn der zweite Turbinenbooster bei den erwähnten geringeren Temperaturen betrieben wird.
  • Zu den Merkmalen der erfindungsgemäßen Luftzerlegungsanlage sei auf den entsprechenden Vorrichtungsanspruch verwiesen. Eine derartige Luftzerlegungsanlage weist insbesondere sämtliche Mittel auf, die sie zur Durchführung eines zuvor erläuterten Verfahrens befähigen. Auf die Merkmale und Vorteile, die zuvor erläutert wurden, wird daher ausdrücklich verwiesen.
  • Die Erfindung wird nachfolgend unter Bezugnahme auf die beigefügte Zeichnung näher erläutert, welche bevorzugte Ausführungsformen der Erfindung zeigen.
  • Kurze Beschreibung der Zeichnung
    • Figur 1 zeigt eine Luftzerlegungsanlage gemäß einer Ausführungsform der Erfindung in Form eines schematischen Anlagendiagramms.
    • Figur 2zeigt eine Luftzerlegungsanlage gemäß einer Ausführungsform der Erfindung in Form eines schematischen Anlagendiagramms.
    Ausführliche Beschreibung der Zeichnung
  • In Figur 1 ist eine Luftzerlegungsanlage gemäß einer besonders bevorzugten Ausführungsform der Erfindung schematisch dargestellt und insgesamt mit 100 bezeichnet. Der Luftzerlegungsanlage 100 wird Einsatzluft (AIR) in Form eines Einsatzluftstroms a zugeführt, durch ein Filter 1 vorgereinigt und anschließend einem Hauptluftverdichter 2 zugeführt. Der Hauptluftverdichter 2 ist stark schematisiert veranschaulicht. Der Hauptluftverdichter 2 verfügt typischerweise über mehrere Verdichterstufen, die über eine gemeinsame Welle mit einem oder mehreren Elektromotoren angetrieben werden können.
  • Stromab des Hauptluftverdichters 2 wird der in diesem verdichtete Einsatzluftstrom a, bei dem es sich hier um die gesamte, in der Luftzerlegungsanlage 100 behandelte Einsatzluft handelt, einer nicht dargestellten Reinigungseinrichtung 3 zugeführt und dort beispielsweise von Restfeuchtigkeit und Kohlendioxid befreit. Es wird ein verdichteter (und aufgereinigter) Einsatzluftstrom b erhalten, der stromab der Reinigungseinrichtung 3 auf einem Druckniveau von beispielsweise 15 bis 23 bar, im Rahmen dieser Anmeldung als drittes Druckniveau bezeichnet, vorliegt. Das dritte Druckniveau liegt im dargestellten Beispiel deutlich über dem Betriebsdruck einer typischen Hochdrucksäule einer Luftzerlegungsanlage, wie eingangs erläutert, nämlich mindestens 6 bar oberhalb des zweiten Druckniveaus. Es handelt sich damit um ein HAP-Verfahren.
  • Der Einsatzluftstrom b wird nacheinander in die Ströme c, d und e aufgeteilt. Der Strom c wird im Rahmen dieser Anmeldung als erster Anteil, der Strom d als zweiter Anteil und der Strom e als dritter Anteil des Einsatzluftstroms b bezeichnet.
  • Die Ströme c und d werden getrennt voneinander warmseitig einem Hauptwärmetauscher 4 der Luftzerlegungsanlage 100 zugeführt und diesem auf unterschiedlichen Zwischentemperaturniveaus wieder entnommen. Der Strom c wird nach der Entnahme aus dem Hauptwärmetauscher 4 in einer Entspannungsturbine 5, die im Rahmen dieser Anmeldung als erste Entspannungsturbine bezeichnet wird, auf ein Druckniveau von beispielsweise 5 bis 6 bar, das im Rahmen dieser Anmeldung als zweites Druckniveau bezeichnet wird, entspannt, und nochmals durch einen Abschnitt des Hauptwärmetauschers 4 geführt. Der Strom d wird nach der Entnahme aus dem Hauptwärmetauscher 4 in einer Entspannungsturbine 6, die im Rahmen dieser Anmeldung als zweite Entspannungsturbine bezeichnet wird, ebenfalls auf das zweite Druckniveau entspannt.
  • Bei dem Strom e handelt es sich um den sogenannten Drosselstrom, der insbesondere die Innenverdichtung ermöglicht. Der Strom e wird hierzu zunächst in einem Nachverdichter 7 und anschließend in zwei Turbinenboostern, die jeweils durch die erste Entspannungsturbine 5 und die zweite Entspannungsturbine 6 angetrieben werden (nicht gesondert bezeichnet), nachverdichtet. Der durch die zweite Entspannungsturbine 6 angetriebene Turbinenbooster wird hier als erster Turbinenbooster, der durch die erste Entspannungsturbine 5 angetriebene Turbinenbooster hingegen als zweiter Turbinenbooster bezeichnet. Grundsätzlich kann die Zuordnung der Turbinenbooster zu den Entspannungsturbinen 5, 6 auch umgekehrt sein. Die Nachverdichtung erfolgt auf ein Druckniveau von beispielsweise 50 bis 70 bar, das im Rahmen dieser Anmeldung als viertes Druckniveau bezeichnet wird. Stromab des Nachverdichters 7 und stromauf der Turbinenbooster liegt der Strom e auf einem Druckniveau von beispielsweise 26 bis 36 bar vor. Der Nachverdichter 7 wird mit externer Energie, d.h. nicht durch eine Entspannung von verdichteten Luftanteilen des Einsatzluftstroms b, angetrieben.
  • Nach den Nachverdichtungsschritten in den zwei Turbinenboostern wird der Strom e jeweils in nicht gesondert bezeichneten Nachkühlern der Turbinenbooster auf eine Temperatur rückgekühlt, die etwa der Kühlwassertemperatur entspricht. Eine weitere Abkühlung erfolgt wie dargestellt mittels des Hauptwärmetauschers 4 je nach Bedarf. Auf dem vierten Druckniveau wird der Strom e also nochmals durch einen Nachkühler und danach durch den Hauptwärmetauscher 4 geführt und anschließend in einem Dichtfluidexpander 8 entspannt. Das vierte Druckniveau liegt deutlich oberhalb des kritischen Drucks für Stickstoff und oberhalb des kritischen Drucks für Sauerstoff.
  • Nach der Abkühlung in dem Hauptwärmetauscher 4 und stromauf des Dichtfluidexpanders 8 befindet sich der Strom e in flüssigem Zustand bei überkritischem Druck. Der Dichtfluidexpander 8 ist beispielsweise mit einem Generator oder einer Ölbremse gekoppelt (ohne Bezeichnung). Nach der Entspannung liegt der Strom e hier auf dem zweiten Druckniveau vor. Er ist weiterhin flüssig, befindet sich jedoch auf einem unterkritischen Druck.
  • Das Destillationssäulensystem 10 ist stark vereinfacht gezeigt. Es umfasst zumindest eine auf einem Druckniveau von 1 bis 2 bar (hier als erstes Druckniveau bezeichnet) betriebene Niederdrucksäule 11 und eine auf dem zweiten Druckniveau betriebene Hochdrucksäule 12 eines Doppelsäulensystems, in dem die Niederdrucksäule 11 und die Hochdrucksäule 12 über einen Hauptkondensator 13 in wärmetauschender Verbindung stehen. Auf die konkrete Darstellung von die Niederdrucksäule 11 und die Hochdrucksäule 12 speisenden und diese und den Hauptkondensator 13 verbindenden Leitungen, Ventilen, Pumpen, weiteren Wärmetauschern und dergleichen wurde der Übersichtlichkeit halber verzichtet.
  • Die Ströme c, d und e werden im dargestellten Beispiel in die Hochdrucksäule 12 eingespeist. Es kann jedoch auch vorgesehen sein, beispielsweise den Strom d und/oder den Strom e nach entsprechender Entspannung in die Niederdrucksäule 11 und/oder Anteile nicht in das Destillationssäulensystem einzuspeisen.
  • Dem Destillationssäulensystem 10 können im dargestellten Beispiel die Ströme f, g und h entnommen werden. Die Luftzerlegungsanlage 100 ist zur Durchführung eines Innenverdichtungsverfahrens eingerichtet, wie mehrfach erläutert. Im dargestellten Beispiel werden die Ströme f und g, bei denen es sich um einen flüssigen, sauerstoffreichen Strom f und einen flüssigen, stickstoffreichen Strom g handeln kann, daher mittels Pumpen 9 in flüssigem Zustand druckbeaufschlagt und in dem Hauptwärmetauscher 4 verdampft oder, je nach Druck, vom flüssigen in den überkritischen Zustand überführt. Fluid der Ströme f und g kann der Luftzerlegungsanlage 100 als innenverdichteter Sauerstoff (GOX-IC) bzw. innenverdichteter Stickstoff (GAN-IC) entnommen werden. Der Strom h veranschaulicht einen oder mehrere dem Destillationssäulensystem 10 in gasförmigem Zustand auf dem ersten Druckniveau entnommene Ströme.
  • In Figur 2 ist eine Luftzerlegungsanlage gemäß einer besonders bevorzugten Ausführungsform der Erfindung schematisch dargestellt und insgesamt mit 200 bezeichnet. Gleiche oder vergleichbare Anlagenkomponenten und Ströme wie in der in Figur 1 gezeigten Luftzerlegungsanlage 100 sind mit identischen Bezugszeichen angegeben und werden nicht wiederholt erläutert.
  • Der Einsatzluftstrom b liegt auch hier stromab der Reinigungseinrichtung 3 auf einem dritten Druckniveau vor, das jedoch hier beispielsweise 9 bis 17 bar beträgt, aber jedenfalls mindestens 6 bar oberhalb des zweiten Druckniveaus. Das vierte Druckniveau, auf das der Strom e (Drosselstrom) verdichtet wird, beträgt hier beispielsweise 30 bis 80 bar. Während der Strom e auch hier nach dem Nachverdichtungsschritt in dem ersten Turbinenbooster in einem nicht gesondert bezeichneten Nachkühler auf eine Temperatur rückgekühlt wird, die etwa der Kühlwassertemperatur entspricht, erfolgt eine Abkühlung stromab des zweiten Turbinenboosters nur mittels des Hauptwärmetauschers 4, nicht jedoch mittels eines Nachkühlers wie in der Luftzerlegungsanlage 100 gemäß Figur 1. Da der zweite Turbinenbooster als "kalter" Turbinenbooster betrieben wird, liegt der Strom e stromab dieses zweiten Turbinenboosters auf einem entsprechend tiefen Temperaturniveau deutlich unterhalb der Umgebungstemperatur vor.
  • Im dargestellten Beispiel der Luftzerlegungsanlage 100 erfolgt der Antrieb des Nachverdichters 7 gemeinsam mit einer oder mehreren Verdichterstufen des Hauptluftverdichters 2 und unter Verwendung eines Druckfluids, z.B. Druckdampf, das in einer Entspannungsturbine (nicht gesondert bezeichnet) entspannt wird.
  • Wie erwähnt, eignet sich eine Luftzerlegungsanlage 100 gemäß Figur 1, bei der der zweite Turbinenbooster als "warmer" Turbinenbooster betrieben wird, besonders für die Bereitstellung größerer Mengen flüssiger Luftprodukte (nicht dargestellt), eine Luftzerlegungsanlage 200 gemäß Figur 2 hingegen, bei der der zweite Turbinenbooster als "kalter" Turbinenbooster betrieben wird, besonders für die Bereitstellung von gasförmigen Innenverdichtungsprodukten auf hohem Druck.

Claims (15)

  1. Verfahren zur Tieftemperaturzerlegung von Luft (AIR) in einer Luftzerlegungsanlage (100, 200) mit einem Hauptluftverdichter (2), einem Hauptwärmetauscher (4) und einem Destillationssäulensystem (10) mit einer auf einem ersten Druckniveau betriebenen Niederdrucksäule (11) und einer auf einem zweiten Druckniveau betriebenen Hochdrucksäule (12), bei dem
    - ein Einsatzluftstrom (a), der die gesamte, der Luftzerlegungsanlage (100, 200) zugeführte Einsatzluft umfasst, in dem Hauptluftverdichter (2) auf ein drittes Druckniveau verdichtet wird, welches mindestens 6 bar oberhalb des zweiten Druckniveaus liegt, wobei von dem verdichteten Einsatzluftstrom (b)
    - ein erster Anteil (c) mindestens einmal in dem Hauptwärmetauscher (4) abgekühlt und ausgehend von dem dritten Druckniveau in einer ersten Entspannungsturbine (5) entspannt wird,
    - ein zweiter Anteil (d) mindestens einmal in dem Hauptwärmetauscher (4) abgekühlt und ausgehend von dem dritten Druckniveau in einer zweiten Entspannungsturbine (6) entspannt wird, und
    - ein dritter Anteil (e) unter Verwendung eines ersten Turbinenboosters, dem der dritte Anteil (e) auf einem Temperaturniveau von 0 bis 50 °C zugeführt wird, und eines zweiten Turbinenboosters weiter auf ein viertes Druckniveau verdichtet, mindestens einmal in dem Hauptwärmetauscher (4) abgekühlt und ausgehend von dem vierten Druckniveau entspannt wird, wobei
    - Luft des ersten Anteils (c) und/oder des zweiten Anteils (d) und/oder des dritten Anteils (e) auf dem ersten und/oder auf dem zweiten Druckniveau in das Destillationssäulensystem (10) eingespeist wird,
    dadurch gekennzeichnet, dass
    - der dritte Anteil (e) nacheinander in einem Nachverdichter (7), der mit externer Energie und nicht oder nicht ausschließlich durch Entspannung eines zuvor in der Luftzerlegungsanlage (100, 200) verdichteten Fluids angetrieben wird, dem ersten Turbinenbooster und dem zweiten Turbinenbooster auf das vierte Druckniveau weiter verdichtet wird, und
    - zum Entspannen des dritten Anteils (e) ein Dichtfluidexpander (8) verwendet wird, dem der dritte Anteil (e) in flüssigem Zustand und auf dem vierten Druckniveau zugeführt wird.
  2. Verfahren nach Anspruch 1, bei dem der dritte Anteil (e) dem zweiten Turbinenbooster auf einem Temperaturniveau von -40 bis 50 °C zugeführt wird.
  3. Verfahren nach Anspruch 2, bei dem der Luftzerlegungsanlage (100, 200) wenigstens ein flüssiges Luftprodukt in einem Anteil von 3 bis 10 Mol.-% des Einsatzluftstroms (a) entnommen wird.
  4. Verfahren nach Anspruch 2 oder 3, bei dem der dritte Anteil (e) nach dem Nachverdichten in dem zweiten Turbinenbooster in einem Nachkühler ausgehend von einem Temperaturniveau oberhalb der Umgebungstemperatur und danach in dem Hauptwärmetauscher (4) von einem Temperaturniveau von 10 bis 50 °C auf ein Temperaturniveau von -140 bis -180 °C abgekühlt wird.
  5. Verfahren nach einem der Ansprüche 1 bis 4, bei dem das erste Druckniveau bei 1 bis 2 bar, das zweite Druckniveau bei 5 bis 6 bar, das dritte Druckniveau bei 8 bis 23 bar und/oder das vierte Druckniveau bei 50 bis 70 bar Absolutdruck liegt.
  6. Verfahren nach Anspruch 1, bei dem der dritte Anteil (e) dem erster zweiten Turbinenbooster auf einem Temperaturniveau von -140 bis -20 °C zugeführt wird.
  7. Verfahren nach Anspruch 6, bei dem der Luftzerlegungsanlage (100, 200) wenigstens ein flüssiges Luftprodukt in einem Anteil von bis zu 3 Mol.-% des Einsatzluftstroms (a) entnommen wird.
  8. Verfahren nach Anspruch 6 oder 7, bei dem der dritte Anteil (e) nach dem Nachverdichten in dem zweiten Turbinenbooster in dem Hauptwärmetauscher (4) ausgehend von einem Temperaturniveau von -90 bis 20 °C auf ein Temperaturniveau von -140 bis -180 °C abgekühlt wird.
  9. Verfahren nach einem der Ansprüche 6 bis 8, bei dem das erste Druckniveau bei 1 bis 2 bar, das zweite Druckniveau bei 5 bis 6 bar, das dritte Druckniveau bei 9 bis 17 bar und/oder das vierte Druckniveau bei 30 bis 80 bar Absolutdruck liegt.
  10. Verfahren nach einem der vorstehenden Ansprüche, bei dem die Turbinenbooster jeweils mit einer der Entspannungsturbinen (5, 6) angetrieben werden.
  11. Verfahren nach einem der vorstehenden Ansprüche, bei dem der Nachverdichter (7) mit Hochdruckfluid und/oder elektrisch und/oder zusammen mit einer Verdichterstufe des Hauptluftverdichters (2) angetrieben wird.
  12. Verfahren nach einem der vorstehenden Ansprüche, bei dem der erste Anteil (c) in dem Hauptwärmetauscher (4) vor dem Entspannen auf ein Temperaturniveau von 0 bis -150 °C abgekühlt wird.
  13. Verfahren nach einem der vorstehenden Ansprüche, bei dem der erste Anteil (c) in dem Hauptwärmetauscher (4) nach dem Entspannen auf ein Temperaturniveau von -150 bis -180 °C abgekühlt wird.
  14. Verfahren nach einem der vorstehenden Ansprüche, bei dem der zweite Anteil (d) in dem Hauptwärmetauscher (4) vor dem Entspannen auf ein Temperaturniveau von -100 bis -160 °C abgekühlt wird.
  15. Luftzerlegungsanlage (100), die zur Tieftemperaturzerlegung von Luft (AIR) gemäß einem Verfahren nach einem der Ansprüche 1 bis 14 eingerichtet ist und einen Hauptluftverdichter (2), einen Hauptwärmetauscher (4) und ein Destillationssäulensystem (10) mit einer auf einem ersten Druckniveau betriebenen Niederdrucksäule (11) und einer auf einem zweiten Druckniveau betriebenen Hochdrucksäule (12) aufweist, wobei die Luftzerlegungsanlage (100) Mittel aufweist die dafür eingerichtet sind,
    - einen Einsatzluftstrom (a), der die gesamte, der Luftzerlegungsanlage (100, 200) zugeführte Einsatzluft umfasst, in dem Hauptluftverdichter (2) auf ein drittes Druckniveau zu verdichten, welches mindestens 6 bar oberhalb des zweiten Druckniveaus liegt, und von dem verdichteten Einsatzluftstrom (b)
    - einen ersten Anteil (c) mindestens einmal in dem Hauptwärmetauscher (4) abzukühlen und ausgehend von dem dritten Druckniveau in einer ersten Entspannungsturbine (5) zu entspannen,
    - einen zweiten Anteil (d) mindestens einmal in dem Hauptwärmetauscher (4) abzukühlen und ausgehend von dem dritten Druckniveau in einer zweiten Entspannungsturbine (6) zu entspannen,
    - einen dritten Anteil (e) unter Verwendung eines ersten Turbinenboosters, dem der dritte Anteil (e) auf einem Temperaturniveau von 0 bis 50 °C zugeführt wird, und eines zweiten Turbinenboosters weiter auf ein viertes Druckniveau zu verdichten, mindestens einmal in dem Hauptwärmetauscher (4) abzukühlen und ausgehend von dem vierten Druckniveau zu entspannen, und
    - Luft des ersten Anteils (c) und/oder des zweiten Anteils (d) und/oder des dritten Anteils (e) auf dem ersten und/oder auf dem zweiten Druckniveau in das Destillationssäulensystem (10) einzuspeisen,
    gekennzeichnet durch Mittel, die dafür eingerichtet sind,
    - den dritten Anteil (e) nacheinander in einem Nachverdichter (7), der dafür eingerichtet ist, mit externer Energie und nicht oder nicht ausschließlich durch Entspannung eines zuvor in der Luftzerlegungsanlage (100, 200) verdichteten Fluids angetrieben zu werden, dem ersten Turbinenbooster und dem zweiten Turbinenbooster auf das vierte Druckniveau weiter zu verdichten,
    - den dritten Anteil (e) in einem Dichtfluidexpander (8) zu entspannen und diesem den dritten Anteil (e) in flüssigem Zustand und auf dem vierten Druckniveau zuzuführen.
EP15742185.0A 2014-07-31 2015-07-28 Verfahren zur tieftemperaturzerlegung von luft und luftzerlegungsanlage Active EP3175192B1 (de)

Applications Claiming Priority (2)

Application Number Priority Date Filing Date Title
EP14002683.2A EP2980514A1 (de) 2014-07-31 2014-07-31 Verfahren zur Tieftemperaturzerlegung von Luft und Luftzerlegungsanlage
PCT/EP2015/001554 WO2016015860A1 (de) 2014-07-31 2015-07-28 Verfahren zur tieftemperaturzerlegung von luft und luftzerlegungsanlage

Publications (3)

Publication Number Publication Date
EP3175192A1 EP3175192A1 (de) 2017-06-07
EP3175192B1 true EP3175192B1 (de) 2024-10-02
EP3175192C0 EP3175192C0 (de) 2024-10-02

Family

ID=51266069

Family Applications (2)

Application Number Title Priority Date Filing Date
EP14002683.2A Withdrawn EP2980514A1 (de) 2014-07-31 2014-07-31 Verfahren zur Tieftemperaturzerlegung von Luft und Luftzerlegungsanlage
EP15742185.0A Active EP3175192B1 (de) 2014-07-31 2015-07-28 Verfahren zur tieftemperaturzerlegung von luft und luftzerlegungsanlage

Family Applications Before (1)

Application Number Title Priority Date Filing Date
EP14002683.2A Withdrawn EP2980514A1 (de) 2014-07-31 2014-07-31 Verfahren zur Tieftemperaturzerlegung von Luft und Luftzerlegungsanlage

Country Status (5)

Country Link
US (1) US10480853B2 (de)
EP (2) EP2980514A1 (de)
CN (1) CN106716033B (de)
SA (1) SA517380791B1 (de)
WO (1) WO2016015860A1 (de)

Families Citing this family (34)

* Cited by examiner, † Cited by third party
Publication number Priority date Publication date Assignee Title
EP3179186A1 (de) * 2015-12-07 2017-06-14 Linde Aktiengesellschaft Verfahren zur gewinnung eines flüssigen und eines gasförmigen, sauerstoffreichen luftprodukts in einer luftzerlegungsanlage und luftzerlegungsanlage
EP3312533A1 (de) 2016-10-18 2018-04-25 Linde Aktiengesellschaft Verfahren zur luftzerlegung und luftzerlegungsanlage
DE102017010001A1 (de) 2016-11-04 2018-05-09 Linde Aktiengesellschaft Verfahren und Anlage zur Tieftemperaturzerlegung von Luft
DE102016015292A1 (de) 2016-12-22 2018-06-28 Linde Aktiengesellschaft Verfahren zur Bereitstellung eines oder mehrerer Luftprodukte mit einer Luftzerlegungsanlage
EP3343158A1 (de) 2016-12-28 2018-07-04 Linde Aktiengesellschaft Verfahren zur herstellung eines oder mehrerer luftprodukte und luftzerlegungsanlage
WO2018219501A1 (de) 2017-05-31 2018-12-06 Linde Aktiengesellschaft Verfahren zur gewinnung eines oder mehrerer luftprodukte und luftzerlegungsanlage
HUE045459T2 (hu) 2017-06-02 2019-12-30 Linde Ag Eljárás egy vagy több levegõtermék kinyerésére és levegõszétválasztó létesítmény
WO2019214847A1 (de) 2018-05-07 2019-11-14 Linde Aktiengesellschaft Verfahren zur gewinnung eines oder mehrerer luftprodukte und luftzerlegungsanlage
EP3620739A1 (de) 2018-09-05 2020-03-11 Linde Aktiengesellschaft Verfahren zur tieftemperaturzerlegung von luft und luftzerlegungsanlage
WO2020074120A1 (de) 2018-10-09 2020-04-16 Linde Aktiengesellschaft Verfahren zur gewinnung eines oder mehrerer luftprodukte und luftzerlegungsanlage
WO2020083520A1 (de) 2018-10-26 2020-04-30 Linde Aktiengesellschaft Verfahren zur gewinnung eines oder mehrerer luftprodukte und luftzerlegungsanlage
DE202018005045U1 (de) 2018-10-31 2018-12-17 Linde Aktiengesellschaft Anlage zur Gewinnung von Argon durch Tieftemperaturzerlegung von Luft
EP3671085A1 (de) 2018-12-18 2020-06-24 Linde GmbH Anordnung und verfahren zum rückgewinnen von verdichtungswärme aus luft, die in einer luftbearbeitungsanlage verdichtet und bearbeitet wird
DE102019000335A1 (de) 2019-01-18 2020-07-23 Linde Aktiengesellschaft Verfahren zur Bereitstellung von Luftprodukten und Luftzerlegungsanlage
EP3696486A1 (de) 2019-02-13 2020-08-19 Linde GmbH Verfahren und anlage zur bereitstellung eines oder mehrerer sauerstoffreicher, gasförmiger luftprodukte
EP3699535A1 (de) 2019-02-19 2020-08-26 Linde GmbH Verfahren und luftzerlegungsanlage zur variablen bereitstellung eines gasförmigen, druckbeaufschlagten luftprodukts
EP3699534A1 (de) 2019-02-19 2020-08-26 Linde GmbH Verfahren und luftzerlegungsanlage zur variablen bereitstellung eines gasförmigen, druckbeaufschlagten luftprodukts
KR20220015406A (ko) * 2019-06-04 2022-02-08 린데 게엠베하 저온 공기 분리를 위한 방법 및 시스템
WO2022053172A1 (de) 2020-09-08 2022-03-17 Linde Gmbh Verfahren zur gewinnung eines oder mehrerer luftprodukte und luftzerlegungsanlage
WO2022053173A1 (de) 2020-09-08 2022-03-17 Linde Gmbh Verfahren und anlage zur tieftemperaturzerlegung von luft
CN112361716A (zh) * 2020-10-26 2021-02-12 乔治洛德方法研究和开发液化空气有限公司 用于从空气分离装置中制备高压气体的方法和装置
JP2023548371A (ja) 2020-10-27 2023-11-16 ファブラム・アイピー・ホールディングス・リミテッド 空気処理システム及び空気処理方法
WO2022111850A1 (en) 2020-11-24 2022-06-02 Linde Gmbh Process and plant for cryogenic separation of air
WO2022263013A1 (de) 2021-06-17 2022-12-22 Linde Gmbh Verfahren und anlage zur bereitstellung eines druckbeaufschlagten sauerstoffreichen, gasförmigen luftprodukts
DE202021002439U1 (de) 2021-07-17 2021-10-20 Linde Gmbh Verdichter
TW202326047A (zh) 2021-09-02 2023-07-01 德商林德有限公司 獲取一種或數種空氣產物的方法及空氣分離設備
DE202021002895U1 (de) 2021-09-07 2022-02-09 Linde GmbH Anlage zur Tieftemperaturzerlegung von Luft
CN113758150A (zh) * 2021-09-18 2021-12-07 乔治洛德方法研究和开发液化空气有限公司 空气的低温分离方法和空气分离装置
EP4151940A1 (de) 2021-09-18 2023-03-22 L'air Liquide, Societe Anonyme Pour L'etude Et L'exploitation Des Procedes Georges Claude Verfahren und vorrichtung zur kryogenen lufttrennung
US20240393042A1 (en) 2021-09-29 2024-11-28 Linde Gmbh Method for the cryogenic separation of air, and air separation plant
US12055345B2 (en) * 2022-07-28 2024-08-06 Praxair Technology, Inc. Air separation unit and method for production of nitrogen and argon using a distillation column system with an intermediate pressure kettle column
US12352496B2 (en) * 2022-07-28 2025-07-08 Praxair Technology, Inc. Air separation unit and method for cryogenic separation of air using a distillation column system including an intermediate pressure kettle column
EP4495524A1 (de) 2023-07-18 2025-01-22 Linde GmbH Verfahren und vorrichtung zur tieftemperaturzerlegung von luft mit gewinnung eines krypton-xenon-konzentrats
EP4528192A1 (de) 2023-09-20 2025-03-26 Linde GmbH Verfahren und vorrichtung zur kryogenen lufttrennung

Family Cites Families (29)

* Cited by examiner, † Cited by third party
Publication number Priority date Publication date Assignee Title
JP2909678B2 (ja) 1991-03-11 1999-06-23 レール・リキード・ソシエテ・アノニム・プール・レテュード・エ・レクスプロワタシオン・デ・プロセデ・ジョルジュ・クロード 圧力下のガス状酸素の製造方法及び製造装置
US5564290A (en) * 1995-09-29 1996-10-15 Praxair Technology, Inc. Cryogenic rectification system with dual phase turboexpansion
US20030000248A1 (en) * 2001-06-18 2003-01-02 Brostow Adam Adrian Medium-pressure nitrogen production with high oxygen recovery
US6962062B2 (en) * 2003-12-10 2005-11-08 L'Air Liquide, Société Anonyme à Directoire et Conseil de Surveillance pour l'Etude et l'Exploitation des Proédés Georges Claude Process and apparatus for the separation of air by cryogenic distillation
US7272954B2 (en) * 2004-07-14 2007-09-25 L'air Liquide, Societe Anonyme A Directoire Et Conseil De Surveillance Pour L'etude Et L'exploitation Des Proceded Georges Claude Low temperature air separation process for producing pressurized gaseous product
EP1767884A1 (de) * 2005-09-23 2007-03-28 L'Air Liquide Société Anon. à Directoire et Conseil de Surveillance pour l'Etude et l'Exploitation des Procédés Georges Claude Verfahren und Vorrichtung zur Tieftemperaturzerlegung von Luft
US7533540B2 (en) * 2006-03-10 2009-05-19 Praxair Technology, Inc. Cryogenic air separation system for enhanced liquid production
DE102006012241A1 (de) * 2006-03-15 2007-09-20 Linde Ag Verfahren und Vorrichtung zur Tieftemperaturzerlegung von Luft
US8136369B2 (en) * 2006-07-14 2012-03-20 L'air Liquide Societe Anonyme Pour L'etude System and apparatus for providing low pressure and low purity oxygen
US20080223077A1 (en) * 2007-03-13 2008-09-18 Neil Mark Prosser Air separation method
DE102007014643A1 (de) * 2007-03-27 2007-09-20 Linde Ag Verfahren und Vorrichtung zur Erzeugung von gasförmigem Druckprodukt durch Tieftemperaturzerlegung von Luft
DE102007031765A1 (de) * 2007-07-07 2009-01-08 Linde Ag Verfahren zur Tieftemperaturzerlegung von Luft
DE102007031759A1 (de) * 2007-07-07 2009-01-08 Linde Ag Verfahren und Vorrichtung zur Erzeugung von gasförmigem Druckprodukt durch Tieftemperaturzerlegung von Luft
US20090320520A1 (en) * 2008-06-30 2009-12-31 David Ross Parsnick Nitrogen liquefier retrofit for an air separation plant
US8443625B2 (en) * 2008-08-14 2013-05-21 Praxair Technology, Inc. Krypton and xenon recovery method
US8397535B2 (en) * 2009-06-16 2013-03-19 Praxair Technology, Inc. Method and apparatus for pressurized product production
US9182170B2 (en) * 2009-10-13 2015-11-10 Praxair Technology, Inc. Oxygen vaporization method and system
DE102010052545A1 (de) 2010-11-25 2012-05-31 Linde Aktiengesellschaft Verfahren und Vorrichtung zur Gewinnung eines gasförmigen Druckprodukts durch Tieftemperaturzerlegung von Luft
DE102010052544A1 (de) 2010-11-25 2012-05-31 Linde Ag Verfahren zur Gewinnung eines gasförmigen Druckprodukts durch Tieftemperaturzerlegung von Luft
EP2520886A1 (de) * 2011-05-05 2012-11-07 Linde AG Verfahren und Vorrichtung zur Erzeugung eines gasförmigen Sauerstoff-Druckprodukts durch Tieftemperaturzerlegung von Luft
EP2634517B1 (de) 2012-02-29 2018-04-04 L'Air Liquide Société Anonyme pour l'Etude et l'Exploitation des Procédés Georges Claude Verfahren und Vorrichtung zur Trennung von Luft durch kryogenische Destillation
US20130255313A1 (en) * 2012-03-29 2013-10-03 Bao Ha Process for the separation of air by cryogenic distillation
US9518778B2 (en) * 2012-12-26 2016-12-13 Praxair Technology, Inc. Air separation method and apparatus
MX2015008172A (es) * 2012-12-27 2015-09-16 Linde Ag Metodo y dispositivo para la separacion de aire a baja temperatura.
EP2770286B1 (de) * 2013-02-21 2017-05-24 Linde Aktiengesellschaft Verfahren und Vorrichtung zur Gewinnung von Hochdruck-Sauerstoff und Hochdruck-Stickstoff
US11118834B2 (en) * 2013-03-19 2021-09-14 Linde Aktiengesellschaft Method and device for generating gaseous compressed nitrogen
FR3010778B1 (fr) * 2013-09-17 2019-05-24 Air Liquide Procede et appareil de production d'oxygene gazeux par distillation cryogenique de l'air
US20160025408A1 (en) * 2014-07-28 2016-01-28 Zhengrong Xu Air separation method and apparatus
US20160245585A1 (en) * 2015-02-24 2016-08-25 Henry E. Howard System and method for integrated air separation and liquefaction

Also Published As

Publication number Publication date
EP3175192C0 (de) 2024-10-02
SA517380791B1 (ar) 2020-12-16
CN106716033B (zh) 2020-03-31
US10480853B2 (en) 2019-11-19
US20170234614A1 (en) 2017-08-17
CN106716033A (zh) 2017-05-24
EP3175192A1 (de) 2017-06-07
EP2980514A1 (de) 2016-02-03
WO2016015860A1 (de) 2016-02-04

Similar Documents

Publication Publication Date Title
EP3175192B1 (de) Verfahren zur tieftemperaturzerlegung von luft und luftzerlegungsanlage
EP1994344A1 (de) Vefahren und vorrichtung zur tieftemperaturzerlegung von luft
EP3410050B1 (de) Verfahren zur gewinnung eines oder mehrerer luftprodukte und luftzerlegungsanlage
EP3179187B1 (de) Verfahren zur gewinnung eines flüssigen und eines gasförmigen, sauerstoffreichen luftprodukts in einer luftzerlegungsanlage und luftzerlegungsanlage
DE102010052545A1 (de) Verfahren und Vorrichtung zur Gewinnung eines gasförmigen Druckprodukts durch Tieftemperaturzerlegung von Luft
EP2963370B1 (de) Verfahren und vorrichtung zur tieftemperaturzerlegung von luft
EP3343158A1 (de) Verfahren zur herstellung eines oder mehrerer luftprodukte und luftzerlegungsanlage
EP2789958A1 (de) Verfahren zur Tieftemperaturzerlegung von Luft und Luftzerlegungsanlage
EP3101374A2 (de) Verfahren und anlage zur tieftemperaturzerlegung von luft
EP2520886A1 (de) Verfahren und Vorrichtung zur Erzeugung eines gasförmigen Sauerstoff-Druckprodukts durch Tieftemperaturzerlegung von Luft
EP2963369B1 (de) Verfahren und vorrichtung zur tieftemperaturzerlegung von luft
EP3924677A1 (de) Verfahren und anlage zur bereitstellung eines oder mehrerer sauerstoffreicher, gasförmiger luftprodukte
EP2906889B1 (de) Verfahren und anlage zur erzeugung flüssiger und gasförmiger sauerstoffprodukte durch tieftemperaturzerlegung von luft
EP1199532A1 (de) Drei-Säulen-System zur Tieftemperatur-Zerlegung von Luft
EP3034974A1 (de) Verfahren und anlage zur verflüssigung von luft und zur speicherung und rückgewinnung von elektrischer energie
EP2784420A1 (de) Verfahren zur Luftzerlegung und Luftzerlegungsanlage
EP2835506A1 (de) Verfahren zur Erzeugung von elektrischer Energie und Energieerzeugungsanlage
EP3312533A1 (de) Verfahren zur luftzerlegung und luftzerlegungsanlage
EP3620739A1 (de) Verfahren zur tieftemperaturzerlegung von luft und luftzerlegungsanlage
EP3179188B1 (de) Verfahren zur tieftemperaturzerlegung von luft und luftzerlegungsanlage
DE10147047A1 (de) Zwei-oder Drei-Turbinen-Kreislauf zur Erzeugung eines Flüssigkeitsprodukts
EP4127583B1 (de) Verfahren und anlage zur tieftemperaturzerlegung von luft
EP4488606A1 (de) Verfahren zur kryogenen erzeugung von luftprodukten und luftzerlegungssystem
DE10339230A1 (de) Verfahren und Vorrichtung zur Tieftemperaturzerlegung von Luft
EP4435365A1 (de) Verfahren und anlage zur tieftemperaturzerlegung von luft sowie verfahren und anlage zur herstellung von ammoniak

Legal Events

Date Code Title Description
STAA Information on the status of an ep patent application or granted ep patent

Free format text: STATUS: THE INTERNATIONAL PUBLICATION HAS BEEN MADE

17P Request for examination filed

Effective date: 20170113

AK Designated contracting states

Kind code of ref document: A1

Designated state(s): AL AT BE BG CH CY CZ DE DK EE ES FI FR GB GR HR HU IE IS IT LI LT LU LV MC MK MT NL NO PL PT RO RS SE SI SK SM TR

AX Request for extension of the european patent

Extension state: BA ME

RIN1 Information on inventor provided before grant (corrected)

Inventor name: GOLUBEV, DIMITRI

Inventor name: LAUTENSCHLAGER, TOBIAS

PUAI Public reference made under article 153(3) epc to a published international application that has entered the european phase

Free format text: ORIGINAL CODE: 0009012

STAA Information on the status of an ep patent application or granted ep patent

Free format text: STATUS: REQUEST FOR EXAMINATION WAS MADE

DAV Request for validation of the european patent (deleted)
DAX Request for extension of the european patent (deleted)
RAP1 Party data changed (applicant data changed or rights of an application transferred)

Owner name: LINDE GMBH

STAA Information on the status of an ep patent application or granted ep patent

Free format text: STATUS: EXAMINATION IS IN PROGRESS

17Q First examination report despatched

Effective date: 20210331

GRAP Despatch of communication of intention to grant a patent

Free format text: ORIGINAL CODE: EPIDOSNIGR1

STAA Information on the status of an ep patent application or granted ep patent

Free format text: STATUS: GRANT OF PATENT IS INTENDED

INTG Intention to grant announced

Effective date: 20240603

GRAS Grant fee paid

Free format text: ORIGINAL CODE: EPIDOSNIGR3

GRAA (expected) grant

Free format text: ORIGINAL CODE: 0009210

STAA Information on the status of an ep patent application or granted ep patent

Free format text: STATUS: THE PATENT HAS BEEN GRANTED

AK Designated contracting states

Kind code of ref document: B1

Designated state(s): AL AT BE BG CH CY CZ DE DK EE ES FI FR GB GR HR HU IE IS IT LI LT LU LV MC MK MT NL NO PL PT RO RS SE SI SK SM TR

REG Reference to a national code

Ref country code: GB

Ref legal event code: FG4D

Free format text: NOT ENGLISH

REG Reference to a national code

Ref country code: CH

Ref legal event code: EP

REG Reference to a national code

Ref country code: IE

Ref legal event code: FG4D

Free format text: LANGUAGE OF EP DOCUMENT: GERMAN

REG Reference to a national code

Ref country code: DE

Ref legal event code: R096

Ref document number: 502015016956

Country of ref document: DE

U01 Request for unitary effect filed

Effective date: 20241009

U07 Unitary effect registered

Designated state(s): AT BE BG DE DK EE FI FR IT LT LU LV MT NL PT RO SE SI

Effective date: 20241029

PG25 Lapsed in a contracting state [announced via postgrant information from national office to epo]

Ref country code: HR

Free format text: LAPSE BECAUSE OF FAILURE TO SUBMIT A TRANSLATION OF THE DESCRIPTION OR TO PAY THE FEE WITHIN THE PRESCRIBED TIME-LIMIT

Effective date: 20241002

Ref country code: IS

Free format text: LAPSE BECAUSE OF FAILURE TO SUBMIT A TRANSLATION OF THE DESCRIPTION OR TO PAY THE FEE WITHIN THE PRESCRIBED TIME-LIMIT

Effective date: 20250202

PG25 Lapsed in a contracting state [announced via postgrant information from national office to epo]

Ref country code: ES

Free format text: LAPSE BECAUSE OF FAILURE TO SUBMIT A TRANSLATION OF THE DESCRIPTION OR TO PAY THE FEE WITHIN THE PRESCRIBED TIME-LIMIT

Effective date: 20241002

PG25 Lapsed in a contracting state [announced via postgrant information from national office to epo]

Ref country code: NO

Free format text: LAPSE BECAUSE OF FAILURE TO SUBMIT A TRANSLATION OF THE DESCRIPTION OR TO PAY THE FEE WITHIN THE PRESCRIBED TIME-LIMIT

Effective date: 20250102

PG25 Lapsed in a contracting state [announced via postgrant information from national office to epo]

Ref country code: GR

Free format text: LAPSE BECAUSE OF FAILURE TO SUBMIT A TRANSLATION OF THE DESCRIPTION OR TO PAY THE FEE WITHIN THE PRESCRIBED TIME-LIMIT

Effective date: 20250103

PG25 Lapsed in a contracting state [announced via postgrant information from national office to epo]

Ref country code: PL

Free format text: LAPSE BECAUSE OF FAILURE TO SUBMIT A TRANSLATION OF THE DESCRIPTION OR TO PAY THE FEE WITHIN THE PRESCRIBED TIME-LIMIT

Effective date: 20241002

Ref country code: CZ

Free format text: LAPSE BECAUSE OF FAILURE TO SUBMIT A TRANSLATION OF THE DESCRIPTION OR TO PAY THE FEE WITHIN THE PRESCRIBED TIME-LIMIT

Effective date: 20241002

PG25 Lapsed in a contracting state [announced via postgrant information from national office to epo]

Ref country code: RS

Free format text: LAPSE BECAUSE OF FAILURE TO SUBMIT A TRANSLATION OF THE DESCRIPTION OR TO PAY THE FEE WITHIN THE PRESCRIBED TIME-LIMIT

Effective date: 20250102

PG25 Lapsed in a contracting state [announced via postgrant information from national office to epo]

Ref country code: SM

Free format text: LAPSE BECAUSE OF FAILURE TO SUBMIT A TRANSLATION OF THE DESCRIPTION OR TO PAY THE FEE WITHIN THE PRESCRIBED TIME-LIMIT

Effective date: 20241002

PG25 Lapsed in a contracting state [announced via postgrant information from national office to epo]

Ref country code: SK

Free format text: LAPSE BECAUSE OF FAILURE TO SUBMIT A TRANSLATION OF THE DESCRIPTION OR TO PAY THE FEE WITHIN THE PRESCRIBED TIME-LIMIT

Effective date: 20241002

PLBE No opposition filed within time limit

Free format text: ORIGINAL CODE: 0009261

STAA Information on the status of an ep patent application or granted ep patent

Free format text: STATUS: NO OPPOSITION FILED WITHIN TIME LIMIT

U20 Renewal fee for the european patent with unitary effect paid

Year of fee payment: 11

Effective date: 20250729

26N No opposition filed

Effective date: 20250703

U1N Appointed representative for the unitary patent procedure changed after the registration of the unitary effect

Representative=s name: GRUNDNER, SEBASTIAN; DE