EP2879586B1 - Quantifying probe deflection for improved catheter identification - Google Patents
Quantifying probe deflection for improved catheter identification Download PDFInfo
- Publication number
- EP2879586B1 EP2879586B1 EP13774237.5A EP13774237A EP2879586B1 EP 2879586 B1 EP2879586 B1 EP 2879586B1 EP 13774237 A EP13774237 A EP 13774237A EP 2879586 B1 EP2879586 B1 EP 2879586B1
- Authority
- EP
- European Patent Office
- Prior art keywords
- shape sensing
- imaging devices
- optical fiber
- recited
- enabled device
- Prior art date
- Legal status (The legal status is an assumption and is not a legal conclusion. Google has not performed a legal analysis and makes no representation as to the accuracy of the status listed.)
- Active
Links
- 239000000523 sample Substances 0.000 title claims description 60
- 238000003384 imaging method Methods 0.000 claims description 72
- 239000013307 optical fiber Substances 0.000 claims description 49
- 238000013507 mapping Methods 0.000 claims description 30
- 238000003491 array Methods 0.000 claims description 25
- 238000000034 method Methods 0.000 claims description 24
- 230000003287 optical effect Effects 0.000 claims description 18
- 238000011282 treatment Methods 0.000 claims description 16
- 239000000835 fiber Substances 0.000 description 56
- 238000005452 bending Methods 0.000 description 9
- 238000002725 brachytherapy Methods 0.000 description 7
- 238000002604 ultrasonography Methods 0.000 description 6
- 238000010586 diagram Methods 0.000 description 5
- 230000006870 function Effects 0.000 description 5
- 230000008569 process Effects 0.000 description 5
- 230000002285 radioactive effect Effects 0.000 description 5
- 238000009826 distribution Methods 0.000 description 4
- 230000009466 transformation Effects 0.000 description 4
- 238000011221 initial treatment Methods 0.000 description 3
- 238000003780 insertion Methods 0.000 description 3
- 230000037431 insertion Effects 0.000 description 3
- 230000006978 adaptation Effects 0.000 description 2
- 238000012986 modification Methods 0.000 description 2
- 230000004048 modification Effects 0.000 description 2
- 210000000920 organ at risk Anatomy 0.000 description 2
- 239000004065 semiconductor Substances 0.000 description 2
- 230000003442 weekly effect Effects 0.000 description 2
- 238000001069 Raman spectroscopy Methods 0.000 description 1
- 230000003044 adaptive effect Effects 0.000 description 1
- 238000013459 approach Methods 0.000 description 1
- 230000005540 biological transmission Effects 0.000 description 1
- 210000004204 blood vessel Anatomy 0.000 description 1
- 230000008859 change Effects 0.000 description 1
- 238000004891 communication Methods 0.000 description 1
- 238000004590 computer program Methods 0.000 description 1
- 230000001419 dependent effect Effects 0.000 description 1
- 238000001514 detection method Methods 0.000 description 1
- 230000000694 effects Effects 0.000 description 1
- 230000005284 excitation Effects 0.000 description 1
- 210000001035 gastrointestinal tract Anatomy 0.000 description 1
- 230000003993 interaction Effects 0.000 description 1
- 210000004072 lung Anatomy 0.000 description 1
- 238000005259 measurement Methods 0.000 description 1
- 230000007246 mechanism Effects 0.000 description 1
- 210000000056 organ Anatomy 0.000 description 1
- 230000000737 periodic effect Effects 0.000 description 1
- 230000002093 peripheral effect Effects 0.000 description 1
- 238000009428 plumbing Methods 0.000 description 1
- 230000004044 response Effects 0.000 description 1
- 239000007787 solid Substances 0.000 description 1
- 230000002792 vascular Effects 0.000 description 1
Images
Classifications
-
- A—HUMAN NECESSITIES
- A61—MEDICAL OR VETERINARY SCIENCE; HYGIENE
- A61B—DIAGNOSIS; SURGERY; IDENTIFICATION
- A61B8/00—Diagnosis using ultrasonic, sonic or infrasonic waves
- A61B8/08—Clinical applications
- A61B8/0833—Clinical applications involving detecting or locating foreign bodies or organic structures
- A61B8/0841—Clinical applications involving detecting or locating foreign bodies or organic structures for locating instruments
-
- A—HUMAN NECESSITIES
- A61—MEDICAL OR VETERINARY SCIENCE; HYGIENE
- A61B—DIAGNOSIS; SURGERY; IDENTIFICATION
- A61B1/00—Instruments for performing medical examinations of the interior of cavities or tubes of the body by visual or photographical inspection, e.g. endoscopes; Illuminating arrangements therefor
- A61B1/00002—Operational features of endoscopes
- A61B1/00004—Operational features of endoscopes characterised by electronic signal processing
- A61B1/00009—Operational features of endoscopes characterised by electronic signal processing of image signals during a use of endoscope
-
- A—HUMAN NECESSITIES
- A61—MEDICAL OR VETERINARY SCIENCE; HYGIENE
- A61B—DIAGNOSIS; SURGERY; IDENTIFICATION
- A61B1/00—Instruments for performing medical examinations of the interior of cavities or tubes of the body by visual or photographical inspection, e.g. endoscopes; Illuminating arrangements therefor
- A61B1/00163—Optical arrangements
- A61B1/00165—Optical arrangements with light-conductive means, e.g. fibre optics
- A61B1/00167—Details of optical fibre bundles, e.g. shape or fibre distribution
-
- A—HUMAN NECESSITIES
- A61—MEDICAL OR VETERINARY SCIENCE; HYGIENE
- A61B—DIAGNOSIS; SURGERY; IDENTIFICATION
- A61B5/00—Measuring for diagnostic purposes; Identification of persons
- A61B5/0059—Measuring for diagnostic purposes; Identification of persons using light, e.g. diagnosis by transillumination, diascopy, fluorescence
- A61B5/0082—Measuring for diagnostic purposes; Identification of persons using light, e.g. diagnosis by transillumination, diascopy, fluorescence adapted for particular medical purposes
- A61B5/0084—Measuring for diagnostic purposes; Identification of persons using light, e.g. diagnosis by transillumination, diascopy, fluorescence adapted for particular medical purposes for introduction into the body, e.g. by catheters
-
- A—HUMAN NECESSITIES
- A61—MEDICAL OR VETERINARY SCIENCE; HYGIENE
- A61B—DIAGNOSIS; SURGERY; IDENTIFICATION
- A61B5/00—Measuring for diagnostic purposes; Identification of persons
- A61B5/06—Devices, other than using radiation, for detecting or locating foreign bodies ; Determining position of diagnostic devices within or on the body of the patient
- A61B5/065—Determining position of the probe employing exclusively positioning means located on or in the probe, e.g. using position sensors arranged on the probe
- A61B5/066—Superposing sensor position on an image of the patient, e.g. obtained by ultrasound or x-ray imaging
-
- A—HUMAN NECESSITIES
- A61—MEDICAL OR VETERINARY SCIENCE; HYGIENE
- A61B—DIAGNOSIS; SURGERY; IDENTIFICATION
- A61B8/00—Diagnosis using ultrasonic, sonic or infrasonic waves
- A61B8/12—Diagnosis using ultrasonic, sonic or infrasonic waves in body cavities or body tracts, e.g. by using catheters
-
- A—HUMAN NECESSITIES
- A61—MEDICAL OR VETERINARY SCIENCE; HYGIENE
- A61B—DIAGNOSIS; SURGERY; IDENTIFICATION
- A61B8/00—Diagnosis using ultrasonic, sonic or infrasonic waves
- A61B8/42—Details of probe positioning or probe attachment to the patient
- A61B8/4245—Details of probe positioning or probe attachment to the patient involving determining the position of the probe, e.g. with respect to an external reference frame or to the patient
- A61B8/4254—Details of probe positioning or probe attachment to the patient involving determining the position of the probe, e.g. with respect to an external reference frame or to the patient using sensors mounted on the probe
-
- A—HUMAN NECESSITIES
- A61—MEDICAL OR VETERINARY SCIENCE; HYGIENE
- A61B—DIAGNOSIS; SURGERY; IDENTIFICATION
- A61B8/00—Diagnosis using ultrasonic, sonic or infrasonic waves
- A61B8/44—Constructional features of the ultrasonic, sonic or infrasonic diagnostic device
- A61B8/4444—Constructional features of the ultrasonic, sonic or infrasonic diagnostic device related to the probe
- A61B8/4461—Features of the scanning mechanism, e.g. for moving the transducer within the housing of the probe
- A61B8/4466—Features of the scanning mechanism, e.g. for moving the transducer within the housing of the probe involving deflection of the probe
-
- A—HUMAN NECESSITIES
- A61—MEDICAL OR VETERINARY SCIENCE; HYGIENE
- A61B—DIAGNOSIS; SURGERY; IDENTIFICATION
- A61B8/00—Diagnosis using ultrasonic, sonic or infrasonic waves
- A61B8/58—Testing, adjusting or calibrating the diagnostic device
-
- A—HUMAN NECESSITIES
- A61—MEDICAL OR VETERINARY SCIENCE; HYGIENE
- A61N—ELECTROTHERAPY; MAGNETOTHERAPY; RADIATION THERAPY; ULTRASOUND THERAPY
- A61N5/00—Radiation therapy
- A61N5/10—X-ray therapy; Gamma-ray therapy; Particle-irradiation therapy
- A61N5/1001—X-ray therapy; Gamma-ray therapy; Particle-irradiation therapy using radiation sources introduced into or applied onto the body; brachytherapy
- A61N5/1027—Interstitial radiation therapy
-
- A—HUMAN NECESSITIES
- A61—MEDICAL OR VETERINARY SCIENCE; HYGIENE
- A61N—ELECTROTHERAPY; MAGNETOTHERAPY; RADIATION THERAPY; ULTRASOUND THERAPY
- A61N5/00—Radiation therapy
- A61N5/10—X-ray therapy; Gamma-ray therapy; Particle-irradiation therapy
- A61N5/1048—Monitoring, verifying, controlling systems and methods
- A61N5/1049—Monitoring, verifying, controlling systems and methods for verifying the position of the patient with respect to the radiation beam
-
- A—HUMAN NECESSITIES
- A61—MEDICAL OR VETERINARY SCIENCE; HYGIENE
- A61N—ELECTROTHERAPY; MAGNETOTHERAPY; RADIATION THERAPY; ULTRASOUND THERAPY
- A61N5/00—Radiation therapy
- A61N5/10—X-ray therapy; Gamma-ray therapy; Particle-irradiation therapy
- A61N5/1048—Monitoring, verifying, controlling systems and methods
- A61N5/1064—Monitoring, verifying, controlling systems and methods for adjusting radiation treatment in response to monitoring
- A61N5/1065—Beam adjustment
- A61N5/1067—Beam adjustment in real time, i.e. during treatment
-
- A—HUMAN NECESSITIES
- A61—MEDICAL OR VETERINARY SCIENCE; HYGIENE
- A61B—DIAGNOSIS; SURGERY; IDENTIFICATION
- A61B34/00—Computer-aided surgery; Manipulators or robots specially adapted for use in surgery
- A61B34/20—Surgical navigation systems; Devices for tracking or guiding surgical instruments, e.g. for frameless stereotaxis
- A61B2034/2046—Tracking techniques
- A61B2034/2061—Tracking techniques using shape-sensors, e.g. fiber shape sensors with Bragg gratings
-
- A—HUMAN NECESSITIES
- A61—MEDICAL OR VETERINARY SCIENCE; HYGIENE
- A61N—ELECTROTHERAPY; MAGNETOTHERAPY; RADIATION THERAPY; ULTRASOUND THERAPY
- A61N5/00—Radiation therapy
- A61N5/10—X-ray therapy; Gamma-ray therapy; Particle-irradiation therapy
- A61N5/1048—Monitoring, verifying, controlling systems and methods
- A61N5/1049—Monitoring, verifying, controlling systems and methods for verifying the position of the patient with respect to the radiation beam
- A61N2005/1058—Monitoring, verifying, controlling systems and methods for verifying the position of the patient with respect to the radiation beam using ultrasound imaging
Definitions
- This disclosure relates to medical instruments and more particularly to shape sensing optical fibers in medical applications for improved identification of medical instruments.
- High dose rate (HDR) brachytherapy procedures involve the transperineal placement of catheters under transrectal ultrasound (TRUS) guidance. Subsequently, catheter identification using TRUS images is performed manually. However, this leads to a high probability of error, since the ultrasonic speckle combined with the variable echogenicity of the catheters makes it difficult for the catheters to be accurately and consistently identified, resulting in inaccuracies in the treatment planning process.
- Automated methods of catheter mapping include electromagnetic (EM) tracking of sensors or guidewires placed in the catheter. This method requires a consistently stable relationship between the EM and TRUS frames of reference. However, in clinical situations, the process of positioning the TRUS probe within the patient induces a bending/deflection of the probe, which may cause inconsistencies in the registration of the EM and TRUS frames of reference.
- the system includes a transducer device configured to receive signals from a console and generate images based upon reflected waves.
- a flexible cable is coupled to the transducer device to provide excitation energy to the transducer device from the console.
- An optical fiber has a shape and position corresponding to a shape and position of the cable during operation.
- a system includes a shape sensing enabled device including one or more imaging devices, the shape sensing enabled device coupled to at least one optical fiber.
- a shape sensing module is configured to receive optical signals from the at least one optical fiber within a structure and interpret the optical signals to determine a shape of the shape sensing enabled device.
- a device positioning module is configured to determine position information of the one or more imaging devices based upon one or more relationships between the at least one optical fiber and the one or more imaging devices.
- a mapping module is configured to register frames of reference of the at least one optical fiber, the shape sensing enabled device, and a mapping system of a target device to provide an adjusted position of the target device based on the position information.
- a system includes a shape sensing enabled medical device including one or more imaging devices, the shape sensing enabled medical device coupled to at least one optical fiber.
- a shape sensing module is configured to receive optical signals from the at least one optical fiber within a structure and interpret the optical signals to determine a shape of the shape sensing enabled medical device.
- a device positioning module is configured to determine position information of the one or more imaging devices based upon one or more relationships between each of the at least one optical fiber and one or more points each representing the one or more imaging devices. The one or more relationships is determined prior to placing the one or more imaging devices within the structure.
- a mapping module is configured to register frames of reference of the at least one optical fiber, the shape sensing enabled medical device, and a mapping system of a target device to provide an adjusted position of the target device based on the position information.
- a method includes collecting shape sensing data from a shape sensing enabled device disposed within a structure, the shape sensing enabled device coupled to at least one optical fiber and including one or more imaging devices. Position information of the one or more imaging devices is determined based upon one or more relationships between the at least one optical fiber and the one or more imaging devices. Frames of reference of the at least one optical fiber, the shape sensing enable device, and a mapping system of a target device are registered to provide an adjusted position of the target device based on the position information.
- HDR brachytherapy is performed under the guidance of transrectal ultrasound (TRUS).
- TRUS transrectal ultrasound
- the insertion of the TRUS probe into a subject induces a deflection/bend in the probe.
- Fiber optic shape sensing may be applied to quantify the deflection/bend in the probe to thereby provide positional information of the probe.
- positional information of the TRUS imaging arrays may be computed.
- Catheters may be mapped using, e.g., optical fibers or electromagnetic (EM) sensors.
- the frames of references of the TRUS imaging arrays, optical fibers and mapping system of the catheters may be registered.
- the mapped position of the catheters may be adjusted based on the positional information of the TRUS imaging arrays, representing the true catheter positions with TRUS probe deflection/bending taken into account.
- the present principles provide accurate, real-time updates of catheter and afterloader positions (and hence, radioactive source positions).
- the ability to provide real-time source position updates may reduce the disconnect between treatment planning and delivery, which may exist due to inconsistent spatial relationships between the treatment sources and tissue.
- Real-time catheter tracking during treatment delivery may also allow for treatment adaptation.
- the present invention will be described in terms of medical instruments; however, the teachings of the present invention are much broader and are applicable to any fiber optic or imaging instruments.
- the present principles are employed in tracking or analyzing complex biological or mechanical systems.
- the present principles are applicable to internal tracking procedures of biological systems, procedures in all areas of the body such as the lungs, gastro-intestinal tract, excretory organs, blood vessels, etc.
- the elements depicted in the FIGS. may be implemented in various combinations of hardware and software and provide functions which may be combined in a single element or multiple elements.
- processor or “controller” should not be construed to refer exclusively to hardware capable of executing software, and can implicitly include, without limitation, digital signal processor ("DSP") hardware, read-only memory (“ROM”) for storing software, random access memory (“RAM”), non-volatile storage, etc.
- DSP digital signal processor
- ROM read-only memory
- RAM random access memory
- non-volatile storage etc.
- embodiments of the present invention can take the form of a computer program product accessible from a computer-usable or computer-readable storage medium providing program code for use by or in connection with a computer or any instruction execution system.
- a computer-usable or computer readable storage medium can be any apparatus that may include, store, communicate, propagate, or transport the program for use by or in connection with the instruction execution system, apparatus, or device.
- the medium can be an electronic, magnetic, optical, electromagnetic, infrared, or semiconductor system (or apparatus or device) or a propagation medium.
- Examples of a computer-readable medium include a semiconductor or solid state memory, magnetic tape, a removable computer diskette, a random access memory (RAM), a read-only memory (ROM), a rigid magnetic disk and an optical disk.
- Current examples of optical disks include compact disk - read only memory (CD-ROM), compact disk - read/write (CD-R/W), Blu-RayTM and DVD.
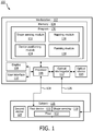
- the system 100 may include a workstation or console 102 from which procedures (e.g., HDR brachytherapy) are supervised and managed.
- Workstation 102 preferably includes one or more processors 106 and memory 104 for storing programs and applications. It should be understood that the functions and components of system 100 may be integrated into one or more workstations or systems.
- Workstation 102 may include one or more displays 108 for viewing.
- the display 108 may also permit a user to interact with the workstation 102 and its components and functions. This is further facilitated by a user interface 110, which may include a keyboard, mouse, joystick, or any other peripheral or control to permit user interaction with the workstation 102.
- the present principles will be described with respect to an HDR brachytherapy procedure, one of ordinary skill in the art would recognize that the present principles are much broader and may be applicable to any workflow utilizing an imaging system that communicates between multiple tracking systems.
- the present principles may be applied to create flexible ultrasound arrays or other imaging devices that conventionally need to be rigid in order to have a known imaging geometry. Tracking with optical shape sensing provides real-time knowledge of the specific geometry of a flexible imaging device, which enables access to areas or structures that are difficult to image with conventional, rigid devices.
- the present principles may be applied in plumbing where pipes may be imaged using both an ultrasound system and an endoscope. Other applications are also contemplated.
- Memory 104 may store a computer implemented program 130 including a shape sensing module 132 configured to interpret optical feedback signals from a shape sensing device or system 118.
- Shape sensing module 132 is configured to use the optical signal feedback (and any other feedback, e.g., electromagnetic (EM) tracking) to reconstruct deformations, deflections and other changes associated with a first medical device or instrument 120.
- the first device 120 preferably includes a (e.g., transrectal ultrasound (TRUS)) probe, but may include one or more of an endoscope, or other imaging components, etc.
- TRUS transrectal ultrasound
- the probe 120 may be coupled to the workstation 102 through cabling 128.
- the cabling 128 may include electrical connections, optical fiber connections, instrumentation, etc., as needed.
- the probe 120 may be used to evaluate a structure or subject 116 (e.g., patient).
- a shape sensing system includes module 132 and shape sensing device 118 mounted on or integrated into the probe 120.
- the shape sensing system includes an optical interrogator 112 that provides selected signals and receives optical responses.
- An optical source 114 may be provided as part of the interrogator 112 or as a separate unit for providing light signals to the shape sensing device 118.
- Shape sensing device 118 includes one or more optical fibers 122 which may be coupled to the device 120 in a set pattern or patterns.
- the fibers 122 may be coupled to the workstation 102 through cabling 126.
- the cabling may include fiber optics, electrical connections, other instrumentation, etc. as needed.
- the fibers 122 are integrated within the casing of the probe 120. If multiple fibers 122 are utilized, each fiber 122 may be arranged in a specific pattern around the circumference or perimeter of the probe 120, with each fiber 122 running along the length of the probe 120.
- a cross-sectional view of a TRUS probe 200 including an exemplary arrangement of optical fibers is illustratively depicted in accordance with one embodiment. Since deflection of the probe 120 may be non-linear, it may be advantageous to have a greater concentration of fibers 122 placed in close proximity to the one or more imaging arrays 202 of the probe 120, with a sparser distribution of fibers 122 away from the imaging arrays 202. Other patterns of fibers 122 within the probe 120 are also contemplated.
- a distribution of fibers 122 throughout the cross-section of the probe 120 may offer several advantages: the capability to measure relative positions of multiple fibers 122 with respect to each other; and providing measurement redundancy in the event that communication with one or more of the fibers 122 fails. However, if the positions of fibers 122 change, the spatial relationship between the fibers 122 and imaging arrays 202 may not be valid either.
- the fibers 122 may be externally coupled to the probe 120 using, e.g., a clip-on attachment.
- the fibers 122 are rigidly registered to the probe 120. While this embodiment may limit the proximity of the fibers 122 to the imaging arrays of the probe 120, it affords some flexibility to the operator with regards to the placement of the fibers 122. Other arrangements of the fibers 122 coupled on or in the probe 120 are also contemplated.
- Shape sensing 118 with fibers 122 may be implemented using any mechanism of optical fiber transmission/reflection.
- shape sensing 118 with fibers 122 may be implemented using one or more of: wavelength-division multiplexed distributed sensing, time-wavelength-division multiplexed distributed sensing, interferometric detection, amplitude-based inherent scattering, etc.
- shape sensing 118 with fibers 122 is based on the fiber optic Bragg grating (FBG) principle; however, other approaches are also contemplated, such as, e.g., Rayleigh scattering, Raman scattering or Brillouin scattering.
- FBG is a short segment of optical fiber that reflects particular wavelengths of light and transmits all others.
- a fiber Bragg grating can therefore be used as an inline optical filter to block certain wavelengths, or as a wavelength-specific reflector.
- the shape of the fibers 122 at any spatial location along its length is dependent on the internal strain developed in the fiber.
- the Bragg wavelength is sensitive to this strain.
- Shape sensing module 132 may use the strain in three or more FBGs (one in each fiber 122, in a group of three fibers 122) to calculate the local bend in the fiber group. Thus, the shape of the fiber is accumulated. A priori knowledge of the FBG positions along the fiber can be utilized to provide shape and position estimates of the fiber in the desired frame of reference.
- Computer implemented program 130 may include a device positioning module 134 configured to determine the origins of the imaging array of the probe 120 upon insertion into the subject 116. Initially, prior to positioning the probe 120 within the subject 116, device positioning module 134 may compute a transformation between the fibers 122 and the imaging arrays of the probe 120. The transformation represents spatial relationships between the fibers 122 and the imaging arrays of the probe 120 for an unbent configuration of the probe 120. In one embodiment, spatial relationships are defined between each fiber 122 and one or more points (e.g., center) each representing the one or more imaging arrays of the probe 120. In another embodiment, fibers 122 are divided into multiple sections and spatial relationships are defined between each section of each fiber 122 and the center of each of the imaging arrays of probe 120. Other embodiments are also contemplated. The spatial relationships are constant throughout the procedure. If not, recalibration may be performed.
- the pre-procedural calibration may be a one-time calibration performed intermittently (e.g., weekly, monthly, etc.). This calibration step allows the origins of the imaging arrays of the probe 120 to be defined relative to the coordinate system of the fibers 122.
- a prior pre-procedural calibration may be adjusted intra-procedurally.
- the shape and pose of each of the fibers 122 is recorded using shape sensing module 126.
- device positioning module 134 may compute the origins of the imaging arrays of the probe 120.
- the origins of the imaging arrays are preferably stored in memory 104 in a common frame of reference (e.g., the probe's 120 frame of reference).
- a probe 300 is positioned within a subject.
- a target area 302 of a subject 116 is imaged 306 with no probe deflection/bending.
- the bent probe 308 images 310 the target area 302.
- the device positioning module 134 may account for the bending/deflection 312 to compute the origins of the imaging arrays.
- the computer implemented program 130 may include a mapping module 136 configured to map the position of one or more second medical devices or instruments 124 within the subject 116 prior to treatment planning.
- the second device 124 preferably includes a catheter, but may include one or more of a probe, a guidewire, an endoscope, a robot, an electrode, a filter device, a balloon device, or other components, etc.
- the catheters 124 may be positioned within the subject 116 for, e.g., HDR brachytherapy.
- the mapping module 136 is configured to perform EM-based path mapping to identify the catheter 124 positions within the subject 116.
- EM-based path mapping may be performed using an EM-tracked guidewire that can be inserted into and retracted from catheters 124. The spatial information of the tracker may be recorded during this process.
- Other embodiments of EM-based path mapping are also contemplated.
- the frames of reference of the EM system, fibers 118 and imaging arrays of the probe 120 are registered.
- the mapping module 136 may be configured to perform optical shape sensing to identify the catheter 124 positions within the subject 116.
- the frames of reference of the fibers 122 (used in both the catheters 124 and the probe 120) and the imaging arrays of the probe 120 are registered.
- Other embodiments of mapping the catheter 124 within the subject 116 are also contemplated.
- the mapping module 136 may adjust the position information of the catheter 124 based on the origins of the imaging arrays of the probe 120, determined by device positioning module 134.
- the adjusted catheter 124 positions represent the true catheter 124 positions determined with deflection/bending of the probe 120 taken into account.
- the mapping module 136 may be further configured to perform real-time catheter 124 tracking during a procedure, such as treatment delivery. If the catheter 124 shape and pose are tracked using fibers 122, then real-time changes in the shape of the catheters 124 can be determined and adjusted based on the calculated deflection/bending of the probe 120 at that time instant. Each incremental position of the afterloader device within the catheters 124 can also be recorded to provide a real-time estimate of the positions of the radioactive sources.
- real-time adaptions can be made to the treatment plan.
- the computer implemented program 130 may also include a planning module 138.
- the planning module may involve one or more displays 108 and/or user interfaces 110.
- the planning module 138 may be configured to provide pre-planning mapping of catheters 124, such as in an, e.g., HDR brachytherapy procedure.
- Knowledge of the position of the imaging arrays of the probe 120 allows for improved accuracy in the estimates of catheter positions, which are used to formulate an initial treatment plan to specify appropriate dose levels for target areas and/or surrounding organs at risk (OARs).
- OARs organs at risk
- the planning module 138 may provide for adaptive treatment planning using real-time updates of catheter 124 and afterloader positions.
- the initial treatment plan may be modified to account for the motion. For example, if the estimated dose received by the target is less than the planned dose in the, e.g., posterior region of the target, then the dwell positions and dwell times of sources in the catheters closes to the posterior region of the target can be adjusted accordingly to compensate for the reduced dosage in that region. Other modifications to the treatment plan are also contemplated.
- shape sensing data is collected from a shape sensing enabled device.
- the shape sensing enabled device is preferably includes an ultrasound probe, but may also include an endoscope, or other imaging components, etc.
- the shape sensing enabled device may be disposed within a structure, such as, e.g., a vascular structure, a mechanical structure, etc.
- One or more optical fibers are preferably coupled to the shape sensing enabled device in a set pattern or patterns.
- the optical fibers may be integrated or embedded within the shape sensing enabled device.
- the optical fibers may be arranged such that a greater concentration of optical fibers is positioned in close proximity to one or more imaging devices (e.g., imaging arrays) of the shape sensing enabled device, with a sparser distribution of optical fibers away from the imaging devices.
- optical fibers may be distributions throughout the cross-section of the shape sensing enabled device.
- the optical fibers may be externally coupled to the shape sensing enabled device using, e.g., a clip on attachment. Other patterns of positioning optical fibers in or around the shape sensing enabled device are also contemplated.
- position information of the imaging devices of the shape sensing enabled device is determined based on spatial relationships between the fibers and the one or more imaging devices.
- a transformation between the fibers and imaging devices of the shape sensing enabled device is determined prior to the disposition of the shape sensing enabled device within the structure.
- the transformation represents spatial relationships between the fibers and the imaging devices.
- spatial relationships are defined between each fiber and one or more points (e.g., center) each representing the one or more imaging devices of the shape sensing enabled device.
- fibers are divided into multiple sections and spatial relationships are defined between each section of each fiber and one or more points each representing the one or more imaging devices of the shape sensing enabled device.
- Other embodiments are also contemplated.
- the spatial relationships are constant throughout the procedure. If not constant, recalibration may be performed.
- the pre-procedural calibration may be a one-time calibration performed intermittently (e.g., weekly, monthly, etc.). This calibration step allows the origins of the imaging devices of the shape sensing enabled device to be defined relative to the coordinate system of the fibers.
- the shape sensing enabled device Once the shape sensing enabled device has been positioned within the structure, the shape and pose of the fibers are recorded. Based on the spatial relationship between the fibers and the one or more imaging devices, position information of the one or more imaging devices of the shape sensing enabled device may be determined.
- frames of reference of the optical fibers, imaging devices, and a mapping system of a target device are registered to provide an adjusted position of the target device based on the position information of the imaging devices.
- the target device preferably includes a catheter, but may also include a probe, endoscope, guidewire, etc.
- the target device is mapped using the mapping system.
- the mapping system includes an EM-based mapping system. EM-based mapping may be performed using an EM-tracked guidewire. Other methods of EM-based mapping are also contemplated.
- the mapping system includes an optical shape sensing system. Other implementations of the mapping system are also contemplated.
- the mapped position of the target device (using the mapping system) is adjusted using the position of the imaging devices.
- the adjusted position of the target device represents the true position determined by taking into account deflection/bending of the shape sensing enabled device.
- a treatment plan is created or modified. If the target device is tracked using optical fibers, real-time changes in the shape of the target device can be determined and a treatment plan can be adjusted. In one embodiment, a position of an afterloader within a shape sensing enabled device may be recorded to provide a real-time estimate of the positions of (e.g., radioactive) sources positioned in the shape sensing enabled device. Knowing the planned locations of the radioactive sources, real-time adaptations can be made to a treatment plan.
- a position of an afterloader within a shape sensing enabled device may be recorded to provide a real-time estimate of the positions of (e.g., radioactive) sources positioned in the shape sensing enabled device. Knowing the planned locations of the radioactive sources, real-time adaptations can be made to a treatment plan.
- the dwell positions and dwell times of sources in the target device closest to the posterior region of the target can be adjusted accordingly to compensate for the reduced dosage in that region.
- Other modifications to the treatment plan are also contemplated.
- a treatment plan may be developed. Knowledge of the position of imaging devices of the shape sensing enabled device results in improved accuracy of the estimates of the position of the target device. Accurate positioning of the target device may be important in the creation of the initial treatment plan.
Landscapes
- Health & Medical Sciences (AREA)
- Life Sciences & Earth Sciences (AREA)
- Engineering & Computer Science (AREA)
- Biomedical Technology (AREA)
- Pathology (AREA)
- Animal Behavior & Ethology (AREA)
- General Health & Medical Sciences (AREA)
- Public Health (AREA)
- Veterinary Medicine (AREA)
- Radiology & Medical Imaging (AREA)
- Nuclear Medicine, Radiotherapy & Molecular Imaging (AREA)
- Surgery (AREA)
- Physics & Mathematics (AREA)
- Biophysics (AREA)
- Medical Informatics (AREA)
- Molecular Biology (AREA)
- Heart & Thoracic Surgery (AREA)
- Optics & Photonics (AREA)
- Signal Processing (AREA)
- Gynecology & Obstetrics (AREA)
- Human Computer Interaction (AREA)
- Endoscopes (AREA)
- Instruments For Viewing The Inside Of Hollow Bodies (AREA)
- Optical Couplings Of Light Guides (AREA)
Applications Claiming Priority (2)
| Application Number | Priority Date | Filing Date | Title |
|---|---|---|---|
| US201261679696P | 2012-08-04 | 2012-08-04 | |
| PCT/IB2013/056000 WO2014024069A1 (en) | 2012-08-04 | 2013-07-22 | Quantifying probe deflection for improved catheter identification |
Publications (2)
| Publication Number | Publication Date |
|---|---|
| EP2879586A1 EP2879586A1 (en) | 2015-06-10 |
| EP2879586B1 true EP2879586B1 (en) | 2019-11-06 |
Family
ID=49322659
Family Applications (1)
| Application Number | Title | Priority Date | Filing Date |
|---|---|---|---|
| EP13774237.5A Active EP2879586B1 (en) | 2012-08-04 | 2013-07-22 | Quantifying probe deflection for improved catheter identification |
Country Status (7)
| Country | Link |
|---|---|
| US (1) | US11109776B2 (enExample) |
| EP (1) | EP2879586B1 (enExample) |
| JP (1) | JP6574378B2 (enExample) |
| CN (1) | CN104519803B (enExample) |
| BR (1) | BR112015002133A2 (enExample) |
| RU (1) | RU2015107381A (enExample) |
| WO (1) | WO2014024069A1 (enExample) |
Families Citing this family (11)
| Publication number | Priority date | Publication date | Assignee | Title |
|---|---|---|---|---|
| JP6114748B2 (ja) * | 2011-08-16 | 2017-04-12 | コーニンクレッカ フィリップス エヌ ヴェKoninklijke Philips N.V. | 光学ファイバー形状データを用いる湾曲マルチプラナ再構成 |
| CN106029172B (zh) | 2014-02-27 | 2019-12-24 | 皇家飞利浦有限公司 | 用于高剂量率短距离放射治疗的医学仪器 |
| WO2016059603A1 (en) | 2014-10-17 | 2016-04-21 | Koninklijke Philips N.V. | System for real-time organ segmentation and tool navigation during tool insertion in interventional therapy and method of opeperation thereof |
| EP3420914A1 (en) * | 2017-06-30 | 2019-01-02 | Koninklijke Philips N.V. | Ultrasound system and method |
| JP7183449B2 (ja) * | 2019-11-28 | 2022-12-05 | 株式会社エビデント | 工業用内視鏡画像処理装置、工業用内視鏡システム、工業用内視鏡画像処理装置の作動方法及びプログラム |
| CN120788622A (zh) | 2020-09-25 | 2025-10-17 | 巴德阿克塞斯系统股份有限公司 | 超声成像系统和最小导管长度工具 |
| WO2022187701A1 (en) | 2021-03-05 | 2022-09-09 | Bard Access Systems, Inc. | Systems and methods for ultrasound-and-bioimpedance-based guidance of medical devices |
| WO2023064492A1 (en) * | 2021-10-14 | 2023-04-20 | Bard Access Systems, Inc. | Fiber optic ultrasound probe |
| WO2023091427A1 (en) | 2021-11-16 | 2023-05-25 | Bard Access Systems, Inc. | Ultrasound probe with integrated data collection methodologies |
| CA3185165A1 (en) | 2022-01-07 | 2023-07-07 | Northern Digital Inc. | Electromagnetic sensor |
| CN114795066A (zh) * | 2022-05-13 | 2022-07-29 | 苏州欧畅医疗科技有限公司 | 一种具有多通道同步采集的光纤传感系统及内窥镜 |
Family Cites Families (17)
| Publication number | Priority date | Publication date | Assignee | Title |
|---|---|---|---|---|
| EP1079730B1 (en) | 1997-11-24 | 2007-01-03 | Computerized Medical Systems, Inc. | Real time brachytherapy spatial registration and visualization system |
| US6494835B1 (en) * | 2000-02-16 | 2002-12-17 | Jomed Inc. | Method and apparatus for intravascular brachytherapy treatment planning |
| EP1718202B1 (en) | 2004-02-18 | 2012-08-01 | Philips Intellectual Property & Standards GmbH | Device and method for the determination of the position of a catheter in a vascular system |
| DE102005056080B4 (de) * | 2005-11-24 | 2010-04-08 | Siemens Ag | Einrichtung für die Röntgen-Brachytherapie mit einer in das Innere eines Körpers zur Röntgen-Brachytherapie einführbaren Sonde |
| WO2007109778A1 (en) * | 2006-03-22 | 2007-09-27 | Hansen Medical, Inc. | Fiber optic instrument sensing system |
| US8622935B1 (en) * | 2007-05-25 | 2014-01-07 | Endosense Sa | Elongated surgical manipulator with body position and distal force sensing |
| TWI345067B (en) | 2007-11-23 | 2011-07-11 | Ind Tech Res Inst | Devices and methods for led life test |
| WO2009137819A1 (en) * | 2008-05-09 | 2009-11-12 | Innovative Pulmonary Solutions, Inc. | Systems, assemblies, and methods for treating a bronchial tree |
| JP5535205B2 (ja) * | 2008-06-25 | 2014-07-02 | コーニンクレッカ フィリップス エヌ ヴェ | ブラキセラピーシステム |
| US20100030063A1 (en) * | 2008-07-31 | 2010-02-04 | Medtronic, Inc. | System and method for tracking an instrument |
| US10004387B2 (en) * | 2009-03-26 | 2018-06-26 | Intuitive Surgical Operations, Inc. | Method and system for assisting an operator in endoscopic navigation |
| JP5952736B2 (ja) * | 2009-10-23 | 2016-07-13 | コーニンクレッカ フィリップス エヌ ヴェKoninklijke Philips N.V. | 生物物理学的なパラメータの迅速な分散測定のための光検知可能な介入器具 |
| US10456594B2 (en) | 2009-12-28 | 2019-10-29 | Koninklijke Philips N.V. | Method and apparatus for brachytherapy featuring tracking via shape-sensing |
| JP5903050B2 (ja) | 2010-02-09 | 2016-04-13 | コーニンクレッカ フィリップス エヌ ヴェKoninklijke Philips N.V. | 光位置検知を使用した撮像及び治療のための装置並びにシステム |
| CN102971048B (zh) | 2010-06-30 | 2016-02-10 | 皇家飞利浦电子股份有限公司 | 用于引导的自适应近距治疗的系统和方法 |
| US10238364B2 (en) * | 2010-11-18 | 2019-03-26 | Koninklijke Philips N.V. | Medical device with ultrasound transducers embedded in flexible foil |
| BR112013018987A2 (pt) | 2011-01-27 | 2017-11-07 | Koninl Philips Electronics Nv | sistema de detecção do formato óptico integrado e método |
-
2013
- 2013-07-22 JP JP2015524875A patent/JP6574378B2/ja not_active Expired - Fee Related
- 2013-07-22 CN CN201380041499.4A patent/CN104519803B/zh not_active Expired - Fee Related
- 2013-07-22 US US14/415,825 patent/US11109776B2/en not_active Expired - Fee Related
- 2013-07-22 BR BR112015002133A patent/BR112015002133A2/pt not_active IP Right Cessation
- 2013-07-22 RU RU2015107381A patent/RU2015107381A/ru unknown
- 2013-07-22 WO PCT/IB2013/056000 patent/WO2014024069A1/en not_active Ceased
- 2013-07-22 EP EP13774237.5A patent/EP2879586B1/en active Active
Non-Patent Citations (1)
| Title |
|---|
| None * |
Also Published As
| Publication number | Publication date |
|---|---|
| JP6574378B2 (ja) | 2019-09-11 |
| CN104519803B (zh) | 2018-10-09 |
| JP2015529494A (ja) | 2015-10-08 |
| CN104519803A (zh) | 2015-04-15 |
| EP2879586A1 (en) | 2015-06-10 |
| US20150182144A1 (en) | 2015-07-02 |
| US11109776B2 (en) | 2021-09-07 |
| WO2014024069A1 (en) | 2014-02-13 |
| RU2015107381A (ru) | 2016-09-27 |
| BR112015002133A2 (pt) | 2017-07-04 |
Similar Documents
| Publication | Publication Date | Title |
|---|---|---|
| EP2879586B1 (en) | Quantifying probe deflection for improved catheter identification | |
| US11576729B2 (en) | Cranial surgery using optical shape sensing | |
| US11547489B2 (en) | Shape sensing of multiple over-the-wire devices | |
| JP6822955B2 (ja) | 先端固定なしで光学形状検出を使う超音波プローブの自動トラッキング及び位置合わせ | |
| EP2677937B1 (en) | Non-rigid-body morphing of vessel image using intravascular device shape | |
| EP2717771B1 (en) | Optical fiber sensing for determining real time changes in applicator geometry for interventional therapy | |
| US10925567B2 (en) | Adaptive imaging and frame rate optimizing based on real-time shape sensing of medical instruments | |
| EP2830502B1 (en) | Artifact removal using shape sensing | |
| US9607381B2 (en) | Accurate and rapid mapping of points from ultrasound images to tracking systems | |
| JP2017537698A5 (enExample) | ||
| US11406278B2 (en) | Non-rigid-body morphing of vessel image using intravascular device shape | |
| JP2016533201A (ja) | 長手方向エンコーディングを使う装置トラッキング | |
| WO2014053934A1 (en) | System and method for registering shape sensing with imaging using an optimal plane | |
| EP2877246B1 (en) | Motion-compensated dose received by tissue in high dose rate brachytherapy procedures | |
| WO2015092590A1 (en) | System and method for determining the entry point to the body using optical shape sensing |
Legal Events
| Date | Code | Title | Description |
|---|---|---|---|
| PUAI | Public reference made under article 153(3) epc to a published international application that has entered the european phase |
Free format text: ORIGINAL CODE: 0009012 |
|
| 17P | Request for examination filed |
Effective date: 20150304 |
|
| AK | Designated contracting states |
Kind code of ref document: A1 Designated state(s): AL AT BE BG CH CY CZ DE DK EE ES FI FR GB GR HR HU IE IS IT LI LT LU LV MC MK MT NL NO PL PT RO RS SE SI SK SM TR |
|
| AX | Request for extension of the european patent |
Extension state: BA ME |
|
| DAX | Request for extension of the european patent (deleted) | ||
| GRAP | Despatch of communication of intention to grant a patent |
Free format text: ORIGINAL CODE: EPIDOSNIGR1 |
|
| STAA | Information on the status of an ep patent application or granted ep patent |
Free format text: STATUS: GRANT OF PATENT IS INTENDED |
|
| INTG | Intention to grant announced |
Effective date: 20190528 |
|
| GRAS | Grant fee paid |
Free format text: ORIGINAL CODE: EPIDOSNIGR3 |
|
| GRAA | (expected) grant |
Free format text: ORIGINAL CODE: 0009210 |
|
| STAA | Information on the status of an ep patent application or granted ep patent |
Free format text: STATUS: THE PATENT HAS BEEN GRANTED |
|
| AK | Designated contracting states |
Kind code of ref document: B1 Designated state(s): AL AT BE BG CH CY CZ DE DK EE ES FI FR GB GR HR HU IE IS IT LI LT LU LV MC MK MT NL NO PL PT RO RS SE SI SK SM TR |
|
| REG | Reference to a national code |
Ref country code: GB Ref legal event code: FG4D |
|
| REG | Reference to a national code |
Ref country code: CH Ref legal event code: EP Ref country code: AT Ref legal event code: REF Ref document number: 1197684 Country of ref document: AT Kind code of ref document: T Effective date: 20191115 |
|
| REG | Reference to a national code |
Ref country code: IE Ref legal event code: FG4D |
|
| REG | Reference to a national code |
Ref country code: DE Ref legal event code: R096 Ref document number: 602013062577 Country of ref document: DE |
|
| REG | Reference to a national code |
Ref country code: NL Ref legal event code: MP Effective date: 20191106 |
|
| RAP2 | Party data changed (patent owner data changed or rights of a patent transferred) |
Owner name: KONINKLIJKE PHILIPS N.V. |
|
| REG | Reference to a national code |
Ref country code: LT Ref legal event code: MG4D |
|
| PG25 | Lapsed in a contracting state [announced via postgrant information from national office to epo] |
Ref country code: FI Free format text: LAPSE BECAUSE OF FAILURE TO SUBMIT A TRANSLATION OF THE DESCRIPTION OR TO PAY THE FEE WITHIN THE PRESCRIBED TIME-LIMIT Effective date: 20191106 Ref country code: PL Free format text: LAPSE BECAUSE OF FAILURE TO SUBMIT A TRANSLATION OF THE DESCRIPTION OR TO PAY THE FEE WITHIN THE PRESCRIBED TIME-LIMIT Effective date: 20191106 Ref country code: SE Free format text: LAPSE BECAUSE OF FAILURE TO SUBMIT A TRANSLATION OF THE DESCRIPTION OR TO PAY THE FEE WITHIN THE PRESCRIBED TIME-LIMIT Effective date: 20191106 Ref country code: LT Free format text: LAPSE BECAUSE OF FAILURE TO SUBMIT A TRANSLATION OF THE DESCRIPTION OR TO PAY THE FEE WITHIN THE PRESCRIBED TIME-LIMIT Effective date: 20191106 Ref country code: BG Free format text: LAPSE BECAUSE OF FAILURE TO SUBMIT A TRANSLATION OF THE DESCRIPTION OR TO PAY THE FEE WITHIN THE PRESCRIBED TIME-LIMIT Effective date: 20200206 Ref country code: NL Free format text: LAPSE BECAUSE OF FAILURE TO SUBMIT A TRANSLATION OF THE DESCRIPTION OR TO PAY THE FEE WITHIN THE PRESCRIBED TIME-LIMIT Effective date: 20191106 Ref country code: ES Free format text: LAPSE BECAUSE OF FAILURE TO SUBMIT A TRANSLATION OF THE DESCRIPTION OR TO PAY THE FEE WITHIN THE PRESCRIBED TIME-LIMIT Effective date: 20191106 Ref country code: LV Free format text: LAPSE BECAUSE OF FAILURE TO SUBMIT A TRANSLATION OF THE DESCRIPTION OR TO PAY THE FEE WITHIN THE PRESCRIBED TIME-LIMIT Effective date: 20191106 Ref country code: PT Free format text: LAPSE BECAUSE OF FAILURE TO SUBMIT A TRANSLATION OF THE DESCRIPTION OR TO PAY THE FEE WITHIN THE PRESCRIBED TIME-LIMIT Effective date: 20200306 Ref country code: GR Free format text: LAPSE BECAUSE OF FAILURE TO SUBMIT A TRANSLATION OF THE DESCRIPTION OR TO PAY THE FEE WITHIN THE PRESCRIBED TIME-LIMIT Effective date: 20200207 Ref country code: NO Free format text: LAPSE BECAUSE OF FAILURE TO SUBMIT A TRANSLATION OF THE DESCRIPTION OR TO PAY THE FEE WITHIN THE PRESCRIBED TIME-LIMIT Effective date: 20200206 |
|
| PG25 | Lapsed in a contracting state [announced via postgrant information from national office to epo] |
Ref country code: IS Free format text: LAPSE BECAUSE OF FAILURE TO SUBMIT A TRANSLATION OF THE DESCRIPTION OR TO PAY THE FEE WITHIN THE PRESCRIBED TIME-LIMIT Effective date: 20200306 Ref country code: HR Free format text: LAPSE BECAUSE OF FAILURE TO SUBMIT A TRANSLATION OF THE DESCRIPTION OR TO PAY THE FEE WITHIN THE PRESCRIBED TIME-LIMIT Effective date: 20191106 Ref country code: RS Free format text: LAPSE BECAUSE OF FAILURE TO SUBMIT A TRANSLATION OF THE DESCRIPTION OR TO PAY THE FEE WITHIN THE PRESCRIBED TIME-LIMIT Effective date: 20191106 |
|
| PG25 | Lapsed in a contracting state [announced via postgrant information from national office to epo] |
Ref country code: AL Free format text: LAPSE BECAUSE OF FAILURE TO SUBMIT A TRANSLATION OF THE DESCRIPTION OR TO PAY THE FEE WITHIN THE PRESCRIBED TIME-LIMIT Effective date: 20191106 |
|
| PG25 | Lapsed in a contracting state [announced via postgrant information from national office to epo] |
Ref country code: EE Free format text: LAPSE BECAUSE OF FAILURE TO SUBMIT A TRANSLATION OF THE DESCRIPTION OR TO PAY THE FEE WITHIN THE PRESCRIBED TIME-LIMIT Effective date: 20191106 Ref country code: CZ Free format text: LAPSE BECAUSE OF FAILURE TO SUBMIT A TRANSLATION OF THE DESCRIPTION OR TO PAY THE FEE WITHIN THE PRESCRIBED TIME-LIMIT Effective date: 20191106 Ref country code: RO Free format text: LAPSE BECAUSE OF FAILURE TO SUBMIT A TRANSLATION OF THE DESCRIPTION OR TO PAY THE FEE WITHIN THE PRESCRIBED TIME-LIMIT Effective date: 20191106 Ref country code: DK Free format text: LAPSE BECAUSE OF FAILURE TO SUBMIT A TRANSLATION OF THE DESCRIPTION OR TO PAY THE FEE WITHIN THE PRESCRIBED TIME-LIMIT Effective date: 20191106 |
|
| REG | Reference to a national code |
Ref country code: DE Ref legal event code: R097 Ref document number: 602013062577 Country of ref document: DE |
|
| REG | Reference to a national code |
Ref country code: AT Ref legal event code: MK05 Ref document number: 1197684 Country of ref document: AT Kind code of ref document: T Effective date: 20191106 |
|
| PG25 | Lapsed in a contracting state [announced via postgrant information from national office to epo] |
Ref country code: SK Free format text: LAPSE BECAUSE OF FAILURE TO SUBMIT A TRANSLATION OF THE DESCRIPTION OR TO PAY THE FEE WITHIN THE PRESCRIBED TIME-LIMIT Effective date: 20191106 Ref country code: SM Free format text: LAPSE BECAUSE OF FAILURE TO SUBMIT A TRANSLATION OF THE DESCRIPTION OR TO PAY THE FEE WITHIN THE PRESCRIBED TIME-LIMIT Effective date: 20191106 |
|
| PLBE | No opposition filed within time limit |
Free format text: ORIGINAL CODE: 0009261 |
|
| STAA | Information on the status of an ep patent application or granted ep patent |
Free format text: STATUS: NO OPPOSITION FILED WITHIN TIME LIMIT |
|
| 26N | No opposition filed |
Effective date: 20200807 |
|
| PG25 | Lapsed in a contracting state [announced via postgrant information from national office to epo] |
Ref country code: SI Free format text: LAPSE BECAUSE OF FAILURE TO SUBMIT A TRANSLATION OF THE DESCRIPTION OR TO PAY THE FEE WITHIN THE PRESCRIBED TIME-LIMIT Effective date: 20191106 Ref country code: AT Free format text: LAPSE BECAUSE OF FAILURE TO SUBMIT A TRANSLATION OF THE DESCRIPTION OR TO PAY THE FEE WITHIN THE PRESCRIBED TIME-LIMIT Effective date: 20191106 |
|
| PG25 | Lapsed in a contracting state [announced via postgrant information from national office to epo] |
Ref country code: IT Free format text: LAPSE BECAUSE OF FAILURE TO SUBMIT A TRANSLATION OF THE DESCRIPTION OR TO PAY THE FEE WITHIN THE PRESCRIBED TIME-LIMIT Effective date: 20191106 |
|
| PG25 | Lapsed in a contracting state [announced via postgrant information from national office to epo] |
Ref country code: MC Free format text: LAPSE BECAUSE OF FAILURE TO SUBMIT A TRANSLATION OF THE DESCRIPTION OR TO PAY THE FEE WITHIN THE PRESCRIBED TIME-LIMIT Effective date: 20191106 |
|
| REG | Reference to a national code |
Ref country code: CH Ref legal event code: PL |
|
| REG | Reference to a national code |
Ref country code: BE Ref legal event code: MM Effective date: 20200731 |
|
| PG25 | Lapsed in a contracting state [announced via postgrant information from national office to epo] |
Ref country code: LI Free format text: LAPSE BECAUSE OF NON-PAYMENT OF DUE FEES Effective date: 20200731 Ref country code: CH Free format text: LAPSE BECAUSE OF NON-PAYMENT OF DUE FEES Effective date: 20200731 Ref country code: LU Free format text: LAPSE BECAUSE OF NON-PAYMENT OF DUE FEES Effective date: 20200722 |
|
| PG25 | Lapsed in a contracting state [announced via postgrant information from national office to epo] |
Ref country code: BE Free format text: LAPSE BECAUSE OF NON-PAYMENT OF DUE FEES Effective date: 20200731 |
|
| PG25 | Lapsed in a contracting state [announced via postgrant information from national office to epo] |
Ref country code: IE Free format text: LAPSE BECAUSE OF NON-PAYMENT OF DUE FEES Effective date: 20200722 |
|
| PGFP | Annual fee paid to national office [announced via postgrant information from national office to epo] |
Ref country code: FR Payment date: 20210726 Year of fee payment: 9 |
|
| PGFP | Annual fee paid to national office [announced via postgrant information from national office to epo] |
Ref country code: GB Payment date: 20210726 Year of fee payment: 9 Ref country code: DE Payment date: 20210729 Year of fee payment: 9 |
|
| PG25 | Lapsed in a contracting state [announced via postgrant information from national office to epo] |
Ref country code: TR Free format text: LAPSE BECAUSE OF FAILURE TO SUBMIT A TRANSLATION OF THE DESCRIPTION OR TO PAY THE FEE WITHIN THE PRESCRIBED TIME-LIMIT Effective date: 20191106 Ref country code: MT Free format text: LAPSE BECAUSE OF FAILURE TO SUBMIT A TRANSLATION OF THE DESCRIPTION OR TO PAY THE FEE WITHIN THE PRESCRIBED TIME-LIMIT Effective date: 20191106 Ref country code: CY Free format text: LAPSE BECAUSE OF FAILURE TO SUBMIT A TRANSLATION OF THE DESCRIPTION OR TO PAY THE FEE WITHIN THE PRESCRIBED TIME-LIMIT Effective date: 20191106 |
|
| PG25 | Lapsed in a contracting state [announced via postgrant information from national office to epo] |
Ref country code: MK Free format text: LAPSE BECAUSE OF FAILURE TO SUBMIT A TRANSLATION OF THE DESCRIPTION OR TO PAY THE FEE WITHIN THE PRESCRIBED TIME-LIMIT Effective date: 20191106 |
|
| REG | Reference to a national code |
Ref country code: DE Ref legal event code: R119 Ref document number: 602013062577 Country of ref document: DE |
|
| GBPC | Gb: european patent ceased through non-payment of renewal fee |
Effective date: 20220722 |
|
| PG25 | Lapsed in a contracting state [announced via postgrant information from national office to epo] |
Ref country code: FR Free format text: LAPSE BECAUSE OF NON-PAYMENT OF DUE FEES Effective date: 20220731 |
|
| PG25 | Lapsed in a contracting state [announced via postgrant information from national office to epo] |
Ref country code: GB Free format text: LAPSE BECAUSE OF NON-PAYMENT OF DUE FEES Effective date: 20220722 Ref country code: DE Free format text: LAPSE BECAUSE OF NON-PAYMENT OF DUE FEES Effective date: 20230201 |