EP2789843B1 - High-pressure fuel supplying pump and diesel engine having the same - Google Patents

High-pressure fuel supplying pump and diesel engine having the same Download PDF

Info

Publication number
EP2789843B1
EP2789843B1 EP14152312.6A EP14152312A EP2789843B1 EP 2789843 B1 EP2789843 B1 EP 2789843B1 EP 14152312 A EP14152312 A EP 14152312A EP 2789843 B1 EP2789843 B1 EP 2789843B1
Authority
EP
European Patent Office
Prior art keywords
outlet valve
hole
valve body
valve core
spring
Prior art date
Legal status (The legal status is an assumption and is not a legal conclusion. Google has not performed a legal analysis and makes no representation as to the accuracy of the status listed.)
Active
Application number
EP14152312.6A
Other languages
German (de)
English (en)
French (fr)
Other versions
EP2789843A1 (en
Inventor
Xin Jin
Jianxin Zhang
Zhaohui Tang
Current Assignee (The listed assignees may be inaccurate. Google has not performed a legal analysis and makes no representation or warranty as to the accuracy of the list.)
Robert Bosch GmbH
Original Assignee
Robert Bosch GmbH
Priority date (The priority date is an assumption and is not a legal conclusion. Google has not performed a legal analysis and makes no representation as to the accuracy of the date listed.)
Filing date
Publication date
Application filed by Robert Bosch GmbH filed Critical Robert Bosch GmbH
Publication of EP2789843A1 publication Critical patent/EP2789843A1/en
Application granted granted Critical
Publication of EP2789843B1 publication Critical patent/EP2789843B1/en
Active legal-status Critical Current
Anticipated expiration legal-status Critical

Links

Images

Classifications

    • FMECHANICAL ENGINEERING; LIGHTING; HEATING; WEAPONS; BLASTING
    • F02COMBUSTION ENGINES; HOT-GAS OR COMBUSTION-PRODUCT ENGINE PLANTS
    • F02MSUPPLYING COMBUSTION ENGINES IN GENERAL WITH COMBUSTIBLE MIXTURES OR CONSTITUENTS THEREOF
    • F02M59/00Pumps specially adapted for fuel-injection and not provided for in groups F02M39/00 -F02M57/00, e.g. rotary cylinder-block type of pumps
    • F02M59/44Details, components parts, or accessories not provided for in, or of interest apart from, the apparatus of groups F02M59/02 - F02M59/42; Pumps having transducers, e.g. to measure displacement of pump rack or piston
    • F02M59/46Valves
    • F02M59/462Delivery valves
    • FMECHANICAL ENGINEERING; LIGHTING; HEATING; WEAPONS; BLASTING
    • F02COMBUSTION ENGINES; HOT-GAS OR COMBUSTION-PRODUCT ENGINE PLANTS
    • F02MSUPPLYING COMBUSTION ENGINES IN GENERAL WITH COMBUSTIBLE MIXTURES OR CONSTITUENTS THEREOF
    • F02M59/00Pumps specially adapted for fuel-injection and not provided for in groups F02M39/00 -F02M57/00, e.g. rotary cylinder-block type of pumps
    • F02M59/44Details, components parts, or accessories not provided for in, or of interest apart from, the apparatus of groups F02M59/02 - F02M59/42; Pumps having transducers, e.g. to measure displacement of pump rack or piston
    • F02M59/46Valves
    • F02M59/464Inlet valves of the check valve type
    • FMECHANICAL ENGINEERING; LIGHTING; HEATING; WEAPONS; BLASTING
    • F02COMBUSTION ENGINES; HOT-GAS OR COMBUSTION-PRODUCT ENGINE PLANTS
    • F02MSUPPLYING COMBUSTION ENGINES IN GENERAL WITH COMBUSTIBLE MIXTURES OR CONSTITUENTS THEREOF
    • F02M59/00Pumps specially adapted for fuel-injection and not provided for in groups F02M39/00 -F02M57/00, e.g. rotary cylinder-block type of pumps
    • F02M59/02Pumps specially adapted for fuel-injection and not provided for in groups F02M39/00 -F02M57/00, e.g. rotary cylinder-block type of pumps of reciprocating-piston or reciprocating-cylinder type
    • F02M59/10Pumps specially adapted for fuel-injection and not provided for in groups F02M39/00 -F02M57/00, e.g. rotary cylinder-block type of pumps of reciprocating-piston or reciprocating-cylinder type characterised by the piston-drive
    • F02M59/102Mechanical drive, e.g. tappets or cams

Definitions

  • the present invention relates to a high-pressure fuel supplying pump and a diesel engine having said high-pressure fuel supplying pump.
  • the high-pressure fuel supplying pump is usually a plunger-typed fuel pump which mainly comprises a barrel (plunger sleeve) and a plunger, wherein an inlet valve body, an inlet valve core, an outlet valve body, an outlet valve core and a valve holder are arranged successively in the barrel.
  • the plunger is driven, by a cam shaft driven by the engine, to reciprocate in the barrel in such a way that fuel can be sucked in and pressurized in the barrel, and the sucked and pressurized fuel is then injected into the common rail via the valve holder.
  • the outlet valve body and the outlet valve core constitute an outlet valve structure. That is, during manufacturing of the high-pressure fuel supplying pump, it is necessary first to produce the outlet valve body and the outlet valve core separately and then to assemble them into the barrel. Therefore, this will lead to increased manufacturing costs and also an extended error chain possibly occurring in either manufacturing or assembling aspect.
  • DE19541507 gives an example of a known pump arrangement.
  • a contacting area/length between them should be designed as great as possible in order to ensure that sufficient sealing is achieved between them in such a way that fuel is prevented from penetrating into oil of the fuel pump itself or that the oil is prevented from penetrating into the fuel via the plunger.
  • the outlet valve body between the inlet valve body and the valve holder. Because the outlet valve body must be designed to be small due to space limitation, a fuel suction chamber, which is formed in the outlet valve body to receive the inlet valve core, cannot be further enlarged and the inlet valve core size cannot be further enlarged. Otherwise, if it is possible to enlarge the size of the inlet valve core further, an improved fuel suction flowing area and improved fuel suction efficiency can be obtained.
  • the present invention is aimed at proposing an improved high-pressure fuel supplying pump.
  • a high-pressure fuel supplying pump having the features of claim 1.
  • the first sealing interface is opened and the second sealing interface is closed when the plunger is moved in the plunger hole in a direction of increasing the accommodating volume of the plunger hole.
  • the first sealing interface is closed when the plunger is moved in the plunger hole in a direction of decreasing the accommodating volume of the plunger hole, and the second sealing interface is opened after pressure in the pressure chamber reaches a rated value.
  • a first spring seat is provided in the output fuel passage so as to secure one end of a first spring, and the other end of the first spring is secured on the outlet valve core in such a way that the outlet valve core abuts tightly against the outlet valve body by means of a tensile force of the first spring so as to define the second sealing interface.
  • a second spring is provided in the pressure chamber, one end of the second spring is secured on the outlet valve core and the other end of the second spring is secured on the inlet valve core in such a way that the inlet valve core abuts tightly against the inlet valve body by means of a tensile force of the second spring so as to define the first sealing interface.
  • a second spring seat is provided in the pressure chamber so as to secure one end of a second spring, and the other end of the second spring is secured on the inlet valve core in such a way that the inlet valve core abuts tightly against the inlet valve body by means of a tensile force of the second spring so as to define the first sealing interface.
  • the output fuel passage is embodied as a longitudinal through hole formed in the valve holder, and the outlet valve body extends radially and inwardly from an inner wall of the longitudinal through hole.
  • the outlet valve core is embodied as a valve rod installed in the longitudinal through hole and passing through the outlet valve body, the diameter of the valve rod is less than the inner diameter of the longitudinal through hole, and a portion of the valve rod passing through the outlet valve body has a diameter less than the inner diameter of the outlet valve body.
  • the outlet valve core is embodied as a hollow cylinder which is installed movably in the longitudinal through hole and has one closed end, the closed end of the hollow cylinder is formed with a second sealing face for abutting against the outlet valve body, and the hollow cylinder is formed with an aperture which enables an hollow interior of the cylinder to communicate with the pressure chamber.
  • a segment having an increased inner diameter is formed in the longitudinal through hole directly adjacent the outlet valve body.
  • a diesel engine comprising the high-pressure fuel supplying pump mentioned above is also proposed.
  • the outlet valve body it is unnecessary to manufacture the outlet valve body separately. Therefore, the accommodating volume required by the receiving chamber of the barrel is reduced and the length of the plunger hole can be increased correspondingly. Therefore, an increased sealing length can be achieved between the plunger hole and the plunger such that fuel is prevented as much as possible from penetrating into oil of the supplying pump and thus the efficiency of the supplying pump is improved.
  • the separately manufactured outlet valve body can also lead to shortening of error chain.
  • the pressure chamber for receiving the inlet valve core is formed directly in the inlet valve core, the pressure chamber and the inlet valve core can be made larger in size such that an improved fuel suction flowing area and improved fuel suction efficiency cannot be obtained.
  • the spring acting on the outlet valve core and the spring acting on the inlet valve core may be operated independently of each other such that the entire high-pressure fuel supplying pump can be operated more reliably.
  • FIG. 1 illustrates that the conventional high-pressure fuel supplying pump is in a fuel suction state
  • figure 2 illustrates that the conventional high-pressure fuel supplying pump is in a fuel pressurizing state.
  • such high-pressure fuel supplying pump mainly comprises a barrel (a plunger sleeve) 1; a plunger 2 which is able to reciprocate in barrel 1; and an inlet valve 3, an inlet valve core 6, an outlet valve body 4, an outlet valve core 8 and a valve holder (a fuel discharging adapter) 5 which are installed successively in the barrel 1.
  • the barrel 1 can be machined directly in a body of the high-pressure fuel supplying pump.
  • the barrel 1 is formed with a fuel feeding port 1a for feeding fuel from a fuel passage of a diesel engine into the barrel 1.
  • the barrel 1 is also formed with a plunger hole 1b for receiving the plunger 2 and a receiving chamber 1c for receiving the inlet valve 3, the inlet valve core 6, the outlet valve body 4, the outlet valve core 8 and the valve holder 5.
  • the fuel feeding port 1a, the plunger hole 1b and the receiving chamber 1c communicate with each other.
  • the plunger 2 is driven by a spring and a cam shaft (which are not shown here) in such a way that the plunger is able to reciprocate upwards and downwards in the plunger hole 1b.
  • the receiving chamber 1c is generally cylindrical.
  • the inlet valve body 3 and the outlet valve body 4 are also generally cylindrical.
  • a first fuel passage 3a and a second fuel passage 3b are formed in the inlet valve body 3, and the first fuel passage 3a communicates with a central blind hole 3c of the inlet valve body 3. Furthermore, the receiving chamber 1c is formed with threads in its upper wall portion for screwing with outer threads of the valve holder 5.
  • the inlet valve body 3 and the outlet valve body 4 are firstly pressed in this order into the receiving chamber 1c. Then, the valve holder 5 is screwed into the receiving chamber 1c via the threads mentioned above. In this way, the first fuel passage 3a of the inlet valve body 3 is able to communicate with the fuel feeding port 1a, and the second fuel passage 3b of the inlet valve body 3 is able to communicate with the plunger hole 1b.
  • the inlet valve core 6 is located between the inlet valve body 3 and the outlet valve body 4 so as to selectively open or close the first fuel passage 3a.
  • a central through hole 4a of the outlet valve body 4 is, in its lower portion, formed substantially as a conical shape as illustrated by the Figs. 1 and 2 in such a way that a pressure chamber 4b is formed for receiving the inlet valve core 6.
  • the inlet valve core 6 and the inlet valve body 4 are matable with each other so as to form a first sealing interface therebetween, which is openable or closable such that fluid is allowed or prohibited to flow between the first fuel passage 3a and the central blind hole 3c as well as the pressure chamber 4b.
  • the outlet valve core 8 is installed in the central through hole 4a of the outlet valve body 4 and is used to selectively open or close a path/passage between the central through hole 4a and the valve holder 5. More particularly, the outlet valve core 8 and the outlet valve body 4 are matable with each other so as to form a second sealing interface therebetween, which is openable or closable such that fluid is allowed or prohibited to flow between the pressure chamber 4b and a central hole 5a of the valve holder 5.
  • a spring 7 is installed between the inlet valve core 6 and the outlet valve core 8 so as to constantly exert a tensile force therebetween in such a way that a conical or truncated conical sealing portion of the inlet valve core 6 abuts hermetically against an upper opening of the central blind hole 3c.
  • a portion of the outlet valve core 8 in the central through hole 4a is designed to have a size less than the inner diameter of the central through hole 4a such that fuel can be filled into a gap between the portion of the outlet valve core 8 and the central through hole 4a.
  • the valve holder 5 is formed with the central hole 5a whose lower portion is formed as being horn mouth-shape illustrated by Figs. 1 and 2 such that the horn mouth-shaped portion of the central hole is able to receive an upper portion of the outlet valve core 8 with appropriate play therein.
  • a spring seat 10 is installed in the horn mouth shaped portion.
  • the spring seat 10 has an upper portion which is formed in such a way that it is complementary to an upper part of the horn mouth shape. As shown in Figs.
  • a spring 9 is installed between the spring sear 10 and the outlet valve core 8 to constantly exert a tensile force therebetween in such a way that a conical sealing portion of the outlet valve core 8 abuts hermetically against an upper opening of the central through hole 4a.
  • the outlet valve core 8 closes the central through hole 4a under the action of the spring 9. That is, in the fuel suction state, the first sealing interface is opened and the second sealing interface is closed.
  • the plunger 2 is driven by means of the spring and the cam shaft of the high-pressure fuel supplying pump to move downwards in the plunger hole 1a in such a way that vacuum negative pressure is generated in the pressure chamber 4b. Therefore, the inlet valve core 6 is moved upwards with resisting the tensile force of the spring 7 such that the first fuel passage 3a is opened. In this way, as indicated by a path I of Fig. 1 , fuel is sucked from the fuel feeding port 1a, through the first fuel passage 3a, the central blind hole 3c and the second fuel passage 3b, into a portion of the plunger hole 1b above the plunger 2.
  • the plunger 2 in the fuel pressurizing state, the plunger 2 is moved upwards in the plunger hole 1b and, at the same time, the inlet valve core 6 abuts hermetically against the upper opening of the central blind hole 3c such that the first fuel passage 3a is blocked. That is, in the fuel pressurizing state, the first sealing interface is closed. In this way, the sucked fuel mentioned above is pressurized in the pressure chamber 4b as the plunger 2 is being moved upwards.
  • the outlet valve core 8 overcomes the tensile force of the spring 9 to move upwards (thus the second sealing interface is opened) in such a way that the central through hole 4a communicates with the central hole 5a of the valve holder 5. Therefore, the pressurized fuel may be discharged through the central through hole 4a and the central hole 5a for example into a common rail (not shown) of the diesel engine.
  • the outlet valve body cannot be produced larger and thus the size of the pressure chamber cannot be further enlarged. Therefore, the size of the inlet valve core cannot be further enlarged and thus an improved fuel suction flowing area and improved fuel suction efficiency cannot be obtained.
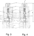
  • FIGs. 3 and 4 show partial cross-sectional views of a high-pressure fuel supplying pump according to a first embodiment of the present invention, in which the high-pressure fuel supplying pump is in fuel suction and pressurizing states respectively.
  • the high-pressure fuel supplying pump mainly comprises a barrel 1; a plunger 2 which is adapted to reciprocating in the barrel 1; an inlet valve body 11, an inlet valve core 12 and a valve holder 13 which are installed successively in the barrel 1; and an outlet valve core 14 installed in the valve holder 13.
  • the barrel 1 can be machined directly in a body of the high-pressure fuel supplying pump.
  • the barrel 1 is formed with a fuel feeding port 1a for supplying fuel from a fuel passage of a diesel engine into the barrel 1.
  • the barrel 1 is further formed with a plunger hole 1b for receiving the plunger 2 and a receiving chamber 1c for receiving the inlet valve body 11, the inlet valve core 12 and the valve holder 13.
  • the fuel feeding port 1a, the plunger hole 1b and the receiving chamber 1c communicate with each other.
  • the inlet valve body 11 is substantially cylindrical.
  • the inlet valve body 11 can be formed on its periphery with a flange for contacting hermetically with an inner wall of the receiving chamber 1c.
  • a first fuel passage 11a is machined in the inlet valve body 11 in such a way that the first fuel passage is perpendicular to a central axis of the inlet valve body.
  • the first fuel passage 11a communicates with a central blind hole 11c of the inlet valve body 11.
  • a second fuel passage 11b is machined in the inlet valve body 11 in such a way that the second fuel passage is parallel to the central blind hole 11c.
  • the inlet valve body 11 is not limited by the specific structure explained above. Any other suitable structure can be adopted by the inlet valve body 11 as soon as such structure ensures that the first fuel passage 11a and the second fuel passage 11b of the inlet valve body 11 can achieve the same function mentioned above and/or below.
  • valve holder 13 is provided on its periphery with outer threads for screwing with inner threads of the receiving chamber 1c during assembling such that an end of the valve holder 13 can be pressed against the inlet valve body 11 in the barrel 1 and fixedly secured there.
  • the valve holder 13 is formed with a central through hole 13a along its central longitudinal axis.
  • the outlet valve body 18 is formed integrally in the valve holder 13 at an adequate position of the central through hole 13a.
  • the outlet valve body 18 is a flange which projects radically and inwardly from an inner wall of the center through hole 13a in such a way that the inner diameter of the outlet valve body 18 is less than the inner diameter of the remaining portion of the central through hole 13.
  • a segment 19 of an increased inner diameter is optionally formed directly adjacent the outlet valve body 18 in the through hole along a downstream direction of the central through hole 13a (i.e. a direction of discharging the fuel).
  • An end of the central through hole 13a adjacent the outlet valve body 18 along an upstream direction of the central through hole 13a is machined as a horn mouth shape so as to form a pressure chamber 13b for fuel.
  • End faces of the valve holder 13 and the inlet valve body 11 which contact with each other are provided in such a way that sufficient sealing between the pressure chamber 13b and the receiving chamber 1c is ensured.
  • the pressure chamber 13b communicates with the second fuel passage 11b.
  • the inlet valve core 12 and the inlet valve body 11 are matable with each other so as to form a first sealing interface therebetween, which is openable or closable in such a way that fluid is allowed or prohibited to flow between the first fuel passage 11a and the central blind hole 11c as well as the pressure chamber 13b.
  • the outlet valve core 14 is installed in the central through hole 13a of the valve holder 13.
  • the outer diameter of the outlet valve core 14 is less than the inner diameter of the central through hole 13a. More particularly, a portion of the outlet valve core 14 passing through the outlet valve body 18 has an outer diameter less than the inner diameter of the outlet valve body 18.
  • a spring seat 17 is installed in the central through hole 13a opposite the outlet valve body 18.
  • the spring seat 17 In order that the spring seat 17 can be fixedly secured, it is installed in the central through hole 13a for example in an interference fitting manner.
  • the central through hole 13a can be formed with inner threads and the spring seat 17 can be formed with outer threads such that the spring seat can be screwed in the central through hole in place.
  • the spring seat 17 is of a hollow cylindrical shape in whose interior a step is formed for carrying a coil spring 16. As shown in Figs. 3 and 4 , one end of the coil spring 16 is secured in the spring seat 17 and the other end of the coil spring 16 is secured on a projection of the outlet valve core 14. Particularly, a portion of the outlet valve core 14, especially of the projection thereof, extends into the coil spring 16 in such a way that the outlet valve core 14 can be moved upwards or downwards along a central axis of the coil spring 16, especially of the central through hole 13a.
  • a conical sealing face is machined for example on the outlet valve core 14 for mating with a correspondingly formed sealing face of the outlet valve body 18. Under the action of a tensile force exerted by the spring 16, the sealing face of the outlet valve core 14 abuts tightly against the sealing face of the outlet valve body 18 such that no fluid passage can be generated between upstream and downstream parts of the central through hole 13a.
  • outlet valve core 14 and the outlet valve body 18 are matable with each other so as to form a second sealing interface therebetween, which is openable or closable in such a way that fluid is allowed or prohibited to flow between the pressure chamber 13b and the central through hole 13a of the valve holder 13.
  • a flange is formed on the outlet valve core 14 adjacent its bottom end so as to carry a coil spring 15.
  • One end of the coil spring 15 is secured on the flange such that the bottom end of the outlet valve core 14 projects partially into the coil spring 15.
  • the inlet valve core 12 is located in the pressure chamber 13b.
  • the inlet valve core 12 is formed in a similar manner as the inlet valve core 6 illustrated by Figs. 1 and 2 .
  • the other end of the spring 15 is secured on the inlet valve core 12 such that a top end of the inlet valve core 12 projects partially into the coil spring 15 and is separated by a distance from the bottom end of the outlet valve core 14. In this way, the inlet valve core 12 can be guided in such a way that the inlet valve core can be moved upwards or downwards along a central axis of the spring 15, that is along the central axis of the central through hole 13a.
  • the inlet valve core 12 is formed with a conical or truncated conical sealing face which is able to abut hermetically against an upper opening of the central blind hole 11c under the action of a tensile force of the spring 15 such that the first fuel passage 11a is closed.
  • the pressure chamber 13b can be manufactured larger than that illustrated by Figs. 1 and 2 without reducing the strength of the valve holder 13 itself. Therefore, by comparison with the prior art, the inner diameter of the central blind hole 11b of the inlet valve body 11 and the diametral size of the inlet valve core 12 can be designed as being greater such that it facilitates increasing the fuel suction flowing area and improving the fuel suction efficiency.
  • the outlet valve core 14 abuts tightly against the outlet valve body 18 under the action of the spring 16 in such a way that no fluid passage can be generated between the upstream and downstream parts of the central through hole 13a. That is, in the fuel suction state, the first sealing interface is opened and the second sealing interface is closed. At this time, the plunger 2 is moved downwards in the plunger hole 1b under the action of a spring of the high-pressure fuel supplying pump (not shown) in such a way that vacuum negative pressure is generated in the pressure chamber 13b. In this way, the inlet valve core 12 overcomes the tensile force of the spring 15 to move upwards in such a way that the first fuel passage 11a is opened. Therefore, as indicated by a path I illustrated by Fig. 3 , the fuel is sucked, through the first fuel passage 11a, the central blind hole 11c and the second fuel passage 11b, into a portion of the plunger 1b above the plunger 2.
  • the plunger 2 in the fuel pressurizing state, the plunger 2 is moved upwards in the plunger hole 1b and, at the same time, the inlet valve core 12 abuts hermetically the upper opening of the central blind hole 11c under the action of the spring 15 such that the first fuel passage 11a is closed. That is, in the fuel pressurizing state, the first sealing interface is closed. In this way, the sucked fuel is pressurized in the pressure chamber 13b as the plunger 2 is being moved upwards.
  • the outlet valve core 14 can overcome the tensile force of the spring 16 to move upwards (that is, the second sealing interface is opened) such that the pressure chamber 13b communicates with the central through hole 13a of the valve holder 13, especially with the upstream part of the central through hole. Therefore, as indicated by a path II illustrated by Fig. 4 , the pressurized fuel can be discharged through the outlet valve body 18 and the central through hole 13a for example into the common rail of the diesel engine (not shown).
  • the plunger 2 is driven by the cam shaft of the diesel engine in such a way that the plunger 2 can constantly reciprocate upwards and downwards in the plunger hole 1b of the barrel 1. In this way, the pump is continuously switched between the fuel suction and pressurizing states such that the pressurized fuel can be continuously fed into the common rail.
  • the valve holder 5 has an outlet which is at a longitudinal distance H from a bottom of the receiving chamber 1c. Because the outlet valve body 4 must be installed in the receiving chamber 1c, the longitudinal length of the receiving chamber 1c cannot be further decreased and thus the contacting area/length of the plunger hole 1b cannot be further increased.
  • the outlet valve holder 13 has an outlet which is at a longitudinal distance H' from a bottom of the receiving chamber 11c. Because the outlet valve body is omitted, the valve holder 13 can be reduced further in size without any negative influence on its strength. That is, H' can be designed as being less than H (H' ⁇ H). In this way, the accommodating volume of the receiving chamber 1c illustrated by Figs. 3 and 4 can be reduced such that, under the condition of the entire longitudinal size of the high-pressure fuel supplying pump being unchanged, the plunger hole 1b can be machined in the barrel 1 so as to have an increased length. In this way, the contacting area/length between the plunger hole 1b and the plunger 2 can be increased. Therefore, a possibility that the fuel penetrates into the oil is reduced and the supplying pump may be operated more efficiently.
  • Figs. 3 and 4 illustrate only one of possible embodiments of the outlet valve core 14. It is understood by a person skilled in the art, after reading the description, that any kind of outlet valve core having the same function can be adopted in the technical solution of the present invention.
  • each flange can be formed integrally on the outlet valve core 14 or the flange can alternatively be a separate part, for example a nut, which is assembled onto the outlet valve core.
  • both the springs 15 and 16 act on the outlet valve core 14.
  • fuel suction and pressurizing processes can be carried out by adjusting parameters, such as stiffness or the like, of the springs 15 and 16, the two springs both acting on a single part may lead to an increasing risk of failure.
  • a high-pressure fuel supplying pump according to a second embodiment of the present invention will be explained below with respect to Figs. 5 and 6 , in which the fuel suction and pressurizing processes are carried out more reliably.
  • Figs. 5 and 6 shows partial cross-sectional views of the high-pressure fuel supplying pump according to the second embodiment of the present invention, in which the high-pressure fuel supplying pump is in a fuel suction state and in a fuel pressurizing state respectively.
  • the high-pressure fuel supplying pump according to the second embodiment differs from that according to the first embodiment mainly in that the spring exerting the tensile force on the outlet valve core is able to be operated independently of the spring exerting the tensile force on the inlet valve core.
  • an outlet valve core 20 is installed in the central through hole 13a above the outlet valve body 18 such that the outlet valve core is movable upwards or downwards.
  • the outlet valve core 20 is in the form of a hollow cylinder one end of which is closed.
  • the closed end has an outer diameter slightly less than the inner diameter of the central through hole 13a and is formed with a conical sealing face in a similar manner as illustrated by Figs. 3 and 4 .
  • the conical sealing face of the closed end is used to abut hermetically against the corresponding sealing face of the outlet valve body 18.
  • One or more apertures 20 are formed circumferentially in the outlet valve core 20 at a position separated by a longitudinal distance from the sealing face such that an hollow interior of the outlet valve core 20 is able to communicate with the central through hole 13a, especially the segment 19 thereof, via the aperture 20.
  • a step extends radially and inwardly from a cylindrical inner wall of the outlet valve core 20 so as to secure the other end of the spring 16 thereon.
  • the sealing face of the outlet valve core 20 is pressed tightly against the outlet valve body 18 in such a way that no fluid passage can be generated between the upstream and downstream parts of the central through hole 13a.
  • outlet valve core 20 and the outlet valve body 18 are matable with each other so as to form a second sealing interface therebetween, which is openable or closable in such a way that fluid is allowed or prohibited to flow between the pressure chamber 13b and the central through hole 13a of the valve holder 13.
  • a spring seat 21 is additionally provided in the pressure chamber 13b.
  • the spring seat 21 is of a hollow cap shape. Because the pressure chamber 13b is in the form of a horn mouth shape opening downwards, the upper end of the spring seat 21 and the upper portion of the pressure chamber 13b are formed such that they are complementary to each other. Therefore, after being assembled, the spring seat 21 can be received in the upper portion of the pressure chamber 13b in an adaptably fixed manner.
  • the spring seat 21 can be formed with outer threads and the pressure chamber 13b can be formed with inner threads such that the spring seat 21 can be screwed in the pressure chamber 13b in place.
  • a step extends inwardly from a top end of a cylindrical inner wall of the spring seat 21 to secure one end of the spring 15 thereon.
  • the other end of the spring 15 is secured on the inlet valve core 12 in the same manner as illustrated by Figs. 3 and 4 .
  • the inlet valve core 12 abuts tightly against the upper opening of the central blind hole 11c of the inlet valve body 11 in such a way that the first fuel passage 11a is closed.
  • the inlet valve 12 and the inlet valve body 11 are matable with each other so as to form the first sealing interface, which is openable or closable such that fluid is allowed or prohibited to flow between the first fuel passage 11a and the center blind hole 11c as well as the pressure chamber 13b.
  • the outlet valve core 20 abuts tightly against the outlet valve body 18 under the action of the spring 16 in such a way that no liquid passage can be generated between the upstream and downstream parts of the central through hole 13a. That is, in the fuel suction state, the first sealing interface is opened and the second sealing interface is closed. At this time, the plunger 2 is moved downwardly in the plunger hole 1b under the action of the spring (not shown) and the cam shaft (not shown) of the high-pressure fuel supplying pump such that vacuum negative pressure is generated in the pressure chamber 13b. Therefore, the inlet valve core 12 is moved upwardly with resisting the tensile force of the spring 15 such that the first fuel passage 11a is opened. In this way, as indicated by the path I illustrated by Fig. 5 , fuel is sucked, through the first fuel passage 11a, the central blind hole 11c and the second fuel passage 11b, in the portion of the plunger hole 1b above the plunger 2.
  • the plunger 2 in the fuel pressurizing state, the plunger 2 is moved upwardly in the plunger hole 1b and, at the same time, the inlet valve core 12 is pressed hermetically against the upper opening of the central blind hole 11c under the action of the spring 15 such that the first fuel passage 11a is closed. That is, in the fuel pressuring state, the first sealing interface is closed. In this way, the sucked fuel can be pressurized in the pressure chamber 13b as the plunger 2 is being moved upwardly.
  • the outlet valve core 20 overcomes the tensile force of the spring 16 to move upwardly such that the pressure chamber 13b communicates fluidly with the upstream part of the central through hole 13a of the valve holder 13 (that is, the second sealing interface is opened). Therefore, as indicated by a path II illustrated by Fig. 6 , the pressurized fuel can be discharged through the outlet valve body 18, the aperture 20a and the central through hole 13a for example into the common rail of the diesel engine (not shown).
  • the outlet valve body 18 is formed integrally in the central through hole 13a of the valve holder 13 in such a way that the outlet valve body extends inwardly from the inner wall of the central through hole
  • the outlet valve body 18 can be produced as a ring-shaped part having a small central through hole in an alternative embodiment.
  • the ring-shaped part is provided with outer threads on its periphery and the inner wall of the central through hole 13a is provided with threads such that, during assembling, the ring-shaped part can be screwed in the central through hole 13a at locations illustrated by Figs. 3 and 5 .
  • the springs 15 and 16 can be operated independently of each other. Therefore, besides the advantages of the first embodiment, the second embodiment offers advantages that the fuel suction and pressurizing processes can be reliably carried out and the risk of failure is reduced.
  • the spring seat 21 illustrated by Figs. 5 and 6 can be applied in the embodiment illustrated by Figs. 3 and 4 .
  • the bottom end of the outlet valve core 14 can be shortened correspondingly such that it will not contact the upper end of the spring seat 21.
  • FIGs. 7 and 8 show schematic views of another embodiment according to the present invention.
  • a high-pressure fuel supplying pump according to this another embodiment is mainly characterized in that: the outlet valve core 14 illustrated by Figs. 3 and 4 is replaced with the outlet valve core 20 illustrated by Figs. 5 and 6 so as to form an outlet valve core 22.
  • the outlet valve core 22 can similarly be formed with a part extending from its lower end.
  • This part of the outlet valve core 22 has an outer diameter less than the outer diameter of the outlet valve body 18, and has a projection which is used to secure the spring 15 and extends partially into the spring 15.
  • a fuel suction process according to this embodiment is carried out in the same manner as illustrated by Fig. 3 .
  • fuel after being pressurized, must pass through a gap between the outlet valve core 22 and the outlet valve body 18 so as to be discharged along a path II as illustrated out of the high-pressure fuel supplying pump.

Landscapes

  • Engineering & Computer Science (AREA)
  • Chemical & Material Sciences (AREA)
  • Combustion & Propulsion (AREA)
  • Mechanical Engineering (AREA)
  • General Engineering & Computer Science (AREA)
  • Fuel-Injection Apparatus (AREA)
EP14152312.6A 2013-03-01 2014-01-23 High-pressure fuel supplying pump and diesel engine having the same Active EP2789843B1 (en)

Applications Claiming Priority (1)

Application Number Priority Date Filing Date Title
CN201310066169.2A CN104018968B (zh) 2013-03-01 2013-03-01 高压供油泵以及具有这种高压供油泵的柴油机

Publications (2)

Publication Number Publication Date
EP2789843A1 EP2789843A1 (en) 2014-10-15
EP2789843B1 true EP2789843B1 (en) 2019-03-13

Family

ID=49958394

Family Applications (1)

Application Number Title Priority Date Filing Date
EP14152312.6A Active EP2789843B1 (en) 2013-03-01 2014-01-23 High-pressure fuel supplying pump and diesel engine having the same

Country Status (3)

Country Link
EP (1) EP2789843B1 (enExample)
CN (1) CN104018968B (enExample)
IN (1) IN2014DE00470A (enExample)

Families Citing this family (10)

* Cited by examiner, † Cited by third party
Publication number Priority date Publication date Assignee Title
CN105201716B (zh) * 2015-11-03 2017-11-03 南岳电控(衡阳)工业技术股份有限公司 一种共轨喷油器
CN105822475B (zh) * 2015-12-30 2018-08-14 南岳电控(衡阳)工业技术股份有限公司 一种共轨喷油器
CN105888905A (zh) * 2016-06-18 2016-08-24 常州博瑞油泵油嘴有限公司 一种单缸柴油机用复合式高压共轨泵及其装配方法
CN105863914A (zh) * 2016-06-18 2016-08-17 常州博瑞油泵油嘴有限公司 单缸共轨蓄能器
CN206320002U (zh) * 2016-10-14 2017-07-11 罗伯特·博世有限公司 柱塞式高压泵及其高压组件、进油阀
CN107989730A (zh) * 2017-12-28 2018-05-04 北京亚新科天纬油泵油嘴股份有限公司 一种高压共轨泵及用于其的进出油阀组件
GB2570490A (en) * 2018-01-26 2019-07-31 Delphi Tech Ip Ltd Fuel pump
CN110552827B (zh) * 2018-06-04 2022-11-11 罗伯特·博世有限公司 用于高压油泵的进油阀和相应的高压油泵
CN110748446B (zh) * 2019-11-27 2024-10-01 英嘉动力科技无锡有限公司 一种共轨高压进出油阀组件及共轨高压供油泵
CN114278476B (zh) * 2022-01-07 2023-12-01 龙口龙泵柴油喷射高科有限公司 一种大流量电控共轨系统的高压供油泵泵油系组件

Family Cites Families (6)

* Cited by examiner, † Cited by third party
Publication number Priority date Publication date Assignee Title
DE19541507A1 (de) * 1995-11-08 1997-05-15 Bosch Gmbh Robert Kraftstoffeinspritzeinrichtung für Brennkraftmaschinen
JP2006183647A (ja) * 2004-12-28 2006-07-13 Bosch Corp 燃料供給ポンプ
DE102008002360A1 (de) * 2008-06-11 2009-12-17 Robert Bosch Gmbh Radialkolbenpumpe
DE102009055228A1 (de) * 2009-12-23 2011-06-30 Robert Bosch GmbH, 70469 Kolbenpumpe für eine hydraulische Fahrzeugbremsanlage
CN102465801B (zh) * 2010-11-18 2014-08-13 博世汽车柴油系统有限公司 高压燃油泵
DE102011075516A1 (de) * 2011-05-09 2012-11-15 Robert Bosch Gmbh Ventilanordnung für eine Kraftstoffhochdruckpumpe sowie Kraftstoffhochdruckpumpe

Non-Patent Citations (1)

* Cited by examiner, † Cited by third party
Title
None *

Also Published As

Publication number Publication date
IN2014DE00470A (enExample) 2015-06-19
CN104018968B (zh) 2019-04-23
EP2789843A1 (en) 2014-10-15
CN104018968A (zh) 2014-09-03

Similar Documents

Publication Publication Date Title
EP2789843B1 (en) High-pressure fuel supplying pump and diesel engine having the same
CN103717873B (zh) 燃料泵
CN108019541B (zh) 阀装置
KR102020199B1 (ko) 피스톤 연료 펌프
KR102268867B1 (ko) 고압 디젤 펌프
CN105190017A (zh) 具有布置在输送室和出口之间的出口阀的燃料高压泵
US10072645B2 (en) Pump
JP6018202B2 (ja) 高圧流体ポンプに用いられる流体出入バルブ
JP2006513367A (ja) 内燃機関の高圧噴射装置の高圧ポンプのための逆止弁
KR20140032417A (ko) 내연기관용 분사 밸브
US7506635B2 (en) Fuel injection system
EP3006719B1 (en) Fuel injection valve
EP3653867B1 (en) High-pressure fuel pump
EP2796704B1 (en) Fuel supply pump
CN203347977U (zh) 高压供油泵
US20080223460A1 (en) Poppet check valve for high pressure oil pump
JP2010090738A (ja) 蓄圧式燃料噴射装置の燃料噴射弁
CN205330851U (zh) 用于燃料喷射泵的高压组件以及燃料喷射泵
JP4748045B2 (ja) 燃料噴射ノズル
KR101682346B1 (ko) 내연 기관용 연료-분사 노즐
JP2013234586A (ja) 燃料噴射弁
RU2513051C2 (ru) Топливный насос для дизеля (варианты)
JP2010196544A (ja) 燃料噴射ノズル
JP6225648B2 (ja) 高圧ポンプ
FR3030638A1 (fr) Regulateur de pression pour une rampe haute-pression de systeme d'injection de carburant

Legal Events

Date Code Title Description
PUAI Public reference made under article 153(3) epc to a published international application that has entered the european phase

Free format text: ORIGINAL CODE: 0009012

17P Request for examination filed

Effective date: 20140123

AK Designated contracting states

Kind code of ref document: A1

Designated state(s): AL AT BE BG CH CY CZ DE DK EE ES FI FR GB GR HR HU IE IS IT LI LT LU LV MC MK MT NL NO PL PT RO RS SE SI SK SM TR

AX Request for extension of the european patent

Extension state: BA ME

R17P Request for examination filed (corrected)

Effective date: 20150415

RBV Designated contracting states (corrected)

Designated state(s): AL AT BE BG CH CY CZ DE DK EE ES FI FR GB GR HR HU IE IS IT LI LT LU LV MC MK MT NL NO PL PT RO RS SE SI SK SM TR

GRAP Despatch of communication of intention to grant a patent

Free format text: ORIGINAL CODE: EPIDOSNIGR1

STAA Information on the status of an ep patent application or granted ep patent

Free format text: STATUS: GRANT OF PATENT IS INTENDED

INTG Intention to grant announced

Effective date: 20180823

GRAS Grant fee paid

Free format text: ORIGINAL CODE: EPIDOSNIGR3

GRAA (expected) grant

Free format text: ORIGINAL CODE: 0009210

STAA Information on the status of an ep patent application or granted ep patent

Free format text: STATUS: THE PATENT HAS BEEN GRANTED

AK Designated contracting states

Kind code of ref document: B1

Designated state(s): AL AT BE BG CH CY CZ DE DK EE ES FI FR GB GR HR HU IE IS IT LI LT LU LV MC MK MT NL NO PL PT RO RS SE SI SK SM TR

REG Reference to a national code

Ref country code: GB

Ref legal event code: FG4D

REG Reference to a national code

Ref country code: CH

Ref legal event code: EP

Ref country code: AT

Ref legal event code: REF

Ref document number: 1108030

Country of ref document: AT

Kind code of ref document: T

Effective date: 20190315

REG Reference to a national code

Ref country code: IE

Ref legal event code: FG4D

REG Reference to a national code

Ref country code: DE

Ref legal event code: R096

Ref document number: 602014042663

Country of ref document: DE

REG Reference to a national code

Ref country code: NL

Ref legal event code: MP

Effective date: 20190313

REG Reference to a national code

Ref country code: LT

Ref legal event code: MG4D

PG25 Lapsed in a contracting state [announced via postgrant information from national office to epo]

Ref country code: FI

Free format text: LAPSE BECAUSE OF FAILURE TO SUBMIT A TRANSLATION OF THE DESCRIPTION OR TO PAY THE FEE WITHIN THE PRESCRIBED TIME-LIMIT

Effective date: 20190313

Ref country code: LT

Free format text: LAPSE BECAUSE OF FAILURE TO SUBMIT A TRANSLATION OF THE DESCRIPTION OR TO PAY THE FEE WITHIN THE PRESCRIBED TIME-LIMIT

Effective date: 20190313

Ref country code: SE

Free format text: LAPSE BECAUSE OF FAILURE TO SUBMIT A TRANSLATION OF THE DESCRIPTION OR TO PAY THE FEE WITHIN THE PRESCRIBED TIME-LIMIT

Effective date: 20190313

Ref country code: NO

Free format text: LAPSE BECAUSE OF FAILURE TO SUBMIT A TRANSLATION OF THE DESCRIPTION OR TO PAY THE FEE WITHIN THE PRESCRIBED TIME-LIMIT

Effective date: 20190613

PG25 Lapsed in a contracting state [announced via postgrant information from national office to epo]

Ref country code: NL

Free format text: LAPSE BECAUSE OF FAILURE TO SUBMIT A TRANSLATION OF THE DESCRIPTION OR TO PAY THE FEE WITHIN THE PRESCRIBED TIME-LIMIT

Effective date: 20190313

Ref country code: GR

Free format text: LAPSE BECAUSE OF FAILURE TO SUBMIT A TRANSLATION OF THE DESCRIPTION OR TO PAY THE FEE WITHIN THE PRESCRIBED TIME-LIMIT

Effective date: 20190614

Ref country code: BG

Free format text: LAPSE BECAUSE OF FAILURE TO SUBMIT A TRANSLATION OF THE DESCRIPTION OR TO PAY THE FEE WITHIN THE PRESCRIBED TIME-LIMIT

Effective date: 20190613

Ref country code: HR

Free format text: LAPSE BECAUSE OF FAILURE TO SUBMIT A TRANSLATION OF THE DESCRIPTION OR TO PAY THE FEE WITHIN THE PRESCRIBED TIME-LIMIT

Effective date: 20190313

Ref country code: RS

Free format text: LAPSE BECAUSE OF FAILURE TO SUBMIT A TRANSLATION OF THE DESCRIPTION OR TO PAY THE FEE WITHIN THE PRESCRIBED TIME-LIMIT

Effective date: 20190313

Ref country code: LV

Free format text: LAPSE BECAUSE OF FAILURE TO SUBMIT A TRANSLATION OF THE DESCRIPTION OR TO PAY THE FEE WITHIN THE PRESCRIBED TIME-LIMIT

Effective date: 20190313

REG Reference to a national code

Ref country code: AT

Ref legal event code: MK05

Ref document number: 1108030

Country of ref document: AT

Kind code of ref document: T

Effective date: 20190313

PG25 Lapsed in a contracting state [announced via postgrant information from national office to epo]

Ref country code: PT

Free format text: LAPSE BECAUSE OF FAILURE TO SUBMIT A TRANSLATION OF THE DESCRIPTION OR TO PAY THE FEE WITHIN THE PRESCRIBED TIME-LIMIT

Effective date: 20190713

Ref country code: AL

Free format text: LAPSE BECAUSE OF FAILURE TO SUBMIT A TRANSLATION OF THE DESCRIPTION OR TO PAY THE FEE WITHIN THE PRESCRIBED TIME-LIMIT

Effective date: 20190313

Ref country code: EE

Free format text: LAPSE BECAUSE OF FAILURE TO SUBMIT A TRANSLATION OF THE DESCRIPTION OR TO PAY THE FEE WITHIN THE PRESCRIBED TIME-LIMIT

Effective date: 20190313

Ref country code: RO

Free format text: LAPSE BECAUSE OF FAILURE TO SUBMIT A TRANSLATION OF THE DESCRIPTION OR TO PAY THE FEE WITHIN THE PRESCRIBED TIME-LIMIT

Effective date: 20190313

Ref country code: CZ

Free format text: LAPSE BECAUSE OF FAILURE TO SUBMIT A TRANSLATION OF THE DESCRIPTION OR TO PAY THE FEE WITHIN THE PRESCRIBED TIME-LIMIT

Effective date: 20190313

Ref country code: SK

Free format text: LAPSE BECAUSE OF FAILURE TO SUBMIT A TRANSLATION OF THE DESCRIPTION OR TO PAY THE FEE WITHIN THE PRESCRIBED TIME-LIMIT

Effective date: 20190313

Ref country code: ES

Free format text: LAPSE BECAUSE OF FAILURE TO SUBMIT A TRANSLATION OF THE DESCRIPTION OR TO PAY THE FEE WITHIN THE PRESCRIBED TIME-LIMIT

Effective date: 20190313

PG25 Lapsed in a contracting state [announced via postgrant information from national office to epo]

Ref country code: SM

Free format text: LAPSE BECAUSE OF FAILURE TO SUBMIT A TRANSLATION OF THE DESCRIPTION OR TO PAY THE FEE WITHIN THE PRESCRIBED TIME-LIMIT

Effective date: 20190313

Ref country code: PL

Free format text: LAPSE BECAUSE OF FAILURE TO SUBMIT A TRANSLATION OF THE DESCRIPTION OR TO PAY THE FEE WITHIN THE PRESCRIBED TIME-LIMIT

Effective date: 20190313

REG Reference to a national code

Ref country code: DE

Ref legal event code: R097

Ref document number: 602014042663

Country of ref document: DE

PG25 Lapsed in a contracting state [announced via postgrant information from national office to epo]

Ref country code: AT

Free format text: LAPSE BECAUSE OF FAILURE TO SUBMIT A TRANSLATION OF THE DESCRIPTION OR TO PAY THE FEE WITHIN THE PRESCRIBED TIME-LIMIT

Effective date: 20190313

Ref country code: IS

Free format text: LAPSE BECAUSE OF FAILURE TO SUBMIT A TRANSLATION OF THE DESCRIPTION OR TO PAY THE FEE WITHIN THE PRESCRIBED TIME-LIMIT

Effective date: 20190713

PLBE No opposition filed within time limit

Free format text: ORIGINAL CODE: 0009261

STAA Information on the status of an ep patent application or granted ep patent

Free format text: STATUS: NO OPPOSITION FILED WITHIN TIME LIMIT

PG25 Lapsed in a contracting state [announced via postgrant information from national office to epo]

Ref country code: DK

Free format text: LAPSE BECAUSE OF FAILURE TO SUBMIT A TRANSLATION OF THE DESCRIPTION OR TO PAY THE FEE WITHIN THE PRESCRIBED TIME-LIMIT

Effective date: 20190313

26N No opposition filed

Effective date: 20191216

PG25 Lapsed in a contracting state [announced via postgrant information from national office to epo]

Ref country code: SI

Free format text: LAPSE BECAUSE OF FAILURE TO SUBMIT A TRANSLATION OF THE DESCRIPTION OR TO PAY THE FEE WITHIN THE PRESCRIBED TIME-LIMIT

Effective date: 20190313

PG25 Lapsed in a contracting state [announced via postgrant information from national office to epo]

Ref country code: TR

Free format text: LAPSE BECAUSE OF FAILURE TO SUBMIT A TRANSLATION OF THE DESCRIPTION OR TO PAY THE FEE WITHIN THE PRESCRIBED TIME-LIMIT

Effective date: 20190313

PG25 Lapsed in a contracting state [announced via postgrant information from national office to epo]

Ref country code: MC

Free format text: LAPSE BECAUSE OF FAILURE TO SUBMIT A TRANSLATION OF THE DESCRIPTION OR TO PAY THE FEE WITHIN THE PRESCRIBED TIME-LIMIT

Effective date: 20190313

REG Reference to a national code

Ref country code: CH

Ref legal event code: PL

GBPC Gb: european patent ceased through non-payment of renewal fee

Effective date: 20200123

REG Reference to a national code

Ref country code: BE

Ref legal event code: MM

Effective date: 20200131

PG25 Lapsed in a contracting state [announced via postgrant information from national office to epo]

Ref country code: LU

Free format text: LAPSE BECAUSE OF NON-PAYMENT OF DUE FEES

Effective date: 20200123

Ref country code: GB

Free format text: LAPSE BECAUSE OF NON-PAYMENT OF DUE FEES

Effective date: 20200123

PG25 Lapsed in a contracting state [announced via postgrant information from national office to epo]

Ref country code: LI

Free format text: LAPSE BECAUSE OF NON-PAYMENT OF DUE FEES

Effective date: 20200131

Ref country code: CH

Free format text: LAPSE BECAUSE OF NON-PAYMENT OF DUE FEES

Effective date: 20200131

Ref country code: BE

Free format text: LAPSE BECAUSE OF NON-PAYMENT OF DUE FEES

Effective date: 20200131

PG25 Lapsed in a contracting state [announced via postgrant information from national office to epo]

Ref country code: IE

Free format text: LAPSE BECAUSE OF NON-PAYMENT OF DUE FEES

Effective date: 20200123

PGFP Annual fee paid to national office [announced via postgrant information from national office to epo]

Ref country code: FR

Payment date: 20210120

Year of fee payment: 8

Ref country code: IT

Payment date: 20210129

Year of fee payment: 8

PGFP Annual fee paid to national office [announced via postgrant information from national office to epo]

Ref country code: DE

Payment date: 20210323

Year of fee payment: 8

PG25 Lapsed in a contracting state [announced via postgrant information from national office to epo]

Ref country code: MT

Free format text: LAPSE BECAUSE OF FAILURE TO SUBMIT A TRANSLATION OF THE DESCRIPTION OR TO PAY THE FEE WITHIN THE PRESCRIBED TIME-LIMIT

Effective date: 20190313

Ref country code: CY

Free format text: LAPSE BECAUSE OF FAILURE TO SUBMIT A TRANSLATION OF THE DESCRIPTION OR TO PAY THE FEE WITHIN THE PRESCRIBED TIME-LIMIT

Effective date: 20190313

PG25 Lapsed in a contracting state [announced via postgrant information from national office to epo]

Ref country code: MK

Free format text: LAPSE BECAUSE OF FAILURE TO SUBMIT A TRANSLATION OF THE DESCRIPTION OR TO PAY THE FEE WITHIN THE PRESCRIBED TIME-LIMIT

Effective date: 20190313

REG Reference to a national code

Ref country code: DE

Ref legal event code: R119

Ref document number: 602014042663

Country of ref document: DE

PG25 Lapsed in a contracting state [announced via postgrant information from national office to epo]

Ref country code: DE

Free format text: LAPSE BECAUSE OF NON-PAYMENT OF DUE FEES

Effective date: 20220802

PG25 Lapsed in a contracting state [announced via postgrant information from national office to epo]

Ref country code: FR

Free format text: LAPSE BECAUSE OF NON-PAYMENT OF DUE FEES

Effective date: 20220131

PG25 Lapsed in a contracting state [announced via postgrant information from national office to epo]

Ref country code: IT

Free format text: LAPSE BECAUSE OF NON-PAYMENT OF DUE FEES

Effective date: 20220123