EP2591699A1 - Haarpflege- oder -stylinggerät sowie Verfahren zum Betreiben eines solchen Gerätes - Google Patents
Haarpflege- oder -stylinggerät sowie Verfahren zum Betreiben eines solchen Gerätes Download PDFInfo
- Publication number
- EP2591699A1 EP2591699A1 EP12191397.4A EP12191397A EP2591699A1 EP 2591699 A1 EP2591699 A1 EP 2591699A1 EP 12191397 A EP12191397 A EP 12191397A EP 2591699 A1 EP2591699 A1 EP 2591699A1
- Authority
- EP
- European Patent Office
- Prior art keywords
- forming
- hot air
- arms
- hair
- hair care
- Prior art date
- Legal status (The legal status is an assumption and is not a legal conclusion. Google has not performed a legal analysis and makes no representation as to the accuracy of the status listed.)
- Withdrawn
Links
- 238000000034 method Methods 0.000 title claims description 10
- 238000010438 heat treatment Methods 0.000 claims abstract description 62
- 238000000465 moulding Methods 0.000 claims description 17
- 238000007493 shaping process Methods 0.000 claims description 11
- 230000000295 complement effect Effects 0.000 claims description 5
- 229910052782 aluminium Inorganic materials 0.000 abstract description 17
- XAGFODPZIPBFFR-UHFFFAOYSA-N aluminium Chemical compound [Al] XAGFODPZIPBFFR-UHFFFAOYSA-N 0.000 abstract description 17
- 230000008878 coupling Effects 0.000 description 4
- 238000010168 coupling process Methods 0.000 description 4
- 238000005859 coupling reaction Methods 0.000 description 4
- 230000008569 process Effects 0.000 description 2
- 210000001520 comb Anatomy 0.000 description 1
- 230000007423 decrease Effects 0.000 description 1
- 238000007599 discharging Methods 0.000 description 1
- 238000005485 electric heating Methods 0.000 description 1
- 239000003205 fragrance Substances 0.000 description 1
- 150000002500 ions Chemical class 0.000 description 1
- 235000000396 iron Nutrition 0.000 description 1
- 230000007246 mechanism Effects 0.000 description 1
- 229910052751 metal Inorganic materials 0.000 description 1
- 239000002184 metal Substances 0.000 description 1
- 230000008092 positive effect Effects 0.000 description 1
- 230000009467 reduction Effects 0.000 description 1
- 230000004044 response Effects 0.000 description 1
- 239000000126 substance Substances 0.000 description 1
Images
Classifications
-
- A—HUMAN NECESSITIES
- A45—HAND OR TRAVELLING ARTICLES
- A45D—HAIRDRESSING OR SHAVING EQUIPMENT; EQUIPMENT FOR COSMETICS OR COSMETIC TREATMENTS, e.g. FOR MANICURING OR PEDICURING
- A45D20/00—Hair drying devices; Accessories therefor
- A45D20/48—Hair-drying combs or hair-drying brushes, with internal heating means
- A45D20/50—Hair-drying combs or hair-drying brushes, with internal heating means and provision for an air stream
-
- A—HUMAN NECESSITIES
- A45—HAND OR TRAVELLING ARTICLES
- A45D—HAIRDRESSING OR SHAVING EQUIPMENT; EQUIPMENT FOR COSMETICS OR COSMETIC TREATMENTS, e.g. FOR MANICURING OR PEDICURING
- A45D1/00—Curling-tongs, i.e. tongs for use when hot; Curling-irons, i.e. irons for use when hot; Accessories therefor
- A45D1/28—Curling-tongs, i.e. tongs for use when hot; Curling-irons, i.e. irons for use when hot; Accessories therefor with means for controlling or indicating the temperature
-
- A—HUMAN NECESSITIES
- A45—HAND OR TRAVELLING ARTICLES
- A45D—HAIRDRESSING OR SHAVING EQUIPMENT; EQUIPMENT FOR COSMETICS OR COSMETIC TREATMENTS, e.g. FOR MANICURING OR PEDICURING
- A45D20/00—Hair drying devices; Accessories therefor
- A45D20/04—Hot-air producers
- A45D20/08—Hot-air producers heated electrically
- A45D20/10—Hand-held drying devices, e.g. air douches
- A45D20/12—Details thereof or accessories therefor, e.g. nozzles, stands
Definitions
- the invention relates to a hair care or -styling réelle with two hinged to each other, pliers-like mutually adjustable arms whose facing tops each have a complementary shape surface for forming a located between the mold surfaces hair styling gap, opened and closed by the articulated arrangement of the arms of the hair styling gap can be, and which arms each have a flow channel for passing a hot air flow, wherein the forming surface of each arm forming member is arranged such that a guided through the flow channel of this arm warm air stream for the purpose of heating the molding surface at the back of the mold surface flows along forming component along.
- the invention furthermore relates to a method for operating a hair care or styling device which has at least one molded part which comes into contact with a strand of hair to be shaped, and wherein a hot air flow is generated for heating the molded part, the latter being heated thereat for heating the molded part. or passed through it.
- a hot air flow generating hand device For shaping hair different hair styling devices or a hand-held, a hot air flow generating hand device (a so-called Airstyler) are used with different hair styli.
- a hot air flow generating hand device For straightening or curling hair hair styling attachments are used, which have two articulated to each other in the manner of a pair of pliers adjustable arms. Between the mutually facing sides of these arms there is provided for receiving the hair to be formed Haarformspalt. The mutually facing sides of the arms each have a molding surface. This is just designed in a so-called Straightener trained hair styling essay.
- hair styling articles whose form surfaces are curled to create curls.
- the molding surfaces of the two arms are designed to be complementary in terms of their shape.
- Hair-shaping attachments with two movable arms are typically perfused with air.
- a device is assumed below. With the provided by the air flow generating device and flowing into the essay hot air flow, the heat required for the hair-shaping process is transported to the hair. For this reason, at least one of the two arms has a flow channel for transporting the air flow provided by the blower of the device, said flow channel discharging into air outlet openings of the molding surface of this arm to supply the air to the area of the molding surface of the hair to be formed. At the same time the mostly moist hair to be formed is dried by the supply of air.
- the hot air flow generated flows through the flow channel of each arm and flows past the rear side of the component forming the mold surface.
- Such a component is typically a metal plate, for example an aluminum plate. The hot air stream flowing past the rear side heats it up.
- At a suitable location for example in the region of the free end, there are one or more outlet openings from which the air flow can escape.
- the hair forming surfaces forming components are heated by an electric heating element. These are directly connected to the back of the forming the forming surface component. Although it is avoided in such a heating of the mold surfaces bearing components that the molding surfaces have different temperatures.
- such devices can not be used as an attachment together with about an Airstyler. Is known such a hair styling device JP 2004-267787 A ,
- the invention is therefore based on the object, a hair care or styling device mentioned at the outset or a method for operating such a device in such a way that not only a uniformity in the heating of the mold surface is possible, but that Moreover, the noise of such a device can be reduced without loss of heat input.
- the method-related object is achieved according to the invention by a method having the features of claim 8.
- this hair care or -styling réelle there is a heating of the molded part, ie: the mold surface or of the mold surface forming or supporting component of at least one arm both by a stream of hot air and by a PTC heating element.
- a heating of the molded part ie: the mold surface or of the mold surface forming or supporting component of at least one arm both by a stream of hot air and by a PTC heating element.
- temperature fluctuations in the air flow flowing through this arm or fluctuations in the heat input for example due to changing flow rates self-regulating by the PTC heating element be compensated.
- such a hair care or - styling device is typically designed so that is heated by the hot air flow, the mold surface of these supporting components to the intended temperature.
- the PTC heating element is designed in such a configuration such that it does not produce heat when the component to which the PTC heating element is connected, is at the intended temperature level.
- the PTC heating element shows a correspondingly higher power consumption and accordingly provides more heat available. Due to the measure described above, such hair care or styling devices with articulated arms can have a different volume without having to accept losses in the heating performance.
- heat sources - hot air flow and PTC heating element - to use for heating the mold surfaces bearing components. Heating the mold surfaces to operating temperature then takes place particularly quickly.
- the particular combination of the two above-described heat sources can also be used to heat by means of the hot air flow, the mold surfaces to a first temperature level, typically a temperature level at which a first hair treatment can be performed. If a different hair treatment is provided, which is to be carried out at a higher temperature, this or the additional heating elements can be used. Due to their positive temperature coefficient, these will not be activated if the mold surfaces are to have a temperature according to the first temperature level. However, these additional electrical heating elements can be used for preheating the molding surfaces, which then remain switched on only for a first heating phase. Also possible is an embodiment in which the components forming the mold surfaces have at least two with different positive temperature coefficients equipped heating elements are connected. It is then possible to activate one or the other heating element, depending on which temperature level the mold surfaces are to be heated.
- the components forming the mold surface are each equipped with at least one such PTC heating element by the two arms.
- the provision of a mixed heat, a proportion of hot air flow and a heat share of the PTC heating element can be carried out with these devices. Due to the self-regulating properties of these heating elements, the hair shaping surfaces have a very constant constant temperature.
- the hot air flow compared to prior art devices can be reduced, which has a positive effect on a reduction in operating noise.
- Such a hair care or styling device may be an integral part of a hot air flow providing device. According to another embodiment, it is provided that the hair care or styling device is designed as an attachment in order to be able to be connected to a hot air flow providing device, such as an Airstyler.
- the hot air flow can be used not only for heating a forming the forming surface component. Rather, it is also possible to bring this into the hair to be cared for or to be formed in order to dry the hair at the same time as the molding process.
- the forming the forming surface component typically has openings through which passes the flow of hot air through the component to the hair to be formed or to be cared for.
- the hot air flow can be used to bring this as a carrier for additional, a hair shaping or hair care supporting substances in the hair. These may be fragrances or conditioners.
- the air flow can also be used to transport ions emitted by an ionizing electrode into the hair to be formed and in this way to support the hair-shaping process.
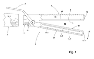
- FIG. 1 shows a schematic longitudinal section of a so-called Straightener 1 as an example of a hair care or styling device.
- the Straightener 1 of the illustrated embodiment is designed as an essay, so that it can be connected to a hot air flow providing device - an Air Styler 2 -.
- the Straightener 1 has a coupling portion 3 which can be inserted into the front opening 4 of the Airstylers and locked therein.
- a lock can be done for example in the manner of a plug-in rotary locking (bayonet lock).
- the Straightener 1 is shown at a distance from the Airstyler 2.
- the Straightener itself comprises two arms 5, 5.1 which are hinged together in the manner of a pair of pliers.
- the axis of rotation of the two arms 5, 5.1 against each other is indicated by the reference numeral 6.
- the two arms 5, 5.1 have a different size and thus a different volume.
- an operating bracket 7 is arranged, with which the arm 5.1 can be moved about the axis of rotation 6 relative to the arm 5 in the manner of a pair of scissors.
- the operating bracket 7 is on the in FIG. 1 unrecognizable back of the straightener in turn returned to the axis of rotation 6.
- Both arms 5, 5.1 have an aluminum plate 8, 8.1.
- the aluminum plates 8, 8.1 are arranged on the mutually facing sides of the two arms 5, 5.1.
- the mutually facing surfaces 9, 9.1 of the aluminum plates 8, 8.1 form the forming surfaces in the Straightener 1.
- the aluminum plates 8, 8.1 form those components of the straightener 1, which form or bear the forming surfaces 9 and 9.1, respectively.
- the arms 5, 5.1 are hollow and each have a flow channel 11, 11.1.
- the back of the aluminum plates 8, 8.1 each forms a boundary of the flow channel 11 and 11.1.
- a stream of hot air flowing through the flow channel 11 or 11.1 flows past the rear side of the aluminum plates 8 or 8.1, as a result of which they are heated.
- the mouth may also be individual bores, typically arranged in the manner of a grid.
- a PTC heating element 13, 13.1 is arranged, typically glued, on the rear side of each aluminum plate 8, 8.1 protruding into the flow channel 11 or 11.1. Heat generated by the respective PTC heating element 13, 13.1 is thus introduced into the respective aluminum plate 8 or 8.1, which in turn heats the respective forming surface 9 or 9.1.
- the PTC heating elements 13, 13.1 extend only over a fraction of the surface of the rear side of the aluminum plates 8, 8.1.
- complementary connector parts 14, 14.1 which in a placement of the tower designed as a straightener 1 on the Airstyler 2 are engaged with each other. Of the connector parts 14, 14.1 only one of several is shown in each case. For the sake of simplicity, in FIG. 1 also the electrical connection lines are not drawn.
- the rear side of the aluminum plates 8, 8.1 is structured as the respective mold surface 9 or 9.1 bearing component, for example by ribs formed thereon.
- the heat-receiving surface of the components 8, 8.1 is increased.
- PTC heating elements can be arranged in one or more of the channels located between the ribs.
- a stream of hot air provided by the air styler 2 is introduced into the coupling section 3 and from there into the flow channels 11, 11.1 of the arms 5, 5.1.
- energization of the heating device and of the fan of the air styler 2 takes place simultaneously with energization of the PTC heating elements 13, 13.1.
- spontaneously flows a stream of hot air through the flow channels 11, 11.1.
- it would take some time until the aluminum plates 8, 8.1 are heated to the extent that their mold surfaces 9, 9.1 have reached the intended mold temperature, if not further measures would be taken, as this case he is the case.
- the PTC heating elements produce a lot of heat due to their positive temperature coefficient just when the straightener 1 is put into operation, the warm-up process is not shortened significantly.
- the mold surfaces 9, 9.1 are already after a few seconds after a start-up of the straightener 1 to operating temperature.
- the Straightener 1 of the illustrated embodiment is designed so that the aluminum plates 8, 8.1 and their mold surfaces 9, 9.1 are heated both by the hot air flow and by the PTC heating elements 13 and 13.1. For this reason, the Airstyler 2 or the fan integrated therein can be operated at a relatively low speed, so that the straightener 1 is considerably reduced in noise compared with previously known straighteners, which use a stream of hot air for heating the shaping surfaces.
Landscapes
- Cleaning And Drying Hair (AREA)
- Hair Curling (AREA)
- Brushes (AREA)
Abstract
Description
- Die Erfindung betrifft ein Haarpflege- oder -stylinggerät mit zwei gelenkig zueinander angeordneten, zangenartig gegeneinander verstellbaren Armen, deren zueinander weisende Oberseiten jeweils eine komplementäre Formfläche zum Ausbilden eines zwischen den Formflächen befindlichen Haarformspaltes aufweisen, wobei durch die gelenkige Anordnung der Arme der Haarformspalt geöffnet und geschlossen werden kann, und welche Arme jeweils über einen Strömungskanal zum Durchleiten eines Warmluftstroms verfügen, wobei das die Formfläche eines jeden Armes bildende Bauteil dergestalt angeordnet ist, dass ein durch den Strömungskanal dieses Armes geleiteter Warmluftstrom zum Zwecke einer Erwärmung der Formfläche an der Rückseite des die Formfläche bildenden Bauteils entlang strömt.
- Die Erfindung betrifft des Weiteren ein Verfahren zum Betreiben eines Haarpflege- oder -stylinggerätes, welches zumindest ein in Kontakt mit einer zu formenden Haarsträhne gelangendes Formteil aufweist und wobei zum Erwärmen des Formteils ein Warmluftstrom generiert wird, der zum Erwärmen des Formteils an diesem vorbei und/oder durch dieses hindurch geleitet wird.
- Zum Formen von Haar werden unterschiedliche Haarformgeräte oder ein handgehaltenes, einen Warmluftstrom erzeugendes Handgerät (ein sogenannter Airstyler) mit unterschiedlichen Haarformaufsätzen verwendet. Zum Glätten oder Locken von Haar werden Haarformaufsätze verwendet, die über zwei gelenkig zueinander nach Art einer Zange verstellbare Arme aufweisen. Zwischen den zueinander weisenden Seiten dieser Arme befindet sich ein zur Aufnahme des zu formenden Haares vorgesehener Haarformspalt. Die zueinander weisenden Seiten der Arme tragen jeweils eine Formfläche. Diese ist bei einem als so genannter Straightener ausgebildeten Haarformaufsatz eben konzipiert. Es sind auch Haarformaufsätze bekannt, deren Formflächen zum Erstellen von Locken gewellt sind. Die Formflächen der beiden Arme sind hinsichtlich ihrer Formgebung komplementär konzipiert.
- Haarformaufsätze mit zwei bewegbaren Armen sind typischerweise luftdurchströmt. Von einem solchen Gerät wird im Folgenden ausgegangen. Mit dem von dem den Luftstrom erzeugenden Gerät bereitgestellten und in den Aufsatz einströmenden Warmluftstrom wird die für den Haarformprozess benötigte Wärme zu den Haaren transportiert. Aus diesem Grunde weist zumindest einer der beiden Arme einen Strömungskanal zum Transportieren des von dem Gebläse des Gerätes bereitgestellten Luftstroms auf, wobei dieser Strömungskanal in Luftaustrittsöffnungen der Formfläche dieses Armes mündet, um die Luft dem Bereich der Formfläche dem zu formenden Haar zuzuführen. Gleichzeitig wird durch die Zuführung der Luft das zumeist feuchte zu formende Haar getrocknet. Gemäß einer anderen Ausgestaltung durchströmt der erzeugte Warmluftstrom den Strömungskanal eines jeden Armes und strömt an der Rückseite des die Formfläche bildenden Bauteils vorbei. Bei einem solchen Bauteil handelt es sich typischerweise um eine Metallplatte, beispielsweise eine Aluminiumplatte. Durch den an der Rückseite vorbeiströmenden Warmluftstrom wird diese erwärmt. An geeigneter Stelle, beispielsweise im Bereich des freien Endes befinden sich eine oder mehrere Austrittsöffnungen, aus denen der Luftstrom austreten kann.
- Je nach Konzeption der Formflächen wird mitunter ein nicht unbeträchtlicher Wärmeeintrag benötigt. Dieses wiederum bedingt, dass das Warmluftgebläse eines solchen Gerätes oder eines Airstylers, an das ein solches Gerät als Aufsatz angeschlossen ist, dann oftmals unter Volllast arbeiten muss. Für das Gerät ist dieses prinzipiell unproblematisch, da dieses hierfür ausgelegt ist. Mitunter wird jedoch die damit einhergehende Geräuschentwicklung als störend empfunden.
- Für die Zwecke einer bestimmungsgemäßen Haarformung ist ein gewisser Temperatureintrag in das Haar erforderlich. Bei einem an einen Airstyler angeschlossenen Straightener kann es jedoch vorkommen, dass je nach seiner Handhabung in die beiden Arme ungleiche Anteile des Warmluftstromes und damit eine unterschiedliche Wärmemenge eingebracht wird. Die Folge ist, dass dann die beiden den Haarformspalt einfassenden Formflächen eine unterschiedliche Temperatur aufweisen können. Dieses ist unerwünscht.
- Neben den vorbeschriebenen Haarformaufsätzen sind auch Straightener bekannt, deren die Haarformflächen bildenden Bauteile durch ein elektrisches Heizelement erwärmt werden. Diese sind unmittelbar angeschlossen an die Rückseite des die Formfläche bildenden Bauteils. Zwar ist bei einer solchen Beheizung der die Formflächen tragenden Bauteile vermieden, dass die Formflächen unterschiedliche Temperaturen aufweisen. Derartige Geräte können jedoch nicht als Aufsatz zusammen mit etwa einem Airstyler eingesetzt werden. Bekannt ist ein solches Haarformgerät aus
.JP 2004-267787 A - Ausgehend von diesem diskutierten Stand der Technik liegt der Erfindung daher die Aufgabe zugrunde, ein eingangs genanntes Haarpflege- oder -stylinggerät bzw. ein Verfahren zum Betreiben eines solchen Gerätes dergestalt weiterzubilden, dass nicht nur eine Gleichmäßigkeit in der Erwärmung der Formfläche möglich ist, sondern dass zudem ohne Einbuße an einen Wärmeeintrag die Geräuschentwicklung eines solchen Gerätes reduziert werden kann.
- Diese Aufgabe wird erfindungsgemäß durch ein eingangs genanntes, gattungsgemäßes Haarpflege- oder -stylinggerät gelöst, bei dem in einer Wärme übertragenden Anordnung an das die Formfläche bildende Bauteil zumindest eines Armes wenigstens ein selbstregulierendes Heizelement mit positivem Temperaturkoeffizienten - ein PTC-Heizelement - als weitere Heizeinrichtung zum Zuführen von Wärme an die Formflächen angeschlossen ist.
- Gelöst wird die verfahrensbezogene Aufgabe erfindungsgemäß durch ein Verfahren mit den Merkmalen des Anspruchs 8.
- Bei diesem Haarpflege- oder -stylinggerät erfolgt eine Erwärmung des Formteils, also: der Formfläche bzw. des die Formfläche bildenden bzw. tragenden Bauteils zumindest eines Armes sowohl durch einen Warmluftstrom als auch durch ein PTC-Heizelement. Somit können Temperaturschwankungen in dem diesen Arm durchströmenden Luftstrom bzw. Schwankungen in dem Wärmeeintrag, beispielsweise infolge wechselnder Strömungsgeschwindigkeiten selbstregulierend durch das PTC-Heizelement ausgeglichen werden. Dabei ist ein solches Haarpflege- oder - stylinggerät typischerweise so ausgelegt, dass durch den Warmluftstrom die Formfläche der diese tragenden Bauteile auf die bestimmungsgemäße Temperatur erwärmt wird. Vorzugsweise ist das PTC-Heizelement bei einer solchen Ausgestaltung derart ausgelegt, dass dieses keine Wärme produziert, wenn das Bauteil, an das das PTC-Heizelement angeschlossen ist, sich auf dem bestimmungsgemäßen Temperaturniveau befindet. Sinkt die Temperatur des die Formfläche bildenden Bauteils ab, wird die durch den Luftstrom nicht bereitgestellte Wärme durch das PTC-Heizelement aufgrund seines positiven Temperaturkoeffizienten bereitgestellt. Dabei versteht es sich, dass je größer die Differenz zwischen der Soll-Temperatur und der Ist-Temperatur des Bauteils ist, das PTC-Heizelement eine entsprechend höhere Leistungsaufnahme zeigt und dementsprechend mehr Wärme zur Verfügung stellt. Aufgrund der vorbeschriebenen Maßnahme können bei solchen Haarpflege- oder -stylinggeräten mit gelenkig aneinander angeschlossenen Armen diese ein unterschiedliches Volumen aufweisen, ohne Einbußen in der Beheizungsperformance hinnehmen zu müssen.
- Bei einer Inbetriebnahme eines solchen Gerätes wird man typischerweise beide Wärmequellen - Warmluftstrom und PTC-Heizelement - zur Erwärmung der die Formflächen tragenden Bauteile nutzen. Ein Erwärmen der Formflächen auf Betriebstemperatur vollzieht sich sodann besonders rasch. Die besondere Kombination der beiden vorbeschriebenen Wärmequellen kann auch genutzt werden, um mittels des Warmluftstroms die Formflächen auf ein erstes Temperaturniveau zu erwärmen, typischerweise ein Temperaturniveau, auf dem eine erste Haarbehandlung durchgeführt werden kann. Ist eine andere Haarbehandlung vorgesehen, die bei einer höheren Temperatur ausgeführt werden soll, können hierfür das oder die zusätzlichen Heizelemente genutzt werden. Aufgrund ihres positiven Temperaturkoeffizienten wird man diese, wenn die Formflächen eine Temperatur gemäß dem ersten Temperaturniveau aufweisen sollen, nicht aktivieren. Gleichwohl können diese zusätzlichen elektrischen Heizelemente für eine Vorerwärmung der Formflächen genutzt werden, wobei diese sodann nur für eine erste Erwärmungsphase eingeschaltet bleiben. Möglich ist auch eine Ausgestaltung, bei der an die die Formflächen bildenden Bauteile zumindest zwei mit unterschiedlichem positivem Temperaturkoeffizienten ausgerüstete Heizelemente angeschlossen sind. Es ist dann möglich, das eine oder andere Heizelement zu aktivieren, je nach dem auf welches Temperaturniveau die Formflächen erwärmt werden sollen.
- Bei einer Ausgestaltung, bei der bei einem Betrieb des Gerätes beide Wärmequellen - Warmluftstrom und das oder die elektrischen Heizelemente - aktiviert sind, wird infolge des raschen Ansprechverhaltens eines solchen PTC-Heizelementes die von diesem beheizte Formfläche unverzüglich auch dann nachgeheizt, wenn eine auf Umgebungstemperatur befindliche Haarsträhne in den Haarformspalt eingelegt worden ist und diese Wärme aus dem die Formfläche bildenden Bauteil abgezogen hat. Insofern ist der Wärmefluss von einer solchermaßen zusätzlich beheizten Formfläche in das zu pflegende oder zu formende Haar nicht unerheblich verbessert.
- An dieser Stelle ist herauszustellen, dass begründet durch den positiven Temperaturkoeffizienten für die Steuerung eines solchen Heizelementes grundsätzlich keine zusätzlichen Maßnahmen ergriffen werden müssen.
- In einem besonderen Ausführungsbeispiel ist vorgesehen, dass die die Formfläche bildenden Bauteile von beiden Armen jeweils mit zumindest einem solchen PTC-Heizelement ausgerüstet sind. Bei diesen Geräten kann prinzipiell die Bereitstellung einer Mischwärme, aus einem Warmluftstromanteil und einem Wärmeanteil des PTC-Heizelementes vorgenommen werden. In Folge der selbstregulierenden Eigenschaften dieser Heizelemente weisen die Haarformflächen eine sehr konstante gleich bleibende Temperatur auf. Zudem kann die Warmluftfördermenge gegenüber vorbekannten Geräten reduziert werden, was sich positiv auf eine Reduzierung der Betriebsgeräusche auswirkt.
- Ein solches Haarpflege- oder -stylinggerät kann integraler Bestandteil eines einen Warmluftstrom bereitstellenden Gerätes sein. Gemäß einer anderen Ausgestaltung ist vorgesehen, dass das Haarpflege- oder -stylinggerät als Aufsatz konzipiert ist, um an ein einen Warmluftstrom bereitstellendes Gerät, etwa einen Airstyler angeschlossen werden zu können.
- Aus dem vorbeschriebenen Konzept wird deutlich, dass durch das geschickte Kombinieren unterschiedlicher Heizmechanismen ein Haarpflege - oder -stylinggerät geschaffen worden ist, welches gegenüber vorbekannten Geräten nicht unerhebliche Vorteile aufweist. Schließlich kann bei einem solchen Gerät der Warmluftstrom nicht nur zum Erwärmen eines die Formfläche bildenden Bauteils genutzt werden. Vielmehr besteht auch die Möglichkeit, diesen in das zu pflegende oder zu formende Haar einzubringen um mit dem Formprozess gleichzeitig das Haar zu trocknen. Bei einer solchen Ausgestaltung weist das die Formfläche bildende Bauteil typischerweise Durchbrechungen auf, durch die der Warmluftstrom durch das Bauteil hindurch an das zu formende oder zu pflegende Haar gelangt. Auch kann der Warmluftstrom genutzt werden, um diesen als Träger für zusätzliche, eine Haarformung oder eine Haarpflege unterstützende Stoffe in das Haar einzubringen. Hierbei kann es sich um Duft- oder Pflegestoffe handeln. Auch kann der Luftstrom genutzt werden, um mit diesem von einer lonisierungselektrode abgegebene Ionen in das zu formende Haar zu transportieren und auf diese Weise den Haarformprozess zu unterstützen.
- Nachfolgend ist die Erfindung anhand eines Ausführungsbeispieles unter Bezugnahme auf die beigefügte
Figur 1 beschrieben.Figur 1 zeigt in einer schematisierten Längsschnittdarstellung einen so genannten Straightener 1 als Beispiel eines Haarpflege- oder -stylinggerätes. Der Straightener 1 des dargestellten Ausführungsbeispiels ist als Aufsatz konzipiert, damit dieser an einen einen Warmluftstrom bereitstellendes Gerät - einen Airstyler 2 - angeschlossen werden kann. Zu diesem Zweck verfügt der Straightener 1 über einen Kupplungsabschnitt 3, der in die vordere Mündung 4 des Airstylers eingesetzt und darin verriegelt werden kann. Eine Verriegelung kann beispielsweise nach Art einer Steck-Dreh-Verriegelung (Bajonett-Verriegelung) erfolgen. InFigur 1 ist der Straightener 1 mit Abstand zu dem Airstyler 2 gezeigt. - Der Straightener selbst umfasst zwei Arme 5, 5.1 die gelenkig nach Art einer Zange aneinander angeschlossen sind. Die Drehachse der beiden Arme 5, 5.1 gegeneinander ist mit dem Bezugszeichen 6 gekennzeichnet. Die beiden Arme 5, 5.1 weisen eine unterschiedliche Größe und damit ein unterschiedliches Volumen auf. Bei dem dargestellten Ausführungsbeispiel trägt der Arm 5 den Kupplungsabschnitt 3, weshalb der Arm 5.1 letztlich an dem Arm 5 angelenkt ist. An den Arm 5.1 ist ein Betätigungsbügel 7 angeordnet, mit dem der Arm 5.1 um die Drehachse 6 gegenüber dem Arm 5 nach Art einer Schere bewegt werden kann. Der Betätigungsbügel 7 ist auf der in
Figur 1 nicht erkennbaren Rückseite des Straighteners wiederum zu der Drehachse 6 zurückgeführt. - Beide Arme 5, 5.1 verfügen über eine Aluminiumplatte 8, 8.1. Die Aluminiumplatten 8, 8.1 sind an den zueinander weisenden Seiten der beiden Arme 5, 5.1 angeordnet. Die zueinander weisenden Oberflächen 9, 9.1 der Aluminiumplatten 8, 8.1 bilden bei dem Straightener 1 die Formflächen. Zwischen den Formflächen 9, 9.1 befindet sich ein Haarformspalt 10. Insofern bilden die Aluminiumplatten 8, 8.1 diejenigen Bauteile des Straighteners 1, die die Formflächen 9 bzw. 9.1 bilden bzw. tragen.
- Die Arme 5, 5.1 sind hohl und verfügen jeweils über einen Strömungskanal 11, 11.1. Die Rückseite der Aluminiumplatten 8, 8.1 bildet jeweils eine Begrenzung des Strömungskanals 11 bzw. 11.1. Bei einem Betrieb des Airstylers 2 mit aufgesetztem Straightener 1 strömt ein durch den Strömungskanal 11 bzw. 11.1 strömender Warmluftstrom an der Rückseite der Aluminiumplatten 8 bzw. 8.1 vorbei, wodurch diese erwärmt werden. Im Bereich des freien Endes der Arme 5, 5.1 befindet sich jeweils eine Mündung 12, 12.1 aus der der durch den jeweiligen Strömungskanal 11 bzw. 11.1 geleitete Warmluftstrom austritt. Bei der Mündung kann es sich auch um einzelne Bohrungen, typischerweise nach Art eines Rasters angeordnet, handeln.
- Auf der in den Strömungskanal 11 bzw. 11.1 hineinragende Rückseite jeder Aluminiumplatte 8, 8.1 ist bei dem dargestellten Ausführungsbeispiel ein PTC-Heizelement 13, 13.1 angeordnet, typischerweise angeklebt. Von dem jeweiligen PTC-Heizelement 13, 13.1 generierte Wärme wird somit in die jeweilige Aluminiumplatte 8 bzw. 8.1 eingebracht, wodurch wiederum die jeweilige Formfläche 9 bzw. 9.1 erwärmt wird. Die PTC-Heizelemente 13, 13.1 erstrecken sich nur über einen Bruchteil der Oberfläche der Rückseite der Aluminiumplatten 8, 8.1. Zum elektrischen Anschließen der PTC-Heizelemente 13, 13.1 dienen komplementäre Steckverbinderteile 14, 14.1, die bei einem Aufsetzen des als Aufsatz konzipierten Straighteners 1 auf den Airstyler 2 miteinander in Eingriff gestellt werden. Von den Steckverbinderteilen 14, 14.1 ist jeweils nur einer von mehreren gezeigt. Der Einfachheit halber sind in
Figur 1 auch die elektrischen Anschlussleitungen nicht eingezeichnet. - Gemäß einer anderen Ausgestaltung ist die Rückseite der Aluminiumplatten 8, 8.1 als die jeweilige Formfläche 9 bzw. 9.1 tragendes Bauteil strukturiert, beispielsweise durch daran angeformte Rippen. Durch diese Maßnahme ist die Wärme empfangende Oberfläche der Bauteile 8, 8.1 vergrößert. Bei einer solchen Ausgestaltung können in ein oder mehrere der zwischen den Rippen befindlichen Kanäle PTC-Heizelemente angeordnet sein.
- In einem in der Figur nicht dargestellten Ausführungsbeispiel eines Straighteneraufsatzes, bei dem die beiden Arme eine unterschiedliche Strömungsquerschnittsfläche ihres Strömungskanals aufweisen, ist lediglich dem hinsichtlich seines Strömungsquerschnittes kleineren Arm ein PTC-Heizelement zugeordnet. Auch in einer solchen Ausgestaltung erweist sich die Stabilität des Heizsystems gegenüber vorbekannten Geräten als verbessert.
- Bei einem Betrieb des Straighteners 1 wird ein durch den Airstyler 2 bereitgestellter Warmluftstrom in den Kupplungsabschnitt 3 und von diesem in die Strömungskanäle 11, 11.1 der Arme 5, 5.1 eingeleitet. Typischerweise erfolgt eine Bestromung der Heizeinrichtung und des Lüfters des Airstylers 2 gleichzeitig mit einer Bestromung der PTC-Heizelemente 13, 13.1. Zwar strömt spontan sodann ein Warmluftstrom durch die Strömungskanäle 11, 11.1. Dennoch würde es eine gewisse Zeit dauern, bis die Aluminiumplatten 8, 8.1 soweit erwärmt sind, dass deren Formflächen 9, 9.1 die bestimmungsgemäße Formtemperatur erreicht haben, wenn nicht weitere Maßnahmen getroffen wären, wie diese vorliegend er Fall ist. Da bei dem beschriebenen Ausführungsbeispiel die PTC-Heizelemente aufgrund ihres positiven Temperaturkoeffizienten gerade bei einer Inbetriebnahme des Straighteners 1 viel Wärme produzieren, ist der Aufwärmvorgang nicht unerheblich verkürzt. Somit befinden sich die Formflächen 9, 9.1 bereits nach wenigen Sekunden nach einer Inbetriebnahme des Straighteners 1 auf Betriebstemperatur.
- Der Straightener 1 des dargestellten Ausführungsbeispiels ist konzipiert, dass die Aluminiumplatten 8, 8.1 bzw. deren Formflächen 9, 9.1 sowohl durch den Warmluftstrom als auch durch die PTC-Heizelemente 13 bzw. 13.1 erwärmt werden. Aus diesem Grund kann der Airstyler 2 bzw. der darin integrierte Lüfter mit relativ geringer Drehzahl betrieben werden, so dass der Straightener 1 gegenüber vorbekannten Straightenern, die für die Erwärmung der Formflächen einen Warmluftstrom verwenden, erheblich geräuschreduziert ist.
- Insofern ergänzen sich die beiden Wärmequellen - Warmluftstrom und PTC-Heizelement(e) - auf besondere Weise, vor allem dadurch, dass eine dieser Wärmequellen, namentlich das bzw. die PTC-Heizelemente selbstregulierend sind.
- Es versteht sich, dass bei einer solchen Ausgestaltung ein möglicher Temperaturabfall, wie dieser ansonsten bei herkömmlichen Geräten mit einem Warmluftstrom als Wärmequelle in den kleineren Armen zu beobachten ist, nicht eintritt.
- Die vorstehend anhand eines Ausführungsbeispiels beschriebene Erfindung lässt sich gleichermaßen bei allen weiteren Luft beheizten Geräten oder Aufsätzen realisieren, bei denen die Warmluft für die Zwecke einer Haarpflege oder -formung benutzt wird, wie beispielsweise bei luftdurchströmten Bürsten, Kämmen, rotierenden Bürsten oder Lockenstäben. Auch bei diesen Anwendungen ergeben sich dieselben Vorteile, wie diese zu dem Straightener des beschriebenen Ausführungsbeispieles erwähnt sind.
-
- 1
- Straightener
- 2
- Airstyler
- 3
- Kupplungsabschnitt
- 4
- Öffnung
- 5, 5.1
- Arm
- 6
- Drehachse
- 7
- Betätigungsbügel
- 8, 8.1
- Aluminiumplatte
- 9, 9.1
- Formfläche
- 10
- Haarformspalt
- 11, 11.1
- Strömungskanal
- 12, 12.1
- Mündung
- 13, 13.1
- PTC-Heizelement
- 14, 14.1
- Steckverbinderteil
Claims (10)
- Haarpflege- oder -stylinggerät mit zwei gelenkig zueinander angeordneten, zangenartig gegeneinander verstellbaren Armen (5, 5.1), deren zueinander weisende Oberseiten jeweils eine komplementäre Formfläche (9, 9.1) zum Ausbilden eines zwischen den Formflächen (9, 9.1) befindlichen Haarformspaltes (10) aufweisen, wobei durch die gelenkige Anordnung der Arme (5, 5.1) der Haarformspalt (10) geöffnet und geschlossen werden kann, und welche Arme (5, 5.1) jeweils über einen Strömungskanal (11, 11.1) zum Durchleiten eines Warmluftstroms verfügen, wobei das die Formfläche (9, 9.1) eines jeden Armes (5, 5.1) bildende Bauteil (8, 8.1) dergestalt angeordnet ist, dass ein durch den Strömungskanal (11, 11.1) dieses Armes (5, 5.1) geleiteter Warmluftstrom zum Zwecke einer Erwärmung der Formfläche (9, 9.1) an der Rückseite des die Formfläche (9, 9.1) bildenden Bauteils (8, 8.1) entlang strömt, dadurch gekennzeichnet, dass in einer Wärme übertragenden Anordnung an das die Formfläche (9, 9.1) bildende Bauteil (8, 8.1) zumindest eines Armes (5, 5.1) wenigstens ein selbstregulierendes Heizelement mit positivem Temperaturkoeffizienten - ein PTC-Heizelement (13, 13.1) - als weitere Heizeinrichtung zum Zuführen von Wärme an die Formflächen (9, 9.1) angeschlossen ist.
- Haarpflege- oder -stylinggerät nach Anspruch 1, dadurch gekennzeichnet, dass das Heizelement (13, 13.1) an die Rückseite des die Formfläche (9, 9.1) bildenden Bauteils (8, 8.1) angeklebt ist.
- Haarpflege- oder -stylinggerät nach Anspruch 1 oder 2, dadurch gekennzeichnet, dass die Arme (5, 5.1) des Gerätes ein unterschiedliches Volumen aufweisen und das Heizelement (13, 13.1) dem die Formfläche (9, 9.1) bildenden Bauteil (8, 8.1) des kleineren Armes (5.1) zugeordnet ist.
- Haarpflege- oder -stylinggerät nach einem der Ansprüche 1 bis 3, dadurch gekennzeichnet, dass die Formfläche (9, 9.1) bildende Bauteile (8, 8.1) beider Arme (5, 5.1) mit einem PTC-Heizelement (13, 13.1) ausgerüstet sind.
- Haarpflege- oder -stylinggerät nach einem der Ansprüche 1 bis 4, dadurch gekennzeichnet, dass die Strömungskanäle (11, 11.1) eine Mündung (12, 12.1) im Bereich der freien Enden der Arme (5, 5.1) aufweisen, aus denen der Warmluftstrom bei einer Benutzung des Gerätes ganz oder teilweise ausströmt.
- Haarpflege- oder -stylinggerät nach einem der Ansprüche 1 bis 5, dadurch gekennzeichnet, dass das Gerät Teil eines Warmluftstrom bereitstellenden Gerätes ist.
- Haarpflege- oder -stylinggerät nach einem der Ansprüche 1 bis 5, dadurch gekennzeichnet, dass das Gerät (1) als Aufsatz zum Anschließen desselben an ein einen Warmluftstrom bereitstellendes Gerät, etwa einen Airstyler (2) ausgeführt ist.
- Verfahren zum Betreiben eines Haarpflege- oder -stylinggerätes, welches zumindest ein in Kontakt mit einer zu formenden Haarsträhne gelangendes Formteil aufweist und wobei zum Erwärmen des Formteils ein Warmluftstrom generiert wird, der zum Erwärmen des Formteils an diesem vorbei und/oder durch dieses hindurch geleitet wird, dadurch gekennzeichnet, dass das Formteil in Abhängigkeit von einem Betrieb des Gerätes zusätzlich durch ein oder mehrere selbstregulierende Heizelemente erwärmt wird.
- Verfahren nach Anspruch 8, dadurch gekennzeichnet, dass für die Zwecke des Erwärmens des Formteils beide Wärmequellen gleichzeitig genutzt werden, wobei der Warmluftstrom auf eine Temperatur erwärmt wird, mit der das Formteil auf ein vorgegebenes Temperaturniveau erwärmt wird und die Schwankungen in der Temperatur des Formteils maßgeblich von dem zumindest einen weiteren elektrischen Heizelement ausgeglichen werden.
- Verfahren nach Anspruch 8, dadurch gekennzeichnet, dass für die Zwecke des Erwärmens des Formteils beide Wärmequellen gleichzeitig genutzt werden, wobei der Warmluftstrom auf eine Temperatur erwärmt wird, mit der das Formteil auf ein vorgegebenes Temperaturniveau erwärmt wird und zum Erzielen von Spitzentemperaturen das zumindest eine weitere Heizelement aktiviert wird.
Applications Claiming Priority (1)
| Application Number | Priority Date | Filing Date | Title |
|---|---|---|---|
| DE202011051906U DE202011051906U1 (de) | 2011-11-09 | 2011-11-09 | Haarpflege- oder -stylinggerät |
Publications (1)
| Publication Number | Publication Date |
|---|---|
| EP2591699A1 true EP2591699A1 (de) | 2013-05-15 |
Family
ID=47146233
Family Applications (1)
| Application Number | Title | Priority Date | Filing Date |
|---|---|---|---|
| EP12191397.4A Withdrawn EP2591699A1 (de) | 2011-11-09 | 2012-11-06 | Haarpflege- oder -stylinggerät sowie Verfahren zum Betreiben eines solchen Gerätes |
Country Status (5)
| Country | Link |
|---|---|
| US (1) | US20130112221A1 (de) |
| EP (1) | EP2591699A1 (de) |
| JP (1) | JP2013099531A (de) |
| CN (1) | CN103099418A (de) |
| DE (1) | DE202011051906U1 (de) |
Families Citing this family (11)
| Publication number | Priority date | Publication date | Assignee | Title |
|---|---|---|---|---|
| DE202013103275U1 (de) | 2013-07-22 | 2014-10-23 | Wik Far East Ltd. | Haarformgerät |
| US9855823B2 (en) * | 2013-09-03 | 2018-01-02 | Tesla, Inc. | HVAC system with positive temperature coefficient varying along length of heat rod |
| CN105455381B (zh) * | 2014-08-22 | 2019-08-20 | 建福实业有限公司 | 一种卷发器及其使用方法 |
| CN108348056A (zh) * | 2015-11-10 | 2018-07-31 | 皇家飞利浦有限公司 | 头发护理设备 |
| USD785866S1 (en) | 2016-04-21 | 2017-05-02 | Chaska French-Jackson | Hair iron |
| US20180140070A1 (en) * | 2016-11-21 | 2018-05-24 | Helen Of Troy Limited | Split Nozzle Hair Dryer |
| US11172744B2 (en) | 2016-11-30 | 2021-11-16 | Chaska French-Jackson | Hair iron |
| CN107041617A (zh) * | 2017-02-24 | 2017-08-15 | 安徽师范大学 | 带卷发功能的吹风机 |
| WO2024155914A1 (en) | 2023-01-19 | 2024-07-25 | Sharkninja Operating Llc | Hair care appliance with powered attachment |
| US20240245190A1 (en) | 2023-01-19 | 2024-07-25 | Sharkninja Operating Llc | Identification of hair care appliance attachments |
| GB2629383A (en) * | 2023-04-26 | 2024-10-30 | Dyson Technology Ltd | An attachment for a haircare appliance |
Citations (6)
| Publication number | Priority date | Publication date | Assignee | Title |
|---|---|---|---|---|
| JPS635707A (ja) * | 1986-06-25 | 1988-01-11 | 松下電工株式会社 | ヘア−ドライヤ |
| JP2003310339A (ja) * | 2002-04-24 | 2003-11-05 | Kyushu Hitachi Maxell Ltd | 髪処理装置 |
| JP2004267787A (ja) | 2004-04-19 | 2004-09-30 | Kyushu Hitachi Maxell Ltd | 髪処理装置 |
| EP1652445A1 (de) * | 2004-11-01 | 2006-05-03 | K.I.C.A. Inc. | Haareisen |
| WO2007022600A1 (en) * | 2005-08-26 | 2007-03-01 | Joseph Mourad | Hairstyling device |
| WO2011019861A2 (en) * | 2009-08-11 | 2011-02-17 | Nicholas Lloyd Johnson | Hair iron fume removal device |
Family Cites Families (28)
| Publication number | Priority date | Publication date | Assignee | Title |
|---|---|---|---|---|
| US3224454A (en) * | 1962-05-24 | 1965-12-21 | Quinio Frank | Curling iron having different sized hair winding tubes |
| US3859497A (en) * | 1974-01-30 | 1975-01-07 | Dazey Prod Co | Hair curling instrument with interchangeable heating elements |
| US3894547A (en) * | 1974-02-01 | 1975-07-15 | Malibu Personal Beauty Product | Hair styling apparatus |
| DE2504237C3 (de) * | 1975-02-01 | 1982-01-07 | Braun Ag, 6000 Frankfurt | Elektrisches Haarbehandlungsgerät |
| US3990460A (en) * | 1975-09-19 | 1976-11-09 | General Electric Company | Drying hair curler |
| US3981314A (en) * | 1975-09-25 | 1976-09-21 | Venus Electric Limited | Hair dryer |
| US4100397A (en) * | 1976-07-08 | 1978-07-11 | The Gillette Company | Thermostatically controlled electrical heater assembly |
| US4570651A (en) * | 1984-11-16 | 1986-02-18 | Adams Charles R | Combination pressing comb dryer and blow dryer |
| DE3620910A1 (de) * | 1986-06-21 | 1987-12-23 | Braun Ag | Elektrisch beheizbarer lockenstab |
| US4841127A (en) * | 1987-04-06 | 1989-06-20 | Gte Products Corporation | Dual temperature hair curler utilizing a pair of PTC heaters |
| US5243683A (en) * | 1992-07-09 | 1993-09-07 | Yang Chiung Hsiang | Laminar streamflow-guided hair dryer with finned PTC heating means |
| US6070596A (en) * | 1998-09-25 | 2000-06-06 | Wahl Clipper Corporation | Heated hair styling device |
| DE20200971U1 (de) * | 2002-01-24 | 2002-06-06 | Wik Far East Ltd., North Point | Warmlufthaarformgerät sowie als Aufsatz ausgebildetes Haarpflegeteil |
| KR200284378Y1 (ko) * | 2002-03-08 | 2002-08-10 | 박강수 | 가열된 유체를 열원으로 하는 고데기 |
| US6627852B1 (en) * | 2002-09-18 | 2003-09-30 | Umberto Savone | Curling iron with rotatable asymmetrical heating tips |
| KR200320666Y1 (ko) * | 2003-04-30 | 2003-07-25 | 오용호 | 미용용 고데기 |
| US7264004B2 (en) * | 2003-08-21 | 2007-09-04 | Dzenana Djulbegovic | Hair drying/styling device |
| US20060191554A1 (en) * | 2005-02-25 | 2006-08-31 | Amaya Lafuente | Victoria Scissors Dryer |
| US20080041409A1 (en) * | 2006-07-21 | 2008-02-21 | Anthony Kit Lun Leung | Hair styling appiance with heated plates and hot air fan |
| WO2008091853A2 (en) * | 2007-01-23 | 2008-07-31 | Conair Corporation | Split handle hair appliance with multiple attachments |
| US8013274B2 (en) * | 2007-08-02 | 2011-09-06 | Planning 1 Inc | Hair iron |
| KR100858028B1 (ko) * | 2008-04-17 | 2008-09-10 | 불루세라믹 주식회사 | 머리 미용기구 |
| WO2010016072A1 (en) * | 2008-08-04 | 2010-02-11 | Tenacta Group S.P.A. | Hair styling apparatus |
| CA2676561C (en) * | 2008-08-23 | 2012-10-16 | Farouk Systems, Inc. | Hair iron |
| US20100089413A1 (en) * | 2008-09-15 | 2010-04-15 | Clifford Wright | Hair straightening and drying device |
| US20110017225A1 (en) * | 2009-07-22 | 2011-01-27 | Venkata Parimal Devulapalli | Hair styling tool with two or more rotatable multipurpose-platforms |
| GB2477834B (en) * | 2010-08-31 | 2012-02-01 | Jemella Ltd | Hair styling appliance |
| US20120111354A1 (en) * | 2010-11-08 | 2012-05-10 | Michael Cafaro | Multi-zone heated hair appliance |
-
2011
- 2011-11-09 DE DE202011051906U patent/DE202011051906U1/de not_active Expired - Lifetime
-
2012
- 2012-11-06 EP EP12191397.4A patent/EP2591699A1/de not_active Withdrawn
- 2012-11-08 US US13/672,631 patent/US20130112221A1/en not_active Abandoned
- 2012-11-08 JP JP2012245900A patent/JP2013099531A/ja active Pending
- 2012-11-08 CN CN2012104453270A patent/CN103099418A/zh active Pending
Patent Citations (6)
| Publication number | Priority date | Publication date | Assignee | Title |
|---|---|---|---|---|
| JPS635707A (ja) * | 1986-06-25 | 1988-01-11 | 松下電工株式会社 | ヘア−ドライヤ |
| JP2003310339A (ja) * | 2002-04-24 | 2003-11-05 | Kyushu Hitachi Maxell Ltd | 髪処理装置 |
| JP2004267787A (ja) | 2004-04-19 | 2004-09-30 | Kyushu Hitachi Maxell Ltd | 髪処理装置 |
| EP1652445A1 (de) * | 2004-11-01 | 2006-05-03 | K.I.C.A. Inc. | Haareisen |
| WO2007022600A1 (en) * | 2005-08-26 | 2007-03-01 | Joseph Mourad | Hairstyling device |
| WO2011019861A2 (en) * | 2009-08-11 | 2011-02-17 | Nicholas Lloyd Johnson | Hair iron fume removal device |
Also Published As
| Publication number | Publication date |
|---|---|
| DE202011051906U1 (de) | 2013-02-11 |
| US20130112221A1 (en) | 2013-05-09 |
| JP2013099531A (ja) | 2013-05-23 |
| CN103099418A (zh) | 2013-05-15 |
Similar Documents
| Publication | Publication Date | Title |
|---|---|---|
| EP2591699A1 (de) | Haarpflege- oder -stylinggerät sowie Verfahren zum Betreiben eines solchen Gerätes | |
| EP1047312B1 (de) | Haarformgerät und verfahren zum formen der haare | |
| EP0665725B1 (de) | Luftdurchströmbares gerät zur haartrocknung oder haarformung | |
| EP1334670B1 (de) | Warmlufthaarformgerät sowie als Aufsatz ausgebildetes Haarpflegeteil | |
| DE102012210275B4 (de) | Haartrockner | |
| DE112013004159B4 (de) | Richtdüsenaufsatz | |
| DE69910057T2 (de) | Zubehör zum glätten von haaren | |
| DE202009011098U1 (de) | Haarglättvorrichtung | |
| DE202008018013U1 (de) | Elektrische Haarbürste | |
| EP2198735A1 (de) | Haarformgerät | |
| EP2198734A1 (de) | Haarformaufsatz sowie Haarformgerät mit einem solchen Aufsatz | |
| DE102013107778B4 (de) | Verfahren zum Formen von Locken oder Wellen von Haar mit einem Haarformgerät sowie Haarformgerät | |
| EP2245953B1 (de) | Haarformgerät | |
| EP2181618B1 (de) | Beheizbares Haarformgerät mit drehbarer Greifspitze | |
| DE202013103275U1 (de) | Haarformgerät | |
| DE102010062715B4 (de) | Haarglätter | |
| DE102011002402A1 (de) | Haarglätter | |
| DE20119863U1 (de) | Haarformer sowie Haarformaufsatz | |
| DE202013103279U1 (de) | Haarformgerät | |
| EP2520190A1 (de) | Haarformvorrichtung | |
| WO2011098349A1 (de) | Aufsatz für eine haarformungseinrichtung | |
| EP2745728B1 (de) | Haarglätter | |
| DE202008012871U1 (de) | Haarform- und -pflegegerät | |
| EP3178346A1 (de) | Haarformgerät | |
| DE102010030113A1 (de) | Haarformungseinrichtung |
Legal Events
| Date | Code | Title | Description |
|---|---|---|---|
| PUAI | Public reference made under article 153(3) epc to a published international application that has entered the european phase |
Free format text: ORIGINAL CODE: 0009012 |
|
| AK | Designated contracting states |
Kind code of ref document: A1 Designated state(s): AL AT BE BG CH CY CZ DE DK EE ES FI FR GB GR HR HU IE IS IT LI LT LU LV MC MK MT NL NO PL PT RO RS SE SI SK SM TR |
|
| AX | Request for extension of the european patent |
Extension state: BA ME |
|
| RIN1 | Information on inventor provided before grant (corrected) |
Inventor name: DOERN, KLAUS |
|
| REG | Reference to a national code |
Ref country code: HK Ref legal event code: DE Ref document number: 1180197 Country of ref document: HK |
|
| 17P | Request for examination filed |
Effective date: 20131112 |
|
| RBV | Designated contracting states (corrected) |
Designated state(s): AL AT BE BG CH CY CZ DE DK EE ES FI FR GB GR HR HU IE IS IT LI LT LU LV MC MK MT NL NO PL PT RO RS SE SI SK SM TR |
|
| STAA | Information on the status of an ep patent application or granted ep patent |
Free format text: STATUS: THE APPLICATION IS DEEMED TO BE WITHDRAWN |
|
| 18D | Application deemed to be withdrawn |
Effective date: 20160601 |