EP2408175B1 - Frame aggregation - Google Patents
Frame aggregation Download PDFInfo
- Publication number
- EP2408175B1 EP2408175B1 EP11185191.1A EP11185191A EP2408175B1 EP 2408175 B1 EP2408175 B1 EP 2408175B1 EP 11185191 A EP11185191 A EP 11185191A EP 2408175 B1 EP2408175 B1 EP 2408175B1
- Authority
- EP
- European Patent Office
- Prior art keywords
- frame
- frames
- mac
- layer
- sub
- Prior art date
- Legal status (The legal status is an assumption and is not a legal conclusion. Google has not performed a legal analysis and makes no representation as to the accuracy of the status listed.)
- Ceased
Links
- 230000002776 aggregation Effects 0.000 title claims description 86
- 238000004220 aggregation Methods 0.000 title claims description 86
- 238000000034 method Methods 0.000 claims description 64
- 238000004891 communication Methods 0.000 claims description 15
- 238000012360 testing method Methods 0.000 description 24
- 230000005540 biological transmission Effects 0.000 description 14
- 238000001514 detection method Methods 0.000 description 13
- 238000004088 simulation Methods 0.000 description 10
- 238000012937 correction Methods 0.000 description 7
- 230000000052 comparative effect Effects 0.000 description 5
- 239000012634 fragment Substances 0.000 description 5
- 238000012546 transfer Methods 0.000 description 5
- 238000012545 processing Methods 0.000 description 4
- 230000004931 aggregating effect Effects 0.000 description 3
- 230000003111 delayed effect Effects 0.000 description 3
- 230000001174 ascending effect Effects 0.000 description 2
- 230000000694 effects Effects 0.000 description 2
- 238000009432 framing Methods 0.000 description 2
- 230000006872 improvement Effects 0.000 description 2
- 239000000523 sample Substances 0.000 description 2
- 239000007787 solid Substances 0.000 description 2
- 238000012795 verification Methods 0.000 description 2
- UHLRPXXFPYMCAE-UHFFFAOYSA-N 4-isopropylcalix[4]arene Chemical compound C1C(C=2O)=CC(C(C)C)=CC=2CC(C=2O)=CC(C(C)C)=CC=2CC(C=2O)=CC(C(C)C)=CC=2CC2=CC(C(C)C)=CC1=C2O UHLRPXXFPYMCAE-UHFFFAOYSA-N 0.000 description 1
- 229930091051 Arenine Natural products 0.000 description 1
- 101000595198 Homo sapiens Podocalyxin Proteins 0.000 description 1
- 102100036031 Podocalyxin Human genes 0.000 description 1
- 230000008859 change Effects 0.000 description 1
- 230000007423 decrease Effects 0.000 description 1
- 238000010586 diagram Methods 0.000 description 1
- 239000010432 diamond Substances 0.000 description 1
- 238000009429 electrical wiring Methods 0.000 description 1
- 230000005670 electromagnetic radiation Effects 0.000 description 1
- 239000000835 fiber Substances 0.000 description 1
- 239000000463 material Substances 0.000 description 1
- 238000012986 modification Methods 0.000 description 1
- 230000004048 modification Effects 0.000 description 1
- 230000006855 networking Effects 0.000 description 1
- 238000005192 partition Methods 0.000 description 1
- 230000011664 signaling Effects 0.000 description 1
Images
Classifications
-
- H—ELECTRICITY
- H04—ELECTRIC COMMUNICATION TECHNIQUE
- H04L—TRANSMISSION OF DIGITAL INFORMATION, e.g. TELEGRAPHIC COMMUNICATION
- H04L47/00—Traffic control in data switching networks
- H04L47/10—Flow control; Congestion control
- H04L47/41—Flow control; Congestion control by acting on aggregated flows or links
-
- H—ELECTRICITY
- H04—ELECTRIC COMMUNICATION TECHNIQUE
- H04L—TRANSMISSION OF DIGITAL INFORMATION, e.g. TELEGRAPHIC COMMUNICATION
- H04L69/00—Network arrangements, protocols or services independent of the application payload and not provided for in the other groups of this subclass
- H04L69/26—Special purpose or proprietary protocols or architectures
-
- H—ELECTRICITY
- H04—ELECTRIC COMMUNICATION TECHNIQUE
- H04L—TRANSMISSION OF DIGITAL INFORMATION, e.g. TELEGRAPHIC COMMUNICATION
- H04L69/00—Network arrangements, protocols or services independent of the application payload and not provided for in the other groups of this subclass
- H04L69/30—Definitions, standards or architectural aspects of layered protocol stacks
- H04L69/32—Architecture of open systems interconnection [OSI] 7-layer type protocol stacks, e.g. the interfaces between the data link level and the physical level
- H04L69/322—Intralayer communication protocols among peer entities or protocol data unit [PDU] definitions
- H04L69/323—Intralayer communication protocols among peer entities or protocol data unit [PDU] definitions in the physical layer [OSI layer 1]
-
- H—ELECTRICITY
- H04—ELECTRIC COMMUNICATION TECHNIQUE
- H04L—TRANSMISSION OF DIGITAL INFORMATION, e.g. TELEGRAPHIC COMMUNICATION
- H04L69/00—Network arrangements, protocols or services independent of the application payload and not provided for in the other groups of this subclass
- H04L69/30—Definitions, standards or architectural aspects of layered protocol stacks
- H04L69/32—Architecture of open systems interconnection [OSI] 7-layer type protocol stacks, e.g. the interfaces between the data link level and the physical level
- H04L69/322—Intralayer communication protocols among peer entities or protocol data unit [PDU] definitions
- H04L69/324—Intralayer communication protocols among peer entities or protocol data unit [PDU] definitions in the data link layer [OSI layer 2], e.g. HDLC
-
- H—ELECTRICITY
- H04—ELECTRIC COMMUNICATION TECHNIQUE
- H04L—TRANSMISSION OF DIGITAL INFORMATION, e.g. TELEGRAPHIC COMMUNICATION
- H04L9/00—Cryptographic mechanisms or cryptographic arrangements for secret or secure communications; Network security protocols
- H04L9/40—Network security protocols
-
- H—ELECTRICITY
- H04—ELECTRIC COMMUNICATION TECHNIQUE
- H04W—WIRELESS COMMUNICATION NETWORKS
- H04W28/00—Network traffic management; Network resource management
- H04W28/02—Traffic management, e.g. flow control or congestion control
- H04W28/06—Optimizing the usage of the radio link, e.g. header compression, information sizing, discarding information
-
- H—ELECTRICITY
- H04—ELECTRIC COMMUNICATION TECHNIQUE
- H04W—WIRELESS COMMUNICATION NETWORKS
- H04W84/00—Network topologies
- H04W84/02—Hierarchically pre-organised networks, e.g. paging networks, cellular networks, WLAN [Wireless Local Area Network] or WLL [Wireless Local Loop]
- H04W84/10—Small scale networks; Flat hierarchical networks
- H04W84/12—WLAN [Wireless Local Area Networks]
Definitions
- the present invention relates to communication systems, and, in particular, to aggregation of data frames in a packet-based network.
- Wireless local area networks include one or more fixed/non-fixed position stations (STAs, such as mobile terminals), including cell phones, notebook (laptop) computers, and hand-held computers, that are equipped with generally available WLAN PC cards.
- WLAN PC cards enable STAs to communicate among themselves when located within the same service area as well as through a network server when located in different service areas.
- the network server provides support for communication between STAs in different service areas that are supported by different access points (APs).
- An AP is a terminal or other device that provides connectivity to other networks or service areas, and may be either fixed or non-fixed.
- a basic service set (BSS) is formed between STAs and/or between an AP and one or more STAs.
- BSS basic service set
- Such WLAN networks allow STAs to be moved within a particular service area without regard to physical connections among the mobile terminals within that service area.
- An example of a WLAN network is a network that conforms to standards developed and proposed by the Institute of Electrical and Electronic Engineers (IEEE) 802.11 Committee (referred to herein as a network operating in accordance with one or more editions of the IEEE 802.11 standard).
- IEEE Institute of Electrical and Electronic Engineers
- all messages transmitted among the mobile terminals of the same service area (i.e., those terminals associated with the same AP) in such WLAN networks are transmitted to the access point (AP) rather than being directly transmitted between the mobile terminals.
- AP access point
- Such centralized wireless communication provides significant advantages in terms of simplicity of the communication link as well as in power savings.
- Most networks are organized as a series of layers (a layered-network architecture), each layer built upon its predecessor. The purpose of each layer is to offer services to the higher layers, shielding those layers from implementation details of lower layers. Between each pair of adjacent layers is an interface that defines those services.
- the lowest layers are the data link and physical layers.
- the function of the data link layer is to partition input data into data frames and transmit the frames over the physical layer sequentially. Each data frame includes a header that contains control and sequence information for the frames.
- the function of the lowest level, the physical layer is to transfer bits over a communication medium.
- FIG. 1 shows a prior art framing sequence for user data in accordance with an 802.11-compliant WLAN.
- application layer 150 transmission control protocol (TCP) layer 151
- Internet protocol (IP) layer 152 Internet protocol (IP) layer 152
- LLC logical link control
- MAC medium access control
- PHY physical layer 155
- User data 101 is provided to application layer 150, which generates application data 102 by appending application-layer header 110.
- Application data 102 is provided to TCP layer 151, which appends TCP header 111 to application data 102 to form TCP segment 103.
- IP layer 152 appends IP header 112 to TCP segment 103 to form IP frame 104.
- IP frame 104 might be a typical TCP/IP packet that is commonly employed in many data networking applications including some that are not necessarily 802.11-compliant.
- LLC layer 153 provides a uniform interface between MAC layer 154 and higher layers, providing transparency of the type of WLAN used to transport the TCP/IP packet. LLC layer 153 appends this interface information as LLC header 113 to IP frame 104 to form LLC frame 105.
- the physical device is a radio and the physical communication medium is free space.
- a MAC device and a PHY-layer signaling control device ensure two network stations are communicating with the correct frame format and protocol.
- the IEEE 802.11 standard for WLANs defines the communication protocol between two (or more) peer PHY devices as well as between the associated peer MAC devices.
- each packet frame transferred between the MAC device and the PHY device has a PHY header, a MAC header, MAC data, and error checking fields.
- a typical format for the MAC-layer frame of 802.11-compliant WLAN systems appends MAC header 114 and frame check sequence (FCS) 115 to LLC frame 105 to form MAC frame 106.
- FCS frame check sequence
- MAC header 114 includes frame control, duration identification (ID), source (i.e., MAC layer) and destination address, and data sequence control (number) fields.
- the data sequence control field provides sequence-numbering information that allows a receiver to reconstruct the data sequence order since the user data is a portion of a larger user data steam.
- PHY layer 155 forms a physical-layer packet frame 107 by appending PHY header 118 to MAC frame 106.
- PHY header 118 includes preamble 116 and physical-layer convergence protocol (PLCP) header 117.
- PLCP header 117 identifies, for example, the data rate and length of PHY layer 155, and preamble 116 might be used by a receiving device to i) detect/synchronize to the incoming frame and ii) estimate the channel characteristics between the transmitter and receiver.
- every MAC-layer frame is acknowledged with an ACK message (or ACK frame) that is sent a short interframe space (SIFS) period after the initial physical-layer frame is sent.
- SIFS short interframe space
- some alternative acknowledgment methods are specified, such as "No-ACK” in which no acknowledgment message is sent at all.
- Other possible methods include variations of Block-ACK, where multiple data frames can be acknowledged in one Block-ACK message, which Block-ACK message is sent either immediately after a Block-ACK request (immediate Block-ACK) or after a separate contention period (delayed Block-ACK).
- each transmitted PHY-layer packet frame contains exactly one MAC frame.
- MAC frames might be control or management frames, such as probe request or acknowledgment frames.
- Other MAC frames are data frames that contain exactly one packet of higher-layer user data.
- the MAC header and FCS field are included in the packet overhead.
- IEEE 802.11 The efficiency of the IEEE 802.11 protocol degrades when higher physical-layer data rates are used. This is caused by several sources of overhead, both on the PHY-layer and MAC-layer levels, such as preamble, inter-frame space (IFS) timing, and header information, and also acknowledgment packets. IEEE 802.11 proposes some methods to improve efficiency, such as burst packet transmission and Block-ACK messaging, but these methods do not enable efficient use of PHY-layer rates of 162 Mbit/s or higher.
- IFS inter-frame space
- PHY-layer frame overhead is introduced by the PHY-frame preamble and by the PLCP header, which are both of a constant size for each MAC data frame.
- PHY-layer frame overhead is generally constant in time rather than in size (i.e., number of bytes)
- PHY layer frame overhead does not scale with higher data bit rates. Reducing the number of PHY frames for a given amount of transmitted user data can result in a significant improvement in efficiency.
- the PHY-layer overhead is included in every transmitted MAC frame, including those MAC frames not directly related to user data transfer (e.g., probe requests, RTS/CTS and Acknowledgment frames), reducing the number of separately transmitted MAC frames improves efficiency. Reducing the number of PHY frames also reduces the MAC contention overhead.
- US 2003/0169769 discloses a method in which aggregation frames and allocation frames are implemented.
- WO 2002/05453 discloses a method for allocating bandwidth in a broadband wireless communication system.
- a packet network employs frame aggregation to reduce the number of physical-layer frames employed to transfer a given amount of user data.
- the packet network uses physical (PHY) and medium access control (MAC) layers of a wireless local area network (WLAN) operating in accordance with one or more IEEE 802.11 standards.
- Frame aggregation combines several separate higher-layer frames with data, such as user or management/control data, into one PHY-layer frame, thus increasing the amount of user data per PHY-layer frame transmitted.
- Frame aggregation improves the efficiency by reducing both PHY-layer overhead (e.g., preambles and PLCP header overhead) and MAC overhead (e.g., contention overhead).
- PHY-layer overhead e.g., preambles and PLCP header overhead
- MAC overhead e.g., contention overhead
- a frame of aggregated data is generated in accordance with claim 1.
- frame aggregation reduces the number of, for example, physical-layer frames employed to transfer a given amount of user data.
- the exemplary embodiments described herein relate to a system operating in accordance with one or more IEEE 802.11 standards, which standards define the physical (PHY) and medium access control (MAC) layers of a wireless local area network (WLAN).
- IEEE 802.11 standards which standards define the physical (PHY) and medium access control (MAC) layers of a wireless local area network (WLAN).
- PHY physical
- MAC medium access control
- WLAN wireless local area network
- higher layers such as logical link control (LLC), Internet Protocol (IP), and transmission control protocol/user datagram protocol (TCP/UDP) layers, might be outside of the control of a lower-layer (e.g., 802.11) standard.
- LLC logical link control
- IP Internet Protocol
- TCP/UDP transmission control protocol/user datagram protocol
- exemplary embodiments of the present invention employ frame aggregation to combine several separate higher-layer frames with user data into one PHY-level frame, thus increasing the amount of user data per PHY frame transmitted.
- Frame aggregation improves the efficiency by reducing both PHY overhead (e.g., preambles and PLCP header overhead) and MAC overhead (e.g., contention overhead).
- PHY overhead e.g., preambles and PLCP header overhead
- MAC overhead e.g., contention overhead
- frames might be aggregated for: A) frames having the same destination address and the same PHY-layer data rate, B) frames having one or more destination addresses and the same PHY-layer data rate, and C) frames having one or more destination addresses with each frame having one of several possible PHY-layer data rates.
- Aggregating frames having the same destination address and the same PHY-layer data rate might require little or no changes in prior art MAC-layer and PHY-layer operation, and might preferably be employed when many frames specify the same destination address.
- uplink communication (traffic) in a basic service set (BSS) might typically employ frame aggregation in accordance with Case A.
- Case B Aggregating frames having different destination addresses and the same PHY layer data rate, termed herein “Case B", might typically be employed for stations (STAs) or access points (APs) that transfer data for different destination STAs. However, since the frames are sent on one data rate, the different destination STAs will preferably experience similar channel conditions.
- a scheduling method selects frames for aggregation and schedules transmission, which for some embodiments might include accounting for packets having differing transmit priorities.
- Frame aggregation might be logically located in relation to the PHY and MAC layers. First, frame aggregation might occur above (i.e., before operations of) the MAC layer, such as between the LLC layer and the MAC layer.
- frame aggregation might occur below the MAC layer, such as between the MAC layer and the PHY layer, or in the PHY layer.
- frame aggregation might occur within the MAC layer itself.
- Frame aggregation above the MAC layer involves minor modification of the operation of the MAC and PHY layers and might be accomplished by, for example, updating software drivers currently existing in network equipment.
- An 'intermediate layer' might be logically implemented in existing network equipment to perform frame aggregation, involving little or no change to the operation of the MAC layer and the LLC layer. For example, as shown in FIG.
- LLC frames 201(1) through 201(N), N a positive integer, at LLC layer 210 might be combined into dummy LLC frame 202 by intermediate aggregation layer 203.
- Dummy LLC frame 202 is passed to MAC layer 204, which appends MAC header 205 and MAC-layer FCS 206 to form MAC frame 207.
- PHY layer 208 forms PHY packet 211 from MAC frame 207 by appending preamble 209 and PLCP header 210.
- Frame aggregation below the MAC layer forms several MAC frames into a dummy MAC frame before it is packetized by the PHY layer.
- Frame aggregation below the MAC layer enables verification of each LLC frame independently of the other frames since each MAC frame has error-detection information, such as a frame checksum, in an error-control field, such as an FCS field, appended to the LLC frame.
- error-detection information such as a frame checksum
- FCS field an error-control field
- Current 802.11-compliant WLAN systems support error-detection on the MAC level, but not necessarily error correction.
- one skilled in the art might employ any one of a number of error correction methods known in the art, instead of simple error detection. Consequently, the exemplary embodiments described herein employ the term error correction/detection to identify that either i) an error detection or ii) an error detection and correction function is employed.
- FIG. 3 shows frame aggregation below the MAC layer in accordance with a comparative example.
- LLC frames 301(1) through 301(M), M a positive integer, at LLC layer 302, are passed to MAC layer 305.
- Each LLC frame 301(n) is formed into MAC sub-frame 316(n) by appending MAC header 303(n) and MAC FCS 304(n).
- MAC sub-frames 316(1) through 316(M) are combined into dummy MAC frame 306.
- Intermediate aggregation layer 307 then appends optional i) dummy header 308 and/or ii) forward error correction/detection (FEC) field 309 to dummy MAC frame 306 to form aggregate MAC frame 310.
- PHY layer 311 forms PHY packet 312 from aggregate MAC frame 310 by appending preamble 313 and PLCP header 314.
- optional dummy header 308 and FEC field 309 are shown.
- Dummy header 308 might be employed to indicate the number (e.g., M) and size (i.e., length) of MAC sub-frames 316(1) through 316(M) included in dummy MAC frame 306.
- FEC field 309 might be employed to correct bit errors at the receiver to increase the probability of correct reception of any of MAC sub-frames 316(1) through 316(M). Alternatively, multiple FEC fields might be employed, either appended at one end of dummy MAC frame 306 or within each of MAC frames 316(1) through 316(M). When different MAC sub-frames have different destinations, a modified acknowledgment method (e.g., delayed-ACK message exchange) might be employed.
- FIG. 4 shows frame aggregation within the PHY layer in accordance with a comparative example. LLC frames 401(1) through 401(M) of LLC layer 402 are passed to MAC layer 405.
- MAC layer 405 appends MAC header 403(n) and MAC FCS 404(n) to LLC frame 401(n) to form MAC sub-frame 406(n).
- MAC sub-frames 406(1) through 406(M) are then passed to PHY layer 407.
- PHY layer 407 appends PCLP header 409(n) to each corresponding MAC sub-frame 406(n) to form PHY sub-frame 410(n).
- PHY sub-frames 410(1) through 410(M) are concatenated and preamble 408 is appended to the concatenated PHY sub-frames to form PHY packet 411. As shown in FIG.
- multiple PHY frames are concatenated without duplicating the preamble, allowing transmission of separate MAC frames with different data rates and receiving each MAC frame independently.
- the included MAC frames might be ordered in accordance with increasing data rate so that STAs having relatively poor channel conditions can correctly receive the lower data rates.
- Frame aggregation within the MAC layer integrates frame aggregation of the present invention with existing MAC-layer operation, and allows relatively great flexibility.
- Frame aggregation within the MAC layer also allows for detection of the separate MAC frames.
- Frame aggregation within the MAC layer might include a MAC aggregation-frame format in accordance with the present invention.
- Such MAC aggregation-frame format imbeds several higher-layer data frames in a manner such that the higher-layer data frames can be received and decoded independently, allowing for transmission of the higher-layer data frames to different destination receivers. Furthermore, since the MAC layer controls the operation of the PHY layer, portions of the aggregated frame can be transmitted on different PHY data rates to allow each frame to be sent at its desired data rate.
- FIG. 5 shows frame aggregation within the MAC layer in accordance with an exemplary embodiment of the present invention.
- LLC layer 502 generates LLC frames 501(1) through 501(N), which are passed to MAC layer 503.
- MAC layer 503 comprises two operations: a first operation generates MAC sub-frames 506(1) through 506(N) from LLC frames 501(1) through 501(N), and a second operation generates MAC frame 507 from MAC sub-frames 506(1) through 506(N).
- MAC sub-frame 506(n) is generated by appending corresponding MAC header 504(n) and MAC FCS 505(n), in accordance with one or more IEEE 802.11 standards.
- MAC frame 507 might be formed by grouping MAC sub-frames 506(1) through 506(N) according to data rate, and then prepending MAC descriptor 508.
- MAC descriptor 508 is a field that provides index information for the remaining portions of MAC frame 507.
- MAC descriptor 508 might also specify the position, length, and destination of one or more of MAC sub-frames 506(1) through 506(N) within MAC frame 507. Since the destination addresses of all included MAC sub-frames 506(1) through 506(N) are located at the front of MAC frame 507, a receiver determines, by decoding MAC descriptor 508, whether one or more of the included MAC sub-frames 506(1) through 506(N) are intended for the receiver. A receiver might employ this information to suspend listening mode when no MAC sub-frames are expected, leading to more efficient operation (e.g., conserve available power).
- MAC sub-frames 506(1) through 506(N) are grouped by data rate and concatenated into MAC frame portions 509, 510, and 511. As with the embodiment shown in FIG. 4 , MAC sub-frames 506(1) through 506(N) are ordered with increasing data rate so that receivers with bad channel conditions may correctly receive MAC sub-frames having lower data rates. Consequently, MAC descriptor 508 is preferably transmitted with the lowest included data rate. For FIG. 5 , data rate X ⁇ data rate Y ⁇ data rate Z.
- MAC frame 507 is passed to PHY layer 512 which forms PHY packet 518.
- PHY layer 512 forms PHY packet 518 by grouping MAC descriptor 508 with MAC frame portion 509 to form PHY data rate X portion 515.
- MAC frame portions 510 and 511 are mapped directly to PHY data rate Y and Z portions 516 and 517, respectively.
- PHY data rate X, Y, and Z portions 515, 516, and 517 are concatenated and appended to preamble 513 and PLCP header 514 to generate PHY packet 518.
- PLCP header 514 is shown located at the front of MAC frame 518 (i.e., immediately after the preamble), while alternative embodiments might locate PLCP header fields in front of the part of the MAC sub-frame(s) that the PLCP header field describes, such as immediately before each of PHY data rate X, Y, and Z portions 515, 516, and 517.
- Operation of the exemplary embodiments of FIGs. 2 through 5 might be simulated via computer, and performance, measured as medium efficiency, of the exemplary embodiments illustrated for varying conditions.
- Medium efficiency is illustrated in FIGs. 6 through 8 by comparison of maximum achievable throughput under relatively ideal conditions in a point-to-point link.
- Every exchange sequence consists of one aggregated frame followed by one regular ACK frame (not a Block-ACK); ii) all data frames that are included in one aggregated frame are sent on the same data rate (e.g., 54-, 216-, and 324-Mbit/s) and all data frames are 1500 bytes large; iii) the ACK frames are sent on 54 Mbit/s, with regular 802.11a preamble and PLCP header and timing (short interframe space (SIFS), distributed interframe space (DIFS) and slot time) equivalent to the values defined in 802.11a; iv) contention is chosen to be the 'optimum' value of one slot for every frame exchange; and v) there are no collisions and bit/packet errors.
- SIFS short interframe space
- DIFS distributed interframe space
- FIGs. 6, 7 , and 8 illustrate maximum throughput versus number of frames in aggregate for 54-Mbit/s, 216-Mbits/s, and 324-Mbits/s PHY-layer data rates, respectively.
- Each of FIGs. 6, 7 , and 8 illustrates maximum throughput for the embodiments shown in FIG. 3 (MAC-layer aggregation shown with solid diamonds), FIG. 4 (PHY-layer aggregation shown with solid squares), and FIG. 5 (MAC-layer aggregation with MAC (frame) descriptor shown with dotted triangles).
- the used aggregation format represents a single destination frame aggregation of Case A.
- the simulation represents frame aggregation for multiple data rates of Case C, since all included MAC sub-frames are sent at their own data rate. In each of the FIGs. 6 through 8 only one data rate is actually used.
- the MAC-layer aggregation with frame descriptor of FIG. 5 represents aggregation with only one data rate and with multiple destinations (that, therefore, necessarily use the same data rate) of Case B. In each of the simulations of FIGs. 6 through 8 , only one destination is used.
- An aggregation method that allows for aggregation of frames with different destination stations has a higher possibility of reaching a desired throughput because it is more likely to have frames available for aggregation.
- Aggregation methods that allow different parts of the frame to be sent having different data rates are more likely to reach high medium efficiency, because these methods allow the aggregated frames to be sent to stations with completely different channel conditions, again increasing the possibility of having a large number of frames available for aggregation.
- the achievable maximum throughput depends on the number of frames that are available for aggregation.
- Frame aggregation with multiple-destination frames increases the number of frames available for aggregation.
- an AP of a BSS typically transmits to multiple STAs, while an STA typically only transmits to one or two APs. Consequently, this type of frame aggregation with multiple destinations might typically be employed for an AP transmitting to STAs.
- uplink traffic from an STA to APs might employ a relatively simple method of frame aggregation, allowing only frames with one destination (and as a result one PHY-layer data rate) to be aggregated in one frame.
- FIGs. 9 through 12 illustrate maximum throughput for several different configurations in a BSS simulated with a number of active STAs.
- the STAs operate in different channel condition regions so that the STAs operate with different data rates.
- the AP transmits data frames to each of the active STAs, with data frames of 1500 bytes.
- Each station has a number of downlink connections, and per connection the AP has a certain number of frames per exchange sequence.
- the data frames, as well as the MAC-layer acknowledgments are transmitted with a PHY-layer frame format similar to that of 802.11a, but with an extended preamble (+10 ⁇ s) and extended PLCP header (+4 ⁇ s).
- Each sequence uses three back-off slots for its contention.
- Each station replies (uplink) with one TCP acknowledgment (60-byte size) per connection per sequence. Bit/packet errors and/or collisions are not considered.
- the data rate on which immediate ACK frames are sent is (1/2.25) times the data rate of the corresponding data frame. Block-ACK messages and Block-ACK request messages are sent at the same data rate as the corresponding data frame.
- FIGs. 9 through 12 seven simulated and compared aggregation methods are as follows.
- a first method employs no aggregation (i.e., every PHY-layer packet frame contains one single MAC frame), in accordance with the current 802.11 standards.
- the method employs a standard immediate ACK message, sent an SIFS period after each data frame, for both uplink and downlink transmissions.
- a second method employs single destination aggregation with an aggregated immediate ACK message, which is an extended version of the standard immediate ACK message.
- the AP combines all data frames for a single station in one aggregated frame.
- the STA replies after an SIFS period with an aggregated immediate ACK message.
- the uplink channel (TCP-ACKs) employs data frames without aggregation, and the AP replies with a standard immediate ACK message.
- the third method employs single-destination aggregation with Block-ACK messages in both uplink and downlink transmission directions.
- Block-ACK and Block-ACK request messages are included in the aggregated frames in both uplink and downlink directions.
- the fourth method employs single PHY data rate aggregation, where the uplink uses aggregated immediate ACK messages, the downlink uses Block-ACK messages.
- the AP combines all data frames for STAs having the same PHY-layer data rate into one aggregate frame (with multiple destinations).
- the fifth method employs single-rate aggregation in a manner similar to that of the fourth method, but with delayed Block-ACK messages in both uplink and downlink transmission directions. In both directions, Block-ACK request and Block-ACK messages are included in the aggregated frames.
- the sixth method employs multi-rate aggregation, where the uplink channel uses aggregated immediate ACK messages and the downlink channel uses Block-ACK messages.
- the AP combines frames for all PHY-layer data rates into one aggregate frame using the format of FIG. 5 .
- An additional PLCP header is included per data rate to allow for data-rate switching (PLCP headers are included only per rate, rather than per frame).
- the seventh method employs multi-rate aggregation similar to that of the sixth method, but with delayed Block-ACK messages in both uplink and downlink channels directions.
- FIG. 9 shows simulation results for a BSS with three STAs that each operates with the same PHY-layer data rate of 324 Mbit/s for data frames and 144 Mbit/s for immediate ACK message frames.
- Each STA has one TCP connection with three frames per connection per aggregated frame (i.e., the AP sends three frames to every station during every cycle).
- Each STA replies with one TCP ACK message frame per cycle (i.e. one ACK per three downlink frames).
- FIG. 10 shows simulation results for the configuration of FIG. 9 except that each STA operates with a different PHY-layer data rate.
- one STA operates on 324 Mbit/s (ACK message rate of 144 Mbit/s)
- one STA operates on 216 Mbit/s (ACK message rate of 96 Mbit/s)
- one STA operates on 108 Mbit/s (ACK message rate of 48 Mbit/s).
- FIG. 11 shows simulation results for the configuration of FIG. 10 , except that there are nine STAs with three STAs operating with each of the PHY-layer data rates.
- FIG. 12 shows simulation results for the configuration of FIG. 11 , but each STA supports three connections so that the AP has nine frames per station per cycle.
- frame aggregation provides moderate to significant improvement in system performance under varying channel conditions.
- an exemplary aggregation frame format is now described, the aggregation frame format allowing for aggregation of multiple frames for multiple destinations. While the exemplary aggregation frame format is described with respect to frames having the same PHY layer data rate, one skilled in the art might extend the teachings herein to frame aggregation formats for multiple destinations and including multiple data rates, such as for the exemplary third embodiment shown in FIG. 5 .
- the exemplary aggregation frame format described herein allows for interoperability, for example, for 802.11-compliant devices that co-exist in a network with devices that employ frame aggregation. Even though the PHY-layer data rates described herein are data rates higher than 54-Mbit/s, the exemplary aggregation frame format might also be used on lower rates (e.g., 802.11a or 802.11g standard data rates), and as such might be compatible with existing MAC-layer implementations.
- the exemplary aggregation frame format allows all types of MAC frames to be aggregated into one PHY frame, including data frames for different destinations, (Block-) ACK frames, and management frames. Power-efficient operation might be achieved when the destination addresses of the MAC frames are all located at the start of a PHY frame (i.e., in close vicinity to the PLCP header). To reduce the total listening time by a receiving device (e.g., STA), the destination addresses are ordered such that the destination addresses for which the most frames are included are at the end of the frame.
- a receiving device e.g., STA
- the number of fields in the aggregate frame that provide an offset into the aggregate frame is relatively small.
- the negative effects from a bit error or a packet error are preferably not be increased by a larger number of included MAC sub-frames or a larger total length of the frame.
- FIG. 13 shows an exemplary aggregated frame format for PHY-layer packet 1301.
- Packet 1301 comprises preamble 1302, PLCP header 1303, aggregate data unit (ADU) 1304, tail field 1305, and optional pad bits 1306.
- Aggregate data unit (ADU) 1304 might also be termed a PLCP service data unit (PSDU).
- PSDU PLCP service data unit
- the aggregated frame format of FIG. 13 might be employed for PHY-layer packets generated in accordance with the third exemplary embodiment of FIG. 5 .
- Preamble 1302 is a pattern employed for packet detection in accordance with, for example, the 802.11 standard.
- Preamble 1302 might be employed for synchronization to determine radio gain and to establish clear channel assessment.
- Tail field 1305 is a 6-bit pattern indicating the end of PHY-layer packet 1301, which might be employed to reset a receiver's Viterbi decoder.
- Optional pad bits 1306 might be employed to make the length of PHY-layer packet 1301 conform to a predetermined value for transmission.
- PLCP header 1303 comprises signal field 1340, service field 1341, and optional reserved field 1342.
- Signal field 1340 includes rate field 1343, optional reserved field 1344, length field 1345, parity field 1346, and tail 1347.
- Rate field 1343 is employed to specify the rate at which the payload is transmitted.
- Reserved field 1344 in the signal field 1340 might be employed to indicate use of an aggregated frame in addition to or separate from aggregated frame descriptor 1310 (described subsequently), but might be employed for other applications.
- Length field 1345 specifies the length (in bits) of the ensuing payload.
- Parity field 1346 contains an error correction/detection value (e.g., parity check value) employed to verify the bits of PLCP header 1303.
- Tail field 1347 indicates the end of signal field 1340, and also might be employed to reset the receiver's Viterbi decoder.
- Service field 1341 is a currently reserved field, and might be employed to reset a transmitter's scrambler in the 802.11 standard.
- Optional reserved field 1342 is reserved for additional TGn information (TGn, or Task Group n, is a group whose members study and adopt specifications for 802.11 n systems), such as additional PLCP information and/or additional preamble structures.
- ADU 1304 comprises aggregated frame descriptor 1310 and aggregated MAC sub-frames 1311(1) through 1311(N) and optional aggregate FCS 1312.
- MAC sub-frame 1311(n) comprises MAC (frame) header 1314(n) and MAC FCS 1316(n) appended to MAC data 1315(n), where MAC data 1315(n) might be the nth aggregated IP frame from the LLC layer.
- MAC header 1314(n) and MAC FCS 1316(n) might be MAC header and MAC frame checksum generated in accordance with one or more 802.11 standards.
- MAC sub-frames 1311(1) through 1311(N) might be arranged in ascending order of PHY-layer data rate or in groups corresponding to selected data rates, and data-rate groups themselves might be ordered in ascending order of PHY data rate.
- Aggregated frame descriptor 1310 comprises MAC (aggregated frame) header 1317, frame number field 1318, (aggregated frame) FCS 1319, and descriptors 1320(1) through 1320(N).
- Aggregated frame descriptor 1310 is typically located at the front of ADU 1304 and indicates, via MAC header 1317, that PHY-layer packet 1301 is an aggregated frame.
- MAC header 1317 comprises frame control field 1330, duration 1331, address field 1 (ADDR1) 1332, address field 2 (ADDR2) 1333, address field 3 (ADDR3) 1334, and sequence control field 1335.
- FIG. 14 shows MAC header 1317 as employed by the exemplary aggregated frame format of FIG. 13 .
- frame control field 1330 comprises protocol version field 1401, type field 1402, subtype field 1403, ToDS field 1404, FromDS field 1405, MoreFrag field 1406, Retry field 1407, Pwr Mgt field 1408, More Data field 1409, WEP field 1410, and Ordr field 1411.
- Protocol version field 1401 is 2 bits in length and indicates the version of the 802.11 standard employed for PHY-layer packet 1301.
- Type field 1402 and subtype field 1403 are 2 and 4 bits in length, respectively, and are employed to specify the type of aggregate frame 1304.
- Such indication might be implemented as either a new value for the protocol version (e.g., 01) or as a new frame (sub-) type (e.g., type 00 (indicates management frame) with subtype 1111 (indicates aggregated frame descriptor) or type 11 with subtype 0000).
- such indication might be implemented as an existing protocol version and frame type, but with a special destination address (e.g., a multi-cast address could be used or the destination address of the frame descriptor is set to the address of the originator of the frame.
- ToDS field 1404, FromDS field 1405, MoreFrag field 1406, Retry field 1407, Pwr Mgt field 1408, More Data field 1409, WEP field 1410, and order field 1411 are all 1 bit in length.
- ToDS field 1404 and FromDS field 1405 indicate communication with a distribution system (DS).
- More Frag field 1406 indicates a following fragment of the current ADU 1304 and is set to 0 in the preferred embodiment.
- Retry field 1407 indicates a re-transmission and is set to 0 in the preferred embodiment.
- PwrMgt (Power Management) field 1408 indicates if a STA is in power save mode (set to 1) or active mode (set to 0). More Data field 1409 is set to 1 if any ADUs are buffered for that station.
- Wired equivalent privacy (WEP) field 1410 is set to 1 if the information in the frame body was processed with the WEP algorithm specified in the 802.11 standard.
- Ordr (Order) field 1411 is set to 1 if the frames must be strictly ordered to maintain the transmitted sequence that is passed to higher levels.
- duration field 1331 is 2 bytes in length and contains the duration value for each field, the NAV setting, and the associated identity of the transmitting station.
- Address fields ADDR1 1332, ADDR2 1333, and ADDR3 1334 are each 6 bytes in length and identify the BSS, the destination address, the source address, and the receiver and transmitter addresses.
- Sequence control field 1335 is 2 bytes in length and is split into 2 sub-fields (not shown in FIG. 13 ): fragment number and sequence number. The fragment number is 4 bits in length and indicates how many fragments the ADU is broken into. The sequence number field is 12 bits in length and indicates the sequence number of the ADU.
- Sequence control field 1335 is restricted in accordance with the exemplary aggregated frame format and both the sequence and fragment number fields are set to 0.
- Number field 1318 identifies the number N of MAC sub-frames 1311(1) through 1311(N) inside the aggregate frame, and the value of FCS field 1319 is a checksum value for the aggregated frame descriptor 1310 (e.g., the checksum over the first 24+2 bytes).
- FCS field 1319 follows descriptor fields 1320(1) through 1320(N), each for an associated one of MAC sub-frames 1311(1) through 1311(N).
- Descriptor field 1320(n) contains destination MAC (Dest Addr) field 1336(n) identifying the receiving device for which MAC sub-frame 1311(n) is intended, start of frame (start frm) field 1337 which identifies the start position in ADU 1304 of MAC sub-frame 1311 (n), length of frame (length frm) field 1338(n) which identifies the length of MAC sub-frame 1311(n), and FCS field 1339(n) which is a CRC value for descriptor field 1320(n).
- Length field 1501 of 12 bits indicates the length of a MAC sub-frame
- reserved (rsvd) field 1502 comprises four bit positions reserved for future use. Since each descriptor field and each MAC sub-frame has its own FCS field, the possibility of MAC packet errors is not related to the number of aggregated frames.
- MAC sub-frame 1311(n) comprises MAC header 1314(n), MAC data 1315(n), and MAC FCS 1316(n).
- MAC header 1314(n) might be a MAC header in accordance with an 802.11 standard without frame aggregation except the value of the duration field (not shown in FIG. 13 ) is set to the same value as that of duration field 1331 of aggregated frame descriptor 1310.
- QoS Quality of Service
- MAC data 1315(n) is the payload of MAC sub-frame 1311 (n), which may be an IP packet or LLC frame
- MAC FCS 1316(n) is a CRC value calculated over MAC header 1314(n) and MAC data 1315(n) of MAC sub-frame 1311 (n).
- the optional aggregate FCS field 1312 contains a checksum value for entire ADU 1304.
- the optional aggregate FCS field 1312 might be included if backward-compatibility is required.
- the optional aggregate FCS field 1312 might be used by devices that do not support the aggregated format to detect, and possibly correct, errors in the incoming ADU. Devices that do support the aggregated frame format shall discard the aggregate FCS field.
- a sending device e.g., the STA or AP transmits the PHY-layer packet through the wireless medium, where the PHY-layer packet is detected by a receiving device (e.g., the AP or STA). Since i) the receiving device may or may not support an embodiment of frame aggregation, ii) the receiving device may or may not be the intended destination, and iii) the received PHY layer packet might contain one or more errors, the receiving device might perform one or more of the following operations upon detection of the packet having the aggregated frame format.
- FIG. 16 shows an exemplary method of reception where the receiving device supports frame aggregation.
- the receiving device i) detects the preamble, ii) decodes the PLCP header, and iii) determines the aggregated frame descriptor's frame control field indicates a frame aggregation type.
- the source address (Addr2) and the duration field's value are stored for later use. For some embodiments, the sequence number of the aggregate frame descriptor might also be discarded at step 1602.
- a test compares the value of BSSID in Addr3 field to that of the receiving device.
- step 1603 determines that the value of BSSID in Addr3 field does not match that of the receiving device, at step 1604, a test verifies the FCS field of the first part of the aggregated frame against the CRC of the frame. If the test of step 1604 verifies the FCS field, then, at step 1605, the value of NAV (Network Allocation Vector) is set to the value of the duration field and the method advances to step 1606. If the test of step 1604 does not verify the FCS field, then, at step 1609, the extended interframe space (EIFS) is set and the method advances to step 1606. At step 1606, the rest of the aggregated frame is discarded.
- NAV Network Allocation Vector
- step 1603 determines that the value of BSSID in Addr3 field does match that of the receiving device, then, at step 1607, the two bytes of the frame body are used to retrieve the number of destination addresses in the frame descriptor.
- step 1608 a test verifies the FCS field of the first part of the aggregated frame against the CRC of the frame. If the test of step 1608 does not verify the FCS field of the first part of the aggregated frame descriptor, then, at step 1609, the EIFS is set. At step 1606, the rest of the aggregated frame is discarded. If the test of step 1607 does verify the FCS field of the first part of the aggregated frame descriptor, then at step 1610, the NAV is set to the stored value of the duration field.
- the independent (MAC) descriptor fields are processed, one by one, in a manner described subsequently with respect to FIG. 17 .
- the MAC sub-frames are checked for errors by verification of the corresponding FCS fields, and the MAC sub-frames are processed for error detection/correction, if necessary.
- a receiving device detects errors during reception of a packet having an aggregated frame format, several different operations may occur. If an error is detected within the preamble or within the PLCP header, then the entire aggregated frame might be discarded. If one or more bit errors occur within a first part of the frame descriptor, then the entire aggregated frame might be discarded.
- a test determines whether the receiving device is the destination of at least one of the frames in the aggregated frame from the detected destination addresses in the aggregate frame descriptor. If the test of step 1612 determines that the receiving device is not an intended destination, then the method advances to step 1606.
- the receiving device may, after step 1606, enter a form of power saving mode during the remainder of the ongoing transmission (e.g. not detect and decode the incoming MAC sub-frames).
- step 1612 determines that the receiving device is an intended destination, then, at step 1613, the receiving device stores the starting byte and length of each of the MAC sub-frames.
- the first sub-frame location is retrieved.
- the MAC sub-frame at the sub-frame location is retrieved and the method begins decoding the MAC sub-frames. For example, if the first and second MAC sub-frames are sent to this receiving device, the receiving device waits until the end of the frame descriptor (i.e., the end of the last descriptor field) and starts decoding the first frame.
- the location of the first byte of this MAC sub-frame might also be indicated by the Start field of its associated descriptor field, as described previously with respect to FIGs. 13 and 14 for an exemplary aggregated frame format.
- a test verifies whether the FCS of the MAC sub-frame is correct. If the test of step 1616 determines that the FCS of the MAC sub-frame is correct, then, at step 1617, the MAC sub-frame data (payload or LLC frame) is passed to the LLC layer. If the test of step 1616 determines that the FCS of the MAC sub-frame is not correct (i.e., incorrect by failing the CRC check), then, at step 1618, the MAC sub-frame is discarded. At step 1619, a test by the receiving device determines whether another MAC sub-frame is available for processing.
- step 1619 determines that another MAC sub-frame is available. If the test of step 1619 determines that another MAC sub-frame is available, then, at step 1620, the receiving device employs the associated start field from the MAC descriptor of the next MAC sub-frame to find the location of that next MAC sub-frame in the packet for retrieval. From step 1620, the method returns to step 1615.
- step 1619 determines that no further MAC sub-frames are available. If the test of step 1619 determines that no further MAC sub-frames are available, then, at step 1621, the method terminates since the last MAC sub-frame intended for the receiving device has been processed.
- the receiving device may decide to enter some form of power saving mode during the remainder of the ongoing transmission (e.g. not detect and decode the remaining incoming MAC sub-frames).
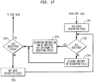
- FIG 17 is an exemplary method of processing descriptor fields at step 1611 of FIG. 16 .
- the independent (MAC) descriptor fields are processed, one by one.
- the first descriptor field is retrieved.
- a test verifies the sub-frame's FCS field (e.g., FCS field 1339 (n)) against the CRC over the retrieved descriptor.
- a receiving device When a receiving device detects errors during reception of a packet having an aggregated frame format, several different operations may occur. If an error is detected within the preamble or within the PLCP header, then the entire aggregated frame might be discarded. If one or more bit errors occur within a first part of the frame descriptor (i.e., in the header, the 2-byte 'Number-of-frames' field or the first FCS field of the frame descriptor), the entire aggregated frame might be discarded. If an error occurs within an independent descriptor fields, then that descriptor might be discarded. If an error occurs within a MAC sub-frame, then that sub-frame might be discarded.
- step 1702 If the test of step 1702 verifies the sub-frame FCS field is correct, then, at step 1703, the information within the descriptor (e.g., destination address and length of sub-frame) is valid for use by the receiving device. If the test of step 1702 does not verify the FCS as correct, then, at step 1704, the contents of the descriptor fields might be discarded. The associated sub-frame need not necessarily be discarded, as the receiving device may still receive that sub-frame without errors. From steps 1703 and 1704, the method advances to step 1705.
- the information within the descriptor e.g., destination address and length of sub-frame
- a test determines whether the last descriptor field has been processed. If the test of step 1705 determines that the last descriptor field has not been processed, then, at step 1706, the next descriptor field is retrieved and the method returns to step 1702. If the test of step 1705 determines that the last descriptor field has been processed, then the method advances to step 1612 of FIG. 16 .
- an AP or STA device receives a packet with frame format conforming to frame aggregation in accordance with an embodiment of the present invention, but the AP or STA device does not support frame aggregation, then the receiving device might discard the frame. If, for example, the receiving device detects the preamble and decodes the PLCP header without errors, then at the start of the MAC frame the receiving device detects the frame descriptor. The receiving device determines that it does not support this packet frame type (either from the protocol version or the (sub-) type fields). Depending on the implementation, the receiving device may read the duration field and set the receiver's Network Allocation Vector (NAV) value accordingly (if the receiver validates the FCS-field value).
- NAV Network Allocation Vector
- the NAV is part of a clear channel assessment method and is employed to implement virtual channel assessment.
- Virtual channel assignment allows a device to claim that the wireless medium is occupied, even when it is actually not (e.g., in between transmissions), helping to reduce the number and effect of collisions.
- the present invention can be embodied in the form of methods and apparatuses for practicing those methods.
- the present invention can also be embodied in the form of program code embodied in tangible media, such as floppy diskettes, CD-ROMs, hard drives, or any other machine-readable storage medium, wherein, when the program code is loaded into and executed by a machine, such as a computer, the machine becomes an apparatus for practicing the invention.
- the present invention can also be embodied in the form of program code, for example, whether stored in a storage medium, loaded into and/or executed by a machine, or transmitted over some transmission medium, such as over electrical wiring or cabling, through fiber optics, or via electromagnetic radiation, wherein, when the program code is loaded into and executed by a machine, such as a computer, the machine becomes an apparatus for practicing the invention.
- program code When implemented on a general-purpose processor, the program code segments combine with the processor to provide a unique device that operates analogously to specific logic circuits.
Landscapes
- Engineering & Computer Science (AREA)
- Computer Security & Cryptography (AREA)
- Computer Networks & Wireless Communication (AREA)
- Signal Processing (AREA)
- Computing Systems (AREA)
- Mobile Radio Communication Systems (AREA)
- Communication Control (AREA)
- Data Exchanges In Wide-Area Networks (AREA)
- Small-Scale Networks (AREA)
Applications Claiming Priority (4)
| Application Number | Priority Date | Filing Date | Title |
|---|---|---|---|
| US53232503P | 2003-12-23 | 2003-12-23 | |
| US10/955,943 US7489688B2 (en) | 2003-12-23 | 2004-09-30 | Frame aggregation |
| EP04257846A EP1548990A1 (en) | 2003-12-23 | 2004-12-16 | Aggregated frame, generated above, within or below a MAC layer or in a physical layer |
| EP06077222.5A EP1775885B1 (en) | 2003-12-23 | 2004-12-16 | Aggregated frame, generated above, within or below a MAC layer or in a physical layer |
Related Parent Applications (5)
| Application Number | Title | Priority Date | Filing Date |
|---|---|---|---|
| EP04257846.8 Division | 2004-12-16 | ||
| EP04257846A Division EP1548990A1 (en) | 2003-12-23 | 2004-12-16 | Aggregated frame, generated above, within or below a MAC layer or in a physical layer |
| EP06077222.5A Division EP1775885B1 (en) | 2003-12-23 | 2004-12-16 | Aggregated frame, generated above, within or below a MAC layer or in a physical layer |
| EP06077222.5A Division-Into EP1775885B1 (en) | 2003-12-23 | 2004-12-16 | Aggregated frame, generated above, within or below a MAC layer or in a physical layer |
| EP06077222.5 Division | 2006-12-13 |
Publications (3)
| Publication Number | Publication Date |
|---|---|
| EP2408175A2 EP2408175A2 (en) | 2012-01-18 |
| EP2408175A3 EP2408175A3 (en) | 2012-05-09 |
| EP2408175B1 true EP2408175B1 (en) | 2017-05-24 |
Family
ID=34556581
Family Applications (2)
| Application Number | Title | Priority Date | Filing Date |
|---|---|---|---|
| EP11185191.1A Ceased EP2408175B1 (en) | 2003-12-23 | 2004-12-16 | Frame aggregation |
| EP04257846A Withdrawn EP1548990A1 (en) | 2003-12-23 | 2004-12-16 | Aggregated frame, generated above, within or below a MAC layer or in a physical layer |
Family Applications After (1)
| Application Number | Title | Priority Date | Filing Date |
|---|---|---|---|
| EP04257846A Withdrawn EP1548990A1 (en) | 2003-12-23 | 2004-12-16 | Aggregated frame, generated above, within or below a MAC layer or in a physical layer |
Country Status (4)
| Country | Link |
|---|---|
| US (2) | US7489688B2 (enExample) |
| EP (2) | EP2408175B1 (enExample) |
| JP (2) | JP4917750B2 (enExample) |
| KR (2) | KR101093084B1 (enExample) |
Families Citing this family (124)
| Publication number | Priority date | Publication date | Assignee | Title |
|---|---|---|---|---|
| JP4005974B2 (ja) | 2004-01-09 | 2007-11-14 | 株式会社東芝 | 通信装置、通信方法、および通信システム |
| US20050286446A1 (en) * | 2004-04-01 | 2005-12-29 | Devicescape Software Inc. | Multi channel throughput enhancement |
| JP4047836B2 (ja) * | 2004-04-02 | 2008-02-13 | 株式会社東芝 | 通信装置、通信システム、通信方法、および通信制御プログラム |
| US7433329B2 (en) * | 2004-04-07 | 2008-10-07 | Cisco Technology, Inc. | Aggregation scheduler |
| WO2005112354A1 (en) * | 2004-05-13 | 2005-11-24 | Koninklijke Philips Electronics N.V. | Superframe protocol packet data unit format having multirate packet aggregation for wireless systems |
| WO2005112355A1 (en) * | 2004-05-13 | 2005-11-24 | Koninklijke Philips Electronics N.V. | Multiple receiver aggregation (mra) with different data rates for ieee 802.11n |
| US7965691B2 (en) | 2004-06-01 | 2011-06-21 | Broadcom Corporation | Network time reservation cancellation |
| KR100631271B1 (ko) | 2004-08-07 | 2006-10-02 | 삼성전자주식회사 | 패킷 응집 전송 방법 |
| JP4440037B2 (ja) | 2004-08-11 | 2010-03-24 | 株式会社東芝 | 通信装置及び通信方法 |
| US7474676B2 (en) * | 2004-09-10 | 2009-01-06 | Mitsubishi Electric Research Laboratories, Inc. | Frame aggregation in wireless communications networks |
| KR100605979B1 (ko) | 2004-09-10 | 2006-07-31 | 삼성전자주식회사 | 다중 수신기 응집 전송 기반의 데이터 통신 방법 |
| EP1635496B1 (en) * | 2004-09-10 | 2018-09-05 | Samsung Electronics Co., Ltd. | Data communication method based on multi-receiver aggregation |
| JP2006197045A (ja) * | 2005-01-12 | 2006-07-27 | Nec Corp | 無線パケット信号伝送システム、無線パケット信号伝送端末及びそれらに用いる無線パケット信号伝送方法 |
| JP2006261935A (ja) * | 2005-03-16 | 2006-09-28 | Nec Corp | パケット伝送方法および装置 |
| US20070053354A1 (en) * | 2005-08-18 | 2007-03-08 | Interdigital Technology Corporation | Method and system for securing wireless transmission of an aggregated frame |
| CN101305578A (zh) * | 2005-09-12 | 2008-11-12 | 高通股份有限公司 | 可供在无线网络通信中使用的快速控制消息接发机制 |
| JP4841330B2 (ja) * | 2005-09-14 | 2011-12-21 | 三洋電機株式会社 | 無線装置および通信システム |
| JP4943749B2 (ja) | 2005-09-16 | 2012-05-30 | 三洋電機株式会社 | 無線装置およびそれを利用した通信システム |
| US20070071149A1 (en) * | 2005-09-27 | 2007-03-29 | Linbo Li | Maximum ratio combining in broadcast OFDM systems based on multiple receive antennas |
| KR100857121B1 (ko) * | 2005-10-05 | 2008-09-05 | 엘지전자 주식회사 | 신호 처리 방법 및 이의 장치, 그리고 인코딩 및 디코딩방법 및 이의 장치 |
| US9521584B2 (en) | 2005-10-17 | 2016-12-13 | Qualcomm Incorporated | Method and apparatus for managing data flow through a mesh network |
| KR100615139B1 (ko) | 2005-10-18 | 2006-08-22 | 삼성전자주식회사 | 무선통신 시스템에서 전송 시간 구간의 할당 방법과 장치및 그 시스템 |
| US9369246B2 (en) | 2005-12-30 | 2016-06-14 | Vtech Telecommunications Limited | System and method of enhancing WiFi real-time communications |
| US7697529B2 (en) * | 2006-02-28 | 2010-04-13 | Cisco Technology, Inc. | Fabric channel control apparatus and method |
| DE102006025918B4 (de) * | 2006-06-02 | 2008-05-08 | Nokia Siemens Networks Gmbh & Co.Kg | Verfahren und Anordnung zur Übertragung von Signalen in Systemen mit Punkt-zu-Multipunkt-Verbindungen |
| US20070286107A1 (en) * | 2006-06-12 | 2007-12-13 | Harkirat Singh | System and method for wireless communication of uncompressed video having multiple destination aggregation (MDA) |
| US8300563B2 (en) * | 2006-09-29 | 2012-10-30 | Intel Corporation | Aggregated transmission in WLAN systems with FEC MPDUs |
| US7649913B2 (en) * | 2006-10-20 | 2010-01-19 | D&S Consultants, Inc. | Method and system for mitigating traffic congestions in a communication network |
| WO2008070738A1 (en) * | 2006-12-05 | 2008-06-12 | Qualcomm Incorporated | Enhanced management frame aggregation in a wireless network system |
| US20080130538A1 (en) * | 2006-12-05 | 2008-06-05 | Qualcomm Incorporated | Enhanced management frame aggregation in a wireless network system |
| US7697533B2 (en) * | 2006-12-15 | 2010-04-13 | Mediatek Inc. | Communication device and method |
| EP2103052B1 (en) * | 2006-12-28 | 2012-08-22 | Research In Motion Limited | Methods and apparatus for increasing data throughput by grouping data packets into maximum transmissible units |
| JP5096490B2 (ja) | 2006-12-31 | 2012-12-12 | クゥアルコム・インコーポレイテッド | 通信システムにおいて用いるための方法及び装置 |
| EP2122883B1 (en) * | 2007-01-16 | 2018-03-14 | Koninklijke Philips N.V. | System and method for efficient transmission of multimedia and data |
| JP4795303B2 (ja) * | 2007-04-25 | 2011-10-19 | キヤノン株式会社 | 通信装置、通信装置の制御方法、並びに当該制御方法をコンピュータに実行させるためのコンピュータプログラム |
| JP2008301333A (ja) * | 2007-06-01 | 2008-12-11 | Fujitsu Ltd | 多重伝送方法および装置 |
| KR20080109617A (ko) * | 2007-06-13 | 2008-12-17 | 한국전자통신연구원 | 다중 경로 관리 방법, 다중 경로를 이용한 데이터 송수신방법 및 그 장치 |
| JP4957419B2 (ja) * | 2007-07-10 | 2012-06-20 | ソニー株式会社 | 無線通信装置、無線通信システム、無線通信方法及びプログラム |
| JP2009021654A (ja) * | 2007-07-10 | 2009-01-29 | Panasonic Corp | 無線通信装置及びその通信負荷算出方法 |
| US8386878B2 (en) | 2007-07-12 | 2013-02-26 | Samsung Electronics Co., Ltd. | Methods and apparatus to compute CRC for multiple code blocks |
| US9564988B2 (en) * | 2007-07-26 | 2017-02-07 | The Directv Group, Inc. | Method and system for forming a formatted content stream and using a cyclic redundancy check |
| US8964734B2 (en) * | 2007-07-26 | 2015-02-24 | The Directv Group, Inc. | Method and system for communicating content having modified packet headers through a satellite |
| US20090092039A1 (en) * | 2007-10-03 | 2009-04-09 | Samsung Electronics Co., Ltd. | Method and system for formation and communication of information frames in wireless communication systems |
| US8681755B2 (en) * | 2007-10-30 | 2014-03-25 | Samsung Electronics Co., Ltd. | Method and apparatus for generating data frame in wireless personal area network |
| US8331240B2 (en) * | 2007-11-08 | 2012-12-11 | Harris Corporation | Promiscuous monitoring using internet protocol enabled devices |
| US20090150750A1 (en) * | 2007-12-05 | 2009-06-11 | Qualcomm Incorporated | Method and apparatus for harq encoding with low memory requirement |
| JP2009147786A (ja) * | 2007-12-17 | 2009-07-02 | Nec Corp | 通信装置、データフレームの送信制御方法及びプログラム |
| US8416803B1 (en) * | 2008-02-14 | 2013-04-09 | Wilocity, Ltd. | Low latency interconnect bus protocol |
| US8086104B2 (en) * | 2008-02-15 | 2011-12-27 | Alcatel Lucent | System, method and computer readable medium for providing dual rate transmission on a gigabit passive optical network |
| KR100899168B1 (ko) * | 2008-02-20 | 2009-05-27 | 주식회사 인켈 | 통신용 가변 다중 프레임 형성 방법 |
| WO2009123204A1 (ja) * | 2008-03-31 | 2009-10-08 | パナソニック電工株式会社 | 監視システム |
| US8126014B2 (en) * | 2008-04-09 | 2012-02-28 | Qualcomm Incorporated | Methods and apparatus for improved decoding of hybrid automatic repeat request transmissions |
| US8331272B2 (en) * | 2008-04-29 | 2012-12-11 | Telefonaktiebolaget L M Ericsson (Publ) | Aggregation of resources over multiple frames in a TDD communication system |
| JP5091761B2 (ja) * | 2008-05-13 | 2012-12-05 | 株式会社東芝 | 無線通信装置 |
| US8249105B2 (en) * | 2008-05-30 | 2012-08-21 | Motorola Solutions, Inc. | Method for aggregating frames in a wireless communication network |
| US8897209B2 (en) | 2008-07-15 | 2014-11-25 | Qualcomm Incorporated | Systems and methods for parallel communication with legacy WLAN receivers |
| US8464138B2 (en) * | 2008-08-20 | 2013-06-11 | Qualcomm Incorporated | Effective utilization of header space for error correction in aggregate frames |
| JP5374717B2 (ja) * | 2008-08-21 | 2013-12-25 | 独立行政法人情報通信研究機構 | 高信頼な制御コマンドの送受信と帯域の効率化を実現するセンサーネットワークシステム |
| US8706878B1 (en) | 2008-08-21 | 2014-04-22 | United Services Automobile Association | Preferential loading in data centers |
| US9477615B1 (en) | 2008-08-26 | 2016-10-25 | Qualcomm Incorporated | Bi-directional low latency bus mode |
| US8135023B2 (en) * | 2008-10-24 | 2012-03-13 | Getac Technology Corporation | Data packet, system and method for multiple nodes transmitting under AD-HOC network architecture |
| KR101354130B1 (ko) | 2008-12-22 | 2014-01-24 | 한국전자통신연구원 | 무선랜 프레임 송수신 방법 |
| US20100232356A1 (en) * | 2009-03-16 | 2010-09-16 | Qualcomm Incorporated | Layer two segmentation techniques for high data rate transmissions |
| US8135015B2 (en) * | 2009-03-27 | 2012-03-13 | Qualcomm Incorporated | System and method of transmitting and receiving data frames |
| US8498280B2 (en) * | 2009-03-27 | 2013-07-30 | Qualcomm Incorporated | Method and system for reducing header information in communication systems |
| US20100260114A1 (en) * | 2009-04-10 | 2010-10-14 | Qualcomm Incorporated | Acknowledgement resource allocation and scheduling for wlans |
| JP5316208B2 (ja) | 2009-05-08 | 2013-10-16 | ソニー株式会社 | 通信装置及び通信方法、コンピューター・プログラム、並びに通信システム |
| US8817698B2 (en) | 2009-10-18 | 2014-08-26 | Intel Corporation | Device, system and method of selectively aborting reception of wireless communication packets |
| US9268813B2 (en) | 2009-12-24 | 2016-02-23 | Samsung Electronics Co., Ltd. | Terminal device based on content name, and method for routing based on content name |
| US9264342B2 (en) | 2009-12-24 | 2016-02-16 | Samsung Electronics Co., Ltd. | Terminal device based on content name, and method for routing based on content name |
| KR101758909B1 (ko) * | 2010-02-18 | 2017-07-18 | 엘지전자 주식회사 | 무선 랜에서 수신 확인 전송 방법 및 장치 |
| FR2957217A1 (fr) * | 2010-03-08 | 2011-09-09 | France Telecom | Procedes de transmission et de reception de donnees utilisant une pluralite de canaux radiofrequence, equipements de transmission et destinataire, signal et programme d'ordinateur correspondants |
| US8879580B2 (en) * | 2010-06-17 | 2014-11-04 | Texas Instruments Incorporated | Enhancing packet aggregation performance in coexisting wireless networks |
| US8700796B2 (en) | 2010-09-22 | 2014-04-15 | Qualcomm Incorporated | MAC data service enhancements |
| US20120243602A1 (en) * | 2010-09-23 | 2012-09-27 | Qualcomm Incorporated | Method and apparatus for pipelined slicing for wireless display |
| US8473821B2 (en) | 2010-11-09 | 2013-06-25 | Qualcomm, Incorporated | Packet-level erasure protection coding in aggregated packet transmissions |
| CN102684852A (zh) * | 2011-03-31 | 2012-09-19 | 北京新岸线无线技术有限公司 | 一种用于帧确认的方法和装置 |
| US10326309B2 (en) * | 2011-05-13 | 2019-06-18 | Samsung Electronics Co., Ltd | Wireless power system comprising power transmitter and power receiver and method for receiving and transmitting power of the apparatuses |
| US9515925B2 (en) | 2011-05-19 | 2016-12-06 | Qualcomm Incorporated | Apparatus and methods for media access control header compression |
| US20120320772A1 (en) * | 2011-06-14 | 2012-12-20 | Qualcomm Incorporated | Communication devices for transmitting data based on available resources |
| US8929398B2 (en) * | 2011-06-20 | 2015-01-06 | Texas Instruments Incorporated | Data frame for PLC having destination address in the PHY header |
| US9125181B2 (en) * | 2011-08-23 | 2015-09-01 | Qualcomm Incorporated | Systems and methods for compressing headers |
| JP5403034B2 (ja) * | 2011-11-02 | 2014-01-29 | 日本電気株式会社 | 通信装置、通信システム、および通信方法 |
| CN102447530B (zh) * | 2011-11-23 | 2014-04-16 | 西安电子科技大学 | 具有容错功能的数据帧聚合方法 |
| CN106877977B (zh) | 2012-01-12 | 2021-02-12 | 华为终端有限公司 | 数据通信的方法、装置及系统 |
| US8848559B2 (en) * | 2012-01-26 | 2014-09-30 | Qualcomm Incorporated | Methods and apparatuses for device discovery |
| US9159364B1 (en) | 2012-01-30 | 2015-10-13 | Google Inc. | Aggregation of related media content |
| US8645485B1 (en) | 2012-01-30 | 2014-02-04 | Google Inc. | Social based aggregation of related media content |
| US9143742B1 (en) | 2012-01-30 | 2015-09-22 | Google Inc. | Automated aggregation of related media content |
| US9860785B2 (en) * | 2012-05-11 | 2018-01-02 | Qualcomm, Incorporated | Apparatus and methods for control frame and management frame compression |
| US8982859B2 (en) * | 2012-06-20 | 2015-03-17 | Intel Corporation | Wireless device and method of short MAC frame indication |
| EP2685645B1 (en) * | 2012-07-09 | 2016-04-27 | Alcatel Lucent | Methods and device for processing digital data frames and transport frames for reduction of transport bandwidth |
| US10178582B2 (en) * | 2012-08-06 | 2019-01-08 | Qualcomm Incorporated | Apparatus and methods for frame control design |
| JP6024318B2 (ja) | 2012-09-10 | 2016-11-16 | 富士通株式会社 | 無線lan基地局、無線lan端末、及びパケット転送方法 |
| JP2014082756A (ja) * | 2012-09-25 | 2014-05-08 | Toshiba Corp | 無線通信装置及び方法 |
| CN103812606B (zh) * | 2012-11-21 | 2018-07-17 | 优倍快网络公司 | 提高无线链路的效率的方法和系统 |
| US9270792B2 (en) * | 2012-11-21 | 2016-02-23 | Ubiquiti Networks, Inc. | Method and system for improving wireless link efficiency |
| US9398123B2 (en) * | 2013-05-03 | 2016-07-19 | Qualcomm Incorporated | Systems and methods for aggregation of physical protocol data units on a wireless network |
| CN104219031A (zh) * | 2013-06-04 | 2014-12-17 | 中兴通讯股份有限公司 | 一种mac帧聚合方法和装置 |
| US20150046775A1 (en) * | 2013-08-07 | 2015-02-12 | Broadcom Corporation | Encoding and Decoding Schemes to Achieve Standard Compliant Mean Time to False Packet Acceptance |
| US9166734B2 (en) * | 2013-08-14 | 2015-10-20 | National Cheng Kung University | Method and device for frame aggregation transmission of wireless network system |
| US20150071273A1 (en) * | 2013-09-11 | 2015-03-12 | Celeno Communications (Israel) Ltd. | Efficient transfer of tcp traffic over wlan |
| US9231732B2 (en) * | 2013-10-07 | 2016-01-05 | Texas Instruments Incorporated | Packet header protection for utility networks |
| KR101727781B1 (ko) * | 2013-10-14 | 2017-05-02 | 한국전자통신연구원 | 물리 계층 저전력 통신 방법 및 장치 |
| US9402199B2 (en) * | 2013-10-14 | 2016-07-26 | Netgear, Inc. | Systems and methods for wireless load balancing and channel selection for a wireless device using WLAN modules operating simultaneously in different wireless bands |
| WO2015198158A2 (en) * | 2014-06-27 | 2015-12-30 | Techflux, Ltd. | Operating in power save mode |
| KR101586716B1 (ko) * | 2015-01-05 | 2016-01-19 | 아주대학교산학협력단 | 슬롯 기반 채널을 이용한 통신 방법 및 그 장치 |
| US20160286011A1 (en) * | 2015-03-26 | 2016-09-29 | Assaf Kasher | Techniques for communicating an end of packet indicator |
| US9973314B2 (en) * | 2015-04-06 | 2018-05-15 | Qualcomm Incorporated | Control frame aggregation frame |
| US10270890B2 (en) * | 2015-07-13 | 2019-04-23 | Gainspan Corporation | Transmitting IP packets originating in a wireless station when the IP packets are destined for delivery to multiple destinations via an access point |
| WO2017022120A1 (ja) * | 2015-08-06 | 2017-02-09 | 株式会社日立国際電気 | 射撃訓練システム、無線通信システム、親局、及び子局 |
| JP2017046325A (ja) * | 2015-08-28 | 2017-03-02 | 株式会社東芝 | 通信装置、通信方法およびプログラム |
| WO2017070393A1 (en) | 2015-10-20 | 2017-04-27 | Marvell World Trade Ltd. | Acknowledgment data unit for multiple uplink data units |
| US10873878B2 (en) | 2016-02-19 | 2020-12-22 | Nxp Usa, Inc. | Acknowledgement of transmissions in a wireless local area network |
| US10820207B2 (en) * | 2016-05-10 | 2020-10-27 | Mediatek Inc. | Backward compatible frame reuse by using predetermined masking sequence |
| CN107528667B (zh) * | 2016-06-21 | 2020-09-11 | 大唐移动通信设备有限公司 | 在近端设备和远端设备之间进行帧数据传输的方法和装置 |
| US11368873B2 (en) * | 2017-12-15 | 2022-06-21 | Huawei Technologies Co., Ltd. | Method and system of packet aggregation |
| CN111679998B (zh) * | 2020-06-03 | 2023-07-25 | 上海兆芯集成电路股份有限公司 | 多芯片系统及其数据传输方法 |
| EP3923516B1 (en) * | 2020-06-10 | 2024-02-28 | Mitsubishi Electric R&D Centre Europe B.V. | Message exchanges in "open platform communications unified architecture" |
| JP7683908B2 (ja) * | 2021-02-01 | 2025-05-27 | Necソリューションイノベータ株式会社 | 通信制御装置、通信制御方法、プログラム、及び通信システム |
| US20230337295A1 (en) * | 2022-04-18 | 2023-10-19 | Apple Inc. | Methods for connection oriented data transfer for ultra-wideband systems and apparatuses |
| CN115225711A (zh) * | 2022-06-01 | 2022-10-21 | 裕太微(上海)电子有限公司 | 一种高效传输的以太网设备 |
| CN120642538A (zh) * | 2023-02-17 | 2025-09-12 | 松下电器(美国)知识产权公司 | 用于多层传输的通信装置和通信方法 |
| WO2025121969A1 (ko) * | 2023-12-07 | 2025-06-12 | 엘지전자 주식회사 | 무선랜 시스템에서 릴레이 전송을 수행하는 방법 및 장치 |
Family Cites Families (60)
| Publication number | Priority date | Publication date | Assignee | Title |
|---|---|---|---|---|
| US4727536A (en) | 1986-06-19 | 1988-02-23 | General Datacomm, Inc. | Variable control and data rates in highly efficient multiplexer |
| JPH01241243A (ja) * | 1988-03-23 | 1989-09-26 | Mitsubishi Electric Corp | パケット交換装置 |
| US5467342A (en) | 1994-01-12 | 1995-11-14 | Scientific-Atlanta, Inc. | Methods and apparatus for time stamp correction in an asynchronous transfer mode network |
| JP3486946B2 (ja) * | 1994-03-16 | 2004-01-13 | 富士通株式会社 | マルチキャスト通信中継装置 |
| US5583859A (en) | 1994-08-30 | 1996-12-10 | Bell Communications Research, Inc. | Data labeling technique for high performance protocol processing |
| US6172972B1 (en) | 1996-05-28 | 2001-01-09 | Microsoft Corporation | Multi-packet transport structure and method for sending network data over satellite network |
| US6041051A (en) * | 1996-06-14 | 2000-03-21 | Lucent Technologies, Inc. | Method and apparatus enabling multiple access for multiple services and multiple transmission modes over a broadband communication network utilizing an adaptive digital access protocol |
| JP3106418B2 (ja) | 1996-07-30 | 2000-11-06 | 株式会社東京精密 | 研磨装置 |
| JP3139737B2 (ja) | 1996-07-31 | 2001-03-05 | 日本電気株式会社 | データ通信システム |
| DE19715022A1 (de) | 1997-04-11 | 1998-10-15 | Deutsche Telekom Ag | System zur Übertragung hochratiger Mehrwertdienste im terrestrischen Rundfunk |
| US6236647B1 (en) | 1998-02-24 | 2001-05-22 | Tantivy Communications, Inc. | Dynamic frame size adjustment and selective reject on a multi-link channel to improve effective throughput and bit error rate |
| US6542481B2 (en) | 1998-06-01 | 2003-04-01 | Tantivy Communications, Inc. | Dynamic bandwidth allocation for multiple access communication using session queues |
| US6567416B1 (en) | 1997-10-14 | 2003-05-20 | Lucent Technologies Inc. | Method for access control in a multiple access system for communications networks |
| US6317430B1 (en) * | 1998-02-19 | 2001-11-13 | Lucent Technologies Inc. | ARQ protocol support for variable size transmission data unit sizes using a hierarchically structured sequence number approach |
| JP2002026796A (ja) | 1998-04-07 | 2002-01-25 | Matsushita Electric Ind Co Ltd | 無線通信装置及び無線通信システム |
| US6430196B1 (en) | 1998-05-01 | 2002-08-06 | Cisco Technology, Inc. | Transmitting delay sensitive information over IP over frame relay |
| FI108824B (fi) | 1998-06-03 | 2002-03-28 | Nokia Corp | Datasiirtomenetelmiä tietoliikennejärjestelmässä |
| US6640248B1 (en) * | 1998-07-10 | 2003-10-28 | Malibu Networks, Inc. | Application-aware, quality of service (QoS) sensitive, media access control (MAC) layer |
| KR100330241B1 (ko) * | 1998-08-26 | 2002-10-04 | 삼성전자 주식회사 | 무선패킷음성데이터통신장치및방법 |
| DE69939781D1 (de) | 1998-10-30 | 2008-12-04 | Broadcom Corp | Kabelmodemsystem |
| US7346120B2 (en) * | 1998-12-11 | 2008-03-18 | Freescale Semiconductor Inc. | Method and system for performing distance measuring and direction finding using ultrawide bandwidth transmissions |
| JP2000295313A (ja) | 1999-04-06 | 2000-10-20 | Nec Corp | 通信方法および通信装置 |
| US6452946B1 (en) * | 1999-06-04 | 2002-09-17 | Siemens Information And Communications Network, Inc. | Apparatus and method for improving performance in master and slave communications systems |
| US6614808B1 (en) | 1999-09-02 | 2003-09-02 | International Business Machines Corporation | Network packet aggregation |
| ATE345613T1 (de) * | 2000-04-07 | 2006-12-15 | Broadcom Corp | Rahmenbasierte übertragung von nutzdaten mit veränderlicher datenrate |
| JP2001308919A (ja) * | 2000-04-25 | 2001-11-02 | Oki Electric Ind Co Ltd | 通信装置 |
| WO2002005453A2 (en) | 2000-07-11 | 2002-01-17 | Ensemble Communications, Inc. | Method and apparatus for bandwidth request/grant protocols in a wireless communication system |
| US6987770B1 (en) * | 2000-08-04 | 2006-01-17 | Intellon Corporation | Frame forwarding in an adaptive network |
| US7298691B1 (en) | 2000-08-04 | 2007-11-20 | Intellon Corporation | Method and protocol to adapt each unique connection in a multi-node network to a maximum data rate |
| US7031249B2 (en) | 2000-10-27 | 2006-04-18 | Sharp Laboratories Of America, Inc. | Outer code for CSMA systems using an OFDM physical layer in contention-free mode |
| US7046672B2 (en) | 2000-11-16 | 2006-05-16 | Microsoft Corporation | Robust, inferentially synchronized transmission of compressed transport-layer-protocol headers |
| US6775804B1 (en) * | 2000-11-28 | 2004-08-10 | Nortel Networks Limited | Determining integrity of a packet |
| JP2002204242A (ja) * | 2000-12-28 | 2002-07-19 | Hitachi Kokusai Electric Inc | 無線通信システム |
| US6947446B2 (en) * | 2001-01-16 | 2005-09-20 | Motorola, Inc. | Slot format and acknowledgement method for a wireless communication system |
| GB2371706B (en) * | 2001-01-30 | 2003-04-23 | 3Com Corp | Link aggregation control for network devices |
| US7110349B2 (en) | 2001-03-06 | 2006-09-19 | Brn Phoenix, Inc. | Adaptive communications methods for multiple user packet radio wireless networks |
| US20020147025A1 (en) | 2001-04-05 | 2002-10-10 | Telefonaktiebolaget Lm Ericsson | Systems and methods for base station signal transmission power control |
| US6956824B2 (en) * | 2001-06-14 | 2005-10-18 | Tropic Networks Inc. | Extension of link aggregation protocols over the network |
| JP3622843B2 (ja) | 2001-07-11 | 2005-02-23 | 日本電気株式会社 | 可変長パケットスイッチ方法及びシステム |
| JP2003078565A (ja) * | 2001-08-30 | 2003-03-14 | Matsushita Electric Ind Co Ltd | 無線通信装置 |
| US7586914B2 (en) | 2001-09-27 | 2009-09-08 | Broadcom Corporation | Apparatus and method for hardware creation of a DOCSIS header |
| US20030135640A1 (en) * | 2002-01-14 | 2003-07-17 | Texas Instruments Incorporated | Method and system for group transmission and acknowledgment |
| US20030135797A1 (en) * | 2002-01-15 | 2003-07-17 | Sunghyun Choi | Method and apparatus for enhancing the transmission of error in the IEEE 802.11e systems |
| US20030171114A1 (en) * | 2002-03-05 | 2003-09-11 | Hastings David C. | Optimized wireless LAN solution for embedded systems |
| US7630403B2 (en) * | 2002-03-08 | 2009-12-08 | Texas Instruments Incorporated | MAC aggregation frame with MSDU and fragment of MSDU |
| JP2003324445A (ja) | 2002-05-07 | 2003-11-14 | Alps Electric Co Ltd | 無線伝送方式 |
| US9014196B2 (en) * | 2002-09-17 | 2015-04-21 | Broadcom Corporation | System and method for providing a super channel in a multi-band multi-protocol hybrid wired/wireless network |
| US8320301B2 (en) | 2002-10-25 | 2012-11-27 | Qualcomm Incorporated | MIMO WLAN system |
| KR100509253B1 (ko) * | 2002-12-27 | 2005-08-23 | 한국전자통신연구원 | 매체접근제어 처리장치의 송신제어기 및 그 방법 |
| US7346018B2 (en) | 2003-01-16 | 2008-03-18 | Qualcomm, Incorporated | Margin control in a data communication system |
| US8218573B2 (en) | 2003-01-21 | 2012-07-10 | Qualcomm Incorporated | Power boosting in a wireless communication system |
| CN100593313C (zh) | 2003-02-28 | 2010-03-03 | 飞思卡尔半导体公司 | 用于无线网络中的动态聚集的方法和系统 |
| US7327716B2 (en) | 2003-03-06 | 2008-02-05 | Nortel Networks Limited | Reverse link enhancement for CDMA 2000 Release D |
| US7336605B2 (en) * | 2003-05-13 | 2008-02-26 | Corrigent Systems, Inc. | Bandwidth allocation for link aggregation |
| FR2859059A1 (fr) * | 2003-08-20 | 2005-02-25 | France Telecom | Procede de transmission de paquets, dispositifs d'agregation et de desagregation de paquets |
| US7477627B2 (en) | 2003-09-10 | 2009-01-13 | Intel Corporation | Method and device of adaptive control of data rate, fragmentation and request to send protection in wireless networks |
| US8090857B2 (en) * | 2003-11-24 | 2012-01-03 | Qualcomm Atheros, Inc. | Medium access control layer that encapsulates data from a plurality of received data units into a plurality of independently transmittable blocks |
| US7231530B1 (en) * | 2004-04-06 | 2007-06-12 | Cisco Technology, Inc. | System and method for saving power in a wireless network by reducing power to a wireless station for a time interval if a received packet fails an integrity check |
| US7474676B2 (en) * | 2004-09-10 | 2009-01-06 | Mitsubishi Electric Research Laboratories, Inc. | Frame aggregation in wireless communications networks |
| TWI277325B (en) * | 2005-10-28 | 2007-03-21 | Ind Tech Res Inst | Packet transmitting method of wireless network |
-
2004
- 2004-09-30 US US10/955,943 patent/US7489688B2/en not_active Expired - Lifetime
- 2004-12-16 EP EP11185191.1A patent/EP2408175B1/en not_active Ceased
- 2004-12-16 EP EP04257846A patent/EP1548990A1/en not_active Withdrawn
- 2004-12-20 JP JP2004366959A patent/JP4917750B2/ja not_active Expired - Fee Related
- 2004-12-23 KR KR1020040111141A patent/KR101093084B1/ko not_active Expired - Fee Related
-
2006
- 2006-11-02 JP JP2006298599A patent/JP5177995B2/ja not_active Expired - Fee Related
- 2006-11-09 KR KR1020060110547A patent/KR101154829B1/ko not_active Expired - Fee Related
-
2009
- 2009-02-06 US US12/367,224 patent/US8396064B2/en not_active Expired - Fee Related
Also Published As
| Publication number | Publication date |
|---|---|
| US7489688B2 (en) | 2009-02-10 |
| US8396064B2 (en) | 2013-03-12 |
| JP5177995B2 (ja) | 2013-04-10 |
| JP2007037196A (ja) | 2007-02-08 |
| KR101154829B1 (ko) | 2012-06-18 |
| JP2005184839A (ja) | 2005-07-07 |
| US20090141723A1 (en) | 2009-06-04 |
| KR20060126862A (ko) | 2006-12-11 |
| US20050152358A1 (en) | 2005-07-14 |
| EP1548990A1 (en) | 2005-06-29 |
| KR101093084B1 (ko) | 2011-12-13 |
| KR20050065387A (ko) | 2005-06-29 |
| JP4917750B2 (ja) | 2012-04-18 |
| EP2408175A2 (en) | 2012-01-18 |
| EP2408175A3 (en) | 2012-05-09 |
Similar Documents
| Publication | Publication Date | Title |
|---|---|---|
| EP2408175B1 (en) | Frame aggregation | |
| US7590118B2 (en) | Frame aggregation format | |
| US7586948B2 (en) | Packet sub-frame structure for selective acknowledgment | |
| EP1594284B1 (en) | MAC header compression for use with frame aggregation | |
| EP3399791B1 (en) | Information processing apparatus | |
| KR100773131B1 (ko) | 무선 통신 네트워크에서 패킷 결합을 위한 방법 및 장치 | |
| KR100574960B1 (ko) | 패이로드 안에서의 프레임 분할방법 | |
| US8559437B2 (en) | Packet concatenation in wireless networks | |
| EP3713122B1 (en) | Method for replying with acknowledgement frame, apparatus, and data transmission system | |
| EP1779576A1 (en) | System and method for variable length aggregate acknowledgements in a shared resource network | |
| CN116232555A (zh) | 数据传输方法及装置 | |
| US20060215626A1 (en) | Apparatus to transmit OFDM symbols with aligned fragmentation threshold | |
| EP1775885B1 (en) | Aggregated frame, generated above, within or below a MAC layer or in a physical layer | |
| US20240297734A1 (en) | Communication apparatus |
Legal Events
| Date | Code | Title | Description |
|---|---|---|---|
| AC | Divisional application: reference to earlier application |
Ref document number: 1775885 Country of ref document: EP Kind code of ref document: P Ref document number: 1548990 Country of ref document: EP Kind code of ref document: P |
|
| AK | Designated contracting states |
Kind code of ref document: A2 Designated state(s): DK GB |
|
| PUAI | Public reference made under article 153(3) epc to a published international application that has entered the european phase |
Free format text: ORIGINAL CODE: 0009012 |
|
| PUAL | Search report despatched |
Free format text: ORIGINAL CODE: 0009013 |
|
| AK | Designated contracting states |
Kind code of ref document: A3 Designated state(s): DK GB |
|
| RIC1 | Information provided on ipc code assigned before grant |
Ipc: H04L 29/08 20060101AFI20120405BHEP Ipc: H04W 84/12 20090101ALN20120405BHEP |
|
| RBV | Designated contracting states (corrected) |
Designated state(s): DE GB |
|
| 17P | Request for examination filed |
Effective date: 20121109 |
|
| 17Q | First examination report despatched |
Effective date: 20140925 |
|
| RAP1 | Party data changed (applicant data changed or rights of an application transferred) |
Owner name: AGERE SYSTEMS INC. |
|
| RAP1 | Party data changed (applicant data changed or rights of an application transferred) |
Owner name: AVAGO TECHNOLOGIES GENERAL IP (SINGAPORE) PTE. LTD |
|
| REG | Reference to a national code |
Ref country code: DE Ref legal event code: R079 Ref document number: 602004051310 Country of ref document: DE Free format text: PREVIOUS MAIN CLASS: H04L0029080000 Ipc: H04L0029060000 |
|
| RIC1 | Information provided on ipc code assigned before grant |
Ipc: H04L 29/06 20060101AFI20161026BHEP Ipc: H04L 29/08 20060101ALN20161026BHEP Ipc: H04W 84/12 20090101ALN20161026BHEP Ipc: H04W 28/06 20090101ALN20161026BHEP |
|
| RIC1 | Information provided on ipc code assigned before grant |
Ipc: H04L 29/06 20060101AFI20161028BHEP Ipc: H04W 28/06 20090101ALN20161028BHEP Ipc: H04W 84/12 20090101ALN20161028BHEP Ipc: H04L 29/08 20060101ALN20161028BHEP |
|
| GRAP | Despatch of communication of intention to grant a patent |
Free format text: ORIGINAL CODE: EPIDOSNIGR1 |
|
| STAA | Information on the status of an ep patent application or granted ep patent |
Free format text: STATUS: GRANT OF PATENT IS INTENDED |
|
| INTG | Intention to grant announced |
Effective date: 20161209 |
|
| GRAS | Grant fee paid |
Free format text: ORIGINAL CODE: EPIDOSNIGR3 |
|
| GRAA | (expected) grant |
Free format text: ORIGINAL CODE: 0009210 |
|
| STAA | Information on the status of an ep patent application or granted ep patent |
Free format text: STATUS: THE PATENT HAS BEEN GRANTED |
|
| AC | Divisional application: reference to earlier application |
Ref document number: 1548990 Country of ref document: EP Kind code of ref document: P Ref document number: 1775885 Country of ref document: EP Kind code of ref document: P |
|
| AK | Designated contracting states |
Kind code of ref document: B1 Designated state(s): DE GB |
|
| REG | Reference to a national code |
Ref country code: GB Ref legal event code: FG4D |
|
| REG | Reference to a national code |
Ref country code: DE Ref legal event code: R096 Ref document number: 602004051310 Country of ref document: DE |
|
| REG | Reference to a national code |
Ref country code: DE Ref legal event code: R097 Ref document number: 602004051310 Country of ref document: DE |
|
| PLBE | No opposition filed within time limit |
Free format text: ORIGINAL CODE: 0009261 |
|
| STAA | Information on the status of an ep patent application or granted ep patent |
Free format text: STATUS: NO OPPOSITION FILED WITHIN TIME LIMIT |
|
| 26N | No opposition filed |
Effective date: 20180227 |
|
| GBPC | Gb: european patent ceased through non-payment of renewal fee |
Effective date: 20171216 |
|
| PG25 | Lapsed in a contracting state [announced via postgrant information from national office to epo] |
Ref country code: GB Free format text: LAPSE BECAUSE OF NON-PAYMENT OF DUE FEES Effective date: 20171216 |
|
| REG | Reference to a national code |
Ref country code: DE Ref legal event code: R081 Ref document number: 602004051310 Country of ref document: DE Owner name: AVAGO TECHNOLOGIES INTERNATIONAL SALES PTE. LT, SG Free format text: FORMER OWNER: AVAGO TECHNOLOGIES GENERAL IP (SINGAPORE) PTE. LTD., SINGAPORE, SG Ref country code: DE Ref legal event code: R082 Ref document number: 602004051310 Country of ref document: DE Representative=s name: DILG, HAEUSLER, SCHINDELMANN PATENTANWALTSGESE, DE Ref country code: DE Ref legal event code: R082 Ref document number: 602004051310 Country of ref document: DE Representative=s name: DILG HAEUSLER SCHINDELMANN PATENTANWALTSGESELL, DE |
|
| REG | Reference to a national code |
Ref country code: DE Ref legal event code: R079 Ref document number: 602004051310 Country of ref document: DE Free format text: PREVIOUS MAIN CLASS: H04L0029060000 Ipc: H04L0065000000 |
|
| PGFP | Annual fee paid to national office [announced via postgrant information from national office to epo] |
Ref country code: DE Payment date: 20211210 Year of fee payment: 18 |
|
| REG | Reference to a national code |
Ref country code: DE Ref legal event code: R119 Ref document number: 602004051310 Country of ref document: DE |
|
| PG25 | Lapsed in a contracting state [announced via postgrant information from national office to epo] |
Ref country code: DE Free format text: LAPSE BECAUSE OF NON-PAYMENT OF DUE FEES Effective date: 20230701 |