EP2366939B1 - Kraftfahrzeugscheinwerfer mit einer Lichtquelle und wenigstens zwei Licht verteilenden optischen Elementen - Google Patents

Kraftfahrzeugscheinwerfer mit einer Lichtquelle und wenigstens zwei Licht verteilenden optischen Elementen Download PDF

Info

Publication number
EP2366939B1
EP2366939B1 EP11000515.4A EP11000515A EP2366939B1 EP 2366939 B1 EP2366939 B1 EP 2366939B1 EP 11000515 A EP11000515 A EP 11000515A EP 2366939 B1 EP2366939 B1 EP 2366939B1
Authority
EP
European Patent Office
Prior art keywords
optical element
light source
light
reflector
headlamp
Prior art date
Legal status (The legal status is an assumption and is not a legal conclusion. Google has not performed a legal analysis and makes no representation as to the accuracy of the status listed.)
Active
Application number
EP11000515.4A
Other languages
English (en)
French (fr)
Other versions
EP2366939A2 (de
EP2366939A3 (de
Inventor
Florian Stade
Michael Scholl
Current Assignee (The listed assignees may be inaccurate. Google has not performed a legal analysis and makes no representation or warranty as to the accuracy of the list.)
Marelli Automotive Lighting Reutlingen Germany GmbH
Original Assignee
Automotive Lighting Reutlingen GmbH
Priority date (The priority date is an assumption and is not a legal conclusion. Google has not performed a legal analysis and makes no representation as to the accuracy of the date listed.)
Filing date
Publication date
Family has litigation
First worldwide family litigation filed litigation Critical https://patents.darts-ip.com/?family=42194651&utm_source=google_patent&utm_medium=platform_link&utm_campaign=public_patent_search&patent=EP2366939(B1) "Global patent litigation dataset” by Darts-ip is licensed under a Creative Commons Attribution 4.0 International License.
Application filed by Automotive Lighting Reutlingen GmbH filed Critical Automotive Lighting Reutlingen GmbH
Publication of EP2366939A2 publication Critical patent/EP2366939A2/de
Publication of EP2366939A3 publication Critical patent/EP2366939A3/de
Application granted granted Critical
Publication of EP2366939B1 publication Critical patent/EP2366939B1/de
Active legal-status Critical Current
Anticipated expiration legal-status Critical

Links

Images

Classifications

    • FMECHANICAL ENGINEERING; LIGHTING; HEATING; WEAPONS; BLASTING
    • F21LIGHTING
    • F21SNON-PORTABLE LIGHTING DEVICES; SYSTEMS THEREOF; VEHICLE LIGHTING DEVICES SPECIALLY ADAPTED FOR VEHICLE EXTERIORS
    • F21S41/00Illuminating devices specially adapted for vehicle exteriors, e.g. headlamps
    • F21S41/60Illuminating devices specially adapted for vehicle exteriors, e.g. headlamps characterised by a variable light distribution
    • F21S41/65Illuminating devices specially adapted for vehicle exteriors, e.g. headlamps characterised by a variable light distribution by acting on light sources
    • F21S41/663Illuminating devices specially adapted for vehicle exteriors, e.g. headlamps characterised by a variable light distribution by acting on light sources by switching light sources
    • FMECHANICAL ENGINEERING; LIGHTING; HEATING; WEAPONS; BLASTING
    • F21LIGHTING
    • F21SNON-PORTABLE LIGHTING DEVICES; SYSTEMS THEREOF; VEHICLE LIGHTING DEVICES SPECIALLY ADAPTED FOR VEHICLE EXTERIORS
    • F21S41/00Illuminating devices specially adapted for vehicle exteriors, e.g. headlamps
    • F21S41/10Illuminating devices specially adapted for vehicle exteriors, e.g. headlamps characterised by the light source
    • F21S41/14Illuminating devices specially adapted for vehicle exteriors, e.g. headlamps characterised by the light source characterised by the type of light source
    • F21S41/141Light emitting diodes [LED]
    • F21S41/147Light emitting diodes [LED] the main emission direction of the LED being angled to the optical axis of the illuminating device
    • F21S41/148Light emitting diodes [LED] the main emission direction of the LED being angled to the optical axis of the illuminating device the main emission direction of the LED being perpendicular to the optical axis
    • FMECHANICAL ENGINEERING; LIGHTING; HEATING; WEAPONS; BLASTING
    • F21LIGHTING
    • F21SNON-PORTABLE LIGHTING DEVICES; SYSTEMS THEREOF; VEHICLE LIGHTING DEVICES SPECIALLY ADAPTED FOR VEHICLE EXTERIORS
    • F21S41/00Illuminating devices specially adapted for vehicle exteriors, e.g. headlamps
    • F21S41/10Illuminating devices specially adapted for vehicle exteriors, e.g. headlamps characterised by the light source
    • F21S41/14Illuminating devices specially adapted for vehicle exteriors, e.g. headlamps characterised by the light source characterised by the type of light source
    • F21S41/141Light emitting diodes [LED]
    • F21S41/151Light emitting diodes [LED] arranged in one or more lines
    • FMECHANICAL ENGINEERING; LIGHTING; HEATING; WEAPONS; BLASTING
    • F21LIGHTING
    • F21SNON-PORTABLE LIGHTING DEVICES; SYSTEMS THEREOF; VEHICLE LIGHTING DEVICES SPECIALLY ADAPTED FOR VEHICLE EXTERIORS
    • F21S41/00Illuminating devices specially adapted for vehicle exteriors, e.g. headlamps
    • F21S41/20Illuminating devices specially adapted for vehicle exteriors, e.g. headlamps characterised by refractors, transparent cover plates, light guides or filters
    • F21S41/25Projection lenses
    • F21S41/265Composite lenses; Lenses with a patch-like shape
    • FMECHANICAL ENGINEERING; LIGHTING; HEATING; WEAPONS; BLASTING
    • F21LIGHTING
    • F21SNON-PORTABLE LIGHTING DEVICES; SYSTEMS THEREOF; VEHICLE LIGHTING DEVICES SPECIALLY ADAPTED FOR VEHICLE EXTERIORS
    • F21S41/00Illuminating devices specially adapted for vehicle exteriors, e.g. headlamps
    • F21S41/30Illuminating devices specially adapted for vehicle exteriors, e.g. headlamps characterised by reflectors
    • F21S41/32Optical layout thereof
    • F21S41/33Multi-surface reflectors, e.g. reflectors with facets or reflectors with portions of different curvature
    • F21S41/334Multi-surface reflectors, e.g. reflectors with facets or reflectors with portions of different curvature the reflector consisting of patch like sectors
    • F21S41/336Multi-surface reflectors, e.g. reflectors with facets or reflectors with portions of different curvature the reflector consisting of patch like sectors with discontinuity at the junction between adjacent areas
    • FMECHANICAL ENGINEERING; LIGHTING; HEATING; WEAPONS; BLASTING
    • F21LIGHTING
    • F21SNON-PORTABLE LIGHTING DEVICES; SYSTEMS THEREOF; VEHICLE LIGHTING DEVICES SPECIALLY ADAPTED FOR VEHICLE EXTERIORS
    • F21S41/00Illuminating devices specially adapted for vehicle exteriors, e.g. headlamps
    • F21S41/30Illuminating devices specially adapted for vehicle exteriors, e.g. headlamps characterised by reflectors
    • F21S41/32Optical layout thereof
    • F21S41/36Combinations of two or more separate reflectors
    • FMECHANICAL ENGINEERING; LIGHTING; HEATING; WEAPONS; BLASTING
    • F21LIGHTING
    • F21WINDEXING SCHEME ASSOCIATED WITH SUBCLASSES F21K, F21L, F21S and F21V, RELATING TO USES OR APPLICATIONS OF LIGHTING DEVICES OR SYSTEMS
    • F21W2102/00Exterior vehicle lighting devices for illuminating purposes
    • F21W2102/10Arrangement or contour of the emitted light
    • F21W2102/17Arrangement or contour of the emitted light for regions other than high beam or low beam
    • F21W2102/19Arrangement or contour of the emitted light for regions other than high beam or low beam for curves

Definitions

  • the present invention relates to a motor vehicle headlight with the features of the preamble of claim 1.
  • Such a headlight is from the EP 2 028 411 A2 and the EP 1 970 617 A1 known.
  • motor vehicle headlights with free-form reflectors are known, the reflection surface of which is subdivided into individual facets or groups of facets and in which different facets or groups of facets are set up to perform different tasks in generating a required total light distribution of the reflector or the headlight.
  • An example of such a task is the generation of a first light distribution with a large range, possibly with a light-dark boundary lying relatively far in front of the vehicle.
  • Another example is Generation of a second light distribution with a certain light intensity in the lateral apron of the vehicle, which is also referred to as side scatter, and / or in the vicinity of the vehicle.
  • the various facets or groups of facets thus represent examples of the optical elements mentioned at the beginning.
  • the individual partial areas or facets each have approximately the same focal length and approximately the same distance from the light source.
  • the focal length and the distance are primarily based on the requirements for the first light distribution, i.e. the intensity of the light over long ranges, in particular in the vicinity of a light-dark boundary and in the transition from the comparatively bright region below the light-dark boundary to the comparatively dark region above the light-dark boundary .
  • comparatively large values of the focal length and the distance between the light source and the optical element are used.
  • the object of the invention is to provide a motor vehicle headlamp of the type mentioned at the outset, which allows an improvement in the second light distribution without having to accept unacceptable disadvantages in the first light distribution.
  • a first optical element is then arranged at a comparatively large distance from the light source, and a second optical element is in one comparatively small distance from the light source arranged so that a light distribution generated by the first optical element and a light distribution generated by the second optical element overlap.
  • a first light distribution generated by the interaction of the first optical element and the light source is comparatively insensitive to the light source geometry.
  • a second light distribution generated by the interaction of the second optical element and the light source is comparatively sensitive to the light source geometry.
  • Chiaroscuro limits are usually generated with comparatively large focal lengths.
  • the fact that the first optical element has a larger focal length than the second optical element allows, in particular, the maintenance of an optimized first light distribution which has a long range and which may have a light-dark boundary.
  • the smaller focal length of the second optical element has the advantage that it increases a converging effect of the second optical element, so that the second optical element collects more light than it would collect with a larger focal length.
  • the efficiency of the headlamp i.e. the proportion of the luminous flux that produces the desired light distribution, in the total luminous flux of the Light source, enlarged. This enlargement improves in particular the second light distribution and thus in particular the side scatter.
  • the light source has a plurality of semiconductor light sources, there is a great deal of design freedom in the design of the light source geometry through a possible variation in the arrangement and the distances of the individual semiconductor light sources, which are only a few mm in size.
  • the light source geometry represents an essential influencing variable for the light distribution of the headlamp.
  • this embodiment enables a design of the light source geometry that optimizes side scattering is permitted, and any disadvantages that may arise when generating the Patoscuro boundary can be kept within a tolerable range.
  • the geometry of the light source can be changed temporarily if necessary, a particular advantage resulting from the fact that the first light distribution is comparatively insensitive to the light source geometry and thus also comparatively insensitive to changes in the light source geometry, while the second light distribution reacts accordingly more strongly to the changes in the light source geometry.
  • the clearly perceptible increase in intensity in the vicinity of the vehicle and in front of the vehicle increases safety when turning. This positive effect can be further increased by sequential engagement, the engagement taking place depending on the steering angle, for example.
  • the semiconductor light sources are arranged in a row oriented transversely to a main emission direction of the headlights implies different distances of the individual semiconductor light sources from a central axis pointing in the direction of the main emission direction of the headlights, for example an optical axis, the headlights and / or the second optical element.
  • the range of the light scattered in the lateral apron improves.
  • the individual light sources of the row are arranged relative to a central axis of the second optical element such that a light distribution generated by the second optical element increasingly extends to one side with an increasing number of switched-on light sources.
  • An asymmetry of the light source arrangement with respect to the central axis thus leads to a desired asymmetry in the change in the side scatter. This is advantageous if, for example, a right (left) headlight is set up to generate a right (left) cornering light.
  • the first optical element is a first reflector region and the second optical element is a second reflector region.
  • the invention is not limited to an implementation with reflector areas and can alternatively also be implemented with lenses, the first optical element being a first lens and the second optical element being a second lens.
  • the second reflector region has different subregions, each of which is optimized with regard to its interaction with an individually switchable semiconductor light source or individually switchable group of semiconductor light sources, which further improves the side scatter allowed.
  • the described configurations of reflector solutions can alternatively be realized by separate reflectors or by different areas of an individual reflector component.
  • the shows in detail Fig. 1 a motor vehicle headlight 10 with a light source 12 and at least two optical elements 14, 16, which are arranged together with the light source 12 in the interior of a housing 18 of the headlight 10.
  • the otherwise non-transparent housing 18 is covered by a transparent cover 20.
  • the optical elements 14, 16 are implemented as reflector regions R_14, R_16.
  • the reflector regions R_14, R_16 are set up to distribute light L_14, L_16 of the light source 12 in a predetermined manner.
  • a first reflector region R_14 is a first optical element 14 in a comparative manner large distance d_14 to the light source 12, and a second reflector region R_16 is arranged as a second optical element 16 at a comparatively small distance d_16 to the light source 12.
  • the light distribution LV predetermined by the shape and arrangement of the reflector regions R_14, R_16, which is established as an illuminated surface on a screen 22 arranged in front of the headlight 10 when the light source 16 is switched on, is composed of a first light distribution LV_14 and a second light distribution LV_16.
  • the first light distribution LV_14 is generated by the portion L_14 of the light from the light source 12, which is reflected by the first optical element 14.
  • the second light distribution LV_16 is generated by the portion L_16 of the light from the light source 12, which is reflected by the second optical element 16.
  • the light distribution LV_14 generated by the first optical element 14 overlaps with the light distribution LV_16 generated by the second optical element 16 to form the light distribution LV, the intensities of the light distributions LV_14, LV_16 adding up in the overlap region.
  • the second reflector region R_16 is arranged significantly closer to the light source 12 than the first reflector region R_14, the light distribution LV_16 resulting from the light L_16 of the second reflector region R_16 has a comparatively greater extent in the vertical direction V and is therefore particularly suitable for illuminating the close range in front of the vehicle and to illuminate the side apron.
  • the reflector area R_16 also has a comparatively smaller focal length than the first reflector area R_14. He therefore collects comparatively a lot of light and therefore has a comparatively good efficiency, which increases the lighting intensity in the second light distribution LV_16. Due to the comparatively larger focal length of the first reflector region R_14, this allows, for example, a sufficiently sharp light-dark boundary to be generated and / or a comparatively greater concentration of the light at a greater distance in front of the vehicle.
  • Fig. 2 shows a perspective view of the arrangement of two reflector regions R_14, R_16 together with a light source 12, as it is with reference to FIG Fig. 1 has been explained, together with details of a preferred embodiment of the light source 12.
  • the Fig. 2 a light distribution that results from a specific operating mode of the light source 12.
  • the shows in detail Fig. 2 a light source 12 having a plurality of semiconductor light sources 24, 26, 28, 30.
  • a majority means any natural number greater than 1.
  • the semiconductor light sources 24 to 30 are mounted individually or in groups switchable on a mounting bracket 32.
  • the semiconductor light sources 24 to 30 are light-emitting diodes which are activated by control and power electronics in the form of a control unit.
  • the control unit can be a component of the headlight 10 or can be arranged as a separate component outside the headlight 10 in the motor vehicle.
  • the light from the semiconductor light sources 24 to 30 is preferably only through the reflector, if necessary additionally bundled by an attachment lens or by potting the light source with transparent plastic.
  • the mounting bracket 32 can also contain one or more devices for carrying the heat loss that occurs during operation of the semiconductor light sources to a heat sink arranged on the rear of the mounting bracket.
  • a mounting bracket 32 with an integrated heat sink, for example in the form of a metal core board, can be used.
  • the mounting bracket 32 also serves to fasten the second reflector area R_16, which is arranged comparatively closer to the light source 12 than the first reflector area R_14.
  • the mounting bracket 32 is preferably used to assemble the complete reflector component. This achieves an accuracy of the arrangement of the semiconductor light sources 24 to 30 relative to the reflector regions R_14, R_16, which is only limited by the manufacturing accuracy of the mounting bracket 32 and the coherent reflector component.
  • FIG. 2 shows an expansion of the light distributions mentioned in the horizontal direction H.
  • the light distribution LV_14 for the long range is shown in the qualitative representation of the Fig. 2 on the right side of the Fig. 2 bounded by a vertical straight line G_14 (24).
  • the distance between the straight lines G_14 (24) and G_16 (24) represents a measure of the lateral range of the light distribution LV or the light distribution LV_16.
  • the semiconductor light sources 24 to 30 are arranged in a row oriented transversely to the main emission direction 34 of the headlight 10. For this reason, the lateral range of the light distribution depends on LV; or the light distribution LV_16 from which of the semiconductor light sources 24 to 26 are switched on.
  • the light L_14 and L_16 which generates the light distributions LV_14 and LV_16, is only generated by a single switched on semiconductor light source 24.
  • the other semiconductor light sources 26, 28, 30 are switched off.
  • the Figure 3 shows the subject of Fig. 2 in a second switch-on state and a resulting, changed light distribution, as well as with the straight lines G_14 (24) and G_16 (24) from the Fig. 2 .
  • the straight lines G_14 (24) and G_16 (24) from the Fig. 2 .
  • all four semiconductor light sources 24 to 30 are switched on. It can be seen that the light distribution LV_14 has increased comparatively little beyond the position of the straight line G_14 (24) to the right as a result of the switching on of the further light sources 26, 28 and 30.
  • the light distribution LV_16 which is generated by the reflector regions R_16 arranged closer to the light source 12, has shifted to the right to a much greater extent beyond the position of the straight line G_16 (24) and is now considered purely qualitatively by the straight line G_16 (24, 26, 28, 30) limited.
  • the distance between the straight lines G_16 (24, 26, 28, 30) and G_14 (24), as with the Fig. 2 represents a measure of the lateral range of the light distribution LV or the light distribution LV_16.
  • a comparison of this distance in the Fig. 4 with the appropriate distance in the Fig. 2 represents the extent of lateral illumination expansion achieved by the invention. This extent also corresponds directly to the distance of the two straight lines G_16 (24) and G_16 (24, 26, 28, 30) from the Fig. 3 .
  • the successive activation takes place as a function of a steering angle of the vehicle in such a way that an increasing steering angle triggers an increase in the range of the lateral illumination. Due to the clear connection effect, for example, a sequential cornering light can be provided in this sense.
  • this connection effect also depends on the arrangement of the light sources 24-30 with respect to a central, optical axis of the second reflector region 16.
  • a central optical axis corresponds to a beam which is parallel to the main direction of propagation 34 with only one semiconductor light source 24 switched on and which points to the intensity maximum of the resulting second light distribution LV_16.
  • the semiconductor light sources 24 to 30 are preferably arranged such that a light distribution LV_16 generated by the second optical element R_16 expands to one side with an increasing number of switched-on light sources.
  • Such an effect results in particular for a row arrangement of the semiconductor light sources 24-30 aligned transversely to the central axis, in which the first semiconductor light source 24 lies on the central axis or is closest to the central axis.
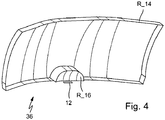
  • the Fig. 4 shows an embodiment in which the reflector regions R_14 and R_16 are realized by different regions of an individual reflector component 36.
  • the second reflector region 16 protrudes, as it were, with respect to the first reflector region in the direction of the light source 12, so that the second reflector region R_16 lies, as it were, between the first reflector region R_14 and the light source 12.
  • the reflector regions R_14 and R_16 can alternatively also be realized by reflectors which are separate from one another, that is to say by separate components, as is shown in FIGS Figures 2 and 3rd suggest.
  • the reflector regions R_14 and R_16 are arranged such that the second reflector region R_16 is, as it were, between the first reflector region R_14 and the light source 12.
  • the second reflector region R_16 has different subregions, each of which is optimized with regard to its interaction with an individually switchable semiconductor light source or individually switchable group of semiconductor light sources.
  • lenses as optical elements 14, 16 or with a lens as optical element 14 and one Reflector as an optical element 16, or with a reflector as an optical element 14 and a lens as an optical element 16 can be achieved.
  • a motor vehicle headlight 10 which has the features described here can furthermore have further elements such as further optical elements, light sources and / or light modules.

Landscapes

  • Engineering & Computer Science (AREA)
  • General Engineering & Computer Science (AREA)
  • Physics & Mathematics (AREA)
  • Microelectronics & Electronic Packaging (AREA)
  • Optics & Photonics (AREA)
  • Non-Portable Lighting Devices Or Systems Thereof (AREA)

Description

  • Die vorliegende Erfindung betrifft einen Kraftfahrzeugscheinwerfer mit den Merkmalen des Oberbegriffs des Anspruchs 1.
  • Ein solcher Scheinwerfer ist aus der EP 2 028 411 A2 und der EP 1 970 617 A1 bekannt. Es sind insbesondere Kraftfahrzeugscheinwerfer mit Freiformreflektoren bekannt, deren Reflexionsfläche in einzelne Facetten oder Gruppen von Facetten unterteilt ist und bei denen verschiedene Facetten oder Gruppen von Facetten dazu eingerichtet sind, verschiedene Aufgaben bei der Erzeugung einer geforderten Gesamt-Lichtverteilung des Reflektors oder des Scheinwerfers zu erfüllen. Ein Beispiel einer solchen Aufgabe ist die Erzeugung einer ersten, eine große Reichweite aufweisenden Lichtverteilung, gegebenenfalls mit einer relativ weit vor dem Fahrzeug liegenden HellDunkelgrenze. Ein anderes Beispiel ist die Erzeugung einer zweiten Lichtverteilung mit einer bestimmten Lichtintensität im seitlichen Vorfeld des Fahrzeugs, was auch als Seitenstreuung bezeichnet wird, und/oder im Nahbereich vor dem Fahrzeug.
  • Die verschiedenen Facetten oder Gruppen von Facetten stellen insofern Beispiele der eingangs genannten optischen Elemente dar. Bei den bekannten Reflektoren weisen die einzelnen Teilbereiche oder Facetten jeweils etwa die gleiche Brennweite und etwa den gleichen Abstand zur Lichtquelle auf. Dabei richtet sich die Brennweite und der Abstand primär nach den Anforderungen an die erste Lichtverteilung, also an die Intensität des Lichtes bei großen Reichweiten, insbesondere in der Nähe einer Helldunkelgrenze und im Übergang vom vergleichsweise hellen Bereich unterhalb der Helldunkelgrenze zum vergleichsweise dunklen Bereich oberhalb der Helldunkelgrenze. Dazu werden vergleichsweise große Werte der Brennweite und des Abstandes zwischen der Lichtquelle und dem optischen Element verwendet.
  • Die Aufgabe der Erfindung besteht in der Angabe eines Kraftfahrzeugscheinwerfers der eingangs genannten Art, der eine Verbesserung der zweiten Lichtverteilung erlaubt, ohne dafür nicht tolerierbare Nachteile bei der ersten Lichtverteilung in Kauf nehmen zu müssen.
  • Diese Aufgabe wird bei einem Scheinwerfer der eingangs genannten Art durch die kennzeichnenden Merkmale des Anspruchs 1 gelöst.
  • Danach ist ein erstes optisches Element in einem vergleichsweise großen Abstand zur Lichtquelle angeordnet, und ein zweites optisches Element ist in einem vergleichsweise kleinen Abstand zur Lichtquelle so angeordnet, dass sich eine vom dem ersten optischen Element erzeugte Lichtverteilung und eine vom zweiten optischen Element erzeugte Lichtverteilung überlappen.
  • Durch die Anordnung des ersten optischen Elements in dem vergleichsweise großen Abstand ist eine durch das Zusammenwirken des ersten optischen Elements und der Lichtquelle erzeugte erste Lichtverteilung vergleichsweise unempfindlich gegenüber der Lichtquellengeometrie. Eine durch das Zusammenwirken des zweiten optischen Elements und der Lichtquelle erzeugte zweite Lichtverteilung ist dagegen vergleichsweise empfindlich gegenüber der Lichtquellengeometrie.
  • Diese Eigenschaften erlauben eine Optimierung der zweiten Lichtverteilung, insbesondere einer Seitenstreuung, ohne dafür gravierende Nachteile bei der Optimierung der ersten Lichtverteilung in Kauf nehmen zu müssen.
  • Helldunkelgrenzen werden in der Regel mit vergleichsweise großen Brennweiten erzeugt. Der Umstand, dass das erste optische Element eine größere Brennweite besitzt als das zweite optische Element,erlaubt insbesondere das Beibehalten einer optimierten ersten Lichtverteilung, die eine große Reichweite aufweist und die gegebenenfalls eine Helldunkelgrenze aufweist. Die kleinere Brennweite des zweiten optischen Elements hat den Vorteil, dass sie eine konvergierende Wirkung des zweiten optischen Elements erhöht, so dass das zweite optische Element mehr Licht sammelt als es bei größerer Brennweite einsammeln würde. Dadurch wird der Wirkungsgrad des Schweinwerfers, also der Anteil des Lichtstroms, der die gewünschte Lichtverteilung erzeugt, an dem Gesamtlichtstrom der Lichtquelle, vergrößert. Diese Vergrößerung verbessert insbesondere die zweite Lichtverteilung und damit insbesondere die Seitenstreuung.
  • Dadurch, dass die Lichtquelle eine Mehrzahl von Halbleiterlichtquellen aufweist, ergibt sich ein großer Gestaltungsspielraum beim Entwurf der Lichtquellengeometrie durch eine mögliche Variation der Anordnung und der Abstände der nur wenige mm großen einzelnen Halbleiterlichtquellen. In ihrem Zusammenwirken mit der Geometrie und Anordnung der optischen Elemente stellt die Lichtquellengeometrie eine wesentliche Einflussgröße für die Lichtverteilung des Scheinwerfers dar. In Verbindung mit den unterschiedlichen Empfindlichkeiten der beiden optischen Elemente in Bezug auf die Lichtquellengeometrie ermöglicht diese Ausgestaltung ein Design der Lichtquellengeometrie, das eine Optimierung der Seitenstreuung erlaubt, wobei gegebenenfalls auftretende Nachteile bei der Erzeugung der Helldunkelgrenze in einem tolerierbaren Rahmen gehalten werden können.
  • Dadurch, dass die Halbleiterlichtquellen einzeln oder gruppenweise einschaltbar sind, kann die Geometrie der Lichtquelle bei Bedarf zeitweise verändert werden, wobei ein besonderer Vorteil daraus resultiert, dass die erste Lichtverteilung vergleichsweise unempfindlich gegenüber der Lichtquellengeometrie und damit auch vergleichsweise unempfindlich gegenüber Änderungen der Lichtquellengeometrie ist, während die zweite Lichtverteilung entsprechend stärker auf die Änderungen der Lichtquellengeometrie reagiert. Dadurch wird in der Ausleuchtung des Nahbereichs vor dem Fahrzeug und des seitlichen Fahrzeugvorfeldes ein deutlicher Zuschalteffekt erzielt, ohne dass sich die langreichweitigen Anteile der Gesamtlichtverteilung in unzulässiger Weise ändern. Durch die deutlich wahrnehmbare Intensitätssteigerung im Nahbereich vor dem Fahrzeug und im seitlichen Fahrzeugvorfeld wird die Sicherheit beim Abbiegen erhöht. Durch sequenzielles Zuschalten kann dieser positive Effekt noch gesteigert werden, wobei das Zuschalten z.B. in Abhängigkeit vom Lenkwinkel erfolgt.
  • Der Umstand, dass die Halbleiterlichtquellen in einer quer zu einer Hauptabstrahlrichtung der Scheinwerfer ausgerichteten Reihe angeordnet sind, impliziert verschiedene Abstände der einzelnen Halbleiterlichtquellen von einer zentralen, in Richtung der Hauptabstrahlrichtung des Scheinwerfers weisenden Achse, zum Beispiel einer optischen Achse, des Scheinwerfers und/oder des zweiten optischen Elements. Mit zunehmenden Abstand der eingeschalteten Halbleiterlichtquelle verbessert sich die Reichweite des in das seitliche Vorfeld gestreuten Lichtes.
  • Bevorzugt ist auch, dass die einzelnen Lichtquellen der Reihe relativ zu einer zentralen Achse des zweiten optischen Elements so angeordnet sind, dass sich eine von dem zweiten optischen Element erzeugte Lichtverteilung mit zunehmender Anzahl eingeschalteter Lichtquellen zunehmend zu einer Seite ausdehnt. Eine Asymmetrie der Lichtquellenanordnung in Bezug auf die zentrale Achse führt also zu einer erwünschten Asymmetrie der Veränderung der Seitenstreuung. Dies ist dann von Vorteil, wenn zum Beispiel ein rechter (linker) Scheinwerfer zur Erzeugung eines rechten (linken) Abbiegelichtes eingerichtet ist.
  • In einer bevorzugten Ausgestaltung ist das erste optische Element ein erster Reflektorbereich, und das zweite optische Element ist ein zweiter Reflektorbereich.
  • Die Erfindung ist aber nicht auf eine Realisierung mit Reflektorebereichen beschränkt und kann alternativ auch mit Linsen realisiert werden, wobei das erste optische Element eine erste Linse ist und das zweite optische Element eine zweite Linse ist.
  • Im Fall der Realisierung der Erfindung mit Reflektoren sieht eine bevorzugte Ausgestaltung vor, dass der zweite Reflektorbereich verschiedene Teilbereiche aufweist, von denen jeder in Bezug auf sein Zusammenwirken mit einer einzeln schaltbaren Halbleiterlichtquelle oder einzeln schaltbaren Gruppe von Halbleiterlichtquellen optimiert ist, was eine weitere Verbesserung der Seitenstreuung erlaubt.
  • Die beschriebenen Ausgestaltungen von Reflektorlösungen lassen sich alternativ durch voneinander getrennte Reflektoren oder durch unterschiedliche Bereiche eines einzelnen Reflektorbauteils realisieren.
  • Weitere Vorteile ergeben sich aus den abhängigen Ansprüchen, der Beschreibung und den beigefügten Figuren.
  • Es versteht sich, dass die vorstehend genannten und die nachstehend noch zu erläuternden Merkmale nicht nur in der jeweils angegebenen Kombination, sondern auch in anderen Kombinationen oder in Alleinstellung verwendbar sind, ohne den Rahmen der vorliegenden Erfindung zu verlassen.
  • Zeichnungen
  • Ausführungsbeispiele der Erfindung sind in den Zeichnungen dargestellt und werden in der nachfolgenden Beschreibung näher erläutert. Es zeigen, jeweils in schematischer Form:
  • Fig. 1
    ein Ausführungsbeispiel eines erfindungsgemäßen Scheinwerfers;
    Fig. 2
    einzelne Elemente aus der Fig. 1 mit einer Mehrzahl von Halbleiterlichtquellen in einem ersten Einschaltzustand und einer resultierenden Lichtverteilung;
    Fig. 3
    den Gegenstand der Fig. 2 in einem zweiten Einschaltzustand und einer resultierenden Lichtverteilung; und
    Fig. 4
    eine perspektivische Darstellung eines Reflektors mit zwei zusammenhängenden Reflektorbereichen, für die sich unterschiedliche Abstände zu einer Lichtquelle ergeben.
  • Im Einzelnen zeigt die Fig. 1 einen Kraftfahrzeugscheinwerfer 10 mit einer Lichtquelle 12 und wenigstens zwei optischen Elementen 14, 16, die zusammen mit der Lichtquelle 12 im Inneren eines Gehäuses 18 des Schweinwerfers 10 angeordnet sind. Das ansonsten intransparente Gehäuse 18 wird durch eine transparente Abdeckscheibe 20 abgedeckt. Die optischen Elemente 14, 16 sind in dieser Ausgestaltung als Reflektorbereiche R_14, R_16 realisiert.
  • Die Reflektorbereiche R_14, R_16 sind durch ihre Form und relative Anordnung zur Lichtquelle 12 dazu eingerichtet, Licht L_14, L_16 der Lichtquelle 12 in vorbestimmter Weise zu verteilen. Dabei ist ein erster Reflektorbereich R_14 als erstes optisches Element 14 in einem vergleichsweise großen Abstand d_14 zur Lichtquelle 12 angeordnet, und ein zweiter Reflektorbereich R_16 ist als zweites optisches Element 16 in einem vergleichsweise kleinen Abstand d_16 zur Lichtquelle 12 angeordnet.
  • Die durch die Form und Anordnung der Reflektorbereiche R_14, R_16 vorbestimmte Lichtverteilung LV, die sich bei eingeschalteter Lichtquelle 16 als beleuchtete Fläche auf einem vor dem Scheinwerfer 10 angeordneten Schirm 22 einstellt, setzt sich aus einer ersten Lichtverteilung LV_14 und einer zweiten Lichtverteilung LV_16 zusammen. Die erste Lichtverteilung LV_14 wird vom Anteil L_14 des Lichtes der Lichtquelle 12 erzeugt, der vom ersten optischen Element 14 reflektiert wird. Analog wird die zweite Lichtverteilung LV_16 vom Anteil L_16 des Lichtes der Lichtquelle 12 erzeugt, der vom zweiten optischen Element 16 reflektiert wird. Die von dem ersten optischen Element 14 erzeugte Lichtverteilung LV_14 überlappt sich mit der vom zweiten optischen Element 16 erzeugten Lichtverteilung LV_16 zu der Lichtverteilung LV, wobei sich die Intensitäten der Lichtverteilungen LV_14, LV_16 im Überlappungsbereich addieren.
  • Da der zweite Reflektorbereich R_16 deutlich näher an der Lichtquelle 12 angeordnet ist, als der erste Reflektorbereich R_14, hat die aus dem Licht L_16 des zweiten Reflektorbereiches R_16 resultierende Lichtverteilung LV_16 eine vergleichsweise größere Ausdehnung in vertikaler Richtung V und eignet sich daher insbesondere zur Ausleuchtung des Nahbereiches vor dem Fahrzeug und zur Ausleuchtung des seitlichen Vorfeldes. Der Reflektorbereich R_16 besitzt darüber hinaus eine vergleichsweise kleinere Brennweite als der erste Reflektorbereich R_14. Er sammelt daher vergleichsweise viel Licht und besitzt daher einen vergleichsweise guten Wirkungsgrad, was die Beleuchtungsintensität in der zweiten Lichtverteilung LV_16 erhöht. Durch die vergleichsweise größere Brennweite des ersten Reflektorbereichs R_14 erlaubt dieser zum Beispiel eine Erzeugung einer ausreichend scharfen Helldunkelgrenze und/oder eine vergleichsweise stärkere Bündelung des Lichtes in größerer Entfernung vor dem Fahrzeug.
  • Fig. 2 zeigt eine perspektivische Darstellung der Anordnung von zwei Reflektorbereichen R_14, R_16 zusammen mit einer Lichtquelle 12, wie sie unter Bezug auf die Fig. 1 erläutert worden ist, zusammen mit Details einer bevorzugten Ausgestaltung der Lichtquelle 12. Darüber hinaus zeigt die Fig. 2 eine Lichtverteilung, die sich aus einer bestimmten Betriebsweise der Lichtquelle 12 ergibt.
  • Im Einzelnen zeigt die Fig. 2 eine Lichtquelle 12, die eine Mehrzahl von Halbleiterlichtquellen 24, 26, 28, 30 aufweist. Mit einer Mehrzahl ist hier jede natürliche Zahl größer als 1 gemeint.
  • Die Halbleiterlichtquellen 24 bis 30 sind einzeln oder in Gruppen schaltbar auf eine Montageträger 32 montiert. Die Halbleiterlichtquellen 24 bis 30 sind in einer bevorzugten Ausgestaltung Leuchtdioden, die von einer Ansteuer- und Leistungselektronik in Form eines Steuergeräts angesteuert werden. Das Steuergerät kann ein Bestandteil des Scheinwerfers 10 sein oder als separate Komponente außerhalb des Scheinwerfers 10 im Kraftfahrzeug angeordnet sein.
  • Das Licht der Halbleiterlichtquellen 24 bis 30 wird bevorzugt nur durch den Reflektor, bei Bedarf noch zusätzlich durch eine Vorsatzlinse, beziehungsweise durch einen Verguss der Lichtquelle mit transparentem Kunststoff gebündelt.
  • Auf dem Montageträger 32 können neben den Halbleiterlichtquellen 24 bis 30 auch weitere elektronische Bauteile angeordnet sein. Der Montageträger 32 kann darüber hinaus eine oder mehrere Vorrichtungen zur Durchführung der beim Betrieb der Halbleiterlichtquellen auftretenden Verlustwärme an einen auf der Rückseite des Montageträgers angeordneten Kühlkörper enthalten. Alternativ kann ein Montageträger 32 mit integriertem Kühlkörper, beispielsweise in Form einer Metallkernplatine, verwendet werden. In der dargestellten Ausgestaltung dient der Montageträger 32 darüber hinaus zur Befestigung des zweiten Reflektorbereichs R_16, der vergleichsweise näher an der Lichtquelle 12 angeordnet ist als der erste Reflektorbereich R_14.
  • Bei einer Ausgestaltung, bei der die Reflektorbereiche R_14, R_16 durch unterschiedliche Bereiche eines einzelnen Reflektorbauteils realisiert werden, dient der Montageträger 32 bevorzugt zur Montage des kompletten Reflektorbauteils. Dadurch wird eine Genauigkeit der Anordnung der Halbleiterlichtquellen 24 bis 30 relativ zu den Reflektorbereichen R_14, R_16 erzielt, die nur von der Fertigungsgenauigkeit des Montageträgers 32 und des zusammenhängenden Reflektorbauteils begrenzt wird.
  • Von den eingeschalteten Halbleiterlichtquellen 24 bis 30 ausgehendes Licht wird, soweit es auf die Reflektorbereiche R_14, R_16 trifft, von diesen in eine Hauptabstrahlrichtung 34 reflektiert. Dabei ergibt sich in einiger Entfernung vor dem Fahrzeug die dargestellte Lichtverteilung LV, wie sie bereits im Zusammenhang mit der Fig. 1 erläutert worden ist. Im Unterschied zu der Fig. 1, die lediglich eine Ausdehnung der Lichtverteilungen LV_14, LV_16 und LV in vertikaler Richtung V veranschaulicht, zeigt die Fig. 2 auch eine Ausdehnung der genannten Lichtverteilungen in horizontaler Richtung H. Dabei wird die Lichtverteilung LV_14 für den Fernbereich in der qualitativen Darstellung der Fig. 2 auf der rechten Seite der Fig. 2 von einer vertikal verlaufenden Gerade G_14(24) begrenzt. Analog wird die Lichtverteilung LV_16 für den Nahbereich und die Seitenausleuchtung in der qualitativen Darstellung der Fig. 2 durch eine weiter rechts vertikal verlaufende Gerade G_16(24) begrenzt. Der Abstand der Geraden G_14(24) und G_16(24) stellt ein Maß für die seitliche Reichweite der Lichtverteilung LV, beziehungsweise der Lichtverteilung LV_16 dar.
  • Die Halbleiterlichtquellen 24 bis 30 sind in der dargestellten Ausgestaltung in einer quer zu der Hauptabstrahlrichtung 34 des Scheinwerfers 10 ausgerichteten Reihe angeordnet. Aus diesem Grund hängt die seitliche Reichweite der Lichtverteilung LV; beziehungsweise der Lichtverteilung LV_16 davon ab, welche der Halbleiterlichtquellen 24 bis 26 eingeschaltet sind.
  • In der Ausgestaltung, die in der Fig. 2 dargestellt ist, wird das Licht L_14 und L_16, das die Lichtverteilungen LV_14 und LV_16 erzeugt, nur von einer einzigen eingeschalteten Halbleiterlichtquelle 24 erzeugt. Die übrigen Halbleiterlichtquellen 26, 28, 30 sind ausgeschaltet.
  • Aus diesem Grund ist die Lage der Geraden G_14 und G_16 nur von der ersten Halbleiterlichtquelle 24 abhängig. Aus diesem Grund sind die Geraden G_14 und G_16 in der Fig. 2 als G_14(24) und G_16(24) bezeichnet.
  • Die Figur 3 zeigt den Gegenstand der Fig. 2 in einem zweiten Einschaltzustand und einer daraus resultierenden, veränderten Lichtverteilung, sowie mit den Geraden G_14(24) und G_16(24) aus der Fig. 2. In der Darstellung der Fig. 3 sind alle vier Halbleiterlichtquellen 24 bis 30 eingeschaltet. Man erkennt, dass sich die Lichtverteilung LV_14 durch das Einschalten der weiteren Lichtquellen 26, 28 und 30 nur vergleichsweise wenig über die Lage der Geraden G_14(24) hinaus nach rechts vergrößert hat. Dagegen hat sich die Lichtverteilung LV_16, die durch den näher an der Lichtquelle 12 angeordneten Reflektorbereiche R_16 erzeugt wird, in einem wesentlich größeren Ausmaß über die Lage der Geraden G_16(24) hinaus nach rechts verschoben und wird nun, rein qualitativ betrachtet, durch die Gerade G_16(24, 26, 28, 30) begrenzt.
  • Der Abstand der Geraden G_16(24, 26, 28, 30) und G_14(24) stellt, wie auch bei der Fig. 2, ein Maß für die seitliche Reichweite der Lichtverteilung LV, beziehungsweise der Lichtverteilung LV_16 dar. Ein Vergleich dieses Abstandes in der Fig. 4 mit dem entsprechenden Abstand in der Fig. 2 stellt das Ausmaß der Ausdehnung der seitlichen Ausleuchtung dar, das durch die Erfindung erzielt wird. Dieses Ausmaß entspricht im Übrigen auch direkt dem Abstand der beiden Geraden G_16(24) und G_16(24, 26, 28, 30) aus der Fig. 3.
  • Für einen Schaltzustand der Lichtquelle 12 mit eingeschalteten Halbleiterlichtquellen 24 und 26 sowie für einen Schaltzustand der Lichtquelle 12 mit eingeschalteten Lichtquellen 24, 26 und 28 ergeben sich entsprechende Grenzen G_16(24, 26) und G_16(24, 26, 28), die zwischen den beiden Grenzen G_16(24) und G_16(24, 26, 28, 30) liegen.
  • Durch sukzessive nacheinander erfolgendes Einschalten der Halbleiterlichtquellen 24, 26, 28, 30 wird auf diese Weise eine sukzessive erfolgende Vergrößerung der Reichweite der seitlichen Ausleuchtung erzielt. Das sukzessive Einschalten erfolgt in einer bevorzugten Ausgestaltung in Abhängigkeit von eine Lenkwinkel des Fahrzeugs so, dass ein zunehmender Lenkwinkel eine Vergrößerung der Reichweite der seitlichen Ausleuchtung auslöst. Durch den deutlichen Zuschalteffekt kann zum Beispiel ein in diesem Sinne sequentielles Abbiegelicht bereitgestellt werden.
  • Die Ausprägung dieses Zuschalteffektes hängt auch von der Anordnung der Lichtquellen 24 - 30 in Bezug auf eine zentrale, optische Achse des zweiten Reflektorbereichs 16 ab. Eine solche zentrale optische Achse entspricht in einer Ausgestaltung einem Strahl, der parallel zur Hauptausbreitungsrichtung 34 bei nur einer eingeschalteten Halbleiterlichtquelle 24 liegt und zum Intensitätsmaximum der daraus resultierenden zweiten Lichtverteilung LV_16 zeigt. Relativ zu einer solchen zentralen Achse des zweiten optischen Elements R_16 sind die Halbleiterlichtquellen 24 bis 30 bevorzugt so angeordnet, dass sich eine von dem zweiten optischen Element R_16 erzeugte Lichtverteilung LV_16 mit zunehmender Anzahl eingeschalteter Lichtquellen zunehmend zu einer Seite ausdehnt. Ein solcher Effekt ergibt sich insbesondere für eine quer zur zentralen Achse ausgerichtete Reihenanordnung der Halbleiterlichtquellen 24 - 30, bei der die erste Halbleiterlichtquelle 24 auf der zentralen Achse liegt oder der zentralen Achse am nächsten liegt.
  • Die Fig. 4 zeigt eine Ausgestaltung, bei der die Reflektorbereiche R_14 und R_16 durch unterschiedliche Bereiche eines einzelnen Reflektorbauteils 36 realisiert werden. Bei dieser Ausgestaltung springt der zweite Reflektorbereich 16 gewissermaßen gegenüber dem ersten Reflektorbereich in Richtung auf die Lichtquelle 12 vor, so dass der zweite Reflektorbereich R_16 gewissermaßen zwischen dem ersten Reflektorbereich R_14 und der Lichtquelle 12 liegt.
  • Die Reflektorbereiche R_14 und R_16 können aber alternativ auch durch voneinander getrennte Reflektoren, also durch separate Bauteile, realisiert werden, wie es die Darstellungen der Figuren 2 und 3 nahe legen. Auch in diesem Fall sind die Reflektorbereiche R_14 und R_16 so angeordnet, dass der zweite Reflektorbereich R_16 gewissermaßen zwischen dem ersten Reflektorbereich R_14 und der Lichtquelle 12 liegt.
  • Unabhängig von der Ausgestaltung als separates oder mit dem ersten Reflektorbereich R_14 zusammenhängendes Bauteil ist bevorzugt, dass der zweite Reflektorbereich R_16 verschiedene Teilbereiche aufweist, von denen jeder in Bezug auf sein Zusammenwirken mit einer einzeln schaltbaren Halbleiterlichtquelle oder einzeln schaltbaren Gruppe von Halbleiterlichtquellen optimiert ist.
  • Die Erfindung wurde bis zu dieser Stelle am Beispiel von Reflektorbereichen R_14, R_16 als optische Elemente 14, 16 erläutert.
  • Der Fachmann erkennt jedoch, dass sich die beschriebenen Effekte auch mit Linsen als optischen Elementen 14, 16 oder mit einer Linse als optischem Element 14 und einem Reflektor als optischem Element 16, oder mit einem Reflektor als optischem Element 14 und einer Linse als optischem Element 16 erzielen lässt.
  • Es versteht sich, dass ein Kraftfahrzeugscheinwerfer 10, der die hier beschriebenen Merkmale aufweist, darüber hinaus weitere Elemente wie weitere optische Elemente, Lichtquellen und/oder Lichtmodule aufweisen kann.

Claims (7)

  1. Kraftfahrzeugscheinwerfer (10) mit einer Lichtquelle (12) und wenigstens zwei optischen Elementen (14, 16), die dazu eingerichtet sind, Licht der Lichtquelle (12) in vorbestimmter Weise zu verteilen, wobei ein erstes optisches Element (14) in einem vergleichsweise großen Abstand (d_14) zur Lichtquelle (12) angeordnet ist und ein zweites optisches Element (16) in einem vergleichsweise kleinen Abstand (d_16) zur Lichtquelle (12) so angeordnet ist, dass sich eine vom dem ersten optischen Element (14) erzeugte Lichtverteilung (LV_14) und eine vom zweiten optischen Element (16) erzeugte Lichtverteilung (LV_16) überlappen, dadurch gekennzeichnet, dass das erste optische Element (14) eine größere Brennweite besitzt als das zweite optische Element (16), dass die Lichtquelle (12) eine Mehrzahl von Halbleiterlichtquellen (24, 26, 28, 30) aufweist, welche Halbleiterlichtquellen (24, 26, 28, 30) einzeln oder gruppenweise einschaltbar und in einer quer zu einer Hauptabstrahlrichtung (34) des Scheinwerfers (10) ausgerichteten Reihe angeordnet sind.
  2. Scheinwerfer (10) nach Anspruch 1, dadurch gekennzeichnet, dass die einzelnen Halbleiterlichtquellen (24, 26, 28, 30) der Reihe relativ zu einer zentralen Achse des zweiten optischen Elements (16) so angeordnet sind, dass sich eine von dem zweiten optischen Element (16) erzeugte Lichtverteilung (LV_16) mit zunehmender Anzahl eingeschalteter Halbleiterlichtquellen (24, 26, 28, 30) zunehmend zu einer Seite ausdehnt.
  3. Scheinwerfer (10) nach einem der vorhergehenden Ansprüche, dadurch gekennzeichnet, dass das erste optische Element (14) ein erster Reflektorbereich (R_14) ist und dass das zweite optische Element (16) ein zweiter Reflektorbereich (R_16) ist.
  4. Scheinwerfer (10) nach Anspruch 3, dadurch gekennzeichnet, dass der zweite Reflektorbereich (R_16) verschiedene Teilbereiche aufweist, von denen jeder in Bezug auf sein Zusammenwirken mit einer einzeln schaltbaren Halbleiterlichtquelle (24, 26, 28, 30) oder einzeln schaltbaren Gruppe von Halbleiterlichtquellen (24, 26, 28, 30) optimiert ist.
  5. Scheinwerfer (10) nach Anspruch 3 oder 4, dadurch gekennzeichnet, dass die Reflektorbereiche (R_14, R_16) durch voneinander getrennte Reflektoren realisiert werden.
  6. Scheinwerfer (10) nach Anspruch 3 oder 4, dadurch gekennzeichnet, dass die Reflektorbereiche (R_14, R_16) durch unterschiedliche Bereiche eines einzelnen Reflektorbauteils (36) realisiert werden.
  7. Scheinwerfer (10) nach Anspruch 1, dadurch gekennzeichnet, dass das erste optische Element (14) eine erste Linse ist und dass das zweite optische Element (16) eine zweite Linse ist.
EP11000515.4A 2010-03-03 2011-01-22 Kraftfahrzeugscheinwerfer mit einer Lichtquelle und wenigstens zwei Licht verteilenden optischen Elementen Active EP2366939B1 (de)

Applications Claiming Priority (1)

Application Number Priority Date Filing Date Title
DE202010003058U DE202010003058U1 (de) 2010-03-03 2010-03-03 Kraftfahrzeugscheinwerfer mit einer Lichtquelle und wenigstens zwei Licht verteilenden optischen Elementen

Publications (3)

Publication Number Publication Date
EP2366939A2 EP2366939A2 (de) 2011-09-21
EP2366939A3 EP2366939A3 (de) 2013-10-30
EP2366939B1 true EP2366939B1 (de) 2020-06-17

Family

ID=42194651

Family Applications (1)

Application Number Title Priority Date Filing Date
EP11000515.4A Active EP2366939B1 (de) 2010-03-03 2011-01-22 Kraftfahrzeugscheinwerfer mit einer Lichtquelle und wenigstens zwei Licht verteilenden optischen Elementen

Country Status (3)

Country Link
EP (1) EP2366939B1 (de)
CN (1) CN102192460B (de)
DE (1) DE202010003058U1 (de)

Families Citing this family (14)

* Cited by examiner, † Cited by third party
Publication number Priority date Publication date Assignee Title
JP5582865B2 (ja) * 2010-05-12 2014-09-03 株式会社小糸製作所 灯具
DE102010045394A1 (de) * 2010-09-15 2012-03-15 Osram Opto Semiconductors Gmbh Leuchte
DE102010056311A1 (de) * 2010-12-27 2012-06-28 Automotive Lighting Reutlingen Gmbh Beleuchtungseinrichtung eines Kraftfahrzeugs
JP5707661B2 (ja) * 2011-03-25 2015-04-30 スタンレー電気株式会社 車両用灯具ユニット及び車両用灯具に用いられる導光体
JP5842435B2 (ja) 2011-07-26 2016-01-13 市光工業株式会社 車両用前照灯
JP5953665B2 (ja) * 2011-07-26 2016-07-20 市光工業株式会社 車両用前照灯
DE102011090181B4 (de) * 2011-12-30 2018-02-15 Automotive Lighting Reutlingen Gmbh Scheinwerfer für ein Kraftfahrzeug, der eine Teilfernlicht-Lichtverteilung mit Hilfe eines Reflexionssystems erzeugt
JP5912539B2 (ja) * 2012-01-10 2016-04-27 株式会社小糸製作所 車両用前照灯
DE102012202290B4 (de) * 2012-02-15 2014-03-27 Automotive Lighting Reutlingen Gmbh Lichtmodul für ein blendungsfreies Kraftfahrzeug-Fernlicht
DE102013215359B3 (de) 2013-08-05 2015-02-19 Automotive Lighting Reutlingen Gmbh Mechanikfreies Kurvenlichtmodul
DE102013220192B4 (de) * 2013-10-07 2015-04-30 Automotive Lighting Reutlingen Gmbh LED-Modul eines Kraftfahrzeugscheinwerfers
DE102014100727B4 (de) * 2014-01-23 2023-09-21 HELLA GmbH & Co. KGaA Verfahren zur Grundeinstellung eines Scheinwerfers
DE102017001019A1 (de) * 2017-02-04 2018-08-09 GM Global Technology Operations LLC (n. d. Ges. d. Staates Delaware) Fahrzeugscheinwerfer
CN109668111A (zh) * 2019-02-14 2019-04-23 华域视觉科技(上海)有限公司 车用近光灯及包含其的汽车

Family Cites Families (7)

* Cited by examiner, † Cited by third party
Publication number Priority date Publication date Assignee Title
JP4061251B2 (ja) * 2003-08-05 2008-03-12 株式会社小糸製作所 車両用灯具
FR2861831B1 (fr) * 2003-10-31 2006-01-20 Valeo Vision Module d'eclairage pour projecteur de vehicule
JP2008041557A (ja) * 2006-08-09 2008-02-21 Ichikoh Ind Ltd 車両用前照灯用の灯具ユニット
JP4926771B2 (ja) * 2007-03-15 2012-05-09 株式会社小糸製作所 車両用灯具ユニット
JP4864834B2 (ja) * 2007-08-21 2012-02-01 株式会社小糸製作所 車両用コーナリングランプ
JP4979565B2 (ja) * 2007-12-14 2012-07-18 株式会社小糸製作所 車両用灯具
EP2322848B1 (de) * 2009-11-12 2017-09-27 Stanley Electric Co., Ltd. Fahrzeuglicht

Non-Patent Citations (1)

* Cited by examiner, † Cited by third party
Title
None *

Also Published As

Publication number Publication date
CN102192460B (zh) 2015-08-05
EP2366939A2 (de) 2011-09-21
CN102192460A (zh) 2011-09-21
DE202010003058U1 (de) 2010-05-20
EP2366939A3 (de) 2013-10-30

Similar Documents

Publication Publication Date Title
EP2366939B1 (de) Kraftfahrzeugscheinwerfer mit einer Lichtquelle und wenigstens zwei Licht verteilenden optischen Elementen
EP2338732B1 (de) Kraftfahrzeugbeleuchtungseinrichtung mit einem Lichtleiter und verschiedenfarbigen Lichtquellen
EP2823219B1 (de) Beleuchtungsvorrichtung für ein kraftfahrzeug
EP2363320B1 (de) Frontscheinwerfer mit einem LED-Reflexionssystem mit Nebellicht- und Tagfahrlichtfunktion
EP2719940B1 (de) Lichtmodul
EP2339228B1 (de) Lichtmodul für eine Beleuchtungseinrichtung sowie Beleuchtungseinrichtung eines Kraftfahrzeugs mit einem solchen Lichtmodul
DE102010063713A1 (de) Beleuchtungsvorrichtung
EP2431657A2 (de) Reflexionsmodul eines Kraftfahrzeug-Scheinwerfers
DE102016201977A1 (de) Fahrzeugleuchte
EP3899358B1 (de) Beleuchtungsvorrichtung für einen kraftfahrzeugscheinwerfer sowie kraftfahrzeugscheinwerfer
DE102014226881A1 (de) Kraftfahrzeugscheinwerfer mit einem Zweikammerreflexionssystem
EP2384934A1 (de) Leuchtmittel zur Erfüllung mehrerer Lichtfunktionen einer Kraftfahrzeugleuchte
DE102011081077A1 (de) Kraftfahrzeugbeleuchtungseinrichtung
DE102017216731A1 (de) Lampe für Fahrzeug
DE202017004932U1 (de) Lampe für Fahrzeug
EP3176495B1 (de) Beleuchtungseinrichtung für ein kraftfahrzeug
EP2112978B1 (de) Kraftfahrzeugscheinwerfer
DE202015009210U1 (de) Drehbares Beleuchtungs- und/oder Signalisierungsmodul
WO2011012727A1 (de) Scheinwerfer in einem kraftfahrzeug mit einer halbleiterlichtquelle
DE102006029412B4 (de) Kraftfahrzeugleuchte
DE102019128663A1 (de) Signalleuchte mit einem Lichtleiter
EP1126211B1 (de) Projektionsscheinwerfer für ein Kraftfahrzeug
DE202021103054U1 (de) Leuchte für Fahrzeuge und diese aufweisendes Fahrzeug
EP3037717B1 (de) Kraftfahrzeugscheinwerfer mit hohlspiegelreflektoren
DE102013210856A1 (de) Leuchte für ein Kraftfahrzeug

Legal Events

Date Code Title Description
PUAI Public reference made under article 153(3) epc to a published international application that has entered the european phase

Free format text: ORIGINAL CODE: 0009012

AK Designated contracting states

Kind code of ref document: A2

Designated state(s): AL AT BE BG CH CY CZ DE DK EE ES FI FR GB GR HR HU IE IS IT LI LT LU LV MC MK MT NL NO PL PT RO RS SE SI SK SM TR

AX Request for extension of the european patent

Extension state: BA ME

RIN1 Information on inventor provided before grant (corrected)

Inventor name: SCHOLL, MICHAEL

Inventor name: STADE, FLORIAN

PUAL Search report despatched

Free format text: ORIGINAL CODE: 0009013

AK Designated contracting states

Kind code of ref document: A3

Designated state(s): AL AT BE BG CH CY CZ DE DK EE ES FI FR GB GR HR HU IE IS IT LI LT LU LV MC MK MT NL NO PL PT RO RS SE SI SK SM TR

AX Request for extension of the european patent

Extension state: BA ME

RIC1 Information provided on ipc code assigned before grant

Ipc: F21S 8/12 20060101AFI20130923BHEP

Ipc: F21V 7/00 20060101ALI20130923BHEP

Ipc: F21W 101/10 20060101ALN20130923BHEP

Ipc: F21S 8/10 20060101ALI20130923BHEP

Ipc: F21Y 101/02 20060101ALN20130923BHEP

17P Request for examination filed

Effective date: 20140429

RBV Designated contracting states (corrected)

Designated state(s): AL AT BE BG CH CY CZ DE DK EE ES FI FR GB GR HR HU IE IS IT LI LT LU LV MC MK MT NL NO PL PT RO RS SE SI SK SM TR

REG Reference to a national code

Ref country code: DE

Ref legal event code: R079

Ref document number: 502011016734

Country of ref document: DE

Free format text: PREVIOUS MAIN CLASS: F21S0008120000

Ipc: F21S0041147000

RIC1 Information provided on ipc code assigned before grant

Ipc: F21S 41/147 20180101AFI20191119BHEP

Ipc: F21S 41/663 20180101ALI20191119BHEP

Ipc: F21S 41/33 20180101ALI20191119BHEP

Ipc: F21S 41/36 20180101ALI20191119BHEP

GRAP Despatch of communication of intention to grant a patent

Free format text: ORIGINAL CODE: EPIDOSNIGR1

STAA Information on the status of an ep patent application or granted ep patent

Free format text: STATUS: GRANT OF PATENT IS INTENDED

INTG Intention to grant announced

Effective date: 20200110

GRAS Grant fee paid

Free format text: ORIGINAL CODE: EPIDOSNIGR3

GRAA (expected) grant

Free format text: ORIGINAL CODE: 0009210

STAA Information on the status of an ep patent application or granted ep patent

Free format text: STATUS: THE PATENT HAS BEEN GRANTED

AK Designated contracting states

Kind code of ref document: B1

Designated state(s): AL AT BE BG CH CY CZ DE DK EE ES FI FR GB GR HR HU IE IS IT LI LT LU LV MC MK MT NL NO PL PT RO RS SE SI SK SM TR

REG Reference to a national code

Ref country code: GB

Ref legal event code: FG4D

Free format text: NOT ENGLISH

REG Reference to a national code

Ref country code: CH

Ref legal event code: EP

REG Reference to a national code

Ref country code: DE

Ref legal event code: R096

Ref document number: 502011016734

Country of ref document: DE

REG Reference to a national code

Ref country code: IE

Ref legal event code: FG4D

Free format text: LANGUAGE OF EP DOCUMENT: GERMAN

REG Reference to a national code

Ref country code: AT

Ref legal event code: REF

Ref document number: 1281747

Country of ref document: AT

Kind code of ref document: T

Effective date: 20200715

PG25 Lapsed in a contracting state [announced via postgrant information from national office to epo]

Ref country code: LT

Free format text: LAPSE BECAUSE OF FAILURE TO SUBMIT A TRANSLATION OF THE DESCRIPTION OR TO PAY THE FEE WITHIN THE PRESCRIBED TIME-LIMIT

Effective date: 20200617

Ref country code: NO

Free format text: LAPSE BECAUSE OF FAILURE TO SUBMIT A TRANSLATION OF THE DESCRIPTION OR TO PAY THE FEE WITHIN THE PRESCRIBED TIME-LIMIT

Effective date: 20200917

Ref country code: SE

Free format text: LAPSE BECAUSE OF FAILURE TO SUBMIT A TRANSLATION OF THE DESCRIPTION OR TO PAY THE FEE WITHIN THE PRESCRIBED TIME-LIMIT

Effective date: 20200617

Ref country code: GR

Free format text: LAPSE BECAUSE OF FAILURE TO SUBMIT A TRANSLATION OF THE DESCRIPTION OR TO PAY THE FEE WITHIN THE PRESCRIBED TIME-LIMIT

Effective date: 20200918

Ref country code: FI

Free format text: LAPSE BECAUSE OF FAILURE TO SUBMIT A TRANSLATION OF THE DESCRIPTION OR TO PAY THE FEE WITHIN THE PRESCRIBED TIME-LIMIT

Effective date: 20200617

REG Reference to a national code

Ref country code: LT

Ref legal event code: MG4D

REG Reference to a national code

Ref country code: DE

Ref legal event code: R084

Ref document number: 502011016734

Country of ref document: DE

REG Reference to a national code

Ref country code: NL

Ref legal event code: MP

Effective date: 20200617

PG25 Lapsed in a contracting state [announced via postgrant information from national office to epo]

Ref country code: HR

Free format text: LAPSE BECAUSE OF FAILURE TO SUBMIT A TRANSLATION OF THE DESCRIPTION OR TO PAY THE FEE WITHIN THE PRESCRIBED TIME-LIMIT

Effective date: 20200617

Ref country code: RS

Free format text: LAPSE BECAUSE OF FAILURE TO SUBMIT A TRANSLATION OF THE DESCRIPTION OR TO PAY THE FEE WITHIN THE PRESCRIBED TIME-LIMIT

Effective date: 20200617

Ref country code: LV

Free format text: LAPSE BECAUSE OF FAILURE TO SUBMIT A TRANSLATION OF THE DESCRIPTION OR TO PAY THE FEE WITHIN THE PRESCRIBED TIME-LIMIT

Effective date: 20200617

Ref country code: BG

Free format text: LAPSE BECAUSE OF FAILURE TO SUBMIT A TRANSLATION OF THE DESCRIPTION OR TO PAY THE FEE WITHIN THE PRESCRIBED TIME-LIMIT

Effective date: 20200917

PG25 Lapsed in a contracting state [announced via postgrant information from national office to epo]

Ref country code: NL

Free format text: LAPSE BECAUSE OF FAILURE TO SUBMIT A TRANSLATION OF THE DESCRIPTION OR TO PAY THE FEE WITHIN THE PRESCRIBED TIME-LIMIT

Effective date: 20200617

Ref country code: AL

Free format text: LAPSE BECAUSE OF FAILURE TO SUBMIT A TRANSLATION OF THE DESCRIPTION OR TO PAY THE FEE WITHIN THE PRESCRIBED TIME-LIMIT

Effective date: 20200617

PG25 Lapsed in a contracting state [announced via postgrant information from national office to epo]

Ref country code: RO

Free format text: LAPSE BECAUSE OF FAILURE TO SUBMIT A TRANSLATION OF THE DESCRIPTION OR TO PAY THE FEE WITHIN THE PRESCRIBED TIME-LIMIT

Effective date: 20200617

Ref country code: CZ

Free format text: LAPSE BECAUSE OF FAILURE TO SUBMIT A TRANSLATION OF THE DESCRIPTION OR TO PAY THE FEE WITHIN THE PRESCRIBED TIME-LIMIT

Effective date: 20200617

Ref country code: ES

Free format text: LAPSE BECAUSE OF FAILURE TO SUBMIT A TRANSLATION OF THE DESCRIPTION OR TO PAY THE FEE WITHIN THE PRESCRIBED TIME-LIMIT

Effective date: 20200617

Ref country code: IT

Free format text: LAPSE BECAUSE OF FAILURE TO SUBMIT A TRANSLATION OF THE DESCRIPTION OR TO PAY THE FEE WITHIN THE PRESCRIBED TIME-LIMIT

Effective date: 20200617

Ref country code: PT

Free format text: LAPSE BECAUSE OF FAILURE TO SUBMIT A TRANSLATION OF THE DESCRIPTION OR TO PAY THE FEE WITHIN THE PRESCRIBED TIME-LIMIT

Effective date: 20201019

Ref country code: SM

Free format text: LAPSE BECAUSE OF FAILURE TO SUBMIT A TRANSLATION OF THE DESCRIPTION OR TO PAY THE FEE WITHIN THE PRESCRIBED TIME-LIMIT

Effective date: 20200617

Ref country code: EE

Free format text: LAPSE BECAUSE OF FAILURE TO SUBMIT A TRANSLATION OF THE DESCRIPTION OR TO PAY THE FEE WITHIN THE PRESCRIBED TIME-LIMIT

Effective date: 20200617

PG25 Lapsed in a contracting state [announced via postgrant information from national office to epo]

Ref country code: IS

Free format text: LAPSE BECAUSE OF FAILURE TO SUBMIT A TRANSLATION OF THE DESCRIPTION OR TO PAY THE FEE WITHIN THE PRESCRIBED TIME-LIMIT

Effective date: 20201017

Ref country code: SK

Free format text: LAPSE BECAUSE OF FAILURE TO SUBMIT A TRANSLATION OF THE DESCRIPTION OR TO PAY THE FEE WITHIN THE PRESCRIBED TIME-LIMIT

Effective date: 20200617

Ref country code: PL

Free format text: LAPSE BECAUSE OF FAILURE TO SUBMIT A TRANSLATION OF THE DESCRIPTION OR TO PAY THE FEE WITHIN THE PRESCRIBED TIME-LIMIT

Effective date: 20200617

REG Reference to a national code

Ref country code: DE

Ref legal event code: R026

Ref document number: 502011016734

Country of ref document: DE

PLBI Opposition filed

Free format text: ORIGINAL CODE: 0009260

26 Opposition filed

Opponent name: VALEO VISION

Effective date: 20210317

PG25 Lapsed in a contracting state [announced via postgrant information from national office to epo]

Ref country code: DK

Free format text: LAPSE BECAUSE OF FAILURE TO SUBMIT A TRANSLATION OF THE DESCRIPTION OR TO PAY THE FEE WITHIN THE PRESCRIBED TIME-LIMIT

Effective date: 20200617

PG25 Lapsed in a contracting state [announced via postgrant information from national office to epo]

Ref country code: SI

Free format text: LAPSE BECAUSE OF FAILURE TO SUBMIT A TRANSLATION OF THE DESCRIPTION OR TO PAY THE FEE WITHIN THE PRESCRIBED TIME-LIMIT

Effective date: 20200617

PLAX Notice of opposition and request to file observation + time limit sent

Free format text: ORIGINAL CODE: EPIDOSNOBS2

PG25 Lapsed in a contracting state [announced via postgrant information from national office to epo]

Ref country code: MC

Free format text: LAPSE BECAUSE OF FAILURE TO SUBMIT A TRANSLATION OF THE DESCRIPTION OR TO PAY THE FEE WITHIN THE PRESCRIBED TIME-LIMIT

Effective date: 20200617

REG Reference to a national code

Ref country code: CH

Ref legal event code: PL

GBPC Gb: european patent ceased through non-payment of renewal fee

Effective date: 20210122

PG25 Lapsed in a contracting state [announced via postgrant information from national office to epo]

Ref country code: LU

Free format text: LAPSE BECAUSE OF NON-PAYMENT OF DUE FEES

Effective date: 20210122

REG Reference to a national code

Ref country code: BE

Ref legal event code: MM

Effective date: 20210131

PLBB Reply of patent proprietor to notice(s) of opposition received

Free format text: ORIGINAL CODE: EPIDOSNOBS3

PG25 Lapsed in a contracting state [announced via postgrant information from national office to epo]

Ref country code: FR

Free format text: LAPSE BECAUSE OF NON-PAYMENT OF DUE FEES

Effective date: 20210131

PG25 Lapsed in a contracting state [announced via postgrant information from national office to epo]

Ref country code: LI

Free format text: LAPSE BECAUSE OF NON-PAYMENT OF DUE FEES

Effective date: 20210131

Ref country code: CH

Free format text: LAPSE BECAUSE OF NON-PAYMENT OF DUE FEES

Effective date: 20210131

Ref country code: GB

Free format text: LAPSE BECAUSE OF NON-PAYMENT OF DUE FEES

Effective date: 20210122

PG25 Lapsed in a contracting state [announced via postgrant information from national office to epo]

Ref country code: IE

Free format text: LAPSE BECAUSE OF NON-PAYMENT OF DUE FEES

Effective date: 20210122

REG Reference to a national code

Ref country code: AT

Ref legal event code: MM01

Ref document number: 1281747

Country of ref document: AT

Kind code of ref document: T

Effective date: 20210122

PLBP Opposition withdrawn

Free format text: ORIGINAL CODE: 0009264

REG Reference to a national code

Ref country code: DE

Ref legal event code: R100

Ref document number: 502011016734

Country of ref document: DE

PG25 Lapsed in a contracting state [announced via postgrant information from national office to epo]

Ref country code: AT

Free format text: LAPSE BECAUSE OF NON-PAYMENT OF DUE FEES

Effective date: 20210122

PLBD Termination of opposition procedure: decision despatched

Free format text: ORIGINAL CODE: EPIDOSNOPC1

PG25 Lapsed in a contracting state [announced via postgrant information from national office to epo]

Ref country code: IS

Free format text: LAPSE BECAUSE OF FAILURE TO SUBMIT A TRANSLATION OF THE DESCRIPTION OR TO PAY THE FEE WITHIN THE PRESCRIBED TIME-LIMIT

Effective date: 20201017

PLBM Termination of opposition procedure: date of legal effect published

Free format text: ORIGINAL CODE: 0009276

PG25 Lapsed in a contracting state [announced via postgrant information from national office to epo]

Ref country code: BE

Free format text: LAPSE BECAUSE OF NON-PAYMENT OF DUE FEES

Effective date: 20210131

27C Opposition proceedings terminated

Effective date: 20220416

PG25 Lapsed in a contracting state [announced via postgrant information from national office to epo]

Ref country code: HU

Free format text: LAPSE BECAUSE OF FAILURE TO SUBMIT A TRANSLATION OF THE DESCRIPTION OR TO PAY THE FEE WITHIN THE PRESCRIBED TIME-LIMIT; INVALID AB INITIO

Effective date: 20110122

Ref country code: CY

Free format text: LAPSE BECAUSE OF FAILURE TO SUBMIT A TRANSLATION OF THE DESCRIPTION OR TO PAY THE FEE WITHIN THE PRESCRIBED TIME-LIMIT

Effective date: 20200617

PG25 Lapsed in a contracting state [announced via postgrant information from national office to epo]

Ref country code: MK

Free format text: LAPSE BECAUSE OF FAILURE TO SUBMIT A TRANSLATION OF THE DESCRIPTION OR TO PAY THE FEE WITHIN THE PRESCRIBED TIME-LIMIT

Effective date: 20200617

PG25 Lapsed in a contracting state [announced via postgrant information from national office to epo]

Ref country code: TR

Free format text: LAPSE BECAUSE OF FAILURE TO SUBMIT A TRANSLATION OF THE DESCRIPTION OR TO PAY THE FEE WITHIN THE PRESCRIBED TIME-LIMIT

Effective date: 20200617

PG25 Lapsed in a contracting state [announced via postgrant information from national office to epo]

Ref country code: MT

Free format text: LAPSE BECAUSE OF FAILURE TO SUBMIT A TRANSLATION OF THE DESCRIPTION OR TO PAY THE FEE WITHIN THE PRESCRIBED TIME-LIMIT

Effective date: 20200617

PGFP Annual fee paid to national office [announced via postgrant information from national office to epo]

Ref country code: DE

Payment date: 20241218

Year of fee payment: 15

REG Reference to a national code

Ref country code: DE

Ref legal event code: R081

Ref document number: 502011016734

Country of ref document: DE

Owner name: MARELLI GERMANY GMBH, DE

Free format text: FORMER OWNER: AUTOMOTIVE LIGHTING REUTLINGEN GMBH, 72762 REUTLINGEN, DE