EP2362047A2 - Hebe-Schiebe-Tür oder Hebe-Schiebe-Fenster - Google Patents

Hebe-Schiebe-Tür oder Hebe-Schiebe-Fenster Download PDF

Info

Publication number
EP2362047A2
EP2362047A2 EP20110001405 EP11001405A EP2362047A2 EP 2362047 A2 EP2362047 A2 EP 2362047A2 EP 20110001405 EP20110001405 EP 20110001405 EP 11001405 A EP11001405 A EP 11001405A EP 2362047 A2 EP2362047 A2 EP 2362047A2
Authority
EP
European Patent Office
Prior art keywords
lift
slide
lifting
frame
sash
Prior art date
Legal status (The legal status is an assumption and is not a legal conclusion. Google has not performed a legal analysis and makes no representation as to the accuracy of the status listed.)
Granted
Application number
EP20110001405
Other languages
English (en)
French (fr)
Other versions
EP2362047B1 (de
EP2362047A3 (de
Inventor
Stephan Becker
Current Assignee (The listed assignees may be inaccurate. Google has not performed a legal analysis and makes no representation or warranty as to the accuracy of the list.)
Rehau Automotive SE and Co KG
Original Assignee
Rehau AG and Co
Priority date (The priority date is an assumption and is not a legal conclusion. Google has not performed a legal analysis and makes no representation as to the accuracy of the date listed.)
Filing date
Publication date
Application filed by Rehau AG and Co filed Critical Rehau AG and Co
Publication of EP2362047A2 publication Critical patent/EP2362047A2/de
Publication of EP2362047A3 publication Critical patent/EP2362047A3/de
Application granted granted Critical
Publication of EP2362047B1 publication Critical patent/EP2362047B1/de
Active legal-status Critical Current
Anticipated expiration legal-status Critical

Links

Images

Classifications

    • EFIXED CONSTRUCTIONS
    • E05LOCKS; KEYS; WINDOW OR DOOR FITTINGS; SAFES
    • E05DHINGES OR SUSPENSION DEVICES FOR DOORS, WINDOWS OR WINGS
    • E05D15/00Suspension arrangements for wings
    • E05D15/56Suspension arrangements for wings with successive different movements
    • E05D15/565Suspension arrangements for wings with successive different movements for raising wings before sliding
    • EFIXED CONSTRUCTIONS
    • E05LOCKS; KEYS; WINDOW OR DOOR FITTINGS; SAFES
    • E05FDEVICES FOR MOVING WINGS INTO OPEN OR CLOSED POSITION; CHECKS FOR WINGS; WING FITTINGS NOT OTHERWISE PROVIDED FOR, CONCERNED WITH THE FUNCTIONING OF THE WING
    • E05F5/00Braking devices, e.g. checks; Stops; Buffers
    • E05F5/06Buffers or stops limiting opening of swinging wings, e.g. floor or wall stops
    • EFIXED CONSTRUCTIONS
    • E05LOCKS; KEYS; WINDOW OR DOOR FITTINGS; SAFES
    • E05YINDEXING SCHEME ASSOCIATED WITH SUBCLASSES E05D AND E05F, RELATING TO CONSTRUCTION ELEMENTS, ELECTRIC CONTROL, POWER SUPPLY, POWER SIGNAL OR TRANSMISSION, USER INTERFACES, MOUNTING OR COUPLING, DETAILS, ACCESSORIES, AUXILIARY OPERATIONS NOT OTHERWISE PROVIDED FOR, APPLICATION THEREOF
    • E05Y2800/00Details, accessories and auxiliary operations not otherwise provided for
    • E05Y2800/10Additional functions
    • E05Y2800/12Sealing
    • EFIXED CONSTRUCTIONS
    • E05LOCKS; KEYS; WINDOW OR DOOR FITTINGS; SAFES
    • E05YINDEXING SCHEME ASSOCIATED WITH SUBCLASSES E05D AND E05F, RELATING TO CONSTRUCTION ELEMENTS, ELECTRIC CONTROL, POWER SUPPLY, POWER SIGNAL OR TRANSMISSION, USER INTERFACES, MOUNTING OR COUPLING, DETAILS, ACCESSORIES, AUXILIARY OPERATIONS NOT OTHERWISE PROVIDED FOR, APPLICATION THEREOF
    • E05Y2900/00Application of doors, windows, wings or fittings thereof
    • E05Y2900/10Application of doors, windows, wings or fittings thereof for buildings or parts thereof
    • E05Y2900/13Type of wing
    • E05Y2900/132Doors
    • EFIXED CONSTRUCTIONS
    • E05LOCKS; KEYS; WINDOW OR DOOR FITTINGS; SAFES
    • E05YINDEXING SCHEME ASSOCIATED WITH SUBCLASSES E05D AND E05F, RELATING TO CONSTRUCTION ELEMENTS, ELECTRIC CONTROL, POWER SUPPLY, POWER SIGNAL OR TRANSMISSION, USER INTERFACES, MOUNTING OR COUPLING, DETAILS, ACCESSORIES, AUXILIARY OPERATIONS NOT OTHERWISE PROVIDED FOR, APPLICATION THEREOF
    • E05Y2900/00Application of doors, windows, wings or fittings thereof
    • E05Y2900/10Application of doors, windows, wings or fittings thereof for buildings or parts thereof
    • E05Y2900/13Type of wing
    • E05Y2900/148Windows
    • EFIXED CONSTRUCTIONS
    • E06DOORS, WINDOWS, SHUTTERS, OR ROLLER BLINDS IN GENERAL; LADDERS
    • E06BFIXED OR MOVABLE CLOSURES FOR OPENINGS IN BUILDINGS, VEHICLES, FENCES OR LIKE ENCLOSURES IN GENERAL, e.g. DOORS, WINDOWS, BLINDS, GATES
    • E06B3/00Window sashes, door leaves, or like elements for closing wall or like openings; Layout of fixed or moving closures, e.g. windows in wall or like openings; Features of rigidly-mounted outer frames relating to the mounting of wing frames
    • E06B3/32Arrangements of wings characterised by the manner of movement; Arrangements of movable wings in openings; Features of wings or frames relating solely to the manner of movement of the wing
    • E06B3/50Arrangements of wings characterised by the manner of movement; Arrangements of movable wings in openings; Features of wings or frames relating solely to the manner of movement of the wing with more than one kind of movement
    • E06B3/52Wings requiring lifting before opening

Definitions

  • the present invention relates to a lift-slide door or to a lift-and-slide window with at least one lift-slide wing, with at least one recorded in a lower frame part of the sash of the lift-slide sash carriage on a running rail , which is mounted on a lower frame part of a frame, is slidably guided, wherein in the closed lifting-sliding sash in a joint area between the lift-slide sash and a side frame part of the frame frame, a fixing element is provided, which is fixed in the joint area on the sash is and rests over the lifting-sliding sash in the lowered state on the running rail.
  • lift-and-slide wings are known in the art.
  • this describes DE 20 2008 013 043 U1 a lift-slide door or a lift-and-slide window with at least one lift-slide wing, which is slidably guided with at least one carriage received in a carriage groove of its casement on a running rail of a frame or threshold profile of a floor or window frame, wherein at a closed lifting-sliding sash exposed joint area of this wing whose sash a sealing element is provided, the closed rail and sliding the sliding carriage for frontal sealing of the carriage groove against the running rail and against the running rail having frame or threshold profile on both sides from the running rail rests.
  • the sealing element used has the disadvantage that the lifting-sliding sash is guided only by the guide rail and the carriage. Since the carriage is supported with play, the lift-slide wing is laterally displaceable in wind load, whereby the driving rain safety is impaired, resulting in a leakage of the lift-slide sash.
  • the cover member according to the DE 20 2008 013 043 U1 covered by a cover which must have an additional recess for the passage of the running rail.
  • the object of the present invention is to refine a lift-and-slide door or a lift-and-slide window such that the disadvantages of the prior art are overcome.
  • the lifting-sliding door according to the invention or the lifting-sliding window according to the invention should have an increased impermeability to driving rain and be easy to assemble.
  • the object underlying the present invention is achieved by a lift-slide door or a lift-and-slide window with at least one lift-slide sash with the features of claim 1.
  • Preferred embodiments of the present invention are described in the dependent claims.
  • the tightness of a lift-and-slide door or window against driving rain can be improved by constructing the fixing element from a base and a fastening part, wherein the base is in the lower area a recess which is at least partially complementary to the contour of the carriage rail and in which in the lowered state of the lifting-sliding sash, a portion of the carriage rail is added.
  • the present invention is to provide a lift-slide door or a lift-and-slide window with at least one lift-slide sash, which at least one carriage included in a lower frame part of the sash of the lift-slide sash on a Running rail, which is mounted on a lower frame part of a frame, slidably guided, wherein in the closed lifting-sliding sash in a joint area between the lift-slide sash and a side frame part of the frame frame, a fixing element is present, in the joint area on the sash is attached and rests on the sliding rail over the lifting-sliding wing in the lowered state, wherein the fixing element is constructed of a base and a fastening part, wherein the base in the lower region has a recess which is at least partially complementary to the contour of the carriage rail and in the lowered state of lifting Sliding wing a section of the carriage rail is added.
  • the width of the base corresponds to the depth of the sash. It is likewise preferred if the base has a substantially rectangular shape. This ensures that the fastening part is flush with the casement.
  • the fixing element is screwed by a screw to the casement, wherein the head of the screw is received in a screw receptacle of the fastening part.
  • the fixing element is securely attached to the casement.
  • a cover profile is attached to the lift and slide wings, which rests on the upper side of the base of the fixing element and which covers the fastening part of the fixing element.
  • a cover profile ensures a market-oriented visual appearance of the lifting-sliding door according to the invention or the lifting-sliding window according to the invention.
  • it is ensured that in the cover for adapting to the contour of the track no recess must be milled. As a result, the installation effort for the lifting-sliding door according to the invention or the lifting-sliding window according to the invention is considerably reduced.
  • cover profile is locked to the sash of the lift-slide sash. Such a latching of the cover profile with the casement ensures a secure fit of the cover profile on the casement.
  • the lift-slide wing further comprises a mushroom buffer, which rests on the fixing element and is attached to the cover.
  • a mushroom buffer ensures a controlled stopping of the lifting-sliding sash.
  • the foot of the mushroom buffer is passed through a hole in the cover profile. It may also be helpful if the foot of the mushroom buffer is received in the screw receptacle of the fastening part. As a result, on the one hand ensures a secure fit of the mushroom buffer and on the other hand provided sufficient space in the longitudinal direction with elastic deformation of the mushroom buffer available.
  • FIG. 1 is the basic structure of a lift-slide door 1 shown schematically.
  • the lift-slide door 1 comprises an outer frame frame 2 to be inserted into a building opening, which is constructed from two lateral frame parts 3, 3 ', an upper frame part 4 and a lower frame part 5, which is also referred to as a threshold, a fixed leaf 6 and a lifting-sliding sash 7, wherein passive leaf 6 and lifting-sliding sash 7 are inserted into the frame 2.
  • the frames 8, 8 '(in this embodiment of the present invention are plastic hollow profile frames) of the lifting-sliding sash 7 or passive leaf 6 is in each case a glazing 9, 9 'used.
  • the frames 8, 8 'of lifting-sliding sash 7 and fixed wing 6 are constructed analogously to the frame 2 from four frame elements, namely two lateral frame members 12, 12', 13, 13 ', each an upper frame member 10, 10' and in each case a lower frame part 11, 11
  • the lateral frame part 13 of the lifting-sliding sash 7 is located on the lateral frame part 13 '(in FIG FIG. 1 not shown) of the inactive leaf 6, ie in the center joint
  • the other lateral frame part 12 of the lifting-sliding sash 7 is located on the lateral frame part 3 of the frame 2, ie in the local joint area 15 between lifting sliding sash 7 and side frame part.
  • two or more lift-slide wings 7 may be inserted into the frame 2.
  • lifting-sliding sash 7 and vertical leaf 6 are arranged in two different mutually parallel planes.
  • the lifting-sliding sash 7 is disposed in a plane closer to the building exterior level than the inactive leaf 6.
  • On the frame parts 10, 11, 12 and 13 of the plastic hollow profile frame 8 of the lifting-sliding sash 7 are circumferentially, ie in Folding area, grooves for receiving hardware elements available.
  • the lower frame part 11 of the lifting-sliding sash 7 has at its two lateral ends depending on a carriage 14 with rollers (not shown), through which the lifting-sliding sash 7 on a running rail 16 on the lower frame part 5 of the frame 2 slidably guided.
  • the carriage 14 is in each case received in the lower frame part 11.
  • a lifting-sliding fitting is attached to the plastic hollow profile frame 8 of the lifting-sliding sash 7, can be raised and lowered by the lifting-sliding sash 7 for opening and closing in the vertical direction.
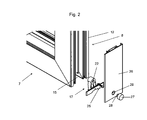
  • FIG. 2 shows a section of the joint area 15 between lifting-sliding wings 7 and side frame part 3 of the frame 2 in an exploded view of an embodiment of the lifting-sliding door according to the invention 1.
  • a fixing element 17 which in FIG. 4 is shown attached to the lateral frame part 12 of the frame 8 of the lifting-sliding sash 7.
  • the fixing element 17 is constructed from a base 18 and a fastening part 19, which is attached to the base via at least one connection, preferably at least one web 20.
  • the fastening part 19 is connected to the base 18 via three webs 20. Webs 20 and attachment member 19 are arranged opposite the base 18 in an offset plane.
  • the base 18 has a rectangular shape, wherein the width of the base 18 corresponds to the depth of the frame 8. As a result, the base 18 is flush with the frame 8.
  • the fastening part 19 there is a screw receptacle 22.
  • the base 18 At the bottom of the base 18, i. In the region of the running rail 16 in the mounted state, the base 18 has a recess 21.
  • the recess 21 has a shape which is complementary to a part of the upper contour of the carriage rail.
  • the fixing element 17 is screwed by a screw 25 with the lateral frame part 12 of the sash 8.
  • the head of the screw 25 is received in the screw receptacle 22 of the fastening part 19.
  • FIG. 3 closes the bottom 30 of the base 18 flush with the lower frame part 11 of the frame 2 from frame.
  • the fixing element 17 is connected via the locking elements 24 with the lateral frame part 12 of the lifting-sliding sash 7 by clamping.
  • a cover 26 On the top 23 of the base 18 is a cover 26 on.
  • the cover 26 is connected to the lateral frame part 12 of the lift-slide sash 7, preferably latched.
  • the width of the cover profile 26 also corresponds to the profile depth of the frame 8 of the lift-slide sash 7. Since the fastening part 19 and the webs 20 are offset from the base 18 in the direction of the frame part 12, fastening part 19 and webs 20 through the cover profile 26th covered.
  • the foot 28 of a mushroom buffer 27 is guided.
  • the hole 29 is positioned in the cover strip such that the side of the frame member 12 facing the end of the hole 29 penetrating the foot 28 is inserted into the screw receptacle 22 of the fixing element 17.
  • the mushroom buffer 27 rests against the fixing element 17.
  • the attachment of the mushroom buffer 27 takes place on cover profile 26, for example by gluing or clamping fit.
  • the mushroom buffer 27 ensures a controlled stopping of the lifting-sliding sash 7 when hitting the lateral frame part 3 of the frame 2.
  • FIG. 3 is the in FIG. 2 shown embodiment of the present invention shown in the assembled state. It can be seen that fastening part 19 and webs 20 are covered by the cover 26.
  • a section of the running rail 16 is received in the recess 21 of the base 18 of the fixing element 17.
  • shape of the recess 21 of the lifting-sliding wing 7 fits precisely on the track rail 16.
  • FIG. 5 Another embodiment of the present invention is in FIG. 5 shown in an exploded view.
  • the illustrated lift-slide wing 7 has a to the in FIG. 2 illustrated analog structure with the exception, in the embodiment according to FIG. 5 no mushroom buffer 27 is connected to the lateral frame part 12 of the frame 18.
  • a buffer on the lateral frame part 3 of the frame 2 is provided.

Landscapes

  • Engineering & Computer Science (AREA)
  • Mechanical Engineering (AREA)
  • Wing Frames And Configurations (AREA)
  • Window Of Vehicle (AREA)

Abstract

Die vorliegende Erfindung bezieht sich auf eine Hebe-Schiebe-Tür (1) oder ein Hebe-Schiebe-Fenster mit wenigstens einem Hebe-Schiebe-Flügel (7), der mit wenigstens einem in einem unteren Rahmenteil (11) des Flügelrahmen (8) des Hebe-Schiebe-Flügels (7) aufgenommen Laufwagen an einer Laufschiene (16), die auf einem unteren Rahmenteil (5) einer Rahmenzarge (2) angebracht ist, verschiebbar geführt ist, wobei bei geschlossenem Hebe-Schiebe-Flügel (7) in einem Stoßbereich (15) zwischen dem Hebe-Schiebe-Flügels (7) und einem seitlichen Rahmenteil (3) der Rahmenzarge (2) ein Fixierungselement (17) vorhanden ist, das im Stoßbereich (15) am Flügelrahmen (8) befestigt ist und über das der Hebe-Schiebe-Flügel (7) im abgesenktem Zustand auf der Laufschiene (16) aufliegt, wobei das Fixierungselement (17) aus einer Basis (18) und einem Befestigungsteil (19) aufgebaut ist, wobei die Basis (18) im unteren Bereich eine Ausnehmung (21) aufweist, die zur Kontur der Laufwagenschiene (17) zumindest teilweise komplementär ist und in die im abgesenkten Zustand des Hebe-Schiebe-Flügels (7) ein Abschnitt der Laufwagenschiene (16) aufgenommen ist.

Description

  • Die vorliegende Erfindung bezieht sich auf eine Hebe-Schiebe-Tür oder auf ein Hebe-Schiebe-Fenster mit wenigstens einem Hebe-Schiebe-Flügel, der mit wenigstens einem in einem unteren Rahmenteil des Flügelrahmens des Hebe-Schiebe-Flügels aufgenommenen Laufwagen an einer Laufschiene, die auf einem unteren Rahmenteil einer Rahmenzarge angebracht ist, verschiebbar geführt ist, wobei bei geschlossenem Hebe-Schiebe-Flügel in einem Stoßbereich zwischen dem Hebe-Schiebe-Flügels und einem seitlichen Rahmenteil der Rahmenzarge ein Fixierungselement vorhanden ist, das im Stoßbereich am Flügelrahmen befestigt ist und über das der Hebe-Schiebe-Flügel im abgesenkten Zustand auf der Laufschiene aufliegt.
  • Derartige Hebe-Schiebe-Flügel sind im Stand der Technik bekannt. Beispielsweise beschreibt die DE 20 2008 013 043 U1 eine Hebe-Schiebe-Tür oder ein Hebe-Schiebe-Fenster mit wenigstens einem Hebe-Schiebe-Flügel, der mit wenigstens einem in einer Laufwagennut seines Flügelrahmens aufgenommenen Laufwagen an einer Laufschiene eines Blendrahmen- oder Schwellenprofils eines Stock- oder Blendrahmens verschiebbar geführt ist, wobei an einem bei geschlossenem Hebe-Schiebe-Flügel freiliegenden Stoßbereich dieses Flügels dessen Flügelrahmen ein Abdichtelement vorgesehen ist, das bei geschlossenem und abgesenktem Hebe-Schiebe-Flügel zur stirnseitigen Abdichtung der Laufwagennut gegen die Laufschiene und gegen das die Laufschiene aufweisende Blendrahmen- oder Schwellenprofil beidseitig von der Laufschiene anliegt. Die Verwendung des in der DE 20 2008 013 043 U1 verwendeten Abdichtelement hat jedoch den Nachteil, dass der Hebe-Schiebe-Flügel nur durch die Führungsschiene und den Laufwagen geführt ist. Da der Laufwagen mit Spiel gelagert ist, wird der Hebe-Schiebe-Flügel bei Windlast seitlich verschiebbar, wodurch die Schlagregensicherheit beeinträchtigt wird, was zu einer Undichtigkeit des Hebe-Schiebe-Flügels führt. Darüber hinaus wird das Abdeckelement gemäß der DE 20 2008 013 043 U1 von einer Abdeckung verdeckt, die eine zusätzliche Ausnehmung zur Durchführung der Laufschiene aufweisen muss.
  • Vor diesem Hintergrund liegt der vorliegenden Erfindung die Aufgabe zugrunde, eine Hebe-Schiebe-Tür bzw. ein Hebe-Schiebe-Fenster dahingehend weiterzubilden, dass die Nachteile des Standes der Technik überwunden werden. Insbesondere soll die erfindungsgemäße Hebe-Schiebe-Tür bzw. das erfindungsgemäße Hebe-Schiebe-Fenster über eine erhöhte Dichtigkeit gegenüber Schlagregen verfügen und einfach zusammensetzbar sein.
  • Die der vorliegenden Erfindung zugrunde liegende Aufgabe wird durch eine Hebe-Schiebe-Tür bzw. ein Hebe-Schiebe-Fenster mit wenigstens einem Hebe-Schiebe-Flügel mit den Merkmalen des Anspruchs 1 gelöst. Bevorzugte Ausführungsformen der vorliegenden Erfindung sind in den abhängigen Ansprüchen beschrieben.
  • Gemäß der vorliegenden Erfindung wurde überraschenderweise erkannt, dass die Dichtigkeit einer Hebe-Schiebe-Tür bzw. eines Hebe-Schiebe-Fensters gegenüber Schlagregen dadurch verbessert werden kann, dass das Fixierungselement aus einer Basis und einem Befestigungsteil aufgebaut ist, wobei die Basis im unteren Bereich eine Ausnehmung aufweist, die zur Kontur der Laufwagenschiene zumindest teilweise komplementär ist und in die im abgesenkten Zustand des Hebe-Schiebe-Flügels ein Abschnitt der Laufwagenschiene aufgenommen ist. Durch die der Kontur der Laufwagenschienen angepasste Ausnehmung im unteren Bereich des Befestigungsteils wird eine seitliche Bewegung des Laufwagens wirksam verhindert.
  • Dementsprechend besteht die vorliegende Erfindung in der Bereitstellung einer Hebe-Schiebe-Tür oder eines Hebe-Schiebe-Fensters mit wenigstens einem Hebe-Schiebe-Flügel, der mit wenigstens einem in einem unteren Rahmenteil des Flügelrahmen des Hebe-Schiebe-Flügels aufgenommen Laufwagen an einer Laufschiene, die auf einem unteren Rahmenteil einer Rahmenzarge angebracht ist, verschiebbar geführt ist, wobei bei geschlossenem Hebe-Schiebe-Flügel in einem Stoßbereich zwischen dem Hebe-Schiebe-Flügels und einem seitlichen Rahmenteil der Rahmenzarge ein Fixierungselement vorhanden ist, das im Stoßbereich am Flügelrahmen befestigt ist und über das der Hebe-Schiebe-Flügel im abgesenktem Zustand auf der Laufschiene aufliegt, wobei das Fixierungselement aus einer Basis und einem Befestigungsteil aufgebaut ist, wobei die Basis im unteren Bereich eine Ausnehmung aufweist, die zur Kontur der Laufwagenschiene zumindest teilweise komplementär ist und in die im abgesenkten Zustand des Hebe-Schiebe-Flügels ein Abschnitt der Laufwagenschiene aufgenommen ist.
  • Dabei kann es von Vorteil sein, wenn die Breite der Basis der Tiefe des Flügelrahmens entspricht. Ebenso ist es bevorzugt, wenn die Basis eine im Wesentlichen rechteckige Form aufweist. Dadurch ist gewährleistet, dass das Befestigungsteil bündig an dem Flügelrahmen anliegt.
  • Es kann sich auch als günstig erweisen, wenn das Fixierungselement durch eine Schraube mit dem Flügelrahmen verschraubt ist, wobei der Kopf der Schraube in einer Schraubenaufnahme des Befestigungsteils aufgenommen ist. Dadurch wird das Fixierungselement sicher am Flügelrahmen befestigt. In diesem Zusammenhang kann es besonders vorteilhaft sein, wenn das Fixierungselement zusätzlich mit dem Profil des Flügelrahmens verrastet ist.
  • Weiterhin kann es nützlich sein, wenn am Hebe-Schiebe-Flügel ein Abdeckprofil befestigt ist, das an der Oberseite der Basis des Fixierungselements aufliegt und das das Befestigungsteil des Fixierungselements verdeckt. Ein derartiges Abdeckprofil sorgt für ein marktgerechtes optisches Erscheinungsbild der erfindungsgemäßen Hebe-Schiebe-Tür bzw. des erfindungsgemäßen Hebe-Schiebe-Fensters. Darüber hinaus ist gewährleistet, dass in das Abdeckprofil zur Anpassung an die Kontur der Laufschiene keine Ausnehmung gefräßt werden muss. Dadurch wird der Montageaufwand für die erfindungsgemäße Hebe-Schiebe-Tür bzw. das erfindungsgemäße Hebe-Schiebe-Fenster erheblich verringert.
  • Es kann sich auch als hilfreich erweisen, wenn das Abdeckprofil mit dem Flügelrahmen des Hebe-Schiebe-Flügels verrastet ist. Durch eine derartige Verrastung des Abdeckprofils mit dem Flügelrahmen wird ein sicherer Sitz des Abdeckprofils am Flügelrahmen gewährleistet.
  • Ebenso kann es sich als nützlich erweisen, wenn der Hebe-Schiebe-Flügel weiter einen Pilzpuffer umfasst, der am Fixierungselement anliegt und am Abdeckprofil befestigt ist. Durch einen derartigen Pilzpuffer ist ein kontrolliertes Abstoppen des Hebe-Schiebe-Flügels gewährleistet. In diesem Zusammenhang kann es von Nutzen sein, wenn der Fuß des Pilzpuffers durch ein Loch im Abdeckprofil geführt ist. Ebenso kann es dabei hilfreich sein, wenn der Fuß des Pilzpuffers in der Schraubenaufnahme des Befestigungsteils aufgenommen ist. Dadurch wird einerseits ein sicherer Sitz des Pilzpuffers gewährleistet und andererseits in Längsrichtung ausreichend Raum bei elastischer Verformung des Pilzpuffers zur Verfügung gestellt.
  • Bevorzugte Ausführungsformen der vorliegenden Erfindung werden im Folgenden unter Bezugnahme auf die beigefügten Zeichnungen beschrieben.
  • Kurze Beschreibung der Figuren
  • Fig. 1
    zeigt eine schematische Darstellung einer Hebe-Schiebe-Tür in einer Seitenansicht.
    Fig. 2
    zeigt eine perspektivische Explosionsdarstellung einer Ausführungsform der erfindungsgemäßen Hebe-Schiebe-Tür im Bereich des Fixierungselements.
    Fig. 3
    zeigt eine perspektivische Darstellung der in Fig. 1 dargestellten Ausführungsform der erfindungsgemäßen Hebe-Schiebe-Tür im zusammengesetzten Zustand.
    Fig. 4
    zeigt das Fixierungselement der in Fig. 1 dargestellten Ausführungsform der vorliegenden Erfindung.
    Fig. 5
    zeigt eine perspektivische Darstellung einer Hebe-Schiebe-Tür gemäß einer weiteren Ausführungsform der vorliegenden Erfindung im Bereich des Fixierungselements.
    Detaillierte Beschreibung der bevorzugten Ausführungsformen
  • Die nachstehenden Ausführungen beziehen sich exemplarisch auf eine Hebe-Schiebe-Tür und gelten entsprechend auch für ein Hebe-Schiebe-Fenster.
  • In Figur 1 ist der grundsätzliche Aufbau einer Hebe-Schiebe-Tür 1 schematisch dargestellt. Die Hebe-Schiebe-Tür 1 umfasst einen äußeren, in eine Gebäudeöffnung einzusetzende Rahmenzarge 2, der aus zwei seitlichen Rahmenteilen 3, 3', einem oberen Rahmenteil 4 und einem unteren Rahmenteil 5, das auch als Schwelle bezeichnet wird, aufgebaut ist, einen Standflügel 6 sowie einen Hebe-Schiebe-Flügel 7, wobei Standflügel 6 und Hebe-Schiebe-Flügel 7 in die Rahmenzarge 2 eingesetzt sind. In die Rahmen 8, 8' (in dieser Ausführungsform der vorliegenden Erfindung handelt es sich um Kunststoff-Hohlprofilrahmen) des Hebe-Schiebe-Flügels 7 bzw. Standflügels 6 ist jeweils eine Verglasung 9, 9' eingesetzt. Die Rahmen 8, 8' von Hebe-Schiebe-Flügel 7 und Standflügel 6 sind analog zur Rahmenzarge 2 aus jeweils vier Rahmenelementen aufgebaut, nämlich je zwei seitlichen Rahmenteilen 12, 12', 13, 13', jeweils einem oberen Rahmenteil 10, 10' und jeweils einem unteren Rahmenteil 11, 11 Bei geschlossener Hebe-Schiebe-Tür 1 befindet sich das seitliche Rahmenteil 13 des Hebe-Schiebe-Flügels 7 am seitlichen Rahmenteil 13' (in Figur 1 nicht dargestellt) des Standflügels 6, d.h. im Mittelstoß, während sich das andere seitliche Rahmenteil 12 des Hebe-Schiebe-Flügels 7 am seitlichen Rahmenteil 3 der Rahmenzarge 2 befindet, d.h. im dortigen Stoßbereich 15 zwischen Hebe-Schiebeflügel 7 und seitlichem Rahmenteil 3.
  • In anderen Ausführungsformen einer Hebe-Schiebe-Tür 1 können auch zwei oder mehr Hebe-Schiebe-Flügel 7 in die Rahmenzarge 2 eingesetzt sein.
  • Um eine Verschiebbarkeit des Hebe-Schiebe-Flügels 7 gegenüber der Rahmenzarge 2 bzw. dem Standflügel 6 zu gewährleisten, sind Hebe-Schiebe-Flügel 7 und Standflügel 6 in zwei verschiedenen zueinander parallelen Ebenen angeordnet. In der in Figur 1 dargestellten Ausführungsform ist der Hebe-Schiebe-Flügel 7 in einer näher zur Gebäudeaußenseite liegenden Ebene angeordnet als der Standflügel 6. An den Rahmenteilen 10, 11, 12 und 13 des Kunststoff-Hohlprofilrahmens 8 des Hebe-Schiebe-Flügels 7 sind umfangsseitig, d.h. im Falzbereich, Nuten zur Aufnahme von Beschlagelementen vorhanden. Das untere Rahmenteil 11 des Hebe-Schiebe-Flügels 7 weist an seinen beiden seitlichen Enden je einen Laufwagen 14 mit Laufrollen (nicht abgebildet) auf, durch die der Hebe-Schiebe-Flügel 7 an einer Laufschiene 16 auf dem unteren Rahmenteil 5 der Rahmenzarge 2 verschiebbar geführt ist. Der Laufwagen 14 ist dabei jeweils in das untere Rahmenteil 11 aufgenommen. Darüber hinaus ist am Kunststoff-Hohlprofilrahmen 8 des Hebe-Schiebe-Flügels 7 ein Hebe-Schiebe-Beschlag angebracht, durch den der Hebe-Schiebe-Flügel 7 zum Öffnen und Schließen in vertikaler Richtung angehoben bzw. abgesenkt werden kann.
  • Figur 2 zeigt einen Ausschnitt aus dem Stoßbereich 15 zwischen Hebe-Schiebe-Flügel 7 und seitlichem Rahmenteil 3 der Rahmenzarge 2 in einer Explosionsdarstellung einer Ausführungsform der erfindungsgemäßen Hebe-Schiebe-Tür 1. Gemäß der vorliegenden Erfindung ist dort ein Fixierungselement 17, das in Figur 4 dargestellt ist, am seitlichen Rahmenteil 12 des Rahmens 8 des Hebe-Schiebe-Flügels 7 befestigt.
  • Das Fixierungselement 17 ist aus einer Basis 18 und einem Befestigungsteil 19 aufgebaut, das über mindestens eine Verbindung, vorzugsweise mindestens einem Steg 20, an der Basis angebracht ist. In der dargestellten Ausführungsform des erfindungsgemäß verwendeten Fixierungselements 17 ist das Befestigungsteil 19 über drei Stege 20 mit der Basis 18 verbunden. Stege 20 und Befestigungsteil 19 sind gegenüber der Basis 18 in einer versetzten Ebene angeordnet. Die Basis 18 besitzt eine rechtwinklige Form, wobei die Breite der Basis 18 der Tiefe des Rahmens 8 entspricht. Dadurch schließt die Basis 18 bündig mit dem Rahmen 8 ab. Im Befestigungsteil 19 befindet sich eine Schraubenaufnahme 22. An der dem Befestigungsteil 19 zugewandten Seite der Basis 18 sind Rastelemente 24 angeformt, durch die das Fixierungselement 17 mit dem Rahmen 8 rastend verbunden werden kann.
  • Im unteren Bereich der Basis 18, d.h. in dem im montierten Zustand der Laufschiene 16 zugewandten Bereich, weist die Basis 18 eine Ausnehmung 21 auf. Dabei hat die Ausnehmung 21 eine Form, die zu einem Teil der oberen Kontur der Laufwagenschiene komplementär ist. Dadurch kann im abgesenkten Zustand des Hebe-Schiebe-Flügels 7 ein Abschnitt der Laufwagenschiene 16 in die Basis 18 des Fixierungselements 17 aufgenommen werden.
  • Im Stoßbereich 15 zwischen Hebe-Schiebe-Flügel 7 und seitlichem Rahmenteil 3 der Rahmenzarge 2 ist das Fixierungselement 17 durch eine Schraube 25 mit dem seitlichen Rahmenteil 12 des Flügelrahmens 8 verschraubt. Dabei ist der Kopf der Schraube 25 in der Schraubenaufnahme 22 des Befestigungsteils 19 aufgenommen. Im zusammengesetzten Zustand der erfindungsgemäßen Hebe-Schiebe-Tür 1 (Figur 3) schließt die Unterseite 30 der Basis 18 bündig mit dem unteren Rahmenteil 11 der Rahmenzarge 2 ab. Darüber hinaus ist das Fixierungselement 17 über die Rastelemente 24 mit dem seitlichen Rahmenteil 12 des Hebe-Schiebe-Flügels 7 klemmend verbunden.
  • Auf der Oberseite 23 der Basis 18 liegt ein Abdeckprofil 26 auf. Das Abdeckprofil 26 ist mit dem seitlichen Rahmenteil 12 des Hebe-Schiebe-Flügels 7 verbunden, vorzugsweise rastend verbunden. Die Breite des Abdeckprofils 26 entspricht ebenfalls der Profiltiefe des Rahmens 8 des Hebe-Schiebe-Flügels 7. Da das Befestigungsteil 19 und die Stege 20 gegenüber der Basis 18 in Richtung des Rahmenteils 12 versetzt sind, werden Befestigungsteil 19 und Stege 20 durch das Abdeckprofil 26 verdeckt.
  • Durch ein Loch 29 im Abdeckprofil 26 ist der Fuß 28 eines Pilzpuffers 27 geführt. Dabei ist das Loch 29 in der Abdeckleiste derart positioniert, dass das dem seitlichen Rahmenteil 12 zugewandte Ende des das Loch 29 durchdringenden Fußes 28 in die Schraubenaufnahme 22 des Fixierungselements 17 eingeführt ist. Dadurch liegt der Pilzpuffer 27 am Fixierungselement 17 an. Die Befestigung des Pilzpuffers 27 erfolgt am Abdeckprofil 26, beispielsweise durch Verkleben oder Klemmsitz. Der Pilzpuffer 27 gewährleistet ein kontrolliertes Abstoppen des Hebe-Schiebe-Flügels 7 beim Auftreffen auf das seitliche Rahmenteil 3 der Rahmenzarge 2.
  • In Figur 3 ist die in Figur 2 gezeigte Ausführungsform der vorliegenden Erfindung im montierten Zustand dargestellt. Dabei ist zu erkennen, dass Befestigungsteil 19 und Stege 20 durch das Abdeckprofil 26 verdeckt sind. Im hier gezeigten abgesenkten Zustand des Hebe-Schiebe-Flügels 7 ist ein Abschnitt der Laufschiene 16 in die Ausnehmung 21 der Basis 18 des Fixierungselements 17 aufgenommen. Durch die zur Kontur der Laufschiene 16 komplementäre Form der Ausnehmung 21 liegt der Hebe-Schiebe-Flügel 7 passgenau auf der Laufschiene 16 auf. Dadurch ist die Dichtigkeit zwischen Hebe-Schiebe-Flügel 7 und unterem Rahmenteil 5 (Schwelle) der Rahmenzarge 2 gewährleistet.
  • Eine weitere Ausführungsform der vorliegenden Erfindung ist in Figur 5 in einer Explosionsdarstellung gezeigt. Der dargestellte Hebe-Schiebe-Flügel 7 weist einen zu dem in Figur 2 dargestellten analogen Aufbau mit der Ausnahme auf, das in der Ausführungsform gemäß Figur 5 kein Pilzpuffer 27 mit dem seitlichen Rahmenteil 12 des Rahmens 18 verbunden ist. Um ein kontrolliertes Anschlagen des Hebe-Schiebe-Flügels 7 zu gewährleisten, ist ein Puffer am seitlichen Rahmenteil 3 der Rahmenzarge 2 vorgesehen.
  • Die vorliegende Erfindung wurde vorstehend in Bezug auf eine Hebe-Schiebe-Tür 1 beschrieben. Für den Fachmann ist jedoch ersichtlich, dass die Ausführungen in gleicher Weise auf ein entsprechendes Hebe-Schiebe-Fenster übertragen werden können.

Claims (8)

  1. Hebe-Schiebe-Tür (1) oder Hebe-Schiebe-Fenster mit wenigstens einem Hebe-Schiebe-Flügel (7), der mit wenigstens einem in einem unteren Rahmenteil (11) des Flügelrahmen (8) des Hebe-Schiebe-Flügels (7) aufgenommen Laufwagen an einer Laufschiene (16), die auf einem unteren Rahmenteil (5) einer Rahmenzarge (2) angebracht ist, verschiebbar geführt ist, wobei bei geschlossenem Hebe-Schiebe-Flügel (7) in einem Stoßbereich (15) zwischen dem Hebe-Schiebe-Flügels (7) und einem seitlichen Rahmenteil (3) der Rahmenzarge (2) ein Fixierungselement (17) vorhanden ist, das im Stoßbereich (15) am Flügelrahmen (8) befestigt ist und über das der Hebe-Schiebe-Flügel (7) im abgesenktem Zustand auf der Laufschiene (16) aufliegt, wobei das Fixierungselement (17) aus einer Basis (18) und einem Befestigungsteil (19) aufgebaut ist, wobei die Basis (18) im unteren Bereich eine Ausnehmung (21) aufweist, die zur Kontur der Laufwagenschiene (17) zumindest teilweise komplementär ist und in die im abgesenkten Zustand des Hebe-Schiebe-Flügels (7) ein Abschnitt der Laufwagenschiene (16) aufgenommen ist.
  2. Hebe-Schiebe-Tür (1) oder Hebe-Schiebe-Fenster gemäß Anspruch 1, dadurch gekennzeichnet, dass die Breite der Basis (18) der Tiefe des Flügelrahmens (8) entspricht.
  3. Hebe-Schiebe-Tür (1) oder Hebe-Schiebe-Fenster gemäß Anspruch 1 oder Anspruch 2, dadurch gekennzeichnet, dass das Fixierungselement (17) durch eine Schraube (25) mit dem Flügelrahmen (8) verschraubt ist, wobei der Kopf der Schraube in einer Schraubenaufnahme (22) des Befestigungsteils (19) aufgenommen ist.
  4. Hebe-Schiebe-Tür (1) oder Hebe-Schiebe-Fenster gemäß einem der Ansprüche 1 bis 3, dadurch gekennzeichnet, dass am Hebe-Schiebe-Flügel (7) ein Abdeckprofil (26) befestigt ist, das an der Oberseite (23) der Basis (18) des Fixierungselements (17) aufliegt und das Befestigungsteil (19) des Fixierungselements (17) verdeckt.
  5. Hebe-Schiebe-Tür (1) oder Hebe-Schiebe-Fenster gemäß einem der Ansprüche 1 bis 4, dadurch gekennzeichnet, dass das Abdeckprofil (26) mit dem Flügelrahmen (8) des Hebe-Scheibe-Flügels (7) verrastet ist.
  6. Hebe-Schiebe-Tür (1) oder Hebe-Schiebe-Fenster gemäß einem der Ansprüche 1 bis 5, dadurch gekennzeichnet, dass der Hebe-Schiebe-Flügel (7) einen Pilzpuffer (27) umfasst, der am Fixierungselement (17) anliegt und am Abdeckprofil (26) befestigt ist.
  7. Hebe-Schiebe-Tür (1) oder Hebe-Schiebe-Fenster gemäß Anspruch 6, dadurch gekennzeichnet, dass der Fuß (28) des Pilzpuffers (27) durch ein Loch (29) im Abdeckprofil (26) geführt ist.
  8. Hebe-Schiebe-Tür (1) oder Hebe-Schiebe-Fenster gemäß Anspruch 6 oder Anspruch 7, dadurch gekennzeichnet, dass der Fuß (28) des Pilzpuffers (27) in der Schraubenaufnahme (22) des Befestigungsteils (19) aufgenommen ist.
EP11001405.7A 2010-02-25 2011-02-21 Hebe-Schiebe-Tür oder Hebe-Schiebe-Fenster Active EP2362047B1 (de)

Applications Claiming Priority (1)

Application Number Priority Date Filing Date Title
DE202010002825U DE202010002825U1 (de) 2010-02-25 2010-02-25 Hebe-Schiebe-Fenster oder Hebe-Schiebe-Tür

Publications (3)

Publication Number Publication Date
EP2362047A2 true EP2362047A2 (de) 2011-08-31
EP2362047A3 EP2362047A3 (de) 2013-05-01
EP2362047B1 EP2362047B1 (de) 2015-10-14

Family

ID=44166495

Family Applications (1)

Application Number Title Priority Date Filing Date
EP11001405.7A Active EP2362047B1 (de) 2010-02-25 2011-02-21 Hebe-Schiebe-Tür oder Hebe-Schiebe-Fenster

Country Status (2)

Country Link
EP (1) EP2362047B1 (de)
DE (1) DE202010002825U1 (de)

Cited By (1)

* Cited by examiner, † Cited by third party
Publication number Priority date Publication date Assignee Title
CN108699876A (zh) * 2015-12-23 2018-10-23 马科技术有限责任公司 带有框架侧的调节元件的衬板装置

Citations (1)

* Cited by examiner, † Cited by third party
Publication number Priority date Publication date Assignee Title
DE202008013043U1 (de) 2008-10-02 2009-02-12 Gretsch-Unitas GmbH Baubeschläge Hebe-Schiebe-Fenster oder -Tür sowie Abdichtelement

Family Cites Families (5)

* Cited by examiner, † Cited by third party
Publication number Priority date Publication date Assignee Title
DE3127929C2 (de) * 1981-07-15 1984-05-30 Siegenia-Frank Kg, 5900 Siegen Treibstangenbeschlag mit an Rahmenprofilen aus Metall, Kunststoff od.dgl. von Fenstern oder Türen in hinterschnittenen Führungskanälen geführten Treibstangen
DE20304001U1 (de) * 2003-01-10 2003-05-08 Gretsch-Unitas GmbH Baubeschläge, 71254 Ditzingen Beschlag für Hebe-Schiebe-Türen oder -Fenster sowie Laufschuh für einen solchen Beschlag
US20050217182A1 (en) * 2004-03-31 2005-10-06 Halsey Jay F Method and device for buttressing a sliding door
US7637058B2 (en) * 2005-03-09 2009-12-29 Chin-Ming Lai Wind and rain preventing device for aluminum doors and windows
DE202008001251U1 (de) * 2008-01-28 2008-04-17 Gretsch-Unitas GmbH Baubeschläge Auf einer Laufschiene verfahrbare Hebeschiebetür

Patent Citations (1)

* Cited by examiner, † Cited by third party
Publication number Priority date Publication date Assignee Title
DE202008013043U1 (de) 2008-10-02 2009-02-12 Gretsch-Unitas GmbH Baubeschläge Hebe-Schiebe-Fenster oder -Tür sowie Abdichtelement

Cited By (2)

* Cited by examiner, † Cited by third party
Publication number Priority date Publication date Assignee Title
CN108699876A (zh) * 2015-12-23 2018-10-23 马科技术有限责任公司 带有框架侧的调节元件的衬板装置
CN108699876B (zh) * 2015-12-23 2020-02-04 马科技术有限责任公司 带有框架侧的调节元件的衬板装置

Also Published As

Publication number Publication date
EP2362047B1 (de) 2015-10-14
DE202010002825U1 (de) 2011-07-12
EP2362047A3 (de) 2013-05-01

Similar Documents

Publication Publication Date Title
EP2132392B1 (de) Hebe-schiebe-tür
DE19846308C2 (de) Abdicht- und Verriegelungsvorrichtung für Fenster oder Türen
CH624729A5 (de)
WO2015085336A2 (de) Vorrichtung für das verschliessen einer gebäudeöffnung
EP3296501B1 (de) Tor mit einem türelement sowie unteres abschlusselement für ein torelement mit einem integrierten türelement
DE202008013043U1 (de) Hebe-Schiebe-Fenster oder -Tür sowie Abdichtelement
DE8010921U1 (de) Scharnierbandverbindung fuer fenster, tueren und tore
EP2473691B1 (de) Laufwagengehäuse für eine hebe-schiebe-tür oder ein hebe-schiebe-fenster sowie hebe-schiebe-tür oder hebe-schiebe-fenster, die/das ein derartiges laufwagengehäuse umfasst
DE202016101390U1 (de) Mitteldichtungsblock und Mitteldichtungsblocksystem für eine Hebeschiebtür
DE4338181C1 (de) Kunststoff-Hohlprofil
EP0833998B1 (de) Fensterflügelrahmen-hohlprofil und daraus bestehender doppelflügel-fensterrahmen
EP3112577A1 (de) Absenkdichtung
EP2362047B1 (de) Hebe-Schiebe-Tür oder Hebe-Schiebe-Fenster
EP3768931B1 (de) Dichtungseinheit
EP3715578A1 (de) Insektenschutztür
DE202004000610U1 (de) Beschlag für eine Ausstell- und Kippbewegung eines Flügels eines Gebäudefensters oder einer Gebäudetür sowie Parallelschiebekipp-Fenster oder -Tür mit einem solchen Beschlag
DE202017106040U1 (de) Türsystem
DE20000335U1 (de) Vorsatztür oder -fenster, insbesondere Insektenschutzgitter
DE20306960U1 (de) Beschlageinheit für Fenster oder Türen
DE2520668A1 (de) Treibstangenbeschlag fuer fenster, tueren oder dergleichen
AT518432B1 (de) Dichtungsvorrichtung mit bewegbarer Dichtleiste
EP2823126B1 (de) Fenster, tür oder dergleichen, mit einem verschlusselement
DE814219C (de) Rahmen aus Hohlprofilen, insbesondere Fensterrahmen
DE202025100919U1 (de) Vorrichtung zur Abdeckung eines Schiebeflügels, Falt-Schiebeflügels oder verschiebbaren Hebe-Schiebeflügels eines Fensters oder einer Tür
DE20313145U1 (de) Hebe-Schiebe-Tür oder -Fenster sowie Treibstangenbeschlag für Hebe-Schiebe-Türen oder -Fenster

Legal Events

Date Code Title Description
PUAI Public reference made under article 153(3) epc to a published international application that has entered the european phase

Free format text: ORIGINAL CODE: 0009012

AK Designated contracting states

Kind code of ref document: A2

Designated state(s): AL AT BE BG CH CY CZ DE DK EE ES FI FR GB GR HR HU IE IS IT LI LT LU LV MC MK MT NL NO PL PT RO RS SE SI SK SM TR

AX Request for extension of the european patent

Extension state: BA ME

PUAL Search report despatched

Free format text: ORIGINAL CODE: 0009013

AK Designated contracting states

Kind code of ref document: A3

Designated state(s): AL AT BE BG CH CY CZ DE DK EE ES FI FR GB GR HR HU IE IS IT LI LT LU LV MC MK MT NL NO PL PT RO RS SE SI SK SM TR

AX Request for extension of the european patent

Extension state: BA ME

RIC1 Information provided on ipc code assigned before grant

Ipc: E06B 7/16 20060101ALI20130327BHEP

Ipc: E05D 15/56 20060101AFI20130327BHEP

17P Request for examination filed

Effective date: 20131031

RBV Designated contracting states (corrected)

Designated state(s): AL AT BE BG CH CY CZ DE DK EE ES FI FR GB GR HR HU IE IS IT LI LT LU LV MC MK MT NL NO PL PT RO RS SE SI SK SM TR

GRAP Despatch of communication of intention to grant a patent

Free format text: ORIGINAL CODE: EPIDOSNIGR1

INTG Intention to grant announced

Effective date: 20150401

RIC1 Information provided on ipc code assigned before grant

Ipc: E05F 5/06 20060101ALN20150324BHEP

Ipc: E06B 3/52 20060101ALN20150324BHEP

Ipc: E05D 15/56 20060101AFI20150324BHEP

GRAS Grant fee paid

Free format text: ORIGINAL CODE: EPIDOSNIGR3

GRAA (expected) grant

Free format text: ORIGINAL CODE: 0009210

AK Designated contracting states

Kind code of ref document: B1

Designated state(s): AL AT BE BG CH CY CZ DE DK EE ES FI FR GB GR HR HU IE IS IT LI LT LU LV MC MK MT NL NO PL PT RO RS SE SI SK SM TR

REG Reference to a national code

Ref country code: GB

Ref legal event code: FG4D

Free format text: NOT ENGLISH

REG Reference to a national code

Ref country code: AT

Ref legal event code: REF

Ref document number: 755230

Country of ref document: AT

Kind code of ref document: T

Effective date: 20151015

Ref country code: CH

Ref legal event code: EP

REG Reference to a national code

Ref country code: IE

Ref legal event code: FG4D

Free format text: LANGUAGE OF EP DOCUMENT: GERMAN

REG Reference to a national code

Ref country code: DE

Ref legal event code: R096

Ref document number: 502011008055

Country of ref document: DE

REG Reference to a national code

Ref country code: FR

Ref legal event code: PLFP

Year of fee payment: 6

REG Reference to a national code

Ref country code: NL

Ref legal event code: MP

Effective date: 20151014

REG Reference to a national code

Ref country code: LT

Ref legal event code: MG4D

PG25 Lapsed in a contracting state [announced via postgrant information from national office to epo]

Ref country code: NO

Free format text: LAPSE BECAUSE OF FAILURE TO SUBMIT A TRANSLATION OF THE DESCRIPTION OR TO PAY THE FEE WITHIN THE PRESCRIBED TIME-LIMIT

Effective date: 20160114

Ref country code: IT

Free format text: LAPSE BECAUSE OF FAILURE TO SUBMIT A TRANSLATION OF THE DESCRIPTION OR TO PAY THE FEE WITHIN THE PRESCRIBED TIME-LIMIT

Effective date: 20151014

Ref country code: IS

Free format text: LAPSE BECAUSE OF FAILURE TO SUBMIT A TRANSLATION OF THE DESCRIPTION OR TO PAY THE FEE WITHIN THE PRESCRIBED TIME-LIMIT

Effective date: 20160214

Ref country code: ES

Free format text: LAPSE BECAUSE OF FAILURE TO SUBMIT A TRANSLATION OF THE DESCRIPTION OR TO PAY THE FEE WITHIN THE PRESCRIBED TIME-LIMIT

Effective date: 20151014

Ref country code: LT

Free format text: LAPSE BECAUSE OF FAILURE TO SUBMIT A TRANSLATION OF THE DESCRIPTION OR TO PAY THE FEE WITHIN THE PRESCRIBED TIME-LIMIT

Effective date: 20151014

Ref country code: HR

Free format text: LAPSE BECAUSE OF FAILURE TO SUBMIT A TRANSLATION OF THE DESCRIPTION OR TO PAY THE FEE WITHIN THE PRESCRIBED TIME-LIMIT

Effective date: 20151014

Ref country code: NL

Free format text: LAPSE BECAUSE OF FAILURE TO SUBMIT A TRANSLATION OF THE DESCRIPTION OR TO PAY THE FEE WITHIN THE PRESCRIBED TIME-LIMIT

Effective date: 20151014

PG25 Lapsed in a contracting state [announced via postgrant information from national office to epo]

Ref country code: GR

Free format text: LAPSE BECAUSE OF FAILURE TO SUBMIT A TRANSLATION OF THE DESCRIPTION OR TO PAY THE FEE WITHIN THE PRESCRIBED TIME-LIMIT

Effective date: 20160115

Ref country code: BE

Free format text: LAPSE BECAUSE OF NON-PAYMENT OF DUE FEES

Effective date: 20160229

Ref country code: LV

Free format text: LAPSE BECAUSE OF FAILURE TO SUBMIT A TRANSLATION OF THE DESCRIPTION OR TO PAY THE FEE WITHIN THE PRESCRIBED TIME-LIMIT

Effective date: 20151014

Ref country code: SE

Free format text: LAPSE BECAUSE OF FAILURE TO SUBMIT A TRANSLATION OF THE DESCRIPTION OR TO PAY THE FEE WITHIN THE PRESCRIBED TIME-LIMIT

Effective date: 20151014

Ref country code: PT

Free format text: LAPSE BECAUSE OF FAILURE TO SUBMIT A TRANSLATION OF THE DESCRIPTION OR TO PAY THE FEE WITHIN THE PRESCRIBED TIME-LIMIT

Effective date: 20160215

Ref country code: PL

Free format text: LAPSE BECAUSE OF FAILURE TO SUBMIT A TRANSLATION OF THE DESCRIPTION OR TO PAY THE FEE WITHIN THE PRESCRIBED TIME-LIMIT

Effective date: 20151014

Ref country code: FI

Free format text: LAPSE BECAUSE OF FAILURE TO SUBMIT A TRANSLATION OF THE DESCRIPTION OR TO PAY THE FEE WITHIN THE PRESCRIBED TIME-LIMIT

Effective date: 20151014

Ref country code: RS

Free format text: LAPSE BECAUSE OF FAILURE TO SUBMIT A TRANSLATION OF THE DESCRIPTION OR TO PAY THE FEE WITHIN THE PRESCRIBED TIME-LIMIT

Effective date: 20151014

REG Reference to a national code

Ref country code: DE

Ref legal event code: R097

Ref document number: 502011008055

Country of ref document: DE

PG25 Lapsed in a contracting state [announced via postgrant information from national office to epo]

Ref country code: CZ

Free format text: LAPSE BECAUSE OF FAILURE TO SUBMIT A TRANSLATION OF THE DESCRIPTION OR TO PAY THE FEE WITHIN THE PRESCRIBED TIME-LIMIT

Effective date: 20151014

PLBE No opposition filed within time limit

Free format text: ORIGINAL CODE: 0009261

STAA Information on the status of an ep patent application or granted ep patent

Free format text: STATUS: NO OPPOSITION FILED WITHIN TIME LIMIT

PG25 Lapsed in a contracting state [announced via postgrant information from national office to epo]

Ref country code: SM

Free format text: LAPSE BECAUSE OF FAILURE TO SUBMIT A TRANSLATION OF THE DESCRIPTION OR TO PAY THE FEE WITHIN THE PRESCRIBED TIME-LIMIT

Effective date: 20151014

Ref country code: SK

Free format text: LAPSE BECAUSE OF FAILURE TO SUBMIT A TRANSLATION OF THE DESCRIPTION OR TO PAY THE FEE WITHIN THE PRESCRIBED TIME-LIMIT

Effective date: 20151014

Ref country code: DK

Free format text: LAPSE BECAUSE OF FAILURE TO SUBMIT A TRANSLATION OF THE DESCRIPTION OR TO PAY THE FEE WITHIN THE PRESCRIBED TIME-LIMIT

Effective date: 20151014

Ref country code: RO

Free format text: LAPSE BECAUSE OF FAILURE TO SUBMIT A TRANSLATION OF THE DESCRIPTION OR TO PAY THE FEE WITHIN THE PRESCRIBED TIME-LIMIT

Effective date: 20151014

Ref country code: EE

Free format text: LAPSE BECAUSE OF FAILURE TO SUBMIT A TRANSLATION OF THE DESCRIPTION OR TO PAY THE FEE WITHIN THE PRESCRIBED TIME-LIMIT

Effective date: 20151014

26N No opposition filed

Effective date: 20160715

PG25 Lapsed in a contracting state [announced via postgrant information from national office to epo]

Ref country code: LU

Free format text: LAPSE BECAUSE OF FAILURE TO SUBMIT A TRANSLATION OF THE DESCRIPTION OR TO PAY THE FEE WITHIN THE PRESCRIBED TIME-LIMIT

Effective date: 20160221

Ref country code: MC

Free format text: LAPSE BECAUSE OF FAILURE TO SUBMIT A TRANSLATION OF THE DESCRIPTION OR TO PAY THE FEE WITHIN THE PRESCRIBED TIME-LIMIT

Effective date: 20151014

PG25 Lapsed in a contracting state [announced via postgrant information from national office to epo]

Ref country code: SI

Free format text: LAPSE BECAUSE OF FAILURE TO SUBMIT A TRANSLATION OF THE DESCRIPTION OR TO PAY THE FEE WITHIN THE PRESCRIBED TIME-LIMIT

Effective date: 20151014

REG Reference to a national code

Ref country code: IE

Ref legal event code: MM4A

PG25 Lapsed in a contracting state [announced via postgrant information from national office to epo]

Ref country code: IE

Free format text: LAPSE BECAUSE OF NON-PAYMENT OF DUE FEES

Effective date: 20160221

REG Reference to a national code

Ref country code: FR

Ref legal event code: PLFP

Year of fee payment: 7

PG25 Lapsed in a contracting state [announced via postgrant information from national office to epo]

Ref country code: MT

Free format text: LAPSE BECAUSE OF FAILURE TO SUBMIT A TRANSLATION OF THE DESCRIPTION OR TO PAY THE FEE WITHIN THE PRESCRIBED TIME-LIMIT

Effective date: 20151014

REG Reference to a national code

Ref country code: FR

Ref legal event code: PLFP

Year of fee payment: 8

PG25 Lapsed in a contracting state [announced via postgrant information from national office to epo]

Ref country code: CY

Free format text: LAPSE BECAUSE OF FAILURE TO SUBMIT A TRANSLATION OF THE DESCRIPTION OR TO PAY THE FEE WITHIN THE PRESCRIBED TIME-LIMIT

Effective date: 20151014

Ref country code: HU

Free format text: LAPSE BECAUSE OF FAILURE TO SUBMIT A TRANSLATION OF THE DESCRIPTION OR TO PAY THE FEE WITHIN THE PRESCRIBED TIME-LIMIT; INVALID AB INITIO

Effective date: 20110221

PG25 Lapsed in a contracting state [announced via postgrant information from national office to epo]

Ref country code: MK

Free format text: LAPSE BECAUSE OF FAILURE TO SUBMIT A TRANSLATION OF THE DESCRIPTION OR TO PAY THE FEE WITHIN THE PRESCRIBED TIME-LIMIT

Effective date: 20151014

Ref country code: TR

Free format text: LAPSE BECAUSE OF FAILURE TO SUBMIT A TRANSLATION OF THE DESCRIPTION OR TO PAY THE FEE WITHIN THE PRESCRIBED TIME-LIMIT

Effective date: 20151014

PG25 Lapsed in a contracting state [announced via postgrant information from national office to epo]

Ref country code: BG

Free format text: LAPSE BECAUSE OF FAILURE TO SUBMIT A TRANSLATION OF THE DESCRIPTION OR TO PAY THE FEE WITHIN THE PRESCRIBED TIME-LIMIT

Effective date: 20151014

PG25 Lapsed in a contracting state [announced via postgrant information from national office to epo]

Ref country code: AL

Free format text: LAPSE BECAUSE OF FAILURE TO SUBMIT A TRANSLATION OF THE DESCRIPTION OR TO PAY THE FEE WITHIN THE PRESCRIBED TIME-LIMIT

Effective date: 20151014

REG Reference to a national code

Ref country code: DE

Ref legal event code: R081

Ref document number: 502011008055

Country of ref document: DE

Owner name: REHAU INDUSTRIES SE & CO. KG, DE

Free format text: FORMER OWNER: REHAU AG + CO, 95111 REHAU, DE

REG Reference to a national code

Ref country code: GB

Ref legal event code: 732E

Free format text: REGISTERED BETWEEN 20220505 AND 20220512

REG Reference to a national code

Ref country code: AT

Ref legal event code: PC

Ref document number: 755230

Country of ref document: AT

Kind code of ref document: T

Owner name: REHAU INDUSTRIES SE & CO. KG, DE

Effective date: 20220419

PGFP Annual fee paid to national office [announced via postgrant information from national office to epo]

Ref country code: FR

Payment date: 20230207

Year of fee payment: 13

PGFP Annual fee paid to national office [announced via postgrant information from national office to epo]

Ref country code: GB

Payment date: 20230202

Year of fee payment: 13

GBPC Gb: european patent ceased through non-payment of renewal fee

Effective date: 20240221

PG25 Lapsed in a contracting state [announced via postgrant information from national office to epo]

Ref country code: GB

Free format text: LAPSE BECAUSE OF NON-PAYMENT OF DUE FEES

Effective date: 20240221

PG25 Lapsed in a contracting state [announced via postgrant information from national office to epo]

Ref country code: FR

Free format text: LAPSE BECAUSE OF NON-PAYMENT OF DUE FEES

Effective date: 20240229

PG25 Lapsed in a contracting state [announced via postgrant information from national office to epo]

Ref country code: GB

Free format text: LAPSE BECAUSE OF NON-PAYMENT OF DUE FEES

Effective date: 20240221

Ref country code: FR

Free format text: LAPSE BECAUSE OF NON-PAYMENT OF DUE FEES

Effective date: 20240229

PGFP Annual fee paid to national office [announced via postgrant information from national office to epo]

Ref country code: DE

Payment date: 20250228

Year of fee payment: 15

PGFP Annual fee paid to national office [announced via postgrant information from national office to epo]

Ref country code: CH

Payment date: 20250301

Year of fee payment: 15

Ref country code: AT

Payment date: 20250116

Year of fee payment: 15