EP2360943B1 - Beamforming in hearing aids - Google Patents
Beamforming in hearing aids Download PDFInfo
- Publication number
- EP2360943B1 EP2360943B1 EP09180883.2A EP09180883A EP2360943B1 EP 2360943 B1 EP2360943 B1 EP 2360943B1 EP 09180883 A EP09180883 A EP 09180883A EP 2360943 B1 EP2360943 B1 EP 2360943B1
- Authority
- EP
- European Patent Office
- Prior art keywords
- hearing aid
- aid system
- directional
- hearing
- signal
- Prior art date
- Legal status (The legal status is an assumption and is not a legal conclusion. Google has not performed a legal analysis and makes no representation as to the accuracy of the status listed.)
- Active
Links
- 230000005236 sound signal Effects 0.000 claims abstract description 104
- 208000016354 hearing loss disease Diseases 0.000 claims abstract description 36
- 238000000034 method Methods 0.000 claims description 17
- 238000012937 correction Methods 0.000 claims description 11
- 230000003044 adaptive effect Effects 0.000 claims description 9
- 230000008569 process Effects 0.000 claims description 9
- 230000006854 communication Effects 0.000 claims description 3
- 238000004891 communication Methods 0.000 claims description 3
- 230000000295 complement effect Effects 0.000 claims description 3
- 230000007175 bidirectional communication Effects 0.000 abstract description 2
- 238000012545 processing Methods 0.000 description 34
- 238000004088 simulation Methods 0.000 description 19
- 230000008901 benefit Effects 0.000 description 16
- 230000002452 interceptive effect Effects 0.000 description 15
- 206010011878 Deafness Diseases 0.000 description 10
- 230000010370 hearing loss Effects 0.000 description 10
- 231100000888 hearing loss Toxicity 0.000 description 10
- 230000001419 dependent effect Effects 0.000 description 7
- 210000005069 ears Anatomy 0.000 description 6
- 210000003128 head Anatomy 0.000 description 5
- 230000006870 function Effects 0.000 description 3
- 208000032041 Hearing impaired Diseases 0.000 description 2
- 230000003213 activating effect Effects 0.000 description 2
- 230000008859 change Effects 0.000 description 2
- 230000003111 delayed effect Effects 0.000 description 2
- 238000009826 distribution Methods 0.000 description 2
- 238000011835 investigation Methods 0.000 description 2
- 230000001629 suppression Effects 0.000 description 2
- 238000012360 testing method Methods 0.000 description 2
- 235000014676 Phragmites communis Nutrition 0.000 description 1
- 230000004913 activation Effects 0.000 description 1
- 230000003321 amplification Effects 0.000 description 1
- 238000013459 approach Methods 0.000 description 1
- 230000002238 attenuated effect Effects 0.000 description 1
- 238000005311 autocorrelation function Methods 0.000 description 1
- 230000009286 beneficial effect Effects 0.000 description 1
- 238000005314 correlation function Methods 0.000 description 1
- 230000008878 coupling Effects 0.000 description 1
- 238000010168 coupling process Methods 0.000 description 1
- 238000005859 coupling reaction Methods 0.000 description 1
- 230000008034 disappearance Effects 0.000 description 1
- 210000000613 ear canal Anatomy 0.000 description 1
- 230000008030 elimination Effects 0.000 description 1
- 238000003379 elimination reaction Methods 0.000 description 1
- 230000003203 everyday effect Effects 0.000 description 1
- 230000001747 exhibiting effect Effects 0.000 description 1
- 238000001914 filtration Methods 0.000 description 1
- 230000005057 finger movement Effects 0.000 description 1
- 230000006872 improvement Effects 0.000 description 1
- 230000004807 localization Effects 0.000 description 1
- 238000003199 nucleic acid amplification method Methods 0.000 description 1
- 230000001902 propagating effect Effects 0.000 description 1
- 238000005070 sampling Methods 0.000 description 1
- 230000003595 spectral effect Effects 0.000 description 1
- 230000007704 transition Effects 0.000 description 1
- 238000009827 uniform distribution Methods 0.000 description 1
- 238000005303 weighing Methods 0.000 description 1
Images
Classifications
-
- H—ELECTRICITY
- H04—ELECTRIC COMMUNICATION TECHNIQUE
- H04R—LOUDSPEAKERS, MICROPHONES, GRAMOPHONE PICK-UPS OR LIKE ACOUSTIC ELECTROMECHANICAL TRANSDUCERS; DEAF-AID SETS; PUBLIC ADDRESS SYSTEMS
- H04R25/00—Deaf-aid sets, i.e. electro-acoustic or electro-mechanical hearing aids; Electric tinnitus maskers providing an auditory perception
- H04R25/40—Arrangements for obtaining a desired directivity characteristic
- H04R25/407—Circuits for combining signals of a plurality of transducers
-
- H—ELECTRICITY
- H04—ELECTRIC COMMUNICATION TECHNIQUE
- H04R—LOUDSPEAKERS, MICROPHONES, GRAMOPHONE PICK-UPS OR LIKE ACOUSTIC ELECTROMECHANICAL TRANSDUCERS; DEAF-AID SETS; PUBLIC ADDRESS SYSTEMS
- H04R25/00—Deaf-aid sets, i.e. electro-acoustic or electro-mechanical hearing aids; Electric tinnitus maskers providing an auditory perception
- H04R25/40—Arrangements for obtaining a desired directivity characteristic
-
- H—ELECTRICITY
- H04—ELECTRIC COMMUNICATION TECHNIQUE
- H04R—LOUDSPEAKERS, MICROPHONES, GRAMOPHONE PICK-UPS OR LIKE ACOUSTIC ELECTROMECHANICAL TRANSDUCERS; DEAF-AID SETS; PUBLIC ADDRESS SYSTEMS
- H04R25/00—Deaf-aid sets, i.e. electro-acoustic or electro-mechanical hearing aids; Electric tinnitus maskers providing an auditory perception
- H04R25/55—Deaf-aid sets, i.e. electro-acoustic or electro-mechanical hearing aids; Electric tinnitus maskers providing an auditory perception using an external connection, either wireless or wired
- H04R25/552—Binaural
-
- H—ELECTRICITY
- H04—ELECTRIC COMMUNICATION TECHNIQUE
- H04R—LOUDSPEAKERS, MICROPHONES, GRAMOPHONE PICK-UPS OR LIKE ACOUSTIC ELECTROMECHANICAL TRANSDUCERS; DEAF-AID SETS; PUBLIC ADDRESS SYSTEMS
- H04R2225/00—Details of deaf aids covered by H04R25/00, not provided for in any of its subgroups
- H04R2225/41—Detection or adaptation of hearing aid parameters or programs to listening situation, e.g. pub, forest
-
- H—ELECTRICITY
- H04—ELECTRIC COMMUNICATION TECHNIQUE
- H04R—LOUDSPEAKERS, MICROPHONES, GRAMOPHONE PICK-UPS OR LIKE ACOUSTIC ELECTROMECHANICAL TRANSDUCERS; DEAF-AID SETS; PUBLIC ADDRESS SYSTEMS
- H04R2430/00—Signal processing covered by H04R, not provided for in its groups
- H04R2430/20—Processing of the output signals of the acoustic transducers of an array for obtaining a desired directivity characteristic
-
- H—ELECTRICITY
- H04—ELECTRIC COMMUNICATION TECHNIQUE
- H04R—LOUDSPEAKERS, MICROPHONES, GRAMOPHONE PICK-UPS OR LIKE ACOUSTIC ELECTROMECHANICAL TRANSDUCERS; DEAF-AID SETS; PUBLIC ADDRESS SYSTEMS
- H04R25/00—Deaf-aid sets, i.e. electro-acoustic or electro-mechanical hearing aids; Electric tinnitus maskers providing an auditory perception
- H04R25/50—Customised settings for obtaining desired overall acoustical characteristics
- H04R25/505—Customised settings for obtaining desired overall acoustical characteristics using digital signal processing
Definitions
- the present invention pertains to a hearing aid system with the capability of beamforming in general and to adaptive binaural beamforming in particular.
- One of the most important tasks for modern hearing aids is to provide improvement in speech intelligibility in the presence of noise.
- beamforming especially adaptive beamforming
- the user of a hearing aid is given the possibility of changing between a directional and a omni-directional mode in the hearing aid (e.g. the user simply changes processing modes by flipping a toggle switch or pushing a button on the hearing aid to put the device in the preferred mode according to the listening conditions encountered in a specific environment).
- Recently, even automatic switching procedures for switching between directional and omni-directional modes have been employed in hearing aids.
- Both omni-directional and directional processing offer benefits relative the other mode, depending upon the specific listening situation.
- omni-directional processing is typically preferred over the directional mode. This is due to the fact that in situations, where any background noise present is fairly low in amplitude, the omni-directional mode should provide a greater access to the full range of sounds in the surrounding environment, which may provide a greater feeling of "connectedness" to the environment, i.e. being connected to the outside world.
- the general preference for omni-directional processing when the signal source is to the side or behind the listener is predictable.
- omni-directional processing will improve recognition for speech signals arriving from these locations (e.g., in a restaurant where the server speaks from behind or from the side of the listener).
- This benefit of omni-directional processing for target signals arriving from locations other than in front of the listener will be present in both quiet and noisy listening situations.
- the signal source e.g., the talker of interest
- the increased SNR provided by directional processing for signals coming from the front is likely to make directional processing preferred.
- Each of the listening conditions just mentioned in quiet, in noise with the hearing aid user facing or not facing the talker) occur frequently in the everyday experience of hearing-impaired listeners.
- hearing aid users regularly encounter listening situations where directional processing will be preferable to the omnidirectional mode, and vice versa.
- a problem with the approach of manual switching between omni-directional and directional modes of the hearing aid is that listeners may not be aware that a change in mode could be beneficial in a given listening situation if they do not actively switch modes.
- the most appropriate processing mode can change fairly frequently in some listening environments and the listener may be unable to conveniently switch modes manually to handle such dynamic listening conditions.
- many listeners may find manual switching and active comparison of the two modes burdensome and inconvenient. As a result, they may leave their devices in a default omni-directional mode permanently.
- directional processing is performed by a lossy coding of the sound.
- directional processing consists of spatial filtering where one sound source is enhanced (usually from 0 degrees) and all other sound sources are attenuated. Consequently, the spatial cues are destroyed. Once this information is removed, it is no longer available or retrievable by the hearing aid or the listener.
- one of the major problems with such methods of manual or automatic switching between directional and omni-directional modes is the elimination of information, which occurs when the hearing instrument is switched to a directional mode, which may be important to the listener.
- a directional mode is to provide a better signal-to- noise ratio for the signal of interest, the decision of what is the signal of interest is ultimately the listener's choice and cannot be decided upon by the hearing instrument.
- the signal of interest is assumed to occur in the look direction of the listener any signal that occurs outside the look direction of the listener can and will be eliminated by the directional processing. This is in compliance with clinical experience, which suggests that automatic switching algorithms currently being marketed are not achieving wide acceptance. Patients generally prefer to switch modes manually rather than rely of the decisions of these algorithms.
- US 2004/252852 A1 shows a hearing system wherein a part of the original microphone signal is variably mixed with the output signal of a beamformer in order to avoid a too selective signal, so that a part of the signal of the original surrounding can be conserved in an adjustable manner.
- a hearing aid system comprising: a first and a second microphone for the provision of electrical input signals, a beamformer for the provision of a first audio signal having a directional spatial characteristic (a beam), based at least in part on the electrical input signals, wherein the beamformer is further being configured to provide a second audio signal, based at least in part on the electrical input signals, the second audio signal having another spatial characteristic than the first audio signal, and wherein the hearing aid system further comprises a mixer being configured for mixing the first and second audio signals in order to provide an output signal to be heard by a user.
- the user By mixing the directional audio signal with an audio signal having another spatial characteristic in order to provide a mixed output signal to be heard by a user, the user achieves the benefit of directional processing (e.g. a better intelligibility of the signal of interest), while at the same time being able to hear sound from other direction(s).
- the mixing ratio i.e. how much of the second audio signal is mixed with the first one, and depending on the spatial characteristic of the second audio signal, the user will be provided with an output signal that has the benefit of directional processing and at the same time feel more connected with the ambient sound environment.
- the hearing aid system may according to a preferred embodiment further comprise a processor that is being configured to process the mixed signal according to a hearing impairment correction algorithm.
- a processor that is being configured to process the mixed signal according to a hearing impairment correction algorithm.
- the mixed signal has a level and frequency characteristic that would be heard by the user.
- an output transducer such as a speaker (also called a receiver) is used in the hearing aid system in order to transduce the mixed audio signal into a sound signal.
- the hearing aid system according to the first aspect of the invention may, alternatively, further comprise a processor that is being configured to process the first audio signal according to a hearing impairment correction algorithm prior to mixing the first and second audio signals. Since, it usually is the first audio signal having the directional characteristic that of primary interest to the user, it is achieved by this alternative embodiment that at least the audio signal, which has the greatest interest to the user, is processed according to the hearing impairment of said user.
- the beamformer may have one preferred direction.
- the directional characteristic of the first audio signal may have a direction that is predefined to be in the "front look” direction.
- defining a beam in the "front look” direction While keeping the beam direction fixed the "width" of the beam or shape of the spatial directional characteristic of the first audio signal may according to an alternative embodiment be adaptable or at least adjustable.
- the beamformer may preferably be adaptive, i.e. the beamformer optimizes the signal to noise ratio in dependence of the specific situation.
- an adaptable beamformer By using an adaptable beamformer is achieved a very flexible solution, wherein it is possible to focus on a moving sound source or to focus on a non-moving sound source, while the user of the hearing aid system is moving. Furthermore, it is possible to better handle changes in the ambient noise conditions (e.g. appearance of a new sound source, disappearance of a noise source or movement of the noise sources relative to the user of the hearing aid system).
- the hearing aid system may comprise a user operated interface that is operatively connected to the mixer for controlling the mixing of the first and second audio signals.
- the user can decide how much of the ambient sound field he/she may want to hear, and hence turn up and down for how "connected" to the surroundings he/she may want to feel.
- the user of the inventive hearing aid system is situated at a dinner party, wherein he/she is having a conversation with a person sitting opposite to him/her, while a number of the other participants are talking to each other, then the user will be situated in a sound environment, which often is referred to as multi talker babble noise or just babble noise.
- the user of the inventive hearing aid system will have the clear benefit of directional processing, but may feel left out of the rest of the group of persons at the dinner party, but by using the interface to mix in some of the second audio signal it will enable the user to hear as much of the other conversations that is going on as he/she may chose, while at the same time having the benefit of directional processing with respect to the person with whom the user is presently having a conversation with.
- the mixing of the first and second audio signals may be performed in dependence of a classification of the ambient sound environment. This has the advantage that the audio signal processing in the hearing aid system may be optimized to handle a certain sound or noise environments.
- the user operated interface may be placed in a separate remote control device, for example similar to a remote control device for controlling a TV, that is operatively connected to the mixer via a wireless link.
- the user operated interface may comprise a manually operable switch that may be placed in or on a housing structure of the hearing aid system.
- the switch may be a toggle switch or a switch that resembles a volume wheel of a hearing aid known in the art.
- the switch may be embodied as a proximity sensor that is able to register hand or finger movements in the proximity of said sensor. Such a proximity sensor may for example be embodied as a capacitive sensor.
- the switch may be a magnetic switch, such as a reed switch, magneto-resistive, giant magneto-resistive, anisotropic magneto-resistive or anisotropic giant magneto-resistive switch.
- the hearing aid system may be a binaural hearing aid system comprising a first and a second hearing aid that are interconnected to each other via a communication link, and wherein the first microphone is located in the first hearing aid and the second microphone is located in the second hearing aid.
- a hearing aid system facilitating binaural beamforming.
- binaural beamforming This has among other things the advantage of increased spatial resolution of the beamformer, because the distance between the ears of an average grown up person wearing the first and second hearing aids in or at the ears, is roughly on the order of the wavelength of sound in the audible range. This will thus make it possible to distinguish between spatially closely located sound sources.
- one concern with binaural beamforming is that the beamformer only generates one signal, effectively destroying all binaural cues like the Interaural Time Difference (ITD), and Interaural Level Difference (ILD) for the noise. These binaural cues are essential for enabling a person to localize sound sources and/or distinguish between sound sources.
- the binaural cues may be preserved, while at the same time providing the benefits of directional processing for the user. Simulations have shown that these binaural cues are to a large extent preserved in a hearing aid system according to the invention (see for example the section on simulation results).
- the binaural hearing aid system or the user can determine the level of mixing or mixing ratio that would be desirable for the given situation.
- each of the first and second hearing aids comprises an additional microphone that is connected to the beamformer.
- a manually operable switch for controlling the mixing of the first and second audio signals, which may be placed in the first and/or second hearing aid, for example in a housing structure of the first and/or second hearing aid.
- the hearing aid system may be a single hearing aid forming part of a binaural hearing aid system.
- the spatial characteristic of the first and second audio signals, which are generated by the beamformer may be substantially complementary. However, while being substantially complementary they may also be overlapping to a certain extent.
- a great advantage of this embodiment is that when mixing an increasing part of the second audio signal with the first audio signal, the mixed signal will go from being a substantially directional audio signal to a substantially omni-directional audio signal.
- the system or user may perform a transition (e.g. a soft switching) between substantially directional and substantially omni-directional processing, and thus depending of what may be desirable in any given situation have the benefit of both.
- the spatial characteristics of the second audio signal may be substantially omni-directional.
- the spatial characteristics of the second audio signal may be substantially omni-directional.
- the mixing itself may be performed in dependence of a hearing loss of a first and/or a second ear of a user, or in dependence of a classification of the ambient sound environment.
- a first example which is useful for understanding the invention, relates to a hearing aid comprising: microphones for the provision of a directional audio signal and a omni-directional audio signal, a processor operatively connected to the microphones, and being configured for providing a hearing impairment corrected output signal to be heard by a user, wherein the hearing aid further comprises a mixer for mixing the directional audio signal and the omni-directional audio signal, thereby providing a mixed audio signal.
- An embodiment according to the first example further relates to a hearing aid comprising a user operated interface operatively connected to the mixer, whereby the mixing may be user controlled.
- the hearing impairment corrected output signal may, according to an embodiment of the first example, be based on the mixed audio signal or the directional audio signal or the omni-directional audio signal.
- a hearing aid may be configured for forming part of a binaural hearing aid system.
- a second example which is useful for understanding the invention, relates to a binaural hearing aid system comprising: a first hearing aid having a directional microphone system for the provision of a directional audio signal and a processor for the provision of a first hearing impairment corrected output signal, a second hearing aid having an omni-directional microphone system for the provision of a omni-directional audio signal and a receiver for the provision of a second hearing impairment corrected output signal, wherein the first hearing aid is adapted to receive an audio signal based on the omni-directional audio signal and the second hearing aid is adapted to receive an audio signal based on the directional audio signal via a bi-directional communication link between the first and second hearing aids, wherein the first hearing aid further comprises a first mixer for mixing signals based on the omni-directional and the directional audio signals in order to provide a first mixed signal, and wherein the second hearing aid further comprises a second mixer for mixing signals based on the omni-directional and the directional audio signals in order to provide a second mixed signal.
- the mixing performed by the first and/or second mixer may be based on a classification of a signal derived from the omni-directional microphone system and/or the directional microphone system.
- the mixing may be performed in dependence of a target signal-to-noise ratio (SNR) and/or a signal pressure level (SPL) of a signal derived from the omni-directional microphone system and/or the directional microphone system.
- SNR target signal-to-noise ratio
- SPL signal pressure level
- the binaural hearing aid system according to the second example may further comprise a user operated interface that is operatively connected to the first and/or second mixer.
- the first hearing impairment corrected output signal may at least in part be based on the first mixed signal.
- the second hearing impairment corrected output signal may at least in part be based on the second mixed signal.
- the first and second mixed signals may according to an embodiment of the second example be substantially identical or the mixing may be performed according to an identical mixing ratio.
- the first hearing impairment corrected output signal may be generated in dependence of a hearing loss associated with a first ear of a user
- the second hearing impairment corrected output signal may be generated in dependence of a hearing loss associated with a second ear of a user.
- the mixing may be performed in dependence of a hearing loss of a first and/or a second ear of a user.
- Fig. 1 shows an embodiment of a hearing aid system according to an aspect of the invention.
- the illustrated hearing aid system is embodied as a hearing aid 2, comprising two microphones 4 and 6, for the provision of the electrical input signals 8 and 10, respectively.
- the illustrated hearing aid 2 also comprises a beamformer 12 that is configured for providing a first audio signal 14 having a directional spatial characteristic (sometimes referred to as a beam).
- the first audio signal 14 is based at least in part on the electrical input signals 8 and 10
- the second audio signal 16 may also be based at least in part on the electrical input signals 8 and 10.
- the beamformer 12 is also configured for providing a second audio signal 16 having a spatial characteristic that is different from the spatial characteristic of the first audio signal 14.
- the first and second audio signals 14 and 16 are mixed in a mixer 18 in order to provide a mixed audio signal 20.
- the hearing aid 2 further comprises a compressor 22 that is configured for processing the mixed audio signal 20 according to a hearing impairment correction algorithm.
- the hearing impairment corrected mixed audio signal is subsequently transformed to a sound signal by the illustrated receiver 24.
- the beamformer 12, mixer 18 and compressor 22 are preferably comprised in a signal processor such as a digital signal processor (DSP) 26. It is understood that any or all of the units: Beamformer 12, mixer 18 or compressor 22 may be implemented in software. Furthermore, some parts of the units 12, 18 and 22 may be implemented in software, while other parts may be implemented in hardware, such as an ASIC.
- DSP digital signal processor
- the compressor 22 may preferably be configured to perform a frequency dependent processing of the mixed audio signal 20 according to a hearing impairment correction algorithm.
- This hearing impairment correction algorithm is preferably chosen or generated in dependence of a specific estimated or measured hearing impairment of a user of the hearing aid 2.
- a (optional) user operated interface 28 which is operatively connected to the mixer 18 via a control link 30.
- the illustrated user operated interface 28 may comprise an actuator or sensor (not shown), like a volume wheel, on a housing structure (not shown) of the hearing aid 2. This will thus enable the user to control the mixing of the first and second audio signals 14 and 16, by manually activating the actuator or sensor with his/her hand or fingers.
- the illustrated user interface 28 forms part of a remote control device, from which remote control device a wireless control signal 30 may be sent to and received at the hearing aid 2, in order to control the mixing of the first and second audio signals 14 and 16 in the mixer 18.
- the hearing aid 2 is equipped with means for receiving a wireless control signal from the remote control device, although these features are not explicitly shown in Fig. 1 .
- the illustrated hearing aid 2 may be a behind the ear type of hearing aid, an in the ear type of hearing aid, a completely in the canal type of hearing aid or a receiver in the ear type of hearing aid (i.e. a type of hearing aid, wherein all the features shown in Fig. 1 except the receiver 24 are placed in a housing structure configured for being placed behind the ear of a user, and wherein the receiver 24 is placed in an earpiece, which for example can be an earmould, configured for being placed in the ear canal or cavum concha of a user).
- Figure 2 shows an alternative embodiment of the hearing aid system according to an aspect of the invention that is shown in Fig. 1 .
- the only difference between the embodiment shown in Fig. 1 and 2 is the classifier 32.
- the classifier 32 it is possible to let the hearing aid 2 perform an automatic mixing of the first and second audio signals 14 and 16, wherein the mixing may be optimized for different listening situations. For example if the ambient sound environment is quiet apart from possibly one sound source of interest for the user, then the mixing may be performed in such a way that the resulting mixed audio signal 20 is substantially omni-directional.
- the user may overrule the automatic mixing controlled by the classifier 32. The user may do so by activating the user operated interface 28.
- the mixing is only performed in dependence of a classification of the ambient sound environment by the classifier 32.
- Such an embodiment does therefore not comprise a user operated interface 28.
- the user will, thus, not be able to overrule the mixing controlled by the classifier 32.
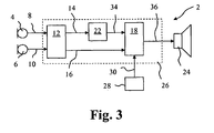
- Fig. 3 shows an alternative embodiment of a hearing aid system according to an aspect of the invention.
- the illustrated hearing aid system is embodied as a hearing aid 2 and is in many ways similar to the embodiment illustrated in Fig. 1 or 2 . Thus only the differences to these embodiments will be described in detail.
- the compressor 22 is configured for processing the first audio signal 14 according to a hearing impairment correction algorithm in order to provide a hearing impairment corrected output signal 34. This may be advantageous in certain situations, because the beam formed audio signal 14 will usually be directed toward the sound source of interest to the user. The user will therefore be interested to hear that particular sound source as laud and clear as is convenient for him/her.
- the signal 34 is mixed with the second audio signal 16 in order to provide a mixed output signal 36 that is converted to sound in a receiver 24.
- the hearing aid system may also comprise a (optional) user operated interface 28, by which the mixing may be controlled by the user in a similar way as described above.
- the hearing aid 2 illustrated in any of the figures 1 - 3 may comprise one or two additional microphones, so that it all in all may comprises 3 or 4 microphones, or even more microphones than 4.
- the hearing aid 2 as described with respect to any of the embodiments shown in Fig. 1-3 may be configured for forming part of a binaural hearing aid system comprising another hearing aid.
- the signal processing in the two hearing aids forming part of the binaural hearing aid system may further be coordinated with each other.
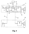
- Fig. 4 shows a hearing aid system according to another embodiment of the invention, wherein the hearing aid system is a binaural hearing aid system, comprising a first hearing aid 2, with one microphone 4, and a second hearing aid 38 comprising a second microphone 6.
- the second hearing aid 38 further comprises a compressor 40 and a receiver 42.
- the beamforming is only performed in the hearing aid 2.
- the electrical input signal 10 provided by the second hearing aid 38 is transferred to the beamformer 12 in the first hearing aid 2, as indicated by the dashed arrow 44.
- the further processing of the electrical input signals 8 and 10 in the hearing aid 2, including mixing of the audio signals 14 and 16, is performed in a similar way as explained above with respect to the embodiments shown in Fig. 1 - 3 .
- the mixed output signal 20 is also transferred to the compressor 40 of the second hearing aid 38, as indicated by the dashed arrow 46.
- the compressor 40 preferably processes the mixed audio signal according to a hearing impairment correction algorithm in order to compensate for a hearing impairment of a second ear of a user.
- the output signal from the compressor 40 is then fed to a second receiver 42, which is configured for converting the output signal of the compressor into a sound signal to be heard by a user.
- the compressor 22 is preferably configured for processing the mixed audio signal 20 according to a hearing impairment correction algorithm in order to alleviate a hearing loss of a first ear of a user
- the compressor 40 of the second hearing aid 38 is configured for processing the mixed audio signal 20 according to a hearing impairment correction algorithm in order to alleviate a hearing loss of a second ear of a user.
- the input signal 10 may be subjected to additional signal processing in the hearing aid 38.
- the transferral of the signals 10 and 20, as indicated by the dashed arrows 44 and 46, between the two hearing aids 2 and 38, may be facilitated by a wired or wireless link (e.g. bi-directional link), as known in the art.
- a wired or wireless link e.g. bi-directional link
- Fig. 5 shows an alternative hearing aid system according to one aspect of the invention, here embodied as a binaural hearing aid system, comprising a first hearing aid 2 and a second hearing aid 38.
- Each of the illustrated hearing aids 2, 38 comprises: a microphone 4, 6, a beamformer 12, 48, a mixer 18, 50, a compressor and a receiver 24, 42.
- the beamformer 12, the mixer 18 and the compressor 22 are forming part of a signal processing unit, such as a digital signal processor (DSP) 26.
- DSP digital signal processor
- the beamformer 48, the mixer 50 and the compressor 40 are forming part of a signal processing unit, such as a digital signal processor (DSP) 54.
- DSP digital signal processor
- the microphone 4 of the first hearing aid 2 provides an electrical input signal 8, which is fed to the beamformer 12 and also transferred to the beamformer 48 of the second hearing aid 38 as indicated by the dashed arrow 60.
- the microphone 6 of the second hearing aid 38 provides an electrical input signal 10, which is fed to the beamformer 48 and also transferred to the beamformer 12 of the first hearing aid 2 as indicated by the dashed arrow 62.
- each of the beamformers 12 and 48 receive electrical signals provided by both of the microphones.
- the further processing of the electrical input signals 8, 10 in each of the hearing aids 2, 38 is performed in a similar manner as described above with respect to the embodiments shown in Fig. 1 - 3 .
- the transferral of the input signals 8, 10 between the hearing aids 2, 38 as indicated by the dashed arrows 62, 60 may be facilitated by for example a bi-directional wired or wireless link.
- the beamformers 12, 48 of the first and second hearing aid 2, 38 may be configured to perform a coordinated beamforming in such a way that the audio signals 14 and 56 are substantially identical and/or that the audio signals 16 and 58 are substantially identical. This way it is achieved that the input signals to the mixer 18, 50 in the two hearing aids will be similar.
- the compressors 22 and 40 are configured to process the mixed audio signals 20 and 64 according to the hearing loss of a first and a second ear of a user, respectively.
- a (optional) user operated interface 28 is operatively connected to both the mixer 18 in the first hearing aid 2, as indicated by the dashed arrow 30, and to the mixer 50 in the second hearing aid 38, as indicated by the dashed arrow 52.
- the user operated interface 28 forms part of a remote control device, whereby the operative connection between the user operated interface 28 and the hearing aids 2 and 38 may be facilitated by a wireless link by which control signals may be sent to each of the two hearing aids 2 and 38.
- the user can control the mixing in each of the two hearing aids 2 and 38 independently of each other by a suitable activation of the user operated interface 28.
- the user operated interface 28 is configured for providing a coordinated and similar amount of mixing in each of the two hearing aids 2 and 38.
- the user operated interface 28 is comprised in a switching structure placed in a housing structure (not shown) of one or both of the hearing aids 2 and 38.
- Said switching structure may for example comprise a mechanical actuator or a proximity sensor or any other type of switching structure as explained in the summary of the invention.
- the user operated interface 28 may be comprised of two separate parts, one for controlling the mixing in the hearing aid 2 and one for controlling the mixing in the hearing aid 38.
- the user operated interface 28 also may comprise two separate parts of a switching structure (not shown), each of which may be placed in each of the two hearing aids 2 or 38.
- Fig. 6 illustrates a binaural hearing aid system similar to the one shown in Fig. 4 , but now wherein each of the hearing aids 2, 38 has been equipped with one additional microphone 5 and 7 respectively.
- the additional microphone 5 in the hearing aid 2 provides an electrical input signal 9, which is fed to the beamformer 12
- the additional microphone 7 in the hearing aid 38 provides an electrical input signal 11, which is transferred to the beamformer 12 in the hearing aid 2 via a wired or wireless link, illustrated by the dashed arrow 45.
- the beamformer 12 will have four microphone signals to work on whereby a more accurate and precise beamforming is possible (as will be explained below).
- the transferral of the signals 10, 11 and 20, as indicated by the dashed arrows 44, 45 and 46, between the two hearing aids 2 and 38, may be facilitated by a wired or wireless link (e.g. bi-directional link), as known in the art.
- a wired or wireless link e.g. bi-directional link
- Fig. 7 illustrates a binaural hearing aid system similar to the one shown in Fig. 5 , but now wherein each of the hearing aids 2, 38 has been equipped with one additional microphone 5 and 7 respectively.
- the additional microphone 5 in the hearing aid 2 provides an electrical input signal 9, which is fed to the beamformer 12 and transferred to the hearing aid 38, preferably via a wired or wireless link, as illustrated by the dashed arrow 61, wherein it (9) is fed to the beamformer 48 in the hearing aid 38.
- the additional microphone 7 in the hearing aid 38 provides an electrical input signal 11, which is feed to the beamformer 48 and transferred to the beamformer 12 in the hearing aid 2 via a (preferably wireless) link, illustrated by the dashed arrow 63.
- both the beamformer 12 and the beamformer 48 will have four microphone signals work on whereby a more accurate and precise beamforming is possible (as will be explained below).
- the beamforming performed by the two beamformers 12 and 48 may furthermore be coordinated with each other.
- the transferral of the input signals 8, 9, 10 and 11 between the hearing aids 2, 38 as indicated by the dashed arrows 60, 61, 62 and 63 may be facilitated by for example a bi-directional wired or wireless link.
- each of the hearing aids 2, 38 illustrated in any of the figures 3 - 7 may comprise a classifier (not shown) as described with respect to Fig. 2 .
- Fig. 8A - 8C illustrates the mixing of a first audio signal having a directional spatial characteristic 66 with another audio signal having a spatial characteristic 68 different from the spatial characteristic 66 of the first audio signal in order to provide a mixed signal.
- the spatial characteristics illustrated in Fig. 8A - 8C are given as polar plots showing the amplification of the ambient sound field as a function of angle in a substantially horizontal plane.
- the mixing illustrated in Fig. 8A shows a situation where a talker of interest to the user is placed at the angle 0 degrees, and an interfering noise source is placed at the angle 90 degrees.
- the spatial characteristic 66 is the speech estimate provided by the beamformer
- the spatial characteristic 68 is the noise estimate provided by the beamformer.
- the last column of spatial characteristics illustrated in Fig. 8A shows the spatial characteristics of the resulting mixed signal for various values of the factor ⁇ (see e.g. equation (16) below for more details).
- the factor ⁇ illustrates how much of the noise estimate is mixed with the speech estimate.
- the mixing factor ⁇ is controllable by the user, so that he/she may decide how much of the noise estimate he/she may want to hear ad thereby control the "connectedness" to the ambient sound environment.
- Fig. 8B and 8C is illustrated a similar situation as described above with reference to Fig. 8A , but with the difference that in Fig. 8B the interfering noise source is placed at the angle 110 degrees, and that in Fig. 8C the interfering noise source is placed at the angle 180 degrees.
- any of Fig. 8A - 8C only shows two simple examples of the mixing that can be performed by the mixing units 18 or 50 illustrated in any of the figures 1 - 7 .
- Other kinds of mixing other than mere addition as illustrated in Fig. 8A - 8C e.g. some suitable weighing and multiplication may be envisioned, and mixing of other audio signals exhibiting different spatial characteristics is also possible.
- any desired spatial characteristic of the mixed signal may be achieved depending on the mixing ratio used, i.e. how the first and second signals are weighted relative to each other and on the generated spatial characteristic of the first and second audio signals.
- the noise channels are written on vector form and filtered using a channel specific filter with N taps and the output is subtracted from the delayed signal reference (the first channel)
- ( ⁇ ) T is the transpose of ( ⁇ )
- h m h m 0 ... h m ⁇ N - 1 T
- v m n v m 0 ... v m ⁇ n - N + 1 T .
- a binaural hearing aid system according to an aspect of the invention hereafter called binaural beamformer
- a monaural adaptive beamformer according to another aspect of the invention.
- a free field model was used, and far field propagation was assumed, i.e. the acoustic model was based on a farfield approximation.
- the array had four microphones with two on either side of the head, i.e. corresponding to a binaural hearing aid system according to an aspect of the invention comprising two hearing aids, each equipped with two microphones, a front microphone and a rear microphone.
- the distance between the microphones on the individual hearing aid was 1 cm and the distance between the two front microphones was 14 cm whereas the distance between the two rear microphones was 15 cm.
- the speed of sound was assumed to be 342 m/s and the sampling frequency of the entire binaural hearing aid system was 16 kHz.
- the filters associated with a specific noise channel h m had 21 taps, resulting in a processing delay of 10 samples of the target signal.
- a speech signal was played from 0 degrees.
- the thermal noise was assumed to be spatially and temporally white with a Gaussian distribution. The level of the noise was adjusted so that the SNR was 30 dB (corresponding to a sound pressure level of 60 dB and a microphone noise level of 30 dB).
- the binaural hearing aid has a much better performance than the monaural hearing aid for angles between 0 and 90 degrees, whereas the two systems show similar performance in the rear hemisphere.
- One of the benefits from having more microphones is that the beamformer has more degrees of freedom to work with.
- a further simulation was performed in order to show the difference in performance for multiple sources.
- three interfering sources were incident from 90, 120 and 180 degrees.
- the center frequency for all noise sources chosen to be 2 kHz and the bandwidth was 1 kHz.
- the noise sources were mutually uncorrelated and uncorrelated with the target signal.
- the SNR can be seen for the three test cases.
- the advantage of the binaural hearing aid system is evident with a SNR gain of approximately 29 dB, whereas the monaural hearing aid only gives a SNR increase of 8 dB.
- Performance in diffuse noise is very interesting for hearing aid applications, because such noise fields are often encountered in highly reverberant settings such as in meeting rooms, restaurants or cafeterias.
- ⁇ i sin ⁇ ⁇ ⁇ cos ⁇ ⁇ T / c , where ⁇ i is a stochastic angle of incidence with a uniform distribution across the interval [0,2 ⁇ ] and c is the speed of sound.
- the diffuse wave field was evaluated in the positions of the microphones and sampled to generate the discrete time noise sequences. The result for the different test cases can be seen in table 2.
- the SNR gain for the monaural hearing aid is about 4 dB and 6 dB for the binaural hearing aid system.
- ITD Interaural Time Difference
- ILD Interaural Level Difference
- the proposed algorithm generates an estimate for the signal incident from the target direction (usually chosen to be fixed at 0 degrees) but also gives an estimate for the noise component on all microphones.
- the signal presented at the output (which is then passed on for further processing in the hearing aid) is an appropriate mixing of target signal and noise.
- the mixing ratio could either be adjusted by the user by a remote control or decided by the hearing aid given the current acoustic environment.
- Simulations as presented in the present patent specification are only relating to the directional noise suppression performance, i.e. only target signal and no noise mixing, and compared to that of a single hearing aid with adaptive beamforming.
- the monoaural hearing aid performed better than if no beamforming was applied, but also that the binaural hearing aid system performed significantly better than the monaural hearing aid for all angles and especially in the front hemisphere.
- the performance gain was the largest in the low frequencies.
- the performance gain of the monaural hearing aid was 8 dB. This is a result of that the small number of microphones in the array (only 2) cannot suppress this number of sources properly.
- the binaural array (with 4 microphones), however, achieved a SNR gain of 28 dB. Simulations were also carried out for a diffuse noise field. The performance of the beamforming algorithms were, however, reduced, with a SNR gain of 4 dB for the monaural hearing aid and 6 dB for the binaural hearing aid system, respectively.
- the ability of the proposed algorithm to reproduce ITD and ILD of the interfering noise was also evaluated. It was shown that the error in the estimated ITD was on the order of microseconds for both single interferer situations as well as for the case of multiple interfering noise sources. This has to be considered as small since the true ITD is in the millisecond range. It was also shown that the ILD was correctly reproduced when a single interfering source generated different pressure levels on the two sides of the head.
Landscapes
- Engineering & Computer Science (AREA)
- Health & Medical Sciences (AREA)
- General Health & Medical Sciences (AREA)
- Neurosurgery (AREA)
- Otolaryngology (AREA)
- Physics & Mathematics (AREA)
- Acoustics & Sound (AREA)
- Signal Processing (AREA)
- Computer Networks & Wireless Communication (AREA)
- Circuit For Audible Band Transducer (AREA)
- Soundproofing, Sound Blocking, And Sound Damping (AREA)
- Stereophonic System (AREA)
Priority Applications (9)
| Application Number | Priority Date | Filing Date | Title |
|---|---|---|---|
| DK13163707T DK2629551T3 (en) | 2009-12-29 | 2009-12-29 | Binaural hearing aid system |
| DK09180883.2T DK2360943T3 (da) | 2009-12-29 | 2009-12-29 | Beamforming i høreapparater |
| EP09180883.2A EP2360943B1 (en) | 2009-12-29 | 2009-12-29 | Beamforming in hearing aids |
| EP13163707.6A EP2629551B1 (en) | 2009-12-29 | 2009-12-29 | Binaural hearing aid |
| US12/976,985 US8630431B2 (en) | 2009-12-29 | 2010-12-22 | Beamforming in hearing aids |
| JP2010288110A JP5751828B2 (ja) | 2009-12-29 | 2010-12-24 | 補聴器におけるビームフォーミング |
| CN201010621662.2A CN102111706B (zh) | 2009-12-29 | 2010-12-29 | 助听器中的波束形成 |
| US13/854,897 US9282411B2 (en) | 2009-12-29 | 2013-04-01 | Beamforming in hearing aids |
| JP2015079819A JP5903512B2 (ja) | 2009-12-29 | 2015-04-09 | 補聴器におけるビームフォーミング |
Applications Claiming Priority (1)
| Application Number | Priority Date | Filing Date | Title |
|---|---|---|---|
| EP09180883.2A EP2360943B1 (en) | 2009-12-29 | 2009-12-29 | Beamforming in hearing aids |
Related Child Applications (1)
| Application Number | Title | Priority Date | Filing Date |
|---|---|---|---|
| EP13163707.6A Division EP2629551B1 (en) | 2009-12-29 | 2009-12-29 | Binaural hearing aid |
Publications (2)
| Publication Number | Publication Date |
|---|---|
| EP2360943A1 EP2360943A1 (en) | 2011-08-24 |
| EP2360943B1 true EP2360943B1 (en) | 2013-04-17 |
Family
ID=42139143
Family Applications (2)
| Application Number | Title | Priority Date | Filing Date |
|---|---|---|---|
| EP09180883.2A Active EP2360943B1 (en) | 2009-12-29 | 2009-12-29 | Beamforming in hearing aids |
| EP13163707.6A Active EP2629551B1 (en) | 2009-12-29 | 2009-12-29 | Binaural hearing aid |
Family Applications After (1)
| Application Number | Title | Priority Date | Filing Date |
|---|---|---|---|
| EP13163707.6A Active EP2629551B1 (en) | 2009-12-29 | 2009-12-29 | Binaural hearing aid |
Country Status (5)
| Country | Link |
|---|---|
| US (2) | US8630431B2 (enExample) |
| EP (2) | EP2360943B1 (enExample) |
| JP (2) | JP5751828B2 (enExample) |
| CN (1) | CN102111706B (enExample) |
| DK (2) | DK2629551T3 (enExample) |
Families Citing this family (122)
| Publication number | Priority date | Publication date | Assignee | Title |
|---|---|---|---|---|
| US8401212B2 (en) | 2007-10-12 | 2013-03-19 | Earlens Corporation | Multifunction system and method for integrated hearing and communication with noise cancellation and feedback management |
| US7668325B2 (en) * | 2005-05-03 | 2010-02-23 | Earlens Corporation | Hearing system having an open chamber for housing components and reducing the occlusion effect |
| US20110317858A1 (en) * | 2008-05-28 | 2011-12-29 | Yat Yiu Cheung | Hearing aid apparatus |
| BRPI0915203A2 (pt) | 2008-06-17 | 2016-02-16 | Earlens Corp | dispostivo, sistema e método para transmitir um sinal de áudio, e, dispostivo e método para estimular um tecido alvo |
| EP2301262B1 (en) | 2008-06-17 | 2017-09-27 | Earlens Corporation | Optical electro-mechanical hearing devices with combined power and signal architectures |
| CN102301747B (zh) | 2008-09-22 | 2016-09-07 | 依耳乐恩斯公司 | 用于听觉的平衡电枢装置和方法 |
| US8798992B2 (en) * | 2010-05-19 | 2014-08-05 | Disney Enterprises, Inc. | Audio noise modification for event broadcasting |
| WO2012088187A2 (en) | 2010-12-20 | 2012-06-28 | SoundBeam LLC | Anatomically customized ear canal hearing apparatus |
| CN104717590B (zh) | 2010-12-27 | 2020-09-15 | 株式会社精好 | 移动电话系统 |
| US9313306B2 (en) | 2010-12-27 | 2016-04-12 | Rohm Co., Ltd. | Mobile telephone cartilage conduction unit for making contact with the ear cartilage |
| JP5783352B2 (ja) | 2011-02-25 | 2015-09-24 | 株式会社ファインウェル | 会話システム、会話システム用指輪、携帯電話用指輪、指輪型携帯電話、及び、音声聴取方法 |
| WO2012140818A1 (ja) * | 2011-04-11 | 2012-10-18 | パナソニック株式会社 | 補聴器および振動検出方法 |
| WO2013101088A1 (en) * | 2011-12-29 | 2013-07-04 | Advanced Bionics Ag | Systems and methods for facilitating binaural hearing by a cochlear implant patient |
| EP2683179B1 (en) * | 2012-07-06 | 2015-01-14 | GN Resound A/S | Hearing aid with frequency unmasking |
| US9185499B2 (en) | 2012-07-06 | 2015-11-10 | Gn Resound A/S | Binaural hearing aid with frequency unmasking |
| US9002045B2 (en) * | 2011-12-30 | 2015-04-07 | Starkey Laboratories, Inc. | Hearing aids with adaptive beamformer responsive to off-axis speech |
| US8891777B2 (en) * | 2011-12-30 | 2014-11-18 | Gn Resound A/S | Hearing aid with signal enhancement |
| CN103546849B (zh) * | 2011-12-30 | 2017-04-26 | Gn瑞声达A/S | 具有频率无掩蔽的双耳助听器 |
| CN106879080B (zh) | 2012-01-20 | 2020-09-29 | 株式会社精好 | 移动电话、软骨传导振动源装置、聆听装置、通话装置 |
| DE102012214081A1 (de) * | 2012-06-06 | 2013-12-12 | Siemens Medical Instruments Pte. Ltd. | Verfahren zum Fokussieren eines Hörinstruments-Beamformers |
| EP3407621B1 (en) | 2012-06-29 | 2021-12-22 | FINEWELL Co., Ltd. | Stereo earphone |
| US8971557B2 (en) | 2012-08-09 | 2015-03-03 | Starkey Laboratories, Inc. | Binaurally coordinated compression system |
| KR20140070766A (ko) | 2012-11-27 | 2014-06-11 | 삼성전자주식회사 | 보청 장치의 무선 통신 방법 및 시스템 |
| US9148735B2 (en) * | 2012-12-28 | 2015-09-29 | Gn Resound A/S | Hearing aid with improved localization |
| US9148733B2 (en) * | 2012-12-28 | 2015-09-29 | Gn Resound A/S | Hearing aid with improved localization |
| US9407999B2 (en) * | 2013-02-04 | 2016-08-02 | University of Pittsburgh—of the Commonwealth System of Higher Education | System and method for enhancing the binaural representation for hearing-impaired subjects |
| EP2974084B1 (en) | 2013-03-12 | 2020-08-05 | Hear Ip Pty Ltd | A noise reduction method and system |
| DE102013207149A1 (de) * | 2013-04-19 | 2014-11-06 | Siemens Medical Instruments Pte. Ltd. | Steuerung der Effektstärke eines binauralen direktionalen Mikrofons |
| US9036845B2 (en) * | 2013-05-29 | 2015-05-19 | Gn Resound A/S | External input device for a hearing aid |
| US9802044B2 (en) | 2013-06-06 | 2017-10-31 | Advanced Bionics Ag | System and method for neural hearing stimulation |
| EP3694191A1 (en) | 2013-08-23 | 2020-08-12 | FINEWELL Co., Ltd. | Mobile telephone |
| WO2015060230A1 (ja) | 2013-10-24 | 2015-04-30 | ローム株式会社 | 腕輪型送受話装置、腕輪型報知装置 |
| KR102186307B1 (ko) * | 2013-11-08 | 2020-12-03 | 한양대학교 산학협력단 | 양이 보청기의 빔-포밍 시스템 및 그 방법 |
| EP2882203A1 (en) * | 2013-12-06 | 2015-06-10 | Oticon A/s | Hearing aid device for hands free communication |
| US20150172807A1 (en) * | 2013-12-13 | 2015-06-18 | Gn Netcom A/S | Apparatus And A Method For Audio Signal Processing |
| EP3105942B1 (en) | 2014-02-10 | 2018-07-25 | Bose Corporation | Conversation assistance system |
| US10034103B2 (en) | 2014-03-18 | 2018-07-24 | Earlens Corporation | High fidelity and reduced feedback contact hearing apparatus and methods |
| EP2928210A1 (en) * | 2014-04-03 | 2015-10-07 | Oticon A/s | A binaural hearing assistance system comprising binaural noise reduction |
| WO2015162463A1 (de) * | 2014-04-25 | 2015-10-29 | Siemens Medical Instruments Pte. Ltd. | Vorrichtung und verfahren zur signalübertragung in einem binauralen hörgerätesystem |
| US10244300B2 (en) * | 2014-04-30 | 2019-03-26 | Oticon A/S | Instrument with remote object detection unit |
| DK2941019T3 (da) * | 2014-04-30 | 2019-11-25 | Oticon As | Høreapparat med fjern-objektdetekteringsenhed |
| US9990939B2 (en) * | 2014-05-19 | 2018-06-05 | Nuance Communications, Inc. | Methods and apparatus for broadened beamwidth beamforming and postfiltering |
| JP2017521902A (ja) | 2014-05-26 | 2017-08-03 | シャーマン, ウラディミールSHERMAN, Vladimir | 取得した音響信号のための回路デバイスシステム及び関連するコンピュータで実行可能なコード |
| US9961456B2 (en) * | 2014-06-23 | 2018-05-01 | Gn Hearing A/S | Omni-directional perception in a binaural hearing aid system |
| EP2963817B1 (en) * | 2014-07-02 | 2016-12-28 | GN Audio A/S | Method and apparatus for attenuating undesired content in an audio signal |
| WO2016011044A1 (en) | 2014-07-14 | 2016-01-21 | Earlens Corporation | Sliding bias and peak limiting for optical hearing devices |
| US9949041B2 (en) | 2014-08-12 | 2018-04-17 | Starkey Laboratories, Inc. | Hearing assistance device with beamformer optimized using a priori spatial information |
| JP6551919B2 (ja) | 2014-08-20 | 2019-07-31 | 株式会社ファインウェル | 見守りシステム、見守り検知装置および見守り通報装置 |
| US9924276B2 (en) | 2014-11-26 | 2018-03-20 | Earlens Corporation | Adjustable venting for hearing instruments |
| CN110312181B (zh) | 2014-12-18 | 2020-12-15 | 株式会社精好 | 自行车行驶用接听装置及自行车系统 |
| US9774960B2 (en) * | 2014-12-22 | 2017-09-26 | Gn Hearing A/S | Diffuse noise listening |
| EP3038383A1 (en) * | 2014-12-23 | 2016-06-29 | Oticon A/s | Hearing device with image capture capabilities |
| CN107889554B (zh) * | 2015-03-13 | 2020-12-29 | 西万拓私人有限公司 | 双声道助听系统 |
| US9554207B2 (en) * | 2015-04-30 | 2017-01-24 | Shure Acquisition Holdings, Inc. | Offset cartridge microphones |
| US9565493B2 (en) | 2015-04-30 | 2017-02-07 | Shure Acquisition Holdings, Inc. | Array microphone system and method of assembling the same |
| US9723415B2 (en) * | 2015-06-19 | 2017-08-01 | Gn Hearing A/S | Performance based in situ optimization of hearing aids |
| DK3108929T3 (da) * | 2015-06-22 | 2020-08-31 | Oticon Medical As | Lydbehandling til et bilateralt cochleaimplantatsystem |
| US10967521B2 (en) | 2015-07-15 | 2021-04-06 | Finewell Co., Ltd. | Robot and robot system |
| DK3329692T3 (da) * | 2015-07-27 | 2021-08-30 | Sonova Ag | Mikrofonaggregat med klemmefastgørelse |
| JP6551929B2 (ja) | 2015-09-16 | 2019-07-31 | 株式会社ファインウェル | 受話機能を有する腕時計 |
| US20170095202A1 (en) | 2015-10-02 | 2017-04-06 | Earlens Corporation | Drug delivery customized ear canal apparatus |
| US11350226B2 (en) | 2015-12-30 | 2022-05-31 | Earlens Corporation | Charging protocol for rechargeable hearing systems |
| US10178483B2 (en) | 2015-12-30 | 2019-01-08 | Earlens Corporation | Light based hearing systems, apparatus, and methods |
| US10492010B2 (en) | 2015-12-30 | 2019-11-26 | Earlens Corporations | Damping in contact hearing systems |
| US9967682B2 (en) * | 2016-01-05 | 2018-05-08 | Bose Corporation | Binaural hearing assistance operation |
| WO2017126406A1 (ja) | 2016-01-19 | 2017-07-27 | ローム株式会社 | ペン型送受話装置 |
| EP3420738B1 (en) * | 2016-02-24 | 2019-11-27 | Dolby Laboratories Licensing Corporation | Planar loudspeaker manifold for improved sound dispersion |
| DK3229489T3 (da) * | 2016-04-08 | 2021-05-10 | Oticon As | Høreapparat, der omfatter et retningsbestemt mikrofonsystem |
| US9905241B2 (en) * | 2016-06-03 | 2018-02-27 | Nxp B.V. | Method and apparatus for voice communication using wireless earbuds |
| DK3252764T3 (da) * | 2016-06-03 | 2021-04-26 | Sivantos Pte Ltd | Fremgangsmåde til drift af et binauralt høresystem |
| EP3479373A4 (en) * | 2016-07-01 | 2020-02-12 | K/S Himpp | SYSTEMS AND METHODS FOR IMPROVING HEARING CAPACITY |
| US10375487B2 (en) * | 2016-08-17 | 2019-08-06 | Starkey Laboratories, Inc. | Method and device for filtering signals to match preferred speech levels |
| CN110140362B (zh) * | 2016-08-24 | 2021-07-06 | 领先仿生公司 | 用于通过增强耳间水平差异来促进耳间水平差异感知的系统和方法 |
| CN112738700A (zh) | 2016-09-09 | 2021-04-30 | 伊尔兰斯公司 | 智能镜系统和方法 |
| DK179577B1 (en) * | 2016-10-10 | 2019-02-20 | Widex A/S | Binaural hearing aid system and a method of operating a binaural hearing aid system |
| US9930447B1 (en) * | 2016-11-09 | 2018-03-27 | Bose Corporation | Dual-use bilateral microphone array |
| US9843861B1 (en) * | 2016-11-09 | 2017-12-12 | Bose Corporation | Controlling wind noise in a bilateral microphone array |
| WO2018093733A1 (en) | 2016-11-15 | 2018-05-24 | Earlens Corporation | Improved impression procedure |
| CN106714063B (zh) * | 2016-12-16 | 2019-05-17 | 深圳信息职业技术学院 | 助听设备麦克风语音信号波束形成方法、系统及助听设备 |
| US10911877B2 (en) * | 2016-12-23 | 2021-02-02 | Gn Hearing A/S | Hearing device with adaptive binaural auditory steering and related method |
| WO2018149507A1 (en) * | 2017-02-20 | 2018-08-23 | Sonova Ag | A method for operating a hearing system, a hearing system and a fitting system |
| DK3373603T3 (da) * | 2017-03-09 | 2020-09-14 | Oticon As | Høreanordning, der omfatter en trådløs lydmodtager |
| US10136229B2 (en) * | 2017-03-24 | 2018-11-20 | Cochlear Limited | Binaural segregation of wireless accessories |
| DE102017206788B3 (de) * | 2017-04-21 | 2018-08-02 | Sivantos Pte. Ltd. | Verfahren zum Betrieb eines Hörgerätes |
| EP3422736B1 (en) * | 2017-06-30 | 2020-07-29 | GN Audio A/S | Pop noise reduction in headsets having multiple microphones |
| CN107993668A (zh) * | 2017-11-27 | 2018-05-04 | 上海航天测控通信研究所 | 一种基于McASP接口的多路数字语音混音的方法 |
| US10536785B2 (en) * | 2017-12-05 | 2020-01-14 | Gn Hearing A/S | Hearing device and method with intelligent steering |
| US10182299B1 (en) * | 2017-12-05 | 2019-01-15 | Gn Hearing A/S | Hearing device and method with flexible control of beamforming |
| JPWO2019163538A1 (ja) * | 2018-02-23 | 2021-03-04 | ソニー株式会社 | イヤホン、イヤホンシステム、及びイヤホンシステムにおける方法 |
| WO2019173470A1 (en) | 2018-03-07 | 2019-09-12 | Earlens Corporation | Contact hearing device and retention structure materials |
| WO2019199680A1 (en) | 2018-04-09 | 2019-10-17 | Earlens Corporation | Dynamic filter |
| US10425745B1 (en) | 2018-05-17 | 2019-09-24 | Starkey Laboratories, Inc. | Adaptive binaural beamforming with preservation of spatial cues in hearing assistance devices |
| CN112544089B (zh) * | 2018-06-07 | 2023-03-28 | 索诺瓦公司 | 提供具有空间背景的音频的麦克风设备 |
| US10361673B1 (en) | 2018-07-24 | 2019-07-23 | Sony Interactive Entertainment Inc. | Ambient sound activated headphone |
| EP3606100B1 (en) | 2018-07-31 | 2021-02-17 | Starkey Laboratories, Inc. | Automatic control of binaural features in ear-wearable devices |
| JP2020053948A (ja) | 2018-09-28 | 2020-04-02 | 株式会社ファインウェル | 聴取装置 |
| TWI700004B (zh) * | 2018-11-05 | 2020-07-21 | 塞席爾商元鼎音訊股份有限公司 | 減少干擾音影響之方法及聲音播放裝置 |
| TWI865506B (zh) | 2019-03-21 | 2024-12-11 | 美商舒爾獲得控股公司 | 具有抑制功能的波束形成麥克風瓣之自動對焦、區域內自動對焦、及自動配置 |
| US11558693B2 (en) | 2019-03-21 | 2023-01-17 | Shure Acquisition Holdings, Inc. | Auto focus, auto focus within regions, and auto placement of beamformed microphone lobes with inhibition and voice activity detection functionality |
| CN109951786A (zh) * | 2019-03-27 | 2019-06-28 | 钰太芯微电子科技(上海)有限公司 | 一种纯数字架构的助听器系统 |
| US10567898B1 (en) * | 2019-03-29 | 2020-02-18 | Snap Inc. | Head-wearable apparatus to generate binaural audio |
| CN110136732A (zh) * | 2019-05-17 | 2019-08-16 | 湖南琅音信息科技有限公司 | 双通道智能音频信号处理方法、系统及音频设备 |
| US10715933B1 (en) * | 2019-06-04 | 2020-07-14 | Gn Hearing A/S | Bilateral hearing aid system comprising temporal decorrelation beamformers |
| US11523244B1 (en) * | 2019-06-21 | 2022-12-06 | Apple Inc. | Own voice reinforcement using extra-aural speakers |
| WO2021060680A1 (en) | 2019-09-24 | 2021-04-01 | Samsung Electronics Co., Ltd. | Methods and systems for recording mixed audio signal and reproducing directional audio |
| US11818548B2 (en) * | 2019-09-30 | 2023-11-14 | Widex A/S | Method of operating a binaural ear level audio system and a binaural ear level audio system |
| US11109167B2 (en) * | 2019-11-05 | 2021-08-31 | Gn Hearing A/S | Binaural hearing aid system comprising a bilateral beamforming signal output and omnidirectional signal output |
| EP4070570A1 (en) | 2019-12-04 | 2022-10-12 | Widex A/S | A hearing aid and a method of operating a hearing aid |
| US11153695B2 (en) | 2020-03-23 | 2021-10-19 | Gn Hearing A/S | Hearing devices and related methods |
| JP2021150959A (ja) * | 2020-03-23 | 2021-09-27 | ジーエヌ ヒアリング エー/エスGN Hearing A/S | 聴覚装置および聴覚装置に関連する方法 |
| WO2021243368A2 (en) | 2020-05-29 | 2021-12-02 | Shure Acquisition Holdings, Inc. | Transducer steering and configuration systems and methods using a local positioning system |
| WO2021243634A1 (en) * | 2020-06-04 | 2021-12-09 | Northwestern Polytechnical University | Binaural beamforming microphone array |
| DE102020207586B4 (de) * | 2020-06-18 | 2025-05-08 | Sivantos Pte. Ltd. | Hörsystem mit mindestens einem am Kopf des Nutzers getragenen Hörinstrument sowie Verfahren zum Betrieb eines solchen Hörsystems |
| CN112235704B (zh) * | 2020-10-13 | 2023-07-28 | 恒玄科技(上海)股份有限公司 | 音频数据处理方法,助听器及双耳助听器 |
| US11503416B2 (en) * | 2021-01-07 | 2022-11-15 | Semiconductor Components Industries, Llc | Low-latency communication protocol for binaural applications |
| US11259139B1 (en) | 2021-01-25 | 2022-02-22 | Iyo Inc. | Ear-mountable listening device having a ring-shaped microphone array for beamforming |
| US11636842B2 (en) | 2021-01-29 | 2023-04-25 | Iyo Inc. | Ear-mountable listening device having a microphone array disposed around a circuit board |
| US11617044B2 (en) | 2021-03-04 | 2023-03-28 | Iyo Inc. | Ear-mount able listening device with voice direction discovery for rotational correction of microphone array outputs |
| US11388513B1 (en) | 2021-03-24 | 2022-07-12 | Iyo Inc. | Ear-mountable listening device with orientation discovery for rotational correction of microphone array outputs |
| CN113099370A (zh) * | 2021-04-15 | 2021-07-09 | 西安音悦电子科技有限公司 | 一种新型智能助听器系统以及多场景使用方法 |
| CN113825068A (zh) * | 2021-09-29 | 2021-12-21 | 联想(北京)有限公司 | 一种音频处理方法及麦克风设备 |
| WO2023133513A1 (en) | 2022-01-07 | 2023-07-13 | Shure Acquisition Holdings, Inc. | Audio beamforming with nulling control system and methods |
Family Cites Families (25)
| Publication number | Priority date | Publication date | Assignee | Title |
|---|---|---|---|---|
| US5524056A (en) * | 1993-04-13 | 1996-06-04 | Etymotic Research, Inc. | Hearing aid having plural microphones and a microphone switching system |
| JPH1169495A (ja) * | 1997-07-18 | 1999-03-09 | Koninkl Philips Electron Nv | 補聴器 |
| EP0820210A3 (en) | 1997-08-20 | 1998-04-01 | Phonak Ag | A method for elctronically beam forming acoustical signals and acoustical sensorapparatus |
| DE59911808D1 (de) * | 1998-09-29 | 2005-04-28 | Siemens Audiologische Technik | Hörgerät und verfahren zum verarbeiten von mikrofonsignalen in einem hörgerät |
| WO2000047015A1 (en) | 1999-02-05 | 2000-08-10 | Tøpholm & Westermann APS | Hearing aid with beam forming properties |
| JP3430061B2 (ja) | 1999-02-26 | 2003-07-28 | ヤマハ株式会社 | 聴覚補助装置 |
| AU763363B2 (en) * | 1999-08-03 | 2003-07-17 | Widex A/S | Hearing aid with adaptive matching of microphones |
| US7206421B1 (en) * | 2000-07-14 | 2007-04-17 | Gn Resound North America Corporation | Hearing system beamformer |
| US7369669B2 (en) * | 2002-05-15 | 2008-05-06 | Micro Ear Technology, Inc. | Diotic presentation of second-order gradient directional hearing aid signals |
| DE10327890A1 (de) * | 2003-06-20 | 2005-01-20 | Siemens Audiologische Technik Gmbh | Verfahren zum Betrieb eines Hörhilfegerätes sowie Hörhilfegerät mit einem Mikrofonsystem, bei dem unterschiedliche Richtcharakteristiken einstellbar sind |
| DE102004010867B3 (de) | 2004-03-05 | 2005-08-18 | Siemens Audiologische Technik Gmbh | Verfahren und Vorrichtung zum Anpassen der Phasen von Mikrofonen eines Hörgeräterichtmikrofons |
| US20060227976A1 (en) * | 2005-04-07 | 2006-10-12 | Gennum Corporation | Binaural hearing instrument systems and methods |
| EP1732352B1 (en) * | 2005-04-29 | 2015-10-21 | Nuance Communications, Inc. | Detection and suppression of wind noise in microphone signals |
| EP1949755B1 (en) | 2005-10-11 | 2010-05-12 | Widex A/S | Hearing aid and a method of processing input signals in a hearing aid |
| EP1827058A1 (en) * | 2006-02-22 | 2007-08-29 | Oticon A/S | Hearing device providing smooth transition between operational modes of a hearing aid |
| WO2007098768A1 (en) * | 2006-03-03 | 2007-09-07 | Gn Resound A/S | Automatic switching between omnidirectional and directional microphone modes in a hearing aid |
| WO2007099115A1 (en) | 2006-03-03 | 2007-09-07 | Widex A/S | Method and system of noise reduction in a hearing aid |
| US8068627B2 (en) * | 2006-03-14 | 2011-11-29 | Starkey Laboratories, Inc. | System for automatic reception enhancement of hearing assistance devices |
| GB0609248D0 (en) * | 2006-05-10 | 2006-06-21 | Leuven K U Res & Dev | Binaural noise reduction preserving interaural transfer functions |
| US8249284B2 (en) * | 2006-05-16 | 2012-08-21 | Phonak Ag | Hearing system and method for deriving information on an acoustic scene |
| EP2064918B1 (en) | 2006-09-05 | 2014-11-05 | GN Resound A/S | A hearing aid with histogram based sound environment classification |
| CN101529929B (zh) | 2006-09-05 | 2012-11-07 | Gn瑞声达A/S | 具有基于直方图的声环境分类的助听器 |
| DE102006047982A1 (de) * | 2006-10-10 | 2008-04-24 | Siemens Audiologische Technik Gmbh | Verfahren zum Betreiben einer Hörfilfe, sowie Hörhilfe |
| US8199833B2 (en) * | 2008-08-25 | 2012-06-12 | Broadcom Corporation | Time shift and tonal adjustment to support video quality adaptation and lost frames |
| WO2009144332A2 (en) * | 2009-09-21 | 2009-12-03 | Phonak Ag | A binaural hearing system |
-
2009
- 2009-12-29 EP EP09180883.2A patent/EP2360943B1/en active Active
- 2009-12-29 EP EP13163707.6A patent/EP2629551B1/en active Active
- 2009-12-29 DK DK13163707T patent/DK2629551T3/en active
- 2009-12-29 DK DK09180883.2T patent/DK2360943T3/da active
-
2010
- 2010-12-22 US US12/976,985 patent/US8630431B2/en active Active
- 2010-12-24 JP JP2010288110A patent/JP5751828B2/ja not_active Expired - Fee Related
- 2010-12-29 CN CN201010621662.2A patent/CN102111706B/zh not_active Expired - Fee Related
-
2013
- 2013-04-01 US US13/854,897 patent/US9282411B2/en active Active
-
2015
- 2015-04-09 JP JP2015079819A patent/JP5903512B2/ja not_active Expired - Fee Related
Also Published As
| Publication number | Publication date |
|---|---|
| EP2629551A1 (en) | 2013-08-21 |
| US8630431B2 (en) | 2014-01-14 |
| JP5751828B2 (ja) | 2015-07-22 |
| JP5903512B2 (ja) | 2016-04-13 |
| US9282411B2 (en) | 2016-03-08 |
| EP2629551B1 (en) | 2014-11-19 |
| DK2360943T3 (da) | 2013-07-01 |
| JP2011139462A (ja) | 2011-07-14 |
| US20120008807A1 (en) | 2012-01-12 |
| EP2360943A1 (en) | 2011-08-24 |
| US20130336507A1 (en) | 2013-12-19 |
| CN102111706A (zh) | 2011-06-29 |
| DK2629551T3 (en) | 2015-03-02 |
| JP2015156699A (ja) | 2015-08-27 |
| CN102111706B (zh) | 2015-02-25 |
Similar Documents
| Publication | Publication Date | Title |
|---|---|---|
| EP2360943B1 (en) | Beamforming in hearing aids | |
| US9451369B2 (en) | Hearing aid with beamforming capability | |
| JP6204618B2 (ja) | 会話支援システム | |
| EP3468228B1 (en) | Binaural hearing system with localization of sound sources | |
| JP5886737B2 (ja) | 信号強調機能を有する補聴器 | |
| CN103546849B (zh) | 具有频率无掩蔽的双耳助听器 | |
| JP2022528579A (ja) | 時間的非相関化ビームフォーマを備えるバイラテラル補聴器システム | |
| EP4084501B1 (en) | Hearing device with omnidirectional sensitivity | |
| EP2928213B1 (en) | A hearing aid with improved localization of a monaural signal source | |
| JP2018113681A (ja) | 適応型の両耳用聴覚指向を有する聴覚機器及び関連する方法 | |
| CN113613154A (zh) | 提供波束成形信号输出并包括非对称阀状态的助听器系统 | |
| EP2611215B1 (en) | A hearing aid with signal enhancement | |
| EP3148217A1 (en) | Method for operating a binaural hearing system | |
| EP2683179B1 (en) | Hearing aid with frequency unmasking | |
| CN115278493A (zh) | 具有全向灵敏度的听力设备 | |
| JP2013153427A (ja) | 周波数アンマスキング機能を有する両耳用補聴器 | |
| HK1229590A1 (en) | Conversation assistance system |
Legal Events
| Date | Code | Title | Description |
|---|---|---|---|
| PUAI | Public reference made under article 153(3) epc to a published international application that has entered the european phase |
Free format text: ORIGINAL CODE: 0009012 |
|
| AK | Designated contracting states |
Kind code of ref document: A1 Designated state(s): AT BE BG CH CY CZ DE DK EE ES FI FR GB GR HR HU IE IS IT LI LT LU LV MC MK MT NL NO PL PT RO SE SI SK SM TR |
|
| AX | Request for extension of the european patent |
Extension state: AL BA RS |
|
| 17P | Request for examination filed |
Effective date: 20120224 |
|
| GRAP | Despatch of communication of intention to grant a patent |
Free format text: ORIGINAL CODE: EPIDOSNIGR1 |
|
| GRAS | Grant fee paid |
Free format text: ORIGINAL CODE: EPIDOSNIGR3 |
|
| GRAP | Despatch of communication of intention to grant a patent |
Free format text: ORIGINAL CODE: EPIDOSNIGR1 |
|
| GRAA | (expected) grant |
Free format text: ORIGINAL CODE: 0009210 |
|
| AK | Designated contracting states |
Kind code of ref document: B1 Designated state(s): AT BE BG CH CY CZ DE DK EE ES FI FR GB GR HR HU IE IS IT LI LT LU LV MC MK MT NL NO PL PT RO SE SI SK SM TR |
|
| REG | Reference to a national code |
Ref country code: GB Ref legal event code: FG4D |
|
| REG | Reference to a national code |
Ref country code: CH Ref legal event code: EP |
|
| REG | Reference to a national code |
Ref country code: IE Ref legal event code: FG4D |
|
| REG | Reference to a national code |
Ref country code: AT Ref legal event code: REF Ref document number: 607912 Country of ref document: AT Kind code of ref document: T Effective date: 20130515 |
|
| REG | Reference to a national code |
Ref country code: DE Ref legal event code: R096 Ref document number: 602009014998 Country of ref document: DE Effective date: 20130613 |
|
| REG | Reference to a national code |
Ref country code: CH Ref legal event code: NV Representative=s name: PETER RUTZ, CH |
|
| REG | Reference to a national code |
Ref country code: DK Ref legal event code: T3 |
|
| REG | Reference to a national code |
Ref country code: AT Ref legal event code: MK05 Ref document number: 607912 Country of ref document: AT Kind code of ref document: T Effective date: 20130417 |
|
| REG | Reference to a national code |
Ref country code: LT Ref legal event code: MG4D |
|
| REG | Reference to a national code |
Ref country code: NL Ref legal event code: VDEP Effective date: 20130417 |
|
| PG25 | Lapsed in a contracting state [announced via postgrant information from national office to epo] |
Ref country code: AT Free format text: LAPSE BECAUSE OF FAILURE TO SUBMIT A TRANSLATION OF THE DESCRIPTION OR TO PAY THE FEE WITHIN THE PRESCRIBED TIME-LIMIT Effective date: 20130417 Ref country code: ES Free format text: LAPSE BECAUSE OF FAILURE TO SUBMIT A TRANSLATION OF THE DESCRIPTION OR TO PAY THE FEE WITHIN THE PRESCRIBED TIME-LIMIT Effective date: 20130728 Ref country code: PT Free format text: LAPSE BECAUSE OF FAILURE TO SUBMIT A TRANSLATION OF THE DESCRIPTION OR TO PAY THE FEE WITHIN THE PRESCRIBED TIME-LIMIT Effective date: 20130819 Ref country code: IS Free format text: LAPSE BECAUSE OF FAILURE TO SUBMIT A TRANSLATION OF THE DESCRIPTION OR TO PAY THE FEE WITHIN THE PRESCRIBED TIME-LIMIT Effective date: 20130817 Ref country code: SI Free format text: LAPSE BECAUSE OF FAILURE TO SUBMIT A TRANSLATION OF THE DESCRIPTION OR TO PAY THE FEE WITHIN THE PRESCRIBED TIME-LIMIT Effective date: 20130417 Ref country code: LT Free format text: LAPSE BECAUSE OF FAILURE TO SUBMIT A TRANSLATION OF THE DESCRIPTION OR TO PAY THE FEE WITHIN THE PRESCRIBED TIME-LIMIT Effective date: 20130417 Ref country code: SE Free format text: LAPSE BECAUSE OF FAILURE TO SUBMIT A TRANSLATION OF THE DESCRIPTION OR TO PAY THE FEE WITHIN THE PRESCRIBED TIME-LIMIT Effective date: 20130417 Ref country code: FI Free format text: LAPSE BECAUSE OF FAILURE TO SUBMIT A TRANSLATION OF THE DESCRIPTION OR TO PAY THE FEE WITHIN THE PRESCRIBED TIME-LIMIT Effective date: 20130417 Ref country code: BE Free format text: LAPSE BECAUSE OF FAILURE TO SUBMIT A TRANSLATION OF THE DESCRIPTION OR TO PAY THE FEE WITHIN THE PRESCRIBED TIME-LIMIT Effective date: 20130417 Ref country code: NO Free format text: LAPSE BECAUSE OF FAILURE TO SUBMIT A TRANSLATION OF THE DESCRIPTION OR TO PAY THE FEE WITHIN THE PRESCRIBED TIME-LIMIT Effective date: 20130717 Ref country code: GR Free format text: LAPSE BECAUSE OF FAILURE TO SUBMIT A TRANSLATION OF THE DESCRIPTION OR TO PAY THE FEE WITHIN THE PRESCRIBED TIME-LIMIT Effective date: 20130718 |
|
| PG25 | Lapsed in a contracting state [announced via postgrant information from national office to epo] |
Ref country code: HR Free format text: LAPSE BECAUSE OF FAILURE TO SUBMIT A TRANSLATION OF THE DESCRIPTION OR TO PAY THE FEE WITHIN THE PRESCRIBED TIME-LIMIT Effective date: 20130417 Ref country code: BG Free format text: LAPSE BECAUSE OF FAILURE TO SUBMIT A TRANSLATION OF THE DESCRIPTION OR TO PAY THE FEE WITHIN THE PRESCRIBED TIME-LIMIT Effective date: 20130717 Ref country code: CY Free format text: LAPSE BECAUSE OF FAILURE TO SUBMIT A TRANSLATION OF THE DESCRIPTION OR TO PAY THE FEE WITHIN THE PRESCRIBED TIME-LIMIT Effective date: 20130417 Ref country code: LV Free format text: LAPSE BECAUSE OF FAILURE TO SUBMIT A TRANSLATION OF THE DESCRIPTION OR TO PAY THE FEE WITHIN THE PRESCRIBED TIME-LIMIT Effective date: 20130417 Ref country code: PL Free format text: LAPSE BECAUSE OF FAILURE TO SUBMIT A TRANSLATION OF THE DESCRIPTION OR TO PAY THE FEE WITHIN THE PRESCRIBED TIME-LIMIT Effective date: 20130417 |
|
| PG25 | Lapsed in a contracting state [announced via postgrant information from national office to epo] |
Ref country code: EE Free format text: LAPSE BECAUSE OF FAILURE TO SUBMIT A TRANSLATION OF THE DESCRIPTION OR TO PAY THE FEE WITHIN THE PRESCRIBED TIME-LIMIT Effective date: 20130417 Ref country code: SK Free format text: LAPSE BECAUSE OF FAILURE TO SUBMIT A TRANSLATION OF THE DESCRIPTION OR TO PAY THE FEE WITHIN THE PRESCRIBED TIME-LIMIT Effective date: 20130417 Ref country code: CZ Free format text: LAPSE BECAUSE OF FAILURE TO SUBMIT A TRANSLATION OF THE DESCRIPTION OR TO PAY THE FEE WITHIN THE PRESCRIBED TIME-LIMIT Effective date: 20130417 |
|
| PLBE | No opposition filed within time limit |
Free format text: ORIGINAL CODE: 0009261 |
|
| STAA | Information on the status of an ep patent application or granted ep patent |
Free format text: STATUS: NO OPPOSITION FILED WITHIN TIME LIMIT |
|
| PG25 | Lapsed in a contracting state [announced via postgrant information from national office to epo] |
Ref country code: IT Free format text: LAPSE BECAUSE OF FAILURE TO SUBMIT A TRANSLATION OF THE DESCRIPTION OR TO PAY THE FEE WITHIN THE PRESCRIBED TIME-LIMIT Effective date: 20130417 Ref country code: RO Free format text: LAPSE BECAUSE OF FAILURE TO SUBMIT A TRANSLATION OF THE DESCRIPTION OR TO PAY THE FEE WITHIN THE PRESCRIBED TIME-LIMIT Effective date: 20130417 Ref country code: NL Free format text: LAPSE BECAUSE OF FAILURE TO SUBMIT A TRANSLATION OF THE DESCRIPTION OR TO PAY THE FEE WITHIN THE PRESCRIBED TIME-LIMIT Effective date: 20130417 |
|
| 26N | No opposition filed |
Effective date: 20140120 |
|
| REG | Reference to a national code |
Ref country code: DE Ref legal event code: R097 Ref document number: 602009014998 Country of ref document: DE Effective date: 20140120 |
|
| PG25 | Lapsed in a contracting state [announced via postgrant information from national office to epo] |
Ref country code: LU Free format text: LAPSE BECAUSE OF FAILURE TO SUBMIT A TRANSLATION OF THE DESCRIPTION OR TO PAY THE FEE WITHIN THE PRESCRIBED TIME-LIMIT Effective date: 20131229 |
|
| REG | Reference to a national code |
Ref country code: IE Ref legal event code: MM4A |
|
| PG25 | Lapsed in a contracting state [announced via postgrant information from national office to epo] |
Ref country code: IE Free format text: LAPSE BECAUSE OF NON-PAYMENT OF DUE FEES Effective date: 20131229 |
|
| PG25 | Lapsed in a contracting state [announced via postgrant information from national office to epo] |
Ref country code: MC Free format text: LAPSE BECAUSE OF FAILURE TO SUBMIT A TRANSLATION OF THE DESCRIPTION OR TO PAY THE FEE WITHIN THE PRESCRIBED TIME-LIMIT Effective date: 20130417 |
|
| PG25 | Lapsed in a contracting state [announced via postgrant information from national office to epo] |
Ref country code: SM Free format text: LAPSE BECAUSE OF FAILURE TO SUBMIT A TRANSLATION OF THE DESCRIPTION OR TO PAY THE FEE WITHIN THE PRESCRIBED TIME-LIMIT Effective date: 20130417 |
|
| PG25 | Lapsed in a contracting state [announced via postgrant information from national office to epo] |
Ref country code: TR Free format text: LAPSE BECAUSE OF FAILURE TO SUBMIT A TRANSLATION OF THE DESCRIPTION OR TO PAY THE FEE WITHIN THE PRESCRIBED TIME-LIMIT Effective date: 20130417 |
|
| PG25 | Lapsed in a contracting state [announced via postgrant information from national office to epo] |
Ref country code: MK Free format text: LAPSE BECAUSE OF FAILURE TO SUBMIT A TRANSLATION OF THE DESCRIPTION OR TO PAY THE FEE WITHIN THE PRESCRIBED TIME-LIMIT Effective date: 20130417 Ref country code: HU Free format text: LAPSE BECAUSE OF FAILURE TO SUBMIT A TRANSLATION OF THE DESCRIPTION OR TO PAY THE FEE WITHIN THE PRESCRIBED TIME-LIMIT; INVALID AB INITIO Effective date: 20091229 |
|
| PG25 | Lapsed in a contracting state [announced via postgrant information from national office to epo] |
Ref country code: MT Free format text: LAPSE BECAUSE OF FAILURE TO SUBMIT A TRANSLATION OF THE DESCRIPTION OR TO PAY THE FEE WITHIN THE PRESCRIBED TIME-LIMIT Effective date: 20130417 |
|
| REG | Reference to a national code |
Ref country code: FR Ref legal event code: PLFP Year of fee payment: 7 |
|
| REG | Reference to a national code |
Ref country code: FR Ref legal event code: PLFP Year of fee payment: 8 |
|
| REG | Reference to a national code |
Ref country code: FR Ref legal event code: PLFP Year of fee payment: 9 |
|
| REG | Reference to a national code |
Ref country code: CH Ref legal event code: PCAR Free format text: NEW ADDRESS: ALPENSTRASSE 14 POSTFACH 7627, 6302 ZUG (CH) |
|
| PGFP | Annual fee paid to national office [announced via postgrant information from national office to epo] |
Ref country code: GB Payment date: 20211221 Year of fee payment: 13 Ref country code: DK Payment date: 20211217 Year of fee payment: 13 Ref country code: FR Payment date: 20211215 Year of fee payment: 13 |
|
| PGFP | Annual fee paid to national office [announced via postgrant information from national office to epo] |
Ref country code: CH Payment date: 20211217 Year of fee payment: 13 |
|
| P01 | Opt-out of the competence of the unified patent court (upc) registered |
Effective date: 20230525 |
|
| REG | Reference to a national code |
Ref country code: DK Ref legal event code: EBP Effective date: 20221231 |
|
| REG | Reference to a national code |
Ref country code: CH Ref legal event code: PL |
|
| GBPC | Gb: european patent ceased through non-payment of renewal fee |
Effective date: 20221229 |
|
| PG25 | Lapsed in a contracting state [announced via postgrant information from national office to epo] |
Ref country code: LI Free format text: LAPSE BECAUSE OF NON-PAYMENT OF DUE FEES Effective date: 20221231 Ref country code: GB Free format text: LAPSE BECAUSE OF NON-PAYMENT OF DUE FEES Effective date: 20221229 Ref country code: CH Free format text: LAPSE BECAUSE OF NON-PAYMENT OF DUE FEES Effective date: 20221231 |
|
| PG25 | Lapsed in a contracting state [announced via postgrant information from national office to epo] |
Ref country code: FR Free format text: LAPSE BECAUSE OF NON-PAYMENT OF DUE FEES Effective date: 20221231 |
|
| PG25 | Lapsed in a contracting state [announced via postgrant information from national office to epo] |
Ref country code: DK Free format text: LAPSE BECAUSE OF NON-PAYMENT OF DUE FEES Effective date: 20221231 |
|
| PGFP | Annual fee paid to national office [announced via postgrant information from national office to epo] |
Ref country code: DE Payment date: 20241218 Year of fee payment: 16 |