EP2199724B1 - Verfahren zum Betrieb eines regenerativen Wärmetauschers und regenerativer Wärmetauscher mit verbessertem Wirkungsgrad - Google Patents

Verfahren zum Betrieb eines regenerativen Wärmetauschers und regenerativer Wärmetauscher mit verbessertem Wirkungsgrad Download PDF

Info

Publication number
EP2199724B1
EP2199724B1 EP08021916A EP08021916A EP2199724B1 EP 2199724 B1 EP2199724 B1 EP 2199724B1 EP 08021916 A EP08021916 A EP 08021916A EP 08021916 A EP08021916 A EP 08021916A EP 2199724 B1 EP2199724 B1 EP 2199724B1
Authority
EP
European Patent Office
Prior art keywords
volume flow
rotor
gas volume
leakage
front side
Prior art date
Legal status (The legal status is an assumption and is not a legal conclusion. Google has not performed a legal analysis and makes no representation as to the accuracy of the status listed.)
Active
Application number
EP08021916A
Other languages
English (en)
French (fr)
Other versions
EP2199724A1 (de
Inventor
Heinz Günter Raths
Current Assignee (The listed assignees may be inaccurate. Google has not performed a legal analysis and makes no representation or warranty as to the accuracy of the list.)
Balcke Duerr GmbH
Original Assignee
Balcke Duerr GmbH
Priority date (The priority date is an assumption and is not a legal conclusion. Google has not performed a legal analysis and makes no representation as to the accuracy of the date listed.)
Filing date
Publication date
Application filed by Balcke Duerr GmbH filed Critical Balcke Duerr GmbH
Priority to EP08021916A priority Critical patent/EP2199724B1/de
Priority to PL08021916T priority patent/PL2199724T3/pl
Priority to SI200830803T priority patent/SI2199724T1/sl
Priority to ZA200908902A priority patent/ZA200908902B/en
Priority to RU2009146920/06A priority patent/RU2432540C2/ru
Priority to US12/641,218 priority patent/US20100163208A1/en
Publication of EP2199724A1 publication Critical patent/EP2199724A1/de
Application granted granted Critical
Publication of EP2199724B1 publication Critical patent/EP2199724B1/de
Priority to HRP20120880AT priority patent/HRP20120880T1/hr
Active legal-status Critical Current
Anticipated expiration legal-status Critical

Links

Images

Classifications

    • FMECHANICAL ENGINEERING; LIGHTING; HEATING; WEAPONS; BLASTING
    • F28HEAT EXCHANGE IN GENERAL
    • F28DHEAT-EXCHANGE APPARATUS, NOT PROVIDED FOR IN ANOTHER SUBCLASS, IN WHICH THE HEAT-EXCHANGE MEDIA DO NOT COME INTO DIRECT CONTACT
    • F28D19/00Regenerative heat-exchange apparatus in which the intermediate heat-transfer medium or body is moved successively into contact with each heat-exchange medium
    • F28D19/04Regenerative heat-exchange apparatus in which the intermediate heat-transfer medium or body is moved successively into contact with each heat-exchange medium using rigid bodies, e.g. mounted on a movable carrier
    • F28D19/047Sealing means
    • FMECHANICAL ENGINEERING; LIGHTING; HEATING; WEAPONS; BLASTING
    • F28HEAT EXCHANGE IN GENERAL
    • F28DHEAT-EXCHANGE APPARATUS, NOT PROVIDED FOR IN ANOTHER SUBCLASS, IN WHICH THE HEAT-EXCHANGE MEDIA DO NOT COME INTO DIRECT CONTACT
    • F28D19/00Regenerative heat-exchange apparatus in which the intermediate heat-transfer medium or body is moved successively into contact with each heat-exchange medium
    • F28D19/04Regenerative heat-exchange apparatus in which the intermediate heat-transfer medium or body is moved successively into contact with each heat-exchange medium using rigid bodies, e.g. mounted on a movable carrier
    • F28D19/041Regenerative heat-exchange apparatus in which the intermediate heat-transfer medium or body is moved successively into contact with each heat-exchange medium using rigid bodies, e.g. mounted on a movable carrier with axial flow through the intermediate heat-transfer medium
    • FMECHANICAL ENGINEERING; LIGHTING; HEATING; WEAPONS; BLASTING
    • F28HEAT EXCHANGE IN GENERAL
    • F28FDETAILS OF HEAT-EXCHANGE AND HEAT-TRANSFER APPARATUS, OF GENERAL APPLICATION
    • F28F2265/00Safety or protection arrangements; Arrangements for preventing malfunction
    • F28F2265/16Safety or protection arrangements; Arrangements for preventing malfunction for preventing leakage

Definitions

  • the invention relates to a method for operating a regenerative heat exchanger, in particular for air preheating in power plants, according to the features of the preamble of claim 1.
  • a method according to the preamble of claim 1 with a regenerative heat exchanger according to the preamble of claim 10 is made DE 4 013 484 known.
  • the invention further relates to a regenerative heat exchanger according to the features of the preamble of the independent claim.
  • Regenerative heat exchangers of the type in question serve to transfer heat from at least one gas volume flow to at least one other gas volume flow.
  • the heat exchanger may comprise a rotating (or rotating or also circulating) storage mass (referred to below as a rotor) which moves relative to fixed flow connections and in this case is warmed up alternately by the at least one gas volume flow and is cooled again by the at least one other gas volume flow whereby thermal energy of at least one is transferable to at least one other gas volume flow.
  • the rotor of a regenerative heat exchanger is usually formed as a substantially circular cylindrical drum, with slight deviations from this form are possible.
  • the rotor has a central axis of rotation.
  • the gas flow rates flow through the rotor substantially parallel to the axis of rotation.
  • the flow is usually in opposite directions (so-called countercurrent process).
  • this has a sectoring or segmentation in several cells or chambers, which also serve as flow channels for the gas flow rates. In these chambers usually heat-storing materials are arranged, such as. So-called Schublechwovene.
  • the individual chambers of the rotor are flowed through by a hot or hot gas flow, which may be, for example, a flue gas from a combustion process.
  • a hot or hot gas flow which may be, for example, a flue gas from a combustion process.
  • the heat-storing masses of the flow-through chambers heat up.
  • heat is withdrawn from the gas flow volume flowing through, so that it has a lower temperature at the exit from the rotor than at entry.
  • the heated chambers finally reach the section where a cooler or cold gas flow, for example.
  • Fresh air flows through the rotor and is heated to the heat-storing masses of these chambers, the heat-storing materials are cooled again.
  • a heat storage capacity of the rotor is used to heat a first gas volume flow and to cool a second gas volume flow.
  • a rotor may, for example, also be designed to be stationary and the flow connections can move relative thereto.
  • the heat exchanger When using fresh air as the gas volume flow to be heated, the heat exchanger can be used for so-called air preheating.
  • air preheating By air preheating the efficiency of a power plant can be increased and pollutant emissions can be reduced.
  • the sealing system for a rotor usually comprises at least one peripheral seal and at least one radial seal.
  • a circumferential seal seals the gas flow rates flowing through the rotor on the outer circumference of the rotor to the outside.
  • a circumferential seal may comprise an axial seal on the outer circumference of the rotor.
  • a radial seal should prevent a so-called flow short circuit or short-circuit volume flow between the individual gas volume flows on a rotor end face.
  • AT 400 482 B is the extraction of the leakage volume flows on the "hot side" (more below) of the rotor and their return to be heated in the gas flow before the rotor described.
  • DE 42 30 133 A1 describes a rotor housing which consists of an upper and a lower part chamber, from which together or separately leakage volume flows can be sucked by means of a fan. A return of the extracted leakage volume flows in one of the gas flow rates is not described here.
  • the extraction of leakage volume flows is z. B. also in the DE 26 34 653 A1 described.
  • the return of a leakage volume flow is shown in the inflowing, to be reheated gas flow.
  • From the nearest DE 40 13 484 A1 is the extraction of leakage volume flows on both sides of a rotor and the return to the inflowing, to be reheated gas volume flow (fresh air volume flow) known.
  • the object of the invention is to improve the efficiency of a regenerative heat exchanger.
  • the rotor which is preferably rotatably mounted, is flowed through by at least a first gas volume flow to be heated, in particular fresh air, whereby the gas volume flow heats up as the rotor flows through the heat-storing masses.
  • a first gas volume flow to be heated, in particular fresh air
  • the gas volume flow heats up as the rotor flows through the heat-storing masses.
  • the rotor is flowed through by at least a second, to be cooled gas volume flow, such as in particular a flue gas or combustion gas or exhaust gas, which emits its heat to the heat-storing masses of the rotor and thereby cooled itself.
  • the rotor has a first end face or face on which the inflowing first gas volume flow to be heated enters the rotor. Opposite the first end face, the rotor has a second end face or end face on which the outflowing first gas volume flow to be heated emerges from the rotor again.
  • the first end face is also referred to as “cold side” and the second end side as “hot side”.
  • the first gas volume flow and the second gas volume flow are sealed at the rotor by means of at least one rotor seal in order to limit volume losses and in particular flow short circuits.
  • a rotor seal is, in particular, a circumferential seal which seals a gas volume flow on the outer circumference of the rotor, and / or a radial seal which seals the gas volume flows relative to one another and should prevent flow short circuits or short-circuit volume flows.
  • leakage volume flows occur in the region of a rotor seal, it is provided according to the invention that at least one leakage volume flow is detected or collected at the first end side or in the region of this end side of the rotor and supplied to the inflowing first gas volume flow and / or at least one leakage volume flow at the second end End face, or detected in the region of this end face of the rotor or collected and supplied to the outflowing first gas volume flow.
  • a leakage volume flow is in particular a short-circuit volume flow from the first gas volume flow into the second gas volume flow, which occurs in the region of a radial seal on the first end side of the rotor or on the second end side of the rotor. In this case, it is thus in fact a return of a trapped leakage volume flow in the first, to be reheated gas flow.
  • capturing or collecting a leakage volume flow that occurs in the region of a rotor seal can usually not be complete for technical reasons, so that capturing or collecting a leakage volume flow in the context of this invention refers to a substantial part of the leakage volume flow, which under the respective technical conditions detectable or is trappable. Detecting and collecting are to be interpreted widely in the context of this invention and include all measures that are suitable to get hold of a leakage volume flow.
  • the inventive method differs from the above-mentioned prior art initially in that a leakage volume flow is collected only in the region of one of the end sides or both end faces of the rotor. This can be distinguished, which temperature level has a leakage volume flow respectively. Furthermore, the method according to the invention differs from the prior art in that, depending on the temperature level of the leakage volume flow, a corresponding supply or return into the inflowing and still cool first gas volume flow or the outflowing and already warmed first gas volume flow takes place (so to speak fluidically always on the same Side of the rotor). This energy advantages are achieved, which increase the efficiency over the prior art, which will be explained in more detail below.
  • a leakage volume flow (short-circuit volume flow) from the fresh air flow into the flue gas volume flow is usually given in the region of a radial seal.
  • leakage volume flows are taken into account, since the leakage volume flow from the fresh air volume flow into the flue gas volume flow leads to additional cooling of the flue gas volume flow by about 3 to 7 K (so-called "corrected" flue gas or exhaust gas temperature).
  • At least one leakage volume flow is collected at the first end side of the rotor and fed to the inflowing first gas volume flow, where it is actually introduced or fed into it, and that at least one leakage volume flow is collected at the second end side of the rotor and is supplied from flowing first gas volume flow, and there is actually introduced or fed into this.
  • the supply or return of the leakage volume flow collected by the first end face of the rotor into the first gas volume flow does not take place directly, but rather upstream of the rotor.
  • upstream is meant that the supply is in the flow direction in front of the rotor.
  • return of the collected from the second end face of the rotor leakage volume flow in the first gas volume flow is not directly, but downstream of the rotor.
  • downstream is meant that the supply is in the direction of flow after the rotor.
  • the flow paths can be kept structurally short. A supplied or recycled leakage volume flow is subject to only a slight temperature influence.
  • At least one of the first end face of the rotor and at least one detected on the second end face of the rotor leakage flow is recycled on separate paths each upstream in the inflowing first gas volume flow and downstream in the outflowing first gas volume flow.
  • a path or return path is any device which is suitable for transporting or passing through a gas volume flow.
  • a path or return path is in particular a line system of pipes and pipe sections or the like.
  • At least one blower device is used per path.
  • a negative pressure can be generated with which a leakage volume flow can be detected or collected at one end face of the rotor by suction.
  • an excess pressure can be generated with the blower device, with which the extracted leakage volume flow can be fed or returned along the path or return path to the first gas volume flow, where it can be introduced or fed into it.
  • a Blower device is in particular a fan which is preferably arranged in a line system.
  • At least one leakage volume flow is detected or collected at the first end side and / or the second end side of the rotor in the region of a radial seal, preferably by means of suction.
  • This measure thus relates to a particularly disadvantageous short-circuit volume flow, in particular from the first gas volume flow into the second gas volume flow.
  • At least one leakage volume flow is additionally or alternatively preferred for at least one leakage volume flow to be detected or collected at the first end side and / or the second end side of the rotor in the area of a peripheral seal, preferably by suction. This also leads to an improvement in the efficiency.
  • At least one first gas volume flow to be heated and at least one second gas volume flow to be cooled are directed in opposite directions, i. in countercurrent process, flow through the rotor.
  • both gas volume flows at the first end side have a lower temperature level than at the second end side ("hot side”). It is thus easy to distinguish which temperature level has a detected or trapped leakage volume flow.
  • a detected at the hot end side of the rotor leakage flow is supplied to the outflowing first gas volume flow or recycled into this and a detected on the cold end side of the rotor leakage flow is supplied to the inflowing first gas flow volume or recycled into this.
  • the rotor, at least of at least second gas flow rates also be flowed through in the same direction.
  • At least two first gas volume flows are provided, wherein the feeding of at least one collected leakage volume flow, preferably of all collected leakage volume flows, into only one of these two first gas volume flows. This will be discussed in more detail in connection with the figures. Alternatively, a separate return to two or more first gas flow rates is possible.
  • the regenerative heat exchanger comprises a rotor through which flows at least two gas volume flows, the rotor having a first end face on which an inflowing first gas volume flow to be heated enters the rotor and wherein the rotor Furthermore, one of the first end face opposite second end face has at which the outflowing first, to be reheated gas flow again exits the rotor. Furthermore, at least one rotor seal, in particular a radial seal and / or a peripheral seal, on the rotor, for sealing the first and the second gas volume flow.
  • the regenerative heat exchanger according to the invention also comprises a detection device or collecting device for a leakage volume flow which occurs in the region of a rotor seal, and at least one feed or feed device or return device for the detected or trapped leakage volume flow into the first gas volume flow.
  • At least one collecting device is provided on the first end side of the rotor with at least one associated supply or supply device for the leakage volume flow collected at the first end side into the oncoming first gas volume flow, and / or at least one collecting device on the second end side with at least one associated supply or supply Feed device for the collected at the second end face leakage volume flow in the outflowing first gas volume flow.
  • the regenerative heat exchanger according to the invention is preferably suitable for use of the method according to the invention described above.
  • the method features described above and their advantages are therefore correspondingly transferable to the regenerative heat exchanger according to the invention.
  • a collecting device is any device that is suitable for detecting or collecting a leakage volume flow.
  • a catcher may be a system of individual components.
  • a collecting device is preferably a suction device.
  • a feed or feed device serves to supply or return a leakage volume flow detected or collected by a collecting device into the first gas volume flow.
  • a feed or a feed device is preferably realized by a line system, by means of which the leakage volume flow detected or collected at a rotor seal is fed to the first gas volume flow in a defined manner. If the leakage volume flow starts from the first gas volume flow, the supply or feed device is actually a return or return device.
  • the line system of at least one feed or feed device preferably comprises at least one blower device with which a defined flow can be generated in this line system.
  • the blower device is designed such that in a connecting line which is arranged between this blower device and a rotor seal, a negative pressure can be generated, with which the leakage volume flow can be sucked at the relevant rotor seal.
  • the rotor seal is at least one radial seal and / or at least one circumferential seal which is fluidically connected to the blower device via the connecting line.
  • At least one radial seal and / or at least one peripheral seal is preferably designed to be split and / or has a plurality of openings, so that a leakage volume flow occurring at this rotor seal can be extracted in a simplified manner by means of negative pressure.
  • the same blower device furthermore generates in a connecting line, which is arranged between this blower device and the first gas volume flow, an overpressure, with which the sucked at the rotor seal leakage volume flow can be fed to the first gas volume flow or fed back into these, actually introduced into this or fed ,
  • At least one suction or suction device is provided for a leakage volume flow at the first end face of the rotor, in particular in the region of a radial seal and / or a circumferential seal, with an associated supply or feed device for the sucked leakage volume flow in the inflowing first gas volume flow. It is also provided that at least one suction device for a leakage volume flow is provided on the second end face of the rotor, in particular in the region of a radial seal and / or a circumferential seal, with an associated supply or feed device for the extracted leakage volume flow into the outflowing first gas volume flow.
  • the feeders or feeders are formed separately from each other and each comprise at least one blower device. This corresponds to a preferred and particularly advantageous embodiment of the invention.
  • the invention can be realized in a manner analogous to a heat exchanger with stationary heat-storing masses.
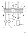
  • the FIG. 1 shows a generally designated 1 regenerative heat exchanger which is used in a power plant.
  • This comprises a circular cylindrical rotor 2 which is aligned horizontally and rotatably supported about a vertical axis 3.
  • heat storage 4 eg. Bankblechwovene as described above.
  • the rotor has a first, lower end side 5a, a second, upper end side 5b and a jacket wall (peripheral wall) 7.
  • At the end faces 5a and 5b are unspecified radial seals 8a and 8b and unspecified perimeter seals 9a and 9b.
  • the rotor 2 on the left side flows through a first gas volume flow 10 from bottom to top, this being a fresh air volume flow.
  • the fresh air volume flow 10 is sucked in by a blower device 14 and fed to the rotor 2.
  • the fresh air volume flow 10 enters at the lower end face 5a of the rotor 2 in this and at the upper end face 5b again and is heated during the passage of the rotor 2 to the heat accumulators 4, which in this case to the same extent cool (as described above).
  • the inflowing fresh air volume flow is denoted 10a and the outflowing fresh air volume flow is 10b.
  • the rotor 2 is traversed by a second gas volume flow 11 from top to bottom, this being a flue gas volume flow from a combustion process.
  • the flue gas volume flow 11 occurs at the upper end face 5b in the rotor 2 and at the lower end 5a again from the rotor 2 and is cooled during the passage of the rotor 2 to the cool heat accumulators 4, which in this case heat up to the same extent and then the heating of the fresh air volume flow 10 are available (as described above).
  • the already cooled flue gas volume flow is supplied to flue gas purification systems and / or filter devices 20.
  • the temperatures of both gas flow rates 10 and 11 at the upper, second end face 5b of the rotor 2 are higher than at the lower, first Front side 5a. Therefore, the upper end face 5b may also be referred to as the "hot side” and the lower end face 5a may also be referred to as the "cold side”.
  • the radial seals 8a and 8b, and the circumferential seals 9a and 9b are provided.
  • the circumferential seals 9a and 9b are intended to seal off the gas volume flows 10 and 11 at the outer edge or outer circumference of the rotor 2, while the radial seals 8a and 8b are intended to prevent thorough mixing of the gas volume flows 10 and 11 by flow short circuits or short-circuit volume flows.
  • leakage volume flows are also favored by pressure differences in the gas volume flows 10 and 11, wherein the fresh air volume flow 10 usually has a higher pressure than the flue gas volume flow 11 because of the blower device 14. This leads to fresh air leakage volume flows 12a and 12b, so that fresh air with a lower temperature level into the flue gas volume flow 11 passes over, resulting in an undesirable and adverse cooling effect in the flue gas volume flow 11 (as described in detail above).
  • the collection of the leakage volume flows or fresh air leakage volume flows 12a and 12b takes place by suction at the radial seals 8a and 8b.
  • the radial seals 8a and 8b may be split and / or with a plurality of openings be formed (not shown) through which a negative pressure effectively applied in the gap or residual gap between the radial seal 8a and 8b and the rotor 2 and thereby the leakage volume flows can be collected.
  • the negative pressure is generated in each case by a fan device 16a and 16b which, for example, can be a fan or the like.
  • a connecting line 17a and 17b is respectively arranged, via which the collected or sucked leakage volume flows 12a and 12b are led away.
  • one connecting line 18a or 18b extends into the inflowing fresh air volume flow 10a or into the outflowing fresh air volume flow 10b.
  • These connecting lines 18a and 18b are used to feed or return the collected and removed leakage volume flows 12a and 12b in the fresh air volume flow 10.
  • the blower devices 16a and 16b are designed such that in the connecting lines 17a and 17b, a negative pressure and in the connecting lines 18a and 18b generate an overpressure.
  • the connecting lines 17a and 18a form, here together with the blower device 16a, a line system for the supply or return of a at the first end face ("cold side") 5a of the rotor 2 caught or sucked leakage volume flow 12a in the incoming fresh air flow 10a.
  • the connecting lines 17b and 18b here together with the blower device 16b, form a second separate line system for the supply or return of a leakage volume flow 12b caught or drawn off on the second end face ("hot side") 5b of the rotor 2 into the outflowing section Fresh air volume flow 10b.
  • the cable cross-sections and the fan power are dimensioned accordingly. It is also possible to segment the connecting lines or to arrange several connecting lines in parallel. It is also possible to provide several blower devices in parallel or in series.
  • the leakage volume flows at the peripheral seals 9a and 9b can also be collected and respectively supplied to the incoming fresh air volume flow 10a or the outflowing fresh air volume flow 10b and fed or introduced into it. This is in the FIG. 1 shown on the left side of the rotor 2 by way of example with a dashed line for the circumferential seal 9a.
  • the suction and feed or return in this case in the incoming fresh air flow 10a
  • Another blower device may be used or the blower device 16a may be used for the extraction of the leakage volume flow 12a on the lower end side 5a.
  • the radial seals 8a and 8b may be divided and / or formed with a plurality of openings. By extracting a leakage volume flow to at least one of the peripheral seals 9a and 9b, the efficiency of the regenerative heat exchanger 1 can be further improved.
  • the supply or recirculation of a leakage volume flow detected at a peripheral seal 9a on the lower end side (“cold side”) 5a takes place into the still cool fresh air volume flow 10a and the supply or return of one to a peripheral seal 9b at the upper end side (FIG. hot side ") 5b detected leakage volume flow in the outflowing, heated fresh air flow 10b.
  • FIG. 2 shows an alternative embodiment of the invention.
  • the above statements apply to the embodiment of FIG. 1 analogous.
  • the main difference to the embodiment of FIG. 1 is given in that the rotor 2 is flowed through on its left side by two separate gas flow streams 100 and 101 in the same direction, which are respectively heated during their flow through the rotor.
  • the gas volume flow 100 may, for example, be a secondary air volume flow and the gas volume flow 101 may be, for example, a primary air volume flow.
  • These gas flow rates 100 and 101 serve different uses in a power plant. Notwithstanding the representation in which the two gas volume flows 100 and 101 flow through the rotor 2 side by side, they can flow through the rotor at different locations, relative to the rotor cross-section.

Landscapes

  • Engineering & Computer Science (AREA)
  • Physics & Mathematics (AREA)
  • Thermal Sciences (AREA)
  • Mechanical Engineering (AREA)
  • General Engineering & Computer Science (AREA)
  • Heat-Exchange Devices With Radiators And Conduit Assemblies (AREA)
  • Air Supply (AREA)
  • Applications Or Details Of Rotary Compressors (AREA)
  • Structures Of Non-Positive Displacement Pumps (AREA)

Description

  • Die Erfindung betrifft ein Verfahren zum Betrieb eines regenerativen Wärmetauschers, insbesondere zur Luftvorwärmung in Kraftwerken, nach den Merkmalen des Oberbegriffs des Patentanspruches 1. Ein Verfahren gemäß dem Oberbegriff des Anspruchs 1 mit ein Regenerativer Wärmetauscher gemäß dem Oberbegriff des Anspruchs 10 ist aus DE 4 013 484 bekannt. Die Erfindung betrifft fernerhin einen regenerativen Wärmetauscher nach den Merkmalen des Oberbegriffs des nebengeordneten Patentanspruches.
  • Regenerative Wärmetauscher der betreffenden Art (im Folgenden auch nur als Wärmetauscher bezeichnet) dienen der Wärmeübertragung von wenigstens einem Gasvolumenstrom auf wenigstens einen anderen Gasvolumenstrom. Hierzu kann der Wärmetauscher eine drehende (bzw. rotierende oder auch umlaufende) Speichermasse (im Folgenden als Rotor bezeichnet) umfassen, die sich relativ zu feststehenden Strömungsanschlüssen bewegt und hierbei abwechselnd durch den wenigstens einen Gasvolumenstrom aufgewärmt und durch den wenigstens einen anderen Gasvolumenstrom wieder abgekühlt wird, wodurch Wärmeenergie von wenigstens einen auf wenigstens einen anderen Gasvolumenstrom übertragbar ist.
  • Der Rotor eines regenerativen Wärmetauschers ist in der Regel als eine im wesentlichen kreiszylindrische Trommel ausgebildet, wobei geringfügige Abweichungen von dieser Form möglich sind. Der Rotor weist eine zentrale Drehachse auf. Die Gasvolumenströme durchströmen den Rotor im wesentlichen parallel zur Drehachse. Die Durchströmung ist meist gegensinnig (so genanntes Gegenstromverfahren). Um genügend Wärmespeichermasse zur Verfügung zu stellen, aber auch um die mechanische Stabilität des Rotors zu erhöhen, weist dieser eine Sektorierung bzw. Segmentierung in mehrere Zellen bzw. Kammern auf, die zugleich auch als Strömungskanäle für die Gasvolumenströme dienen. In diesen Kammern sind in der Regel wärmespeichernde Massen angeordnet, wie bspw. so genannte Heizblechpakete.
  • Im Betrieb werden die einzelnen Kammern des Rotors von einem warmen bzw. heißen Gasvolumenstrom durchströmt, wobei es sich bspw. um ein Rauchgas aus einem Verbrennungsprozess handeln kann. Infolge der Durchströmung mit dem warmen bzw. heißen Gasvolumenstrom erwärmen sich die wärmespeichernden Massen der durchströmten Kammern. Hierbei wird dem durchströmenden Gasvolumenstrom Wärme entzogen, so dass dieser beim Austritt aus dem Rotor eine geringere Temperatur aufweist als beim Eintritt. Infolge der Rotordrehung erreichen die aufgewärmten Kammern schließlich den Abschnitt, wo ein kühlerer bzw. kalter Gasvolumenstrom, bspw. Frischluft, den Rotor durchströmt und an den wärmespeichernden Massen dieser Kammern erwärmt wird, wobei die wärmespeichernden Massen wieder abgekühlt werden. Bei dieser Art der Wärmeübertragung wird sozusagen eine Wärmespeicherfähigkeit des Rotors eingesetzt, um einen ersten Gasvolumenstrom zu erwärmen und einen zweiten Gasvolumenstrom abzukühlen.
  • Alternativ kann ein Rotor bspw. auch feststehend ausgebildet sein und die Strömungsanschlüsse können sich relativ hierzu bewegen.
  • Bei Verwendung von Frischluft als aufzuwärmenden Gasvolumenstrom kann der Wärmetauscher zur so genannten Luftvorwärmung verwendet werden. Durch Luftvorwärmung kann der Wirkungsgrad eines Kraftwerkes erhöht und der Schadstoffausstoß reduziert werden.
  • Zur Reduzierung von Massenverlusten bzw. Volumenverlusten bezüglich der Gasvolumenströme ist am Rotor eine aufwändige Abdichtung erforderlich, was seit langem Gegenstand zahlreicher Weiterentwicklungen ist. Das Abdichtsystem für einen Rotor umfasst in der Regel wenigstens eine Umfangsdichtung und wenigstens eine Radialdichtung. Eine Umfangsdichtung dichtet die durch den Rotor durchströmenden Gasvolumenströme am Außenumfang des Rotors nach außen hin ab. Eine Umfangsdichtung kann eine Axialdichtung bzw. Manteldichtung am Außenumfang des Rotors umfassen. Eine Radialdichtung soll einen so genannten Strömungskurzschluss bzw. Kurzschlussvolumenstrom zwischen den einzelnen Gasvolumenströmen an einer Rotorstirnseite verhindern. Infolge der Relativbewegung des Rotors zu den Dichtungen und wegen einer sich verändernden Wärmeausdehnung sind Spalte bzw. Restspalte zwischen den Dichtungen und dem Rotor unvermeidbar, durch die hindurch Leckagevolumenströmungen auftreten, insbesondere zwischen den Gasvolumenströmen (so genannte Strömungskurzschlüsse), typischerweise vom Gasvolumenstrom mit dem höheren Druck zum Gasvolumenstrom mit dem niedrigeren Druck. Dies führt neben Volumenverlusten auch zu energetischen Verlusten und damit zu einem unbefriedigenden Wirkungsgrad.
  • Zur Verbesserung des Wirkungsgrades regenerativer Wärmetauscher sind aus dem Stand der Technik unter anderem Absaug-Verfahren und Absauganlagen bekannt.
  • In der US 2,665,120 ist beschrieben, den Rotor eines regenerativen Wärmetauscher zu kapseln und die Leckagevolumenströme mittels eines Zuggebläses (Ventilator) abzusaugen und dem aufzuwärmenden Gasvolumenstrom zuzuführen bzw. in diesen rückzuführen. Die Rückführung erfolgt entweder vor (stromaufwärts) oder nach (stromabwärts) dem Rotor. Falls die Rückführung stromabwärts des Rotors erfolgt, d.h. in den bereits vom Rotor aufgewärmten Gasvolumenstrom, ist eine vorherige Erwärmung der abgesaugten Leckagevolumenströme mittels einer aufwändigen Wärmetauscherkonstruktion vorgesehen, um eine Abkühlung des Gasvolumenstroms nach dem Rotor zu vermeiden.
  • In der DE 34 37 945 A1 bzw. AT 400 482 B ist die Absaugung der Leckagevolumenströme an der "heißen Seite" (hierzu unten mehr) des Rotors und deren Rückführung in den aufzuwärmenden Gasvolumenstrom vor dem Rotor beschrieben.
  • Die EP 0 588 185 A1 bzw. DE 42 30 133 A1 beschreibt ein Rotorgehäuse das aus einer oberen und aus einer unteren Teilkammer besteht, aus denen gemeinsam oder getrennt Leckagevolumenströme mittels eines Ventilators abgesaugt werden können. Eine Rückführung der abgesaugten Leckagevolumenströme in einen der Gasvolumenströme ist hier nicht beschrieben.
  • Die Absaugung von Leckagevolumenströmen ist z. B. auch in der DE 26 34 653 A1 beschrieben. In der GB 676,129 A ist die Rückführung eines Leckagevolumenstroms in den anströmenden, aufzuwärmenden Gasvolumenstrom gezeigt. Aus der nächstliegenden DE 40 13 484 A1 ist die Absaugung von Leckagevolumenströmen an beiden Seiten eines Rotors und die Rückführung in den anströmenden, aufzuwärmenden Gasvolumenstrom (Frischluftvolumenstrom) bekannt.
  • Die aus dem Stand der Technik bekannten Absaug-Verfahren und Absauganlagen führen in der Praxis nicht zu Verbesserungen des Wirkungsgrades für die Übertragung der Wärmeenergie. Teilweise ist sogar eine Verschlechterung des Wirkungsgrades beobachtet worden.
  • Aufgabe der Erfindung ist es, den Wirkungsgrad eines regenerativen Wärmetauschers zu verbessern.
  • Diese Aufgabe wird gelöst durch ein Verfahren mit den Merkmalen des Patentanspruches 1 und durch einen regenerativen Wärmetauscher mit den Merkmalen des nebengeordneten Patentanspruches. Vorteilhafte Weiterbildungen sind durch die Merkmale der jeweils abhängigen Patentansprüche gekennzeichnet.
  • Bei dem erfindungsgemäßen Verfahren zum Betrieb eines regenerativen Wärmetauschers wird der bevorzugt drehbar gelagerte Rotor von wenigstens einem ersten, aufzuwärmenden Gasvolumenstrom, wie insbesondere Frischluft, durchströmt wobei sich der Gasvolumenstrom beim Durchströmen des Rotors an den wärmespeichernden Massen erwärmt. Dies dient insbesondere der Luftvorwärmung von Frischluft für ein Kraftwerk. Fernerhin wird der Rotor von wenigstens einem zweiten, abzukühlenden Gasvolumenstrom durchströmt, wie insbesondere ein Rauchgas bzw. Verbrennungsgas oder Abgas, das seine Wärme an die wärmespeichernden Massen des Rotors abgibt und hierdurch selbst abgekühlt wird.
  • Der Rotor weist eine erste Stirnseite bzw. Stirnfläche auf, an der der anströmende erste, aufzuwärmende Gasvolumenstrom in den Rotor eintritt. Der ersten Stirnseite gegenüberliegend weist der Rotor eine zweite Stirnseite bzw. Stirnfläche auf, an der der abströmende erste, aufzuwärmende Gasvolumenstrom wieder aus dem Rotor austritt. Üblicherweise wird die erste Stirnseite auch als "kalte Seite" und die zweite Stirnseite als "heiße Seite" bezeichnet.
  • Der erste Gasvolumenstrom und der zweite Gasvolumenstrom sind am Rotor mittels wenigstens einer Rotordichtung abgedichtet, um Volumenverluste und insbesondere Strömungskurzschlüsse zu begrenzen. Bei einer Rotordichtung handelt es sich insbesondere um eine Umfangsdichtung, welche einen Gasvolumenstrom am Außenumfang des Rotors abdichtet, und/oder um eine Radialdichtung, welche die Gasvolumenströme relativ zueinander abdichtet und Strömungskurzschlüsse bzw. Kurzschlussvolumenströme unterbinden soll.
  • Da im Bereich einer Rotordichtung Leckagevolumenströme auftreten, ist erfindungsgemäß vorgesehen, dass wenigstens ein Leckagevolumenstrom an der ersten Stirnseite, oder im Bereich dieser Stirnseite, des Rotors erfasst bzw. aufgefangen und dem anströmenden ersten Gasvolumenstrom zugeführt wird und/oder dass wenigstens ein Leckagevolumenstrom an der zweiten Stirnseite, oder im Bereich dieser Stirnseite, des Rotors erfasst bzw. aufgefangen und dem abströmenden ersten Gasvolumenstrom zugeführt wird.
  • Ein Leckagevolumenstrom ist insbesondere ein Kurzschlussvolumenstrom vom ersten Gasvolumenstrom in den zweiten Gasvolumenstrom, der im Bereich einer Radialdichtung an der ersten Stirnseite des Rotors oder an der zweiten Stirnseite des Rotors auftritt. In diesem Fall handelt es sich somit genau genommen um eine Rückführung eines aufgefangenen Leckagevolumenstroms in den ersten, aufzuwärmenden Gasvolumenstrom.
  • Dass Erfassen bzw. Auffangen eines Leckagevolumenstroms der im Bereich einer Rotordichtung auftritt, kann technisch bedingt meist nicht vollständig erfolgen, so dass sich ein Erfassen bzw. Auffangen eines Leckagevolumenstroms im Rahmen dieser Erfindung auf einen wesentlichen Teil des Leckagevolumenstroms bezieht, der unter den jeweiligen technischen Bedingungen erfassbar bzw. auffangbar ist. Erfassen und Auffangen sind im Rahmen dieser Erfindung weit auszulegen und beinhalten alle Maßnahmen die geeignet sind, einem Leckagevolumenstrom habhaft zu werden.
  • Das erfindungsgemäße Verfahren unterscheidet sich zum oben angegebenen Stand der Technik zunächst dadurch, dass ein Leckagevolumenstrom jeweils nur im Bereich einer der Stirnseiten oder beider Stirnseiten des Rotors aufgefangen wird. Damit kann unterschieden werden, welches Temperaturniveau ein Leckagevolumenstrom jeweils aufweist. Weiterhin unterscheidet sich das erfindungsgemäße Verfahren zum Stand der Technik dadurch, dass in Abhängigkeit von dem Temperaturniveau des Leckagevolumenstroms eine entsprechende Zuführung bzw. Rückführung in den anströmenden und noch kühlen ersten Gasvolumenstrom oder den abströmende und bereits aufgewärmten ersten Gasvolumenstrom erfolgt (sozusagen strömungstechnisch stets auf der selben Seite des Rotors). Damit werden energetische Vorteile erreicht, die den Wirkungsgrad gegenüber dem Stand der Technik erhöhen, was nachfolgend näher erläutert wird.
  • Bei einem regenerativen Wärmetauscher der in einem Kraftwerk bspw. zur Wärmeübertragung von einem heißen Rauchgasvolumenstrom (aus einem Verbrennungsprozess) auf einen Frischluftvolumenstrom verwendet wird, ist in der Regel im Bereich einer Radialdichtung ein Leckagevolumenstrom (Kurzschlussvolumenstrom) vom Frischluftvolumenstrom in den Rauchgasvolumenstrom gegeben. Bei der Bestimmung der Betriebsparameter und der Ausgestaltung des regenerativen Wärmetauschers werden solche Leckagevolumenströme berücksichtigt, da der Leckagevolumenstrom vom Frischluftvolumenstrom in den Rauchgasvolumenstrom zu einer zusätzlichen Abkühlung des Rauchgasvolumenstroms um etwa 3 bis 7 K führt (so genannte "korrigierte" Rauchgas- bzw. Abgastemperatur). Es besteht somit Gefahr, dass die Säuretaupunkttemperatur eines Bestandteils des abzukühlenden Rauchgases unterschritten wird und es zu einer Beschädigung (insbesondere Korrosion) nachfolgender Anlagenkomponenten (bspw. Entstaubungsanlagen und Filteranlagen) im Rauchgasstrang kommt. Es muss daher sichergestellt werden, dass die Temperatur des Rauchgasvolumenstroms am Austritt des Rotors bzw. beim Austreten aus dem regenerativen Wärmetauscher, trotz der zusätzlichen Abkühlung durch den Leckagevolumenstrom aus dem Frischluftvolumenstrom, höher ist als eine kritische Säuretaupunkttemperatur. Die zusätzliche Abkühlung des Rauchgasvolumenstroms durch den Leckagevolumenstrom aus dem Frischluftvolumenstrom muss daher bei der Auslegung des regenerativen Wärmetauschers und dessen Betriebsparameter berücksichtigt werden. Anderseits steht diese zusätzliche Abkühlung des Rauchgasvolumenstroms für die Wärmeübertragung vom Rauchgasvolumenstrom an den Frischluftvolumenstrom energetisch nicht zur Verfügung. Wünschenswert ist demnach eine niedrigere "unkorrigierte" Rauchgastemperatur.
  • Durch die getrennte Erfassung eines warmen bzw. heißen Leckagenvolumenstroms und dessen Zuführung bzw. Rückführung in den abströmenden und bereits aufgewärmten Frischluftvolumenstrom, und/oder eines kühlen bzw. kalten Leckagevolumenstroms und dessen Zuführung, bzw. Rückführung in den anströmenden und (noch) kühlen Frischluftvolumenstrom kann der negative zusätzliche Abkühlungseffekt weitgehend vermieden werden. In anderen Worten: die nunmehr im wesentlichen "unkorrigierte" Rauchgastemperatur kann auf ein ähnliches Niveau wie die ehemals "korrigierte" Abgastemperatur gesenkt werden. Bei unveränderter Eintrittstemperatur der Gasvolumenströme in den Rotor und bei unveränderten Gasvolumenströmen kann im Ergebnis die Wärmeübertragung vom Rauchgasvolumenstrom auf den Frischluftvolumenstrom erhöht werden, ohne dass eine kritische Säuretaupunkttemperatur im Rauchgasvolumenstrom unterschritten wird. Die Erhöhung der Wärmeübertragung ist bspw. durch konstruktive Auslegung der wärmespeichernden Massen möglich.
  • Infolge der definierten Rückführung wird zugleich eine ungewollte Abkühlung des Rauchgasvolumenstroms vor dem Rotor und auch eine ungewollte Abkühlung des Rauchgasvolumenstroms nach dem Rotor weitgehend vermieden, was den Wirkungsgrad des regenerativen Wärmetauschers zusätzlich erhöht.
  • Im Ergebnis erhöht sich die abströmseitige Temperatur (d.h. die Temperatur nach dem Rotor bzw. nach dem Regenerativ-Wärmetauscher) des Frischluftvolumenstroms und somit die Wärmemenge in der Verbrennungsluft für den Kraftwerk-Verbrennungsprozess. Diese zusätzliche Wärmemenge reduziert den Brennstoffbedarf. Bezogen auf eine Kesselleistung von 700 bis 800 MW lassen sich ohne Reduzierung der Leistung Einsparungen an Betriebskosten in Höhe von 150.000,- bis 400.000,- Euro pro Jahr errechnen, wobei die Ersparnisse aufgrund der steigenden Brennstoffpreise in den nächsten Jahren noch zunehmen dürfte. Als weiterer und wesentlicher Vorteil ergibt sich auch eine Verminderung des Ausstoßes von Schadgasen, wie insbesondere CO2.
  • Erfindungsgemäß ist bevorzugt vorgesehen, dass wenigstens ein Leckagevolumenstrom an der ersten Stirnseite des Rotors aufgefangen und dem anströmenden ersten Gasvolumenstrom zugeführt wird, und dort genau genommen in diesen eingeleitet bzw. eingespeist wird, und dass wenigstens ein Leckagevolumenstrom an der zweiten Stirnseite des Rotors aufgefangen und dem abströmenden ersten Gasvolumenstrom zugeführt wird, und dort genau genommen in diesen eingeleitet bzw. eingespeist wird. Durch diese beidseitige Erfassung (bezogen auf die Stirnseiten des Rotors) und separate Zuführung bzw. Rückführung von Leckagevolumenströmen verbessert sich der Wirkungsgrad des regenerativen Wärmetauschers in erheblichem Maße. Dessen ungeachtet ist selbstverständlich auch eine Erfassung und Zuführung bzw. Rückführung an nur einer Stirnseite des Rotors möglich und vorteilhaft.
  • Gemäß einer vorteilhaften Weiterbildung des Verfahrens ist vorgesehen, dass die Zuführung bzw. Rückführung des von der ersten Stirnseite des Rotors aufgefangenen Leckagevolumenstrom in den ersten Gasvolumenstrom nicht unmittelbar, sondern stromaufwärts des Rotors erfolgt. Mit "stromaufwärts" ist gemeint, dass die Zuführung in Strömungsrichtung vor dem Rotor erfolgt. Alternativ oder ergänzend ist vorgesehen, dass die Rückführung des von der zweiten Stirnseite des Rotors aufgefangenen Leckagevolumenstrom in den ersten Gasvolumenstrom nicht unmittelbar, sondern stromabwärts des Rotors erfolgt. Mit "stromabwärts" ist gemeint, dass die Zuführung in Strömungsrichtung nach dem Rotor erfolgt. Damit ist das Erfassen bzw. Auffangen eines Leckagevolumenstroms und dessen Zuführung bzw. Rückführung in den ersten Gasvolumenstrom konstruktiv und baulich getrennt.
  • Hierbei ist insbesondere vorgesehen, dass die Zuführung bzw. Rückführung eines aufgefangenen Leckagevolumenstroms in den ersten Gasvolumenstrom jeweils in räumlicher Nähe, bevorzugt in unmittelbarer Nähe des Rotors erfolgt. Damit können die Strömungswege baulich kurz gehalten werden. Ein zugeführter bzw. rückgeführter Leckagevolumenstrom unterliegt dabei einer nur geringen Temperaturbeeinflussung.
  • Vorteilhafterweise ist vorgesehen, dass wenigsten ein an der ersten Stirnseite des Rotors und wenigstens ein an der zweiten Stirnseite des Rotors erfasster bzw. aufgefangener Leckagevolumenstrom auf separaten Pfaden jeweils stromaufwärts in den anströmenden ersten Gasvolumenstrom und stromabwärts in den abströmenden ersten Gasvolumenstrom rückgeführt wird. Ein Pfad bzw. Rückführpfad ist jegliche Einrichtung die geeignet ist einen Gasvolumenstrom zu transportieren oder durchzuleiten. Ein Pfad bzw. Rückführungspfad ist insbesondere ein Leitungssystem aus Rohren und Rohrabschnitten oder dgl.
  • Es ist hierbei bevorzugt vorgesehen, dass pro Pfad wenigstens eine Gebläseeinrichtung eingesetzt wird. Mittels der Gebläseeinrichtung kann ein Unterdruck erzeugt werden, mit dem ein Leckagevolumenstrom an einer Stirnseite des Rotors durch Absaugen erfasst bzw. aufgefangen werden kann. Zugleich kann mit der Gebläseeinrichtung ein Überdruck erzeugt werden, mit dem der abgesaugte Leckagenvolumenstrom entlang des Pfades bzw. Rückführpfades dem ersten Gasvolumenstrom zugeführt bzw. rückgeführt, und dort in diesen eingeleitet bzw. eingespeist werden kann. Eine Gebläseeinrichtung ist insbesondere ein Ventilator der bevorzugt in einem Leitungssystem angeordnet ist.
  • Es fernerhin bevorzugt, dass wenigstens ein Leckagevolumenstrom an der ersten Stirnseite und/oder der zweiten Stirnseite des Rotors im Bereich einer Radialdichtung erfasst oder aufgefangen wird, vorzugsweise mittels absaugen. Diese Maßnahme betrifft somit einen besonders nachteiligen Kurzschlussvolumenstrom, insbesondere vom ersten Gasvolumenstrom in den zweiten Gasvolumenstrom.
  • Ebenso ist ergänzend oder alternativ bevorzugt, dass wenigstens ein Leckagevolumenstrom an der ersten Stirnseite und/oder der zweiten Stirnseite des Rotors im Bereich einer Umfangsdichtung erfasst bzw. aufgefangen wird, vorzugsweise durch absaugen. Dies führt ebenfalls zu einer Verbesserung des Wirkungsgrades.
  • Nach einer besonders bevorzugten Weiterbildung des erfindungsgemäßen Verfahrens ist vorgesehen, dass wenigstens ein erster, aufzuwärmender Gasvolumenstrom und wenigstens ein zweiter, abzukühlender Gasvolumenstrom gegensinnig, d.h. im Gegenstromverfahren, den Rotor durchströmen. Hierbei weisen beide Gasvolumenströme an der ersten Stirnseite ("kalte Seite") ein geringeres Temperaturniveau auf als an der zweiten Stirnseite ("heiße Seite"). Es ist somit leicht zu unterscheiden, welches Temperaturniveau ein erfasster bzw. aufgefangener Leckagevolumenstrom aufweist. Ein an der heißen Stirnseite des Rotors erfasster Leckagevolumenstrom wird dem abströmenden ersten Gasvolumenstrom zugeführt bzw. in diesen rückgeführt und ein an der kalten Stirnseite des Rotors erfasster Leckagevolumenstrom wird dem anströmenden ersten Gasvolumenstrom zugeführt bzw. in diesen rückgeführt. Alternativ kann der Rotor, zumindest von wenigstens zweit Gasvolumenströmen, auch gleichsinnig durchströmt sein.
  • Bei einer bevorzugten Weiterbildung des Verfahrens sind wenigstens zwei erste Gasvolumenströme vorgesehen, wobei das Zuführen wenigstens eines aufgefangenen Leckagevolumenstroms, bevorzugt aller aufgefangenen Leckagevolumenströme, in lediglich einen dieser beiden ersten Gasvolumenströme erfolgt. Hierauf wird im Zusammenhang mit den Figuren noch näher eingegangen. Alternativ ist auch eine separate Rückführung in zwei oder mehrere erste Gasvolumenströme möglich.
  • Der erfindungsgemäße regenerative Wärmetauscher umfasst einen von wenigstens zwei Gasvolumenströmen durchströmten Rotor, wobei der Rotor eine erste Stirnseite aufweist an der ein anströmender erster, aufzuwärmenden Gasvolumenstrom in den Rotor eintritt und wobei der Rotor weiterhin eine der ersten Stirnseite gegenüberliegende zweite Stirnseite aufweist an welcher der abströmende erste, aufzuwärmenden Gasvolumenstrom wieder aus dem Rotor austritt. Fernerhin ist wenigsten eine Rotordichtung, wie insbesondere eine Radialdichtung und/oder eine Umfangsdichtung, am Rotor umfasst, zur Abdichtung des ersten und des zweiten Gasvolumenstroms. Der erfindungsgemäße Regenerativ-Wärmetauscher umfasst zudem eine Erfassungseinrichtung bzw. Auffangeinrichtung für einen Leckagevolumenstrom der im Bereich einer Rotordichtung auftritt, sowie wenigstens eine dieser Erfassungseinrichtung bzw. Auffangeinrichtung zugeordneten Zuführung bzw. Zuführeinrichtung oder Rückführeinrichtung für den erfassten bzw. aufgefangenen Leckagevolumenstrom in den ersten Gasvolumenstrom.
  • Erfindungsgemäß ist wenigstens eine Auffangeinrichtung an der ersten Stirnseite des Rotors mit wenigstens einer zugeordneten Zuführung bzw. Zuführeinrichtung für den an der ersten Stirnseite aufgefangenen Leckagevolumenstrom in den anströmenden ersten Gasvolumenstrom vorgesehen, und/oder wenigstens eine Auffangeinrichtung an der zweiten Stirnseite mit wenigstens einer zugeordneten Zuführung bzw. Zuführeinrichtung für den an der zweiten Stirnseite aufgefangenen Leckagevolumenstrom in den abströmenden ersten Gasvolumenstrom.
  • Der erfindungsgemäße regenerative Wärmetauscher ist bevorzugt zur Anwendung des oben beschriebenen erfindungsgemäßen Verfahrens geeignet. Die oben beschriebenen Verfahrensmerkmale und deren Vorteile sind daher entsprechend auf den erfindungsgemäßen regenerativen Wärmetauscher übertragbar.
  • Eine Auffangeinrichtung ist jede Einrichtung die dazu geeignet ist, einen Leckagevolumenstrom zu erfassen bzw. aufzufangen. Eine Auffangeinrichtung kann ein System aus einzelnen Komponenten sein. Eine Auffangvorrichtung ist bevorzugt eine Absaugeinrichtung.
  • Eine Zuführung bzw. Zuführungseinrichtung dient dem Zuführen bzw. Rückführen eines mit einer Auffangeinrichtung erfassten bzw. aufgefangenen Leckagevolumenstroms in den ersten Gasvolumenstrom. Eine Zuführung bzw. eine Zuführeinrichtung ist bevorzugt durch ein Leitungssystem realisiert, durch welches der an einer Rotordichtung erfasste bzw. aufgefangene Leckagevolumenstrom definiert dem ersten Gasvolumenstrom zugeführt wird. Falls der Leckagevolumenstrom vom ersten Gasvolumenstrom ausgeht so handelt es sich bei der Zuführung bzw. Zuführeinrichtung genau genommen um eine Rückführung bzw. Rückführeinrichtung.
  • Bevorzugt umfasst das Leitungssystem wenigstens einer Zuführung bzw. Zuführeinrichtung wenigstens eine Gebläseeinrichtung mit welcher eine definierte Strömung in diesem Leitungssystem erzeugt werden kann.
  • Die Gebläseeinrichtung ist derart gestaltet, dass in einer Verbindungsleitung die zwischen dieser Gebläseeinrichtung und einer Rotordichtung angeordnet ist ein Unterdruck erzeugt werden kann, mit dem der Leckagevolumenstrom an der betreffenden Rotordichtung abgesaugt werden kann. Insbesondere handelt es sich bei der Rotordichtung um wenigstens eine Radialdichtung und/oder wenigsten eine Umfangsdichtung die über die Verbindungsleitung strömungstechnisch mit der Gebläseeinrichtung verbunden ist. Wenigstens eine Radialdichtung und/oder wenigstens eine Umfangsdichtung ist bevorzugt geteilt ausgebildet und/oder weist mehrere Öffnungen auf, so dass ein an dieser Rotordichtung auftretender Leckagevolumenstrom mittels Unterdruck vereinfacht abgesaugt werden kann.
  • Dieselbe Gebläseeinrichtung erzeugt fernerhin in einer Verbindungsleitung, die zwischen dieser Gebläseeinrichtung und dem ersten Gasvolumenstrom angeordnet ist, einen Überdruck, mit dem der an der Rotordichtung abgesaugte Leckagevolumenstrom dem ersten Gasvolumenstrom zugeführt bzw. in diesen rückgeführt, genau genommen in diesen eingeleitet bzw. eingespeist werden kann.
  • Besonders bevorzugt ist vorgesehen, dass an der ersten Stirnseite des Rotors, insbesondere im Bereich einer Radialdichtung und/oder einer Umfangsdichtung, wenigstens eine Absaugung bzw. Absaugeinrichtung für einen Leckagevolumenstrom vorgesehen ist, mit einer zugeordneten Zuführung bzw. Zuführeinrichtung für den abgesaugten Leckagevolumenstroms in den anströmenden ersten Gasvolumenstrom. Ebenso ist vorgesehen, dass an der zweiten Stirnseite des Rotors, insbesondere im Bereich einer Radialdichtung und/oder einer Umfangsdichtung, wenigstens eine Absaugeinrichtung für einen Leckagevolumenstrom vorgesehen ist, mit einer zugeordneten Zuführung bzw. Zuführeinrichtung für den abgesaugten Leckagevolumenstrom in den abströmenden ersten Gasvolumenstrom. Die Zuführungen bzw. Zuführeinrichtungen sind separat voneinander ausgebildet und umfassen jeweils wenigstens eine Gebläseeinrichtung. Dies entspricht einem bevorzugten und besonders vorteilhaften Ausführungsbeispiel der Erfindung.
  • Die Erfindung lässt sich in sinngemäßer Weise auch an einem Wärmetauscher mit stationäre wärmespeichernden Massen realisieren.
  • Weitere Merkmale und Vorteile der Erfindung ergeben sich aus der nachfolgenden Beschreibung von Ausführungsbeispielen anhand der Figuren. Es zeigen:
  • Fig. 1
    ein bevorzugtes Ausführungsbeispiel der Erfindung in einer schematischen Darstellung, und
    Fig. 2
    ein alternatives Ausführungsbeispiel der Erfindung in einer schematischen Darstellung.
  • Die Figur 1 zeigt einen insgesamt mit 1 bezeichneten regenerativen Wärmetauscher der in einem Kraftwerk eingesetzt ist. Dieser umfasst einen kreiszylindrischen Rotor 2 der horizontal ausgerichtet und um eine vertikale Achse 3 drehbar gelagert ist. Im Inneren des Rotors 2 befinden sich Wärmespeicher 4 (bspw. Heizblechpakete wie eingangs beschrieben). Der Rotor weist eine erste, untere Stirnseite 5a, eine zweite, obere Stirnseite 5b und eine Mantelwand (Umfangswand) 7 auf. An den Stirnseiten 5a und 5b befinden sich nicht näher spezifizierte Radialdichtungen 8a und 8b sowie nicht näher spezifizierte Umfangdichtungen 9a und 9b.
  • Gemäß der Darstellung wird der Rotor 2 auf der linken Seite von einem ersten Gasvolumenstrom 10 von unten nach oben durchströmt, wobei es sich hierbei um einen Frischluftvolumenstrom handelt. Der Frischluftvolumenstrom 10 wird von einer Gebläseeinrichtung 14 angesaugt und dem Rotor 2 zugeführt. Der Frischluftvolumenstrom 10 tritt an der unteren Stirnseite 5a des Rotors 2 in diesen ein und an der oberen Stirnseite 5b wieder aus und wird während des Durchströmens des Rotors 2 an den Wärmespeichern 4 erwärmt, die sich hierbei im selben Maße abkühlen (wie eingangs beschrieben). Bezogen auf den Rotor 2 ist der anströmende Frischluftvolumenstrom mit 10a und der abströmende Frischluftvolumenstrom mit 10b bezeichnet.
  • Auf der rechten Seite wird der Rotor 2 von einem zweiten Gasvolumenstrom 11 von oben nach unten durchströmt, wobei es sich hierbei um einen Rauchgasvolumenstrom aus einem Verbrennungsprozess handelt. Der Rauchgasvolumenstrom 11 tritt an der oberen Stirnseite 5b in den Rotor 2 ein und an der unteren Stirnseite 5a wieder aus dem Rotor 2 aus und wird während des Durchströmens des Rotors 2 an den kühlen Wärmespeichern 4 abgekühlt, die sich hierbei im selben Maße aufheizen und anschließend der Erwärmung des Frischluftvolumenstroms 10 zur Verfügung stehen (wie eingangs beschrieben). Nach dem Verlassen des Rotors 2 wird der bereits abgekühlte Rauchgasvolumenstrom Rauchgasreinigungsanlagen und/oder Filtereinrichtungen 20 zugeführt.
  • Infolge der gegensinnigen Durchströmung sind die Temperaturen beider Gasvolumenströme 10 und 11 an der oberen, zweiten Stirnseite 5b des Rotors 2 höher, als an der unteren, ersten Stirnseite 5a. Von daher kann die obere Stirnseite 5b auch als "heiße Seite" und die untere Stirnseite 5a auch als "kalte Seite" bezeichnet werden.
  • Um die beiden Gasvolumenströme 10 und 11 am Rotor 2 abzudichten sind die Radialdichtungen 8a und 8b, sowie die Umfangsdichtungen 9a und 9b vorgesehen. Die Umfangsdichtungen 9a und 9b sollen die Gasvolumenströme 10 und 11 am Außenrand bzw. Außenumfang des Rotors 2 abdichten, während die Radialdichtungen 8a und 8b eine Durchmischung der Gasvolumenströme 10 und 11 durch Strömungskurzschlüsse bzw. Kurzschlussvolumenströme unterbinden sollen. Infolge wechselnder thermischer und mechanischer Beanspruchung sind zwischen den Dichtungen 8a, 8b, 9a und 9b und dem Rotor 2 stets Spalte bzw. Restspalte vorhanden, durch die hindurch Leckagevolumenströme auftreten. Insbesondere im Bereich der Radialdichtungen 8a und 8b werden Leckagevolumenströme zudem durch Druckunterschiede in den Gasvolumenströmen 10 und 11 begünstigt, wobei der Frischluftvolumenstrom 10 wegen der Gebläseeinrichtung 14 meist einen höheren Druck als der Rauchgasvolumenstrom 11 aufweist. Dies führt zu Frischluft-Leckagevolumenströmen 12a und 12b sodass Frischluft mit einem geringeren Temperaturniveau in den Rauchgasvolumenstrom 11 übertritt bzw. überströmt, was zu einem unerwünschten und nachteiligen Abkühlungseffekt im Rauchgasvolumenstrom 11 führt (wie oben ausführlich beschrieben).
  • Es ist daher vorgesehen, die Leckagevolumenströme 12a und 12b im Bereich der Radialdichtungen 8a und 8b aufzufangen und die Leckagevolumenströme von der "heißen" Stirnseite 5b des Rotors 2 dem abströmenden Frischluftvolumenstrom 10b zuzuführen bzw. in diesen einzuleiten und von der "kalten" Stirnseite 5a des Rotors 2 dem anströmenden Gasvolumenstrom 10a zuzuführen bzw. in diesen einzuleiten. Durch diese getrennte Rückführung der Leckagevolumenströme von der "heißen" Stirnseite in den bereits aufgewärmten, abströmenden Frischluftvolumenstrom 10b und von der "kalten" Seite in den noch kühlen, anströmenden Frischluftvolumenstrom 10a kann der oben beschriebene unerwünschte und nachteilige Abkühlungseffekt im Rauchgasvolumenstrom 11 vermieden werden, wodurch im Ergebnis der Wirkungsgrad des Wärmetauschers und damit auch des Kraftwerks erhöht werden kann (wie oben ausführlich dargelegt). Auch kann im abzukühlenden Rauchgas die Kondensation von kritischen Rauchgasbestandteilen in kalten Temperatursträhnen verhindert oder zumindest vermindert werden.
  • Das Auffangen der Leckagevolumenströme bzw. Frischluft-Leckagevolumenströme 12a und 12b erfolgt durch Absaugen an den Radialdichtungen 8a und 8b. Um das Absaugen zu vereinfachen können die Radialdichtungen 8a und 8b geteilt und/oder mit einer Vielzahl von Öffnungen (nicht dargestellt) ausgebildet sein, durch die ein Unterdruck wirksam im Spalt bzw. Restspalt zwischen den Radialdichtung 8a und 8b und dem Rotor 2 aufgebracht und dadurch die Leckagevolumenströme aufgefangen werden können. Der Unterdruck wird jeweils von einer Gebläseeinrichtung 16a und 16b erzeugt die bspw. ein Ventilator oder dgl. sein kann. Zwischen den Gebläseeinrichtungen 16a und 16b und den Radialdichtungen 8a und 8b ist jeweils eine Verbindungsleitung 17a und 17b angeordnet, über welche die aufgefangenen bzw. abgesaugten Leckagevolumenströme 12a und 12b weggeführt werden. Von den Gebläseeinrichtungen 16a und 16b reicht jeweils eine Verbindungsleitung 18a bzw. 18b in den anströmenden Frischluftvolumenstrom 10a bzw. in den abströmenden Frischluftvolumenstrom 10b. Diese Verbindungsleitungen 18a bzw. 18b dienen der Zuführung bzw. Rückführung der aufgefangenen und weggeführten Leckagevolumenströme 12a und 12b in den Frischluftvolumenstrom 10. Die Gebläseeinrichtungen 16a und 16b sind derart gestaltet, dass sie in den Verbindungsleitungen 17a und 17b einen Unterdruck und in den Verbindungsleitungen 18a und 18b einen Überdruck erzeugen.
  • Die Verbindungsleitungen 17a und 18a bilden, hier zusammen mit der Gebläseeinrichtung 16a, ein Leitungssystem für die Zuführung bzw. Rückführung eines an der ersten Stirnseite ("kalte Seite") 5a des Rotors 2 aufgefangenen bzw. abgesaugten Leckagevolumenstroms 12a in den anströmenden Frischluftvolumenstrom 10a. Hiervon unabhängig bilden die Verbindungsleitungen 17b und 18b, hier zusammen mit der Gebläseeinrichtung 16b, ein zweites separates Leitungssystem für die Zuführung bzw. Rückführung eines an der zweiten Stirnseite ("heiße Seite") 5b des Rotors 2 aufgefangenen bzw. abgesaugten Leckagevolumenstroms 12b in den abströmenden Frischluftvolumenstrom 10b. Die Leitungsquerschnitte und die Gebläseleistung sind entsprechend dimensioniert. Auch ist es möglich die Verbindungsleitungen zu segmentieren oder mehrere Verbindungsleitungen parallel anzuordnen. Auch ist es möglich mehrere Gebläseeinrichtungen parallel oder in Reihe vorzusehen.
  • Alternativ zu dem oben beschriebenen Ausführungsbeispiel ist es auch möglich, eine Absaugung und Zuführung bzw. Rückführung an nur einer der Stirnseiten 5a und 5b des Rotors 2 vorzusehen (nicht dargestellt), wodurch sich bei geringerem baulichen Aufwand bereits eine deutliche Verbesserung des Wirkungsgrades ergibt. Alternativ oder ergänzend können auch die Leckagevolumenströme an den Umfangsdichtungen 9a und 9b aufgefangen und jeweils dem anströmenden Frischluftvolumenstrom 10a oder dem abströmenden Frischluftvolumenstrom 10b zugeführt und in diesen eingespeist bzw. eingeleitet werden. Dies ist in der Figur 1 auf der linken Seite des Rotors 2 exemplarisch mit einer gestrichelten Linie für die Umfangsdichtung 9a dargestellt. Für die Absaugung und Zuführung bzw. Rückführung (in diesem Fall in den anströmenden Frischluftvolumenstrom 10a) kann eine weitere Gebläseeinrichtung verwendet werden oder es kann die Gebläseeinrichtung 16a für die Absaugung des Leckagevolumenstroms 12a an der unteren Stirnseite 5a mit verwendet werden. Um auch an den Umfangsdichtungen 9a und 9b das Absaugen zu vereinfachen, können die Radialdichtungen 8a und 8b geteilt und/oder mit einer Vielzahl von Öffnungen ausgebildet sein. Durch die Absaugung eines Leckagevolumenstroms an wenigstens einer der Umfangsdichtungen 9a und 9b kann der Wirkungsgrad des Regenerativ-Wärmetauschers 1 weiterhin verbessert werden. Erfindungsgemäß erfolgt die Zuführung bzw. Rückführung eines an einer Umfangsdichtung 9a an der unteren Stirnseite ("kalte Seite") 5a erfassten Leckagevolumenstroms in den anströmenden, noch kühlen Frischluftvolumenstrom 10a und die Zuführung bzw. Rückführung eines an einer Umfangsdichtung 9b an der oberen Stirnseite ("heiße Seite") 5b erfassten Leckagevolumenstroms in den abströmenden, aufgewärmten Frischluftvolumenstrom 10b.
  • Die Figur 2 zeigt ein alternatives Ausführungsbeispiel der Erfindung. Nachfolgend wird nur auf die Unterschiede zu dem Ausführungsbeispiel der Figur 1 (siehe obige Ausführungen) eingegangen. Von daher gelten die obigen Ausführungen zum Ausführungsbeispiel der Figur 1 sinngemäß.
  • Der wesentliche Unterschied zum Ausführungsbeispiel der Figur 1 ist darin gegeben, dass der Rotor 2 auf seiner linken Seite von zwei separaten Gasvolumenströmen 100 und 101 in gleicher Richtung durchströmt wird, die während ihrer Durchströmung des Rotors jeweils aufgewärmt werden. Der Gasvolumenstrom 100 kann bspw. ein Sekundärluft-Volumenstrom sein und der Gasvolumenstrom 101 kann bspw. ein Primärluft-Volumenstrom sein. Diese Gasvolumenströme 100 und 101 dienen unterschiedlichen Verwendungszwecken in einem Kraftwerk. Abweichend von der Darstellung, in welcher die beiden Gasvolumenströme 100 und 101 den Rotor 2 nebeneinander durchströmen, können diese den Rotor auch an verschiedenen Stellen, bezogen auf den Rotorquerschnitt, durchströmen. Die separate Zuführung bzw. Rückführung der an den Radialdichtungen 8a und 8b aufgefangen bzw. abgesaugten Leckagevolumenströme erfolgt hier, beidseitig des Rotors 2 gemäß den obigen Ausführungen, jeweils in denselben Gasvolumenstrom 100 (Sekundärluft-Volumenstrom). Alternativ ist es auch möglich die aufgefangenen Leckagevolumenströme dem anderen Gasvolumenstrom 101 (Primärluft-Volumenstrom) zuzuführen.
  • Bei dem Ausführungsbeispiel der Figur 2 ist es ebenso denkbar, die Absaugung eines Leckagevolumenstroms an nur einer Stirnseite 5a oder 5b des Rotors 2 vorzusehen. Ebenso kann die Absaugung eines Leckagevolumenstroms auch an einer Umfangsdichtung 9a und/oder 9b erfolgen, wie oben beschrieben.
  • BEZUGSZEICHENLISTE
  • 1
    Regenerativer Wärmetauscher
    2
    Rotor
    3
    Drehachse
    4
    Wärmespeicher
    5a
    erste Stirnseite (Unterseite)
    5b
    zweite Stirnseite (Oberseite)
    7
    Mantelwand
    8a
    Radialdichtung(en) an der ersten Stirnseite
    8b
    Radialdichtung(en) an der zweiten Stirnseite
    9a
    Umfangsdichtung(en) an der ersten Stirnseite
    9b
    Umfangsdichtung(en) an der zweiten Stirnseite
    10
    Frischluftvolumenstrom (erster Gasvolumenstrom)
    10a
    anströmender Frischluftvolumenstrom
    10b
    abströmender Frischluftvolumenstrom
    11
    Rauchgasvolumenstrom (zweiter Gasvolumenstrom)
    12a
    Leckagevolumenstrom an der ersten Stirnseite
    12b
    Leckagevolumenstrom an der zweiten Stirnseite
    14
    Gebläseeinrichtung für den Frischluftvolumenstrom
    16a
    Gebläseeinrichtung an der ersten Stirnseite
    16b
    Gebläseeinrichtung an der zweiten Stirnseite
    17a
    Verbindungsleitung zur Radialdichtung an der ersten Stirnseite
    17b
    Verbindungsleitung zur Radialdichtung an der zweiten Stirnseite
    18a
    Verbindungsleitung in den Frischluftvolumenstrom
    18b
    Verbindungsleitung in den Frischluftvolumenstrom
    20
    Filtereinrichtungen
    100
    Gasvolumenstrom (Sekundärluft)
    101
    Gasvolumenstrom (Primärluft)
    140, 141
    Gebläseeinrichtung für Gasvolumenströme 100 und 101

Claims (15)

  1. Verfahren zum Betrieb eines regenerativen Wärmetauschers (1) nach Anspruch 10 der einen Rotor (2) umfasst, der von wenigstens einem ersten, aufzuwärmenden Gasvolumenstrom (10) und wenigstens einem zweiten, abzukühlenden Gasvolumenstrom (11) durchströmt wird; wobei der anströmende erste Gasvolumenstrom (10a) an einer ersten Stirnseite (5a) des Rotors (2) in den Rotor (2) eintritt und an einer zweiten Stirnseite (5b) des Rotors (2) als abströmender erster Gasvolumenstrom (10b) wieder aus dem Rotor (2) austritt;
    wobei der erste (10) und/oder der zweite (11) Gasvolumenstrom am Rotor (2) mittels wenigstens einer Rotordichtung abgedichtet ist/sind, und
    wobei wenigstens ein an einer Rotordichtung auftretender Leckagevolumenstrom aufgefangen und dem ersten Gasvolumenstrom (10) zugeführt wird, wobei
    der Leckagevolumenstrom an der ersten Stirnseite (5a) des Rotors (2) aufgefangen und dem anströmenden ersten Gasvolumenstrom (10a) zugeführt wird und dadurch gekennzeichnet, dass der Leckagevolumenstrom an der zweiten Stirnseite des Rotors (2) aufgefangen und dem abströmenden ersten Gasvolumenstrom (10b) zugeführt wird.
  2. Verfahren nach Anspruch 1,
    dadurch gekennzeichnet,
    dass wenigstens ein an der ersten Stirnseite (5a) des Rotors (2) aufgefangener Leckagevolumenstrom stromaufwärts des Rotors (2) in den anströmenden ersten Gasvolumenstrom (10a) eingeleitet wird und/oder dass wenigstens ein an der zweiten Stirnseite (5b) des Rotors (2) aufgefangener Leckagevolumenstrom stromabwärts des Rotors (2) in den abströmenden ersten Gasvolumenstrom (10b) eingeleitet wird.
  3. Verfahren nach Anspruch 2,
    dadurch gekennzeichnet,
    dass das Einleiten wenigstens eines aufgefangenen Leckagevolumenstroms in den ersten Gasvolumenstrom (10) nahe des Rotors (2) und bevorzugt in unmittelbarer Nähe des Rotors (2) erfolgt.
  4. Verfahren nach einem der vorausgehenden Ansprüche,
    dadurch gekennzeichnet,
    dass jeweils wenigstens ein Leckagevolumenstrom an der ersten Stirnseite (5a) des Rotors (2) und an der zweiten Stirnseite (5b) des Rotors (2) aufgefangen wird, die dann auf getrennten Pfaden jeweils dem anströmenden ersten Gasvolumenstrom (10a) und dem abströmenden ersten Gasvolumenstrom (10b) zugeführt werden.
  5. Verfahren nach Anspruch 4,
    dadurch gekennzeichnet,
    dass pro Pfad jeweils wenigstens eine Gebläseeinrichtung (16a, 16b) zur Erzeugung einer Strömung eingesetzt wird.
  6. Verfahren nach einem der vorausgehenden Ansprüche,
    dadurch gekennzeichnet,
    dass wenigstens ein Leckagevolumenstrom (12a, 12b) an der ersten Stirnseite (5a) und/oder an der zweiten Stirnseite (5b) des Rotors (2) im Bereich einer Radialdichtung (8a, 8b) aufgefangen wird, wobei das Auffangen bevorzugt durch ein Absaugen erfolgt.
  7. Verfahren nach einem der vorausgehenden Ansprüche,
    dadurch gekennzeichnet,
    dass wenigstens ein Leckagevolumenstrom an der ersten Stirnseite (5a) und/oder an der zweiten Stirnseite (5b) des Rotors (2) im Bereich einer Umfangsdichtung (9a, 9b) aufgefangen wird, wobei das Auffangen bevorzugt durch ein Absaugen erfolgt.
  8. Verfahren nach einem der vorausgehenden Ansprüche,
    dadurch gekennzeichnet,
    dass wenigstens ein erster Gasvolumenstrom (10) und wenigstens ein zweiter Gasvolumenstrom (11) den Rotor (2) gegensinnig durchströmen.
  9. Verfahren nach einem der vorausgehenden Ansprüche,
    dadurch gekennzeichnet,
    dass wenigstens zwei erste Gasvolumenströme vorgesehen sind und das Zuführen aller aufgefangenen Leckagevolumenstroms in lediglich einen dieser beiden ersten Gasvolumenströme erfolgt.
  10. Regenerativer Wärmetauscher (1) umfassend:
    - einen von wenigstens zwei Gasvolumenströmen (10, 11) durchströmten Rotor (2), wobei der Rotor (2) eine erste Stirnseite (5a) aufweist an der ein anströmender erster, aufzuwärmender Gasvolumenstrom (10) in den Rotor (2) eintritt, und wobei der Rotor (2) eine zweite Stirnseite (5b) aufweist an der der abströmende erste Gasvolumenstrom (10) wieder aus dem Rotor (2) austritt; und
    - wenigstens eine Rotordichtung, insbesondere Radialdichtung (8a, 8b) und/oder Umfangsdichtung (9a, 9b), zur Abdichtung des ersten (10) und/oder des zweiten (11) Gasvolumenstroms am Rotor (2); und
    - wenigstens einer Auffangeinrichtung für wenigstens einen Leckagevolumenstrom an einer Rotordichtung und wenigstens einer Zuführeinrichtung für den aufgefangenen Leckagevolumenstroms in den ersten Gasvolumenstrom (10), wobei
    wenigstens eine Auffangeinrichtung an der ersten Stirnseite (5a) mit wenigstens einer zugeordneten Zuführeinrichtung für den an der ersten Stirnseite (5a) aufgefangenen Leckagevolumenstrom in den anströmenden ersten Gasvolumenstrom (10a) und gekennzeichnet durch, wenigstens eine Auffangeinrichtung an der zweiten Stirnseite (5b) mit wenigstens einer zugeordneten Zuführeinrichtung für den an der zweiten Stirnseite (5b) aufgefangenen Leckagevolumenstrom in den abströmenden ersten Gasvolumenstrom (106).
  11. Regenerativer Wärmetauscher (1) nach Anspruch 10,
    dadurch gekennzeichnet,
    dass eine Zuführung aus einem Leitungssystem (17a, 18a; 17b, 18b) gebildet ist, durch welches der aufgefangene Leckagevolumenstrom definiert dem ersten Gasvolumenstrom zugeführt wird.
  12. Regenerativer Wärmetauscher (1) nach Anspruch 11,
    dadurch gekennzeichnet,
    dass in dem Leitungssystem (17a, 18a; 17b, 18b) wenigstens eine Gebläseeinrichtung (16a, 16b) angeordnet ist.
  13. Regenerativer Wärmetauscher (1) nach Anspruch 12,
    dadurch gekennzeichnet,
    dass wenigstens eine Verbindungsleitung (17a, 17b) von einer Gebläseeinrichtung (16a, 16b) zu wenigstens einer Rotordichtung, insbesondere zu einer Radialdichtung (8a, 8b) und/oder einer Umfangsdichtung (9a, 9b), umfasst ist.
  14. Regenerativer Wärmetauscher (1) nach einem der Ansprüche 10 bis 13,
    dadurch gekennzeichnet,
    dass wenigstens eine Radialdichtung (8a, 8b) und/oder wenigstens eine Umfangsdichtung (9a, 9b) geteilt ausgebildet und/oder mit mehreren Öffnungen versehen ist.
  15. Regenerativer Wärmetauscher (1) nach einem der Ansprüche 10 bis 14,
    dadurch gekennzeichnet,
    dass an der ersten Stirnseite (5a) des Rotors (2), insbesondere im Bereich einer Radialdichtung (8a) und/oder einer Umfangsdichtung (9a), wenigstens eine Absaugeinrichtung für einen Leckagevolumenstrom (12a) vorgesehen ist, mit einer zugeordneten Zuführeinrichtung für den abgesaugten Leckagevolumenstrom in den anströmenden ersten Gasvolumenstrom (10a), und dass an der zweiten Stirnseite (5b) des Rotors (2), insbesondere im Bereich einer Radialdichtung (8b) und/oder einer Umfangsdichtung (9b), wenigstens eine Absaugeinrichtung für einen Leckagevolumenstrom (12b) vorgesehen ist, mit einer zugeordneten Zuführeinrichtung für den abgesaugten Leckagevolumenstrom in den abströmenden ersten Gasvolumenstrom (10b), wobei die Zuführeinrichtungen separat voneinander ausgebildet sind und jeweils wenigstens eine Gebläseeinrichtung (16a, 16b) umfassen.
EP08021916A 2008-12-17 2008-12-17 Verfahren zum Betrieb eines regenerativen Wärmetauschers und regenerativer Wärmetauscher mit verbessertem Wirkungsgrad Active EP2199724B1 (de)

Priority Applications (7)

Application Number Priority Date Filing Date Title
EP08021916A EP2199724B1 (de) 2008-12-17 2008-12-17 Verfahren zum Betrieb eines regenerativen Wärmetauschers und regenerativer Wärmetauscher mit verbessertem Wirkungsgrad
PL08021916T PL2199724T3 (pl) 2008-12-17 2008-12-17 Sposób eksploatacji regeneracyjnego wymiennika ciepła i regeneracyjny wymiennik ciepła z polepszonym współczynnikiem sprawności
SI200830803T SI2199724T1 (sl) 2008-12-17 2008-12-17 Postopek za delovanje regenerativnega prenosnika toplote in regenerativni prenosnik toplote z izboljšanim izkoristkom
ZA200908902A ZA200908902B (en) 2008-12-17 2009-12-14 Method for operating a regenerative heat exchanger and regenerative heat exchanger having improved efficiency
RU2009146920/06A RU2432540C2 (ru) 2008-12-17 2009-12-16 Способ работы регенеративного теплообменника и регенеративный теплообменник с повышенным кпд
US12/641,218 US20100163208A1 (en) 2008-12-17 2009-12-17 Method For Operating A Regenerative Heat Exchanger And Regenerative Heat Exchanger Having Improved Efficiency
HRP20120880AT HRP20120880T1 (hr) 2008-12-17 2012-10-31 Postupak za rad regenerativnog izmjenjivaäśa topline i regenerativni izmjenjivaäś topline s poboljšanom uäśinkovitosti

Applications Claiming Priority (1)

Application Number Priority Date Filing Date Title
EP08021916A EP2199724B1 (de) 2008-12-17 2008-12-17 Verfahren zum Betrieb eines regenerativen Wärmetauschers und regenerativer Wärmetauscher mit verbessertem Wirkungsgrad

Publications (2)

Publication Number Publication Date
EP2199724A1 EP2199724A1 (de) 2010-06-23
EP2199724B1 true EP2199724B1 (de) 2012-08-15

Family

ID=40638070

Family Applications (1)

Application Number Title Priority Date Filing Date
EP08021916A Active EP2199724B1 (de) 2008-12-17 2008-12-17 Verfahren zum Betrieb eines regenerativen Wärmetauschers und regenerativer Wärmetauscher mit verbessertem Wirkungsgrad

Country Status (7)

Country Link
US (1) US20100163208A1 (de)
EP (1) EP2199724B1 (de)
HR (1) HRP20120880T1 (de)
PL (1) PL2199724T3 (de)
RU (1) RU2432540C2 (de)
SI (1) SI2199724T1 (de)
ZA (1) ZA200908902B (de)

Families Citing this family (9)

* Cited by examiner, † Cited by third party
Publication number Priority date Publication date Assignee Title
DE102011055678A1 (de) * 2011-11-24 2013-05-29 Technische Universität Darmstadt Kalziniervorrichtung zur Abscheidung von Kohlendioxid aus einem Feststoff
JP5713884B2 (ja) * 2011-12-22 2015-05-07 アルヴォス テクノロジー リミテッドARVOS Technology Limited 回転再生式熱交換器
US9841242B2 (en) 2013-06-21 2017-12-12 General Electric Technology Gmbh Method of air preheating for combustion power plant and systems comprising the same
DE102016011918B4 (de) * 2016-10-05 2018-05-30 Balcke-Dürr GmbH Regenerativer Wärmetauscher
RU2716639C1 (ru) * 2019-07-05 2020-03-13 Федеральное государственное унитарное предприятие "Центральный ордена Трудового Красного Знамени научно-исследовательский автомобильный и автомоторный институт "НАМИ" (ФГУП "НАМИ") Высокотемпературный вращающийся дисковый теплообменник
RU2716638C1 (ru) * 2019-07-05 2020-03-13 Федеральное государственное унитарное предприятие "Центральный ордена Трудового Красного Знамени научно-исследовательский автомобильный и автомоторный институт "НАМИ" (ФГУП "НАМИ") Способ предотвращения деформации высокотемпературного вращающегося дискового теплообменника
RU2716640C1 (ru) * 2019-07-05 2020-03-13 Федеральное государственное унитарное предприятие "Центральный ордена Трудового Красного Знамени научно-исследовательский автомобильный и автомоторный институт "НАМИ" (ФГУП "НАМИ") Силиконовые уплотнения высокотемпературного вращающегося дискового теплообменника
RU2716636C1 (ru) * 2019-07-05 2020-03-13 Федеральное государственное унитарное предприятие "Центральный ордена Трудового Красного Знамени научно-исследовательский автомобильный и автомоторный институт "НАМИ" (ФГУП "НАМИ") Способ компенсации деформации высокотемпературного вращающегося дискового теплообменника
RU202881U1 (ru) * 2020-08-11 2021-03-11 Федеральное государственное унитарное предприятие "Центральный ордена Трудового Красного Знамени научно-исследовательский автомобильный и автомоторный институт "НАМИ" (ФГУП "НАМИ") Устройство охлаждения каркаса роторного дискового теплообменника энергетической установки

Family Cites Families (6)

* Cited by examiner, † Cited by third party
Publication number Priority date Publication date Assignee Title
GB676129A (en) 1949-02-09 1952-07-23 Ljungstroms Angturbin Ab Improvements in regenerative preheaters of the rotary type
US2665120A (en) 1950-08-09 1954-01-05 Blomquist Uno Olof Regenerative heat exchanger
DE2634653C2 (de) 1976-08-02 1985-05-15 Apparatebau Rothemühle Brandt + Kritzler GmbH, 5963 Wenden Regenerativ-Wärmetauscher mit einer stationären Regenerationkammer
DE3437945A1 (de) 1984-10-17 1986-04-17 Kraftanlagen Ag, 6900 Heidelberg Verfahren und einrichtung fuer ein unterbinden des uebertritts von leckgasstroemen aus dem sektor des waermetauschenden gasstromes hoeheren druckes in denjenigen niedrigeren druckes in umlaufenden regenerativ-waermetauschern mit relativ zu den anschlusskanaelen bewegter speichermasse
DE4013484C2 (de) 1989-04-27 1998-04-30 Rothemuehle Brandt Kritzler Verfahren und Anlage zur Minderung von Schadgasemissionen bei Wärmekraftwerken
DE4230133A1 (de) 1992-09-09 1994-03-10 Rothemuehle Brandt Kritzler Regenerativ-Wärmetauscher und Verfahren zum Betreiben des Wärmetauschers

Also Published As

Publication number Publication date
RU2009146920A (ru) 2011-06-27
PL2199724T3 (pl) 2013-01-31
US20100163208A1 (en) 2010-07-01
SI2199724T1 (sl) 2012-12-31
ZA200908902B (en) 2010-09-29
HRP20120880T1 (hr) 2012-11-30
EP2199724A1 (de) 2010-06-23
RU2432540C2 (ru) 2011-10-27

Similar Documents

Publication Publication Date Title
EP2199724B1 (de) Verfahren zum Betrieb eines regenerativen Wärmetauschers und regenerativer Wärmetauscher mit verbessertem Wirkungsgrad
DE102012109878B4 (de) Trockner für eine textile Warenbahn
EP2324285B1 (de) Abhitzedampferzeuger
WO2013127924A2 (de) Gasturbinenanlage mit abgasrezirkulation
EP0666412A1 (de) Verfahren zur Kühlung von Kühlluft für eine Gasturbine
DE102013103298A1 (de) Verfahren zum Betrieb eines Festbrennstoffheizkessels
EP2622282B1 (de) Receiver für solarenergiegewinnungsanlagen
EP1660812B1 (de) Durchlaufdampferzeuger sowie verfahren zum betreiben des durchlaufdampferzeugers
DE102006060472B4 (de) Verfahren zum Betreiben einer Dampfkraftanlage mit einem kohlegefeuerten Dampferzeuger sowie eine Dampfkraftanlage
DE102008037762A1 (de) Gliederheizkessel aus Gusseisen oder Aluminium
WO2004072544A1 (de) Luftkühler für kraftwerksanlagen sowie anwendung eines solchen luftkühlers
EP0797063A2 (de) Verfahren zum Beheizen eines Industrieofens und Regenerator-Brenner-Modulsystem hierfür
DE102009015260B4 (de) Vorrichtung zur Phasenseparation eines Mehrphasen-Fluidstroms, Dampfturbinenanlage mit einer derartigen Vorrichtung und zugehöriges Betriebsverfahren
DE19926949B4 (de) Kühlungsanordnung für Schaufeln einer Gasturbine
WO2005028956A1 (de) Durchlaufdampferzeuger in liegender bauweise und verfahren zum betreiben des durchlaufdampferzeugers
EP2174060B1 (de) Dampferzeuger
DE2441706A1 (de) Heizkessel mit gusseisernen gerippten rohren
DE69103606T2 (de) Isolierung eines luftgekühlten Dampfkondensators mit Vakuum.
DE102009035674A1 (de) Wärmetauscher, Wärmetauschersystem
DE102010041130A1 (de) Halterungsvorrichtung zum Haltern von Empfängermodulen für konzentrierte Solarstrahlung in einem solarthermischen Kraftwerk und solarthermisches Kraftwerk
DE4029151C1 (de)
DE3025406A1 (de) Verfahren und vorrichtung zur waermerueckgewinnung aus abgasen
DE202015101272U1 (de) Mobile Feuerungsanlage
EP2472180A1 (de) Brennervorrichtung
WO2014111452A1 (de) Luftauslass zur konditionierung von raumluft eines raumes sowie zugehöriges verfahren

Legal Events

Date Code Title Description
PUAI Public reference made under article 153(3) epc to a published international application that has entered the european phase

Free format text: ORIGINAL CODE: 0009012

17P Request for examination filed

Effective date: 20090813

AK Designated contracting states

Kind code of ref document: A1

Designated state(s): AT BE BG CH CY CZ DE DK EE ES FI FR GB GR HR HU IE IS IT LI LT LU LV MC MT NL NO PL PT RO SE SI SK TR

AX Request for extension of the european patent

Extension state: AL BA MK RS

AKX Designation fees paid

Designated state(s): AT BE BG CH CY CZ DE DK EE ES FI FR GB GR HR HU IE IS IT LI LT LU LV MC MT NL NO PL PT RO SE SI SK TR

GRAP Despatch of communication of intention to grant a patent

Free format text: ORIGINAL CODE: EPIDOSNIGR1

GRAS Grant fee paid

Free format text: ORIGINAL CODE: EPIDOSNIGR3

GRAA (expected) grant

Free format text: ORIGINAL CODE: 0009210

AK Designated contracting states

Kind code of ref document: B1

Designated state(s): AT BE BG CH CY CZ DE DK EE ES FI FR GB GR HR HU IE IS IT LI LT LU LV MC MT NL NO PL PT RO SE SI SK TR

REG Reference to a national code

Ref country code: GB

Ref legal event code: FG4D

Free format text: NOT ENGLISH

Ref country code: CH

Ref legal event code: EP

Ref country code: AT

Ref legal event code: REF

Ref document number: 571059

Country of ref document: AT

Kind code of ref document: T

Effective date: 20120815

REG Reference to a national code

Ref country code: DE

Ref legal event code: R082

Ref document number: 502008007939

Country of ref document: DE

Representative=s name: PATENTANWAELTE LANG & TOMERIUS, DE

Ref country code: DE

Ref legal event code: R082

Ref document number: 502008007939

Country of ref document: DE

Representative=s name: LANG & TOMERIUS PATENTANWALTSPARTNERSCHFT MBB, DE

Ref country code: DE

Ref legal event code: R082

Ref document number: 502008007939

Country of ref document: DE

Representative=s name: LANG & TOMERIUS PATENTANWALTSPARTNERSCHAFT MBB, DE

REG Reference to a national code

Ref country code: IE

Ref legal event code: FG4D

Free format text: LANGUAGE OF EP DOCUMENT: GERMAN

REG Reference to a national code

Ref country code: DE

Ref legal event code: R096

Ref document number: 502008007939

Country of ref document: DE

Effective date: 20121011

REG Reference to a national code

Ref country code: HR

Ref legal event code: TUEP

Ref document number: P20120880

Country of ref document: HR

REG Reference to a national code

Ref country code: RO

Ref legal event code: EPE

REG Reference to a national code

Ref country code: NL

Ref legal event code: T3

REG Reference to a national code

Ref country code: HR

Ref legal event code: T1PR

Ref document number: P20120880

Country of ref document: HR

REG Reference to a national code

Ref country code: GR

Ref legal event code: EP

Ref document number: 20120402184

Country of ref document: GR

Effective date: 20121122

PG25 Lapsed in a contracting state [announced via postgrant information from national office to epo]

Ref country code: IS

Free format text: LAPSE BECAUSE OF FAILURE TO SUBMIT A TRANSLATION OF THE DESCRIPTION OR TO PAY THE FEE WITHIN THE PRESCRIBED TIME-LIMIT

Effective date: 20121215

Ref country code: CY

Free format text: LAPSE BECAUSE OF FAILURE TO SUBMIT A TRANSLATION OF THE DESCRIPTION OR TO PAY THE FEE WITHIN THE PRESCRIBED TIME-LIMIT

Effective date: 20120815

Ref country code: LT

Free format text: LAPSE BECAUSE OF FAILURE TO SUBMIT A TRANSLATION OF THE DESCRIPTION OR TO PAY THE FEE WITHIN THE PRESCRIBED TIME-LIMIT

Effective date: 20120815

Ref country code: NO

Free format text: LAPSE BECAUSE OF FAILURE TO SUBMIT A TRANSLATION OF THE DESCRIPTION OR TO PAY THE FEE WITHIN THE PRESCRIBED TIME-LIMIT

Effective date: 20121115

Ref country code: FI

Free format text: LAPSE BECAUSE OF FAILURE TO SUBMIT A TRANSLATION OF THE DESCRIPTION OR TO PAY THE FEE WITHIN THE PRESCRIBED TIME-LIMIT

Effective date: 20120815

REG Reference to a national code

Ref country code: PL

Ref legal event code: T3

REG Reference to a national code

Ref country code: SK

Ref legal event code: T3

Ref document number: E 12884

Country of ref document: SK

PG25 Lapsed in a contracting state [announced via postgrant information from national office to epo]

Ref country code: LV

Free format text: LAPSE BECAUSE OF FAILURE TO SUBMIT A TRANSLATION OF THE DESCRIPTION OR TO PAY THE FEE WITHIN THE PRESCRIBED TIME-LIMIT

Effective date: 20120815

Ref country code: SE

Free format text: LAPSE BECAUSE OF FAILURE TO SUBMIT A TRANSLATION OF THE DESCRIPTION OR TO PAY THE FEE WITHIN THE PRESCRIBED TIME-LIMIT

Effective date: 20120815

Ref country code: PT

Free format text: LAPSE BECAUSE OF FAILURE TO SUBMIT A TRANSLATION OF THE DESCRIPTION OR TO PAY THE FEE WITHIN THE PRESCRIBED TIME-LIMIT

Effective date: 20121217

PG25 Lapsed in a contracting state [announced via postgrant information from national office to epo]

Ref country code: EE

Free format text: LAPSE BECAUSE OF FAILURE TO SUBMIT A TRANSLATION OF THE DESCRIPTION OR TO PAY THE FEE WITHIN THE PRESCRIBED TIME-LIMIT

Effective date: 20120815

Ref country code: CZ

Free format text: LAPSE BECAUSE OF FAILURE TO SUBMIT A TRANSLATION OF THE DESCRIPTION OR TO PAY THE FEE WITHIN THE PRESCRIBED TIME-LIMIT

Effective date: 20120815

Ref country code: DK

Free format text: LAPSE BECAUSE OF FAILURE TO SUBMIT A TRANSLATION OF THE DESCRIPTION OR TO PAY THE FEE WITHIN THE PRESCRIBED TIME-LIMIT

Effective date: 20120815

Ref country code: ES

Free format text: LAPSE BECAUSE OF FAILURE TO SUBMIT A TRANSLATION OF THE DESCRIPTION OR TO PAY THE FEE WITHIN THE PRESCRIBED TIME-LIMIT

Effective date: 20121126

PLBE No opposition filed within time limit

Free format text: ORIGINAL CODE: 0009261

STAA Information on the status of an ep patent application or granted ep patent

Free format text: STATUS: NO OPPOSITION FILED WITHIN TIME LIMIT

BERE Be: lapsed

Owner name: BALCKE-DURR G.M.B.H.

Effective date: 20121231

26N No opposition filed

Effective date: 20130516

PG25 Lapsed in a contracting state [announced via postgrant information from national office to epo]

Ref country code: MC

Free format text: LAPSE BECAUSE OF NON-PAYMENT OF DUE FEES

Effective date: 20121231

REG Reference to a national code

Ref country code: CH

Ref legal event code: PL

REG Reference to a national code

Ref country code: DE

Ref legal event code: R097

Ref document number: 502008007939

Country of ref document: DE

Effective date: 20130516

REG Reference to a national code

Ref country code: FR

Ref legal event code: ST

Effective date: 20130830

PG25 Lapsed in a contracting state [announced via postgrant information from national office to epo]

Ref country code: BE

Free format text: LAPSE BECAUSE OF NON-PAYMENT OF DUE FEES

Effective date: 20121231

REG Reference to a national code

Ref country code: HU

Ref legal event code: AG4A

Ref document number: E016835

Country of ref document: HU

PG25 Lapsed in a contracting state [announced via postgrant information from national office to epo]

Ref country code: CH

Free format text: LAPSE BECAUSE OF NON-PAYMENT OF DUE FEES

Effective date: 20121231

Ref country code: LI

Free format text: LAPSE BECAUSE OF NON-PAYMENT OF DUE FEES

Effective date: 20121231

PG25 Lapsed in a contracting state [announced via postgrant information from national office to epo]

Ref country code: FR

Free format text: LAPSE BECAUSE OF NON-PAYMENT OF DUE FEES

Effective date: 20130102

Ref country code: MT

Free format text: LAPSE BECAUSE OF FAILURE TO SUBMIT A TRANSLATION OF THE DESCRIPTION OR TO PAY THE FEE WITHIN THE PRESCRIBED TIME-LIMIT

Effective date: 20120815

PG25 Lapsed in a contracting state [announced via postgrant information from national office to epo]

Ref country code: LU

Free format text: LAPSE BECAUSE OF NON-PAYMENT OF DUE FEES

Effective date: 20121217

REG Reference to a national code

Ref country code: HR

Ref legal event code: ODRP

Ref document number: P20120880

Country of ref document: HR

Payment date: 20141218

Year of fee payment: 7

PGFP Annual fee paid to national office [announced via postgrant information from national office to epo]

Ref country code: SK

Payment date: 20141218

Year of fee payment: 7

Ref country code: RO

Payment date: 20141219

Year of fee payment: 7

REG Reference to a national code

Ref country code: AT

Ref legal event code: MM01

Ref document number: 571059

Country of ref document: AT

Kind code of ref document: T

Effective date: 20131217

PGFP Annual fee paid to national office [announced via postgrant information from national office to epo]

Ref country code: SI

Payment date: 20141219

Year of fee payment: 7

Ref country code: HR

Payment date: 20141218

Year of fee payment: 7

PGFP Annual fee paid to national office [announced via postgrant information from national office to epo]

Ref country code: BG

Payment date: 20141218

Year of fee payment: 7

PG25 Lapsed in a contracting state [announced via postgrant information from national office to epo]

Ref country code: AT

Free format text: LAPSE BECAUSE OF NON-PAYMENT OF DUE FEES

Effective date: 20131217

REG Reference to a national code

Ref country code: HR

Ref legal event code: PBON

Ref document number: P20120880

Country of ref document: HR

Effective date: 20151217

PG25 Lapsed in a contracting state [announced via postgrant information from national office to epo]

Ref country code: RO

Free format text: LAPSE BECAUSE OF NON-PAYMENT OF DUE FEES

Effective date: 20151217

REG Reference to a national code

Ref country code: SK

Ref legal event code: MM4A

Ref document number: E 12884

Country of ref document: SK

Effective date: 20151217

REG Reference to a national code

Ref country code: SI

Ref legal event code: KO00

Effective date: 20160830

PG25 Lapsed in a contracting state [announced via postgrant information from national office to epo]

Ref country code: BG

Free format text: LAPSE BECAUSE OF NON-PAYMENT OF DUE FEES

Effective date: 20160930

PG25 Lapsed in a contracting state [announced via postgrant information from national office to epo]

Ref country code: SK

Free format text: LAPSE BECAUSE OF NON-PAYMENT OF DUE FEES

Effective date: 20151217

Ref country code: HR

Free format text: LAPSE BECAUSE OF NON-PAYMENT OF DUE FEES

Effective date: 20151217

Ref country code: SI

Free format text: LAPSE BECAUSE OF NON-PAYMENT OF DUE FEES

Effective date: 20151218

PG25 Lapsed in a contracting state [announced via postgrant information from national office to epo]

Ref country code: IT

Free format text: LAPSE BECAUSE OF NON-PAYMENT OF DUE FEES

Effective date: 20151217

PG25 Lapsed in a contracting state [announced via postgrant information from national office to epo]

Ref country code: IT

Free format text: LAPSE BECAUSE OF NON-PAYMENT OF DUE FEES

Effective date: 20151217

PGFP Annual fee paid to national office [announced via postgrant information from national office to epo]

Ref country code: IT

Payment date: 20161222

Year of fee payment: 9

PGRI Patent reinstated in contracting state [announced from national office to epo]

Ref country code: IT

Effective date: 20170710

PG25 Lapsed in a contracting state [announced via postgrant information from national office to epo]

Ref country code: IT

Free format text: LAPSE BECAUSE OF NON-PAYMENT OF DUE FEES

Effective date: 20171217

REG Reference to a national code

Ref country code: DE

Ref legal event code: R081

Ref document number: 502008007939

Country of ref document: DE

Owner name: HOWDEN ROTHEMUEHLE GMBH, DE

Free format text: FORMER OWNER: BALCKE DUERR GMBH, 40882 RATINGEN, DE

Ref country code: DE

Ref legal event code: R082

Ref document number: 502008007939

Country of ref document: DE

Representative=s name: LANG & TOMERIUS PATENTANWALTSPARTNERSCHAFT MBB, DE

Ref country code: DE

Ref legal event code: R081

Ref document number: 502008007939

Country of ref document: DE

Owner name: BALCKE-DUERR ROTHEMUEHLE GMBH, DE

Free format text: FORMER OWNER: BALCKE DUERR GMBH, 40882 RATINGEN, DE

REG Reference to a national code

Ref country code: NL

Ref legal event code: PD

Owner name: BALCKE-DUERR ROTHEMUEHLE GMBH; DE

Free format text: DETAILS ASSIGNMENT: CHANGE OF OWNER(S), ASSIGNMENT; FORMER OWNER NAME: BALCKE-DUERR GMBH

Effective date: 20191205

REG Reference to a national code

Ref country code: GB

Ref legal event code: 732E

Free format text: REGISTERED BETWEEN 20191212 AND 20191218

REG Reference to a national code

Ref country code: HU

Ref legal event code: FH1C

Free format text: FORMER REPRESENTATIVE(S): SIPOS JOZSEF, DANUBIA SZABADALMI ES JOGI IRODA KFT., HU

Representative=s name: DANUBIA SZABADALMI ES JOGI IRODA KFT., HU

Ref country code: HU

Ref legal event code: GB9C

Owner name: BALCKE-DUERR ROTHEMUEHLE GMBH, DE

Free format text: FORMER OWNER(S): BALCKE-DUERR GMBH, DE

REG Reference to a national code

Ref country code: NL

Ref legal event code: HC

Owner name: HOWDEN ROTHEMUEHLE GMBH; DE

Free format text: DETAILS ASSIGNMENT: CHANGE OF OWNER(S), CHANGE OF OWNER(S) NAME; FORMER OWNER NAME: BALCKE-DUERR ROTHEMUEHLE GMBH

Effective date: 20230102

REG Reference to a national code

Ref country code: DE

Ref legal event code: R081

Ref document number: 502008007939

Country of ref document: DE

Owner name: HOWDEN ROTHEMUEHLE GMBH, DE

Free format text: FORMER OWNER: BALCKE-DUERR ROTHEMUEHLE GMBH, 57462 OLPE, DE

REG Reference to a national code

Ref country code: HU

Ref legal event code: HC9C

Owner name: HOWDEN ROTHEMUEHLE GMBH, DE

Free format text: FORMER OWNER(S): BALCKE-DUERR GMBH, DE; BALCKE-DUERR ROTHEMUEHLE GMBH, DE

P01 Opt-out of the competence of the unified patent court (upc) registered

Effective date: 20230531

REG Reference to a national code

Ref country code: DE

Ref legal event code: R082

Ref document number: 502008007939

Country of ref document: DE

Representative=s name: MURGITROYD GERMANY PATENTANWALTSGESELLSCHAFT M, DE

PGFP Annual fee paid to national office [announced via postgrant information from national office to epo]

Ref country code: PL

Payment date: 20241203

Year of fee payment: 17

Ref country code: NL

Payment date: 20241226

Year of fee payment: 17

Ref country code: GR

Payment date: 20241230

Year of fee payment: 17

PGFP Annual fee paid to national office [announced via postgrant information from national office to epo]

Ref country code: GB

Payment date: 20241227

Year of fee payment: 17

PGFP Annual fee paid to national office [announced via postgrant information from national office to epo]

Ref country code: HU

Payment date: 20241209

Year of fee payment: 17

PGFP Annual fee paid to national office [announced via postgrant information from national office to epo]

Ref country code: IE

Payment date: 20241227

Year of fee payment: 17

PGFP Annual fee paid to national office [announced via postgrant information from national office to epo]

Ref country code: DE

Payment date: 20241227

Year of fee payment: 17

PGFP Annual fee paid to national office [announced via postgrant information from national office to epo]

Ref country code: TR

Payment date: 20241210

Year of fee payment: 17