EP2136141A2 - Verfahren und Vorrichtung zur Bestimmung von mindestens einer Einflussgröße eines Verbrennungsprozesses - Google Patents
Verfahren und Vorrichtung zur Bestimmung von mindestens einer Einflussgröße eines Verbrennungsprozesses Download PDFInfo
- Publication number
- EP2136141A2 EP2136141A2 EP09162880A EP09162880A EP2136141A2 EP 2136141 A2 EP2136141 A2 EP 2136141A2 EP 09162880 A EP09162880 A EP 09162880A EP 09162880 A EP09162880 A EP 09162880A EP 2136141 A2 EP2136141 A2 EP 2136141A2
- Authority
- EP
- European Patent Office
- Prior art keywords
- voltage
- frequency
- ionization
- electrodes
- determining
- Prior art date
- Legal status (The legal status is an assumption and is not a legal conclusion. Google has not performed a legal analysis and makes no representation as to the accuracy of the status listed.)
- Withdrawn
Links
- 238000002485 combustion reaction Methods 0.000 title claims abstract description 63
- 238000000034 method Methods 0.000 title claims abstract description 55
- 230000004044 response Effects 0.000 claims description 23
- 230000001419 dependent effect Effects 0.000 claims description 18
- 238000012546 transfer Methods 0.000 claims description 12
- 239000000446 fuel Substances 0.000 claims description 7
- 230000001276 controlling effect Effects 0.000 claims description 6
- 230000001105 regulatory effect Effects 0.000 claims description 6
- 238000013528 artificial neural network Methods 0.000 claims description 4
- 239000011159 matrix material Substances 0.000 claims description 4
- 239000000203 mixture Substances 0.000 claims description 3
- 238000010586 diagram Methods 0.000 description 6
- 238000005259 measurement Methods 0.000 description 6
- 238000011156 evaluation Methods 0.000 description 4
- 150000002500 ions Chemical class 0.000 description 4
- 238000013459 approach Methods 0.000 description 2
- 239000003990 capacitor Substances 0.000 description 2
- 238000001816 cooling Methods 0.000 description 2
- 230000008878 coupling Effects 0.000 description 2
- 238000010168 coupling process Methods 0.000 description 2
- 238000005859 coupling reaction Methods 0.000 description 2
- 238000010438 heat treatment Methods 0.000 description 2
- VNWKTOKETHGBQD-UHFFFAOYSA-N methane Chemical compound C VNWKTOKETHGBQD-UHFFFAOYSA-N 0.000 description 2
- 230000002123 temporal effect Effects 0.000 description 2
- 230000003321 amplification Effects 0.000 description 1
- 238000004458 analytical method Methods 0.000 description 1
- 230000008859 change Effects 0.000 description 1
- 238000006243 chemical reaction Methods 0.000 description 1
- 230000005284 excitation Effects 0.000 description 1
- 238000012986 modification Methods 0.000 description 1
- 230000004048 modification Effects 0.000 description 1
- 238000012544 monitoring process Methods 0.000 description 1
- 238000003199 nucleic acid amplification method Methods 0.000 description 1
- 230000000737 periodic effect Effects 0.000 description 1
- 230000001052 transient effect Effects 0.000 description 1
Images
Classifications
-
- F—MECHANICAL ENGINEERING; LIGHTING; HEATING; WEAPONS; BLASTING
- F23—COMBUSTION APPARATUS; COMBUSTION PROCESSES
- F23N—REGULATING OR CONTROLLING COMBUSTION
- F23N5/00—Systems for controlling combustion
- F23N5/02—Systems for controlling combustion using devices responsive to thermal changes or to thermal expansion of a medium
- F23N5/12—Systems for controlling combustion using devices responsive to thermal changes or to thermal expansion of a medium using ionisation-sensitive elements, i.e. flame rods
- F23N5/123—Systems for controlling combustion using devices responsive to thermal changes or to thermal expansion of a medium using ionisation-sensitive elements, i.e. flame rods using electronic means
-
- F—MECHANICAL ENGINEERING; LIGHTING; HEATING; WEAPONS; BLASTING
- F23—COMBUSTION APPARATUS; COMBUSTION PROCESSES
- F23N—REGULATING OR CONTROLLING COMBUSTION
- F23N2225/00—Measuring
- F23N2225/26—Measuring humidity
- F23N2225/30—Measuring humidity measuring lambda
-
- F—MECHANICAL ENGINEERING; LIGHTING; HEATING; WEAPONS; BLASTING
- F23—COMBUSTION APPARATUS; COMBUSTION PROCESSES
- F23N—REGULATING OR CONTROLLING COMBUSTION
- F23N2229/00—Flame sensors
- F23N2229/12—Flame sensors with flame rectification current detecting means
Definitions
- the present invention relates to a method and a device for determining at least one influencing variable of a combustion process.
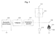
- Fig. 1 illustrates the device described in this patent.
- Two electrodes 102, 103 protrude into a flame 101 whose properties are to be determined.
- An alternating voltage U is applied at point 111.
- This is applied to the electrode 102 via a capacitive coupling element 112 to an AC voltage.
- the electrode 103 is connected to ground.
- the coupling member 112 is connected to ground via a resistor 113 so that the ionization path (the flame region between the electrode 102 and the electrode 103) is electrically connected in parallel to the resistor 113.
- a low-pass filter 122 which is connected on the output side to an evaluation device 123, is connected to the measuring electrode 102 via a voltage-impedance converter 121. With the aid of this circuit, the resistance of the ionization path between the electrode 102 and the electrode 103 can be determined. Because of this resistance conclusions can be drawn on the flame 101 and thus on the parameters of the combustion process.
- Fig. 2a shows a common in the The prior art assumed equivalent circuit diagram for this distance when there is no flame between the two electrodes. In this case, the distance is approximated by a resistance 201 which is very large, approximately infinite.
- Fig. 2b a common substitute circuit diagram adopted in the prior art illustrates that there exists a flame between the two electrodes 102 and 103. In this case, the flame can be approximated by a resistor 202 and a diode 203.
- the invention is based on the knowledge gained by the inventors for the first time that the ionization path should not be approximated by a frequency-independent resistor and a diode, as assumed in the prior art, but that the electrical behavior of the flame is more exact and further by a dipole or n-pole can be described, in particular contains frequency-dependent components to be considered.
- the inventors have found that influencing variables, such as, for example, the gas type and / or the ⁇ value, influence parameters of the frequency-dependent dipole.
- the representation can also be extended to an electric n-pole.
- the invention makes it possible to use the burner unit with flame as a frequency-dependent system in the electro-technical sense (n-pole).
- the frequency dependence can be detected and included in the determination of parameters.
- the characteristic characteristics may e.g. Poles, zeros, gain, eigenvalues or cutoff frequencies. These characteristics may be influenced by factors such as e.g. the ⁇ value. The characteristics may under certain circumstances be e.g. be obtained from a transfer function.
- the invention comprises a method for determining at least one influencing variable of a combustion process of a burner.
- the method comprises the steps of providing at least two electrodes which are arranged at a predetermined distance on an ionization path crossing the flame and at predetermined positions in the flame and at the burner (flame origin), applying a signal to the electrodes, detecting a plurality of measured values of a measured variable, which result from the signal applied to the electrodes, and determining at least one influencing variable of the combustion process from the measured values measured.
- the steps of applying a signal and acquiring several measured values are carried out such that the resulting Measurements are suitable to detect the frequency dependence of the measured variable.
- the determination of the at least one influencing variable of the combustion process then takes place from the frequency dependence of the measured variable.
- the frequency response and the step response can be used to describe the frequency dependence.
- the step response captures the time behavior of the measurand on the basis of which the influencing variable can be determined.
- the response to the applied signal is detected at different frequencies and used to determine at least one influencing variable of the combustion process.
- An essential aspect of the method according to the invention is that a statement about the ion mobility within the flame is obtained by applying an alternating voltage and a measurement at different frequencies.
- the fact is used that at different frequencies there is a different reaction (ion mobility) of the influenced ions, which is detected as a function of the frequency.
- the method includes the step of determining a characteristic characteristic that describes the frequency dependence of the measurand.
- the characteristic parameter may comprise one or more elements from the group of time constant and / or gain of a transfer function, matrix of a state space representation, characteristic of a neural network and inner circuit, wherein the inner circuit can be represented by resistors, capacitors, coils and / or diodes.
- the method may include the steps of applying a voltage to the electrodes, measuring the ionization current flowing through the ionization path due to the applied voltage, determining a characteristic that describes the frequency dependency of the ionization current based on the measured ionization current and determining at least one influence quantity the combustion process based on the characteristic parameter.
- a voltage is used as the signal and a current as a measured variable, so that a simple measuring circuit can be used.
- the method may include the steps of applying a first voltage at a first frequency to the electrodes, measuring a first ionization current resulting from the first voltage, Applying a second voltage at a second frequency to the electrodes and measuring a second ionization current resulting from the second voltage.
- the method may include the steps of applying a first and second frequency voltage to the electrodes and simultaneously measuring a first ionization current component resulting from the voltage component at the first frequency and a second ionization current component based at the second voltage Frequency results.
- the method includes the steps of applying a plurality of voltages each having a frequency to the electrodes and / or applying a voltage having a plurality of frequencies to the electrodes and measuring a plurality of ionization currents and / or ionization current components, each ionization current and / or or Ionisationsstromanteil a frequency is assigned.
- the method includes the step of determining a frequency-dependent transfer function of the ionization path based on the measured ionization currents and / or ionization current components.
- the method according to the invention may include the step of applying a voltage that is essentially a DC voltage is and performs a voltage jump at a predetermined time.
- the method may include the steps of measuring the ionization current resulting from the applied voltage and determining at least one characteristic of the ionization path based on the ionization current, wherein the at least one characteristic describes the frequency dependency of the ionization current.
- the method may include the steps of determining a step response based on the measured ionization current and determining at least one characteristic of the ionization path due to the step response.
- a first electrode is arranged so that it projects into the flame
- a second electrode is arranged so that it is located at the base of the flame or protrudes into the flame.
- determining at least one of the parameters of the combustion process determines a ⁇ -value of a fuel-air mixture or a temporal stability of the flame.
- the invention comprises a method for calibrating resources of an incineration plant with the steps of the method according to the invention for determining at least one influencing variable of a combustion process and the additional step of calibrating resources of an incineration plant based on the determined at least one influencing variable of the combustion process.
- the invention comprises a method for controlling and / or regulating a supply of the flame with fuel and air with the steps of the method according to the invention for determining at least one influencing variable of a combustion process and the step controlling and / or regulating a supply of the flame with fuel and Air based on the determined at least one parameter of the combustion process.
- the invention comprises a device for determining at least one influencing variable of a combustion process of a burner.
- the device comprises at least two electrodes which are arranged at a predetermined distance on an ionization path crossing the flame and at predetermined positions in the flame and at the burner (flame origin), means for applying a signal to the electrodes, means for detecting a plurality of measured values of a measured variable which result from the signal applied to the electrodes, and means for determining at least one influencing variable of the combustion process from the measured values measured.
- the means for applying a signal and the means for acquiring a plurality of measured values are set up such that the resulting measured values are suitable for detecting the frequency dependence of the measured variable.
- the means for determining the at least one influencing variable of the combustion process determine the at least one influencing variable from the frequency dependence of the measured variable.
- the device according to the invention can achieve the same advantages as the method according to the invention.
- the device according to the invention comprises means for determining a characteristic parameter which describes the frequency dependence of the measured variable.
- the characteristic parameter may comprise one or more elements from a group of time constants and / or amplification of a transfer function, a matrix of a state space representation, a characteristic of a neural network and internal circuitry.
- An inner circuit can be imaged, for example, by resistors, capacitors, coils and / or diodes.
- the device of the invention comprises means for applying a voltage to the electrodes, means for measuring the ionization current flowing across the ionization path due to the applied voltage, means for determining a characteristic indicia describing the frequency dependency of the ionization current based on the measured ionization current and means for determining at least one influencing variable of the combustion process on the basis of the characteristic parameter.
- the device may include means for applying a first voltage at a first frequency to the electrodes, means for measuring a first ionization current resulting from the first voltage, means for applying a second voltage at a second frequency to the electrodes, and means Measuring a second ionization current resulting from the second voltage include.
- the device according to the invention may comprise means for applying a voltage having a first and second frequency to the electrodes and means for simultaneously measuring a first portion of the ionization current due to the voltage component resulting in the first frequency, and a second Ionisationsstromanteils resulting from the voltage component with the second frequency include.
- the device of the invention comprises means for applying a plurality of voltages each having a frequency to the electrodes and / or applying a voltage having a plurality of frequencies to the electrodes and means for measuring a plurality of ionization currents and / or ionization current components, each Ionization and / or Ionisationsstromanteil a frequency is assigned.
- the apparatus of the invention may include means for determining a frequency-dependent transfer function of the ionization path based on the measured ionization currents and / or ionization current components.
- the device includes means for applying a voltage that is substantially a DC voltage and that makes a voltage jump at a predetermined time.
- the device may comprise means for measuring the ionization current, which results from the applied voltage, and means for determining at least one characteristic of the ionization path due to the ionization current, wherein the at least one characteristic describes the frequency dependence of the ionization current.
- the device according to the invention then comprises means for determining a step response based on the measured ionization current and means for determining at least one characteristic of the ionization path due to the step response.
- a first electrode is arranged so that it projects into the flame, and a second electrode is arranged so that it is located at the base of the flame or protrudes into the flame.
- the means for determining at least one parameter of the combustion process determines a ⁇ -value of a fuel-air mixture and / or a temporal stability of the flame.
- the invention comprises a device for calibrating operating means of a combustion plant with the means of the inventive device for determining at least one influencing variable of a combustion process and additionally a means for calibrating resources of a combustion plant based on the determined at least one influencing variable of the combustion process.
- the invention comprises a device for controlling and / or regulating a supply of the flame with fuel and air with the means of the inventive device for determining at least one influencing variable of a combustion process and an additional means for controlling and / or regulating a supply of the flame Fuel and air are based on the determined at least one influencing variable of the combustion process.
- the invention comprises a device for heating with a device according to the invention described above, a device for Cooling with a device according to the invention described above and a device for generating a climate with a device according to the invention described above.
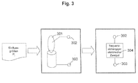
- Fig. 3 illustrates the approach of the real flame by a frequency-dependent two-pole electric or n-pole.
- An electrode 302 protrudes into the flame 301, while a second electrode 303 is located at the base of the flame.
- the electrical behavior of the Burner and the flame 301 can be represented by a two-pole or n-pole 304 containing frequency-dependent components.
- the resulting equivalent circuit is on the right side of Fig. 3 shown.
- the characteristics of the frequency-dependent electrical two-pole 304 are dependent on the influencing variables P j of the flame.
- the influencing variables P j can be, for example, a ⁇ value, a gas type or even a power.
- Fig. 4 illustrates steps of an embodiment of the method according to the invention in combination with parts of an embodiment of the device according to the invention for determining at least one influencing variable of a combustion process.
- Devices of the device are shown schematically in the figures and can be realized for example by means of a hardware circuit and / or a processor with program.
- the illustrated embodiment of the method according to the invention begins with the application of a suitable signal to the electrodes with the device for applying a signal 401.
- This signal is a step function in the present example.
- the use of a periodic signal, such as a square or sine wave signal is also possible.
- the frequency should be changed so that the change in the signal is faster than the ion mobility. This allows the frequency response to be created later over a wide frequency range.
- the frequency dependence of the two-pole between the two electrodes 302 and 303 can be determined with this signal.
- the electrode 302 protrudes into the flame 301.
- the other electrode 303 is provided at the base of the flame.
- the flame between the two electrodes are burners with flame of a gas wall device.
- the electrical behavior of the two-pole is dependent on the influencing variables P j 305.
- These influencing variables can be, for example, a ⁇ value, a gas type, a power, etc.
- Fig. 5 illustrates further steps of an embodiment of the method according to the invention in combination with parts of an embodiment of the device according to the invention for determining at least one influencing variable of a combustion process.
- the next step of the method comprises the acquisition of a plurality of measured values of a measured variable by means of the device for detecting a plurality of measured values 501.
- the measurement can take place, for example, continuously or discretely.
- the result is a measurand X 502, which is a function of the influence parameter P j 305.
- values can be considered as measured variables which were determined on the basis of the measurement of the step response or of the frequency response.
- Fig. 6 illustrates further steps of an embodiment of the method according to the invention in combination with parts of an embodiment of the device according to the invention for determining at least one influencing variable of a combustion process.
- at least one characteristic characteristic of the frequency-dependent dipole is determined by means of a corresponding device 602.
- an internal structure could be a particular order transfer function or an equivalent electrical circuit that approximates the electrical behavior of the flame.
- the characteristics of the bipole could be varied in a device with a method so be that the behavior of the two-pole of the measured variable approximates as best as possible.
- the parameters Y i determined from this represent a function of the measured quantity X, which in turn is a function of the influencing parameters P j .
- parameters for example, the time constant and gain of the transfer function in question or a state space representation. If a replacement circuit is specified as an internal structure, the parameters could also represent, for example, resistances, capacitances, inductances or diodes.
- Fig. 7 illustrates further steps of an embodiment of the method according to the invention in combination with parts of an embodiment of the device according to the invention for determining at least one influencing variable of a combustion process.
- a device for determining at least one influencing variable of the combustion process 702 uses the previously determined characteristic quantities Y i and basic data 701 as input variables and maps these to approximate values of the influencing variables Pj.
- the basic data 701 may include, for example, previously recorded parameters for known influencing variables Pj for a device or a device family. They can be stored in the form of a characteristic field in the device for determining at least one influencing variable of the combustion process 702. In this case, the characteristics Y i would be represented as a function of the known influencing variables Pj in the characteristic diagrams.
- Fig. 8 shows as a practical embodiment of the inventive method measured values of a characteristic field, which represents the step response as a function of the air ratio ⁇ at a modulation of 50%.
- a heat generator a Vitodens 200-35kW / D Hamburg was used, which is a standard device with cylinder burner and ionization. The one for flame monitoring necessary connection of the ionization electrode was used here for signal feed / ionization current measurement. The energy source used was pure methane G20. It can clearly be seen that the time dependence of the ionization current continuously changes with increasing air ratio ⁇ and can therefore be used as a measure for determining the influencing variable ⁇ of the combustion process. For example, the maximum value of the ionization current at a predetermined time can be used as the measured variable.
- the information obtained in each step may be used by a controller and / or controller, for example to control the fuel supply to the flame.
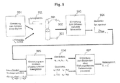
- Fig. 9 shows an embodiment of the device according to the invention and of the method according to the invention for determining at least one influencing variable of a combustion process.
- Means for applying a signal 901 generates a jump function which serves as a signal.
- As an influencing variable of the flame only the ⁇ value is considered in the illustrated example.
- the flame is generated by a gas wall device.
- the response to the jump function 904 is measured discretely by a device for acquiring several measured values of a measured variable 903.
- a device for determining a characteristic parameter 905 subsequently determines at least one characteristic variable 906 on the basis of the step response and the predefined internal structure, here as a Transfer function of certain order is specified.
- the combustion process 907 carried out an evaluation, the result of which is an approximate value of the current ⁇ value.
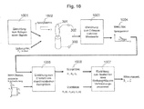
- Fig. 10 shows a further embodiment of the device according to the invention and of the method according to the invention for determining at least one influencing variable of a combustion process.
- a device for applying a signal 1001 generates a jump function 1002.
- the ⁇ value is considered.
- the flame is generated by a gas wall device.
- the response to the jump function 904 is measured discretely by a device for acquiring a plurality of measured values of a measured variable 1003.
- a device for determining a characteristic parameter 1005 determines characteristics 1006 based on the step response 1004 and the predetermined internal structure, which is represented here by an electrical characteristic Equivalent circuit is specified.
- a device for determining at least one influencing variable of the combustion process 1007 determines an approximate value of the current ⁇ value.
- Fig. 11 shows a further embodiment of the device according to the invention.
- This embodiment is similar to the embodiments described so far and differs from those in the Figures 9 and 10 shown embodiments in that the determination of the influencing variable is done directly on the basis of the measured data obtained from the time course of the step response.
- the measured data obtained from the time course of the step response.
- the maximum value of the voltage at a certain predetermined time for example, be used as a measured variable, the maximum value of the voltage at a certain predetermined time.
Landscapes
- Engineering & Computer Science (AREA)
- Chemical & Material Sciences (AREA)
- Combustion & Propulsion (AREA)
- Mechanical Engineering (AREA)
- General Engineering & Computer Science (AREA)
- Control Of Combustion (AREA)
Abstract
Description
- Die vorliegende Erfindung betrifft ein Verfahren und eine Vorrichtung zur Bestimmung von mindestens einer Einflussgröße eines Verbrennungsprozesses.
- Solche Verfahren und Vorrichtungen sind beispielsweise aus der deutschen Patentschrift
DE 44 33 425 bekannt.Fig. 1 verdeutlicht die in dieser Patentschrift beschriebene Vorrichtung. Zwei Elektroden 102, 103 ragen in eine Flamme 101, deren Eigenschaften bestimmt werden sollen. Eine Wechselspannung U wird am Punkt 111 angelegt. Damit liegt an der Elektrode 102 über ein kapazitives Koppelglied 112 eine Wechselspannung an. Die Elektrode 103 ist mit Erde verbunden. Das Koppelglied 112 ist über einen Widerstand 113 an Erde gelegt, so dass die Ionisationsstrecke (der Flammenbereich zwischen der Elektrode 102 und der Elektrode 103) elektrisch parallel zum Widerstand 113 geschaltet ist. An der Messelektrode 102 liegt über einen Spannungsimpedanzwandler 121 ein Tiefpass 122, der ausgangsseitig an eine Auswerteeinrichtung 123 angeschlossen ist. Mit Hilfe dieser Schaltung kann der Widerstand der Ionisationsstrecke zwischen der Elektrode 102 und der Elektrode 103 ermittelt werden. Aufgrund dieses Widerstandes können Rückschlüsse auf die Flamme 101 und damit auf die Einflussgrößen des Verbrennungsprozesses gezogen werden. - Aus dem Stand der Technik ist es dabei bekannt, dass die Ionisationsstrecke zwischen den beiden Elektroden 102 und 103 durch ein Ersatzschaltbild dargestellt werden kann.
Fig. 2a zeigt ein gängiges im Stand der Technik angenommenes Ersatzschaltbild für diese Strecke, wenn sich keine Flamme zwischen den beiden Elektroden befindet. In diesem Falle wird die Strecke durch einen Widerstand 201 angenähert, der sehr groß, annähernd unendlich ist.Fig. 2b hingegen illustriert ein gängiges vom Stand der Technik angenommenes Ersatzschaltbild für den Fall, dass zwischen den beiden Elektroden 102 und 103 eine Flamme existiert. Für diesen Fall kann die Flamme angenähert werden durch einen Widerstand 202 und eine Diode 203. - Basierend auf diesem Stand der Technik können Eigenschaften der Flamme 101 ermittelt und so Rückschlüsse auf die Einflussgrößen des Verbrennungsprozesses gezogen werden. Hierbei bestehen Bestrebungen, die Schaltung ständig zu verbessern, um genauere Aussagen über die Einflussgrößen des Verbrennungsprozesses treffen zu können.
- Ausgehend vom Stand der Technik ist es eine Aufgabe der vorliegenden Erfindung, eine Einflussgröße eines Verbrennungsprozesses besser oder genauer zu bestimmen oder auch die Bestimmung einer bislang nicht bestimmbaren Einflussgröße eines Verbrennungsprozesses zu ermöglichen.
- Diese Aufgabe wird gelöst durch ein Verfahren nach Anspruch 1 und eine Vorrichtung nach Anspruch 13. Vorteilhafte Ausgestaltungen der Erfindung sind in den abhängigen Ansprüchen angegeben.
- Der Erfindung liegt die erstmals durch die Erfinder gewonnene Erkenntnis zugrunde, dass die Ionisationsstrecke nicht, wie im Stand der Technik vereinfachend angenommen, durch einen frequenzunabhängigen Widerstand und eine Diode angenähert werden sollte, sondern, dass das elektrische Verhalten der Flamme exakter und weitergehender durch einen Zweipol oder n-Pol beschrieben werden kann, der insbesondere frequenzabhängige Komponenten enthält, die zu berücksichtigen sind. Dabei haben die Erfinder festgestellt, dass Einflussgrößen, wie zum Beispiel die Gasart und/oder der λ-Wert Kenngrößen des frequenzabhängigen Zweipols beeinflussen. Erfindungsgemäß kann durch Verwendung von mehreren Elektroden in der Flamme die Darstellung auch zu einem elektrischen n-Pol erweitert werden. Somit ermöglicht es die Erfindung, die Einheit B renner mit Flamme als fr e-quenzabhängiges System im elektrotechnischen Sinn (n-Pol) zu nutzen.
- Durch geeignete Signale und Auswerteverfahren/-vorrichtungen kann erfindungsgemäß die Frequenzabhängigkeit erfasst und bei der Bestimmung von Kenngrößen mit einbezogen werden. Die charakteristischen Kenngrößen können z.B. Pole, Nullstellen, Verstärkung, Eigenwerte oder Grenzfrequenzen sein. Diese Kenngrößen können von den Einflussgrößen, wie z.B. dem λ-Wert, geprägt werden. Die Kenngrößen können unter Umständen z.B. aus einer Übertragungsfunktion gewonnen werden.
- Die Erfindung umfasst ein Verfahren zur Bestimmung von mindestens einer Einflussgröße eines Verbrennungsprozesses eines Brenners. Das Verfahren umfasst die Schritte Bereitstellen von mindestens zwei Elektroden, die mit vorbestimmtem Abstand auf einer die Flamme durchquerenden Ionisationsstrecke und an vorbestimmten Positionen in der Flamme und am Brenner (Flammenursprung) angeordnet sind, Anlegen eines Signals an die Elektroden, Erfassen mehrerer Messwerte einer Messgröße, die aufgrund des an die Elektroden angelegten Signals resultieren, und Bestimmen mindestens einer Einflussgröße des Verbrennungsprozesses anhand der gemessenen Messwerte. Dabei werden die Schritte des Anlegens eines Signals und des Erfassens mehrerer Messwerte derart durchgeführt, dass die resultierenden Messwerte geeignet sind, die Frequenzabhängigkeit der Messgröße zu erfassen. Die Bestimmung der mindestens einen Einflussgröße des Verbrennungsprozesses erfolgt dann aus der Frequenzabhängigkeit der Messgröße. Zur Beschreibung der Frequenzabhängigkeit können insbesondere der Frequenzgang als auch die Sprungantwort herangezogen werden. Die Sprungantwort erfasst das Zeitverhalten der Messgröße anhand dessen die Einflussgröße bestimmt werden kann.
- Durch dieses Vorgehen wird gegenüber dem Stand der Technik mehr Information über den Verbrennungsprozess gewonnen. Diese zusätzliche Information kann dazu genutzt werden, um Einflussgrößen des Verbrennungsprozesses besser oder genauer zu bestimmen bzw. bislang nicht zugängliche Einflussgrößen zu ermitteln.
- Mit anderen Worten wird bei dem erfindungsgemäßen Verfahren und der entsprechend ausgestalteten Vorrichtung die Reaktion auf das angelegte Signal bei unterschiedlichen Frequenzen erfasst und zur Bestimmung von mindestens einer Einflussgröße des Verbrennungsprozesses herangezogen. Ein wesentlicher Aspekt des erfindungsgemäßen Verfahrens liegt dabei darin, dass durch Anlegung einer Wechselspannung und einer Messung bei verschiedenen Frequenzen eine Aussage über die Ionenbeweglichkeit innerhalb der Flamme erhalten wird. Hier wird der Umstand benutzt, dass bei verschiedenen Frequenzen eine unterschiedliche Reaktion (Ionenbeweglichkeit) der beeinflussten Ionen vorliegt, die in Abhängigkeit der Frequenz erfasst wird. Messtechnisch ist es dabei möglich, direkt Messungen bei unterschiedlichen Frequenzen durchzuführen. Alternativ ist es jedoch auch möglich, das Frequenzverhalten über die Sprungantwort zu untersuchen, da aus elektrotechnischer Sicht ein Sprung alle Frequenzanregungen umfasst, wobei dann eine Auswertung der Frequenzabhängigkeit über Fourier-Analyse zugänglich ist.
- In einigen Ausführungsformen umfasst das Verfahren den Schritt Ermitteln einer charakteristischen Kenngröße, die die Frequenzabhängigkeit der Messgröße beschreibt. Dabei kann die charakteristische Kenngröße ein oder mehrere Elemente umfassen aus der Gruppe von Zeitkonstante und/oder Verstärkung einer Übertragungsfunktion, Matrix einer Zustandsraumdarstellung, Kenngröße eines neuronalen Netzes und innere Schaltung, wobei die innere Schaltung zum Beispiel dargestellt werden kann durch Widerstände, Kondensatoren, Spulen und/oder Dioden.
- Aufgrund der charakteristischen Kenngröße, die die Frequenzabhängigkeit der Messgröße beschreibt, ist es möglich, in einem weiteren Schritt aus der Kenngröße eine Einflussgröße des Verbrennungsprozesses zu bestimmen.
- In einigen Ausführungsformen kann das Verfahren die Schritte umfassen Anlegen einer Spannung an die Elektroden, Messen des Ionisationsstroms, der aufgrund der angelegten Spannung über die Ionisationsstrecke fließt, Ermitteln einer charakteristischen Kenngröße, die die Frequenzabhängigkeit des Ionisationsstroms beschreibt aufgrund des gemessenen Ionisationsstroms und Bestimmen mindestens einer Einflussgröße des Verbrennungsprozesses anhand der charakteristischen Kenngröße.
- In diesem Falle wird als Signal eine Spannung und als Messgröße ein Strom verwendet, so dass eine einfache Messschaltung verwendet werden kann.
- Das Verfahren kann die Schritte umfassen Anlegen einer ersten Spannung mit einer ersten Frequenz an die Elektroden, Messen eines ersten Ionisationsstroms, der aufgrund der ersten Spannung resultiert, Anlegen einer zweiten Spannung mit einer zweiten Frequenz an die Elektroden und Messen eines zweiten Ionisationsstroms, der aufgrund der zweiten Spannung resultiert.
- Alternativ oder zusätzlich kann das Verfahren die Schritte umfassen Anlegen einer Spannung mit einer ersten und zweiten Frequenz an die Elektroden und gleichzeitiges Messen eines ersten Ionisationsstromanteils, der aufgrund des Spannungsanteils mit der ersten Frequenz resultiert, und eines zweiten Ionisationsstromanteils, der aufgrund des Spannungsanteils mit der zweiten Frequenz resultiert.
- In einigen Ausführungsformen umfasst das Verfahren die Schritte Anlegen einer Vielzahl von Spannungen mit jeweils einer Frequenz an die Elektroden und/oder Anlegen einer Spannung mit einer Vielzahl von Frequenzen an die Elektroden und Messen einer Vielzahl von Ionisationsströmen und/oder Ionisationsstromanteilen, wobei jeder Ionisationsstrom und/oder Ionisationsstromanteil einer Frequenz zugeordnet wird.
- Mithilfe dieser Schritte werden Informationen über die Ionisationsstrecke bei verschiedenen Frequenzen ermittelt. Diese können anschließend verwendet werden, um eine Einflussgröße des Verbrennungsprozesses zu bestimmen.
- In einigen Ausführungsformen umfasst das Verfahren den Schritt Ermitteln einer frequenzabhängigen Übertragungsfunktion der Ionisationsstrecke aufgrund der gemessenen Ionisationsströme und/oder Ionisationsstromanteile.
- Weiterhin kann das erfindungsgemäße Verfahren den Schritt umfassen Anlegen einer Spannung, die im Wesentlichen eine Gleichspannung ist und zu einem vorbestimmten Zeitpunkt einen Spannungssprung ausführt. Hierbei kann das Verfahren die Schritte umfassen Messen des Ionisationsstroms, der aufgrund der angelegten Spannung resultiert, und Ermitteln mindestens einer Kenngröße der Ionisationsstrecke aufgrund des Ionisationsstroms, wobei die mindestens eine Kenngröße die Frequenzabhängigkeit des Ionisationsstroms beschreibt. Weiterhin kann das Verfahren die Schritte umfassen Ermitteln einer Sprungantwort aufgrund des gemessenen Ionisationsstroms und Ermitteln mindestens einer Kenngröße der Ionisationsstrecke aufgrund der Sprungantwort.
- Auf diese Weise wird aus dem Einschwingverhalten des Zweipols bzw. des n-Pols in Reaktion auf einen Spannungssprung zusätzliche Information über die Ionisationsstrecke gewonnen.
- Vorzugsweise ist eine erste Elektrode so angeordnet, dass sie in die Flamme ragt, und eine zweite Elektrode ist so angeordnet, dass sie sich am Fußpunkt der Flamme befindet oder in die Flamme ragt.
- In einigen Ausführungsformen wird durch den Schritt Bestimmen mindestens einer Einflussgröße des Verbrennungsprozesses ein λ-Wert eines Brennstoff-Luft-Gemisches oder eine zeitliche Stabilität der Flamme bestimmt.
- Weiterhin umfasst die Erfindung ein Verfahren zum Kalibrieren von Betriebsmitteln einer Verbrennungsanlage mit den Schritten des erfindungsgemäßen Verfahrens zur Bestimmung von mindestens einer Einflussgröße eines Verbrennungsprozesses und dem zusätzlichen Schritt Kalibrieren von Betriebsmitteln einer Verbrennungsanlage basierend auf der bestimmten mindestens einen Einflussgröße des Verbrennungsprozesses.
- Darüber hinaus umfasst die Erfindung ein Verfahren zum Steuern und/oder Regeln einer Versorgung der Flamme mit Brennstoff und Luft mit den Schritten des erfindungsgemäßen Verfahrens zur Bestimmung von mindestens einer Einflussgröße eines Verbrennungsprozesses und dem Schritt Steuern und/oder Regeln einer Versorgung der Flamme mit Brennstoff und Luft basierend auf der bestimmten mindestens einen Einflussgröße des Verbrennungsprozesses.
- Darüber hinaus umfasst die Erfindung eine Vorrichtung zur Bestimmung von mindestens einer Einflussgröße eines Verbrennungsprozesses eines Brenners. Erfindungsgemäß umfasst die Vorrichtung mindestens zwei Elektroden, die mit vorbestimmtem Abstand auf einer die Flamme durchquerenden Ionisationsstrecke und an vorbestimmten Positionen in der Flamme und am Brenner (Flammenursprung) angeordnet sind, Mittel zum Anlegen eines Signals an die Elektroden, Mittel zum Erfassen mehrerer Messwerte einer Messgröße, die aufgrund des an die Elektroden angelegten Signals resultieren, und Mittel zum Bestimmen mindestens einer Einflussgröße des Verbrennungsprozesses anhand der gemessenen Messwerte. Dabei sind die Mittel zum Anlegen eines Signals und die Mittel zum Erfassen mehrerer Messwerte derart eingerichtet, dass die resultierenden Messwerte geeignet sind, die Frequenzabhängigkeit der Messgröße zu erfassen. Die Mittel zum Bestimmen der mindestens einen Einflussgröße des Verbrennungsprozesses bestimmen die mindestens eine Einflussgröße aus der Frequenzabhängigkeit der Messgröße.
- Die erfindungsgemäße Vorrichtung kann dieselben Vorteile erreichen wie das erfindungsgemäße Verfahren.
- In einigen Ausführungsformen umfasst die erfindungsgemäße Vorrichtung Mittel zum Ermitteln einer charakteristischen Kenngröße, die die Frequenzabhängigkeit der Messgröße beschreibt. Die charakteristische Kenngröße kann dabei ein oder mehrere Elemente umfassen aus einer Gruppe von Zeitkonstante und/oder Verstärkung einer Übertragungsfunktion, Matrix einer Zustandsraumdarstellung, Kenngröße eines neuronalen Netzes und innere Schaltung. Eine innere Schaltung kann dabei beispielsweise durch Widerstände, Kondensatoren, Spulen und/oder Dioden abgebildet werden.
- In einigen Ausführungsformen umfasst die erfindungsgemäße Vorrichtung Mittel zum Anlegen einer Spannung an die Elektroden, Mittel zum Messen des Ionisationsstroms, der aufgrund der angelegten Spannung über die Ionisationsstrecke fließt, Mittel zum Ermitteln einer charakteristischen Kenngröße, die die Frequenzabhängigkeit des Ionisationsstroms beschreibt, aufgrund des gemessenen Ionisationsstroms und Mittel zum Bestimmen mindestens einer Einflussgröße des Verbrennungsprozesses anhand der charakteristischen Kenngröße.
- In einigen Ausführungsformen kann die Vorrichtung Mittel zum Anlegen einer ersten Spannung mit einer ersten Frequenz an die Elektroden, Mittel zum Messen eines ersten Ionisationsstroms, der aufgrund der ersten Spannung resultiert, Mittel zum Anlegen einer zweiten Spannung mit einer zweiten Frequenz an die Elektroden und Mittel zu Messen eines zweiten Ionisationsstroms, der aufgrund der zweiten Spannung resultiert, umfassen.
- Alternativ oder zusätzlich kann die erfindungsgemäße Vorrichtung Mittel zum Anlegen einer Spannung mit einer ersten und zweiten Frequenz an die Elektroden und Mittel zum gleichzeitigen Messen eines ersten Ionisationsstromanteils, der aufgrund des Spannungsanteils mit der ersten Frequenz resultiert, und eines zweiten Ionisationsstromanteils, der aufgrund des Spannungsanteils mit der zweiten Frequenz resultiert, umfassen.
- In einigen Ausführungsformen umfasst die erfindungsgemäße Vorrichtung Mittel zum Anlegen einer Vielzahl von Spannungen mit jeweils einer Frequenz an die Elektroden und/oder Anlegen einer Spannung mit einer Vielzahl von Frequenzen an die Elektroden und Mittel zum Messen einer Vielzahl von Ionisationsströmen und/oder Ionisationsstromanteilen, wobei jeder Ionisationsstrom und/oder Ionisationsstromanteil einer Frequenz zugeordnet wird.
- In einigen Ausführungsformen kann die erfindungsgemäße Vorrichtung Mittel zum Ermitteln einer frequenzabhängigen Übertragungsfunktion der Ionisationsstrecke aufgrund der gemessen Ionisationsströme und/oder Ionisationsstromanteile umfassen.
- In einigen Ausführungsformen umfasst die Vorrichtung Mittel zum Anlegen einer Spannung, die im Wesentlichen eine Gleichspannung ist und zu einem vorbestimmten Zeitpunkt einen Spannungssprung ausführt. Dabei kann die Vorrichtung Mittel zum Messen des Ionisationsstroms, der aufgrund der angelegten Spannung resultiert, und Mittel zum Ermitteln mindestens einer Kenngröße der Ionisationsstrecke aufgrund des Ionisationsstroms umfassen, wobei die mindestens eine Kenngröße die Frequenzabhängigkeit des Ionisationsstroms beschreibt. Vorzugsweise umfasst die erfindungsgemäße Vorrichtung dann Mittel zum Ermitteln einer Sprungantwort aufgrund des gemessenen Ionisationsstroms und Mittel zum Ermitteln mindestens einer Kenngröße der Ionisationsstrecke aufgrund der Sprungantwort. Vorzugsweise ist eine erste Elektrode so angeordnet, dass sie in die Flamme ragt, und eine zweite Elektrode ist so angeordnet, dass sie sich am Fußpunkt der Flamme befindet oder in die Flamme ragt.
- In einigen Ausführungsformen bestimmen die Mittel zum Bestimmen mindestens einer Einflussgröße des Verbrennungsprozesses einen λ-Wert eines Brennstoff-Luft-Gemisches und/oder eine zeitliche Stabilität der Flamme.
- Weiterhin umfasst die Erfindung eine Vorrichtung zum Kalibrieren von Betriebsmitteln einer Verbrennungsanlage mit den Mitteln der erfindungsgemäßen Vorrichtung zur Bestimmung von mindestens einer Einflussgröße eines Verbrennungsprozesses und zusätzlich einem Mittel zum Kalibrieren von Betriebsmitteln einer Verbrennungsanlage basierend auf der bestimmten mindestens einen Einflussgröße des Verbrennungsprozesses.
- Darüber hinaus umfasst die Erfindung eine Vorrichtung zum Steuern und/oder Regeln einer Versorgung der Flamme mit Brennstoff und Luft mit den Mitteln der erfindungsgemäßen Vorrichtung zur Bestimmung von mindestens einer Einflussgröße eines Verbrennungsprozesses und einem zusätzlichen Mittel zum Steuern und/oder Regeln einer Versorgung der Flamme mit Brennstoff und Luft basieren auf der bestimmten mindestens einen Einflussgröße des Verbrennungsprozesses.
- Die beschriebenen Vorrichtungen können insbesondere vorteilhaft in Vorrichtungen zum Heizen, Vorrichtungen zum Kühlen und/oder Vorrichtungen zum Erzeugen eines Klimas eingesetzt werden. Daher umfasst die Erfindung eine Vorrichtung zum Heizen mit einer oben beschriebenen erfindungsgemäßen Vorrichtung, eine Vorrichtung zum Kühlen mit einer oben beschriebenen erfindungsgemäßen Vorrichtung und eine Vorrichtung zum Erzeugen eines Klimas mit einer oben beschriebenen erfindungsgemäßen Vorrichtung.
- Vorteilhafte Ausgestaltungen und weitere Details der vorliegenden Erfindung werden im Folgenden anhand verschiedener Ausführungsbeispiele mit Bezug auf die Figuren beschrieben.
-
Fig. 1 zeigt eine Vorrichtung zur Bestimmung von mindestens einer Einflussgröße eines Verbrennungsprozesses nach dem Stand der Technik. -
Fig. 2a zeigt ein Ersatzschaltbild nach dem Stand der Technik für die Ionisationsstrecke in Abwesenheit einer Flamme. -
Fig. 2b zeigt ein Ersatzschaltbild für die Ionisationsstrecke nach dem Stand der Technik, wenn die Flamme brennt. -
Fig. 3 illustriert die Annäherung der realen Flamme durch einen frequenzabhängigen elektrischen Zweipol (n-Pol). -
Fig. 4 illustriert Schritte einer Ausführungsform des erfindungsgemäßen Verfahrens in Kombination mit Teilen einer Ausführungsform der erfindungsgemäßen Vorrichtung zur Bestimmung von mindestens einer Einflussgröße eines Verbrennungsprozesses. -
Fig. 5 illustriert weitere Schritte einer Ausführungsform des erfindungsgemäßen Verfahrens in Kombination mit Teilen einer Ausführungsform der erfindungsgemäßen Vorrichtung zur Bestimmung von mindestens einer Einflussgröße eines Verbrennungsprozesses. -
Fig. 6 illustriert weitere Schritte einer Ausführungsform des erfindungsgemäßen Verfahrens in Kombination mit Teilen einer Ausführungsform der erfindungsgemäßen Vorrichtung zur Bestimmung von mindestens einer Einflussgröße eines Verbrennungsprozesses. -
Fig. 7 illustriert weitere Schritte einer Ausführungsform des erfindungsgemäßen Verfahrens in Kombination mit Teilen einer Ausführungsform der erfindungsgemäßen Vorrichtung zur Bestimmung von mindestens einer Einflussgröße eines Verbrennungsprozesses. -
Fig. 8 zeigt ein Beispiel eines Kennlinienfeldes. -
Fig. 9 zeigt eine Ausführungsform der erfindungsgemäßen Vorrichtung und des erfindungsgemäßen Verfahrens zur Bestimmung von mindestens einer Einflussgröße eines Verbrennungsprozesses unter Verwendung einer Übertragungsfunktion als innere Struktur des frequenzabhängigen Zweipols. -
Fig. 10 zeigt eine Ausführungsform der erfindungsgemäßen Vorrichtung und des erfindungsgemäßen Verfahrens zur Bestimmung von mindestens einer Einflussgröße eines Verbrennungsprozesses unter Verwendung einer elektrischen Ersatzschaltung als innere Struktur des frequenzabhängigen Zweipols. -
Fig. 11 zeigt eine weitere Ausführungsform der erfindungsgemäßen Vorrichtung. -
Fig. 3 illustriert die Annäherung der realen Flamme durch einen frequenzabhängigen elektrischen Zweipol bzw. n-Pol. Eine Elektrode 302 ragt in die Flamme 301 hinein, während eine zweite Elektrode 303 am Fußpunkt der Flamme angeordnet ist. Das elektrische Verhalten des Brenners und der Flamme 301 kann durch einen Zweipol bzw. n-Pol 304 dargestellt werden, der frequenzabhängige Komponenten enthält. Das daraus resultierende Ersatzschaltbild ist auf der rechten Seite vonFig. 3 dargestellt. Die Kenngrößen des frequenzabhängigen elektrischen Zweipols 304 sind abhängig von den Einflussgrößen Pj der Flamme. Bei Verwendung von mehreren Elektroden in der Flamme wird die Darstellung zu einem n-Pol erweitert. Die Einflussgrößen Pj können beispielsweise ein λ-Wert, eine Gasart oder auch eine Leistung sein. -
Fig. 4 illustriert Schritte einer Ausführungsform des erfindungsgemäßen Verfahrens in Kombination mit Teilen einer Ausführungsform der erfindungsgemäßen Vorrichtung zur Bestimmung von mindestens einer Einflussgröße eines Verbrennungsprozesses. Einrichtungen der Vorrichtung sind in den Figuren schematisch dargestellt und können beispielsweise mithilfe einer Hardware-Schaltung und/oder eines Prozessors mit Programm realisiert werden. - Die gezeigte Ausführungsform des erfindungsgemäßen Verfahrens beginnt mit dem Anlegen eines geeigneten Signals an die Elektroden mit der Einrichtung zum Anlegen eines Signals 401. Dieses Signal ist im vorliegenden Beispiel eine Sprungfunktion. Die Verwendung eines periodischen Signals, wie z.B. einem Rechteck- oder Sinussignal, ist jedoch auch möglich. Vorzugsweise sollte die Frequenz so weit verändert werden, dass die Änderung des Signals schneller als die Ionenbeweglichkeit ist. Dies ermöglicht, dass der Frequenzgang später über einen weiten Frequenzbereich erstellt werden kann. Mit diesem Signal kann somit die Frequenzabhängigkeit des Zweipols zwischen den beiden Elektroden 302 und 303 ermittelt werden. Dabei ragt die Elektrode 302 in die Flamme 301 hinein. Die andere Elektrode 303 wird am Fußpunkt der Flamme bereitgestellt. Die Flamme zwischen den beiden Elektroden ist in diesem Beispiel ein Brenner mit Flamme eines Gaswandgerätes. Das elektrische Verhalten des Zweipols ist von den Einflussgrößen Pj 305 abhängig. Diese Einflussgrößen können beispielsweise ein λ-Wert, eine Gasart, eine Leistung etc. sein.
-
Fig. 5 illustriert weitere Schritte einer Ausführungsform des erfindungsgemäßen Verfahrens in Kombination mit Teilen einer Ausführungsform der erfindungsgemäßen Vorrichtung zur Bestimmung von mindestens einer Einflussgröße eines Verbrennungsprozesses. Nachdem der frequenzabhängige Zweipol inFig. 4 mit einem Signal angeregt wurde, umfasst der nächste Schritt des Verfahrens das Erfassen mehrerer Messwerte einer Messgröße mithilfe der Einrichtung zum Erfassen mehrerer Messwerte 501. Die Messung kann hierbei zum Beispiel kontinuierlich oder zeitdiskret ablaufen. Das Ergebnis ist eine Messgröße X 502, die eine Funktion der Einflussparameter Pj 305 ist. Als Messgrößen kommen beispielsweise Werte in Frage, die anhand der Messung der Sprungantwort oder auch des Frequenzgangs ermittelt wurden. -
Fig. 6 illustriert weitere Schritte einer Ausführungsform des erfindungsgemäßen Verfahrens in Kombination mit Teilen einer Ausführungsform der erfindungsgemäßen Vorrichtung zur Bestimmung von mindestens einer Einflussgröße eines Verbrennungsprozesses. Aufbauend auf der Messgröße X ausFig. 5 und der Vorgabe einer inneren Struktur des frequenzabhängigen Zweipols 601 wird mindestens eine charakteristische Kenngröße des frequenzabhängigen Zweipols mit Hilfe einer entsprechenden Einrichtung 602 ermittelt. Eine innere Struktur könnte beispielsweise eine Übertragungsfunktion mit bestimmter Ordnung oder eine elektrische Ersatzschaltung sein, die das elektrische Verhalten der Flamme annähert. Danach könnten die Kenngrößen des Zweipols in einer Vorrichtung mit einem Verfahren so variiert werden, dass das Verhalten des Zweipols der Messgröße bestmöglich angenähert wird. Die daraus ermittelten Kenngrößen Yi stellen dabei eine Funktion der Messgröße X dar, die wiederum eine Funktion der Einflussparameter Pj ist. Als Kenngrößen kommen zum Beispiel die Zeitkonstante und Verstärkung der Übertragungsfunktion in Frage oder aber eine Zustandsraumdarstellung. Bei Vorgabe einer Ersatzschaltung als innere Struktur könnten die Kenngrößen beispielsweise auch Widerstände, Kapazitäten, Induktivitäten oder Dioden darstellen. -
Fig. 7 illustriert weitere Schritte einer Ausführungsform des erfindungsgemäßen Verfahrens in Kombination mit Teilen einer Ausführungsform der erfindungsgemäßen Vorrichtung zur Bestimmung von mindestens einer Einflussgröße eines Verbrennungsprozesses. Eine Einrichtung zum Bestimmen mindestens einer Einflussgröße des Verbrennungsprozesses 702 verwendet als Eingangsgrößen die zuvor ermittelten Kenngrößen Yi sowie Grunddaten 701 und bildet diese auf Näherungswerte der Einflussgrößen P̃j ab. Die Grunddaten 701 können dabei zum Beispiel zuvor aufgezeichnete Kenngrößen bei bekannten Einflussgrößen Pj für ein Gerät oder eine Gerätefamilie beinhalten. Sie können in Form eines Kennlinienfeldes in der Einrichtung zum Bestimmen mindestens einer Einflussgröße des Verbrennungsprozesses 702 hinterlegt sein. Dabei wären in den Kennlinienfeldern die Kenngrößen Yi in Abhängigkeit der bekannte Einflussgrößen Pj dargestellt. -
Fig. 8 zeigt als praktisches Ausführungsbeispiel für das erfindungsgemässe Verfahren Messwerte eines Kennlinienfeldes, das die Sprungantwort in Abhängigkeit der Luftverhältniszahl λ bei einer Modulation von 50% darstellt. Als Wärmeerzeuger kam ein Vitodens 200- 35kW/D Hamburg zum Einsatz, bei dem es sich um ein Seriengerät mit Zylinderbrenner und Ionisationselektrode handelt. Der für die Flammenüberwachung notwendige Anschluss der Ionisationselektrode wurde hier zur Signaleinspeisung/Ionisationsstrommessung benutzt. Als Energieträger wurde reines Methan G20 verwendet. Deutlich ist zu erkennen, dass sich die Zeitabhängigkeit des Ionisationsstroms mit steigender Luftverhältniszahl λ kontinuierlich ändert und daher als Maß für eine Bestimmung der Einflussgröße λ, des Verbrennungsprozesses herangezogen werden kann. Als Messgröße kann dabei beispielsweise der Maximalwert des Ionisationsstroms bei einer vorbestimmten Zeit verwendet werden. - Die Informationen, die in den einzelnen Schritten gewonnen werden, können durch eine Steuerung und/oder Regelung verwendet werden, um beispielsweise die Brennstoffzufuhr zur Flamme zu steuern.
-
Fig. 9 zeigt eine Ausführungsform der erfindungsgemäßen Vorrichtung und des erfindungsgemäßen Verfahrens zur Bestimmung von mindestens einer Einflussgröße eines Verbrennungsprozesses. Eine Einrichtung zum Anlegen eines Signals 901 erzeugt eine Sprungfunktion, die als Signal dient. Als Einflussgröße der Flamme wird im dargestellten Beispiel lediglich der λ-Wert in Betracht gezogen. Die Flamme wird durch ein Gaswandgerät erzeugt. Im nächsten Verfahrensschritt wird die Antwort auf die Sprungfunktion 904 diskret gemessen durch eine Einrichtung zum Erfassen mehrerer Messwerte einer Messgröße 903. Eine Einrichtung zum Ermitteln einer charakteristischen Kenngröße 905 ermittelt anschließend mindestens eine Kenngrößen 906 aufgrund der Sprungantwort und der vorgegebenen inneren Struktur, die hier als eine Übertragungsfunktion bestimmter Ordnung angegeben ist. Mithilfe der Kenngrößen und zuvor aufgezeichneter Grunddaten wird durch eine Einrichtung zum Bestimmen mindestens einer Einflussgröße des Verbrennungsprozesses 907 eine Auswertung durchgeführt, deren Ergebnis ein Näherungswert des aktuellen λ-Wertes ist. -
Fig. 10 zeigt eine weitere Ausführungsform der erfindungsgemäßen Vorrichtung und des erfindungsgemäßen Verfahrens zur Bestimmungvon mindestens einer Einflussgröße eines Verbrennungsprozesses . Eine Einrichtung zum Anlegen eines Signals 1001 erzeugt eine Sprungfunktion 1002. Als Einflussgröße der Flamme wird der λ-Wert in Betracht gezogen. Die Flamme wird durch ein Gaswandgerät erzeugt. Im nächsten Verfahrensschritt wird die Antwort auf die Sprungfunktion 904 diskret gemessen durch eine Einrichtung zum Erfassen mehrerer Messwerte einer Messgröße 1003. Eine Einrichtung zum Ermitteln einer charakteristischen Kenngröße 1005 ermittelt anschließend Kenngrößen 1006 aufgrund der Sprungantwort 1004 und der vorgegebenen inneren Struktur, die hier durch eine elektrische Ersatzschaltung angegeben ist. Mithilfe der Kenngrößen und zuvor aufgezeichneten Grunddaten ermittelt eine Einrichtung zum Bestimmen mindestens einer Einflussgröße des Verbrennungsprozesses 1007 einen Näherungswert des aktuellen λ-Wertes. -
Fig. 11 zeigt ein weiteres Ausführungsbeispiel der erfindungsgemäßen Vorrichtung. Dieses Ausführungsbeispiel ist ähnlich zu den bislang beschriebenen Ausführungsbeispielen aufgebaut und unterscheidet sich von den in denFiguren 9 und10 gezeigten Ausführungsbeispielen dadurch, dass die Bestimmung der Einflussgröße direkt anhand der Messdaten erfolgt, die aus dem Zeitverlauf der Sprungantwort gewonnen wurden. Dabei kann beispielsweise als Messgröße der Maximalwert der Spannung bei einer bestimmten vorgegebenen Zeit herangezogen werden. - Die Beschreibung der Ausführungsformen und der Figuren dient lediglich zur Verdeutlichung des Erfindungsgedankens und ist nicht in einem beschränkenden Sinne zu verstehen. Verschiedene Modifikationen können an diesen Ausführungsformen vorgenommen werden, ohne vom Schutzumfang der angehängten Patentansprüche abzuweichen. Die dargestellten Merkmale können in veränderter Weise miteinander kombiniert werden, um so Ausführungsformen bereitzustellen, die für einen bestimmten Anwendungszweck optimiert sind. Soweit diese Änderungen für einen Fachmann ohne weiteres ersichtlich sind, sollen sie mit den obigen Ausführungsbeispielen als offenbart gelten.
Claims (15)
- Verfahren zur Bestimmung von mindestens einer Einflussgröße eines Verbrennungsprozesses eines Brenners mit den Schritten- Bereitstellen von mindestens zwei Elektroden, die mit vorbestimmten Abstand auf einer die Flamme durchquerenden Ionisationsstrecke und an vorbestimmten Positionen in der Flamme und am Brenner angeordnet sind,- Anlegen eines Signals an die Elektroden,- Erfassen mehrerer Messwerte einer Messgröße, die aufgrund des an die Elektroden angelegten Signals resultieren, und- Bestimmen mindestens einer Einflussgröße des Verbrennungsprozesses anhand der gemessenen Messwerte,
dadurch gekennzeichnet, dass- die Schritte des Anlegens eines Signals und des Erfassens mehrerer Messwerte derart durchgeführt werden, dass die resultierenden Messwerte geeignet sind, die Frequenzabhängigkeit der Messgröße zu erfassen, und- die Bestimmung der mindestens einen Einflussgröße des Verbrennungsprozesses aus der Frequenzabhängigkeit der Messgröße erfolgt. - Verfahren nach Anspruch 1, gekennzeichnet durch den Schritt
Ermitteln einer charakteristischen Kenngröße, die die Frequenzabhängigkeit der Messgröße beschreibt, wobei
die charakteristische Kenngröße mindestens ein Element umfasst aus der Gruppe von Zeitkonstante und/oder Verstärkung einer Übertragungsfunktion, Matrix einer Zustandsraumdarstellung, Kenngröße eines neuronalen Netzes und innere Schaltung. - Verfahren nach zumindest einem der vorhergehenden Ansprüche mit den Schritten- Anlegen einer Spannung an die Elektroden,- Messen des Ionisationsstroms, der aufgrund der angelegten Spannung über die Ionisationsstrecke fließt,- Ermitteln einer charakteristischen Kenngröße, die die Frequenzabhängigkeit des Ionisationsstroms beschreibt, aufgrund des gemessenen Ionisationsstroms und- Bestimmen mindestens einer Einflussgröße des Verbrennungsprozesses anhand der charakteristischen Kenngröße.
- Verfahren nach zumindest einem der vorhergehenden Ansprüche, gekennzeichnet durch die Schritte- Anlegen einer ersten Spannung mit einer ersten Frequenz an die Elektroden,- Messen eines ersten Ionisationsstroms, der aufgrund der ersten Spannung resultiert,- Anlegen einer zweiten Spannung mit einer zweiten Frequenz an die Elektroden und- Messen eines zweiten Ionisationsstroms, der aufgrund der zweiten Spannung resultiert.
- Verfahren nach zumindest einem der vorhergehenden Ansprüche, gekennzeichnet durch die Schritte- Anlegen einer Spannung mit einer ersten und zweiten Frequenz an die Elektroden und- gleichzeitiges Messen eines ersten Ionisationsstromanteils, der aufgrund des Spannungsanteils mit der ersten Frequenz resultiert, und eines zweiten Ionisationsstromanteils, der aufgrund des Spannungsanteils mit der zweiten Frequenz resultiert.
- Verfahren nach zumindest einem der vorhergehenden Ansprüche, gekennzeichnet durch die Schritte- Anlegen einer Vielzahl von Spannungen mit jeweils einer Frequenz an die Elektroden und/oder Anlegen einer Spannung mit einer Vielzahl von Frequenzen an die Elektroden und- Messen einer Vielzahl von Ionisationsströmen und/oder Ionisationsstromanteilen, wobei jeder Ionisationsstrom und/oder Ionisationsstromanteil einer Frequenz zugeordnet wird.
- Verfahren nach zumindest einem der vorhergehenden Ansprüche, gekennzeichnet durch den Schritt Ermitteln einer frequenzabhängigen Übertragungsfunktion der Ionisationsstrecke aufgrund der gemessenen Ionisationsströme und/oder Ionisationsstromanteile.
- Verfahren nach zumindest einem der vorhergehenden Ansprüche, gekennzeichnet durch den Schritt Anlegen einer Spannung, die im Wesentlichen eine Gleichspannung ist und zu einem vorbestimmten Zeitpunkt einen Spannungssprung ausführt.
- Verfahren nach Anspruch 8, gekennzeichnet durch die Schritte- Messen des Ionisationsstroms, der aufgrund der angelegten Spannung resultiert,- Ermitteln mindestens einer Kenngröße der Ionisationsstrecke aufgrund des Ionisationsstroms, wobei die mindestens eine Kenngröße die Frequenzabhängigkeit des Ionisationsstroms beschreibt,- Ermitteln einer Sprungantwort aufgrund des gemessenen Ionisationsstroms und- Ermitteln mindestens einer Kenngröße der Ionisationsstrecke aufgrund der Sprungantwort.
- Verfahren nach zumindest einem der vorhergehenden Ansprüche, dadurch gekennzeichnet, dass durch den Schritt Bestimmen mindestens einer Einflussgröße des Verbrennungsprozesses ein λ-Wert eines Brennstoff-Luft-Gemisches bestimmt wird.
- Verfahren zum Kalibrieren von Betriebsmitteln einer Verbrennungsanlage mit den Schritten des Verfahrens nach zumindest einem der vorhergehenden Ansprüche und dem Schritt Kalibrieren von Betriebsmitteln einer Verbrennungsanlage basierend auf der bestimmten mindestens einen Einflussgröße des Verbrennungsprozesses.
- Verfahren zum Steuern und/oder Regeln einer Versorgung der Flamme mit Brennstoff und Luft mit den Schritten des Verfahrens nach zumindest einem der vorhergehenden Ansprüche und dem Schritt Steuern und/oder Regeln einer Versorgung der Flamme mit Brennstoff und Luft basierend auf der bestimmten mindestens einen Einflussgröße des Verbrennungsprozesses.
- Vorrichtung zur Bestimmung von mindestens einer Einflussgröße eines Verbrennungsprozesses eines Brenners umfassend- mindestens zwei Elektroden, die mit vorbestimmten Abstand auf einer die Flamme durchquerenden Ionisationsstrecke und an vorbestimmten Positionen in der Flamme und am Brenner angeordnet sind,- Mittel zum Anlegen eines Signals an die Elektroden,- Mittel zum Erfassen mehrerer Messwerte einer Messgröße, die aufgrund des an die Elektroden angelegten Signals resultieren, und- Mittel zum Bestimmen mindestens einer Einflussgröße des Verbrennungsprozesses anhand der gemessenen Messwerte,
dadurch gekennzeichnet, dass- die Mittel zum Anlegens eines Signals und die Mittel zum Erfassen mehrerer Messwerte derart eingerichtet sind, dass die resultierenden Messwerte geeignet sind, die Frequenzabhängigkeit der Messgröße zu erfassen, und- die Mittel zum Bestimmen der mindestens einen Einflussgröße des Verbrennungsprozesses die mindestens eine Einflussgröße aus der Frequenzabhängigkeit der Messgröße bestimmen. - Vorrichtung nach Anspruch 13, gekennzeichnet durch Mittel zum Ermitteln einer charakteristischen Kenngröße, die die Frequenzabhängigkeit der Messgröße beschreibt, umfassend mindestens ein Element aus der Gruppe Zeitkonstante und/oder Verstärkung einer Übertragungsfunktion, Matrix einer Zustandsraumdarstellung, Kenngröße eines neuronalen Netzes und innere Schaltung.
- Vorrichtung nach zumindest einem der Ansprüche 13 oder 14 umfassend ausgewählte Mittel aus der Gruppe- Mittel zum Anlegen einer Spannung an die Elektroden,- Mittel zum Messen des Ionisationsstroms, der aufgrund der angelegten Spannung über die Ionisationsstrecke fließt,- Mittel zum Ermitteln einer charakteristischen Kenngröße, die die Frequenzabhängigkeit des Ionisationsstroms beschreibt, aufgrund des gemessenen Ionisationsstroms und- Mittel zum Bestimmen mindestens einer Einflussgröße des Verbrennungsprozesses anhand der charakteristischen Kenngröße, und/oder- Mittel zum Anlegen einer ersten Spannung mit einer ersten Frequenz an die Elektroden,- Mittel zum Messen eines ersten Ionisationsstroms, der aufgrund der ersten Spannung resultiert,- Mittel zum Anlegen einer zweiten Spannung mit einer zweiten Frequenz an die Elektroden und- Mittel zum Messen eines zweiten Ionisationsstroms, der aufgrund der zweiten Spannung resultiert, und/ oder- Mittel zum Anlegen einer Spannung mit einer ersten und zweiten Frequenz an die Elektroden und- Mittel zum gleichzeitigen Messen eines ersten Ionisationsstromanteils, der aufgrund des Spannungsanteils mit der ersten Frequenz resultiert, und eines zweiten Ionisationsstromanteils, der aufgrund des Spannungsanteils mit der zweiten Frequenz resultiert, und/ oder- Mittel zum Anlegen einer Vielzahl von Spannungen mit jeweils einer Frequenz an die Elektroden und/oder Anlegen einer Spannung mit einer Vielzahl von Frequenzen an die Elektroden und- Mittel zum Messen einer Vielzahl von Ionisationsströmen und/oder Ionisationsstromanteilen, wobei jeder Ionisationsstrom und/oder Ionisationsstromanteil einer Frequenz zugeordnet wird.
Applications Claiming Priority (1)
| Application Number | Priority Date | Filing Date | Title |
|---|---|---|---|
| DE102008028423A DE102008028423B4 (de) | 2008-06-17 | 2008-06-17 | Verfahren und Vorrichtung zur Bestimmung von mindestens einer Einflussgröße eines Verbrennungsprozesses |
Publications (2)
| Publication Number | Publication Date |
|---|---|
| EP2136141A2 true EP2136141A2 (de) | 2009-12-23 |
| EP2136141A3 EP2136141A3 (de) | 2017-09-20 |
Family
ID=41066177
Family Applications (1)
| Application Number | Title | Priority Date | Filing Date |
|---|---|---|---|
| EP09162880.0A Withdrawn EP2136141A3 (de) | 2008-06-17 | 2009-06-16 | Verfahren und Vorrichtung zur Bestimmung von mindestens einer Einflussgröße eines Verbrennungsprozesses |
Country Status (2)
| Country | Link |
|---|---|
| EP (1) | EP2136141A3 (de) |
| DE (1) | DE102008028423B4 (de) |
Cited By (2)
| Publication number | Priority date | Publication date | Assignee | Title |
|---|---|---|---|---|
| US20140248566A1 (en) * | 2013-03-04 | 2014-09-04 | Clearsign Combustion Corporation | Combustion system including one or more flame anchoring electrodes and related methods |
| DE102019107367A1 (de) * | 2019-03-22 | 2020-09-24 | Vaillant Gmbh | Verfahren zum Prüfen des Vorhandenseins einer Rückschlagklappe in einer Heizungsanlage |
Citations (1)
| Publication number | Priority date | Publication date | Assignee | Title |
|---|---|---|---|---|
| DE4433425A1 (de) | 1994-09-20 | 1996-03-21 | Stiebel Eltron Gmbh & Co Kg | Regeleinrichtung zum Einstellen eines Gas-Verbrennungsluft-Gemisches bei einem Gasbrenner |
Family Cites Families (9)
| Publication number | Priority date | Publication date | Assignee | Title |
|---|---|---|---|---|
| DE1274781B (de) * | 1965-11-01 | 1968-08-08 | Exxon Research Engineering Co | Verfahren und Vorrichtung zur Verbesserung des Verbrennungswirkungsgrades bei Brennern |
| US3551908A (en) * | 1967-12-26 | 1970-12-29 | Combustion Eng | Flame detector |
| DE19839160B4 (de) * | 1998-08-28 | 2004-12-23 | Stiebel Eltron Gmbh & Co. Kg | Verfahren und Schaltung zur Regelung eines Gasbrenners |
| DE19947181B4 (de) * | 1999-10-01 | 2005-03-17 | Gaswärme-Institut eV | Verfahren zur Bestimmung eines für die aktuelle Luftzahl repräsentativen Signals |
| DE10137683C2 (de) * | 2001-08-01 | 2003-05-28 | Siemens Ag | Verfahren und Vorrichtung zur Beeinflussung von Verbrennungsvorgängen bei Brennstoffen |
| DE10220773A1 (de) * | 2002-05-10 | 2003-11-20 | Bosch Gmbh Robert | Verfahren und Einrichtung zur Regelung eines Verbrennungsprozesses, insbesondere eines Brenners |
| DE102004061300B3 (de) * | 2004-12-20 | 2006-07-13 | Siemens Ag | Verfahren und Vorrichtung zur Beeinflussung von Verbrennungsvorgängen |
| EP1741979A1 (de) * | 2005-07-05 | 2007-01-10 | Betronic Design B.V. | Flammenüberwachungssystem |
| PL1906092T3 (pl) * | 2006-09-30 | 2014-11-28 | Powitec Intelligent Tech Gmbh | Sposób regulacji procesu spalania |
-
2008
- 2008-06-17 DE DE102008028423A patent/DE102008028423B4/de not_active Expired - Fee Related
-
2009
- 2009-06-16 EP EP09162880.0A patent/EP2136141A3/de not_active Withdrawn
Patent Citations (1)
| Publication number | Priority date | Publication date | Assignee | Title |
|---|---|---|---|---|
| DE4433425A1 (de) | 1994-09-20 | 1996-03-21 | Stiebel Eltron Gmbh & Co Kg | Regeleinrichtung zum Einstellen eines Gas-Verbrennungsluft-Gemisches bei einem Gasbrenner |
Cited By (3)
| Publication number | Priority date | Publication date | Assignee | Title |
|---|---|---|---|---|
| US20140248566A1 (en) * | 2013-03-04 | 2014-09-04 | Clearsign Combustion Corporation | Combustion system including one or more flame anchoring electrodes and related methods |
| US9696034B2 (en) * | 2013-03-04 | 2017-07-04 | Clearsign Combustion Corporation | Combustion system including one or more flame anchoring electrodes and related methods |
| DE102019107367A1 (de) * | 2019-03-22 | 2020-09-24 | Vaillant Gmbh | Verfahren zum Prüfen des Vorhandenseins einer Rückschlagklappe in einer Heizungsanlage |
Also Published As
| Publication number | Publication date |
|---|---|
| EP2136141A3 (de) | 2017-09-20 |
| DE102008028423B4 (de) | 2012-02-09 |
| DE102008028423A1 (de) | 2009-12-24 |
Similar Documents
| Publication | Publication Date | Title |
|---|---|---|
| DE102004061300B3 (de) | Verfahren und Vorrichtung zur Beeinflussung von Verbrennungsvorgängen | |
| EP1616174B1 (de) | Verfahren zum betreiben eines gassensors | |
| DE102007046483A1 (de) | Schaltungsanordnung zur Überwachung einer elektrischen Isolation | |
| WO2009074193A1 (de) | Vorrichtung und verfahren zur erzeugung eines definierten ladungspulses zur ausführung einer teilentladungsmessung | |
| CH694996A5 (de) | Verfahren zu Ueberpruefen eines elektromagnetischen Durchflussmessers und elektromagnetische Durchflussmesseranordnung. | |
| DE102017100264A1 (de) | Vorrichtung und Verfahren zur in situ Kalibrierung eines Thermometers | |
| EP3204782B1 (de) | Verfahren zum ermitteln von kenngroessen eines teilentladungsvorgangs | |
| DE102013213458B4 (de) | Verfahren zur Messung der Konzentration einer Gaskomponente in einem Messgas | |
| DE102008028423B4 (de) | Verfahren und Vorrichtung zur Bestimmung von mindestens einer Einflussgröße eines Verbrennungsprozesses | |
| DE102013219678A1 (de) | Verfahren und Vorrichtung zum Ermitteln eines Fremdobjekts in einem Raumbereich | |
| EP0989784B1 (de) | Schaltung sowie Kalibrierungs- und Betriebsverfahren eines PWM-Schaltnetzteils für Niedervoltlampen | |
| DE102010063546A1 (de) | Leitungssucher | |
| EP3825610B1 (de) | Verfahren und vorrichtung zur messung des lambda-wertes in einem fossil befeuerten brenner, insbesondere für eine heizungs- und/oder brauchwasseranlage | |
| EP3374696B1 (de) | Verfahren und vorrichtung zur flammensignalerfassung | |
| EP4616212A1 (de) | Verfahren und vorrichtung zur bestimmung von kapazität, innenwiderstand und leerlaufspannungskurve einer batterie | |
| WO2023001543A1 (de) | Vorrichtung und verfahren zur zuordnung eines phasenanschlusses eines elektrischen gerätes zu einem damit verbundenen phasenleiter | |
| DE112014002160B4 (de) | Modul mit passiver Messsignalrückführung über Ladungsspeicher | |
| DE19714575B4 (de) | Verfahren zur Bewertung der Netzrückwirkung von einem Prüfling auf ein elektrisches Netz sowie Vorrichtung zur Durchführung des Verfahrens | |
| WO2023083513A1 (de) | Verfahren zum ermitteln einer zusammensetzung einer stoffprobe, detektor, steuereinheit und computerprogrammprodukt | |
| DE10025656B4 (de) | Schaltungsanordnung zum Bestimmen des Ionenstroms in der Brennkammer einer Brennkraftmaschine | |
| DE102022201447A1 (de) | Verfahren zum Prüfen der elektromagnetischen Verträglichkeit eines Prüflings mit einer Prüfvorrichtung, Prüfvorrichtung | |
| WO2004010157A1 (de) | Verfahren zum messen eines physikalischen/chemischen betriebsparameters für ein untersuchungssystem | |
| DE102021118406A1 (de) | Brennervorrichtung und Verfahren zum Betrieb einer Brennervorrichtung | |
| DE102018211100A1 (de) | Verfahren und Vorrichtung zum Erkennen von Objekten | |
| DE102018212863A1 (de) | Sensoranordnung zur Erfassung von Partikeln eines Messgases in einem Messgasraum und Verfahren zur Erfassung von Partikeln eines Messgases in einem Messgasraum |
Legal Events
| Date | Code | Title | Description |
|---|---|---|---|
| PUAI | Public reference made under article 153(3) epc to a published international application that has entered the european phase |
Free format text: ORIGINAL CODE: 0009012 |
|
| AK | Designated contracting states |
Kind code of ref document: A2 Designated state(s): AT BE BG CH CY CZ DE DK EE ES FI FR GB GR HR HU IE IS IT LI LT LU LV MC MK MT NL NO PL PT RO SE SI SK TR |
|
| PUAL | Search report despatched |
Free format text: ORIGINAL CODE: 0009013 |
|
| AK | Designated contracting states |
Kind code of ref document: A3 Designated state(s): AT BE BG CH CY CZ DE DK EE ES FI FR GB GR HR HU IE IS IT LI LT LU LV MC MK MT NL NO PL PT RO SE SI SK TR |
|
| AX | Request for extension of the european patent |
Extension state: AL BA RS |
|
| RIC1 | Information provided on ipc code assigned before grant |
Ipc: F23N 5/12 20060101AFI20170811BHEP |
|
| 17P | Request for examination filed |
Effective date: 20180320 |
|
| STAA | Information on the status of an ep patent application or granted ep patent |
Free format text: STATUS: THE APPLICATION IS DEEMED TO BE WITHDRAWN |
|
| 18D | Application deemed to be withdrawn |
Effective date: 20180321 |