EP2101305B1 - Traffic information communication system, on-board communication device, and mobile terminal - Google Patents
Traffic information communication system, on-board communication device, and mobile terminal Download PDFInfo
- Publication number
- EP2101305B1 EP2101305B1 EP09001169.3A EP09001169A EP2101305B1 EP 2101305 B1 EP2101305 B1 EP 2101305B1 EP 09001169 A EP09001169 A EP 09001169A EP 2101305 B1 EP2101305 B1 EP 2101305B1
- Authority
- EP
- European Patent Office
- Prior art keywords
- vehicle
- information
- watched
- unit
- communication device
- Prior art date
- Legal status (The legal status is an assumption and is not a legal conclusion. Google has not performed a legal analysis and makes no representation as to the accuracy of the status listed.)
- Ceased
Links
- 230000006854 communication Effects 0.000 title claims description 259
- 238000004891 communication Methods 0.000 title claims description 257
- 230000005540 biological transmission Effects 0.000 claims description 137
- 230000010365 information processing Effects 0.000 claims description 7
- 230000007423 decrease Effects 0.000 claims description 3
- 238000000034 method Methods 0.000 description 96
- 238000012545 processing Methods 0.000 description 23
- 238000001514 detection method Methods 0.000 description 16
- 238000010276 construction Methods 0.000 description 14
- 238000010586 diagram Methods 0.000 description 14
- 238000005516 engineering process Methods 0.000 description 6
- 230000001133 acceleration Effects 0.000 description 5
- 230000006866 deterioration Effects 0.000 description 3
- 230000033001 locomotion Effects 0.000 description 2
- 230000002093 peripheral effect Effects 0.000 description 2
- 101100172132 Mus musculus Eif3a gene Proteins 0.000 description 1
- 206010039203 Road traffic accident Diseases 0.000 description 1
- 239000008272 agar Substances 0.000 description 1
- 238000013459 approach Methods 0.000 description 1
- 230000036772 blood pressure Effects 0.000 description 1
- 230000003247 decreasing effect Effects 0.000 description 1
- 238000012986 modification Methods 0.000 description 1
- 230000004048 modification Effects 0.000 description 1
- 230000003252 repetitive effect Effects 0.000 description 1
Images
Classifications
-
- G—PHYSICS
- G08—SIGNALLING
- G08G—TRAFFIC CONTROL SYSTEMS
- G08G1/00—Traffic control systems for road vehicles
- G08G1/16—Anti-collision systems
- G08G1/161—Decentralised systems, e.g. inter-vehicle communication
Definitions
- the present invention relates to a traffic information communication system, and particularly to, technologies that perform radio communication between a road and a vehicle, between vehicles, and between a person and a vehicle using a radio communication device installed on the road, a radio communication device equipped in a vehicle, and a radio device equipped in a mobile terminal.
- JP-A-H11(1999)-195196 or JP-A-2004-220143 relate to the invention described above.
- JP-A-H11(1990)-195196 discloses a technology regarding an on-board information providing device that obtains peripheral information of its own vehicle and notifies the information to a driver by using an inter-vehicle communication means.
- JP-A-2004-220143 discloses a technology regarding an on-board communication device determining a degree of danger from the location information of a specific vehicle and pedestrian GPS (Global Positioning System) information received from a radio communication device carried by a pedestrian using a GPS receiver to notify a driver of possible danger, wherein the radio communication device also determines a degree of danger from the location information of a specific pedestrian and GPS information of a vehicle received from the on-board communication device using the GPS receiver to notify the pedestrian of possible danger.
- GPS Global Positioning System
- JP-A-H11(1990)-19519 transmits and receives vehicle drive information including vehicle drive location information between its own vehicle and other vehicles running around the vehicle using an on-board communication device equipped in a vehicle to notify location information of peripheral vehicles to a driver.
- an on-board communication device equipped in a vehicle to notify location information of peripheral vehicles to a driver.
- the concentration of traffic may cause a delay in a notifying process from a vehicle that is positioned at a location dangerous to its own vehicle due to data coming from other vehicles. This may result in a difficulty to notify the danger to the driver at an appropriate timing.
- JP-A-2004-220143 is directed to a radio communication system that carries out direct radio communication between an on-board communication device equipped in a vehicle and a pedestrian portable radio communication device carried by a pedestrian.
- the pedestrian portable radio communication device calculates a relative distance between a vehicle and a pedestrian from GPS information of the pedestrian that is received from a GPS unit equipped in the pedestrian portable radio communication device and GPS information of the vehicle that is received from the vehicle and, if the calculated result shows any danger, notifies it to the pedestrian.
- US 2005/0073438 A1 discloses a conventional traffic communication system which forms the basis of the preamble of the present independent claims.
- an on-board unit that may notify a driver at appropriate timing of vehicle drive information from a vehicle dangerous to its own vehicle even in a case where there are a number of vehicles near its own vehicle within a radio communication system that performs radio communication of road traffic information, vehicle drive information, and location information of a pedestrian by using road-to-vehicle communication, inter-vehicle communication, and person-to-vehicle communication.
- the portable radio communication device used for radio communications between a vehicle and a pedestrian notifies a pedestrian of only the inevitable danger information, such as information on an approaching vehicle, among the received vehicle drive information, and this enables to provide an inter-vehicle or person-to-vehicle communication system that may reduce processing loads of the portable radio device.
- a traffic information communication system in which an on-board communication device equipped in a vehicle and a mobile terminal carried by a pedestrian perform radio communication, wherein the on-board communication device includes a navigation unit that obtains at least location information of its own vehicle equipped with the on-board communication device and vehicle drive information including a vehicle ID identifying the on-board communication device, and a communication device unit that broadcasts the vehicle drive information obtained by the navigation unit at a predetermined frequency and outputs vehicle drive information received from an on-board communication device of another vehicle or pedestrian information received from the mobile terminal to the navigation unit, and the navigation unit adds under-detection-of-a-to-be-watched-vehicle information that detects a vehicle ID of a to-be-watched vehicle as a to-be-watched vehicle to vehicle drive information of its own vehicle and transmits the information in the case of detecting a vehicle that may affect the drive safety of its own vehicle from the vehicle drive information received by the on-board communication device or the pedestrian information.
- the navigation unit of the on-board communication device adds information that detects a vehicle ID of a to-be-watched vehicle as a to-be-watched vehicle to the vehicle drive information of its own vehicle and transmits the information in the case of detecting the other vehicle approaching in a traveling direction of its own vehicle from the vehicle drive information received by the communication device unit of the on-board communication device.
- an on-board communication device of the other vehicle or mobile terminal that receives the under-detection-of-a-to-be-watched-vehicle information performs at least one of operations that a transmission frequency of the own-transmitted vehicle drive information or pedestrian information increases and transmission power of the vehicle drive information or pedestrian information increases in a case where the to-be-watched vehicle ID or to-be-watched terminal ID included in the received under-detection-of-a-to-be-watched-vehicle information is identical to its vehicle ID or terminal ID.
- the on-board communication device of the other vehicle or mobile terminal that receives the under-de-tection-of-a-to-be-watched-vehicle information includes an output unit outputting information that it is a to-be-watched vehicle or to-be-watched pedestrian and notifying a driver or pedestrian in a case where the received to-be-watched vehicle ID or to-be-watched terminal ID is identical to its vehicle ID or terminal ID.
- the on-board communication device of the other vehicle or mobile terminal that receives the under-detection-of-a-to-be-watched-vehicle information reduces the transmission frequency of the own-transmitted vehicle drive information or pedestrian information transmitted from the on-board communication device in a case where the received to-be-watched vehicle ID or to-be-watched terminal ID is not identical to its vehicle ID or terminal ID.
- the disclosed traffic information communication system further includes a roadside communication device on a road, wherein the on-board communication device transmits information that detects a to-be-watched vehicle to the roadside communication device in the case of detecting a vehicle or pedestrian that may affect the drive safety of its own vehicle from the drive information or pedestrian information received by the on-board communication device while receiving road information wirelessly transmitted from the roadside communication device.
- the roadside communication that receives the under-detection-of-a-to-be-watched-vehicle information decreases the transmission frequency in a case where transmission priority of currently transmitted road information is lower than transmission frequency of the under-detection-of-a-to-be-watched-vehicle information.
- the on-board communication device includes a navigation unit that obtains at least location information of its own vehicle equipped with the on-board communication device and vehicle drive information including a vehicle ID specifying the communication device, and a communication device unit that broadcasts the vehicle drive information obtained by the navigation unit at a predetermined frequency and outputs vehicle drive information received from an on-board communication device of another vehicle to the navigation unit, wherein the navigation unit adds under-detection-of-a-to-be-watched-vehicle information that detects a vehicle ID of a to-be-watched vehicle as a to-be-watched vehicle to vehicle drive information of its own vehicle and transmits the information in the case of detecting a vehicle that may affect the drive safety of its own vehicle from the vehicle drive information received by the on-board communication device.
- the navigation unit adds information that detects a vehicle ID of a to-be-watched vehicle as a to-be-watched vehicle to the vehicle drive information of its own vehicle and transmits the information in the case of detecting the other vehicle approaching in a drive direction of its own vehicle from the vehicle drive information received by the communication device unit.
- an on-board communication device of the other vehicle that receives the under-detection-of-a-to-be-watched-vehicle information performs at least one of operations that a transmission frequency of the own-transmitted vehicle drive information increases and transmission power of the vehicle drive information increases in a case where the to-be-watched vehicle ID included in the received under-detection-of-a-to-be-watched-vehicle information is identical to its vehicle ID.
- the on-board communication device of the other vehicle that receives the under-detection-of-a-to-be-watched-vehicle information includes an output device outputting information that it is a to-be-watched vehicle and notifying a driver in a case where the received to-be-watched vehicle ID is identical to its vehicle ID.
- the on-board communication device of the other vehicle that receives the under-detection-of-a-to-be-watched-vehicle information reduces the transmission frequency of the own-transmitted vehicle drive information in a case where the received to-be-watched vehicle ID is not identical to its vehicle ID.
- the mobile terminal carried by a pedestrian to transmit pedestrian information of the pedestrian to a vehicle driving around the pedestrian.
- the mobile terminal includes a location information obtaining unit that obtains pedestrian information of the pedestrian carrying the mobile terminal; an inter-vehicle radio communication unit that transmits the pedestrian information obtained by the location information obtaining unit at a predetermined transmission frequency while vehicle drive information is received from an on-board communication device equipped in a vehicle and receives vehicle drive information from the on-board communication device of the vehicle; and a vehicle information processing unit that increases the transmission frequency of the pedestrian information in a case where a terminal ID of a to-be-watched terminal included in the received vehicle drive information is identical to the terminal ID of the own mobile terminal.
- the present invention may stop communication of unnecessary information with respect to road-to-vehicle, inter-vehicle, and person-to-vehicle communications that notify warning information to a driver or pedestrian for traffic safety in comparison with the prior art, and this enables to provide an on-board communication device and a portable communication device such as a mobile terminal that notify the driver or pedestrian at appropriate timing of danger at a appropriate timing. Furthermore, the present invention may reduce power consumption of the portable communication device such as a mobile terminal carried by the pedestrian.
- driver attention information is displayed on a navigation device display unit, and the vehicle ID (Identification) of the detected vehicle is added to its own vehicle transmission information to be transmitted.
- Fig. 1 is a block diagram illustrating a construction of an on-board unit in a traffic information communication system according to an exemplary embodiment of the present invention.
- the reference numeral "400” refers to its own vehicle, and "401" refers to a vehicle A.
- the reference numeral "100” refers to a navigation unit equipped with a navigation function that guides a driver to a destination
- "101” refers to a navigation control unit that performs a control process of each unit included in the navigation unit 100
- "102” refers to an output unit, such as a speaker that output voice information or a monitor that displays image information
- "103” refers to an input unit that enables the driver to perform an input operation, such as setup of a destination, to the navigation unit 100.
- the reference numeral "200" refers to a communication device unit that wirelessly communicates vehicle driver information that represents a vehicle driving conditions with the vehicle A401
- “201” refers to a radio communication unit that transmits vehicle drive information of its own vehicle and receives vehicle drive information from the vehicle A401 that runs around its own vehicle 400
- "202” refers to an antenna that is used for transmission and reception of radio data from the radio communication unit 201
- "203” refers to a communication control unit that performs transmission and reception of data between the communication device unit 200 and the navigation unit 100.
- the reference numeral “300” refers to an on-board communication unit (an on-board unit) that includes the navigation unit 100 and the communication device unit 200.
- the vehicle A401 which drives near its own vehicle 400, is equipped with the on-board communication unit 300 to perform transmission and reception of vehicle drive information.
- the vehicle drive information that is communicated by the communication device unit 200 includes, for example, its own vehicle ID, a drive location, a speed, a drive direction, a brake, and an accelerator state. Detailed descriptions will be given with reference to Figs. 5A and 5B .
- the navigation control unit 101 performs a process of guiding a driver to a designated destination by input information inputted from the input unit 103.
- road information from the current location of its own vehicle 400 up to the destination is searched to display path information of driving road on the output unit 102.
- the drive location of its own vehicle is pinpointed on the map displayed on the output unit 102 during drive and driving guide information is outputted by a voice through the output unit 102 to guide the driver up to the destination.
- Vehicle drive information received from the on-board communication unit 300 equipped in the other vehicle A401 received via the communication control unit 203 is analyzed to display the analyzed information on the output unit 102.
- the output unit 102 may include a display that displays various types of information such as map information or traffic congestion information that is outputted by the navigation control unit 101 or a speaker that audibly outputs route guide information that is outputted by the navigation control unit 101 under the control of the navigation control unit 101. It should be noted that the output unit 102 is not limited to a device or apparatus for displaying images, or a device or apparatus for outputting voice information, and may include other devices or apparatuses that provide information to a driver, operator, or manipulator. For example, the output unit 102 may include a vibrating device or apparatus that makes a notification of attention or warning information by vibration.
- the input unit 103 is an operation unit for entering predetermined processing operation requests or various types of information necessary for the driver to set up a destination, for which its own vehicle 400 is heading, to the navigation unit 100 and this includes an input operation panel (keyboards, touch panels, etc.).
- the various types of information entered by the driver through the input unit 103 are outputted to the navigation control unit 101.
- the input unit 103 is not limited to a device or apparatus used as the input operation panel, or a device or apparatus of outputting voice information, and may include other devices or apparatuses that are operated and inputted according to a driver's, an operator's, or a manipulator's intentions, operations, or variation of biological information.
- the input unit 103 may include a device or apparatus of detecting the sightline, motions of an eye, a face, direction of a head, a slope, an angle, rotation, motion, biological information including a pulse, blood pressure, etc. to perform an input process.
- Fig. 2 is a block diagram illustrating an exemplary construction of the navigation control unit 101 shown in Fig. 1 .
- the reference numeral "1011" refers to an acceleration sensor that detect the vehicle speed
- “1012” refers to a GPS (Global Positioning System) that obtains information on a place or location of a vehicle
- “1013” refers to a gyro that detects the traveling direction of a vehicle
- “1014" refers to a map information recording unit that records map information for displaying a current place or destination
- “1015" refers to a vehicle information acquisition unit that acquires vehicle drive information on a driving conditions
- “1016” refers to other vehicle drive information storing unit that stores vehicle drive information on a driving conditions that is received from other vehicles
- “1017” refers to a control unit that controls the navigation unit 100.
- the acceleration sensor 1011 detects the speed of its own vehicle 400 and simultaneously outputs an electrical signal representing the detected speed to the control unit 1017.
- the GPS 1012 obtains current location information of its own vehicle 400 and simultaneously outputs the obtained current location information of its own vehicle 400 to the control unit 1017 by communicating with plural GPS satellites.
- the gyro 1013 detects the traveling direction of its own vehicle 400 and simultaneously outputs the detected traveling direction of its own vehicle 400 to the control unit 1017.
- the map information recording unit 1014 records map information for displaying the current location or destination of its own vehicle 400 to the output unit 102 under the control of the control unit 1017.
- the map information recording unit 1014 outputs designated map information in response to a request from the control unit 1017.
- the vehicle information acquisition unit 1015 obtains and outputs an operation state of its own vehicle 400 such as a drive speed, rotational number or torque of an engine, brake, accelerator state, and the like in response to a request from the control unit 1017.
- the control unit 1017 performs each process to be described later in response to a request or various types of information inputted from the input unit 103.
- the control unit 1017 acquires a vehicular speed detection signal from the acceleration sensor 1011, a current location information of its own vehicle 400 from the GPS 1012, and traveling direction information of its own vehicle 400 from the gyro 1013, reads map information on surroundings of a drive position of its own vehicle among the map information recorded in the map information recording unit 1014, and displays a drive location of its own vehicle on the output unit 102.
- the rotational number or torque of the engine may be adapted to be obtained based on a control signal processed by a control system of the engine or a detection signal detected upon control.
- the control unit 1017 calculates a drive path from the current location up to the destination to perform a guiding process up to the destination along the designated route by output of a voice or image. Further, the communication device unit 200 (the communication control unit 203 and the radio communication unit 201) analyzes vehicle drive information received from other vehicles and outputs information on vehicles driving around to the output unit 102.
- Fig. 3 is a block diagram illustrating an exemplary construction of the radio communication unit 201 included in the on-board unit shown in Fig. 1 .
- the reference numeral "2011” refers to a transmission unit that performs a transmission process of data in response to a request from a radio communication processing unit 2014
- “2012” refers to a reception unit that receives data from the antenna 202
- "2013” refers to a switch that switches between a transmission process and a reception process
- “2014” refers to the radio communication processing unit that performs a switching process of the switch 2013 and input/output of data to the transmission unit 2011, the reception unit 2012, and the communication control unit 203.
- the radio communication processing unit 2014 checks a usage situation of surrounding radio transmission channels upon receiving a data transmission request from the communication control unit 203, and, if no channels are used, sets up transmission data to the transmission unit 2011 so that the switch 2013 switches to the transmission unit 2011 side to perform data transmission. If any channels are used, the radio communication processing unit 2014 holds transmission to avoid collisions of transmission data and performs a transmission process only after it is confirmed that the channels are not used any more.
- This access control method for radio communications is called CSMA/CA (Carrier Sense Multiple Access with Collision Avoidance) and has been standardized in IEEE802.11 as an access control scheme for MAC (Media Access Control) layers of wireless LANs (Local Area Networks).
- CSMA/CA Carrier Sense Multiple Access with Collision Avoidance
- IEEE802.11 an access control scheme for MAC (Media Access Control) layers of wireless LANs (Local Area Networks).
- the switch 2013 switches into the reception unit 2012 side. Further, in a case where data is received to the reception unit 2012, the data is transmitted to the communication control unit 203 through the radio communication processing unit 2014.
- Fig. 4 is a block diagram illustrating an exemplary construction of the communication control unit 203 included in the on-board unit shown in Fig. 1 .
- the reference numeral "2031" refers to a navigation interface unit that inputs and outputs data to/from the navigation control unit 101 of the navigation unit 100
- "2032” refers to a communication control processing unit that performs an input/output control process of data to each of the radio communication unit 201 and the navigation unit 100
- "2033” refers to a transmission data storing unit that temporarily stores transmission data in response to a request from the navigation unit 100
- "2034" refers to a reception data storing unit that temporarily stores reception data received from the radio communication unit 201
- "2035" refers to an inter-vehicle communication interface unit that performs an input/output of data between the communication control processing unit 2032 and the radio communication unit 201.
- Figs. 5A and 5B are views illustrating the content of exemplary vehicle drive information that is transmitted and received between vehicles according to an exemplary embodiment of the present invention.
- Fig. 5A depicts a table that represents the content of vehicle drive information that is transmitted and received between vehicles and transmitted to a pedestrian.
- Fig. 5B depicts a data format of vehicle drive information transmitted to the communication device unit 200.
- Data items include its own vehicle ID that is a number specifying its own vehicle, a kind of a vehicle that represents the type of its own vehicle, a latitude, a longitude, and an altitude of identifying a place where its own vehicle is driving, a vehicle speed that represents the traveling speed of its own vehicle, acceleration that represents traveling acceleration of its own vehicle, direction that represents traveling orientation of its own vehicle, BRAKE that represents a usage state of a brake, ACCEL that represents a usage state of an accelerator, and a to-be-watched vehicle ID that represents a vehicle ID of a vehicle necessary to watch, which is detected from vehicle drive information received from the other vehicles.
- Data amount, unit, and other contents of each data item have been represented in Fig. 5A .
- the data amount of a to-be-watched vehicle ID is adapted to have 2 bytes in Fig. 5B , data amount of more than 2 bytes may be adopted to cope with plural vehicles.
- the present invention is not limited to the two-value information, and may adopt such information that sequentially represents data amount in response to a usage state of the brake or accelerator.
- the navigation control unit 101 When receiving the vehicle drive information, the navigation control unit 101 converts the vehicle drive information into the vehicle drive information data format shown in Figs. 5A and 5B and then request a transmission to the communication device unit 200.
- Fig. 6 depicts a vehicle arrangement for illustrating an exemplary case where its own vehicle 400 performs radio communication with the other vehicles according to an exemplary embodiment of the present invention.
- the reference numeral "402" refers to a two-wheeled vehicle that is equipped with the on-board communication unit 300 similarly to the vehicle A401 and drives near its own vehicle 400
- "403” refers to a vehicle B that is equipped with the on-board communication unit 300 similarly to the vehicle A401 and drives near its own vehicle 400
- "404” refers to a vehicle C that is equipped with the on-board communication unit 300 similarly to the vehicle A401 and drives around its own vehicle 400
- "405" refers to a vehicle D that is equipped with the on-board communication unit 300 similarly to the vehicle A401 and drives around its own vehicle 400
- “406” refers to a vehicle E that is equipped with the on-board communication unit 300 similarly to the vehicle A401 and drives around its own vehicle 400
- "407” refers to a vehicle F that is equipped with the on-board communication unit 300 similarly to the vehicle A401 and drives around its own vehicle 400.
- the reference numeral "800" refers to a communication area A where communication may be done between the radio communication unit 201 of the on-board communication unit 300 equipped in its own vehicle 400 and the radio communication unit 201 of the on-board communication unit 300 equipped in each of the two-wheeled vehicle 402, the vehicle B403, the vehicle C404, the vehicle D405, the vehicle E406, and the vehicle F407 that drive around its own vehicle 400, "810” to an position “s” where its own vehicle 400 is driving, and "910” to a position "t” where its own vehicle 400 is driving afterwards.
- Fig. 7 is a flowchart illustrating an exemplary vehicle drive process in a case where the navigation control unit 101 according to the present invention performs transmission/reception of vehicle drive information to/from another vehicle according to an exemplary embodiment of the present invention.
- step S701 When the navigation control unit 101 starts processing of vehicle drive information, it is determined in the step S701 whether or not there is a vehicle drive information reception notification. If not, the process proceeds to the step S708 and if any, the process proceeds to the step S702.
- step S702 it is determined whether or not the to-be-watched vehicle ID of the received vehicle drive information is identical to its own vehicle ID. If not identical, the step S707 is performed, and if identical, the step S703 is performed. That is, it is confirmed in the step S702 whether its own vehicle is detected by the other vehicles as a to-be-watched vehicle.
- step S703 It is determined in the step S703 whether or not its own vehicle drive information update period is set at high speed. If not set at high speed, the step S704 is performed and if set at high speed, the step S706 is performed.
- step S704 its own vehicle drive information update period timer is set at high speed and then the step S705 is carried out.
- a high-speed setup request of the transmission period timer is made to the communication control unit 203 and then the step S706 is performed.
- its own vehicle drive information update timer is a period timer that updates the vehicle drive information of its own vehicle 400.
- the navigation control unit 101 obtains the vehicle drive information of its own vehicle whenever the timer expires, and reactivates the timer.
- the communication control unit 203 performs a transmission process of the vehicle drive information set by the navigation control unit 101 when the transmission period timer expires and reactivates the transmission period timer.
- the communication control unit 203 when receiving a high-speed setup request, sets the transmission period timer at high speed, so that the transmission interval of subsequent its own vehicle drive information becomes shorter. Detailed descriptions on process by the communication control unit 203 will be given later with reference to the flowchart shown in Fig. 10 .
- a to-be-watched vehicle ID detection timer restarts, and then step S707 is performed.
- the to-be-watched vehicle ID detection timer is a timer that determines whether its own vehicle set as a to-be-watched vehicle is maintained as the to-be-watched vehicle from the other vehicles. That is, in the step S706, the timer is updated in the period when its own vehicle remains as a to-be-watched vehicle, and the high-speed setup of step S704 is maintained.
- step S707 a to-be-watched vehicle detection process is performed and then the step S708 is performed. That is, it is determined in the step S707 whether or not there exists any to-be-watched vehicle from data received from the other vehicles, for example, as described later with reference to Fig. 8 .
- step S708 it is determined whether or not its own vehicle drive information update timer is expires. If it is determined that the timer expires, the step S709 is performed, and otherwise, the step S710 is performed.
- step S709 a vehicle drive information update process is performed and then the step S710 is performed. That is, a transmission process of its own vehicle drive information is performed in the step S709, for example, as described later with reference to Fig. 9 .
- step S710 it is determined whether or not the to-be-watched vehicle information ID detection timer expires. If it is determined that the timer expires, the step S711 is performed, and otherwise, the process shown in Fig. 7 (vehicle drive information process by the navigation control unit 101) ends.
- step S711 the drive information update period timer of its own vehicle is set as a usual setup and then the step S712 is performed. That is, in the step S711, the timer update process set in the step S706 is not executed and its own vehicle is determined to be released from setup as the to-be-watched vehicle, so that the setup of the timer returns to the usual transmission period of its own vehicle drive information.
- step S712 the transmission period timer of the communication control unit 203 is set as a usual setup and then the process shown in Fig. 7 ends.
- Fig. 8 is a flowchart illustrating an exemplary detection process of detecting a to-be-watched vehicle among vehicles driving around its own vehicle in the vehicle drive information process by the navigation control unit 101 according to an exemplary of the present invention.
- a left-turn drive support process is exemplified in the flowchart where the two-wheeled vehicle 402 approaching its own vehicle 400 at a left and rear side is detected as a to-be-watched vehicle in Fig. 6 when its own vehicle 400 is about to turn left at the front intersection in front thereof
- other drive support processes such as a right-turn drive support process or anti-collision support process may also be carried out.
- a to-be-watched vehicle detection process is executed in the step S707 and then the step S708 is performed. That is, it is determined in the step S707 whether or not there is any to-be-watched vehicle through data received from the other vehicles as described in the exemplary embodiment shown in Fig. 8 .
- the received vehicle drive information is stored in the other vehicle drive information storing unit 1016 in the step S801 and then the step S802 is performed.
- step 802 the distance and location from its own vehicle are calculated from information on locations and directions of its own vehicle and another vehicle in the step S802 and then the step S803 is performed.
- step S803 It is determined in the step S803 whether or not its own vehicle is approaching a left-turn intersection from drive information, such as location of its own vehicle, and map information. If approaching, the step S804 is performed, and otherwise, the step S810 is performed.
- step S804 it is determined whether or not a two-wheeled vehicle is detected at the rear side of its own vehicle. If detected, the step S805 is performed, and otherwise, the step S810 is performed.
- step S805 it is determined whether or not any two-wheeled vehicle already displayed is detected. If detected, the step S808 is performed, and otherwise, the step S806 is performed.
- step S806 information shown in Fig. 13 is displayed on the output unit 102, notifying a two-wheeled vehicle approaching at a rear side.
- the process proceeds to the step 807.
- the received vehicle ID is set as a to-be-watched vehicle ID of its own vehicle transmission information and then the process shown in Fig. 8 ends (or, the step S708 shown in Fig. 7 is performed).
- step S808 it is determined whether or not there is updated the data previously received. If updated, the step S809 is executed to perform an update of the position in which the approaching vehicle is indicated, and otherwise, the process shown in Fig. 8 ends (or, the step S708 shown in Fig. 7 is performed).
- step S810 it is determined whether or not such information that a two-wheeled vehicle is approaching at a rear side is displayed. If displayed, the step S811 is performed, and otherwise, the process shown in Fig. 8 ends (or, the step S708 shown in Fig. 7 is performed).
- step S811 such information that the two-wheeled vehicle is approaching at the rear side is paused to be displayed and then the step S812 is performed.
- step S812 the setup of the vehicle drive information of its own vehicle as the to-be-watched vehicle ID done in the step S807 is released, and then the process shown in Fig. 8 ends (or, the step S708 shown in Fig. 7 is performed).
- Fig. 9 is a flowchart illustrating an exemplary update process of vehicle drive information in a transmitted vehicle drive information process performed by the navigation control unit 101 according to an exemplary embodiment of the present invention.
- a vehicle drive information update process is performed in the step S709 of Fig. 7 , and then the step S710 is performed. That is, a drive information update process of its own vehicle is performed in the step S709 as described with reference to Fig. 9 .
- step S902 its own vehicle drive information is obtained in the step S901, and then the step S902 is performed.
- Its own vehicle drive information includes, for example, items or contents shown in Figs. 5A and 5B .
- step S902 an update request of its own vehicle drive information (transmission request of its own vehicle drive information) is made to the communication control unit 203, and then the step S903 is performed.
- step S903 the drive information update period timer of its own vehicle is restarted, and then the process shown in Fig. 9 ends (or, the step S710 shown in Fig. 7 is performed).
- Fig. 10 is a flowchart illustrating an exemplary control process performed by the communication control unit 203 according to an exemplary embodiment of the present invention.
- a data reception process of data from the radio communication unit 201, an update request process of vehicle drive information from the navigation unit 100, and a transmission request process of vehicle drive information are performed.
- step S1001 it is determined by the radio communication unit 201 whether or not data is received. If received, the step S1002 is performed, and otherwise, the step S1003 is performed.
- step S1002 a data reception process is performed by the communication control processing unit 2032, and then the step S1003 is performed.
- a data reception process is performed by the communication control processing unit 2032, and then the step S1003 is performed.
- Detailed descriptions on the exemplary embodiment will be given later with reference to Fig. 11 .
- step S1003 it is determined whether or not a vehicle drive information update request is received from the navigation unit 100. If received, the step S1004 is performed, and otherwise, the step S1005 is performed.
- step S1004 a vehicle drive information update process is performed, and then the step S1005 is performed.
- step S1005 it is determined whether or not a setup request of the vehicle drive information transmission period timer is received from the navigation unit 100. If received, the step S1006 is performed, and otherwise, the step S1007 is performed.
- step S1006 an update process of the transmission period timer setup is performed, and then the step S1007 is performed. That is, a variation request of the timer setup performed in the step S705 or step S702 is received in the step S1006 to set a transmission period.
- step S1007 it is determined whether or not the transmission period timer of its own vehicle drive information is ended. If ended, the step S1008 is performed, and otherwise, the process shown in Fig. 10 ends.
- step S1008 a transmission data setup instruction is made to the radio communication unit 201, and the step S1009 is performed.
- step S1009 the transmission period timer is restarted, and then the process shown in Fig. 10 ends.
- Fig. 11 is a flowchart illustrating the detail of an exemplary data reception process by the communication control unit 203 according to an exemplary embodiment of the present invention.
- Fig. 11 depicts, for example, a data reception process performed by the communication control processing unit 2032 in the step S1002 of Fig. 10 .
- step S1101 it is determined whether or not there is reception data received in the reception data storing unit 2034. If it is determined that there is reception data, the step S1102 is performed, and otherwise, the process shown in Fig. 11 ends, and then, for example, the step S1003 shown in Fig. 10 is performed.
- step S1102 it is determined whether or not the reception data has been received. If received, the step S1103 is performed, and otherwise, the step S1104 is performed.
- step S1103 such data as already received is discarded and then the process shown in Fig. 11 ends.
- step S1104 data stored in the reception data storing unit 2034 is outputted to the navigation unit 100, and then the process shown in Fig. 11 ends.
- Fig. 12 is a flowchart illustrating transmission and reception of vehicle drive information between its own vehicle and a two-wheeled vehicle in an exemplary processing operation of the vehicle drive information in a case where the two-wheeled vehicle 402 is detected as a to-be-watched vehicle by its own vehicle 400 according to an exemplary embodiment of the present invention.
- the direction of time lapsing is from top to down in Fig. 12 .
- its own vehicle 400 executes a transmission process S1201 of vehicle drive information while drive.
- its own vehicle 400 broadcasts vehicle drive information S1202 at time m0, and thereafter, continues to broadcast the vehicle drive information S1202 every time interval s[s] (times m1, m2, m3, m4, m5, m6, ).
- the two-wheeled vehicle 402 executes a transmission process S1203 of vehicle drive information.
- the two-wheeled vehicle 402 receives the vehicle drive information transmitted from its own vehicle 400 at time m0 and transmits drive information S1204 of its own vehicle (the two-wheeled vehicle 402) at time w1. Thereafter, the two-wheeled vehicle 402 continues to transmit the drive information S1204 every time interval t[s] (times w2, w3, and w4).
- Its own vehicle 400 designates the two-wheeled vehicle 402 as a to-be-watched vehicle at time m2, and adds a to-be-watched vehicle ID to the vehicle drive information and transmits it (S1204). At this time, the two-wheeled vehicle 402 receives the vehicle drive information to which the to-be-watched vehicle ID is added and recognizes that its own vehicle has been considered as the to-be-watched vehicle.
- the two-wheeled vehicle 402 changes the transmission frequency from the time interval t[s] to the time interval u[s] (times w5, w6, w7, w8, w9, w10) which is shorter than the time interval t[s] correspondingly, and then transmits the drive information of its own vehicle (S1205) (where, t>u).
- the two-wheeled vehicle 402 When it is determined that the two-wheeled vehicle 402 is not designated as the to-be-watched vehicle any more at time m4, its own vehicle 400 transmits the vehicle drive information without addition of the to-be-watched vehicle ID (S1206).
- the two-wheeled vehicle 402 receives the vehicle drive information and then returns the transmission frequency to the original frequency based on information regarding release from designation of its own vehicle as the to-be-watched vehicle (S1207). That is, the two-wheeled vehicle 402 changes the transmission interval setup of the vehicle drive information of its own vehicle into the time interval t[s].
- Fig. 13 is a view illustrating when detecting a vehicle approaching its own vehicle by the navigation control unit 101 of the navigation unit 100 receiving the vehicle drive information from the other vehicles, an example of displaying the contents thereof on the output unit 102.
- the reference numeral "1301" refers to an indication A when it is notified that there is a two-wheeled vehicle approaching from a left and rear side.
- Road map information and the approaching two-wheeled vehicle are displayed on the output unit 102 of the navigation unit 100 equipped in its own vehicle 400 and simultaneously a telop saying, "A two-wheeled vehicle is running at the left and rear side. Please watch out.”, is generated or such a voice is outputted from a speaker (not shown) included in the output unit 102.
- Fig. 14 is a view illustrating an exemplary screen displaying it on the output unit 102 that its own vehicle is detected by the other vehicles a to-be-watched vehicle by the navigation control unit 101 of the navigation unit 100 receiving the vehicle drive information from the other vehicles.
- the reference numeral "1401" refers to an indication B when it is notified to the driver that the self two-wheeled vehicle is detected as a to-be-watched vehicle by a left-turn signal of the vehicle located at the right and front side.
- Road map information and the approaching vehicle are displayed on the output unit 102 of the navigation unit 100 equipped in the two-wheeled vehicle 402 and simultaneously a telop saying, "A vehicle is running at the right and front side. Please watch out.”, is generated or such a voice is outputted from a speaker (not shown) included in the output unit 102.
- Fig. 15 is a view illustrating an exemplary embodiment of accumulating vehicle drive information received from each of the other vehicle the other vehicles in the other vehicle drive information storing unit 1016 included in the navigation control unit 101 in a case where no to-be-watched vehicles are detected in its own vehicle 400 according to an exemplary embodiment of the present invention.
- Fig. 16 is a view illustrating an exemplary embodiment of accumulating vehicle drive information received from each of the other vehicle the other vehicles in the other vehicle drive information storing unit 1016 included in the navigation control unit 101 in a case where any to-be-watched vehicle is detected in its own vehicle 400 according to an exemplary embodiment of the present invention.
- Fig. 17 is a view illustrating a state where vehicle drive information is stored when a communication error occurs while the vehicle drive information received from each of the other vehicle the other vehicles is accumulated in the other vehicle drive information storing unit 1016 included in the navigation control unit 101 in a case where no to-be-watched vehicles are detected according to an exemplary embodiment of the present invention.
- Fig. 18 is a view illustrating a state where vehicle drive information is stored when a communication error occurs while the vehicle drive information received from each of the other vehicle the other vehicles is accumulated in the other vehicle drive information storing unit 1016 included in the navigation control unit 101 in a case where any to-be-watched vehicle is detected according to an exemplary embodiment of the present invention.
- the transmission interval is shortened (time q, where q ⁇ p) when a reception error occurs upon reception of drive information of the two-wheeled vehicle 402 which is a to-be-watched vehicle, and thus the interval from the reception time to when the next drive information of the two-wheeled vehicle 402 is shortened, and the reception time or interval is reduced.
- the two-wheeled vehicle 402 which recognized that its own vehicle has been considered as a to-be-watched vehicle increased the transmission frequency of its drive information in the above exemplary embodiment.
- transmission power alone or both the transmission power and transmission frequency may also be adapted to be increased as well as increase of the transmission frequency.
- its own vehicle obtains vehicle drive information of a to-be-watched vehicle to ensure safety until its own vehicle drives at a safe location upon finding the to-be-watched vehicle while driving according to the first embodiment.
- its own vehicle surely obtain the information on the to-be-watched vehicle by increasing the transmission frequency for the to-be-watched vehicle.
- its own vehicle may improve delay in processing of data received from the to-be-watched vehicle by increasing the transmission frequency for the to-be-watched vehicle.
- drive warning information is displayed on the output unit 102 of the navigation unit 100 in a case where a vehicle is detected which is necessary to notify the driver. Then, the detected to-be-watched vehicle ID is added to the vehicle drive information of its own vehicle and the added information is transmitted. Further, transmission frequency of the vehicle drive information of its own vehicle is set low for the other vehicles than the vehicle having the to-be-watched vehicle ID among the other vehicles.
- Fig. 19 is a flowchart illustrating an exemplary vehicle drive information process in a case where the navigation control unit 101 transmits and receives vehicle drive information to/from another vehicle according to an exemplary embodiment of the present invention.
- the flowchart shown in Fig. 19 is the one where steps S1801, S1802, S1803, and S1804 are further added to the flowchart shown in Fig. 7 .
- the added steps will be only described and the others will be excluded from the descriptions.
- Fig. 19 it is determined by the navigation control unit 101 in the step S701 whether or not there is a vehicle drive information reception notification and if not, the step S708 is performed, and if any, the step S1801 is performed.
- step S1801 it is determined whether or not its own vehicle ID setup is included in designation of a to-be-watched vehicle ID of the received vehicle drive information. If included, the step S702 is performed, and otherwise, the step S707 is performed. That is, in a case where its own vehicle ID setup is included in the to-be-watched vehicle ID, in the step S1801, the transmission period interval is changed to be short (to have high-speed transmission frequency) for the to-be-watched vehicle and transmission period interval is changed to be long (to have low-speed transmission speed) for the other vehicles than the to-be-watched vehicle. Further, in a case where there is no setup of the to-be-watched vehicle ID, a detection process of the other vehicle the other vehicles are performed.
- step S702 it is determined whether or not the received to-be-watched vehicle ID is identical to its own vehicle ID. If not identical, the step S1802 is performed, and if identical, the step S703 is performed. That is, in the step S702, it is confirmed whether or not its own vehicle has been detected as a to-be-watched vehicle by the other vehicles.
- step S1802 it is determined whether or not its own vehicle drive information update period is set to be long (to have low-speed transmission frequency). If not, the step S1803 is performed, and if set to have low-speed transmission frequency, the step S706 is performed.
- step S1803 the drive information update period timer of its own vehicle is set to have a low speed, and then the step S1804 is performed.
- the transmission period timer in the communication control unit 203 is set to have a low speed, and the S706 is performed.
- Fig. 20 is a view illustrating an exemplary embodiment of accumulating vehicle drive information received from each of the other vehicle the other vehicles in other vehicle drive information storing unit 1016 included in the navigation control unit 101 in a case where any to-be-watched vehicle is detected according to an exemplary embodiment of the present invention.
- Fig. 21 is a view illustrating a case where an error occurs upon accumulating vehicle drive information received from each of the other vehicle the other vehicles in the other vehicle drive information storing unit 1016 included in the navigation control unit 101 in a case where any to-be-watched vehicle is detected according to an exemplary embodiment of the present invention.
- Fig. 20 depicts that reception frequency of vehicle drive information of the to-be-watched two-wheeled vehicle 402 is increased according to increase of the transmission frequency of the two-wheeled vehicle 402 and thus decrease of the transmission frequency of the vehicles other than the to-be-watched vehicle.
- Fig. 21 depicts a situation where a communication error occurs in the case of the transmission frequency shown in Fig. 20 . It can be seen that even though such a communication errors occurs upon transmission of the vehicle drive information of the two-wheeled vehicle 402, the interval from the first reception of data (vehicle drive information) from the two-wheeled vehicle 402 to the next reception is shorten because the transmission interval is short.
- its own vehicle obtains vehicle drive information of a to-be-watched vehicle to confirm its safety until driving at a safe location in a case where its own vehicle detects existence of the to-be-watched vehicle while driving according to the second embodiment.
- its own vehicle increases the transmission frequency of the to-be-watched vehicle to reduce the communication frequency of the other vehicles than the to-be-watched vehicle, and this enables its own vehicle to obtain the information on the to-be-watched vehicle more surely.
- its own vehicle may improve delay in processing data received from the to-be-watched vehicle in a case where a number of vehicles exist around its own vehicle or errors occur due to deterioration of communication environments.
- the vehicle which recognized that its own vehicle has been considered as a to-be-watched vehicle increased the transmission frequency of its drive information in the above exemplary embodiment.
- transmission power alone or both the transmission power and transmission frequency may also be adapted to be increased as well as increase of the transmission frequency.
- drive warning information is displayed on a navigation device display unit for a driver in a case where a vehicle is detected which is necessary to notify to the driver. Then, the detected to-be-watched vehicle ID is added to the transmission information of its own vehicle and the added information is transmitted. Transmission frequency is set to be low for the other vehicles than the vehicle having the to-be-watched vehicle ID among the other vehicles. Further, in a case where a roadside unit is installed around, a request is made to lower the frequency of transmission of information to the roadside unit.
- the traffic information communication system according to the third embodiment of the present invention will be described with reference to Fig. 22 , Fig. 23 , and Fig. 24 .
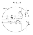
- Fig. 22 depicts a vehicle arrangement for illustrating an exemplary case where its own vehicle 400 performs radio communication with the other vehicles and a roadside unit 2201 installed at an intersection in the traffic information communication system according to an exemplary embodiment of the present invention.
- the reference numeral "2201" refers to a roadside unit that performs transmission and reception of traffic information or disaster information to/from a vehicle by radio communications.
- the other constitutional elements are equal to those shown in Fig. 6 .
- Fig. 23 is a flowchart illustrating an exemplary vehicle drive information process in a case where the navigation control unit 101 performs a transmission and reception process of vehicle drive information with another vehicle and a transmission and reception process with the roadside unit 2201 according to an exemplary embodiment of the present invention.
- Fig. 24 is a flowchart illustrating an exemplary reception process of information from the roadside unit 2201 in the vehicle drive information process by the navigation control unit 101 according to an exemplary embodiment of the present invention.
- the flowchart shown in Fig. 23 is the one where steps S2301 and S2302 are further added to the flowchart shown in Fig. 7 .
- the added steps will be only described and the others will be excluded from the descriptions.
- step S2301 When processing of vehicle drive information is started by the navigation control unit 101, it is determined in the step S2301 whether or not there is a reception notification from the roadside unit 2201. If any, the step S2302 is performed, and otherwise, the step S701 is performed.
- step S2302 information is received from the roadside unit 2201, and the step S701 is performed.
- the step S701 is equal to that shown in Fig. 7 .
- step S2302 will be described in more detail with reference to Fig. 24 .
- step S2401 it is firstly determined in the step S2401 whether or not detection of any to-be-watched vehicle is in progress. If not, the step S2402 is performed, and if in progress, the step S2405 is performed.
- step S2402 it is determined whether or not a request is being made to the roadside unit 2201 to lower the transmission frequency. If being requested, the step S2403 is performed, and otherwise, the step S2404 is performed.
- step S2403 a request is made to the roadside unit 2201 to normalize the transmission frequency of traffic information or disaster information transmitted from the roadside unit 2201, and then the step S2404 is performed.
- step S2404 such information as received from the roadside unit 2201 is displayed and then the process shown in Fig. 24 (the step S2302 in Fig. 23 ) ends.
- step S2405 a request is made to the roadside unit 2201 to lower the transmission frequency to reduce the transmission frequency of traffic information or disaster information transmitted from the roadside unit 2201, and then the process shown in Fig. 24 (the step S2302 in Fig. 23 ) ends.
- Its own vehicle obtains vehicle drive information of a to-be-watched vehicle to confirm its safety until driving at a safe location in a case where its own vehicle detects existence of the to-be-watched vehicle while driving according to the above-described third embodiment.
- its own vehicle increases the transmission frequency of the to-be-watched vehicle to reduce the frequency of communication with the roadside unit and the other vehicles than the to-be-watched vehicle, and this enables its own vehicle to obtain the information on the to-be-watched vehicle more surely.
- its own vehicle may improve delay in processing data received from the to-be-watched vehicle in a case where a number of vehicles exist around its own vehicle or errors occur due to deterioration of communication environments.
- a priority may be set between the traffic information or disaster information received from the roadside unit 2201 and the notification processing information from the other vehicles by inter-vehicle communications, so that in a case where the information received from the roadside unit 2201 has a higher priority, no request of reducing the transmission frequency is made to the roadside unit 2201 and a request of decreasing the transmission frequency of vehicle drive information is made to the other vehicles communicated by the on-board communication unit 300.
- the fourth embodiment when detecting a pedestrian approaching its own vehicle, its own vehicle adds the detected terminal ID to the vehicle drive information and transmits the added information. This enables the received mobile terminal to recognize the existence of any dangerous vehicle through the notification from the vehicle. Further, there is no need of calculating the distance between his/her location and the vehicle thanks to the received vehicle information, and this enables save consumption power for operating process.
- the traffic information communication system will be described with reference to Figs. 25 to 34 according to the exemplary embodiment of the present invention.
- Fig. 25 is a block diagram illustrating an exemplary on-board communication device (on-board unit) in the traffic information communication system according to an exemplary embodiment of the present invention.
- the reference numeral "400” refers to its own vehicle, "401” refers to a vehicle A, “600” refers to a pedestrian A, and “500” refers to a mobile terminal A carried by the pedestrian A.
- the reference numeral "1000” refers to a navigation unit equipped with a navigation function that guides a driver to a destination, "2501" to a navigation control unit that performs a control process of each unit included in the navigation unit 1000, "102" to an output unit, such as a speaker that outputs voice information or monitor that displays image information, and "103" to an input unit that enables the driver to make an input, such as setup of a destination, to the navigation unit 1000.
- the communication device unit 200 is equal to that shown in Fig. 1 .
- the reference numeral "3000” refers to an on-board communication device that includes the navigation unit 1000 and the communication device unit 200.
- Its own vehicle 400 is equipped with the on-board communication device 3000.
- the vehicle A401 drives around its own vehicle 400 and is equipped with the on-board communication unit 300 to perform transmission and reception of vehicle drive information.
- the vehicle drive information that is communicated by the communication device unit 200 includes, for example, its own vehicle ID, a drive location, a speed, a drive direction, a brake, and an accelerator state. Detailed descriptions will be given with reference to Figs. 27A and 27B .
- Fig. 26 is a block diagram illustrating an exemplary inner construction of the navigation control unit 2501 according to an exemplary embodiment of the present invention.
- the navigation control unit 2501 shown in Fig. 26 is the one where a pedestrian information storing unit 2601 is added to the navigation control unit 101 shown in Fig. 2 to store pedestrian information received from the mobile terminal A 500 carried by the pedestrian A600 that is located around.
- the other constructions are equal to those shown in Fig. 2 .
- Figs. 27A and 27B are views illustrating exemplary content of vehicle drive information transmitted from its own vehicle 400 to a surrounding pedestrian according to an exemplary embodiment of the present invention.
- Fig. 27A depicts a table representing the content of vehicle drive information that is transmitted and received between vehicles and transmitted to the pedestrian.
- Fig. 27B depicts a data format of vehicle drive information transmitted to the communication device unit 200.
- a new data item "to-be-watched terminal ID" which is an ID of a detected terminal approaching its own vehicle
- Figs. 5A and 5B which represents the ID of a to-be-watched terminal that is detected from the pedestrian information received from the mobile terminal carried by the surrounding pedestrian.
- the data amount of a to-be-watched vehicle ID is adapted to have 2 bytes in Fig. 27B
- data amount of more than 2 bytes may be adopted to cope with plural vehicles and plural pedestrians.
- the present invention is not limited to the two-value information, and may adopt such information that sequentially represents data amount in response to a usage state of the brake or accelerator.
- the navigation control unit 2501 when receiving the vehicle drive information, converts the vehicle drive information into the vehicle drive information data format shown in Fig. 27B and submits a transmission request to the communication device unit 200.
- Fig. 28 is a block diagram illustrating an exemplary construction of the mobile terminal A 500 according to an exemplary embodiment of the present invention, which receives drive information from the other vehicle and transmits location information of the self terminal or pedestrian information that represents the traveling direction to the other vehicle the other vehicles.
- the reference numeral "501" refers to an output unit that outputs voice information or displays image information
- "502” refers to an input unit that performs an input operation such as voice input or start of data communication
- "503” refers to a mobile terminal radio communication unit that performs radio communication with a center device or voice call with another mobile terminal
- "504" refers to an inter-vehicle radio communication unit that performs radio communication with the communication device unit 200 equipped in a vehicle driving around
- "505" refers to a vehicle information processing unit that processes and analyzes vehicle drive information received from a vehicle driving around to generate pedestrian information and performs transmission control
- "506” refers to a location information obtaining unit that is equipped with a GPS to obtain the location information (for example, latitude or longitude) and calculates the traveling direction
- "507” refers to a mobile terminal control unit that entirely controls the mobile terminal A 500.
- the mobile terminal control unit 507 makes a radio communication connection processing request to the mobile terminal radio communication unit 503 in response to the inputted content.
- the mobile terminal radio communication unit 503 conducts radio communication connection with a requesting source in response to the connection request made by the mobile terminal control unit 507 and then outputs a radio communication connection completion response to the mobile terminal control unit 507.
- the mobile terminal control unit 507 Upon receiving the radio communication connection completion response from the mobile terminal radio communication unit 503, the mobile terminal control unit 507 controls the output unit 501 to execute a radio communication connection notification indication. Thereafter, the mobile terminal control unit 507 carries out data communication or voice call according to the content inputted by the pedestrian A600.
- the mobile terminal control unit 507 controls the output unit 501 to display reception so that the pedestrian A600 notices the reception when receiving a reception notification from the mobile terminal radio communication unit 503. Then, the mobile terminal control unit 507 performs radio communication connection in response to the content inputted by the pedestrian A600 through the input unit 502.
- Figs. 29A and 29B are a view illustrating exemplary content of pedestrian information that is transmitted from the mobile terminal A 500 to the other vehicle according to an exemplary embodiment of the present invention, which includes, for example, information on location or traveling direction of a pedestrian.
- Fig. 29A depicts a table representing the content of pedestrian information transmitted from the mobile terminal of the pedestrian.
- Fig. 29B depicts a data format when the pedestrian information is transmitted to the communication device unit 200 of its own vehicle 400.
- Data items include a portable ID that represents a number specifying a self mobile terminal, a latitude and longitude that represent the location of the self mobile terminal, and a direction that represents traveling direction of the pedestrian. Data amount, unit, and other contents are represented with respect to each data item in Fig. 29A .
- the vehicle information processing unit 505 obtains the pedestrian information such as place and direction from the location information obtaining unit 506, converts the pedestrian information into the pedestrian information data format shown in Fig. 29B , and makes a transmission request to the inter-vehicle radio communication unit 504 at a predetermined timing.
- Fig. 30 depicts a vehicle-pedestrian arrangement for illustrating the location of the moving vehicle 400, the pedestrian A600 and another pedestrian B610 after p seconds from the location at the first time, and a communication area according to an exemplary embodiment of the present invention.
- the reference numeral "510" refers to a mobile terminal B that has the same construction and functions as the mobile terminal A 500, "610" to a pedestrian B carrying the mobile terminal B501, and "900" to a communication area B where communication may be done by the radio communication unit 201 of the on-board communication device 3000 equipped in its own vehicle 400 and the inter-vehicle radio communication unit 504 equipped in the mobile terminal A 500 and the mobile terminal B510.
- the reference numeral “810” refers to a position s where its own vehicle 400 was driving before p seconds, "820” to a position u where the pedestrian A600 was walking before p seconds, “830” to a position x where the pedestrian B610 was walking before p seconds, "910” to a position t where its own vehicle 400 is currently driving, "920” to a position v where the pedestrian A600 is currently walking, and “930” to a position y where the pedestrian B601 is currently walking.
- Fig. 31 is a flowchart illustrating an exemplary case where the mobile terminal A 500 transmits and receives vehicle drive information and pedestrian information to/from its own vehicle 400 according to an exemplary embodiment of the present invention.
- the direction of time lapsing is from top to down in Fig. 31 .
- its own vehicle 400 executes a transmission process S3101 of vehicle drive information while driving.
- its own vehicle 400 broadcasts vehicle drive information S3102 at time k0, and thereafter, continues to broadcast the vehicle drive information S3102 every time interval s[s] (times k1, k2, ).
- the mobile terminal A 500 receives the vehicle drive information transmitted from its own vehicle 400 at time k0, and starts a transmission process S3103 of the pedestrian information S3104 of the pedestrian at time f1. Thereafter, the mobile terminal A 500 continues to transmit the pedestrian information every time interval t[s] (times f2). For example, the mobile terminal A 500 transmits the pedestrian information S3105 at time f2.
- a to-be-watched terminal ID is added to the vehicle drive information S3106 transmitted from the communication device unit 200 of its own vehicle 400 at time k3, and it is determined by the mobile terminal A 500 receiving it that the to-be-watched terminal ID is the self terminal ID, an attention indication is displayed (S3107) on the output unit 501 of the mobile terminal A 500, and the pedestrian information S3108 is transmitted.
- the mobile terminal A 500 ends displaying the attention indication on the output unit 501 (S3110).
- Fig. 32 is a flowchart illustrating an exemplary vehicle drive information process in a case where the navigation control unit 2501 performs a transmission and reception process of vehicle drive information with another vehicle and a transmission and reception process with the mobile terminal A 500 carried by the surrounding pedestrian A600 according to an exemplary embodiment of the present invention.
- the flowchart shown in Fig. 32 is the one where steps S3201 and S3202 are added to the flowchart shown in Fig. 7 . Accordingly, the other steps than the added steps will be excluded from the descriptions.
- step S3201 When the navigation control unit 2501 starts processing of vehicle drive information, it is determined in the step S3201 whether or not there is any pedestrian information reception notification. If any, the step S3202 is performed, and otherwise, the step S701 is performed.
- the received pedestrian information is subjected to a reception process and the step S701 is performed.
- the step S701 is equal to that shown in Fig. 7 .
- Fig. 33 is a flowchart illustrating an exemplary reception process of pedestrian information from the mobile terminal A 500 in a vehicle drive information process by the navigation control unit 2501 according to an exemplary embodiment of the present invention.
- Fig. 33 when pedestrian information reception process starts, the received pedestrian information is stored in the pedestrian information storing unit 2601 in the step S3301, and then the step S3302 is performed.
- step S3302 distance from its own vehicle is calculated from location or direction information, and then the step S3303 is performed.
- step S3303 it is determined whether or not the distance from its own vehicle becomes shorter than the previously obtained one. If shorter, the step S3304 is performed, and otherwise, the step S3310 is performed.
- step S3304 it is determined whether or not traveling direction of the pedestrian is one approaching its own vehicle. If approaching, the step S3305 is performed, and otherwise, the step S3310 is performed.
- step S3305 the received reception ID of the mobile terminal is set as an approaching detection terminal ID, and then step S3306 is performed.
- step S3306 it is determined whether or not the set approaching detection terminal ID is the one that has already been displayed. If already displayed, the step S3308 is performed, and otherwise, the step S3307 is performed.
- step S3307 a pedestrian approaching indication is displayed on the output unit 102, and then the pedestrian information reception process shown in Fig. 33 ends.
- step S3308 it is determined whether or not the data previously received is updated. If updated, the step S3309 is performed, and otherwise, the pedestrian information reception process shown in Fig. 33 ends.
- step S3309 part of updated information is displayed on the output unit 102, and then the pedestrian information reception process shown in Fig. 33 ends.
- step S3310 it is determined whether or not a pedestrian approaching indication is displayed. If displayed, the step S3311 is performed, and otherwise, the step S3312 is performed.
- step S3311 the pedestrian approaching indication ends to be displayed and then the step S3312 is performed.
- step S3312 it is determined whether or not the receiving mobile terminal ID is set as a to-be-watched terminal ID. If set as the to-be-watched terminal ID, the step S3313 is performed, and otherwise, the pedestrian information reception process shown in Fig. 33 ends.
- step S3313 the setup as the to-be-watched terminal ID is released (cleared), and then the pedestrian information reception process shown in Fig. 33 ends.
- Fig. 34 is a flowchart illustrating an exemplary inter-vehicle communication process in the vehicle information processing unit 505 included in the mobile terminal A 500 according to an exemplary embodiment of the present invention.
- step S3401 it is determined whether or not data is received from the inter-vehicle radio communication unit 504. If received, the step S3402 is performed, and otherwise, the step S3409 is performed.
- the inter-vehicle radio communication unit 504 is set to be in communication, and then the step S3403 is performed.
- step S3403 it is determined whether or not the data from the inter-vehicle radio communication unit 504 is the one that has already been received. If already received, the step S3404 is performed, and otherwise, the step S3405 is performed.
- step S3404 the data is discarded and then the process shown in Fig. 34 ends.
- step S3405 it is determined whether or not the to-be-watched terminal ID is identical to the self terminal ID. If identical, the step S3406 is performed, and otherwise, the step S3407 is performed.
- step S3406 a vehicle approaching indication is displayed on the output unit 501 and then the step S3407 is performed.
- step S3407 it is determined whether or not a pedestrian information transmission period timer starts to be activated. If not activated, the step S3408 is performed, and if activated, the step S3411 is performed.
- step S3408 the pedestrian information transmission period timer starts to be activated and then the step S3411 is performed.
- step S3409 it is determined in the step S3409 whether or not there is any reception for a predetermined period of time. If no reception for the predetermined period of time, the step S3410 is performed and otherwise the step S3411 is performed.
- the inter-vehicle radio communication unit 504 is set to be in communication pause, and then the step S3411 is performed.
- step S3411 it is determined whether or not the pedestrian information transmission period timer is complete to count. If complete, the step S3412 is performed and otherwise the process shown in Fig. 34 ends.
- step S3412 it is determined whether or not the inter-vehicle radio communication unit 504 is in communication. If in communication, the step S3413 is performed and otherwise the process shown in Fig. 34 ends.
- step S3413 the location information of the pedestrian is obtained, and then the step S3414 is performed.
- step S3414 pedestrian information is generated and transmitted, and then the step S3415 is performed.
- step S3415 the pedestrian information transmission period timer starts to be activated, and then the process shown in Fig. 34 ends.
- the state of the inter-vehicle radio communication unit 504 is set to be in communication to perform a pedestrian information transmission process every predetermined period while the inter-vehicle radio communication unit 504 receives data from the other vehicles, and the state is set to be in communication pause to stop the pedestrian information transmission process when the inter-vehicle radio communication unit 504 receives no data for a predetermined period of time.
- the pedestrian who recognized that he/she has been considered as a to-be-watched pedestrian increased the transmission frequency of its drive information in the fourth embodiment.
- transmission power alone or both the transmission power and transmission frequency may also be adapted to be increased as well as increase of the transmission frequency.
- a mobile terminal carried by the pedestrian has been employed in the fourth embodiment.
- the present invention is not limited to the mobile terminal and may include any portable communication device such as professional radio devices.
- the present invention may obtain vehicle drive information of a to-be-watched vehicle until its own vehicle drives at a safe location in the case of detecting existence of a to-be-watched pedestrian during drive. Further, the present invention makes it possible to notify only the pedestrian who requires caution because the detection of the to-be-watched pedestrian is performed when the pedestrian is determined to approach its own vehicle from checked operations of the pedestrian. Furthermore, the present invention may alleviate processing load for detection and save battery consumption for the pedestrian (mobile terminal) because the detection of a to-be-watched pedestrian is conducted on the vehicle side.
Landscapes
- Physics & Mathematics (AREA)
- General Physics & Mathematics (AREA)
- Traffic Control Systems (AREA)
- Mobile Radio Communication Systems (AREA)
- Navigation (AREA)
Applications Claiming Priority (1)
| Application Number | Priority Date | Filing Date | Title |
|---|---|---|---|
| JP2008059226A JP5027696B2 (ja) | 2008-03-10 | 2008-03-10 | 交通情報通信システム及び車載通信装置 |
Publications (3)
| Publication Number | Publication Date |
|---|---|
| EP2101305A2 EP2101305A2 (en) | 2009-09-16 |
| EP2101305A3 EP2101305A3 (en) | 2010-02-03 |
| EP2101305B1 true EP2101305B1 (en) | 2015-10-14 |
Family
ID=40809931
Family Applications (1)
| Application Number | Title | Priority Date | Filing Date |
|---|---|---|---|
| EP09001169.3A Ceased EP2101305B1 (en) | 2008-03-10 | 2009-01-28 | Traffic information communication system, on-board communication device, and mobile terminal |
Country Status (2)
| Country | Link |
|---|---|
| EP (1) | EP2101305B1 (enExample) |
| JP (1) | JP5027696B2 (enExample) |
Families Citing this family (21)
| Publication number | Priority date | Publication date | Assignee | Title |
|---|---|---|---|---|
| JP5691239B2 (ja) * | 2010-05-20 | 2015-04-01 | 日産自動車株式会社 | 運転支援装置及び運転支援方法 |
| DE102010054087A1 (de) * | 2010-12-10 | 2012-06-14 | Audi Ag | Verfahren zur drahtlosen Kommunikation zwischen einem Kraftfahrzeug und wenigstens einem anderen Kommunikationsteilnehmer und Kraftfahrzeug |
| JP5668643B2 (ja) * | 2011-08-23 | 2015-02-12 | 株式会社デンソー | 地図表示システム、サーバ、及び端末 |
| JP5895500B2 (ja) * | 2011-12-13 | 2016-03-30 | 日産自動車株式会社 | 車両運転支援装置及び車両運転支援方法 |
| WO2013180280A1 (ja) | 2012-05-31 | 2013-12-05 | クラリオン株式会社 | 車載情報システム、情報端末、アプリケーション実行方法 |
| US9536427B2 (en) | 2013-03-15 | 2017-01-03 | Carnegie Mellon University | Methods and software for managing vehicle priority in a self-organizing traffic control system |
| JP6182923B2 (ja) | 2013-03-21 | 2017-08-23 | 株式会社デンソー | 無線通信装置、車両用ユニット、及び表示装置 |
| JP5961137B2 (ja) * | 2013-05-01 | 2016-08-02 | 日本電信電話株式会社 | 無線通信システム、無線端末装置及び無線通信方法 |
| EP2821979A1 (en) | 2013-07-01 | 2015-01-07 | Nxp B.V. | Active beacon for vulnerable road users |
| JP2015045949A (ja) * | 2013-08-27 | 2015-03-12 | パナソニック株式会社 | 端末装置および車載用無線装置 |
| CN103632575B (zh) * | 2013-12-16 | 2016-05-18 | 杨杰 | 基于移动通信网络的汽车避险方法 |
| WO2015165002A1 (en) * | 2014-04-28 | 2015-11-05 | Harman International Industries, Incorporated | Pedestrian detection |
| CN104575068A (zh) * | 2014-12-29 | 2015-04-29 | 芜湖市汽车产业技术研究院有限公司 | 一种提示驾驶员的方法和装置 |
| JP6072328B2 (ja) * | 2016-03-08 | 2017-02-01 | パナソニック株式会社 | 無線装置 |
| US10743156B2 (en) | 2016-11-17 | 2020-08-11 | Mitsubishi Electric Corporation | In-vehicle device, mobile terminal device, recognition support system, recognition support method, and recognition support program |
| GB2562706A (en) * | 2017-03-22 | 2018-11-28 | Pelotron Ltd | Apparatus for enhancing safety of a vulnerable road user |
| WO2019044208A1 (ja) * | 2017-08-29 | 2019-03-07 | パナソニック株式会社 | 端末装置、路側装置、通信システム、および通信方法 |
| WO2019044007A1 (ja) * | 2017-08-29 | 2019-03-07 | パナソニック株式会社 | 端末装置、路側装置、通信システム、および通信方法 |
| US11763410B1 (en) * | 2018-02-25 | 2023-09-19 | Matthew Roy | Mobile payment system for traffic prioritization in self-driving vehicles |
| JP7183438B2 (ja) * | 2019-09-18 | 2022-12-05 | 本田技研工業株式会社 | 運転支援装置、運転支援方法及びプログラム |
| JP2023061664A (ja) * | 2021-10-20 | 2023-05-02 | ソニーグループ株式会社 | 車載通信装置、端末装置、通信方法、情報処理方法及び通信システム |
Family Cites Families (4)
| Publication number | Priority date | Publication date | Assignee | Title |
|---|---|---|---|---|
| JP4321068B2 (ja) | 2003-01-10 | 2009-08-26 | 沖電気工業株式会社 | 車両・歩行者間無線通信システム |
| JP4257643B2 (ja) * | 2003-06-17 | 2009-04-22 | マツダ株式会社 | 走行支援システム及び車載端末器 |
| US7095336B2 (en) * | 2003-09-23 | 2006-08-22 | Optimus Corporation | System and method for providing pedestrian alerts |
| JP4576887B2 (ja) * | 2004-06-02 | 2010-11-10 | 株式会社デンソー | 通信装置および制御方法 |
-
2008
- 2008-03-10 JP JP2008059226A patent/JP5027696B2/ja not_active Expired - Fee Related
-
2009
- 2009-01-28 EP EP09001169.3A patent/EP2101305B1/en not_active Ceased
Also Published As
| Publication number | Publication date |
|---|---|
| JP5027696B2 (ja) | 2012-09-19 |
| JP2009217438A (ja) | 2009-09-24 |
| EP2101305A2 (en) | 2009-09-16 |
| EP2101305A3 (en) | 2010-02-03 |
Similar Documents
| Publication | Publication Date | Title |
|---|---|---|
| EP2101305B1 (en) | Traffic information communication system, on-board communication device, and mobile terminal | |
| JP7549490B2 (ja) | 移動情報提供システム、およびサーバ装置 | |
| US20210132604A1 (en) | Autonomous passenger vehicle system | |
| US11842631B2 (en) | Communication device, control method thereof and communication system including the same | |
| EP3931811B1 (en) | Electronic device and method for assisting with driving of vehicle | |
| US20190302781A1 (en) | Method to track and to alert autonomous driving vehicles (advs) of emergency vehicles | |
| US12017681B2 (en) | Obstacle prediction system for autonomous driving vehicles | |
| US20200184827A1 (en) | Electronic control device and vehicle comprising the same | |
| US12151677B2 (en) | Vehicle control device, vehicle control method, program, and vehicle | |
| US20220281482A1 (en) | Vehicle control device, vehicle control method, and computer-readable storage medium storing program | |
| CN113548043B (zh) | 用于自主车辆的安全操作员的碰撞告警系统和方法 | |
| EP3757711B1 (en) | A vehicle-platoons implementation under autonomous driving system designed for single vehicle | |
| JP2002042291A (ja) | 交通信号機制御装置および交通信号機制御方法 | |
| KR20190065700A (ko) | 지향성 마이크를 이용한 자율주행 차량의 주행 상황 판단/행동 결정 장치 및 방법 | |
| JP2008197740A (ja) | 車両用衝突予防安全装置、衝突予防安全システム、及び衝突予防安全情報センター | |
| CN112712718A (zh) | 通过v2x的车辆、车队管理和交通信号灯交互体系结构设计 | |
| US12151695B2 (en) | Control device and control method | |
| KR102742458B1 (ko) | 주행 가이드를 위한 차량 탑재 장치 | |
| US20210396532A1 (en) | Mobile-object control device, mobile-object control method, mobile object, information processing apparatus, information processing method, and program | |
| CN113353005A (zh) | 用于处理自动驾驶系统与车辆之间的通信延迟的系统 | |
| US11979805B2 (en) | Control method, communication terminal, and communication system | |
| US20240227844A1 (en) | Dual path ethernet-based sensor device fault monitoring | |
| US11924652B2 (en) | Control device and control method | |
| US11679761B2 (en) | Forward collision warning alert system for autonomous driving vehicle safety operator | |
| JP2010134641A (ja) | 安全走行支援システム、安全走行支援方法及び安全走行支援プログラム |
Legal Events
| Date | Code | Title | Description |
|---|---|---|---|
| PUAI | Public reference made under article 153(3) epc to a published international application that has entered the european phase |
Free format text: ORIGINAL CODE: 0009012 |
|
| AK | Designated contracting states |
Kind code of ref document: A2 Designated state(s): AT BE BG CH CY CZ DE DK EE ES FI FR GB GR HR HU IE IS IT LI LT LU LV MC MK MT NL NO PL PT RO SE SI SK TR |
|
| AX | Request for extension of the european patent |
Extension state: AL BA RS |
|
| PUAL | Search report despatched |
Free format text: ORIGINAL CODE: 0009013 |
|
| AK | Designated contracting states |
Kind code of ref document: A3 Designated state(s): AT BE BG CH CY CZ DE DK EE ES FI FR GB GR HR HU IE IS IT LI LT LU LV MC MK MT NL NO PL PT RO SE SI SK TR |
|
| AX | Request for extension of the european patent |
Extension state: AL BA RS |
|
| 17P | Request for examination filed |
Effective date: 20100331 |
|
| 17Q | First examination report despatched |
Effective date: 20100503 |
|
| AKX | Designation fees paid |
Designated state(s): DE FR |
|
| GRAP | Despatch of communication of intention to grant a patent |
Free format text: ORIGINAL CODE: EPIDOSNIGR1 |
|
| INTG | Intention to grant announced |
Effective date: 20150423 |
|
| RIN1 | Information on inventor provided before grant (corrected) |
Inventor name: IMANISHI, SHINYA Inventor name: NAKANO, TETSUO |
|
| GRAS | Grant fee paid |
Free format text: ORIGINAL CODE: EPIDOSNIGR3 |
|
| GRAA | (expected) grant |
Free format text: ORIGINAL CODE: 0009210 |
|
| AK | Designated contracting states |
Kind code of ref document: B1 Designated state(s): DE FR |
|
| REG | Reference to a national code |
Ref country code: DE Ref legal event code: R096 Ref document number: 602009034165 Country of ref document: DE |
|
| REG | Reference to a national code |
Ref country code: FR Ref legal event code: PLFP Year of fee payment: 8 |
|
| REG | Reference to a national code |
Ref country code: DE Ref legal event code: R097 Ref document number: 602009034165 Country of ref document: DE |
|
| PLBE | No opposition filed within time limit |
Free format text: ORIGINAL CODE: 0009261 |
|
| STAA | Information on the status of an ep patent application or granted ep patent |
Free format text: STATUS: NO OPPOSITION FILED WITHIN TIME LIMIT |
|
| 26N | No opposition filed |
Effective date: 20160715 |
|
| REG | Reference to a national code |
Ref country code: FR Ref legal event code: PLFP Year of fee payment: 9 |
|
| REG | Reference to a national code |
Ref country code: FR Ref legal event code: PLFP Year of fee payment: 10 |
|
| PGFP | Annual fee paid to national office [announced via postgrant information from national office to epo] |
Ref country code: FR Payment date: 20171211 Year of fee payment: 10 |
|
| PGFP | Annual fee paid to national office [announced via postgrant information from national office to epo] |
Ref country code: DE Payment date: 20180117 Year of fee payment: 10 |
|
| REG | Reference to a national code |
Ref country code: DE Ref legal event code: R119 Ref document number: 602009034165 Country of ref document: DE |
|
| PG25 | Lapsed in a contracting state [announced via postgrant information from national office to epo] |
Ref country code: FR Free format text: LAPSE BECAUSE OF NON-PAYMENT OF DUE FEES Effective date: 20190131 Ref country code: DE Free format text: LAPSE BECAUSE OF NON-PAYMENT OF DUE FEES Effective date: 20190801 |