EP2052217B1 - Optical encoder - Google Patents
Optical encoder Download PDFInfo
- Publication number
- EP2052217B1 EP2052217B1 EP07790030.6A EP07790030A EP2052217B1 EP 2052217 B1 EP2052217 B1 EP 2052217B1 EP 07790030 A EP07790030 A EP 07790030A EP 2052217 B1 EP2052217 B1 EP 2052217B1
- Authority
- EP
- European Patent Office
- Prior art keywords
- light
- optical
- shaft
- rotary
- guides
- Prior art date
- Legal status (The legal status is an assumption and is not a legal conclusion. Google has not performed a legal analysis and makes no representation as to the accuracy of the status listed.)
- Not-in-force
Links
Images
Classifications
-
- G—PHYSICS
- G01—MEASURING; TESTING
- G01D—MEASURING NOT SPECIALLY ADAPTED FOR A SPECIFIC VARIABLE; ARRANGEMENTS FOR MEASURING TWO OR MORE VARIABLES NOT COVERED IN A SINGLE OTHER SUBCLASS; TARIFF METERING APPARATUS; MEASURING OR TESTING NOT OTHERWISE PROVIDED FOR
- G01D5/00—Mechanical means for transferring the output of a sensing member; Means for converting the output of a sensing member to another variable where the form or nature of the sensing member does not constrain the means for converting; Transducers not specially adapted for a specific variable
- G01D5/26—Mechanical means for transferring the output of a sensing member; Means for converting the output of a sensing member to another variable where the form or nature of the sensing member does not constrain the means for converting; Transducers not specially adapted for a specific variable characterised by optical transfer means, i.e. using infrared, visible, or ultraviolet light
- G01D5/32—Mechanical means for transferring the output of a sensing member; Means for converting the output of a sensing member to another variable where the form or nature of the sensing member does not constrain the means for converting; Transducers not specially adapted for a specific variable characterised by optical transfer means, i.e. using infrared, visible, or ultraviolet light with attenuation or whole or partial obturation of beams of light
- G01D5/34—Mechanical means for transferring the output of a sensing member; Means for converting the output of a sensing member to another variable where the form or nature of the sensing member does not constrain the means for converting; Transducers not specially adapted for a specific variable characterised by optical transfer means, i.e. using infrared, visible, or ultraviolet light with attenuation or whole or partial obturation of beams of light the beams of light being detected by photocells
- G01D5/347—Mechanical means for transferring the output of a sensing member; Means for converting the output of a sensing member to another variable where the form or nature of the sensing member does not constrain the means for converting; Transducers not specially adapted for a specific variable characterised by optical transfer means, i.e. using infrared, visible, or ultraviolet light with attenuation or whole or partial obturation of beams of light the beams of light being detected by photocells using displacement encoding scales
- G01D5/34707—Scales; Discs, e.g. fixation, fabrication, compensation
- G01D5/34715—Scale reading or illumination devices
- G01D5/34723—Scale reading or illumination devices involving light-guides
-
- G—PHYSICS
- G01—MEASURING; TESTING
- G01D—MEASURING NOT SPECIALLY ADAPTED FOR A SPECIFIC VARIABLE; ARRANGEMENTS FOR MEASURING TWO OR MORE VARIABLES NOT COVERED IN A SINGLE OTHER SUBCLASS; TARIFF METERING APPARATUS; MEASURING OR TESTING NOT OTHERWISE PROVIDED FOR
- G01D5/00—Mechanical means for transferring the output of a sensing member; Means for converting the output of a sensing member to another variable where the form or nature of the sensing member does not constrain the means for converting; Transducers not specially adapted for a specific variable
- G01D5/26—Mechanical means for transferring the output of a sensing member; Means for converting the output of a sensing member to another variable where the form or nature of the sensing member does not constrain the means for converting; Transducers not specially adapted for a specific variable characterised by optical transfer means, i.e. using infrared, visible, or ultraviolet light
- G01D5/32—Mechanical means for transferring the output of a sensing member; Means for converting the output of a sensing member to another variable where the form or nature of the sensing member does not constrain the means for converting; Transducers not specially adapted for a specific variable characterised by optical transfer means, i.e. using infrared, visible, or ultraviolet light with attenuation or whole or partial obturation of beams of light
- G01D5/34—Mechanical means for transferring the output of a sensing member; Means for converting the output of a sensing member to another variable where the form or nature of the sensing member does not constrain the means for converting; Transducers not specially adapted for a specific variable characterised by optical transfer means, i.e. using infrared, visible, or ultraviolet light with attenuation or whole or partial obturation of beams of light the beams of light being detected by photocells
- G01D5/347—Mechanical means for transferring the output of a sensing member; Means for converting the output of a sensing member to another variable where the form or nature of the sensing member does not constrain the means for converting; Transducers not specially adapted for a specific variable characterised by optical transfer means, i.e. using infrared, visible, or ultraviolet light with attenuation or whole or partial obturation of beams of light the beams of light being detected by photocells using displacement encoding scales
- G01D5/3473—Circular or rotary encoders
Definitions
- the present invention relates to Optical Encoders for electrical motors or other rotary devices.
- Optical Encoders have been widely used as position feedback devices in systems for controlling the position of the rotary shaft in different kinds of rotary devices.
- Optical Encoders are widely used in Robots, automatic machines and similar devices.
- optical encoders can be found in Patents US 4,268,747 by Becchi et al. (1981 ), and 4,410,798 by Breslow (1983 ).
- Optical encoder systems generally include a rotating optical disc, with a pattern of sections of alternating optical properties (for example transparent and opaque sections) fixed on the motor shaft.
- the disc is placed in the path of an optical beam, between a light emitter and a light sensor.
- the light sensor then creates an electric signal with amplitude changing periodically with the shaft position.
- An electronic circuit is used to count the number periods of that electronic signal, and thus provide information on the shaft position, relative to an initial position.
- An improvement of this method consists of using a light beam that covers several segments of a circular pattern section with alternating optical properties provided on a rotary disc and adding a fixed mask that has a pattern similar to the rotating optical disc pattern, containing several consecutive segments with alternating optical properties and covering at least the surface of the light sensor between the rotating optical disc and the light sensor.
- a maximum of light is transmitted whereas when mask and disc patterns are in opposite phase, light transmission is minimum.
- the light transmitted to the sensor becomes a periodic function of the angular position.
- This method provides an improved signal shape, due to the fact that tolerances in the exact shape of pattern segments are averaged over a number of segments.
- This radial symmetry of the inventive Optical Encoder provides compensation for small lateral movements of the shaft and since light signals are collected from a large number of segments equally distributed around the center of symmetry, the effect of irregularities in the shape of the segments is averaged and thus reduced.
- both the light that is emanated from the light source towards the optical disc and the light that returns from the optical disc to the sensors are conducted through optical fibers that enter the light guide at an entrance surface.
- the optical encoder being distant from the electronic board that carries the sensors and from the light source, one or more optical cables are required for this system in addition to a standard electronic cable.
- Optical encoders propose an integral electronic board that is located within the Optical encoder assembly and carries the light source, the light sensors and the signal processing means directly on a PCB such that both light source and sensors are close to the symmetry axis of the rotating device, thereby further increasing precision and reducing manufacturing and mounting costs.
- An object of the invention is to provide an Optical encoder for a rotary shaft that increases precision and reduces wiring, production and mounting costs by a new integral and symmetric design in which light sensors and light source means are installed on each of the faces of a single PCB and the PCB is placed between a pair of light guides that receive light emitted from opposite sides of the PCB, guide it onto an optical assembly that is suitable for indicating the rotation angle and finally guide the returning light towards the light sensor means on the PCB.
- an Optical encoder system for measuring the rotary angle as defined in claim 1.
- the inventive optical encoder system and method has the advantage of being low cost as well as universally adaptable such that it may be used with many standard motor drives or controllers.
- a conventional encoder system comprises: a light source (1), a light detector (2), a motor shaft (3) to which a rotating disc (4) is fixed, and a fixed mask (5).
- the rotating disc (4) has an annular pattern of alternating transparent and opaque segments
- the fixed mask (5) has a fraction of a matching pattern of alternating transparent and opaque segments and the light emitted from the light source passes through the rotating disc (4) and the fixed mask (5) such that when light is emitted from the light source, the amount of light detected on the light detector (2) is a function of the relative positions of the rotating disc and the mask.
- the output of the light detector (2) is then input to an electronic interface (not shown) that processes the light intensity to calculate the rotary angle of the rotating disc.
- the fixed mask covers a limited number of slots that fit the size of the light beam issued from the light source (1).
- Such optical encoders have a limited performance and in industrial encoders it is known to use a number of masks and light sensors in order to detect rotation direction and to compensate for errors due to shaft vibration or eccentricity.
- a pattern used for rotating discs is shown in Fig 2 and an example of a matching pattern used for masks is shown in Fig 3 .
- the pattern consists of alternating segments with different optical properties such as different transparency.
- segments are either totally transparent (21) or totally opaque (22).
- patterns may be of many different kinds.
- each section may have a different surface shape, so that light rays are refracted in various directions, slots may be made in accordance with a variety of designs, etc...In this patent, wherever segments of the pattern are referred to as slots it will be understood that other types of patterns with segments of different optical characteristics are also within the scope of the invention.
- a further cause of limitation is due to the natural dispersion of light rays such that only a small fraction of emitted light reaches the patterned disc and an even smaller fraction of the emitted light is returned to the light sensors to supply the indication of the rotary position or rotary angle.
- an encoder having a pair of light guides that emit a pair of concentric circular light beams and collect returned light from the whole circumference of the optical disc is proposed to improve the precision of the position information received.
- Position information is further improved by using optical fibers to conduct the light rays from remote light emission means to the light guides through a light entrance surface of the light guides and to conduct the returning light rays from the light guides back to remote sensor means.
- the present invention proposes an optical encoder system and method that improve precision of the position information by providing an electronic board that is disposed between a pair of light guides.
- Light emitter means and light sensor means are provided on optical areas on both sides of the electric board and each of the light guides has at least one light entrance area facing a respective side of the electric board such that a relatively large fraction of light rays from the light emitter means enter the light guide.
- the inventive optical encoder enhances precision by emitting light from an annular light transit surface of each of the light guides and collecting the light that is reflected by a reflective surface backwards to the light guide after interaction of the said returning light with an annular optical pattern provided on a rotating device that is fixed on the rotating shaft, and with a further annular optical pattern provided on a stationary device such that the amount of returned light will indicate the relative position of the stationary device and the rotating disc and thus the rotary angle of the rotating shaft. Precision is further enhanced by one or more reflective surfaces within the optical guides that enable a relatively large fraction of returned light to reach the light sensor means whereby the precision of the information is further increased.
- the electronic board that processes the raw signals of the light sensors is positioned between the light guides, thus allowing a symmetric configuration of the encoder, i.e. both light sources and/or light sensors can be placed on or very close to the symmetry axis of the motor shaft.
- an optical encoder system for measuring the rotary angle of a rotating shaft comprising:
- a method for measuring the rotary angle of a rotary shaft comprising the following steps:
- one or more reflective elements are provided within each of the light guides for guiding back a part of the light beams through the light transit surface to at least one light sensor means in proximity to a light transit surface;
- the encoder of the invention has a standard interface whereby it may be used with a large number of conventional drives.
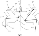
- Fig 4 shows a preferred embodiment of an optical encoder assembly according to the present invention for detecting and measuring the rotary movement of a motor shaft (3). It will be understood that the assembly of Fig. 4 is shown by way of example and many other designs may be implemented in the scope of the inventive system and method.
- the relative position of the encoder components will be described in the direction of the motor shaft rotation axis, the motor shaft being defined as being the lower component in that direction. It will be understood however that the components may be arranged along a horizontal axis or in any other orientation as long as they are aligned with the motor shaft axis.
- an Optical Encoder system for measuring the rotary angle of a rotary shaft (3) is shown in longitudinal median section, comprising an electronic board (42) with optical areas (43, 44) on a first side (42a) and on a second side (42b) of the said electronic board (42) respectively and on each of the optical areas (43, 44) a light emission means (404) and a number of light sensor means (405) are mounted.
- the electronic board is disposed between a pair of light guides (OG) (45, 46).
- the light guides (45, 46) are made of transparent material and designed to guide the light rays in accordance with the total reflection laws as applied in the well known techniques of light guides and/or optical fibers. It will be further understood that the number of light emission means on each of the said optical areas (43, 44) may be more than one.
- the light guides (45, 46) and the said electronic board (42) are fixed above the rotating shaft (3). It will be understood however that the light guides and the electronic board may be fixed in front of the rotating shaft and the rotating shaft axis may be oriented in a horizontal direction or in any other direction as suitable for a specific embodiment.
- the light guides (45, 46) and the said optical areas (43, 44) have an axis of symmetry (411) that coincides with the axis of the rotating shaft (3).
- the light guides (45, 46) are transparent and bell shaped and disposed such that the light guide 46, that has a larger diameter than the light guide 45, overlaps the light guide 45.
- Each of the light guides has a light transit surface (47) and (48) respectively wherein the light transit surface 47 of the light guide 45 is disposed such that it faces the light transit surface 48 of the light guide 46 and the light transit surfaces (47, 48) are juxtaposed to the optical areas (43, 44) on the said first side (42a) and on the said second side (42b) of the electronic board respectively such that each of the said light transit surfaces is located in close proximity to the said light emission means (404) and to at least one of the said light sensor means (405).
- Each of the light guides (45, 46) further has an annular light exit surface (49a, 49b) and the two annular light exit surfaces (49a) and (49b) are concentric with each other.
- a stationary device (403) is located below the said light guides (45, 46) and on the said stationary device (403) a pair of concentric annular pattern sections (403a; 403b) (hereinafter: stationary pattern) are provided opposite the annular light exit surfaces (49a; 49b).
- a first rotating device (402) such as a rotating optical disc is attached to the rotary shaft (3) and on the said rotating device a pair of concentric annular pattern sections (402a; 402b) (hereinafter: rotary pattern) are provided, juxtaposed to the said stationary pattern.
- a second rotating device (401) has an upper surface with a reflective area (401a) that is facing the rotary pattern sections (402a; 402b).
- light emitted from a light source mounted on the optical area 44 of the electronic board 42 enters the light guide 45 through the entrance surface 47 and is guided through the light guide 45 until it reaches the annular transit surface 49a of the light guide 45 and is emitted through the said annular exit surface 49a of the light guide 45 in the shape of an annular beam.
- a variable amount of light rays reaches the reflective surface 401 a to be reflected backward by the said reflective surface 401a.
- the reflected light again passes through the rotary pattern 402a and through the stationary pattern 403a in a reverse direction,.
- the light is then propagated towards the light guides and re-enters the light guide 45 through the annular transit surface 49a, the amount of reentering light being dependent on the relative angular position of the rotary pattern 402a and the stationary pattern 403a.
- the light is then guided up to the transit surface 47 such that a part of the light rays reaches the light sensor(s) on the optical area 43 of the electronic board 42.
- light is propagated into both optical guides 45 and 46 such that two electrical signals are simultaneously obtained.
- the light sensors then output an electronic signal varying as a function of the rotary angle of the shaft 3.
- Conventional electronic and software processing means known for encoders can be used to calculate the rotation movement.
- optical solutions may be applied to make the light pass through the optical patterns in one direction and reflect them in the direction of the optical guides such that they will pass the optical patterns in the reverse direction.
- the electric board may be made in accordance with many different designs and disposed in different orientations and it may also be implemented as a flexible electric board.
- the stationary pattern (403a; 403b) may be implemented by providing an optical pattern on the annular light transit surfaces (49a; 49b) in which case the stationary device 402 may be eliminated.
- the said pattern is made of segments of different optical properties that may be alternating opaque and transparent segments or segments of different geometric shape, so that rays exiting the light guide have different directions depending on the optical properties of the segment through which they are emanated or they differ in intensity, again depending on the optical properties of the segment through which they are emanated such that the annular beams that exit the annular exit surfaces 49, 400 are annular patterned beams.
- Fig 5 shows an example of an embodiment of a light guide 50 with a transit surface 51 and an annular transit surface 52 that operates as the stationary pattern of the optical encoder, wherein on the said annular transit surface a teeth design is provided to create an optical pattern.
- the annular exit surface 52 of the light guide (50) is divided in two types of alternating segments. Segments of a first type (52b) have an exit surface perpendicular to the shaft axis (511), whereas segments of a second type (52a) have an exit surface forming a 45 degrees angle with the shaft axis 511.
- Fig 6 shows an example of a light source (65) and light sensors (66a, 66b, 66c, 66d) mounted on the optical area 63 of an electronic board 64. It will be understood that many other modes and designs of the optical area 63 may be made that still remain within the scope of the invention.
- the light source (65) is disposed at the center of the optical area 63 and the electronic board 64, that is also the shaft rotation axis, while light sensor means 66a, 66b, 66c and 66d are placed around the light source 65.
- This arrangement has the advantage of being radially symmetric, such that all sections of the circular optical pattern on the optical disc and on the annular exit surface have the same theoretic contribution to the total electric signal, whereby the signal output, being the sum of the signals from all the light sensor means (66a, 66b, 66c, 66d), is proportional to a true average of the amount of light passing through all the sections of both annular exit surface and circular rotating disc patterns allowing passage of light in the direction of the light sensor means. As explained above, this averaging reduces drastically the sensitivity of the position information to geometric precision of pattern sections.
- various patterns may be designed so as to provide a phase difference between the two electrical signals, whereby information about the direction of rotation is provided. Examples of such patterns are shown in Fig. 7 and Fig. 8 .
- black areas represent segments of the annular pattern with a first optical property (for example opaque) while white areas represent segments with a second optical property (for example transparent).
- these different optical properties may be implemented in various ways, using different geometric shapes, coating or any other technique that changes transparency or the direction of light ray refraction.
- fig 7 a pattern with a pair of concentric annular sections is shown, where the concentric annular sections are 'in phase', i.e. the black segments of both patterns are disposed at the same angular position.
- a pattern with a pair of concentric annular sections is shown, where the concentric annular sections have angular positions shifted by ⁇ equal to one fourth of the pattern angular period ⁇ .
- the two patterns that are 'in phase' of Fig 7 may be applied to the annular transit surfaces of the two light guides, while the pattern with the two concentric annular sections with a one fourth period phase difference may be applied to the rotating disc.
- a reversed solution, where the patterns "in phase” are applied to the rotating disc and the patterns with the phase difference of one fourth of the angular period are applied to the annular transit surfaces of the two light guides may also be implemented in the optical encoder system. In both cases the two electric signals received as a result of operating the inventive method will present a one fourth period phase difference (in quadrature).
- phase difference between the concentric patterns of the light guides and the concentric patterns on the rotating disc may be of any value, so as to result in any phase difference between the two electrical signals, and the signal processing means can be programmed to perform the position calculation according to the known phase difference.
- the patterns may be implemented such that the optical properties vary in a continuous manner as a function of the angular position on the annular surface of the pattern.
- the annular surface may have a periodic sinusoidal transparency over the circumference, or the surface height of the annular surface in the shaft direction may be a sinusoidal function, etc.
- FIG. 9 an embodiment of the encoder is shown were the reflective surface (90) as well as the stationary patterns (403a, 403b) and the rotary patterns (402a; 402b) are implemented on components (96 and 98) that are disposed separately of the light guides and rotating disc.
- the embodiment of Fig. 9 differs from the embodiment of Fig. 4 in that the rotating device 401 is made of transparent material and a separate static device (90) with a reflective surface 91 is provided.
- the light exiting through the annular transit surfaces (49a; 49b) is propagated towards the reflective surface 91 through the stationary pattern (403a; 403b), the rotary pattern (402a; 402b) and the transparent device 401 that may be a transparent optical disc.
- the light reflected by the reflective surface 91 is again propagated through the rotary pattern (402a; 402b) and the stationary pattern (403a; 403b) such that it interacts twice with the said rotary and stationary patterns and the amount of light returning to the optical guides (45, 46) is a function of the relative angular position of the said stationary pattern and the said rotary pattern.
- a further embodiment of the inventive system may be made wherein the rotating device (402) is located below the transparent rotating device 401.
- Fig 10 shows an embodiment of a rotating disc (101) fixed on a rotating shaft 3 and having as center of radial symmetry the rotation axis 100 of the rotating disc 3, wherein the reflective surfaces of the rotating disc are implemented in the form of two annular V shaped protuberances (102,103) on the lower side of the rotating disc, both surfaces of the V shaped protuberances having a 45 degrees angle with the shaft axis.
- the rotating disc is made of transparent material having a refraction index chosen such that the light rays (104, 105) exiting from the upper and lower light guides are reflected twice by the inclined surfaces of the V shaped protuberance, whereby the light rays (104, 105) are returned in the direction of the light guide from which they were emitted.
- the V shaped protuberances are disposed beneath the annular exit surface of a pair of overlying light guides (not shown), such that the reflected rays (104, 105) reenter the light guides through the said annular exit surfaces.
- an optical pattern may be provided, or as shown in the embodiment of Fig. 9 , an optical pattern may be provided on a separate component attached to the rotating disc.
- an optical disc with a V shaped retro-reflector is advantageous, since it does not require additional treatment of the rotating disc, thus lowering production costs.
- a pattern may also be provided by dividing the V-shape retro-reflector in sectors with alternating V and flat shape.
- one of the factors that affect precision of measurement is the amount of light returned to the sensor from the optical patterns.
- various light focusing means were designed for guiding the returning light rays toward the light sensors, as shown in Figs. 11 , 12 and 13 .
- the light guide A has a radial symmetry around the axis (1110), except for two protuberances (1111, 1112) that guide light rays to light sensors (116, 116a).
- the light source (115) emits light rays (such as light ray 1115) that enter the light guide through its entrance surface (1116); a conical light focusing means (112) radially reflects the light rays in a direction perpendicular to the axis of symmetry 1110 wherein the reflection occurs due to the law of total reflection and the refraction index of the transparent material of the light guide A.
- the rays (1115) are reflected again by a second conical surface (119) in a direction approximately parallel to the axis of symmetry, and exit the light guide at the annular exit surface (1113).
- Light rays like 117 that are reflected back from a rotating disc (not shown) enter the light guide A at the above mentioned annular exit surface (1113) and are reflected by the conical surfaces (119) and (112) successively to be propagated in the direction of the light sensors 116, 116a through exit surfaces 118, 118a respectively.
- all light rays would return following the path of the emitted light and none of the rays would reach the light sensors. However, dispersion occurs, and a fraction of the returned light rays are reflected toward the light sensors by the conical surfaces (112) and (119).
- FIG 12 a similar embodiment is shown for an upper light guide B, having an entrance surface (112) facing down.
- Fig 13 An improvement to the embodiments of Figs. 11 and 12 is shown in Fig 13 .
- the conical light focusing means (102) of Fig 10 is here replaced by a light focusing means with a reflective surface that is divided in three surface areas (131, 132, 133), each area being designed so as to focus the light from and to one device, light source (1312) or light sensor (136a; 136b).
- Surface area (131) radially reflects light rays emitted from the light source means (1312) .all around the said surface area (131) and in a direction that is perpendicular to symmetry axis (1310), as shown for ray 135.
- the surface area (135) can be designed in accordance with known optical principles so as to minimize dispersion.
- the surface area (135) cross section may have a parabolic shape.
- Other rays emitted from the light source means (1312) reach the surface areas (132) and (133) and are reflected with a relatively large dispersion, these rays having a high probability of being lost, i.e. of not being returned to any of the sensors.
- the rays (like 137 and 138) that are returned to the light guide through the annular transit surface after interaction with the static and stationary patterns (not shown), reach one of the three areas (131, 132, 133).
- the returned rays that reach the upper surface area (131) are reflected back to the light source, and thus are lost, as shown for ray 136.
- the returned rays (like 137) that reach surface areas (132) or (133) will be reflected toward the light sensor means (136a; 136b).
- This partition of the reflective surface of the light focusing means into multiple surface sections (121, 122, 123) allows a more precise design, whereby the amount of light returning to light sensors can be calculated and maximized, thus providing a much bigger intensity of electric signals of the light sensor, whereby the signal to noise ratio is improved.
- the design of the reflective surface can be made to minimize dispersion, whereby sensitivity of the encoder to precision and quality of the reflecting surfaces of the inventive optical encoder system is reduced.
Landscapes
- Physics & Mathematics (AREA)
- General Physics & Mathematics (AREA)
- Optical Transform (AREA)
Applications Claiming Priority (2)
| Application Number | Priority Date | Filing Date | Title |
|---|---|---|---|
| IL177367A IL177367A0 (en) | 2006-08-08 | 2006-08-08 | Optical encoder |
| PCT/IL2007/000975 WO2008018059A2 (en) | 2006-08-08 | 2007-08-06 | Optical encoder |
Publications (2)
| Publication Number | Publication Date |
|---|---|
| EP2052217A2 EP2052217A2 (en) | 2009-04-29 |
| EP2052217B1 true EP2052217B1 (en) | 2017-04-12 |
Family
ID=38941845
Family Applications (1)
| Application Number | Title | Priority Date | Filing Date |
|---|---|---|---|
| EP07790030.6A Not-in-force EP2052217B1 (en) | 2006-08-08 | 2007-08-06 | Optical encoder |
Country Status (6)
| Country | Link |
|---|---|
| US (1) | US8124928B2 (enExample) |
| EP (1) | EP2052217B1 (enExample) |
| JP (1) | JP4940302B2 (enExample) |
| CN (1) | CN101553712B (enExample) |
| IL (1) | IL177367A0 (enExample) |
| WO (1) | WO2008018059A2 (enExample) |
Families Citing this family (24)
| Publication number | Priority date | Publication date | Assignee | Title |
|---|---|---|---|---|
| JP5099459B2 (ja) * | 2010-03-19 | 2012-12-19 | 株式会社安川電機 | 光全周エンコーダ及びモータシステム |
| US8395111B2 (en) * | 2010-03-31 | 2013-03-12 | Nxp B.V. | Optical system and method for detecting rotation of an object |
| JP6032010B2 (ja) | 2010-10-12 | 2016-11-24 | 株式会社ニコン | エンコーダ、駆動装置及びロボット装置 |
| CN102012435A (zh) * | 2010-10-12 | 2011-04-13 | 深圳华鹰世纪光电技术有限公司 | 无源转速计数装置及其计数方法 |
| JP5618094B2 (ja) * | 2011-10-05 | 2014-11-05 | 株式会社安川電機 | 光全周エンコーダ及びモータシステム |
| EP2607847B1 (en) | 2011-12-19 | 2017-02-01 | Kabushiki Kaisha TOPCON | Rotation angle detecting apparatus and surveying instrument |
| JP6055179B2 (ja) * | 2011-12-19 | 2016-12-27 | 株式会社トプコン | 回転角検出装置及び測量装置 |
| EP2685221A1 (de) * | 2012-07-10 | 2014-01-15 | Siemens Aktiengesellschaft | Drehgeber |
| FR3002320B1 (fr) * | 2013-02-20 | 2016-05-20 | Airbus Operations Sas | Sonde de mesure angulaire a bord d'un aeronef et aeronef mettant en oeuvre au moins une telle sonde |
| DE102013208649B4 (de) | 2013-05-10 | 2025-01-02 | Scanlab Gmbh | Optischer Winkeldetektor mit Strahlformungselement |
| FR3030724A1 (fr) * | 2014-12-17 | 2016-06-24 | Thales Sa | Codeur optique robuste |
| FR3041444B1 (fr) * | 2015-09-17 | 2019-10-11 | Continental Automotive France | Commutateur rotatif agence sur un ecran |
| CN108496060B (zh) * | 2016-01-14 | 2020-12-04 | 索尤若驱动有限及两合公司 | 包括第一部件和第二部件的系统 |
| JP3220954U (ja) * | 2016-02-17 | 2019-04-18 | 上海思嵐科技有限公司Shanghai Slamtec Co., Ltd. | レーザー測距デバイス |
| US10835977B1 (en) | 2016-11-04 | 2020-11-17 | Piasecki Aircraft Corporation | Apparatus, method and system for manufactured structures |
| DE102016122585B4 (de) * | 2016-11-23 | 2018-07-12 | Preh Gmbh | Drehsteller mit verbesserter, optischer Drehstellungsdetektion |
| US10203662B1 (en) * | 2017-09-25 | 2019-02-12 | Apple Inc. | Optical position sensor for a crown |
| CN107764209A (zh) * | 2017-12-05 | 2018-03-06 | 北京科瑞思创测控科技有限公司 | 一种套筒转角检测装置 |
| KR102520056B1 (ko) * | 2018-08-31 | 2023-04-10 | 나이키 이노베이트 씨.브이. | 회전식 드럼 인코더를 구비한 오토레이싱 신발류 모터 |
| US20200271484A1 (en) * | 2019-02-25 | 2020-08-27 | Hiwin Mikrosystem Corp. | Optical encoder and control method thereof |
| JP6842680B2 (ja) * | 2019-07-19 | 2021-03-17 | 株式会社安川電機 | エンコーダ、サーボモータ、サーボシステム |
| CN112444277A (zh) * | 2019-09-04 | 2021-03-05 | 台达电子工业股份有限公司 | 光学反射部件及其适用的光学编码器 |
| CN112945168B (zh) * | 2021-04-25 | 2023-07-21 | 沈阳中光电子有限公司 | 一种厚度检测装置 |
| WO2023035476A1 (zh) * | 2021-09-09 | 2023-03-16 | 深圳市汇顶科技股份有限公司 | 光学编码器及电子设备 |
Family Cites Families (9)
| Publication number | Priority date | Publication date | Assignee | Title |
|---|---|---|---|---|
| AU3542571A (en) * | 1970-11-13 | 1973-05-10 | Dunlop Holdings Limited | Improvements in rotation-detecting devices |
| IT1116276B (it) | 1977-12-30 | 1986-02-10 | Olivetti & Co Spa | Trasduttore di posizione angolare per un organo ruotante |
| JP3575506B2 (ja) * | 1996-01-12 | 2004-10-13 | 株式会社安川電機 | 光学式エンコーダ |
| US6290381B1 (en) * | 1997-04-28 | 2001-09-18 | Scott Mangum | Optical fiber light fixture |
| WO2002064136A2 (en) * | 2001-01-26 | 2002-08-22 | Chugai Seiyaku Kabushiki Kaisha | Malonyl-coa decarboxylase inhibitors useful as metabolic modulators |
| US6998601B2 (en) * | 2002-04-11 | 2006-02-14 | Agilent Technologies, Inc. | Dual-axis optical encoder device |
| JP2004191087A (ja) | 2002-12-09 | 2004-07-08 | Nidec Copal Corp | 光学式エンコーダ |
| EP1588129A2 (en) * | 2003-01-16 | 2005-10-26 | Yaskawa Eshed Technology Ltd. | Optical encoder |
| JP4375055B2 (ja) * | 2004-02-26 | 2009-12-02 | パナソニック株式会社 | 回転型エンコーダ |
-
2006
- 2006-08-08 IL IL177367A patent/IL177367A0/en unknown
-
2007
- 2007-08-06 WO PCT/IL2007/000975 patent/WO2008018059A2/en not_active Ceased
- 2007-08-06 JP JP2009523442A patent/JP4940302B2/ja active Active
- 2007-08-06 CN CN200780037573XA patent/CN101553712B/zh not_active Expired - Fee Related
- 2007-08-06 EP EP07790030.6A patent/EP2052217B1/en not_active Not-in-force
- 2007-08-06 US US12/376,437 patent/US8124928B2/en active Active
Non-Patent Citations (1)
| Title |
|---|
| None * |
Also Published As
| Publication number | Publication date |
|---|---|
| CN101553712B (zh) | 2013-06-12 |
| EP2052217A2 (en) | 2009-04-29 |
| CN101553712A (zh) | 2009-10-07 |
| US8124928B2 (en) | 2012-02-28 |
| WO2008018059A2 (en) | 2008-02-14 |
| WO2008018059A3 (en) | 2008-03-20 |
| JP2010500554A (ja) | 2010-01-07 |
| US20100163716A1 (en) | 2010-07-01 |
| JP4940302B2 (ja) | 2012-05-30 |
| IL177367A0 (en) | 2006-12-10 |
Similar Documents
| Publication | Publication Date | Title |
|---|---|---|
| EP2052217B1 (en) | Optical encoder | |
| CN1170869A (zh) | 光学位置传感器 | |
| JP2004534247A (ja) | 位置測定装置 | |
| US5747797A (en) | Rotation information detecting apparatus and scale for use in the same | |
| US3483389A (en) | Electro-optical encoder having fiber optic coupling | |
| JP2011089993A (ja) | 光学エンコーダ装置 | |
| US5324934A (en) | Fiberoptic encoder for linear motors and the like | |
| JP3509830B2 (ja) | 光学式ロータリエンコーダ | |
| JP7544452B2 (ja) | 光学エンコーダ | |
| US6759647B2 (en) | Projection encoder | |
| KR101240792B1 (ko) | 엔코더 및 엔코더용 수광장치 | |
| CN118089801A (zh) | 一种狭缝部、光电编码器、伺服电机和伺服系统 | |
| GB2430250A (en) | Optical encoder and method therefor | |
| JP2011191076A (ja) | たわみ計測装置、ならびにたわみおよび軸ねじれ計測装置 | |
| US20040183701A1 (en) | Projection-type rotary encoder | |
| CN220708412U (zh) | 一种狭缝部、光电编码器、伺服电机和伺服系统 | |
| JPH0253728B2 (enExample) | ||
| JP2000121388A (ja) | 光学式エンコーダ | |
| KR20120138479A (ko) | 광학식 엔코더 및 이를 이용한 변위 측정 방법 | |
| HK40059999A (en) | Optical encoder | |
| HK40059999B (en) | Optical encoder | |
| JPH09287978A (ja) | 光学式エンコーダ | |
| JPH02304313A (ja) | 光学式変位計 | |
| KR19980028727A (ko) | 모터 회전자의 속도 및 위치 검출장치 | |
| JPH0253727B2 (enExample) |
Legal Events
| Date | Code | Title | Description |
|---|---|---|---|
| PUAI | Public reference made under article 153(3) epc to a published international application that has entered the european phase |
Free format text: ORIGINAL CODE: 0009012 |
|
| 17P | Request for examination filed |
Effective date: 20090219 |
|
| AK | Designated contracting states |
Kind code of ref document: A2 Designated state(s): AT BE BG CH CY CZ DE DK EE ES FI FR GB GR HU IE IS IT LI LT LU LV MC MT NL PL PT RO SE SI SK TR |
|
| AX | Request for extension of the european patent |
Extension state: AL BA HR MK RS |
|
| DAX | Request for extension of the european patent (deleted) | ||
| 17Q | First examination report despatched |
Effective date: 20121010 |
|
| GRAJ | Information related to disapproval of communication of intention to grant by the applicant or resumption of examination proceedings by the epo deleted |
Free format text: ORIGINAL CODE: EPIDOSDIGR1 |
|
| STAA | Information on the status of an ep patent application or granted ep patent |
Free format text: STATUS: GRANT OF PATENT IS INTENDED |
|
| GRAP | Despatch of communication of intention to grant a patent |
Free format text: ORIGINAL CODE: EPIDOSNIGR1 |
|
| INTG | Intention to grant announced |
Effective date: 20161125 |
|
| RIN1 | Information on inventor provided before grant (corrected) |
Inventor name: VILLARET, YVES |
|
| GRAS | Grant fee paid |
Free format text: ORIGINAL CODE: EPIDOSNIGR3 |
|
| GRAA | (expected) grant |
Free format text: ORIGINAL CODE: 0009210 |
|
| STAA | Information on the status of an ep patent application or granted ep patent |
Free format text: STATUS: THE PATENT HAS BEEN GRANTED |
|
| AK | Designated contracting states |
Kind code of ref document: B1 Designated state(s): AT BE BG CH CY CZ DE DK EE ES FI FR GB GR HU IE IS IT LI LT LU LV MC MT NL PL PT RO SE SI SK TR |
|
| REG | Reference to a national code |
Ref country code: GB Ref legal event code: FG4D |
|
| REG | Reference to a national code |
Ref country code: CH Ref legal event code: EP |
|
| REG | Reference to a national code |
Ref country code: IE Ref legal event code: FG4D |
|
| REG | Reference to a national code |
Ref country code: AT Ref legal event code: REF Ref document number: 884370 Country of ref document: AT Kind code of ref document: T Effective date: 20170515 |
|
| REG | Reference to a national code |
Ref country code: DE Ref legal event code: R096 Ref document number: 602007050593 Country of ref document: DE |
|
| REG | Reference to a national code |
Ref country code: NL Ref legal event code: MP Effective date: 20170412 |
|
| REG | Reference to a national code |
Ref country code: FR Ref legal event code: PLFP Year of fee payment: 11 |
|
| REG | Reference to a national code |
Ref country code: LT Ref legal event code: MG4D |
|
| REG | Reference to a national code |
Ref country code: AT Ref legal event code: MK05 Ref document number: 884370 Country of ref document: AT Kind code of ref document: T Effective date: 20170412 |
|
| PG25 | Lapsed in a contracting state [announced via postgrant information from national office to epo] |
Ref country code: NL Free format text: LAPSE BECAUSE OF FAILURE TO SUBMIT A TRANSLATION OF THE DESCRIPTION OR TO PAY THE FEE WITHIN THE PRESCRIBED TIME-LIMIT Effective date: 20170412 |
|
| PG25 | Lapsed in a contracting state [announced via postgrant information from national office to epo] |
Ref country code: ES Free format text: LAPSE BECAUSE OF FAILURE TO SUBMIT A TRANSLATION OF THE DESCRIPTION OR TO PAY THE FEE WITHIN THE PRESCRIBED TIME-LIMIT Effective date: 20170412 Ref country code: AT Free format text: LAPSE BECAUSE OF FAILURE TO SUBMIT A TRANSLATION OF THE DESCRIPTION OR TO PAY THE FEE WITHIN THE PRESCRIBED TIME-LIMIT Effective date: 20170412 Ref country code: FI Free format text: LAPSE BECAUSE OF FAILURE TO SUBMIT A TRANSLATION OF THE DESCRIPTION OR TO PAY THE FEE WITHIN THE PRESCRIBED TIME-LIMIT Effective date: 20170412 Ref country code: GR Free format text: LAPSE BECAUSE OF FAILURE TO SUBMIT A TRANSLATION OF THE DESCRIPTION OR TO PAY THE FEE WITHIN THE PRESCRIBED TIME-LIMIT Effective date: 20170713 Ref country code: LT Free format text: LAPSE BECAUSE OF FAILURE TO SUBMIT A TRANSLATION OF THE DESCRIPTION OR TO PAY THE FEE WITHIN THE PRESCRIBED TIME-LIMIT Effective date: 20170412 |
|
| PG25 | Lapsed in a contracting state [announced via postgrant information from national office to epo] |
Ref country code: PL Free format text: LAPSE BECAUSE OF FAILURE TO SUBMIT A TRANSLATION OF THE DESCRIPTION OR TO PAY THE FEE WITHIN THE PRESCRIBED TIME-LIMIT Effective date: 20170412 Ref country code: IS Free format text: LAPSE BECAUSE OF FAILURE TO SUBMIT A TRANSLATION OF THE DESCRIPTION OR TO PAY THE FEE WITHIN THE PRESCRIBED TIME-LIMIT Effective date: 20170812 Ref country code: BG Free format text: LAPSE BECAUSE OF FAILURE TO SUBMIT A TRANSLATION OF THE DESCRIPTION OR TO PAY THE FEE WITHIN THE PRESCRIBED TIME-LIMIT Effective date: 20170712 Ref country code: LV Free format text: LAPSE BECAUSE OF FAILURE TO SUBMIT A TRANSLATION OF THE DESCRIPTION OR TO PAY THE FEE WITHIN THE PRESCRIBED TIME-LIMIT Effective date: 20170412 Ref country code: SE Free format text: LAPSE BECAUSE OF FAILURE TO SUBMIT A TRANSLATION OF THE DESCRIPTION OR TO PAY THE FEE WITHIN THE PRESCRIBED TIME-LIMIT Effective date: 20170412 |
|
| REG | Reference to a national code |
Ref country code: DE Ref legal event code: R097 Ref document number: 602007050593 Country of ref document: DE |
|
| PG25 | Lapsed in a contracting state [announced via postgrant information from national office to epo] |
Ref country code: RO Free format text: LAPSE BECAUSE OF FAILURE TO SUBMIT A TRANSLATION OF THE DESCRIPTION OR TO PAY THE FEE WITHIN THE PRESCRIBED TIME-LIMIT Effective date: 20170412 Ref country code: SK Free format text: LAPSE BECAUSE OF FAILURE TO SUBMIT A TRANSLATION OF THE DESCRIPTION OR TO PAY THE FEE WITHIN THE PRESCRIBED TIME-LIMIT Effective date: 20170412 Ref country code: CZ Free format text: LAPSE BECAUSE OF FAILURE TO SUBMIT A TRANSLATION OF THE DESCRIPTION OR TO PAY THE FEE WITHIN THE PRESCRIBED TIME-LIMIT Effective date: 20170412 Ref country code: EE Free format text: LAPSE BECAUSE OF FAILURE TO SUBMIT A TRANSLATION OF THE DESCRIPTION OR TO PAY THE FEE WITHIN THE PRESCRIBED TIME-LIMIT Effective date: 20170412 Ref country code: DK Free format text: LAPSE BECAUSE OF FAILURE TO SUBMIT A TRANSLATION OF THE DESCRIPTION OR TO PAY THE FEE WITHIN THE PRESCRIBED TIME-LIMIT Effective date: 20170412 |
|
| PLBE | No opposition filed within time limit |
Free format text: ORIGINAL CODE: 0009261 |
|
| STAA | Information on the status of an ep patent application or granted ep patent |
Free format text: STATUS: NO OPPOSITION FILED WITHIN TIME LIMIT |
|
| PG25 | Lapsed in a contracting state [announced via postgrant information from national office to epo] |
Ref country code: IT Free format text: LAPSE BECAUSE OF FAILURE TO SUBMIT A TRANSLATION OF THE DESCRIPTION OR TO PAY THE FEE WITHIN THE PRESCRIBED TIME-LIMIT Effective date: 20170412 |
|
| 26N | No opposition filed |
Effective date: 20180115 |
|
| REG | Reference to a national code |
Ref country code: CH Ref legal event code: PL |
|
| PG25 | Lapsed in a contracting state [announced via postgrant information from national office to epo] |
Ref country code: MC Free format text: LAPSE BECAUSE OF FAILURE TO SUBMIT A TRANSLATION OF THE DESCRIPTION OR TO PAY THE FEE WITHIN THE PRESCRIBED TIME-LIMIT Effective date: 20170412 |
|
| PG25 | Lapsed in a contracting state [announced via postgrant information from national office to epo] |
Ref country code: CH Free format text: LAPSE BECAUSE OF NON-PAYMENT OF DUE FEES Effective date: 20170831 Ref country code: LI Free format text: LAPSE BECAUSE OF NON-PAYMENT OF DUE FEES Effective date: 20170831 |
|
| REG | Reference to a national code |
Ref country code: IE Ref legal event code: MM4A |
|
| PG25 | Lapsed in a contracting state [announced via postgrant information from national office to epo] |
Ref country code: SI Free format text: LAPSE BECAUSE OF FAILURE TO SUBMIT A TRANSLATION OF THE DESCRIPTION OR TO PAY THE FEE WITHIN THE PRESCRIBED TIME-LIMIT Effective date: 20170412 |
|
| REG | Reference to a national code |
Ref country code: BE Ref legal event code: MM Effective date: 20170831 |
|
| PG25 | Lapsed in a contracting state [announced via postgrant information from national office to epo] |
Ref country code: LU Free format text: LAPSE BECAUSE OF NON-PAYMENT OF DUE FEES Effective date: 20170806 |
|
| PG25 | Lapsed in a contracting state [announced via postgrant information from national office to epo] |
Ref country code: IE Free format text: LAPSE BECAUSE OF NON-PAYMENT OF DUE FEES Effective date: 20170806 |
|
| REG | Reference to a national code |
Ref country code: FR Ref legal event code: PLFP Year of fee payment: 12 |
|
| PG25 | Lapsed in a contracting state [announced via postgrant information from national office to epo] |
Ref country code: BE Free format text: LAPSE BECAUSE OF NON-PAYMENT OF DUE FEES Effective date: 20170831 |
|
| PG25 | Lapsed in a contracting state [announced via postgrant information from national office to epo] |
Ref country code: MT Free format text: LAPSE BECAUSE OF NON-PAYMENT OF DUE FEES Effective date: 20170806 |
|
| PG25 | Lapsed in a contracting state [announced via postgrant information from national office to epo] |
Ref country code: HU Free format text: LAPSE BECAUSE OF FAILURE TO SUBMIT A TRANSLATION OF THE DESCRIPTION OR TO PAY THE FEE WITHIN THE PRESCRIBED TIME-LIMIT; INVALID AB INITIO Effective date: 20070806 |
|
| PG25 | Lapsed in a contracting state [announced via postgrant information from national office to epo] |
Ref country code: CY Free format text: LAPSE BECAUSE OF NON-PAYMENT OF DUE FEES Effective date: 20170412 |
|
| REG | Reference to a national code |
Ref country code: DE Ref legal event code: R082 Ref document number: 602007050593 Country of ref document: DE Representative=s name: STRAUS, ALEXANDER, DIPL.-CHEM.UNIV. DR.PHIL., DE Ref country code: DE Ref legal event code: R082 Ref document number: 602007050593 Country of ref document: DE Representative=s name: 2K PATENT- UND RECHTSANWAELTE PARTNERSCHAFT MB, DE |
|
| PG25 | Lapsed in a contracting state [announced via postgrant information from national office to epo] |
Ref country code: TR Free format text: LAPSE BECAUSE OF FAILURE TO SUBMIT A TRANSLATION OF THE DESCRIPTION OR TO PAY THE FEE WITHIN THE PRESCRIBED TIME-LIMIT Effective date: 20170412 |
|
| PG25 | Lapsed in a contracting state [announced via postgrant information from national office to epo] |
Ref country code: PT Free format text: LAPSE BECAUSE OF FAILURE TO SUBMIT A TRANSLATION OF THE DESCRIPTION OR TO PAY THE FEE WITHIN THE PRESCRIBED TIME-LIMIT Effective date: 20170412 |
|
| P01 | Opt-out of the competence of the unified patent court (upc) registered |
Effective date: 20230525 |
|
| PGFP | Annual fee paid to national office [announced via postgrant information from national office to epo] |
Ref country code: GB Payment date: 20230822 Year of fee payment: 17 |
|
| PGFP | Annual fee paid to national office [announced via postgrant information from national office to epo] |
Ref country code: FR Payment date: 20230823 Year of fee payment: 17 Ref country code: DE Payment date: 20230821 Year of fee payment: 17 |
|
| REG | Reference to a national code |
Ref country code: DE Ref legal event code: R082 Ref document number: 602007050593 Country of ref document: DE Representative=s name: STRAUS, ALEXANDER, DIPL.-CHEM.UNIV. DR.PHIL., DE |
|
| REG | Reference to a national code |
Ref country code: DE Ref legal event code: R119 Ref document number: 602007050593 Country of ref document: DE |
|
| GBPC | Gb: european patent ceased through non-payment of renewal fee |
Effective date: 20240806 |
|
| PG25 | Lapsed in a contracting state [announced via postgrant information from national office to epo] |
Ref country code: DE Free format text: LAPSE BECAUSE OF NON-PAYMENT OF DUE FEES Effective date: 20250301 |
|
| PG25 | Lapsed in a contracting state [announced via postgrant information from national office to epo] |
Ref country code: GB Free format text: LAPSE BECAUSE OF NON-PAYMENT OF DUE FEES Effective date: 20240806 |
|
| PG25 | Lapsed in a contracting state [announced via postgrant information from national office to epo] |
Ref country code: FR Free format text: LAPSE BECAUSE OF NON-PAYMENT OF DUE FEES Effective date: 20240831 |