EP1925894A1 - Eiserzeuger - Google Patents
Eiserzeuger Download PDFInfo
- Publication number
- EP1925894A1 EP1925894A1 EP06023690A EP06023690A EP1925894A1 EP 1925894 A1 EP1925894 A1 EP 1925894A1 EP 06023690 A EP06023690 A EP 06023690A EP 06023690 A EP06023690 A EP 06023690A EP 1925894 A1 EP1925894 A1 EP 1925894A1
- Authority
- EP
- European Patent Office
- Prior art keywords
- water
- chamber
- main body
- icemaker
- water chamber
- Prior art date
- Legal status (The legal status is an assumption and is not a legal conclusion. Google has not performed a legal analysis and makes no representation as to the accuracy of the status listed.)
- Withdrawn
Links
- XLYOFNOQVPJJNP-UHFFFAOYSA-N water Substances O XLYOFNOQVPJJNP-UHFFFAOYSA-N 0.000 claims abstract description 80
- 235000013305 food Nutrition 0.000 description 3
- 238000007710 freezing Methods 0.000 description 3
- 230000008014 freezing Effects 0.000 description 3
- 238000001816 cooling Methods 0.000 description 2
- 238000000034 method Methods 0.000 description 2
- 238000012986 modification Methods 0.000 description 2
- 230000004048 modification Effects 0.000 description 2
- 230000035943 smell Effects 0.000 description 2
- 206010024453 Ligament sprain Diseases 0.000 description 1
- 206010037660 Pyrexia Diseases 0.000 description 1
- 208000010040 Sprains and Strains Diseases 0.000 description 1
- 230000007547 defect Effects 0.000 description 1
- 230000003467 diminishing effect Effects 0.000 description 1
- 238000005086 pumping Methods 0.000 description 1
Images
Classifications
-
- F—MECHANICAL ENGINEERING; LIGHTING; HEATING; WEAPONS; BLASTING
- F25—REFRIGERATION OR COOLING; COMBINED HEATING AND REFRIGERATION SYSTEMS; HEAT PUMP SYSTEMS; MANUFACTURE OR STORAGE OF ICE; LIQUEFACTION SOLIDIFICATION OF GASES
- F25C—PRODUCING, WORKING OR HANDLING ICE
- F25C1/00—Producing ice
- F25C1/08—Producing ice by immersing freezing chambers, cylindrical bodies or plates into water
-
- F—MECHANICAL ENGINEERING; LIGHTING; HEATING; WEAPONS; BLASTING
- F25—REFRIGERATION OR COOLING; COMBINED HEATING AND REFRIGERATION SYSTEMS; HEAT PUMP SYSTEMS; MANUFACTURE OR STORAGE OF ICE; LIQUEFACTION SOLIDIFICATION OF GASES
- F25C—PRODUCING, WORKING OR HANDLING ICE
- F25C1/00—Producing ice
- F25C1/18—Producing ice of a particular transparency or translucency, e.g. by injecting air
-
- F—MECHANICAL ENGINEERING; LIGHTING; HEATING; WEAPONS; BLASTING
- F25—REFRIGERATION OR COOLING; COMBINED HEATING AND REFRIGERATION SYSTEMS; HEAT PUMP SYSTEMS; MANUFACTURE OR STORAGE OF ICE; LIQUEFACTION SOLIDIFICATION OF GASES
- F25C—PRODUCING, WORKING OR HANDLING ICE
- F25C2305/00—Special arrangements or features for working or handling ice
- F25C2305/022—Harvesting ice including rotating or tilting or pivoting of a mould or tray
- F25C2305/0221—Harvesting ice including rotating or tilting or pivoting of a mould or tray rotating ice mould
-
- F—MECHANICAL ENGINEERING; LIGHTING; HEATING; WEAPONS; BLASTING
- F25—REFRIGERATION OR COOLING; COMBINED HEATING AND REFRIGERATION SYSTEMS; HEAT PUMP SYSTEMS; MANUFACTURE OR STORAGE OF ICE; LIQUEFACTION SOLIDIFICATION OF GASES
- F25C—PRODUCING, WORKING OR HANDLING ICE
- F25C2400/00—Auxiliary features or devices for producing, working or handling ice
- F25C2400/14—Water supply
Definitions
- This invention relates to an icemaker, particularly to one including a main body, a water chamber and an evaporator to produce ice blocks capable of being frozen on outer walls of a plurality of vertical downward icing tubes of the evaporator and formed transparently while water is pumped and kept flowing into the water chamber until the ice blocks are made completely.
- Ice is popularly and indispensably used for drinks, freezing foods, cooling foods temporarily, diminishing a fever, or cooling a sprain or an inflamed part.
- ice is made simply by means of containers filled with water and laid in a refrigerator for freezing.
- a refrigerator is mainly used to store foods, apt to let water contaminated with peculiar smells while being frozen, able to spoil taste of drinks or the like.
- a conventional refrigerator can only produce ice in a limited quantity in about one hour each time, unable to satisfy urgent need of a large quantity. Or, if there is no proper container, bigger ice blocks have to be crashed into small pieces by a tool, quite bothering. Therefore, the invention has been devised to overcome the defects mentioned above.
- the objective of this invention is to offer an icemaker able to quickly produce sanitary ice blocks that smell purely and are formed transparently in a proper size.
- the main characteristics of the invention are a main body, a water chamber, and an evaporator.
- the main body is provided with a reservoir having a water inlet near its bottom, a containing chamber located at an upper portion of the main body and having a supporting plate located at an inner wall of one side, a water tube connected with the water inlet and possessing a water injecting hole located at an upper portion of the water tube, extending through a wall of the containing chamber and placed under the supporting plate, and a pump connected with the water tube.
- the water chamber is pivotally connected in the containing chamber.
- the evaporator installed at a top of the water chamber is provided with a plurality of vertical downward icing tubes spaced apart and extending into the water chamber.
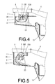
- a preferred embodiment of an icemaker in the present invention includes a main body 1, a water chamber 2, an evaporator 3 and a cover 4.
- the main body 1 is provided with a control panel 10 on a front surface, a reservoir 11 in a front lower portion provided with a water inlet 110 near its bottom, a containing chamber 12 at an upper rear portion provided with a supporting plate 120 located at an inner wall of one side, a water tube 13 connected with the water inlet 110 and provided with a water injecting hole 130 located at an upper portion, extending through a wall of the containing chamber 12 and placed under the supporting plate 120, a pump 14 connected with the water tube 13 and a water passageway 15 formed between the containing chamber 12 and the reservoir 11.
- the water chamber 2 pivotally connected in the containing chamber 12 is provided with a pushing board 20 connected pivotally at a front side.
- the evaporator 3 installed at a top of the water chamber 2 is provided with a plurality of vertical downward icing tubes 30 spaced apart and extending into the water chamber 2.
- the cover 4 is set on a top of the main body 1.
- a starting button in the control panel 10 of the main body 1 press a starting button in the control panel 10 of the main body 1 first. Then water is to flow through the water inlet 110 of the reservoir 11 into the water tube 13 and pressurized by the pump 14 to flow up to the water injecting hole 130 and fall into the water chamber 2.
- the evaporator 3 begins to carry out a freezing process as soon as the water chamber 2 is filled full. Meanwhile, the pump 14 is to keep pumping water into the water chamber 2, letting the overflowing water pass down through the water passageway 15 in front of the containing chamber 12, and back in the reservoir 11.
- outer walls of the icing tubes 30 of the evaporator 3 will absorb heat directly from water to make water to quickly frozen to ice blocks (A) which can be formed transparently while water is pumped and kept flowing into the water chamber 2.
- the pump 14 is stopped from injecting water.
- turn and tilt the water chamber 2 to drop down water.
- carry out a releasing process to make the ice blocks (A) as many as the number of the icing tubes 30 released from the outer walls of the icing tubes 30 to drop into the containing chamber 12.
- the ice blocks (A) are shoveled by the pushing board 20 pivotally connected at the front of the water chamber 2, sliding along the pushing board 20 into an ice container, as shown in Figs. 6 and 7.
- the invention can quickly produce and release numbers of sanitary transparent ice blocks for urgent need.
Landscapes
- Engineering & Computer Science (AREA)
- Physics & Mathematics (AREA)
- Mechanical Engineering (AREA)
- Thermal Sciences (AREA)
- General Engineering & Computer Science (AREA)
- Devices That Are Associated With Refrigeration Equipment (AREA)
Priority Applications (1)
| Application Number | Priority Date | Filing Date | Title |
|---|---|---|---|
| EP06023690A EP1925894A1 (de) | 2006-11-14 | 2006-11-14 | Eiserzeuger |
Applications Claiming Priority (1)
| Application Number | Priority Date | Filing Date | Title |
|---|---|---|---|
| EP06023690A EP1925894A1 (de) | 2006-11-14 | 2006-11-14 | Eiserzeuger |
Publications (1)
| Publication Number | Publication Date |
|---|---|
| EP1925894A1 true EP1925894A1 (de) | 2008-05-28 |
Family
ID=37907304
Family Applications (1)
| Application Number | Title | Priority Date | Filing Date |
|---|---|---|---|
| EP06023690A Withdrawn EP1925894A1 (de) | 2006-11-14 | 2006-11-14 | Eiserzeuger |
Country Status (1)
| Country | Link |
|---|---|
| EP (1) | EP1925894A1 (de) |
Cited By (2)
| Publication number | Priority date | Publication date | Assignee | Title |
|---|---|---|---|---|
| US20110265498A1 (en) * | 2010-04-28 | 2011-11-03 | Electrolux Home Products, Inc. | Mechanism for ice creation |
| US10006688B2 (en) | 2006-10-31 | 2018-06-26 | Electrolux Home Products Corporation N.V. | Device and method for automatically producing clear ice, and refrigerator featuring such a device |
Citations (11)
| Publication number | Priority date | Publication date | Assignee | Title |
|---|---|---|---|---|
| US2586588A (en) * | 1949-03-26 | 1952-02-19 | Roberts Products Inc | Mechanism for producing clear ice bodies |
| US2726514A (en) * | 1951-08-29 | 1955-12-13 | John R Bayston | Ice making machine |
| AU460312B2 (en) * | 1971-06-23 | 1975-04-07 | William Blakely John | Improvements relating to ice-making apparatus |
| EP0000435A1 (de) * | 1977-07-06 | 1979-01-24 | Dale Lawrence Brewster | Eisherstellungsmaschine |
| AU505202B2 (en) * | 1976-02-25 | 1979-11-15 | Blakely, John William | Ice making apparatus |
| US4199956A (en) * | 1978-10-04 | 1980-04-29 | Lunde Howard L | Ice cube making machine |
| EP0227611A1 (de) * | 1985-12-19 | 1987-07-01 | STAFF ICE SYSTEM S.p.A. | Vorrichtung zur automatischen und kontinuierlichen Eiswürfelerzeugung |
| JPS6419276A (en) * | 1987-07-14 | 1989-01-23 | Sanyo Electric Co | Ice making machine |
| WO2002086398A1 (en) * | 2001-04-23 | 2002-10-31 | Ice Maker As | A device for a tilt container |
| JP2002333243A (ja) * | 2001-05-09 | 2002-11-22 | Sanyo Electric Co Ltd | ロッド式製氷機 |
| JP2005315551A (ja) * | 2004-04-30 | 2005-11-10 | Makoto Fukada | 製氷機 |
-
2006
- 2006-11-14 EP EP06023690A patent/EP1925894A1/de not_active Withdrawn
Patent Citations (11)
| Publication number | Priority date | Publication date | Assignee | Title |
|---|---|---|---|---|
| US2586588A (en) * | 1949-03-26 | 1952-02-19 | Roberts Products Inc | Mechanism for producing clear ice bodies |
| US2726514A (en) * | 1951-08-29 | 1955-12-13 | John R Bayston | Ice making machine |
| AU460312B2 (en) * | 1971-06-23 | 1975-04-07 | William Blakely John | Improvements relating to ice-making apparatus |
| AU505202B2 (en) * | 1976-02-25 | 1979-11-15 | Blakely, John William | Ice making apparatus |
| EP0000435A1 (de) * | 1977-07-06 | 1979-01-24 | Dale Lawrence Brewster | Eisherstellungsmaschine |
| US4199956A (en) * | 1978-10-04 | 1980-04-29 | Lunde Howard L | Ice cube making machine |
| EP0227611A1 (de) * | 1985-12-19 | 1987-07-01 | STAFF ICE SYSTEM S.p.A. | Vorrichtung zur automatischen und kontinuierlichen Eiswürfelerzeugung |
| JPS6419276A (en) * | 1987-07-14 | 1989-01-23 | Sanyo Electric Co | Ice making machine |
| WO2002086398A1 (en) * | 2001-04-23 | 2002-10-31 | Ice Maker As | A device for a tilt container |
| JP2002333243A (ja) * | 2001-05-09 | 2002-11-22 | Sanyo Electric Co Ltd | ロッド式製氷機 |
| JP2005315551A (ja) * | 2004-04-30 | 2005-11-10 | Makoto Fukada | 製氷機 |
Cited By (3)
| Publication number | Priority date | Publication date | Assignee | Title |
|---|---|---|---|---|
| US10006688B2 (en) | 2006-10-31 | 2018-06-26 | Electrolux Home Products Corporation N.V. | Device and method for automatically producing clear ice, and refrigerator featuring such a device |
| US20110265498A1 (en) * | 2010-04-28 | 2011-11-03 | Electrolux Home Products, Inc. | Mechanism for ice creation |
| US9217596B2 (en) * | 2010-04-28 | 2015-12-22 | Electrolux Home Products, Inc. | Mechanism for ice creation |
Similar Documents
| Publication | Publication Date | Title |
|---|---|---|
| US20070227162A1 (en) | Icemaker | |
| JP5826264B2 (ja) | フレーバード氷を連続的又は半連続的に生成する方法及びシステム | |
| US6920764B2 (en) | Commercial ice making apparatus and method | |
| US20100031675A1 (en) | Ice making system and method for ice making of refrigerator | |
| CN108645084B (zh) | 制冰模组和嵌入式净饮机 | |
| CN112567190A (zh) | 用于制取透明的冰的制冰组件 | |
| US7406838B2 (en) | Ice-making machine | |
| WO2004081470A1 (ja) | 製氷装置 | |
| EP1657510A3 (de) | Eisherstellung und Abgabesystem | |
| US20180335238A1 (en) | Artisan Ice System, Method and Apparatus | |
| ES2467699A1 (es) | Congelación rápida de cubitos de hielo comprendiendo método, dispositivo, producto y usos | |
| EP1925894A1 (de) | Eiserzeuger | |
| CN102435030A (zh) | 制冷设备及用于制冷设备的制冰机 | |
| CN105928281B (zh) | 用于冰箱或冰柜的制冰组件 | |
| CN100516724C (zh) | 多功能制冰机 | |
| EP1664640B1 (de) | Eisherstellungsmaschine | |
| JP6510352B2 (ja) | 製氷装置 | |
| CN102221279B (zh) | 一种用于冰箱的制冰组件和具有其的冰箱 | |
| US3165901A (en) | Ice making and crushing apparatus | |
| CN202630520U (zh) | 一种翅片蒸发器 | |
| CN100417899C (zh) | 电冰箱的分配器 | |
| CN201348411Y (zh) | 一种小型制冰机 | |
| CN218915557U (zh) | 一种制造冰块饮料一体机 | |
| US1954304A (en) | Mechanical refrigerator | |
| JP5687103B2 (ja) | ディスペンサ |
Legal Events
| Date | Code | Title | Description |
|---|---|---|---|
| PUAI | Public reference made under article 153(3) epc to a published international application that has entered the european phase |
Free format text: ORIGINAL CODE: 0009012 |
|
| AK | Designated contracting states |
Kind code of ref document: A1 Designated state(s): AT BE BG CH CY CZ DE DK EE ES FI FR GB GR HU IE IS IT LI LT LU LV MC NL PL PT RO SE SI SK TR |
|
| AX | Request for extension of the european patent |
Extension state: AL BA HR MK RS |
|
| AKX | Designation fees paid | ||
| STAA | Information on the status of an ep patent application or granted ep patent |
Free format text: STATUS: THE APPLICATION IS DEEMED TO BE WITHDRAWN |
|
| 18D | Application deemed to be withdrawn |
Effective date: 20081129 |
|
| REG | Reference to a national code |
Ref country code: DE Ref legal event code: 8566 |