EP1908528A2 - Central dryer for electron beam hardening - Google Patents
Central dryer for electron beam hardening Download PDFInfo
- Publication number
- EP1908528A2 EP1908528A2 EP07017108A EP07017108A EP1908528A2 EP 1908528 A2 EP1908528 A2 EP 1908528A2 EP 07017108 A EP07017108 A EP 07017108A EP 07017108 A EP07017108 A EP 07017108A EP 1908528 A2 EP1908528 A2 EP 1908528A2
- Authority
- EP
- European Patent Office
- Prior art keywords
- carrier web
- irradiation
- unit
- irradiation unit
- electron gun
- Prior art date
- Legal status (The legal status is an assumption and is not a legal conclusion. Google has not performed a legal analysis and makes no representation as to the accuracy of the status listed.)
- Withdrawn
Links
Images
Classifications
-
- B—PERFORMING OPERATIONS; TRANSPORTING
- B05—SPRAYING OR ATOMISING IN GENERAL; APPLYING FLUENT MATERIALS TO SURFACES, IN GENERAL
- B05D—PROCESSES FOR APPLYING FLUENT MATERIALS TO SURFACES, IN GENERAL
- B05D3/00—Pretreatment of surfaces to which liquids or other fluent materials are to be applied; After-treatment of applied coatings, e.g. intermediate treating of an applied coating preparatory to subsequent applications of liquids or other fluent materials
- B05D3/06—Pretreatment of surfaces to which liquids or other fluent materials are to be applied; After-treatment of applied coatings, e.g. intermediate treating of an applied coating preparatory to subsequent applications of liquids or other fluent materials by exposure to radiation
- B05D3/068—Pretreatment of surfaces to which liquids or other fluent materials are to be applied; After-treatment of applied coatings, e.g. intermediate treating of an applied coating preparatory to subsequent applications of liquids or other fluent materials by exposure to radiation using ionising radiations (gamma, X, electrons)
-
- B—PERFORMING OPERATIONS; TRANSPORTING
- B41—PRINTING; LINING MACHINES; TYPEWRITERS; STAMPS
- B41F—PRINTING MACHINES OR PRESSES
- B41F23/00—Devices for treating the surfaces of sheets, webs, or other articles in connection with printing
- B41F23/04—Devices for treating the surfaces of sheets, webs, or other articles in connection with printing by heat drying, by cooling, by applying powders
- B41F23/0403—Drying webs
- B41F23/0406—Drying webs by radiation
-
- B—PERFORMING OPERATIONS; TRANSPORTING
- B41—PRINTING; LINING MACHINES; TYPEWRITERS; STAMPS
- B41M—PRINTING, DUPLICATING, MARKING, OR COPYING PROCESSES; COLOUR PRINTING
- B41M7/00—After-treatment of prints, e.g. heating, irradiating, setting of the ink, protection of the printed stock
- B41M7/0081—After-treatment of prints, e.g. heating, irradiating, setting of the ink, protection of the printed stock using electromagnetic radiation or waves, e.g. ultraviolet radiation, electron beams
-
- B—PERFORMING OPERATIONS; TRANSPORTING
- B05—SPRAYING OR ATOMISING IN GENERAL; APPLYING FLUENT MATERIALS TO SURFACES, IN GENERAL
- B05D—PROCESSES FOR APPLYING FLUENT MATERIALS TO SURFACES, IN GENERAL
- B05D3/00—Pretreatment of surfaces to which liquids or other fluent materials are to be applied; After-treatment of applied coatings, e.g. intermediate treating of an applied coating preparatory to subsequent applications of liquids or other fluent materials
- B05D3/02—Pretreatment of surfaces to which liquids or other fluent materials are to be applied; After-treatment of applied coatings, e.g. intermediate treating of an applied coating preparatory to subsequent applications of liquids or other fluent materials by baking
- B05D3/0209—Multistage baking
-
- B—PERFORMING OPERATIONS; TRANSPORTING
- B05—SPRAYING OR ATOMISING IN GENERAL; APPLYING FLUENT MATERIALS TO SURFACES, IN GENERAL
- B05D—PROCESSES FOR APPLYING FLUENT MATERIALS TO SURFACES, IN GENERAL
- B05D7/00—Processes, other than flocking, specially adapted for applying liquids or other fluent materials to particular surfaces or for applying particular liquids or other fluent materials
- B05D7/50—Multilayers
- B05D7/52—Two layers
-
- B—PERFORMING OPERATIONS; TRANSPORTING
- B05—SPRAYING OR ATOMISING IN GENERAL; APPLYING FLUENT MATERIALS TO SURFACES, IN GENERAL
- B05D—PROCESSES FOR APPLYING FLUENT MATERIALS TO SURFACES, IN GENERAL
- B05D7/00—Processes, other than flocking, specially adapted for applying liquids or other fluent materials to particular surfaces or for applying particular liquids or other fluent materials
- B05D7/50—Multilayers
- B05D7/56—Three layers or more
-
- B—PERFORMING OPERATIONS; TRANSPORTING
- B41—PRINTING; LINING MACHINES; TYPEWRITERS; STAMPS
- B41M—PRINTING, DUPLICATING, MARKING, OR COPYING PROCESSES; COLOUR PRINTING
- B41M7/00—After-treatment of prints, e.g. heating, irradiating, setting of the ink, protection of the printed stock
- B41M7/0072—After-treatment of prints, e.g. heating, irradiating, setting of the ink, protection of the printed stock using mechanical wave energy, e.g. ultrasonics; using magnetic or electric fields, e.g. electric discharge, plasma
Definitions
- the invention relates to a job-irradiation system and a printing machine with at least one order irradiation system. Furthermore, the invention relates to a method for applying at least one application layer to a carrier web, and to a method for applying at least two application layers to a carrier web.
- UV radiation sources For radiation-chemical curing of printing ink layers, paint layers, adhesive layers and other layers applied to a carrier web, UV radiation sources have hitherto been used in the first place.
- the use of UV emitters requires an admixture of photoinitiators in amounts of 0.5% to 10% to the coating material in order to initiate the cure.
- the use of photoinitiators is problematic because photoinitiators are not safe food law. Particularly in the field of food packaging, there are therefore strict limits with regard to the migration of photoinitiators from the packaging material. Photoinitiators are also expensive. Furthermore, in the case of absorbing inks, curing is difficult because the photoinitiator does not get enough light.
- electron beam irradiation can be used to cure inking and other coatings.
- the electron beam curing has the advantage over UV irradiation that no photoinitiators must be used.
- the use of a system for electron beam curing was previously associated with high acquisition costs.
- the object of the invention is achieved by an application irradiation system according to claim 1, by a printing machine according to claim 19, by a method for applying at least one application layer to a carrier web according to claim 20, and by a method for applying at least two application layers a carrier web according to claim 21 solved.
- An application irradiation system comprises a first application unit for applying a first application layer to a carrier web, and an irradiation unit in which a first electron gun and a second electron gun are arranged for irradiating the carrier web.
- the electron beam generators arranged within the irradiation unit have connections for at least one pump device for generating an operating vacuum.
- the job irradiation system further comprises a web guiding device which feeds the carrier web successively but not necessarily immediately after one another to the first applicator, the first electron gun, the second electron gun.
- the irradiation dose rate required in each case during the course of the processing can be made available in a flexible and cost-effective manner.
- the web guiding device is designed in such a way that the carrier web is guided through the common irradiation unit and irradiated by at least one of the electron guns whenever it is to be irradiated with electrons.
- a respectively required degree of intermediate drying can be set at defined points of the machining cycle.
- the carrier web after passing through an applicator, can be guided one after the other to the first and the second electron gun in order to apply a sufficiently high radiation dose rate to the carrier web.
- the carrier web for example, after passing through the first commissioned work supplied to the first electron gun, led out of the irradiation unit and fed to the second electron gun after passing through other processing stations.
- the application irradiation system according to the invention is designed to provide the required dose rate of radiation at any point in the course of the path in a flexible and cost-effective manner. Instead of purchasing separate electron beam units, the at least two electron guns are integrated in a single irradiation unit. As a result, the initial cost of the irradiation unit can be lowered.
- the application irradiation system according to the invention is suitable, for example, for electron beam curing of application layers which are applied to the carrier web with the aid of application units.
- Embodiments of the present invention make it possible to make electron beam curing competitive with UV curing, especially when high doses of irradiation or multiple exposures at different locations are required.
- the web guiding device is adapted to supply the carrier web after passing through the first commissioned work of the irradiation unit, where the carrier web is irradiated by the first electron gun and the second electron gun, and lead out of the irradiation unit.
- the first applicator applies a first coating layer to the carrier web, and then the carrier web is irradiated by the first electron gun and the second electron gun.
- the carrier web is acted upon by the first electron gun as well as by the second electron gun with a certain irradiation dose, so that the total radiation dose is composed of the contributions of the two electron guns.
- a significantly higher irradiation dose rate can be generated.
- the dose rate of a radiator indicates the irradiated dose per unit of time.
- the dose rate is crucial if the operating speed of a system is to be increased.
- the dose rate is limited since no arbitrary amounts of electrons per unit of time are permitted to pass through the window material. Too high electron currents lead to a strong heating of the window material, which can lead to damage.
- the dose rate could be increased by increasing the window area, but here are limited by the structural size of the electron irradiation system and the dimensions of the available electron emission window.
- an electron gun may be a cylindrical one Have housing of a given radius, wherein the window is incorporated into the rounding of the cylinder. Therefore, the larger the window, the larger the radius of the cylindrical housing becomes.
- the window of each electron gun can be made smaller.
- the individual electron guns are thus significantly smaller in radius and thus in the structural height.
- an electron beam unit constructed from a plurality of electron beam generators arranged one behind the other has a significantly lower structural height.
- the total volume that must be evacuated much smaller.
- the plants can be evacuated faster, and the devices are, for example, after a film change, a repair, etc. much faster available for production. This is important for production because the hourly rates are very high here.
- Another advantage of the lower overall volume is that smaller pumps can be used for evacuation.
- Another advantage is that the tubes are so handy that they are manually interchangeable. In case of a defect or replacement of windows, therefore, the whole tube can be replaced with a finished replacement tube. Productivity is further increased and downtimes are minimized.
- the first electron gun and the second electron gun are designed for electron beam curing of the first application layer.
- the irradiation dose available for curing the first application layer is composed of the contributions of the first and the second electron gun, whereby a substantial increase in the irradiation dose can be achieved. This will make it possible Even hardening of comparatively slow-reacting coating layers reliably. For example, comparatively high doses of irradiation are required for the curing of adhesive and varnish layers. In addition, for example, a radiation dose sufficient to cure the applied layers can also be provided at higher web speeds.
- the application irradiation system comprises a second applicator for applying a second coating layer to the carrier web, wherein the web guiding device is adapted to feed the carrier web successively to the first applicator, the first electron gun, the second applicator, the second electron gun ,
- the carrier web is not passed directly to the second electron gun after passing through the first electron gun, but passes from the first electron gun to a second applicator, which applies a second coating layer, and from there to the second electron gun.
- Each commissioned work is associated with at least one associated electron gun. The arrangement of the electron gun in a common vacuum unit, the structural complexity is reduced.
- the first electron gun for electron beam curing of the first application layer and the second electron gun for electron beam curing of one or more previously applied application layers is designed.
- the first coating layer is cured, and then the carrier web is fed to the second applicator.
- the carrier web is fed to the second applicator.
- the web guiding device is designed to feed the carrier web, after passing through the first application unit, to the irradiation unit, where the carrier web is irradiated by the first electron gun, leading out of the irradiation unit and to the second applicator and to supply the carrier web after passing through the second application unit of the irradiation unit, where the carrier web is irradiated by the second electron gun, and lead out of the irradiation unit.
- the application irradiation system comprises a plurality of application units and a plurality of electron beam generators disposed within the vacuum unit, wherein each applicator unit is associated with at least one electron gun.
- the web guiding device is designed to supply the carrier web after passing through a commissioned work each of the irradiation unit, where the carrier web is irradiated by the at least one associated electron gun, and lead out of the irradiation unit again.
- an applicator associated electron gun is designed to harden the applied by at least one previously run commissioned at least one application layer. In this way it can be ensured that a new applied coating layer is cured before the carrier web is fed to another commissioned work.
- a new applied coating layer is cured before the carrier web is fed to another commissioned work.
- each of the electron beam generators disposed within the irradiation unit extends over the entire width of the carrier web.
- the carrier web can be irradiated with electrons over its entire width, without the need for a plurality of juxtaposed electron guns.
- the irradiation unit is formed as an independent, separate structural unit. Whenever an electron beam dose is needed during processing of the carrier web, the carrier web is fed to the irradiation unit. Within this assembly, for example, required for the operation of the electron gun apparatuses and facilities can be accommodated.
- the components belonging to the irradiation unit can For example, be designed as a module and can be removed, for example, for service and maintenance of the overall arrangement.
- the irradiation unit is arranged in a spatially delimited area of the application irradiation system.
- the applicator units are arranged in a first spatially delimited area of the application irradiation system, and the irradiation unit is arranged in a second spatially delimited area of the application irradiation system.
- the carrier web is guided back and forth between the commissioned work and the irradiation unit during processing.
- the at least one applicator unit is arranged around the central irradiation unit. Due to the central arrangement of the irradiation unit, the carrier web can be guided back and forth in a simple manner between the applicator units and the irradiation unit.
- the at least one application unit comprises at least one of the following: a lamination unit, a laminating unit, an adhesive applicator, an inking unit, a powder applicator, a coating unit, a lacquer applicator, an extruder, an extruder with a molding tool.
- a lamination unit a laminating unit
- an adhesive applicator an inking unit
- a powder applicator a coating unit
- a lacquer applicator an extruder
- extruder with a molding tool The combination of different application units with one irradiation unit creates a complex processing system for finishing a carrier web.
- the at least one application layer comprises one or more of the following: an ink layer, a lacquer layer, an adhesive layer, a laminating film with adhesive, a laminating layer, a plastic layer, a siliconization, a finishing layer.
- Such application layers are applied successively to the carrier web by various application units.
- one or more of the commissioned works are printing units for at least one of the following printing processes: flexographic printing, gravure printing, screen printing, offset printing.
- the order irradiation system is suitable for each newly applied To cure ink layer before applying further ink layers. This is important, for example, in the case of low-viscosity inks, so that different colors from different applications do not run into each other.
- an applicator unit and an electron gun assigned to the applicator unit: a web dryer, a convection dryer, a solvent dryer, an excimer dryer, a UV dryer, an IR dryer, a heat treatment unit.
- a dryer With the help of a dryer, the water or solvent content of a coating layer can be removed or at least reduced.
- dispersion coatings, dispersion adhesives, solvent-based paints, solvent-based adhesives can be hardened after application and drying by means of electron irradiation.
- the irradiation unit comprises a common shield for the electron beam generator arranged within the irradiation unit, which is designed to shield the high-energy radiation generated within the irradiation unit.
- the shielding housing which is preferably made of lead or steel or a lead-steel construction, makes a significant contribution to the cost of an ESH plant.
- only one common shielding is necessary for the electron beam generators arranged in the irradiation unit, so that the costs are also reduced in this respect.
- the electron beam generators arranged within the irradiation unit are connected to a vacuum system common to all electron guns.
- the vacuum system provides the operating vacuum necessary for operating the electron guns.
- the common vacuum system comprises a pump device for generating the operating vacuum. Since the electron beam generators are connected to a common vacuum system, a pump device is sufficient for evacuating the electron gun. This also affects favorable to the cost of the irradiation unit. Alternatively, however, several pump devices can also be connected to the vacuum system.
- a printing press according to the invention comprises at least one of the order irradiation systems described above.
- the various layers required in the manufacture of packages or labels can be successively applied and cured. Since, in contrast to UV curing, no photoinitiators have to be added during electron beam curing, electron beam curing has advantages for use in the packaging sector, and in particular for the packaging of foods.
- a first embodiment of the invention is shown in which a carrier web successively passes a Lack Committeeswerk and two electron gun. From a development 100 from the carrier web 101 is fed to a Lack Committeeswerk 102.
- the carrier web 101 may be, for example, a web made of plastic, textile, fleece, fabric, metal, etc.
- the web width typically ranges between 20 cm (labels) and a few meters, while the thickness of the carrier web can be between 6 ⁇ m and several millimeters.
- the paint application unit 102 may comprise, for example, a scoop 103, a scoop roller 104, a coating roller 105 and a counterpressure roller 106.
- a lacquer layer is applied to the carrier web 101.
- the painted web then passes through a web dryer 107, which extracts the solvent from the applied paint layer.
- the web dryer 107 may be configured, for example, as a convection dryer or IR dryer.
- the carrier web 101 is then introduced into an irradiation unit 109.
- a first electron beam generator 110 and a second electron beam generator 111 are arranged, the dose rate of which can be regulated independently of one another.
- Each electron beam generator 110, 111 comprises at least one electron exit window.
- the electron beam generators 110, 111 may either be arranged at some distance from the rollers as shown in FIG. Alternatively, the electron gun may also be located directly above the rollers.
- the electron beam generators 110, 111 there is a high vacuum suitable for generating electrons.
- the electron beam generators 110, 111 are connected via pipelines 112, 113 to a pump device 114.
- the pump device 114 may be disposed inside or outside the irradiation unit 109.
- In the irradiation zone is preferably an inert gas such as nitrogen, to prevent termination of the radical reaction by the atmospheric oxygen.
- the irradiation unit 109 further comprises a high-voltage generator 115, which provides the first electron beam generator 110 and the second electron beam generator 111 with the acceleration voltage (or current) required to accelerate the electrons.
- the acceleration voltage is typically in the range between 25 kV and 300 kV.
- the carrier web 101 provided with a lacquer layer is successively moved past the first electron beam generator 110 and the second electron gun 111, where the carrier web with the lacquer layer thereon is in each case irradiated by electrons.
- the irradiation with electrons causes cross-linking of the radiation-curing lacquer, resulting in a hard, chemical-resistant and abrasion-resistant, high-gloss lacquer film.
- the printed web 101 is led out of the irradiation unit 109 via an exit roller 116 and fed to a winding 117.
- the arrangement shown in Fig. 1 can also be used to produce frosted surfaces.
- a low acceleration voltage in the first electron beam generator 110 only the top region of the application layer facing the emitter is hardened, while the underlying region of the application layer still remains free-flowing.
- the cross-linking of the upper area leads to a shrinkage, which leads to a rough and thus matted surface.
- the second electron gun 111 cures with a higher accelerating voltage, so that the entire coating layer is cured throughout.
- a hard, matt, scratch-resistant surface can be produced without the use of matting agents.
- Electron beam curing systems are used primarily in label printing and packaging printing Application, since the advantages of the rapid further processing and the low heat load of the carrier webs are used before the stamping process.
- the irradiation unit 109 has a shield 118 arranged around the electron beam generators 110, 111, which absorbs the released X-radiation and thus prevents the release of X-rays.
- the shield 118 is made of lead or steel or a lead-steel construction having a thickness in the range of millimeters or centimeters.
- the entrance roller 108 and the exit roller 116, through which the printed web is introduced into and out of the irradiation unit 109, are made of steel or lead. In particular, it is prescribed that the air gaps between the entry or exit rollers 108, 116 and the shield 118 are such that the X-radiation can no longer escape after repeated refraction.
- the radiation-curing lacquer applied to the carrier web 101 is hardened by two electron beam generators 110, 111 arranged in series.
- the coating layer is exposed to a radiation dose, which results as the sum of the radiation doses generated by the individual electron beam generators 110, 111.
- the evacuation of the electron beam generators 110, 111 can take place by means of a single pump device 114.
- a single high-voltage generator 115 suffices.
- a common shielding 118 is provided for protection against high-energy radiation.
- FIGS. 2A to 2C show various embodiments of electron beam generators.
- the electron gun shown in Fig. 2A comprises a hot cathode 200 and an anode 201. Between the hot cathode 200 and the anode 201, an acceleration voltage of about 25 kV to 300 kV is applied, which accelerates the leaked from the hot cathode 200 electrons. Subsequently, the electron beam is expanded by means of deflection magnets 202. The electrons penetrate the electron exit window 203 and irradiate the carrier web 204 covered with the layer to be hardened.
- FIG. 2B shows an alternative embodiment of an electron beam generator, in which the hot cathode is designed as an elongate wire 205.
- the electrons are accelerated by means of the anode 206 and then penetrate the electron exit window 207.
- FIG. 2C shows another embodiment of an electron gun comprising a plurality of cathode wires 208.
- the electrons are accelerated by the anode 209. After penetrating the electron exit window 210, the accelerated electrons strike the carrier web 211.
- the electron gun shown in Fig. 2C is particularly suitable for use in electron beam curing because of the high electron dose rate.
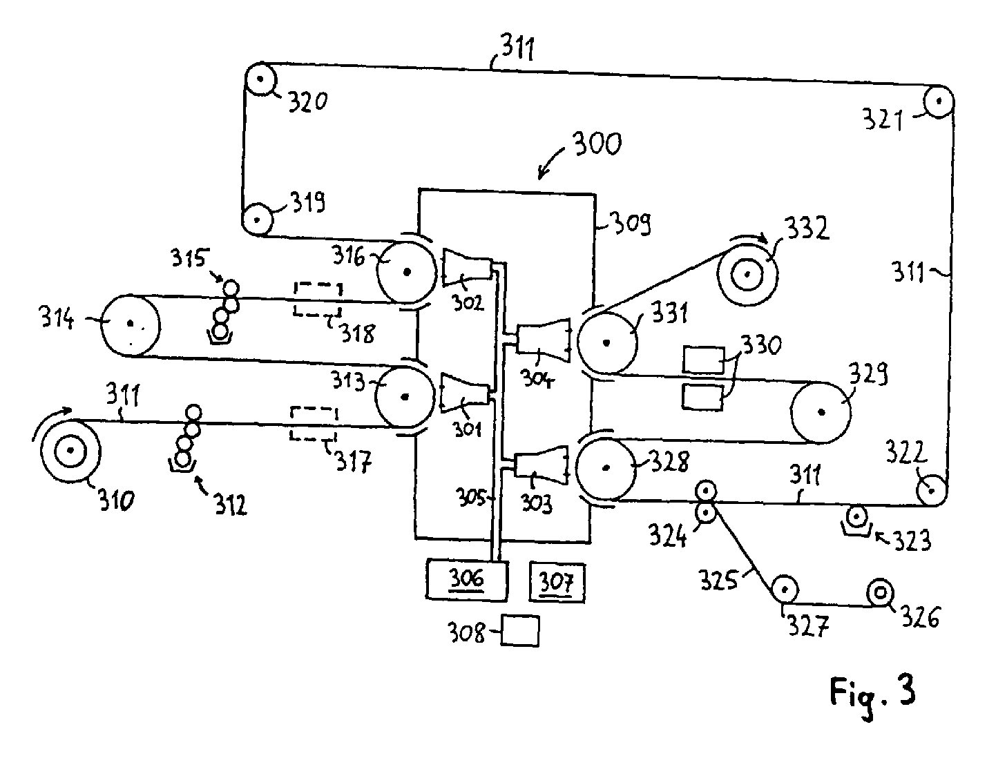
- FIG. 3 shows a web-fed printing press according to the invention with four applicator units which are arranged around a central irradiation unit 300.
- the central irradiation unit 300 comprises four electron guns 301 to 304.
- the electron guns 301 to 304 are connected via pipelines 305 to a common pumping device 306 which evacuates the connected electron guns and thus generates the operating vacuum required to accelerate the electrons.
- the irradiation unit 300 comprises a common high voltage source 307.
- the irradiation unit 300 is equipped with a control unit 308 for controlling the dose rate of the electron guns, the dose rate of the electron guns 301 to 304 can be controlled separately.
- the irradiation unit 300 is surrounded by a shield 309 made of lead or steel or a lead-steel construction.
- a carrier web 311 is fed to a printing unit 312, which applies a first ink layer to the carrier web 311.
- the carrier web 311 is guided by means of a guide roller 313 in the irradiation unit 300, where the first Ink layer cured by the electron gun 301 and then led out of the irradiation unit 300 again.
- the carrier web is then fed to a second printing unit 315 which applies a second ink layer to the carrier web 311.
- a deflection roller 316 the printed carrier web 311 is guided through the irradiation unit 300, wherein the second ink layer is cured by the electron gun 302.
- the web dryers 317, 318 remove the solvent from the applied ink layer and can be designed, for example, as a convection dryer or IR dryer.
- the carrier web 311 is guided over a plurality of rollers 319 to 322 to an adhesive applicator 323, which applies an adhesive layer to the carrier web 311.
- a plastic film web 325 is laminated onto the adhesive-coated carrier web 311, which is fed to the laminating unit 324 from a unwind 326 via a deflecting roller 327.
- the carrier web 311 with the laminated plastic film web 325 is guided through the irradiation unit 300.
- the electron beam generator 303 irradiates the web with electrons and thus hardens the adhesive layer located between the carrier web 311 and the plastic film web 325.
- the web is then fed to another applicator 330, which, for example, applies a protective layer of plastic to the printed and laminated web.
- the applicator 330 may be, for example, an extruder with a molding tool, a curtain coater, a spray nozzle, an anilox roller, a blade, etc. When using curtain coaters, several layers can be applied simultaneously.
- the coated web is passed by a deflection roller 331 at the electron beam generator 304, wherein the protective layer is cured or crosslinked by electron irradiation. After electron irradiation, the carrier web is fed to a winding 332.
- an associated electron beam generator within the irradiation unit 300 is assigned to each of the four application units.
- the electron gun are arranged in several levels one above the other, which allows a space-saving design of the order irradiation system. In particular, so the available room height can be better utilized.
- the application irradiation system shown in FIG. 3 may comprise any other application units instead of the applicators shown, wherein the support web is in each case supplied to one or more associated electron guns in the central irradiation unit after passing through a commissioned work.
- a job irradiation system of the type shown in Fig. 3 can be used to realize a four-color web press.
- printing units for flexographic printing, screen printing, gravure printing and offset printing can be used.
- the printing unit comprises a scoop 400 in which liquid printing ink 401 is located.
- the ink is picked up by a scoop roller 402, which applies the ink to an anilox roller 403 rotating immediately above it.
- a doctor blade 404 By means of a doctor blade 404, the excess ink is doctored off the anilox roller 403.
- the pressure roller 405 Above the anilox roller 403, the pressure roller 405 is arranged, which generates the actual printed image with the help of a kauklischees 406.
- the anilox roller 403 serves to uniformly apply the ink to the rubber plate 406.
- the printing unit comprises a counter-pressure roller 407, the carrier web 408 to the pressure roller 405 presses. When the carrier web 408 is moved between the platen 405 and the platen roller 407, the ink is transferred.
- Fig. 5 shows an embodiment of the invention in which a carrier web is printed on both sides in four-color printing.
- the printing press comprises a first irradiation unit 500 with four electron guns 501 to 504, which are connected to a first vacuum system with a first pump device 505. Furthermore, the printing press comprises a second irradiation unit 506 with four electron guns 507 to 510, which are connected to a second vacuum system with a second pump device 511.
- a carrier web 512 is successively guided alternately through the first irradiation unit 500 and the second irradiation unit 506 from a development 513.
- the printing units 514 to 517 four different ink layers are applied to the underside of the carrier web 512.
- the carrier web 512 is guided by means of one of the deflection rollers 518 to 521 through the first irradiation unit 500, in which the ink layers are cured by the electron beam generators 501 to 504. Accordingly, the printing inking units 522 to 525 sequentially apply four different ink layers to the upper surface of the carrier web 512.
- the carrier web is guided via one of the deflecting rollers 526 to 529 through the second irradiation unit 506, in which the ink layers are hardened by the electron beam generators 507 to 510.
- the carrier web printed on both sides in four-color printing is then fed to a winding 530.
- the carrier web can also be guided via entry and exit gaps through the shielding of the irradiation unit.
- a carrier web 600 is fed from a unwind 601 from a printing unit 602, which applies an ink layer to the carrier web 600.
- a spatially delimited irradiation unit 603 is provided which is surrounded by a shield 604.
- the irradiation unit 603 four electron guns 605-608 are arranged, which are connected via pipes 609 to a vacuum pump 610.
- the printed carrier web passes via an entrance slit 611 into the irradiation unit 603 and is successively irradiated by the two electron beam generators 605 and 606.
- the dose rate of a radiator indicates the irradiated dose per unit of time.
- the irradiation dose available for curing the ink layer is composed of the contributions from the two electron guns 605 and 606.
- a substantial increase in the radiation dose can be achieved. This makes it possible to harden even relatively slowly reacting application layers reliably.
- a radiation dose sufficient to cure the applied layers can also be provided at higher web speeds.
- the carrier web 600 leaves the irradiation unit 603 and passes via deflecting rollers 613 to a stamping unit 614.
- the carrier web 600 is guided to a varnish application unit 615, which applies a varnish layer to the carrier web 600.
- the carrier web 600 is guided via an entrance slit 616 into the irradiation unit 603 and irradiated successively therefrom by the two electron beam generators 607 and 608, the total irradiation dose being composed of the contributions of the two electron guns 607 and 608.
- the carrier web 600 is led out of the irradiation unit 603 on the opposite side via the exit slit 617.
- the carrier web can pass through additional processing stations after leaving the irradiation unit and before passing through the next job unit.
- Fig. 7 shows a further embodiment of the invention.
- a compact irradiation unit 700 around four applicators 701, 702, 703 and 704 are arranged.
- the irradiation unit 700 is formed as a spatially delimited, separate structural unit and surrounded by a shield 705.
- the irradiation unit 700 comprises four electron guns 706, 707, 708 and 709. To generate the required operating vacuum, the four electron guns 706-709 are connected to a common vacuum system 710 which is connected to a vacuum pump 711.
- a carrier web 713 is guided to the first coater 701, where a first application layer is applied.
- the carrier web 713 passes through a deflection roller 714 and an entrance slit 715 into the irradiation unit 700, where it is irradiated by the first electron gun 706, and is subsequently guided via an exit slit 716 and a deflecting roller 717 to the second applicator 702.
- the carrier web 713 is guided by means of a deflection roller 718 through the irradiation unit 700 in order to harden the second application layer by means of the second electron beam generator 707.
- the carrier web 713 Via a guide roller 719, the carrier web 713 reaches the third applicator 703, which applies a third application layer, and from there via an entrance slit 720 to the third electron gun 708, which cures the third application layer.
- the carrier web 713 is led out of the irradiation unit 700 and passes via a further guide roller 722 to the fourth applicator unit 704, which applies a further application layer to the carrier web 713.
- the coated carrier web is then passed through the irradiation unit 700 again via an entrance slit 723, wherein the newly applied application layer is cured by the fourth electron gun 709.
- Via a deflecting roller 724 the carrier web 713 passes out of the irradiation unit 700 and to the winding 725.
- the first electron gun is designed for curing a near-surface region of the first application layer and the second electron gun for curing the first application layer. In this way, even without the use of matting a hard, frosted, scratch-resistant surface can be generated.
- the application irradiation system comprises a third application unit for applying a third application layer to the carrier web as well as one arranged within the irradiation unit the third electron gun, wherein the web guiding device is adapted to supply the carrier web successively to the first applicator, the first electron gun, the second applicator, the second electron gun, the third applicator, the third electron gun.
- the third electron gun for electron beam curing of one or more previously applied application layers is designed.
- the commissioned works are arranged one above the other in at least two levels. This allows a space-saving arrangement of commissioned works.
- the height of the hall or the space in which the order irradiation system is constructed can be better utilized in comparison with the known stator construction.
- each applicator unit is assigned at least one electron beam generator arranged at an approximately corresponding height within the irradiation unit. In this way, the distances between a commissioned work and an associated electron gun can be kept low.
- a plurality of electron beam generators are arranged one above the other within the irradiation unit.
- each electron gun has at least one electron exit window.
- An electron exit window should be sufficiently permeable to accelerated electrons.
- an electron exit window should be sufficiently stable in order to be able to withstand the pressure difference between ambient pressure and vacuum.
- the application irradiation system comprises at least one control unit for controlling the dose rate of the electron beam generator arranged in the irradiation unit, wherein the dose rate of the electron beam generator is individually controllable.
- the dose rate of an electron beam generator can be adapted to the requirements of the respective application layers.
- the application irradiation system comprises a high-voltage generator for generating the acceleration voltage for the electron beam generators arranged in the irradiation unit.
- the high voltage generator is a relatively expensive component. Since only a single high-voltage generator is required to supply the electron beam generators arranged in the irradiation unit, the overall costs remain low.
- the carrier web consists of a succession of plates or sheets or beakers guided successively through the application irradiation system.
- the carrier web need not necessarily be a continuous carrier web.
- the web guiding apparatus may also be adapted to pass individual sheets, sheets or cups through the applicator irradiation system to sequentially apply different coating layers to the plates, sheets or cups.
- the web guiding device comprises a roller system for guiding the carrier web.
- the printing press is a printing machine for at least one of the following printing methods: flexographic printing, gravure printing, screen printing, offset printing.
- Electron beam curing ink systems provide hard, chemical and abrasion resistant, high gloss ink film. If a newly applied ink layer is fixed prior to the application of further ink layers by means of electron beam curing, then smearing or bleeding of the printing inks from the different commissioned works can be prevented. Regardless of the consistency of the printing ink, a high-quality printed image is created.
- the printing machine is designed for single-sided printing of the carrier web. According to an alternative embodiment, the printing machine is designed for double-sided printing of the carrier web.
- the printing press comprises two printing units arranged around the irradiation unit for realizing a two-color print.
- the printing press comprises a laminating unit and at least one printing unit, which are arranged around the irradiation unit.
- a printing machine of this embodiment may be used to print on a paper or board web and then laminated with a plastic film.
- the printing machine is intended for use in label printing or in packaging printing or in furniture film finishing.
Landscapes
- Health & Medical Sciences (AREA)
- General Health & Medical Sciences (AREA)
- Toxicology (AREA)
- Engineering & Computer Science (AREA)
- Physics & Mathematics (AREA)
- Mechanical Engineering (AREA)
- Electromagnetism (AREA)
- Plasma & Fusion (AREA)
- Coating Apparatus (AREA)
- Application Of Or Painting With Fluid Materials (AREA)
- Supply, Installation And Extraction Of Printed Sheets Or Plates (AREA)
- Paper (AREA)
- Heating, Cooling, Or Curing Plastics Or The Like In General (AREA)
Abstract
Es wird ein Auftrags-Bestrahlungs-System beschrieben, welches ein erstes Auftragswerk zum Aufbringen einer ersten Auftragsschicht auf eine Trägerbahn umfasst. Das Auftrags-Bestrahlungs-System umfasst außerdem eine Bestrahlungseinheit, in der ein erster Elektronenstrahlerzeuger und ein zweiter Elektronenstrahlerzeuger zur Bestrahlung der Trägerbahn angeordnet sind. Die innerhalb der Bestrahlungseinheit angeordneten Elektronenstrahlerzeuger weisen Anschlüsse für mindestens eine Pumpenvorrichtung zur Erzeugung eines Betriebsvakuums auf. Darüber hinaus umfasst das Auftrags-Bestrahlungs-System eine Bahnführungsvorrichtung, welche die Trägerbahn nacheinander, aber nicht notwendigerweise unmittelbar nacheinander, dem ersten Auftragswerk, dem ersten Elektronenstrahlerzeuger, dem zweiten Elektronenstrahlerzeuger zuführt. An order irradiation system is described which comprises a first application unit for applying a first application layer to a carrier web. The job irradiation system further comprises an irradiation unit in which a first electron gun and a second electron gun are arranged to irradiate the carrier web. The electron beam generators arranged within the irradiation unit have connections for at least one pump device for generating an operating vacuum. In addition, the application-irradiation system comprises a web-guiding device which feeds the carrier web successively, but not necessarily immediately after one another, to the first applicator, the first electron gun, the second electron gun.
Description
Die Erfindung betrifft ein Auftrags-Bestrahlungs-System sowie eine Druckmaschine mit mindestens einem Auftrags-Bestrahlungs-System. Des Weiteren betrifft die Erfindung ein Verfahren zum Aufbringen von mindestens einer Auftragsschicht auf eine Trägerbahn, sowie ein Verfahren zum Aufbringen von mindestens zwei Auftragsschichten auf eine Trägerbahn.The invention relates to a job-irradiation system and a printing machine with at least one order irradiation system. Furthermore, the invention relates to a method for applying at least one application layer to a carrier web, and to a method for applying at least two application layers to a carrier web.
Zum strahlenchemischen Härten von Druckfarbschichten, Lackschichten, Klebstoffschichten und anderen auf eine Trägerbahn aufgebrachten Schichten wurden bislang in erster Linie UV-Strahler verwendet. Der Einsatz von UV-Strahlern erfordert allerdings eine Beimischung von Photoinitiatoren in Mengen von 0,5 % bis 10 % zum Beschichtungsmaterial, damit die Härtung in Gang gesetzt werden kann. In vielen Fällen ist die Verwendung von Photoinitiatoren jedoch problematisch, weil Photoinitiatoren lebensmittelrechtlich nicht unbedenklich sind. Insbesondere im Bereich von Lebensmittelverpackungen existieren daher strenge Grenzwerte hinsichtlich der Migration von Photoinitiatoren aus dem Verpackungsmaterial. Photoinitiatoren sind auch teuer. Weiterhin ist bei absorbierenden Farben die Härtung schwierig, weil der Photoinitiator nicht genug Licht bekommt.For radiation-chemical curing of printing ink layers, paint layers, adhesive layers and other layers applied to a carrier web, UV radiation sources have hitherto been used in the first place. The use of UV emitters, however, requires an admixture of photoinitiators in amounts of 0.5% to 10% to the coating material in order to initiate the cure. In many cases, however, the use of photoinitiators is problematic because photoinitiators are not safe food law. Particularly in the field of food packaging, there are therefore strict limits with regard to the migration of photoinitiators from the packaging material. Photoinitiators are also expensive. Furthermore, in the case of absorbing inks, curing is difficult because the photoinitiator does not get enough light.
Alternativ zur UV-Bestrahlung kann eine Bestrahlung mit Elektronen zur Härtung von Druckfarbaufträgen und anderen Beschichtungen eingesetzt werden. Die Elektronenstrahlhärtung (ESH) hat gegenüber der UV-Bestrahlung den Vorteil, dass keine Photoinitiatoren eingesetzt werden müssen. Allerdings war der Einsatz einer Anlage zur Elektronenstrahlhärtung bislang mit hohen Anschaffungskosten verbunden.As an alternative to UV irradiation, electron beam irradiation can be used to cure inking and other coatings. The electron beam curing (ESH) has the advantage over UV irradiation that no photoinitiators must be used. However, the use of a system for electron beam curing was previously associated with high acquisition costs.
Es ist daher Aufgabe der Erfindung, die Wirtschaftlichkeit beim Einsatz der Elektronenstrahlhärtung zu verbessern.It is therefore an object of the invention to improve the efficiency in the use of electron beam curing.
Die Aufgabe der Erfindung wird durch ein Auftrags-Bestrahlungs-System nach Anspruch 1, durch eine Druckmaschine nach Anspruch 19, durch ein Verfahren zum Aufbringen von mindestens einer Auftragsschicht auf eine Trägerbahn gemäß Anspruch 20, sowie durch ein Verfahren zum Aufbringen von mindestens zwei Auftragsschichten auf eine Trägerbahn gemäß Anspruch 21 gelöst.The object of the invention is achieved by an application irradiation system according to
Ein erfindungsgemäßes Auftrags-Bestrahlungs-System umfasst ein erstes Auftragswerk zum Aufbringen einer ersten Auftragsschicht auf eine Trägerbahn, sowie eine Bestrahlungseinheit, in der ein erster Elektronenstrahlerzeuger und ein zweiter Elektronenstrahlerzeuger zur Bestrahlung der Trägerbahn angeordnet sind. Die innerhalb der Bestrahlungseinheit angeordneten Elektronenstrahlerzeuger weisen Anschlüsse für mindestens eine Pumpenvorrichtung zur Erzeugung eines Betriebsvakuums auf. Das Auftrags-Bestrahlungs-System umfasst darüber hinaus eine Bahnführungsvorrichtung, welche die Trägerbahn nacheinander, aber nicht notwendigerweise unmittelbar nacheinander, dem ersten Auftragswerk, dem ersten Elektronenstrahlerzeuger, dem zweiten Elektronenstrahlerzeuger zuführt.An application irradiation system according to the invention comprises a first application unit for applying a first application layer to a carrier web, and an irradiation unit in which a first electron gun and a second electron gun are arranged for irradiating the carrier web. The electron beam generators arranged within the irradiation unit have connections for at least one pump device for generating an operating vacuum. The job irradiation system further comprises a web guiding device which feeds the carrier web successively but not necessarily immediately after one another to the first applicator, the first electron gun, the second electron gun.
Durch die Anordnung von mindestens zwei Elektronenstrahlerzeugern in einer gemeinsamen Bestrahlungseinheit kann die jeweils im Bearbeitungsverlauf benötigte Bestrahlungsdosisleistung auf flexible und kostengünstige Weise zur Verfügung gestellt werden. Die Bahnführungsvorrichtung ist so ausgelegt, dass die Trägerbahn immer dann, wenn eine Bestrahlung mit Elektronen erfolgen soll, durch die gemeinsame Bestrahlungseinheit geführt und von mindestens einem der Elektronenstrahlerzeuger bestrahlt wird. Dadurch kann an definierten Stellen des Bearbeitungsgangs ein jeweils benötigtes Maß an Zwischentrocknung eingestellt werden. Beispielsweise kann die Trägerbahn nach dem Durchlaufen eines Auftragswerks nacheinander zum ersten und zum zweiten Elektronenstrahlerzeuger geführt werden, um eine ausreichend hohe Bestrahlungsdosisleistung auf die Trägerbahn aufzubringen. Alternativ kann die Trägerbahn beispielsweise nach dem Durchlaufen des ersten Auftragswerks dem ersten Elektronenstrahlerzeuger zugeführt, aus der Bestrahlungseinheit herausgeführt und nach dem Durchlaufen weiterer Bearbeitungsstationen dem zweiten Elektronenstrahlerzeuger zugeführt werden.By arranging at least two electron beam generators in a common irradiation unit, the irradiation dose rate required in each case during the course of the processing can be made available in a flexible and cost-effective manner. The web guiding device is designed in such a way that the carrier web is guided through the common irradiation unit and irradiated by at least one of the electron guns whenever it is to be irradiated with electrons. As a result, a respectively required degree of intermediate drying can be set at defined points of the machining cycle. For example, after passing through an applicator, the carrier web can be guided one after the other to the first and the second electron gun in order to apply a sufficiently high radiation dose rate to the carrier web. Alternatively, the carrier web, for example, after passing through the first commissioned work supplied to the first electron gun, led out of the irradiation unit and fed to the second electron gun after passing through other processing stations.
Das erfindungsgemäße Auftrags-Bestrahlungs-System ist dazu ausgelegt, an beliebiger Stelle im Bahnverlauf auf flexible und kostengünstige Weise die benötigte Bestrahlungsdosisleistung bereitzustellen. Anstatt separate Elektronenbestrahlungseinheiten anzuschaffen, werden die mindestens zwei Elektronenstrahlerzeuger in einer einzigen Bestrahlungseinheit integriert. Dadurch können die Anschaffungskosten der Bestrahlungseinheit abgesenkt werden.The application irradiation system according to the invention is designed to provide the required dose rate of radiation at any point in the course of the path in a flexible and cost-effective manner. Instead of purchasing separate electron beam units, the at least two electron guns are integrated in a single irradiation unit. As a result, the initial cost of the irradiation unit can be lowered.
Das erfindungsgemäße Auftrags-Bestrahlungs-System eignet sich beispielsweise zur Elektronenstrahlhärtung von Auftragsschichten, die mit Hilfe von Auftragswerken auf die Trägerbahn aufgebracht werden. Ausführungsformen der vorliegenden Erfindung ermöglichen es, die Elektronenstrahlhärtung gegenüber der UV-Härtung konkurrenzfähig zu machen, vor allem wenn hohe Bestrahlungsdosen oder mehrere Bestrahlungen an verschiedenen Stellen notwendig sind.The application irradiation system according to the invention is suitable, for example, for electron beam curing of application layers which are applied to the carrier web with the aid of application units. Embodiments of the present invention make it possible to make electron beam curing competitive with UV curing, especially when high doses of irradiation or multiple exposures at different locations are required.
Gemäß einer vorteilhaften Ausführungsform ist die Bahnführungsvorrichtung dazu ausgelegt, die Trägerbahn nach Durchlaufen des ersten Auftragswerks der Bestrahlungseinheit zuzuführen, wo die Trägerbahn vom ersten Elektronenstrahlerzeuger und vom zweiten Elektronenstrahlerzeuger bestrahlt wird, und aus der Bestrahlungseinheit herauszuführen.According to an advantageous embodiment, the web guiding device is adapted to supply the carrier web after passing through the first commissioned work of the irradiation unit, where the carrier web is irradiated by the first electron gun and the second electron gun, and lead out of the irradiation unit.
Bei dieser Ausführungsform bringt das erste Auftragswerk eine erste Auftragsschicht auf die Trägerbahn auf, und anschließend wird die Trägerbahn vom ersten Elektronenstrahlerzeuger und vom zweiten Elektronenstrahlerzeuger bestrahlt. Die Trägerbahn wird sowohl vom ersten Elektronenstrahlerzeuger als auch vom zweiten Elektronenstrahlerzeuger mit einer bestimmten Bestrahlungsdosis beaufschlagt, so dass sich die gesamte Strahlungsdosis aus den Beiträgen der beiden Elektronenstrahlerzeuger zusammensetzt. Mit Hilfe von zwei hintereinander angeordneten Elektronenstrahlerzeugern kann eine wesentlich höhere Bestrahlungsdosisleistung generiert werden.In this embodiment, the first applicator applies a first coating layer to the carrier web, and then the carrier web is irradiated by the first electron gun and the second electron gun. The carrier web is acted upon by the first electron gun as well as by the second electron gun with a certain irradiation dose, so that the total radiation dose is composed of the contributions of the two electron guns. With the help of two successively arranged electron beam generators, a significantly higher irradiation dose rate can be generated.
Im Bereich der Elektronenstrahlhärtung gibt die Dosisleistung eines Strahlers die gestrahlte Dosis pro Zeiteinheit an. Die Dosisleistung ist entscheidend, wenn die Betriebsgeschwindigkeit einer Anlage erhöht werden soll. Bei Elektronenbestrahlungsanlagen ist die Dosisleistung begrenzt, da durch das Fenstermaterial keine beliebigen Mengen an Elektronen pro Zeiteinheit durchtreten dürfen. Bei zu hohen Elektronenströmen kommt es zu einer starken Erwärmung des Fenstermaterials, was zu Schädigungen führen kann. Die Dosisleistung könnte durch eine Vergrößerung der Fensterfläche erhöht werden, jedoch sind hier durch die bauliche Größe der Elektronenbestrahlungsanlage und die Maße der verfügbaren Elektronenaustrittsfenster Grenzen gesetzt.In the field of electron beam curing, the dose rate of a radiator indicates the irradiated dose per unit of time. The dose rate is crucial if the operating speed of a system is to be increased. In the case of electron irradiation systems, the dose rate is limited since no arbitrary amounts of electrons per unit of time are permitted to pass through the window material. Too high electron currents lead to a strong heating of the window material, which can lead to damage. The dose rate could be increased by increasing the window area, but here are limited by the structural size of the electron irradiation system and the dimensions of the available electron emission window.
Bei bisherigen Elektronenstrahlerzeugern ist die bauliche Größe des gesamten Elektronenstrahlerzeugers von der Größe des benötigten Elektronenaustrittsfensters abhängig. Beispielsweise kann ein Elektronenstrahlerzeuger ein zylinderförmiges Gehäuse von vorgegebenem Radius aufweisen, wobei das Fenster in die Rundung des Zylinders eingegliedert wird. Je größer das Fenster ist, desto größer wird deshalb auch der Radius des zylinderförmigen Gehäuses. Durch Aufteilung der Dosisleistung auf mehrere Elektronenstrahlerzeuger kann das Fenster jedes einzelnen Elektronenstrahlerzeugers kleiner gestaltet werden. Die einzelnen Elektronenstrahlerzeuger werden dadurch deutlich kleiner im Radius und damit in der baulichen Höhe. Im Vergleich zu einem Einzelstrahler gleicher Dosisleistung weist eine aus mehreren hintereinander angeordneten Elektronenstrahlerzeugern aufgebaute Elektronenstrahleinheit eine deutlich geringere bauliche Höhe auf.In previous electron guns, the structural size of the entire electron gun depends on the size of the required electron exit window. For example, an electron gun may be a cylindrical one Have housing of a given radius, wherein the window is incorporated into the rounding of the cylinder. Therefore, the larger the window, the larger the radius of the cylindrical housing becomes. By dividing the dose rate to multiple electron beam generators, the window of each electron gun can be made smaller. The individual electron guns are thus significantly smaller in radius and thus in the structural height. In comparison with a single radiator with the same dose rate, an electron beam unit constructed from a plurality of electron beam generators arranged one behind the other has a significantly lower structural height.
Durch Verwendung mehrerer Elektronenstrahlerzeuger wird bei einer vorgegeben Dosisleistung insgesamt eine große Vielfalt an baulichen Maßen möglich. Dies ist vorteilhaft, da in heutigen Auftrags-Bestrahlungs-Systemen wie beispielsweise Druck- und Beschichtungsmaschinen oft wenig Platz vorhanden ist.By using a plurality of electron beam generators, a large variety of constructional dimensions becomes possible at a given dose rate. This is advantageous because in today's job irradiation systems such as printing and coating machines often little space is available.
Durch die insgesamt kleinere Baugröße der in Reihe angeordneten Elektronenstrahlerzeuger ist das Gesamtvolumen, das evakuiert werden muss, deutlich kleiner. Dadurch können die Anlagen schneller evakuiert werden, und die Geräte stehen beispielsweise nach einem Folienwechsel, einer Reparatur etc. viel schneller wieder für die Produktion zur Verfügung. Für die Produktion ist das wichtig, da die Stundensätze hier sehr hoch sind. Ein weiterer Vorteil des geringeren Gesamtvolumens ist, dass zum Evakuieren kleinere Pumpen verwendet werden können.Due to the overall smaller size of the electron gun in series, the total volume that must be evacuated, much smaller. As a result, the plants can be evacuated faster, and the devices are, for example, after a film change, a repair, etc. much faster available for production. This is important for production because the hourly rates are very high here. Another advantage of the lower overall volume is that smaller pumps can be used for evacuation.
Ein weiterer Vorteil ist, dass die Röhren so handlich werden, dass sie händisch austauschbar sind. Bei einem Defekt oder zum Austausch von Fenstern kann daher die ganze Röhre gegen eine fertige Ersatzröhre ausgewechselt werden. Die Produktivität wird damit weiter gesteigert bzw. die Ausfallzeiten werden minimiert.Another advantage is that the tubes are so handy that they are manually interchangeable. In case of a defect or replacement of windows, therefore, the whole tube can be replaced with a finished replacement tube. Productivity is further increased and downtimes are minimized.
Gemäß einer vorteilhaften Ausführungsform sind der erste Elektronenstrahlerzeuger und der zweite Elektronenstrahlerzeuger zur Elektronenstrahlhärtung der ersten Auftragsschicht ausgelegt. Die zur Härtung der ersten Auftragsschicht zur Verfügung stehende Bestrahlungsdosis setzt sich aus den Beiträgen des ersten und des zweiten Elektronenstrahlerzeugers zusammen, wodurch sich eine wesentliche Steigerung der Bestrahlungsdosis erzielen lässt. Dadurch wird es möglich, auch vergleichsweise langsam reagierende Auftragsschichten zuverlässig zu härten. Beispielsweise sind zur Härtung von Klebstoff- und Lackschichten vergleichsweise hohe Bestrahlungsdosen erforderlich. Darüber hinaus kann beispielsweise auch bei höheren Bahngeschwindigkeiten eine zur Härtung der aufgebrachten Schichten ausreichende Bestrahlungsdosis bereitgestellt werden.According to an advantageous embodiment, the first electron gun and the second electron gun are designed for electron beam curing of the first application layer. The irradiation dose available for curing the first application layer is composed of the contributions of the first and the second electron gun, whereby a substantial increase in the irradiation dose can be achieved. This will make it possible Even hardening of comparatively slow-reacting coating layers reliably. For example, comparatively high doses of irradiation are required for the curing of adhesive and varnish layers. In addition, for example, a radiation dose sufficient to cure the applied layers can also be provided at higher web speeds.
Gemäß einer weiteren vorteilhaften Ausführungsform umfasst das Auftrags-Bestrahlungs-System ein zweites Auftragswerk zum Aufbringen einer zweiten Auftragsschicht auf die Trägerbahn, wobei die Bahnführungsvorrichtung dazu ausgelegt ist, die Trägerbahn nacheinander dem ersten Auftragswerk, dem ersten Elektronenstrahlerzeuger, dem zweiten Auftragswerk, dem zweiten Elektronenstrahlerzeuger zuzuführen.According to a further advantageous embodiment, the application irradiation system comprises a second applicator for applying a second coating layer to the carrier web, wherein the web guiding device is adapted to feed the carrier web successively to the first applicator, the first electron gun, the second applicator, the second electron gun ,
Bei dieser Ausführungsform wird die Trägerbahn nach Durchlaufen des ersten Elektronenstrahlerzeugers nicht unmittelbar zum zweiten Elektronenstrahlerzeuger geführt, sondern gelangt vom ersten Elektronenstrahlerzeuger zu einem zweiten Auftragswerk, welches eine zweite Auftragsschicht aufbringt, und von dort zum zweiten Elektronenstrahlerzeuger. Jedem Auftragswerk ist mindestens ein zugehöriger Elektronenstrahlerzeuger zugeordnet. Durch die Anordnung der Elektronenstrahlerzeuger in einer gemeinsamen Vakuumeinheit wird der bauliche Aufwand reduziert.In this embodiment, the carrier web is not passed directly to the second electron gun after passing through the first electron gun, but passes from the first electron gun to a second applicator, which applies a second coating layer, and from there to the second electron gun. Each commissioned work is associated with at least one associated electron gun. The arrangement of the electron gun in a common vacuum unit, the structural complexity is reduced.
Es ist von Vorteil, wenn der erste Elektronenstrahlerzeuger zur Elektronenstrahlhärtung der ersten Auftragsschicht und der zweite Elektronenstrahlerzeuger zur Elektronenstrahlhärtung von einer oder mehreren vorher aufgebrachten Auftragsschichten ausgelegt ist. Zuerst wird die erste Auftragsschicht gehärtet, und anschließend wird die Trägerbahn dem zweiten Auftragswerk zugeführt. Dadurch kann beispielsweise bei niedrigviskosen Druckfarben ein Verlaufen der nassen Farbe des ersten Auftragswerks in die nasse Farbe des zweiten Auftragswerks verhindert und die Qualität beim Druckvorgang erhöht werden. Dies ist insbesondere beim Flexodruck und beim Tiefdruck wichtig, da hier niedrigviskose Druckfarben zum Einsatz kommen.It is advantageous if the first electron gun for electron beam curing of the first application layer and the second electron gun for electron beam curing of one or more previously applied application layers is designed. First, the first coating layer is cured, and then the carrier web is fed to the second applicator. As a result, for example, in the case of low-viscosity printing inks, bleeding of the wet ink of the first job in the wet ink of the second job can be prevented and the quality during the printing process can be increased. This is particularly important in flexographic printing and gravure printing, since low-viscosity printing inks are used here.
Es ist von Vorteil, wenn die Bahnführungsvorrichtung dazu ausgelegt ist, die Trägerbahn nach Durchlaufen des ersten Auftragswerks der Bestrahlungseinheit zuzuführen, wo die Trägerbahn vom ersten Elektronenstrahlerzeuger bestrahlt wird, aus der Bestrahlungseinheit herauszuführen und dem zweiten Auftragswerk zuzuführen, und die Trägerbahn nach Durchlaufen des zweiten Auftragswerks der Bestrahlungseinheit zuzuführen, wo die Trägerbahn vom zweiten Elektronenstrahlerzeuger bestrahlt wird, und aus der Bestrahlungseinheit herauszuführen.It is advantageous if the web guiding device is designed to feed the carrier web, after passing through the first application unit, to the irradiation unit, where the carrier web is irradiated by the first electron gun, leading out of the irradiation unit and to the second applicator and to supply the carrier web after passing through the second application unit of the irradiation unit, where the carrier web is irradiated by the second electron gun, and lead out of the irradiation unit.
Entsprechend einer weiteren bevorzugten Ausführungsform umfasst das Auftrags-Bestrahlungs-System eine Mehrzahl von Auftragswerken und eine Mehrzahl von innerhalb der Vakuumeinheit angeordneten Elektronenstrahlerzeugern, wobei jedem Auftragswerk mindestens ein Elektronenstrahlerzeuger zugeordnet ist. Dabei ist die Bahnführungsvorrichtung dazu ausgelegt, die Trägerbahn nach dem Durchlaufen eines Auftragswerks jeweils der Bestrahlungseinheit zuzuführen, wo die Trägerbahn von dem mindestens einen zugeordneten Elektronenstrahlerzeuger bestrahlt wird, und wieder aus der Bestrahlungseinheit herauszuführen.According to a further preferred embodiment, the application irradiation system comprises a plurality of application units and a plurality of electron beam generators disposed within the vacuum unit, wherein each applicator unit is associated with at least one electron gun. In this case, the web guiding device is designed to supply the carrier web after passing through a commissioned work each of the irradiation unit, where the carrier web is irradiated by the at least one associated electron gun, and lead out of the irradiation unit again.
Vorzugsweise ist ein einem Auftragswerk zugeordneter Elektronenstrahlerzeuger dazu ausgelegt, die von mindestens einem vorher durchlaufenen Auftragswerk aufgebrachte mindestens eine Auftragsschicht zu härten. Auf diese Weise kann sichergestellt werden, dass eine neue aufgebrachte Auftragsschicht gehärtet wird, bevor die Trägerbahn einem weiteren Auftragswerk zugeführt wird. Dadurch kann beispielsweise bei niedrigviskosen Druckfarben ein Verlaufen der nassen Farben der verschiedenen Auftragswerke ineinander verhindert und die Qualität beim Druckvorgang erhöht werden.Preferably, an applicator associated electron gun is designed to harden the applied by at least one previously run commissioned at least one application layer. In this way it can be ensured that a new applied coating layer is cured before the carrier web is fed to another commissioned work. As a result, for example, in the case of low-viscosity printing inks, bleeding of the wet colors of the different application units into one another can be prevented and the quality during the printing process can be increased.
Gemäß einer bevorzugten Ausführungsform erstreckt sich jeder der innerhalb der Bestrahlungseinheit angeordneten Elektronenstrahlerzeuger über die gesamte Breite der Trägerbahn. Dadurch kann die Trägerbahn über ihre gesamte Breite hinweg mit Elektronen bestrahlt werden, ohne dass hierfür mehrere nebeneinander angeordnete Elektronenstrahlerzeuger benötigt werden.According to a preferred embodiment, each of the electron beam generators disposed within the irradiation unit extends over the entire width of the carrier web. As a result, the carrier web can be irradiated with electrons over its entire width, without the need for a plurality of juxtaposed electron guns.
Es ist von Vorteil, wenn die Bestrahlungseinheit als eigenständige, separate Baueinheit ausgebildet ist. Wann immer während der Bearbeitung der Trägerbahn eine Elektronenstrahldosis benötigt wird, wird die Trägerbahn der Bestrahlungseinheit zugeführt. Innerhalb dieser Baueinheit können beispielsweise die zum Betrieb der Elektronenstrahlerzeuger benötigten Apparaturen und Einrichtungen untergebracht sein. Die zur Bestrahlungseinheit gehörigen Komponenten können beispielsweise als Modul ausgebildet sein und können beispielsweise für Service und Wartung aus der Gesamtanordnung herausgenommen werden.It is advantageous if the irradiation unit is formed as an independent, separate structural unit. Whenever an electron beam dose is needed during processing of the carrier web, the carrier web is fed to the irradiation unit. Within this assembly, for example, required for the operation of the electron gun apparatuses and facilities can be accommodated. The components belonging to the irradiation unit can For example, be designed as a module and can be removed, for example, for service and maintenance of the overall arrangement.
Des Weiteren ist es von Vorteil, wenn die Bestrahlungseinheit in einem räumlich abgegrenzten Bereich des Auftrags-Bestrahlungs-Systems angeordnet ist. Insbesondere ist es von Vorteil, wenn die Auftragswerke in einem ersten räumlich abgegrenzten Bereich des Auftrags-Bestrahlungs-Systems angeordnet sind, und die Bestrahlungseinheit in einem zweiten räumlich abgegrenzten Bereich des Auftrags-Bestrahlungs-Systems angeordnet ist. Bei dieser Ausführungsform wird die Trägerbahn während der Bearbeitung zwischen den Auftragswerken und der Bestrahlungseinheit hin- und hergeführt.Furthermore, it is advantageous if the irradiation unit is arranged in a spatially delimited area of the application irradiation system. In particular, it is advantageous if the applicator units are arranged in a first spatially delimited area of the application irradiation system, and the irradiation unit is arranged in a second spatially delimited area of the application irradiation system. In this embodiment, the carrier web is guided back and forth between the commissioned work and the irradiation unit during processing.
Gemäß einer vorteilhaften Ausführungsform ist das mindestens eine Auftragswerk um die zentrale Bestrahlungseinheit herum angeordnet. Durch die zentrale Anordnung der Bestrahlungseinheit kann die Trägerbahn auf einfache Weise zwischen den Auftragswerken und der Bestrahlungseinheit hin- und hergeführt werden.According to an advantageous embodiment, the at least one applicator unit is arranged around the central irradiation unit. Due to the central arrangement of the irradiation unit, the carrier web can be guided back and forth in a simple manner between the applicator units and the irradiation unit.
Es ist von Vorteil, wenn das mindestens eine Auftragswerk mindestens eines der folgenden umfasst: ein Laminierwerk, ein Kaschierwerk, ein Klebstoffauftragswerk, ein Druckfarbenauftragswerk, ein Pulverauftragswerk, ein Beschichtungswerk, ein Lackauftragswerk, ein Extruder, ein Extruder mit Formwerkzeug. Durch die Kombination von verschiedenen Auftragswerken mit einer Bestrahlungseinheit entsteht ein komplexes Bearbeitungssystem zur Veredelung einer Trägerbahn.It is advantageous if the at least one application unit comprises at least one of the following: a lamination unit, a laminating unit, an adhesive applicator, an inking unit, a powder applicator, a coating unit, a lacquer applicator, an extruder, an extruder with a molding tool. The combination of different application units with one irradiation unit creates a complex processing system for finishing a carrier web.
Es ist von Vorteil, wenn die mindestens eine Auftragschicht eine oder mehrere der folgenden umfasst: eine Druckfarbenschicht, eine Lackschicht, eine Klebstoffschicht, eine Kaschierfolie mit Klebstoff, eine Laminierschicht, eine Kunststoffschicht, eine Silikonisierung, eine Veredelungsschicht. Derartige Auftragsschichten werden von verschiedenartigen Auftragswerken nacheinander auf die Trägerbahn aufgebracht.It is advantageous if the at least one application layer comprises one or more of the following: an ink layer, a lacquer layer, an adhesive layer, a laminating film with adhesive, a laminating layer, a plastic layer, a siliconization, a finishing layer. Such application layers are applied successively to the carrier web by various application units.
Gemäß einer bevorzugten Ausführungsform handelt es sich bei einem oder mehreren der Auftragswerke um Druckwerke für mindestens eines der folgenden Druckverfahren: Flexodruck, Tiefdruck, Siebdruck, Offsetdruck. Insbesondere eignet sich das Auftrags-Bestrahlungs-System dazu, eine jeweils neu aufgebrachte Druckfarbenschicht vor dem Aufbringen weiterer Druckfarbenschichten zu härten. Dies ist beispielsweise bei niedrigviskosen Farben wichtig, damit unterschiedliche Farben aus verschiedenen Auftragswerken nicht ineinander verlaufen.According to a preferred embodiment, one or more of the commissioned works are printing units for at least one of the following printing processes: flexographic printing, gravure printing, screen printing, offset printing. In particular, the order irradiation system is suitable for each newly applied To cure ink layer before applying further ink layers. This is important, for example, in the case of low-viscosity inks, so that different colors from different applications do not run into each other.
Des Weiteren ist es von Vorteil, wenn zwischen einem Auftragswerk und einem dem Auftragswerk zugeordneten Elektronenstrahlerzeuger ein oder mehrere der folgenden angeordnet sind: ein Bahntrockner, ein Konvektionstrockner, ein Lösungsmitteltrockner, ein Excimertrockner, ein UV-Trockner, ein IR-Trockner, eine Wärmebehandlungseinheit. Mit Hilfe eines Trockners kann der Wasser- bzw. Lösungsmittelanteil einer Auftragsschicht entfernt oder zumindest verringert werden. Auf diese Art können beispielsweise Dispersionslacke, Dispersionsklebstoffe, Lösungsmittellacke, Lösungsmittelklebstoffe nach dem Auftragen und Trocknen noch mittels Elektronenbestrahlung gehärtet werden.Furthermore, it is advantageous if one or more of the following are arranged between an applicator unit and an electron gun assigned to the applicator unit: a web dryer, a convection dryer, a solvent dryer, an excimer dryer, a UV dryer, an IR dryer, a heat treatment unit. With the help of a dryer, the water or solvent content of a coating layer can be removed or at least reduced. In this way, for example, dispersion coatings, dispersion adhesives, solvent-based paints, solvent-based adhesives can be hardened after application and drying by means of electron irradiation.
Gemäß einer bevorzugten Ausführungsform umfasst die Bestrahlungseinheit eine gemeinsame Abschirmung für die innerhalb der Bestrahlungseinheit angeordneten Elektronenstrahlerzeuger, welche dazu ausgelegt ist, die innerhalb der Bestrahlungseinheit erzeugte hochenergetische Strahlung abzuschirmen. Das Abschirmgehäuse, welches vorzugsweise aus Blei oder Stahl oder einer Blei-Stahl-Konstruktion besteht, liefert einen wesentlichen Beitrag zu den Kosten einer ESH-Anlage. Bei den Ausführungsformen der vorliegenden Erfindung ist für die in der Bestrahlungseinheit angeordneten Elektronenstrahlerzeuger nur eine gemeinsame Abschirmung notwendig, so dass sich auch in dieser Hinsicht die Kosten reduzieren.According to a preferred embodiment, the irradiation unit comprises a common shield for the electron beam generator arranged within the irradiation unit, which is designed to shield the high-energy radiation generated within the irradiation unit. The shielding housing, which is preferably made of lead or steel or a lead-steel construction, makes a significant contribution to the cost of an ESH plant. In the embodiments of the present invention, only one common shielding is necessary for the electron beam generators arranged in the irradiation unit, so that the costs are also reduced in this respect.
Gemäß einer bevorzugten Ausführungsform sind die innerhalb der Bestrahlungseinheit angeordneten Elektronenstrahlerzeuger an ein für alle Elektronenstrahlerzeuger gemeinsames Vakuumsystem angeschlossen. Durch das Vakuumsystem wird das zum Betrieb der Elektronenstrahlerzeuger notwendige Betriebsvakuum zur Verfügung gestellt.According to a preferred embodiment, the electron beam generators arranged within the irradiation unit are connected to a vacuum system common to all electron guns. The vacuum system provides the operating vacuum necessary for operating the electron guns.
Vorzugsweise umfasst das gemeinsame Vakuumsystem eine Pumpenvorrichtung zur Erzeugung des Betriebsvakuums. Da die Elektronenstrahlerzeuger an ein gemeinsames Vakuumsystem angeschlossen sind, genügt eine Pumpenvorrichtung zur Evakuierung der Elektronenstrahlerzeuger. Dies wirkt sich ebenfalls günstig auf die Kosten der Bestrahlungseinheit aus. Alternativ können aber auch mehrere Pumpenvorrichtungen an das Vakuumsystem angeschlossen sein.Preferably, the common vacuum system comprises a pump device for generating the operating vacuum. Since the electron beam generators are connected to a common vacuum system, a pump device is sufficient for evacuating the electron gun. This also affects favorable to the cost of the irradiation unit. Alternatively, however, several pump devices can also be connected to the vacuum system.
Eine erfindungsgemäße Druckmaschine umfasst mindestens eines der oben beschriebenen Auftrags-Bestrahlungs-Systeme.A printing press according to the invention comprises at least one of the order irradiation systems described above.
Mit Hilfe von Ausführungsformen der vorliegenden Erfindung lassen sich die verschiedenen bei der Herstellung von Verpackungen oder Etiketten benötigten Schichten nacheinander aufbringen und härten. Da im Gegensatz zur UV-Härtung bei der Elektronenstrahlhärtung keine Photoinitiatoren zugegeben werden müssen, hat die Elektronenstrahlhärtung Vorteile bei der Anwendung im Verpackungsbereich, und insbesondere für die Verpackung von Lebensmitteln.By means of embodiments of the present invention, the various layers required in the manufacture of packages or labels can be successively applied and cured. Since, in contrast to UV curing, no photoinitiators have to be added during electron beam curing, electron beam curing has advantages for use in the packaging sector, and in particular for the packaging of foods.
Nachfolgend wird die Erfindung anhand mehrerer in der Zeichnung dargestellter Ausführungsbeispiele weiter beschrieben. Es zeigen:
- Fig. 1 zeigt eine erste Ausführungsform der Erfindung, bei der eine Auftragsschicht von zwei hintereinander angeordneten Elektronenstrahlerzeugern gehärtet wird;
- Fig. 2A zeigt eine erste Ausführungsform eines Elektronenstrahlerzeugers;
- Fig. 2B zeigt eine zweite Ausführungsform eines Elektronenstrahlerzeugers;
- Fig. 2C zeigt eine dritte Ausführungsform eines Elektronenstrahlerzeugers;
- Fig. 3 zeigt eine weitere Ausführungsform der Erfindung, welche vier Auftragswerke und eine zentrale Bestrahlungseinheit umfasst;
- Fig. 4 zeigt den Aufbau eines Druckwerks für den Flexodruck;
- Fig. 5 zeigt eine weitere Ausführungsform der Erfindung, bei der eine Trägerbahn beidseitig im Vierfarbdruck bedruckt wird;
- Fig. 6 zeigt eine weitere Ausführungsform, bei der die Trägerbahn mit Hilfe von Eintritts- und Austrittsspalten durch die Bestrahlungseinheit geführt wird; und
- Fig. 7 zeigt eine Ausführungsform eines Auftrags-Bestrahlungs-Systems mit einer kompakten Bestrahlungseinheit.
- Fig. 1 shows a first embodiment of the invention, in which a coating layer of two successively arranged electron guns is cured;
- Fig. 2A shows a first embodiment of an electron gun;
- Fig. 2B shows a second embodiment of an electron gun;
- Fig. 2C shows a third embodiment of an electron gun;
- Fig. 3 shows a further embodiment of the invention comprising four applicators and a central irradiation unit;
- Fig. 4 shows the structure of a printing unit for flexographic printing;
- Fig. 5 shows a further embodiment of the invention, in which a carrier web is printed on both sides in four-color printing;
- Fig. 6 shows a further embodiment in which the carrier web is guided through the irradiation unit by means of entry and exit slits; and
- Fig. 7 shows an embodiment of a job irradiation system with a compact irradiation unit.
In Fig. 1 ist eine erste Ausführungsform der Erfindung gezeigt, bei der eine Trägerbahn nacheinander ein Lackauftragswerk und zwei Elektronenstrahlerzeuger passiert. Von einer Abwicklung 100 aus wird die Trägerbahn 101 einem Lackauftragswerk 102 zugeführt.In Fig. 1, a first embodiment of the invention is shown in which a carrier web successively passes a Lackauftragswerk and two electron gun. From a
Bei der Trägerbahn 101 kann es sich beispielsweise um eine Bahn aus Kunststoff, Textil, Vlies, Gewebe, Metall, etc. handeln. Die Bahnbreite bewegt sich typischerweise zwischen 20 cm (Etiketten) und einigen Metern, während die Dicke der Trägerbahn zwischen 6 µm und einigen Millimetern liegen kann. Das Lackauftragswerk 102 kann beispielsweise eine Schöpfwanne 103, eine Schöpfwalze 104, eine Beschichtungswalze 105 sowie eine Gegendruckwalze 106 umfassen.The
Beim Durchlaufen des Lackauftragswerks 102 wird eine Lackschicht auf die Trägerbahn 101 aufgebracht. Die lackierte Bahn durchläuft anschließend einen Bahntrockner 107, der der aufgetragenen Lackschicht das Lösungsmittel entzieht. Der Bahntrockner 107 kann beispielsweise als Konvektionstrockner oder IR-Trockner ausgeführt sein. Über eine Eintrittswalze 108 wird die Trägerbahn 101 dann in eine Bestrahlungseinheit 109 eingeführt. Innerhalb der Bestrahlungseinheit 109 sind ein erster Elektronenstrahlerzeuger 110 und ein zweiter Elektronenstrahlerzeuger 111 angeordnet, deren Dosisleistung unabhängig voneinander geregelt werden kann. Jeder Elektronenstrahlerzeuger 110, 111 umfasst mindestens ein Elektronenaustrittsfenster. Die Elektronenstrahlerzeuger 110, 111 können entweder wie in Fig. 1 gezeigt in gewissem Abstand von den Walzen angeordnet sein. Alternativ dazu können die Elektronenstrahlerzeuger auch direkt über den Walzen angeordnet sein.When passing through the
Innerhalb der Elektronenstrahlerzeuger 110, 111 herrscht ein zur Erzeugung von Elektronen geeignetes Hochvakuum. Zur Erzeugung dieses Hochvakuums sind die Elektronenstrahlerzeuger 110, 111 über Rohrleitungen 112, 113 mit einer Pumpenvorrichtung 114 verbunden. Die Pumpenvorrichtung 114 kann innerhalb oder außerhalb der Bestrahlungseinheit 109 angeordnet sein. In der Bestrahlungszone befindet sich vorzugsweise ein Inertgas wie beispielsweise Stickstoff, um einen Abbruch der radikalischen Reaktion durch den Luftsauerstoff zu verhindern. Die Bestrahlungseinheit 109 umfasst darüber hinaus einen Hochspannungsgenerator 115, der dem ersten Elektronenstrahlerzeuger 110 und dem zweiten Elektronenstrahlerzeuger 111 die zur Beschleunigung der Elektronen benötigte Beschleunigungsspannung (bzw. Strom) zur Verfügung stellt. Die Beschleunigungsspannung liegt typischerweise im Bereich zwischen 25 kV und 300 kV.Within the
Die mit einer Lackschicht versehene Trägerbahn 101 wird nacheinander am ersten Elektronenstrahlerzeuger 110 und am zweiten Elektronenstrahlerzeuger 111 vorbei bewegt, wo die Trägerbahn mit der darauf befindlichen Lackschicht jeweils durch Elektronen bestrahlt wird. Durch die Bestrahlung mit Elektronen wird eine Vernetzung des strahlungshärtenden Lacks hervorgerufen, und es entsteht ein harter, chemikalien- und abriebbeständiger hochglänzender Lackfilm. Nach dem Härtungsvorgang wird die bedruckte Bahn 101 über eine Austrittswalze 116 aus der Bestrahlungseinheit 109 herausgeführt und einer Aufwicklung 117 zugeführt.The
Gemäß einer alternativen Ausführungsform der Erfindung kann die in Fig. 1 gezeigte Anordnung auch zur Erzeugung mattierter Oberflächen eingesetzt werden. Durch Einsatz einer niedrigen Beschleunigungsspannung beim ersten Elektronenstrahlerzeuger 110 wird nur der dem Strahler zugewandte oberste Bereich der Auftragsschicht gehärtet, während der darunter liegende Bereich der Auftragsschicht noch fließfähig bleibt. Durch die Vernetzung des oberen Bereichs kommt es zu einem Schrumpf, der zu einer rauen und dadurch mattierten Oberfläche führt. Der zweite Elektronenstrahlerzeuger 111 härtet mit einer höheren Beschleunigungsspannung, so dass die gesamte Auftragsschicht durchgehend gehärtet wird. Damit kann auch ohne Einsatz von Mattierungsmitteln eine harte, mattierte, kratzfeste Oberfläche erzeugt werden.According to an alternative embodiment of the invention, the arrangement shown in Fig. 1 can also be used to produce frosted surfaces. By using a low acceleration voltage in the first
Verglichen mit den konkurrierenden UV-härtenden Systemen ist es bei elektronenstrahlenhärtenden Systemen nicht notwendig, dem Lack bzw. der Druckfarbe photoaktive Initiatoren zuzufügen. Außerdem gibt es bei der Härtung mittels Elektronenstrahlung keine Probleme der Art, dass der Lack bzw. die Druckfarbe wegen Absorption von der Strahlung nicht durchdrungen wird. Im Gegensatz zu UV-härtenden System ist bei elektronenstrahlenhärtenden Systemen das Durchhärten farbiger Schichten ohne Probleme möglich. Elektronenstrahlenhärtende Systeme kommen vor allem im Etikettendruck und im Verpackungsdruck zur Anwendung, da hier die Vorteile der schnellen Weiterverarbeitbarkeit und die geringe Wärmebelastung der Trägerbahnen vor dem Stanzprozess genutzt werden.Compared with the competing UV curing systems, it is not necessary in electron beam curing systems to add photoactive initiators to the paint or ink. In addition, when curing by means of electron radiation, there are no problems of the type that the paint or the ink is not penetrated by the radiation due to absorption. In contrast to UV curing systems, hardening of colored layers is possible without problems in electron beam curing systems. Electron beam curing systems are used primarily in label printing and packaging printing Application, since the advantages of the rapid further processing and the low heat load of the carrier webs are used before the stamping process.
Da beim Abbremsen von hochenergetischen Elektronen auf einer Oberfläche Röntgenstrahlung entsteht, weist die Bestrahlungseinheit 109 eine um die Elektronenstrahlerzeuger 110, 111 herum angeordnete Abschirmung 118 auf, welche die freigesetzte Röntgenstrahlung absorbiert und so die Freisetzung von Röntgenstrahlung verhindert. Vorzugsweise besteht die Abschirmung 118 aus Blei oder Stahl oder einer Blei-Stahl-Konstruktion, mit einer Dicke im Bereich von Millimetern bzw. Zentimetern. Auch die Eintrittswalze 108 und die Austrittswalze 116, über die die bedruckte Bahn in die Bestrahlungseinheit 109 eingeführt bzw. aus dieser herausgeführt werden, bestehen aus Stahl oder Blei. Insbesondere ist vorgeschrieben, dass die Luftspalte zwischen den Eintritts- bzw. Austrittswalzen 108, 116 und der Abschirmung 118 so beschaffen sind, dass die Röntgenstrahlung nach mehrmaliger Brechung nicht mehr austreten kann.As X-rays are generated on a surface when braking high-energy electrons, the
Bei der in Fig. 1 gezeigten Ausführungsform wird der auf die Trägerbahn 101 aufgebrachte strahlungshärtende Lack durch zwei in Serie angeordnete Elektronenstrahlerzeuger 110, 111 gehärtet. Dadurch wird die Lackschicht mit einer Strahlungsdosis beaufschlagt, die sich als Summe der von den einzelnen Elektronenstrahlerzeugem 110, 111 erzeugten Bestrahlungsdosen ergibt. Durch Verwendung mehrerer hintereinander angeordneter Elektronenstrahlerzeuger kann auch bei höheren Bahngeschwindigkeiten eine zur Elektronenstrahlhärtung der Lackschicht erforderliche Bestrahlungsdosis bereitgestellt werden.In the embodiment shown in FIG. 1, the radiation-curing lacquer applied to the
Die Evakuierung der Elektronenstrahlerzeuger 110, 111 kann mittels einer einzigen Pumpenvorrichtung 114 erfolgen. Zur Versorgung der Elektronenstrahlerzeuger 110, 111 mit der benötigten Beschleunigungsspannung genügt ein einziger Hochspannungsgenerator 115. Zum Schutz vor hochenergetischer Strahlung ist eine gemeinsame Abschirmung 118 vorgesehen.The evacuation of the
In Fig. 2A bis Fig. 2C sind verschiedene Ausführungsformen von Elektronenstrahlerzeugem dargestellt. Der in Fig. 2A gezeigte Elektronenstrahlerzeuger umfasst eine Glühkathode 200 und eine Anode 201. Zwischen der Glühkathode 200 und der Anode 201 wird eine Beschleunigungsspannung von ca. 25 kV bis 300 kV angelegt, welche die aus der Glühkathode 200 ausgetretenen Elektronen beschleunigt. Anschließend wird der Elektronenstrahl mit Hilfe von Ablenkmagneten 202 aufgeweitet. Die Elektronen durchdringen das Elektronenaustrittsfenster 203 und bestrahlen die mit der zu härtenden Schicht belegte Trägerbahn 204.FIGS. 2A to 2C show various embodiments of electron beam generators. The electron gun shown in Fig. 2A comprises a
In Fig. 2B ist eine alternative Ausführungsform eines Elektronenstrahlerzeugers dargestellt, bei der die Glühkathode als langgestreckter Draht 205 ausgebildet ist. Die Elektronen werden mittels der Anode 206 beschleunigt und durchdringen dann das Elektronenaustrittsfenster 207.FIG. 2B shows an alternative embodiment of an electron beam generator, in which the hot cathode is designed as an
Fig. 2C zeigt eine weitere Ausführungsform eines Elektronenstrahlerzeugers, der eine Vielzahl von Kathodendrähten 208 umfasst. Die Elektronen werden durch die Anode 209 beschleunigt. Nach dem Durchdringen des Elektronenaustrittsfensters 210 treffen die beschleunigten Elektronen auf der Trägerbahn 211 auf. Der in Fig. 2C gezeigte Elektronenstrahlerzeuger eignet sich wegen der hohen Elektronendosisleistung insbesondere für die Anwendung in der Elektronenstrahlhärtung.FIG. 2C shows another embodiment of an electron gun comprising a plurality of
Fig. 3 zeigt eine erfindungsgemäße Rollendruckmaschine mit vier Auftragswerken, die um eine zentrale Bestrahlungseinheit 300 herum angeordnet sind. Die zentrale Bestrahlungseinheit 300 umfasst vier Elektronenstrahlerzeuger 301 bis 304. Die Elektronenstrahlerzeuger 301 bis 304 sind über Rohrleitungen 305 mit einer gemeinsamen Pumpenvorrichtung 306 verbunden, welche die angeschlossenen Elektronenstrahlerzeuger evakuiert und so das zur Beschleunigung der Elektronen erforderliche Betriebsvakuum erzeugt. Zur Versorgung der Elektronenstrahlerzeuger 301 bis 304 mit der benötigten Beschleunigungsspannung (bzw. Strom) umfasst die Bestrahlungseinheit 300 eine gemeinsame Hochspannungsquelle 307. Darüber hinaus ist die Bestrahlungseinheit 300 mit einer Steuereinheit 308 zur Steuerung der Dosisleistung der Elektronenstrahlerzeuger ausgestattet, wobei die Dosisleistung der Elektronenstrahlerzeuger 301 bis 304 separat gesteuert werden kann. Zum Schutz vor hochenergetischer Röntgenstrahlung ist die Bestrahlungseinheit 300 von einer Abschirmung 309 aus Blei oder Stahl oder einer Blei-Stahl-Konstruktion umgeben.FIG. 3 shows a web-fed printing press according to the invention with four applicator units which are arranged around a
Von einer Abwicklung 310 aus wird eine Trägerbahn 311 einem Druckwerk 312 zugeführt, welches eine erste Druckfarbenschicht auf die Trägerbahn 311 aufbringt. Zur Härtung dieser Druckfarbenschicht wird die Trägerbahn 311 mittels einer Umlenkwalze 313 in die Bestrahlungseinheit 300 hineingeführt, wo die erste Druckfarbenschicht durch den Elektronenstrahlerzeuger 301 gehärtet und anschließend wieder aus der Bestrahlungseinheit 300 herausgeführt wird. Über eine Umlenkwalze 314 wird die Trägerbahn daraufhin einem zweiten Druckwerk 315 zugeführt, welches eine zweite Druckfarbenschicht auf die Trägerbahn 311 aufbringt. Mittels einer Umlenkwalze 316 wird die bedruckte Trägerbahn 311 durch die Bestrahlungseinheit 300 geführt, wobei die zweite Druckfarbenschicht durch den Elektronenstrahlerzeuger 302 gehärtet wird.From a
Zwischen dem Druckwerk 312 und der Umlenkwalze 313 sowie zwischen dem Druckwerk 315 und der Umlenkwalze 316 können zusätzlich Bahntrockner 317, 318 angeordnet sein, die in Fig. 3 gestrichelt eingezeichnet sind. Die Bahntrockner 317, 318 entziehen der aufgetragenen Druckfarbschicht das Lösungsmittel und können beispielsweise als Konvektionstrockner oder IR-Trockner ausgeführt sein.Between the
Nach der Härtung der zweiten Druckfarbschicht wird die Trägerbahn 311 über eine Mehrzahl von Walzen 319 bis 322 zu einem Klebstoffauftragswerk 323 geführt, welches eine Klebstoffschicht auf die Trägerbahn 311 aufbringt. In dem darauffolgend angeordneten Kaschierwerk 324 wird auf die mit Klebstoff beschichtete Trägerbahn 311 eine Kunststofffolienbahn 325 aufkaschiert, die dem Kaschierwerk 324 von einer Abwicklung 326 aus über eine Umlenkwalze 327 zugeführt wird. Mittels einer Umlenkwalze 328 wird die Trägerbahn 311 mit der aufkaschierten Kunststofffolienbahn 325 durch die Bestrahlungseinheit 300 geführt. Dabei bestrahlt der Elektronenstrahlerzeuger 303 die Bahn mit Elektronen und härtet so die zwischen der Trägerbahn 311 und der Kunststofffolienbahn 325 befindliche Klebstoffschicht. Über eine Umlenkwalze 329 wird die Bahn dann einem weiteren Auftragswerk 330 zugeführt, welches beispielsweise eine Schutzschicht aus Kunststoff auf die bedruckte und kaschierte Bahn aufbringt. Bei dem Auftragswerk 330 kann es sich beispielsweise um einen Extruder mit Formwerkzeug, einen Curtain-Coater, eine Sprühdüse, eine Rasterwalze, ein Blade, etc. handeln. Bei Verwendung von Curtain-Coatern können auch mehrere Schichten gleichzeitig aufgebracht werden. Die beschichtete Bahn wird über eine Umlenkwalze 331 am Elektronenstrahlerzeuger 304 vorbeigeführt, wobei die Schutzschicht durch Elektronenbestrahlung gehärtet oder vernetzt wird. Nach der Elektronenbestrahlung wird die Trägerbahn einer Aufwicklung 332 zugeführt.After the curing of the second ink layer, the
Bei der in Fig. 3 gezeigten Ausführungsform der Erfindung ist jedem der vier Auftragswerke ein zugehöriger Elektronenstrahlerzeuger innerhalb der Bestrahlungseinheit 300 zugeordnet. Vorzugweise sind die Elektronenstrahlerzeuger in mehreren Ebenen übereinander angeordnet, was einen platzsparenden Aufbau des Auftrags-Bestrahlungs-Systems ermöglicht. Insbesondere kann so die zur Verfügung stehende Raumhöhe besser ausgenutzt werden. Durch die Anordnung der vier Elektronenstrahlerzeuger 301 bis 304 in einer zentralen Bestrahlungseinheit 300 ergibt sich der Vorteil, dass die Abschirmung, die Einrichtungen zur Vakuumerzeugung sowie der Hochspannungsgenerator zur Erzeugung der Beschleunigungsspannung (bzw. Strom) nicht separat für jeden einzelnen Elektronenstrahlerzeuger, sondern insgesamt nur einmal angeschafft werden müssen. Da es sich bei der Abschirmung, dem Hochspannungsgenerator und den zur Vakuumerzeugung notwendigen Einrichtungen aber gerade um die kostenintensiven Bestandteile des Bestrahlungssystems handelt, ergeben sich hier erhebliche Kosteneinsparungen. Dadurch wird die Elektronenstrahlhärtung im Vergleich zu anderen chemischen Trocknungsverfahren wie beispielsweise der UV-Bestrahlung konkurrenzfähig.In the embodiment of the invention shown in FIG. 3, an associated electron beam generator within the
Es ist hervorzuheben, dass das in Fig. 3 gezeigte Auftrags-Bestrahlungssystem anstelle der gezeigten Auftragswerke beliebige andere Auftragswerke umfassen kann, wobei die Trägerbahn jeweils nach Durchlaufen eines Auftragswerks einem oder mehreren zugehörigen Elektronenstrahlerzeugern in der zentralen Bestrahlungseinheit zugeführt wird. Beispielsweise kann ein Auftrags-Bestrahlungs-System der in Fig. 3 gezeigten Art zur Realisierung einer Vierfarben-Rollendruckmaschine eingesetzt werden. Insbesondere können Druckwerke für den Flexodruck, Siebdruck, Tiefdruck und Offsetdruck eingesetzt werden.It should be emphasized that the application irradiation system shown in FIG. 3 may comprise any other application units instead of the applicators shown, wherein the support web is in each case supplied to one or more associated electron guns in the central irradiation unit after passing through a commissioned work. For example, a job irradiation system of the type shown in Fig. 3 can be used to realize a four-color web press. In particular, printing units for flexographic printing, screen printing, gravure printing and offset printing can be used.
In Fig. 4 ist der Aufbau eines Druckwerks für den Flexodruck schematisch dargestellt. Das Druckwerk umfasst eine Schöpfwanne 400, in der sich flüssige Druckfarbe 401 befindet. Die Druckfarbe wird von einer Schöpfwalze 402 aufgenommen, welche die Druckfarbe auf eine unmittelbar darüber rotierende Rasterwalze 403 aufbringt. Mittels eines Rakels 404 wird die überschüssige Druckfarbe von der Rasterwalze 403 abgerakelt. Oberhalb der Rasterwalze 403 ist die Druckwalze 405 angeordnet, die mit Hilfe eines Gummiklischees 406 das eigentliche Druckbild erzeugt. Die Rasterwalze 403 dient dazu, die Druckfarbe gleichmäßig auf das Gummiklischee 406 aufzutragen. Darüber hinaus umfasst das Druckwerk eine Gegendruckwalze 407, die die Trägerbahn 408 an die Druckwalze 405 anpresst. Wenn die Trägerbahn 408 zwischen der Druckwalze 405 und der Gegendruckwalze 407 hindurchbewegt wird, wird die Farbe übertragen.4, the structure of a printing unit for flexographic printing is shown schematically. The printing unit comprises a
Fig. 5 zeigt eine Ausführungsform der Erfindung, bei der eine Trägerbahn beidseitig im Vierfarbdruck bedruckt wird. Die Druckmaschine umfasst eine erste Bestrahlungseinheit 500 mit vier Elektronenstrahlerzeugern 501 bis 504, die an ein erstes Vakuumsystem mit einer ersten Pumpenvorrichtung 505 angeschlossen sind. Des Weiteren umfasst die Druckmaschine eine zweite Bestrahlungseinheit 506 mit vier Elektronenstrahlerzeugern 507 bis 510, die an ein zweites Vakuumsystem mit einer zweiten Pumpenvorrichtung 511 angeschlossen sind. Eine Trägerbahn 512 wird von einer Abwicklung 513 aus nacheinander abwechselnd durch die erste Bestrahlungseinheit 500 und die zweite Bestrahlungseinheit 506 geführt. Durch die Druckwerke 514 bis 517 werden vier verschiedene Druckfarbschichten auf die Unterseite der Trägerbahn 512 aufgebracht. Jeweils nach dem Aufbringen einer neuen Druckfarbschicht wird die Trägerbahn 512 mittels einer der Umlenkwalzen 518 bis 521 durch die erste Bestrahlungseinheit 500 geführt, in der die Druckfarbschichten durch die Elektronenstrahlerzeuger 501 bis 504 gehärtet werden. Entsprechend werden durch die Druckfarbenauftragswerke 522 bis 525 nacheinander vier verschiedene Druckfarbschichten auf die Oberseite der Trägerbahn 512 aufgebracht. Jeweils nach dem Aufbringen einer neuen Druckfarbschicht wird die Trägerbahn über eine der Umlenkwalzen 526 bis 529 durch die zweite Bestrahlungseinheit 506 geführt, in der die Druckfarbschichten durch die Elektronenstrahlerzeuger 507 bis 510 gehärtet werden. Die beidseitig im Vierfarbdruck bedruckte Trägerbahn wird dann einer Aufwicklung 530 zugeführt.Fig. 5 shows an embodiment of the invention in which a carrier web is printed on both sides in four-color printing. The printing press comprises a
Anstatt über Umlenkwalzen kann die Trägerbahn auch über Eintritts- und Austrittsspalte durch die Abschirmung der Bestrahlungseinheit geführt werden. Bei der in Fig. 6 gezeigten Ausführungsform wird eine Trägerbahn 600 von einer Abwicklung 601 aus einem Druckwerk 602 zugeführt, welches eine Druckfarbenschicht auf die Trägerbahn 600 aufbringt.Instead of deflecting rollers, the carrier web can also be guided via entry and exit gaps through the shielding of the irradiation unit. In the embodiment shown in FIG. 6, a
Zur Elektronenstrahlhärtung der aufgebrachten Schichten ist eine räumlich abgegrenzte Bestrahlungseinheit 603 vorgesehen, die von einer Abschirmung 604 umgeben ist. In der Bestrahlungseinheit 603 sind vier Elektronenstrahlerzeuger 605-608 angeordnet, die über Rohrleitungen 609 an eine Vakuumpumpe 610 angeschlossen sind.For electron beam curing of the applied layers, a spatially delimited
Die bedruckte Trägerbahn gelangt über einen Eintrittsspalt 611 in die Bestrahlungseinheit 603 und wird dort nacheinander von den zwei Elektronenstrahlerzeugern 605 und 606 bestrahlt.The printed carrier web passes via an
Im Bereich der Elektronenstrahlhärtung gibt die Dosisleistung eines Strahlers die gestrahlte Dosis pro Zeiteinheit an. Bei der in Fig. 6 gezeigten Ausführungsform setzt sich die zur Härtung der Druckfarbenschicht zur Verfügung stehende Bestrahlungsdosis aus den Beiträgen der zwei Elektronenstrahlerzeuger 605 und 606 zusammen. Dadurch lässt sich eine wesentliche Steigerung der Bestrahlungsdosis erzielen. Dadurch wird es möglich, auch vergleichsweise langsam reagierende Auftragsschichten zuverlässig zu härten. Darüber hinaus kann beispielsweise auch bei höheren Bahngeschwindigkeiten eine zur Härtung der aufgebrachten Schichten ausreichende Bestrahlungsdosis bereitgestellt werden.In the field of electron beam curing, the dose rate of a radiator indicates the irradiated dose per unit of time. In the embodiment shown in FIG. 6, the irradiation dose available for curing the ink layer is composed of the contributions from the two electron guns 605 and 606. As a result, a substantial increase in the radiation dose can be achieved. This makes it possible to harden even relatively slowly reacting application layers reliably. In addition, for example, a radiation dose sufficient to cure the applied layers can also be provided at higher web speeds.
Über einen Austrittsspalt 612 verlässt die Trägerbahn 600 die Bestrahlungseinheit 603 und gelangt über Umlenkwalzen 613 zu einem Stanzwerk 614. Nach dem Stanzprozess wird die Trägerbahn 600 zu einem Lackauftragswerk 615 geführt, welches eine Lackschicht auf die Trägerbahn 600 aufbringt. Zum Härten der Lackschicht wird die Trägerbahn 600 über einen Eintrittsspalt 616 in die Bestrahlungseinheit 603 geführt und dort nacheinander von den beiden Elektronenstrahlerzeugem 607 und 608 bestrahlt, wobei sich die gesamte Bestrahlungsdosis aus den Beiträgen der zwei Elektronenstrahlerzeuger 607 und 608 zusammensetzt. Anschließend wird die Trägerbahn 600 auf der gegenüberliegenden Seite über den Austrittsspalt 617 aus der Bestrahlungseinheit 603 herausgeführt. Wie am Beispiel des Stanzwerks 614 veranschaulicht wurde, kann die Trägerbahn nach Verlassen der Bestrahlungseinheit und vor Durchlaufen des nächstfolgenden Auftragswerks zusätzliche Bearbeitungsstationen durchlaufen.Via a
Fig. 7 zeigt eine weitere Ausführungsform der Erfindung. Um eine kompakte Bestrahlungseinheit 700 herum sind vier Auftragswerke 701, 702, 703 und 704 angeordnet. Die Bestrahlungseinheit 700 ist als räumlich abgegrenzte, separate Baueinheit ausgebildet und von einer Abschirmung 705 umgeben. Die Bestrahlungseinheit 700 umfasst vier Elektronenstrahlerzeuger 706, 707, 708 und 709. Zur Erzeugung des benötigten Betriebsvakuums sind die vier Elektronenstrahlerzeuger 706-709 an ein gemeinsames Vakuumsystem 710 angeschlossen, das mit einer Vakuumpumpe 711 verbunden ist.Fig. 7 shows a further embodiment of the invention. Around a
Von einer Abwicklung 712 aus wird eine Trägerbahn 713 zum ersten Auftragswerk 701 geführt, wo eine erste Auftragsschicht aufgebracht wird. Die Trägerbahn 713 gelangt über eine Umlenkwalze 714 und einen Eintrittsspalt 715 in die Bestrahlungseinheit 700, wo sie vom ersten Elektronenstrahlerzeuger 706 bestrahlt wird, und wird anschließend über einen Austrittsspalt 716 und eine Umlenkwalze 717 zum zweiten Auftragswerk 702 geführt. Nach dem Aufbringen einer zweiten Auftragsschicht wird die Trägerbahn 713 mittels einer Umlenkwalze 718 durch die Bestrahlungseinheit 700 geführt, um die zweite Auftragsschicht mittels des zweiten Elektronenstrahlerzeugers 707 zu härten. Über eine Umlenkwalze 719 gelangt die Trägerbahn 713 zum dritten Auftragswerk 703, welches eine dritte Auftragsschicht aufbringt, und von dort über einen Eintrittsspalt 720 zum dritten Elektronenstrahlerzeuger 708, der die dritte Auftragsschicht härtet.From a
Über eine Umlenkwalze 721 wird die Trägerbahn 713 aus der Bestrahlungseinheit 700 herausgeführt und gelangt über eine weitere Umlenkwalze 722 zum vierten Auftragswerk 704, das eine weitere Auftragsschicht auf die Trägerbahn 713 aufbringt. Die beschichtete Trägerbahn wird dann über einen Eintrittsspalt 723 erneut durch die Bestrahlungseinheit 700 geführt, wobei die neu aufgebrachte Auftragsschicht durch den vierten Elektronenstrahlerzeuger 709 gehärtet wird. Über eine Umlenkwalze 724 gelangt die Trägerbahn 713 aus der Bestrahlungseinheit 700 heraus und zur Aufwicklung 725.Via a
Die folgenden Merkmale, allein oder in jedwelcher Kombination, können ebenfalls vorteilhafte Ausführungsformen des beschriebenen und/oder beanspruchten Auftrags-Bestrahlungs-Systems darstellen:The following features, alone or in any combination, may also constitute advantageous embodiments of the described and / or claimed application-irradiation system:
Gemäß einer vorteilhaften Ausführungsform ist der erste Elektronenstrahlerzeuger zur Härtung eines oberflächennahen Bereichs der ersten Auftragsschicht und der zweite Elektronenstrahlerzeuger zur Durchhärtung der ersten Auftragsschicht ausgelegt. Auf diese Weise kann auch ohne Einsatz von Mattierungsmitteln eine harte, mattierte, kratzfeste Oberfläche erzeugt werden.According to an advantageous embodiment, the first electron gun is designed for curing a near-surface region of the first application layer and the second electron gun for curing the first application layer. In this way, even without the use of matting a hard, frosted, scratch-resistant surface can be generated.
Gemäß einer vorteilhaften Ausführungsform umfasst das Auftrags-Bestrahlungs-System ein drittes Auftragswerk zum Aufbringen einer dritten Auftragsschicht auf die Trägerbahn sowie einen innerhalb der Bestrahlungseinheit angeordneten dritter Elektronenstrahlerzeuger, wobei die Bahnführungsvorrichtung dazu ausgelegt ist, die Trägerbahn nacheinander dem ersten Auftragswerk, dem ersten Elektronenstrahlerzeuger, dem zweiten Auftragswerk, dem zweiten Elektronenstrahlerzeuger, dem dritten Auftragswerk, dem dritten Elektronenstrahlerzeuger zuzuführen.According to an advantageous embodiment, the application irradiation system comprises a third application unit for applying a third application layer to the carrier web as well as one arranged within the irradiation unit the third electron gun, wherein the web guiding device is adapted to supply the carrier web successively to the first applicator, the first electron gun, the second applicator, the second electron gun, the third applicator, the third electron gun.
Gemäß einer vorteilhaften Ausführungsform ist der dritte Elektronenstrahlerzeuger zur Elektronenstrahlhärtung von einer oder mehreren vorher aufgebrachten Auftragsschichten ausgelegt.According to an advantageous embodiment, the third electron gun for electron beam curing of one or more previously applied application layers is designed.
Gemäß einer weiteren bevorzugten Ausführungsform sind die Auftragswerke in mindestens zwei Ebenen übereinander angeordnet. Dies ermöglicht eine platzsparende Anordnung der Auftragswerke. Im Vergleich zu der bekannten Ständerbauweise kann bei dieser Ausführungsform die Höhe der Halle bzw. des Raums, in dem das Auftrags-Bestrahlungs-System aufgebaut ist, besser ausgenutzt werden.According to a further preferred embodiment, the commissioned works are arranged one above the other in at least two levels. This allows a space-saving arrangement of commissioned works. In this embodiment, the height of the hall or the space in which the order irradiation system is constructed, can be better utilized in comparison with the known stator construction.
Gemäß einer vorteilhaften Ausführungsform ist jedem Auftragswerk mindestens ein auf etwa entsprechender Höhe angeordneter Elektronenstrahlerzeuger innerhalb der Bestrahlungseinheit zugeordnet. Auf diese Weise können die Abstände zwischen einem Auftragswerk und einem zugehörigem Elektronenstrahlerzeuger gering gehalten werden. Vorzugsweise sind innerhalb der Bestrahlungseinheit mehrere Elektronenstrahlerzeuger übereinander angeordnet.According to an advantageous embodiment, each applicator unit is assigned at least one electron beam generator arranged at an approximately corresponding height within the irradiation unit. In this way, the distances between a commissioned work and an associated electron gun can be kept low. Preferably, a plurality of electron beam generators are arranged one above the other within the irradiation unit.
Gemäß einer vorteilhaften Ausführungsform weist jeder Elektronenstrahlerzeuger mindestens ein Elektronenaustrittsfenster auf. Ein Elektronenaustrittsfenster soll hinreichend durchlässig sein für beschleunigte Elektronen. Andererseits soll ein Elektronenaustrittsfenster ausreichend stabil sein, um der Druckdifferenz zwischen Umgebungsdruck und Vakuum standhalten zu können.According to an advantageous embodiment, each electron gun has at least one electron exit window. An electron exit window should be sufficiently permeable to accelerated electrons. On the other hand, an electron exit window should be sufficiently stable in order to be able to withstand the pressure difference between ambient pressure and vacuum.
Gemäß einer bevorzugten Ausführungsform umfasst das Auftrags-Bestrahlungs-System mindestens eine Steuereinheit zur Steuerung der Dosisleistung der in der Bestrahlungseinheit angeordneten Elektronenstrahlerzeuger, wobei die Dosisleistung der Elektronenstrahlerzeuger einzeln steuerbar ist. Dadurch kann die Dosisleistung eines Elektronenstrahlerzeugers an die Erfordernisse der jeweiligen Auftragsschichten angepasst werden.According to a preferred embodiment, the application irradiation system comprises at least one control unit for controlling the dose rate of the electron beam generator arranged in the irradiation unit, wherein the dose rate of the electron beam generator is individually controllable. As a result, the dose rate of an electron beam generator can be adapted to the requirements of the respective application layers.
Gemäß einer vorteilhaften Ausführungsform umfasst das Auftrags-Bestrahlungs-System einen Hochspannungsgenerator zur Erzeugung der Beschleunigungsspannung für die in der Bestrahlungseinheit angeordneten Elektronenstrahlerzeuger. Bei dem Hochspannungsgenerator handelt es sich um ein relativ teures Bauelement. Da zur Versorgung der in der Bestrahlungseinheit angeordneten Elektronenstrahlerzeuger nur ein einziger Hochspannungsgenerator benötigt wird, bleiben die Gesamtkosten gering.According to an advantageous embodiment, the application irradiation system comprises a high-voltage generator for generating the acceleration voltage for the electron beam generators arranged in the irradiation unit. The high voltage generator is a relatively expensive component. Since only a single high-voltage generator is required to supply the electron beam generators arranged in the irradiation unit, the overall costs remain low.
Gemäß einer vorteilhaften Ausführungsform besteht die Trägerbahn aus einer Folge von nacheinander durch das Auftrags-Bestrahlungs-System geführten Platten oder Bögen oder Bechern. Bei der Trägerbahn muss es sich nicht notwendigerweise um eine kontinuierliche Trägerbahn handeln. Statt dessen kann die Bahnführungsvorrichtung auch dafür ausgelegt sein, einzelne Platten, Bögen oder Becher durch das Auftrags-Bestrahlungs-System zu führen, um nacheinander verschiedene Auftragsschichten auf die Platten, Bögen oder Becher aufzubringen.According to an advantageous embodiment, the carrier web consists of a succession of plates or sheets or beakers guided successively through the application irradiation system. The carrier web need not necessarily be a continuous carrier web. Instead, the web guiding apparatus may also be adapted to pass individual sheets, sheets or cups through the applicator irradiation system to sequentially apply different coating layers to the plates, sheets or cups.
Gemäß einer vorteilhaften Ausführungsform umfasst die Bahnführungsvorrichtung ein Walzensystem zur Führung der Trägerbahn.According to an advantageous embodiment, the web guiding device comprises a roller system for guiding the carrier web.
Gemäß einer vorteilhaften Ausführungsform weist das Auftrags-Bestrahlungs-System eines oder mehrere der folgenden Merkmale auf:
- eine Abwicklung für die Trägerbahn, wobei die Trägerbahn von der Abwicklung aus dem ersten Auftragswerk zugeführt wird;
- eine Aufwicklung für die Trägerbahn, wobei die Trägerbahn nach dem Durchlaufen der Bestrahlungseinheit der Aufwicklung zugeführt wird;
- mindestens eine Eintrittswalze, wobei die Trägerbahn mittels einer bahneinlaufseitig angeordneten Eintrittswalze in die Bestrahlungseinheit geführt wird;
- mindestens eine Austrittswalze, wobei die Trägerbahn mittels einer bahnauslaufseitig angeordneten Austrittswalze aus der Bestrahlungseinheit herausgeführt wird;
- mindestens eine Umlenkwalze, wobei die Trägerbahn mittels der Umlenkwalze durch die Bestrahlungseinheit geführt wird;
- mindestens einen Eintrittsspalt, wobei die Trägerbahn mittels eines bahneinlaufseitig angeordneten Eintrittsspalts in die Bestrahlungseinheit geführt wird;
- mindestens einen Austrittsspalt, wobei die Trägerbahn mittels eines bahnauslaufseitig angeordneten Austrittsspalts aus der Bestrahlungseinheit herausgeführt wird.
- a development for the carrier web, wherein the carrier web is fed from the settlement of the first commissioned work;
- a winding for the carrier web, wherein the carrier web is fed to the winding after passing through the irradiation unit;
- at least one entry roller, wherein the carrier web is guided by means of an inlet roller arranged on the inlet side roller into the irradiation unit;
- at least one exit roller, wherein the carrier web is led out of the irradiation unit by means of an outlet roller arranged on the outlet side of the web;
- at least one guide roller, wherein the carrier web is guided by the deflection roller through the irradiation unit;
- at least one entrance slit, wherein the carrier web is guided into the irradiation unit by means of an entry slit arranged on the web inlet side;
- at least one outlet gap, wherein the carrier web is led out of the irradiation unit by means of an outlet gap arranged on the outlet side of the web.
Die folgenden Merkmale, allein oder in jedwelcher Kombination, können ebenfalls vorteilhafte Ausführungsformen der beschriebenen und/oder beanspruchten Druckmaschine darstellen:The following features, alone or in any combination, may also constitute advantageous embodiments of the described and / or claimed printing press:
Gemäß einer vorteilhaften Ausführungsform handelt es sich bei der Druckmaschine um eine Druckmaschine für mindestens eines der folgenden Druckverfahren: Flexodruck, Tiefdruck, Siebdruck, Offsetdruck. Druckfarbensysteme für die Elektronenstrahlhärtung liefern harte, chemikalien- und abriebbeständige, hochglänzende Druckfarbenfilme. Wenn eine neu aufgebrachte Druckfarbenschicht vor dem Aufbringen weiterer Druckfarbenschichten mittels Elektronenstrahlhärtung fixiert wird, dann kann ein Verschmieren oder Verlaufen der Druckfarben aus den verschiedenen Auftragswerken verhindert werden. Unabhängig von der Konsistenz der Druckfarbe entsteht ein qualitativ hochwertiges Druckbild.According to an advantageous embodiment, the printing press is a printing machine for at least one of the following printing methods: flexographic printing, gravure printing, screen printing, offset printing. Electron beam curing ink systems provide hard, chemical and abrasion resistant, high gloss ink film. If a newly applied ink layer is fixed prior to the application of further ink layers by means of electron beam curing, then smearing or bleeding of the printing inks from the different commissioned works can be prevented. Regardless of the consistency of the printing ink, a high-quality printed image is created.
Gemäß einer bevorzugten Ausführungsform ist die Druckmaschine zum einseitigen Bedrucken der Trägerbahn ausgelegt. Gemäß einer alternativen Ausführungsform ist die Druckmaschine zum beidseitigen Bedrucken der Trägerbahn ausgelegt.According to a preferred embodiment, the printing machine is designed for single-sided printing of the carrier web. According to an alternative embodiment, the printing machine is designed for double-sided printing of the carrier web.
Gemäß einer vorteilhaften Ausführungsform umfasst die Druckmaschine zwei um die Bestrahlungseinheit herum angeordnete Druckwerke zur Realisierung eines Zweifarbdrucks.According to an advantageous embodiment, the printing press comprises two printing units arranged around the irradiation unit for realizing a two-color print.
Gemäß einer vorteilhaften Ausführungsform umfasst die Druckmaschine ein Kaschierwerk sowie mindestens ein Druckwerk, welche um die Bestrahlungseinheit herum angeordnet sind. Eine Druckmaschine dieser Ausführungsform kann beispielsweise dazu verwendet werden, eine Papier- oder Kartonbahn zu bedrucken und anschließend mit einer Kunststofffolie zu kaschieren.According to an advantageous embodiment, the printing press comprises a laminating unit and at least one printing unit, which are arranged around the irradiation unit. For example, a printing machine of this embodiment may be used to print on a paper or board web and then laminated with a plastic film.
Gemäß einer vorteilhaften Ausführungsform ist die Druckmaschine zur Verwendung im Etikettendruck oder im Verpackungsdruck oder bei der Möbelfolienveredelung vorgesehen.According to an advantageous embodiment, the printing machine is intended for use in label printing or in packaging printing or in furniture film finishing.
Claims (21)
wobei die Bahnführungsvorrichtung dazu ausgelegt ist, die Trägerbahn nacheinander dem ersten Auftragswerk, dem ersten Elektronenstrahlerzeuger, dem zweiten Auftragswerk, dem zweiten Elektronenstrahlerzeuger zuzuführen.Application irradiation system according to one of Claims 1 to 3, characterized by a second application unit for applying a second application layer to the carrier web,
wherein the web guiding device is adapted to sequentially supply the carrier web to the first coater, the first electron gun, the second coater, the second electron gun.
und die Trägerbahn nach Durchlaufen des zweiten Auftragswerks der Bestrahlungseinheit zuzuführen, wo die Trägerbahn vom zweiten Elektronenstrahlerzeuger bestrahlt wird, und aus der Bestrahlungseinheit herauszuführen.A job irradiation system according to claim 6 or claim 7, characterized in that the web guide device is adapted to supply the carrier web after passing through the first commissioned work the irradiation unit, where the carrier web is irradiated by the first electron gun, lead out of the irradiation unit and the second commissioned work supply,
and to supply the carrier web, after passing through the second applicator, to the irradiation unit, where the carrier web is irradiated by the second electron gun, and to lead it out of the irradiation unit.
Applications Claiming Priority (2)
| Application Number | Priority Date | Filing Date | Title |
|---|---|---|---|
| DE102006041257 | 2006-09-02 | ||
| DE102006057966A DE102006057966B4 (en) | 2006-09-02 | 2006-12-08 | Customized irradiation system for electron beam curing |
Publications (2)
| Publication Number | Publication Date |
|---|---|
| EP1908528A2 true EP1908528A2 (en) | 2008-04-09 |
| EP1908528A3 EP1908528A3 (en) | 2008-05-14 |
Family
ID=38740455
Family Applications (1)
| Application Number | Title | Priority Date | Filing Date |
|---|---|---|---|
| EP07017108A Withdrawn EP1908528A3 (en) | 2006-09-02 | 2007-08-31 | Central dryer for electron beam hardening |
Country Status (3)
| Country | Link |
|---|---|
| US (1) | US7737423B2 (en) |
| EP (1) | EP1908528A3 (en) |
| DE (1) | DE102006057966B4 (en) |
Cited By (1)
| Publication number | Priority date | Publication date | Assignee | Title |
|---|---|---|---|---|
| WO2014029381A3 (en) * | 2012-08-24 | 2014-05-08 | Mankiewicz Gebr. & Co. Gmbh & Co. Kg | Electron beam-curable inkjet inks and use thereof in inkjet printing methods |
Families Citing this family (4)
| Publication number | Priority date | Publication date | Assignee | Title |
|---|---|---|---|---|
| DE102009013143B3 (en) * | 2009-03-13 | 2010-09-16 | Daimler Ag | Device for hardening coating of motor vehicle chassis by electron irradiation, has irradiation chamber with holding device for arranging chassis, where electron sources are arranged in irradiation chamber |
| DE102018130287A1 (en) * | 2018-11-29 | 2020-06-04 | Koenig & Bauer Ag | Rotary printing machine with at least one printing unit for printing on substrates |
| CN113798134B (en) * | 2020-06-17 | 2022-10-04 | 四川智研科技有限公司 | EB double-side irradiation system |
| WO2024086323A1 (en) * | 2022-10-21 | 2024-04-25 | Fermi Research Alliance, Llc | Shielded irradiator vehicle |
Family Cites Families (12)
| Publication number | Priority date | Publication date | Assignee | Title |
|---|---|---|---|---|
| GB1272133A (en) * | 1969-09-23 | 1972-04-26 | British Iron Steel Research | Coating metal |
| US3924022A (en) * | 1974-02-22 | 1975-12-02 | Gen Electric | Method of applying an organic coating onto an inorganic coated steel sheet for a magnetic laminate application |
| AU504068B2 (en) | 1976-06-11 | 1979-10-04 | Nippon Steel Corporation | Steel coated with two-layered polymeric product |
| US4246297A (en) * | 1978-09-06 | 1981-01-20 | Energy Sciences Inc. | Process and apparatus for the curing of coatings on sensitive substrates by electron irradiation |
| US4385239A (en) * | 1981-04-20 | 1983-05-24 | Kennecott Corporation | Inerting chamber for electron curing of resin coated webs |
| EP0228671A1 (en) | 1985-12-23 | 1987-07-15 | General Electric Company | Method for the production of a coated substrate with controlled surface characteristics |
| US4642244A (en) * | 1986-03-03 | 1987-02-10 | Energy Sciences Inc. | Method of and apparatus for electron beam curing coated, porous and other web structures |
| US5634402A (en) * | 1995-10-12 | 1997-06-03 | Research, Incorporated | Coating heater system |
| DE10083500T1 (en) * | 1999-10-12 | 2002-01-31 | Toyo Ink Mfg Co | Method and device for irradiation with an active energy beam |
| US6468595B1 (en) | 2001-02-13 | 2002-10-22 | Sigma Technologies International, Inc. | Vaccum deposition of cationic polymer systems |
| DE20117364U1 (en) | 2001-10-26 | 2002-02-14 | KUNZ Holding GmbH & Co. KG, 72669 Unterensingen | Device for the sterilization treatment of flat mail items |
| WO2006047866A1 (en) | 2004-11-01 | 2006-05-11 | Uview Ultraviolet Systems Inc. | Apparatus and method for curing surface coated materials |
-
2006
- 2006-12-08 DE DE102006057966A patent/DE102006057966B4/en not_active Expired - Fee Related
-
2007
- 2007-08-30 US US11/847,929 patent/US7737423B2/en active Active
- 2007-08-31 EP EP07017108A patent/EP1908528A3/en not_active Withdrawn
Cited By (2)
| Publication number | Priority date | Publication date | Assignee | Title |
|---|---|---|---|---|
| WO2014029381A3 (en) * | 2012-08-24 | 2014-05-08 | Mankiewicz Gebr. & Co. Gmbh & Co. Kg | Electron beam-curable inkjet inks and use thereof in inkjet printing methods |
| US9458339B2 (en) | 2012-08-24 | 2016-10-04 | Mankiewicz Gebr. & Co. Gmbh & Co. Kg | Electron beam-curable inkjet inks and use thereof in inkjet printing methods |
Also Published As
| Publication number | Publication date |
|---|---|
| DE102006057966A1 (en) | 2008-03-13 |
| US20080087845A1 (en) | 2008-04-17 |
| EP1908528A3 (en) | 2008-05-14 |
| DE102006057966B4 (en) | 2008-08-28 |
| US7737423B2 (en) | 2010-06-15 |
Similar Documents
| Publication | Publication Date | Title |
|---|---|---|
| DE69505640T2 (en) | METHOD AND METHOD FOR APPLYING RADIATION PRINTABLE INKS IN A FLEXOGRAPHIC PRINTING SYSTEM | |
| EP2418019B1 (en) | Method for partial matting of UV varnishing layers | |
| EP0363794A2 (en) | Method and apparatus for the continuous production of laminates | |
| DE102011118705B4 (en) | Process and device for changing the state of a film web | |
| EP1967284A2 (en) | Method and device for UV-ray hardening of substrate layers | |
| WO1994004364A1 (en) | Process and device for moistening a moving printed then thermally dried web of material | |
| DE2906978C3 (en) | Method and device for the continuous production of a layer material with reduced surface gloss | |
| EP1908528A2 (en) | Central dryer for electron beam hardening | |
| EP3201001B1 (en) | Sheet-fed rotary offset printing press having devices for the homogeneous drying of printed sheets which are printed on both sides | |
| EP1313617A1 (en) | Method and device for coating printed products | |
| EP2428359B1 (en) | Printer and method for printing on flat materials | |
| DE102006048523A1 (en) | Overprintable embossing coating | |
| DE10057642A1 (en) | Unit for producing different degrees of gloss on printed material in printing machines with which by application of ink coating printed image is produced on printed material | |
| EP1878987A2 (en) | Drying device for handling a print substrate surface in a processing machine | |
| EP3887164B1 (en) | Drying unit for drying printed substrates | |
| DE102006057969A1 (en) | Irradiating system for a printing machine for hardening printed layers, lacquer layers and adhesive layers comprises application units for applying application layers onto a carrier strip, an irradiating unit and a strip guiding unit | |
| DE10057641A1 (en) | Process and device for producing spot coatings on substrates in large format printing machines | |
| DE102006004144B4 (en) | Apparatus and method for coating panels | |
| EP3917780B1 (en) | Method and printing machine respectively for printing a metallic printable material | |
| DE10106385A1 (en) | Flexographic printing of plastic sheet, especially for making tachometer scales for lorries, comprises corona treatment of surface of sheet, printing it using printing units with their own drying units and hardening using UV light | |
| DE102009051174B4 (en) | Method and device for finishing a printed product by means of powder coating | |
| DE102018130285B4 (en) | Rotary printing machine with at least one printing unit for printing on substrates | |
| DE102018130279B4 (en) | Sheet-fed printing press with at least one printing unit for printing sheets | |
| EP1503899A2 (en) | Device for printing printing material embodied as metal sheets,and corresponding method | |
| DE102018130284B4 (en) | Rotary printing machine with at least one printing unit for printing on substrates |
Legal Events
| Date | Code | Title | Description |
|---|---|---|---|
| PUAI | Public reference made under article 153(3) epc to a published international application that has entered the european phase |
Free format text: ORIGINAL CODE: 0009012 |
|
| AK | Designated contracting states |
Kind code of ref document: A2 Designated state(s): AT BE BG CH CY CZ DE DK EE ES FI FR GB GR HU IE IS IT LI LT LU LV MC MT NL PL PT RO SE SI SK TR |
|
| AX | Request for extension of the european patent |
Extension state: AL BA HR MK RS |
|
| PUAL | Search report despatched |
Free format text: ORIGINAL CODE: 0009013 |
|
| AK | Designated contracting states |
Kind code of ref document: A3 Designated state(s): AT BE BG CH CY CZ DE DK EE ES FI FR GB GR HU IE IS IT LI LT LU LV MC MT NL PL PT RO SE SI SK TR |
|
| AX | Request for extension of the european patent |
Extension state: AL BA HR MK RS |
|
| AKX | Designation fees paid | ||
| STAA | Information on the status of an ep patent application or granted ep patent |
Free format text: STATUS: THE APPLICATION IS DEEMED TO BE WITHDRAWN |
|
| 18D | Application deemed to be withdrawn |
Effective date: 20081115 |
|
| REG | Reference to a national code |
Ref country code: DE Ref legal event code: 8566 |
