EP1755801B2 - Vorrichtung und verfahren zum formen und abschrecken eines trägers - Google Patents

Vorrichtung und verfahren zum formen und abschrecken eines trägers Download PDF

Info

Publication number
EP1755801B2
EP1755801B2 EP05740415.4A EP05740415A EP1755801B2 EP 1755801 B2 EP1755801 B2 EP 1755801B2 EP 05740415 A EP05740415 A EP 05740415A EP 1755801 B2 EP1755801 B2 EP 1755801B2
Authority
EP
European Patent Office
Prior art keywords
cooling medium
opening
shaping
collecting
quenching
Prior art date
Legal status (The legal status is an assumption and is not a legal conclusion. Google has not performed a legal analysis and makes no representation as to the accuracy of the status listed.)
Expired - Lifetime
Application number
EP05740415.4A
Other languages
English (en)
French (fr)
Other versions
EP1755801B1 (de
EP1755801A1 (de
Inventor
Lars Nilsson
Peter WIKSTRÖM
Current Assignee (The listed assignees may be inaccurate. Google has not performed a legal analysis and makes no representation or warranty as to the accuracy of the list.)
Accra Teknik AB
Original Assignee
Accra Teknik AB
Priority date (The priority date is an assumption and is not a legal conclusion. Google has not performed a legal analysis and makes no representation as to the accuracy of the date listed.)
Filing date
Publication date
Family has litigation
First worldwide family litigation filed litigation Critical https://patents.darts-ip.com/?family=35394026&utm_source=google_patent&utm_medium=platform_link&utm_campaign=public_patent_search&patent=EP1755801(B2) "Global patent litigation dataset” by Darts-ip is licensed under a Creative Commons Attribution 4.0 International License.
Priority claimed from SE0401249A external-priority patent/SE528064C2/sv
Priority claimed from SE0401248A external-priority patent/SE527985C2/sv
Application filed by Accra Teknik AB filed Critical Accra Teknik AB
Publication of EP1755801A1 publication Critical patent/EP1755801A1/de
Publication of EP1755801B1 publication Critical patent/EP1755801B1/de
Application granted granted Critical
Publication of EP1755801B2 publication Critical patent/EP1755801B2/de
Anticipated expiration legal-status Critical
Expired - Lifetime legal-status Critical Current

Links

Images

Classifications

    • BPERFORMING OPERATIONS; TRANSPORTING
    • B21MECHANICAL METAL-WORKING WITHOUT ESSENTIALLY REMOVING MATERIAL; PUNCHING METAL
    • B21DWORKING OR PROCESSING OF SHEET METAL OR METAL TUBES, RODS OR PROFILES WITHOUT ESSENTIALLY REMOVING MATERIAL; PUNCHING METAL
    • B21D7/00Bending rods, profiles, or tubes
    • B21D7/02Bending rods, profiles, or tubes over a stationary forming member; by use of a swinging forming member or abutment
    • B21D7/024Bending rods, profiles, or tubes over a stationary forming member; by use of a swinging forming member or abutment by a swinging forming member
    • B21D7/028Bending rods, profiles, or tubes over a stationary forming member; by use of a swinging forming member or abutment by a swinging forming member and altering the profile at the same time, e.g. forming bumpers
    • CCHEMISTRY; METALLURGY
    • C21METALLURGY OF IRON
    • C21DMODIFYING THE PHYSICAL STRUCTURE OF FERROUS METALS; GENERAL DEVICES FOR HEAT TREATMENT OF FERROUS OR NON-FERROUS METALS OR ALLOYS; MAKING METAL MALLEABLE, e.g. BY DECARBURISATION OR TEMPERING
    • C21D1/00General methods or devices for heat treatment, e.g. annealing, hardening, quenching or tempering
    • C21D1/56General methods or devices for heat treatment, e.g. annealing, hardening, quenching or tempering characterised by the quenching agents
    • C21D1/60Aqueous agents
    • CCHEMISTRY; METALLURGY
    • C21METALLURGY OF IRON
    • C21DMODIFYING THE PHYSICAL STRUCTURE OF FERROUS METALS; GENERAL DEVICES FOR HEAT TREATMENT OF FERROUS OR NON-FERROUS METALS OR ALLOYS; MAKING METAL MALLEABLE, e.g. BY DECARBURISATION OR TEMPERING
    • C21D1/00General methods or devices for heat treatment, e.g. annealing, hardening, quenching or tempering
    • C21D1/62Quenching devices
    • C21D1/673Quenching devices for die quenching
    • CCHEMISTRY; METALLURGY
    • C21METALLURGY OF IRON
    • C21DMODIFYING THE PHYSICAL STRUCTURE OF FERROUS METALS; GENERAL DEVICES FOR HEAT TREATMENT OF FERROUS OR NON-FERROUS METALS OR ALLOYS; MAKING METAL MALLEABLE, e.g. BY DECARBURISATION OR TEMPERING
    • C21D9/00Heat treatment, e.g. annealing, hardening, quenching or tempering, adapted for particular articles; Furnaces therefor
    • C21D9/0068Heat treatment, e.g. annealing, hardening, quenching or tempering, adapted for particular articles; Furnaces therefor for particular articles not mentioned below
    • CCHEMISTRY; METALLURGY
    • C21METALLURGY OF IRON
    • C21DMODIFYING THE PHYSICAL STRUCTURE OF FERROUS METALS; GENERAL DEVICES FOR HEAT TREATMENT OF FERROUS OR NON-FERROUS METALS OR ALLOYS; MAKING METAL MALLEABLE, e.g. BY DECARBURISATION OR TEMPERING
    • C21D9/00Heat treatment, e.g. annealing, hardening, quenching or tempering, adapted for particular articles; Furnaces therefor
    • C21D9/08Heat treatment, e.g. annealing, hardening, quenching or tempering, adapted for particular articles; Furnaces therefor for tubular bodies or pipes
    • CCHEMISTRY; METALLURGY
    • C21METALLURGY OF IRON
    • C21DMODIFYING THE PHYSICAL STRUCTURE OF FERROUS METALS; GENERAL DEVICES FOR HEAT TREATMENT OF FERROUS OR NON-FERROUS METALS OR ALLOYS; MAKING METAL MALLEABLE, e.g. BY DECARBURISATION OR TEMPERING
    • C21D9/00Heat treatment, e.g. annealing, hardening, quenching or tempering, adapted for particular articles; Furnaces therefor
    • C21D9/08Heat treatment, e.g. annealing, hardening, quenching or tempering, adapted for particular articles; Furnaces therefor for tubular bodies or pipes
    • C21D9/085Cooling or quenching

Definitions

  • the invention relates to a method and a device for manufacturing a quenched beam.
  • the beam is formed of sheet metal and has a closed cross-section. This beam shape has as a result that the bumper takes up and distributes collision forces, torsional loads, strains and other forms of loads in an optimal way.
  • the closed section makes the beam voluminous and space consuming and often difficult to apply in the given space in a vehicle body.
  • a bumper beam for vehicles where the beam is elongated, has two ends and a closed cross-section.
  • the beam sides are divided in a front flange directed forward in the normal direction of movement of the vehicle, a rear flange directed towards the vehicle, an upper web and a lower web.
  • At least one portion of the rear flange, running along the beam, is impressed/intended towards at least one portion of the front flange running along the beam.
  • the resulting indentation is complete a certain and limited distance from the beam ends and inwardly towards the beam centre portion.
  • the inner sides of the portions are in contact with each other and hereby the beam has its greatest volume at its centre part and its smallest volume at the ends along the certain and limited distance.
  • a vehicle front is often curved backwards out towards the vehicle sides in order to decrease the air resistance, improve the collision force absorbing properties and make the design appealing.
  • This prior art bumper beam has the corresponding curvature in order to optimize the use of space.
  • the beam centre portion has a big volume and a big amount of material to be able to provide the best energy absorption possible at a collision.
  • the beam is changed as far as shape is concerned in order to simplify the mounting of the beam to the vehicle.
  • profile element as it is used in the following, is meant a beam blank in the form at the tube-shaped blank with constant cross-section profile, which is collected from a roll-former plant or a similar sheet metal forming machine, and by the expression beam is meant a beam blank as well as a profile element or beam blank after that shaping and quenching of the same in a shaping tool has been performed.
  • the profile element or beam blank is straight when it is heated and fed to the tool arrangement for shaping.
  • the profile element or beam blank may be pre-formed cold or hot before it is heated and fed to the tool arrangement for shaping and quenching to a finished beam.
  • the blank does not have to be straight and/or does not have to have a constant cross-section along the blank or profile element.
  • the tool arrangement has to be adapted accordingly.
  • curvature as used here it should be realized that it can be a question of, starting from tube-shaped profile elements, manufacturing hollow beams, which can have both uni- and duo-curved surfaces, ie surfaces which can be curved or shaped in a number of axis directions.
  • the object of the method and the device, described below is to provide a method which fulfils this desire and which, more specifically, provides an efficient cooling speed for the quenching independent of the given shape of the beam created.
  • Another object of the invention is to provide a device for carrying out the method.
  • a curved and quenched hollow beam 21 is shown, which is manufactured starting from a beam-shaped profile element by profilation in a profile mill or roll-former plant.
  • a strip or sheet has been used, which has been given the shape of said beam with a closed cross-section and showing a first opening 22 in one end portion 23 and, a second opening 22' in the other end portion 23'.
  • the closed cross-section has in a known way been obtained by fixing the strip edges, which after the rollforming meet and abut against each other, to each other by welding, eg by sopt welding, seam welding or the like.
  • the beam 21 has been given transverse local indentations 24 and may, even if it is not shown in the Fig., be provided with longitudinal grooves to further improve the beam 21 torsional and bending rigidity.
  • the provision of said longitudinal grooves may be of special interest in case of manufacturing bumper beams or body details for vehicles, whereby the longitudinal grooves and the transverse local indentations contribute to the beam 21 chock-absorbing properties. It must be said that the expressions "shaping" and "bending” as used in the following refers to substantially all, to the person skilled in the art known, shaping methods for a hollow profile element to a beam of a desired shape.
  • the beam 21 has been bent along the longitudinal axis 25, so that it shows one convex 26 and one concave 27 main side respectively. Further the beam 21 has along the concave main side 27 been given an extensive longitudinal material indentation 28, which is so arranged that the beam shows the highest profile height in the centre portion 29 and the lowest profile height at the end portions 23, 23'.
  • On the convex main side of the beam there is arranged a number of longitudinal relatively small profiling grooves 30, which contribute both to the beam rigidity and prevents buckling of the beam.
  • profiling grooves 30 reference also to Fig. 4, 5 and 8, 9 is made.
  • Figs. 2 and 3 a longitudinal section of a combined shaping and quenching device 31 for the manufacture of the beam according to Fig. 1 is shown.
  • Fig. 2 the combined shaping and quenching device 31 in a first state of operation is shown and in Fig. 3 it is shown in a second state of operation.
  • the shaping and quenching device 31 comprises support parts 32:1- 32:n, which are mutually movable and which are arranged to supportingly between them receive sections of the profile clement and by manoeuvring relative to each other shape the profile element between them to a beam of desired shape. Since the shaping in this case substantially occurs in a vertical plane only, the support parts are in this case carried by a by 3 designated upper, first tool part and a by 4 designated lower, second, tool part. Operated by set and manoeuvre means 35 in the form of hydraulic cylinders the two tool parts are movable to and from each other and intended to receive and between them shape a profile element, a beam blank, heated to austenitizing temperature to a finished beam 21.
  • the upper and the lower tool parts 3, 4 are provided with the above mentioned support parts 32:1 - 32:n having as a task to both shape the pipe-shaped profile element between them to a beam and hold the thus formed beam 21 in the shaping device for a subsequent quenching step.
  • Fig. 4 the blank centre portion 29 is shown in cross-section in the starting position before the shaping and seen along the line 4-4 in Fig. 2 and in Fig. 5 the end portion 23 of the beam formed by the shaping is shown in cross-section along the line 5-5 in Fig. 3 .
  • a device 31 as described above is one embodiment of a device suitable for application of this second aspect of the present invention.
  • the shaping and quenching device 31 comprises means 36 being in close connection with, in the Figs. not shown, source for output of a forced flow of cooling medium and means 37 for receiving and in a controlled way removing of such a cooling medium.
  • Said cooling medium preferably consists of water, which is led into the hollow beam 21 via the output means 36 and after having passed through the beam is led out from the beam via the receiving means 37.
  • Said output means and receiving means 36, 37 respectively, are located in the lower, second tool part 4 and thereby on the tool part against which the heated profile element 27 main side 26 is intended to be bent to a concave shape.
  • the output means 36 comprises a flushing nozzle 38 and the receiving means 37 comprises a collection nozzle 39, which nozzles 38, 39 are so arranged in relation to the finished shaped beam 21 relative position between the tool parts that the beam openings 22, 22' in the end portions 23, 23' are present in a position adjacent or substantially ending against said nozzles 38, 39 ( Fig. 3 ).
  • the profile element for the beam 21 is driven or bent so that the first opening 22 in the beam end portion 23 meets and is put into flow transferring connection with the output means 36 flushing nozzle 38.
  • the other beam end portion 23' is bent so that the other beam opening 22' meets and is put into flow transferring connection with the collecting means 37, collecting nozzle 39.
  • cooling medium may be led in through the beam 21 via the first opening 22 and after passage through the beam, out via the beam other opening 22'.
  • the shaping and quenching device comprises a detection means 40, e.g. in the form of a photocell or switch, which may be arranged to detect the tool parts 3, 4 relative positions or, as in this case, be arranged to register the presence of the beam 21 first opening 22 adjacent to the collecting means 37 collecting nozzle 39.
  • a fast cooling of the beam 21 is thus provided hereby by leading the cooling medium via the output means into the hollow beam via the opening 22 in one end portion 23 of the beam and by leading the cooling medium out in a controlled way via the collecting means 37 and the opening 22' in the beam 21 other end portion 23' after having passed through the beam 21.
  • a shaping and quenching device 31 is shown in a second embodiment, which primarily is intended for shaping or bending of the type of beams 21 having substantially closed or quite limited openings, semi-closed, in the end portions 23, 23', ie beams 21 with limited passage for leading cooling medium out through the respective ends of the beam 21.
  • Fig. 8 the centre portion of the blank for a beam 21 is shown in cross-section in a starting position before the shaping and seen along the line 8-8 in Fig.6
  • Fig. 9 the manufactured beam 21 end cross-section after the shaping is shown, seen along the line 9-9 in Fig. 7 . Since the design of the upper and lower tool parts 3, 4, comprised by the shaping and quenching device 31, and the support means 32:1 - 32:n comprised therein, substantially totally is determined by the predetermined shape of the beam, these will, as such, not be described in detail for a beam in this design.
  • the nozzle in this embodiment is located adjacent to the beam 21 centre portion 29. More specifically, a number of flushing nozzles 38 arranged at angles and at a distance in relation to each other are used, the nozzles are located so that they are present turned to or ending at the main side 27 of the beam the side being concave after the shaping.
  • the beam has at the main side 27, having been bent to a concave shape, been provided with holes 41, which serve as a first opening 22 in the beam and also for introduction of cooling medium into the beam. These holes 41 are located so that they during the shaping of the beam are driven to meet and establish flow connections with the, at a distance in relation to each other located, flushing nozzles in the lower tool part. Since the beam ends are substantially closed and allow only a limited discharge of cooling medium, not only one end of the beam is used for discharging of cooling medium but both beam end portions 23, 23'.
  • the cooling medium For collecting the cooling medium the cooling medium, which is led out from the beam 21 are, as collecting means 37, two collecting nozzles 39, 39' arranged, one of which is arranged in the area of the first opening 22 in one end portion of the beam and the other in the area of the second opening 22' in the other end portion 23' of the beam.
  • the collecting means 37 collecting nozzles 39, 39' are arranged in relation to the beam relative position between the tool parts 3, 4, so that the collecting nozzles 39, 39' are present at a position just in front of or substantially running out against the first and the second opening 22, 22' respectively in the beam ends 23, 23" when the beam is finished. Consequently, flow connections are hereby also established for leading cooling medium out of the beam 21 via said collecting nozzles 39, 39' and the beam first and second 22, 22' openings, only in the finally shaped stage of the beam.
  • the detection means 40 which detects the tool parts 3, 4 relative positions or, as in this example, the presence of the finished beam 21 first opening 22, which in this case is formed by the two holes 41, in relation to the output means 36 flushing nozzles 38.
  • the detection means also detects the relative presence between the finished beam 21 second opening, in this case defined as the opening in the beam respective ends, and the collecting means 37 two collecting nozzles 39, 39'.
  • the holes 41 and consequently also the output means 36 flushing nozzles 38 should be located as near the beam 21 centre portion 29 as possible in case of a symmetric beam.
  • the flushing nozzles 38 as well as the corresponding holes arranged in the beam 21 may be distributed in a suitable way along the beam.
  • the holes 41 are preferably located in such a way that the cooling medium flow is about the same towards the respective end portions 23, 23' of the beam.
  • a preferred, suitable, quenching temperature or to the austenitizing temperature for eg a boron steel about 850-900°C
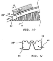
  • Fig. 10 and 11 which are not covered by the claims an embodiment of the device is shown, which differs from the above exemplified devices in that the cooling medium exclusively is brought to pass through the beam via one end 23, ie the opening in one beam end portion 23 is used as both a first opening 22 for leading cooling medium into the beam cavity and a second opening 22' for leading the cooling medium out of the beam.
  • the opening in this case, double functions are illustrated by the two arrows 45, 46 in Fig. 10 and Fig. 11 .
  • Said flushing nozzle 38 and collecting nozzle 39 respectively are so arranged in relation to the beam position between the tool parts 3, 4 that they are present in a position just in front of or substantially running out against the single opening 22 in the beam end portion 23 when the beam is finished.
  • the profile element or beam blank does not have to be straight and/or have to have a constant cross-section but may be pre-formed cold or hot to a different shape before being heated, at least after cold pre-forming, and shaped to a finished beam shape and quenched.

Landscapes

  • Chemical & Material Sciences (AREA)
  • Engineering & Computer Science (AREA)
  • Mechanical Engineering (AREA)
  • Materials Engineering (AREA)
  • Crystallography & Structural Chemistry (AREA)
  • Thermal Sciences (AREA)
  • Physics & Mathematics (AREA)
  • Metallurgy (AREA)
  • Organic Chemistry (AREA)
  • Bending Of Plates, Rods, And Pipes (AREA)
  • Heat Treatment Of Articles (AREA)
  • Analysing Materials By The Use Of Radiation (AREA)
  • Facsimile Scanning Arrangements (AREA)

Claims (19)

  1. Verfahren zum Formen und Abschrecken von hohlen Trägern, wobei ein rohrförmiges Profilelement, auf eine Abschrecktemperatur erhitzt und bevorzugt durch Rollformen hergestellt, in einer Formgebungseinrichtung platziert wird, die durch Stützteile bereitgestellt wird, die gegenseitig bewegbar sind und Abschnitte des Profilelements zwischen sich stützend aufnehmen und durch Manövrieren relativ zueinander das Profilelement zu einem Träger gewünschter Form formen, und wobei der so geformte Träger dadurch abgeschreckt wird, dass er mit einem wärmeableitenden Kühlmedium zur Wärmeableitung in Kontakt gebracht wird, dadurch gekennzeichnet, dass das Kühlmedium dazu veranlasst wird, den Trägerhohlraum zu passieren, während der Träger immer noch in der Formgebungseinrichtung positioniert ist.
  2. Verfahren nach Anspruch 1, dadurch gekennzeichnet, dass das Kühlmedium dazu veranlasst wird, den Trägerhohlraum über eine erste (22) und zweite (22') Trägeröffnung zu passieren.
  3. Verfahren nach Anspruch 1 oder 2, dadurch gekennzeichnet, dass eine Spüldüse (38), die mit einer Quelle zum Austragen eines unter Druck stehenden Kühlmediums in geschlossener Verbindung steht, dazu verwendet wird, Kühlmedium über eine erste Trägeröffnung (22) in den Träger einzuspeisen.
  4. Verfahren nach Anspruch 2 oder 3, dadurch gekennzeichnet, dass eine Sammeldüse (39) zum Aufnehmen und Wegführen von Kühlmedium verwendet wird, um Kühlmedium auf gesteuerte Weise über die zweite Öffnung (22') aus dem Träger herauszuführen.
  5. Verfahren nach Ansprüchen 3 oder 4, dadurch gekennzeichnet, dass die erste Öffnung (22) des Trägers so angetrieben wird, dass sie während eines Fertigstellungsschritts der Formgebung die Spüldüse (38) trifft und dadurch mit ihr eine Strömungsverbindung herstellt.
  6. Verfahren nach Anspruch 4, dadurch gekennzeichnet, dass die zweite Öffnung (22') des Trägers so angetrieben wird, dass sie während eines Fertigstellungsschritts der Formgebung die Sammeldüse (39) trifft und dadurch mit ihr eine Strömungsverbindung herstellt.
  7. Verfahren nach Anspruch 3, dadurch gekennzeichnet, dass die erste Öffnung (22) des Trägers so angetrieben wird, dass sie die Spüldüse (38) trifft und dadurch mit ihr eine Strömungsverbindung herstellt, indem eine Hauptseite (27, 1.2) des Trägers in eine Richtung zu der Spüldüse zu einer konkaven Form gebogen wird.
  8. Verfahren nach Anspruch 4, 5, 6 oder 7, dadurch gekennzeichnet, dass die zweite Öffnung (22') des Trägers so angetrieben wird, dass sie die Sammeldüse (39) trifft und dadurch mit ihr eine Strömungsverbindung herstellt, indem eine Hauptseite (27, 1.2) des Trägers in eine Richtung zu der Sammeldüse zu einer konkaven Form gebogen wird.
  9. Verfahren nach einem der Ansprüche 2-8, dadurch gekennzeichnet, dass ein Ende (23) des Trägers als eine erste Öffnung dient zum Speisen eines Kühlmediums in den Trägerhohlraum und das andere Trägerende (23') als eine zweite Öffnung (22') dient zum Herausführen von Kühlmedium aus dem Träger.
  10. Verfahren nach einem der Ansprüche 2-9, dadurch gekennzeichnet, dass der Träger mit mindestens einem Loch (41) versehen ist, das als eine erste Öffnung (22) in dem Mittelabschnitt (29) dient, durch welche Öffnung Kühlmedium in den Träger eingespeist und aus dem Träger über die zweite Öffnung (22') in den jeweiligen Enden (23, 23') herausgeleitet wird.
  11. Verfahren nach Anspruch 10, dadurch gekennzeichnet, dass das Loch (41) in dem Mittelabschnitt (29) in einem Schritt vor den Schritten der Formgebung und des Abschreckens bereitgestellt wird.
  12. Verfahren nach einem der Ansprüche 3-11, dadurch gekennzeichnet, dass eine hergestellte Strömungsverbindung zwischen der ersten Öffnung (22) des Trägers und der Spüldüse (38) durch Detektionsmittel (40) detektiert wird, bevor das Kühlmedium in den Trägerhohlraum eingespeist und dort hindurch geführt wird.
  13. Einrichtung (31) zum Formgeben und Abschrecken von hohlen Trägern, umfassend eine Formgebungseinrichtung, in der ein rohrförmiges Profilelement mit geschlossenem Querschnitt auf eine Abschrecktemperatur erhitzt und bevorzugt durch Rollformen hergestellt, positioniert werden soll, eine Anzahl von Stützteilen, die von der Formgebungseinrichtung umfasst sind, wobei die Stützteile gegenseitig bewegbar sind und Abschnitte des Profilelements stützend aufnehmen sollen, Mittel zum Manövrieren der Stützteile relativ zueinander und dadurch Formen des Profilelements zu einem Träger mit einer gewünschten Form und zwischen den Stützteilen angeordneten Mittel zum Abschrecken des Trägers durch die Bereitstellung eines Kühlmediums zur Wärmeableitung, dadurch gekennzeichnet, dass das Mittel zum Abschrecken des Trägers ein Ausgabemittel (36) umfasst, das zum Austragen von Kühlmedium eine Spüldüse (38) aufweist, die in Verbindung mit einer Quelle für das Austragen von Kühlmedium steht, und wobei die Spüldüse (38) relativ zu dem in der Formgebungseinrichtung fertiggestellten Träger positioniert worden ist, so dass eine Strömungsverbindung zwischen der Spüldüse und einer ersten Öffnung (22) in dem Träger hergestellt wird, wodurch das Kühlmedium über eine zweite Öffnung (22') in dem Träger herausgeführt wird und dass Sammelmittel (37) zum Aufnehmen und Sammeln und Herausführen von Kühlmedium aus dem Träger (21) auf gesteuerte Weise über die zweite Öffnung eine Sammeldüse (39) umfassen.
  14. Einrichtung nach Anspruch 13, dadurch gekennzeichnet, dass die Stützteile der Formgebungseinrichtung von einem ersten und einem zweiten, aufeinander zu und voneinander weg beweglichen Werkzeugteil (3, 4) getragen werden, die zum Aufnehmen des Profilelements und Formen desselben durch Platzieren der Hälften zueinander ausgebildet sind.
  15. Einrichtung nach Anspruch 14, dadurch gekennzeichnet, dass das zwischen dem ersten und dem zweiten Werkzeugteil (3, 4) positionierte Profilelement zum Formen zu einem Träger eine Hauptseite (27, 1.2) aufweist, die dazu bestimmt ist, gegen das zweite Werkzeugteil (34) zu einer im Wesentlichen konkaven Form gebogen zu werden.
  16. Einrichtung nach einem der Ansprüche 14 oder 15, dadurch gekennzeichnet, dass das Mittel (36) zum Austragen von Kühlmedium in den Träger und das Mittel (37) zum Aufnehmen und Sammeln und Wegführen von Kühlmedium von dem Träger auf gesteuerte Weise von dem zweiten Werkzeugteil (34) getragen werden.
  17. Einrichtung nach einem der Ansprüche 13-16, dadurch gekennzeichnet, dass das Ausgabemittel (36) zum Austragen von Kühlmedium so auf dem zweiten Werkzeugteil (34) angeordnet ist, dass das Ausgabemittel, wenn der Träger fertiggestellt ist, in einer Strömungsverbindung mit der in einem Trägerende (23) vorliegenden ersten Öffnung des Trägers angeordnet ist.
  18. Einrichtung nach einem der Ansprüche 13-17, dadurch gekennzeichnet, dass das Sammelmittel (37) zum Sammeln und Wegführen von Kühlmedium auf gesteuerte Weise so an dem zweiten Werkzeugteil (34) positioniert ist, dass das Sammelmittel, wenn der Träger fertiggestellt ist, in einer Strömungsverbindung mit der in dem zweiten Ende (23') des Trägers vorliegenden zweiten Öffnung (22') des Trägers vorliegt.
  19. Einrichtung nach einem der Ansprüche 13-16, dadurch gekennzeichnet, dass das Ausgabemittel (36) zum Austragen von Kühlmedium so an dem zweiten Werkzeugteil (34) angeordnet ist, dass das Ausgabemittel, wenn der Träger fertiggestellt ist, in einer Strömungsverbindung mit der ersten Öffnung des Trägers vorliegt, die als Löcher (41) in dem Zentrum des Mittelabschnitts (29) des Trägers angeordnet ist.
EP05740415.4A 2004-05-13 2005-05-13 Vorrichtung und verfahren zum formen und abschrecken eines trägers Expired - Lifetime EP1755801B2 (de)

Applications Claiming Priority (3)

Application Number Priority Date Filing Date Title
SE0401249A SE528064C2 (sv) 2004-05-13 2004-05-13 Förfarande och anordning för framställning av krökta och härdade ihåliga balkar
SE0401248A SE527985C2 (sv) 2004-05-13 2004-05-13 Anordning för förfarande vid formning av en balk
PCT/SE2005/000687 WO2005110638A1 (en) 2004-05-13 2005-05-13 A device and a method for shaping and quenching a beam

Publications (3)

Publication Number Publication Date
EP1755801A1 EP1755801A1 (de) 2007-02-28
EP1755801B1 EP1755801B1 (de) 2011-04-27
EP1755801B2 true EP1755801B2 (de) 2014-08-20

Family

ID=35394026

Family Applications (1)

Application Number Title Priority Date Filing Date
EP05740415.4A Expired - Lifetime EP1755801B2 (de) 2004-05-13 2005-05-13 Vorrichtung und verfahren zum formen und abschrecken eines trägers

Country Status (6)

Country Link
EP (1) EP1755801B2 (de)
KR (1) KR101218512B1 (de)
CN (1) CN1984730B (de)
AT (1) ATE507017T1 (de)
DE (1) DE602005027693D1 (de)
WO (1) WO2005110638A1 (de)

Families Citing this family (13)

* Cited by examiner, † Cited by third party
Publication number Priority date Publication date Assignee Title
CN101791645B (zh) * 2009-10-23 2013-01-23 武船重型工程股份有限公司 大节间距钢管拱拱肋分步成形工艺
JP5543756B2 (ja) * 2009-11-05 2014-07-09 アイシン精機株式会社 車両用バンパ装置
US9505361B2 (en) 2013-10-04 2016-11-29 Multimatic Inc. Vehicle bumper
DE102013112178B4 (de) 2013-11-06 2017-06-29 Manuela Braun Verfahren und Vorrichtung zum Umformen und Formhärten von hohlen Blechformkörpern
US9850553B2 (en) 2014-07-22 2017-12-26 Roll Forming Corporation System and method for producing a hardened and tempered structural member
DE102014112968B4 (de) 2014-09-09 2017-04-20 Thyssenkrupp Ag Verfahren zum Härten eines Hohlprofils und Härtungswerkzeug
JP6784476B2 (ja) 2015-03-24 2020-11-11 日本発條株式会社 中空スタビライザの製造方法
US10166593B2 (en) * 2015-09-07 2019-01-01 Hyundai Motor Company Manufacturing method for bumper beam of vehicle
EP3504086B1 (de) * 2016-08-26 2022-08-03 Shape Corp. Warmformverfahren zum transversalen biegen eines extrudierten aluminiumträgers zum warmformen eines karosseriebauteils
JP7433905B2 (ja) 2016-10-24 2024-02-20 シェイプ・コープ 車両構成要素を製造するための多段アルミニウム合金成形及び熱処理方法
KR101936478B1 (ko) * 2016-12-15 2019-01-08 현대자동차주식회사 입체냉각방식 핫 스템핑 공법과 핫 스템핑 시스템
CN110592344B (zh) * 2019-10-30 2021-06-08 中国航空制造技术研究院 用于滑轨套筒热处理的夹持装置及热处理方法
DE102021116727A1 (de) 2021-06-29 2022-12-29 Linde + Wiemann SE & Co. KG Verfahren zur Herstellung eines Profilbauteils aus einem rohrförmigen metallischen Halbzeug

Citations (4)

* Cited by examiner, † Cited by third party
Publication number Priority date Publication date Assignee Title
GB770935A (en) 1955-04-12 1957-03-27 Mannesmann Ag Improvements in or relating to processes and apparatus for hardening long tubes and other elongated bodies of carbon steel
JPS56134022A (en) 1980-03-24 1981-10-20 Hitachi Ltd Pipe bending method
WO1997035039A1 (en) 1996-03-18 1997-09-25 Accra Teknik Ab A method for manufacturing of curved and quenched profiled elements and a die tool for carrying out the method
DE10012974C1 (de) 2000-03-16 2001-03-15 Daimler Chrysler Ag Verfahren zur Herstellung eines Hohlprofiles

Family Cites Families (4)

* Cited by examiner, † Cited by third party
Publication number Priority date Publication date Assignee Title
CN85204644U (zh) * 1985-10-31 1987-07-22 李培杰 汽车碰撞缓冲器
SE9702058L (sv) * 1997-05-30 1998-11-16 Accra Teknik Ab Förfarande för framställning av härdade metalliska hålkroppar av tunnväggig stålplåt genom formblåsning
SE516762C2 (sv) * 1999-12-14 2002-02-26 Accra Teknik Ab Stötfångarbalk och förfarande vid tillverkning av densamma
DE60121833T2 (de) * 2001-09-12 2007-05-10 General Electric Co. Stossfängerstange und stossfängeranorndung mit einer stossfängerstange

Patent Citations (4)

* Cited by examiner, † Cited by third party
Publication number Priority date Publication date Assignee Title
GB770935A (en) 1955-04-12 1957-03-27 Mannesmann Ag Improvements in or relating to processes and apparatus for hardening long tubes and other elongated bodies of carbon steel
JPS56134022A (en) 1980-03-24 1981-10-20 Hitachi Ltd Pipe bending method
WO1997035039A1 (en) 1996-03-18 1997-09-25 Accra Teknik Ab A method for manufacturing of curved and quenched profiled elements and a die tool for carrying out the method
DE10012974C1 (de) 2000-03-16 2001-03-15 Daimler Chrysler Ag Verfahren zur Herstellung eines Hohlprofiles

Also Published As

Publication number Publication date
CN1984730B (zh) 2010-04-07
DE602005027693D1 (de) 2011-06-09
WO2005110638A1 (en) 2005-11-24
KR20070015962A (ko) 2007-02-06
KR101218512B1 (ko) 2013-01-03
EP1755801B1 (de) 2011-04-27
ATE507017T1 (de) 2011-05-15
CN1984730A (zh) 2007-06-20
EP1755801A1 (de) 2007-02-28

Similar Documents

Publication Publication Date Title
EP1755801B2 (de) Vorrichtung und verfahren zum formen und abschrecken eines trägers
EP2527233B1 (de) Stützelement für eine Automobilkarosserie
US20080289393A1 (en) Hot forming and in-situ cooling of metallic articles
KR100550423B1 (ko) 경화된 강철판의 제품을 제조하는 방법
US8291741B2 (en) Forming tool comprising cooling duct bores branched within tool elements
EP4311626A2 (de) Matrizenbaugruppe zum warmumformen
US6494073B2 (en) Method and apparatus for production of hollowed rack bars
CN101176964A (zh) 制造车辆冲击吸收器的方法
US20170072450A1 (en) Method of forming extruded tubing for vehicle body component
US7225541B2 (en) Method for producing hollow rack bar
SK165098A3 (en) Process and device for producing camshafts
US4095450A (en) Axle making method and apparatus
ES2887341T3 (es) Procedimiento para producir un componente perfilado al menos parcialmente endurecido
US20030019269A1 (en) Method and a press cylinder device for producing a hollow body
CN101664873A (zh) 激光辅助辊弯成型装置及其方法
KR100920289B1 (ko) 열교환기 및 열교환기 매니폴드 제조 방법
EP1385654B1 (de) Hohlkonstruktionselement und herstellungsverfahren
ES2831100T3 (es) Cremallera y un procedimiento para la fabricación de una cremallera para un mecanismo de dirección de un automóvil
US6742234B2 (en) Method of rollforming with transverse scorer and dimpler
ES2285585T3 (es) Procedimiento para conformar por rodillo una pieza cruda.
JP5262305B2 (ja) 補強部材、ピラー及び自動車車体
EP1631402B1 (de) Verfahren zur herstellung hohler bauelemente
RU2310538C2 (ru) Способ изготовления лонжерона для автомобиля
CN208758469U (zh) 一种热模锻多孔同步热冲模具
CN121222860A (zh) 车用管状件、制备方法、车身和车辆

Legal Events

Date Code Title Description
PUAI Public reference made under article 153(3) epc to a published international application that has entered the european phase

Free format text: ORIGINAL CODE: 0009012

17P Request for examination filed

Effective date: 20061120

AK Designated contracting states

Kind code of ref document: A1

Designated state(s): AT BE BG CH CY CZ DE DK EE ES FI FR GB GR HU IE IS IT LI LT LU MC NL PL PT RO SE SI SK TR

RIN1 Information on inventor provided before grant (corrected)

Inventor name: NILSSON, LARS

Inventor name: WIKSTROEM, PETER

DAX Request for extension of the european patent (deleted)
17Q First examination report despatched

Effective date: 20100223

GRAP Despatch of communication of intention to grant a patent

Free format text: ORIGINAL CODE: EPIDOSNIGR1

GRAS Grant fee paid

Free format text: ORIGINAL CODE: EPIDOSNIGR3

GRAA (expected) grant

Free format text: ORIGINAL CODE: 0009210

AK Designated contracting states

Kind code of ref document: B1

Designated state(s): AT BE BG CH CY CZ DE DK EE ES FI FR GB GR HU IE IS IT LI LT LU MC NL PL PT RO SE SI SK TR

REG Reference to a national code

Ref country code: GB

Ref legal event code: FG4D

REG Reference to a national code

Ref country code: CH

Ref legal event code: EP

REG Reference to a national code

Ref country code: IE

Ref legal event code: FG4D

REF Corresponds to:

Ref document number: 602005027693

Country of ref document: DE

Date of ref document: 20110609

Kind code of ref document: P

REG Reference to a national code

Ref country code: DE

Ref legal event code: R096

Ref document number: 602005027693

Country of ref document: DE

Effective date: 20110609

REG Reference to a national code

Ref country code: NL

Ref legal event code: VDEP

Effective date: 20110427

LTIE Lt: invalidation of european patent or patent extension

Effective date: 20110427

PG25 Lapsed in a contracting state [announced via postgrant information from national office to epo]

Ref country code: PT

Free format text: LAPSE BECAUSE OF FAILURE TO SUBMIT A TRANSLATION OF THE DESCRIPTION OR TO PAY THE FEE WITHIN THE PRESCRIBED TIME-LIMIT

Effective date: 20110829

Ref country code: LT

Free format text: LAPSE BECAUSE OF FAILURE TO SUBMIT A TRANSLATION OF THE DESCRIPTION OR TO PAY THE FEE WITHIN THE PRESCRIBED TIME-LIMIT

Effective date: 20110427

Ref country code: SE

Free format text: LAPSE BECAUSE OF FAILURE TO SUBMIT A TRANSLATION OF THE DESCRIPTION OR TO PAY THE FEE WITHIN THE PRESCRIBED TIME-LIMIT

Effective date: 20110427

PG25 Lapsed in a contracting state [announced via postgrant information from national office to epo]

Ref country code: CY

Free format text: LAPSE BECAUSE OF FAILURE TO SUBMIT A TRANSLATION OF THE DESCRIPTION OR TO PAY THE FEE WITHIN THE PRESCRIBED TIME-LIMIT

Effective date: 20110427

Ref country code: IS

Free format text: LAPSE BECAUSE OF FAILURE TO SUBMIT A TRANSLATION OF THE DESCRIPTION OR TO PAY THE FEE WITHIN THE PRESCRIBED TIME-LIMIT

Effective date: 20110827

Ref country code: ES

Free format text: LAPSE BECAUSE OF FAILURE TO SUBMIT A TRANSLATION OF THE DESCRIPTION OR TO PAY THE FEE WITHIN THE PRESCRIBED TIME-LIMIT

Effective date: 20110807

Ref country code: BE

Free format text: LAPSE BECAUSE OF FAILURE TO SUBMIT A TRANSLATION OF THE DESCRIPTION OR TO PAY THE FEE WITHIN THE PRESCRIBED TIME-LIMIT

Effective date: 20110427

Ref country code: AT

Free format text: LAPSE BECAUSE OF FAILURE TO SUBMIT A TRANSLATION OF THE DESCRIPTION OR TO PAY THE FEE WITHIN THE PRESCRIBED TIME-LIMIT

Effective date: 20110427

Ref country code: SI

Free format text: LAPSE BECAUSE OF FAILURE TO SUBMIT A TRANSLATION OF THE DESCRIPTION OR TO PAY THE FEE WITHIN THE PRESCRIBED TIME-LIMIT

Effective date: 20110427

Ref country code: GR

Free format text: LAPSE BECAUSE OF FAILURE TO SUBMIT A TRANSLATION OF THE DESCRIPTION OR TO PAY THE FEE WITHIN THE PRESCRIBED TIME-LIMIT

Effective date: 20110728

Ref country code: FI

Free format text: LAPSE BECAUSE OF FAILURE TO SUBMIT A TRANSLATION OF THE DESCRIPTION OR TO PAY THE FEE WITHIN THE PRESCRIBED TIME-LIMIT

Effective date: 20110427

PG25 Lapsed in a contracting state [announced via postgrant information from national office to epo]

Ref country code: NL

Free format text: LAPSE BECAUSE OF FAILURE TO SUBMIT A TRANSLATION OF THE DESCRIPTION OR TO PAY THE FEE WITHIN THE PRESCRIBED TIME-LIMIT

Effective date: 20110427

Ref country code: MC

Free format text: LAPSE BECAUSE OF NON-PAYMENT OF DUE FEES

Effective date: 20110531

REG Reference to a national code

Ref country code: CH

Ref legal event code: PL

PG25 Lapsed in a contracting state [announced via postgrant information from national office to epo]

Ref country code: LI

Free format text: LAPSE BECAUSE OF NON-PAYMENT OF DUE FEES

Effective date: 20110531

Ref country code: EE

Free format text: LAPSE BECAUSE OF FAILURE TO SUBMIT A TRANSLATION OF THE DESCRIPTION OR TO PAY THE FEE WITHIN THE PRESCRIBED TIME-LIMIT

Effective date: 20110427

Ref country code: CH

Free format text: LAPSE BECAUSE OF NON-PAYMENT OF DUE FEES

Effective date: 20110531

PLBI Opposition filed

Free format text: ORIGINAL CODE: 0009260

PG25 Lapsed in a contracting state [announced via postgrant information from national office to epo]

Ref country code: SK

Free format text: LAPSE BECAUSE OF FAILURE TO SUBMIT A TRANSLATION OF THE DESCRIPTION OR TO PAY THE FEE WITHIN THE PRESCRIBED TIME-LIMIT

Effective date: 20110427

Ref country code: PL

Free format text: LAPSE BECAUSE OF FAILURE TO SUBMIT A TRANSLATION OF THE DESCRIPTION OR TO PAY THE FEE WITHIN THE PRESCRIBED TIME-LIMIT

Effective date: 20110427

REG Reference to a national code

Ref country code: IE

Ref legal event code: MM4A

PLAX Notice of opposition and request to file observation + time limit sent

Free format text: ORIGINAL CODE: EPIDOSNOBS2

26 Opposition filed

Opponent name: THYSSENKRUPP STEEL EUROPE AG

Effective date: 20120127

REG Reference to a national code

Ref country code: DE

Ref legal event code: R026

Ref document number: 602005027693

Country of ref document: DE

Effective date: 20120127

PG25 Lapsed in a contracting state [announced via postgrant information from national office to epo]

Ref country code: IE

Free format text: LAPSE BECAUSE OF NON-PAYMENT OF DUE FEES

Effective date: 20110513

PG25 Lapsed in a contracting state [announced via postgrant information from national office to epo]

Ref country code: IT

Free format text: LAPSE BECAUSE OF FAILURE TO SUBMIT A TRANSLATION OF THE DESCRIPTION OR TO PAY THE FEE WITHIN THE PRESCRIBED TIME-LIMIT

Effective date: 20110427

PLAF Information modified related to communication of a notice of opposition and request to file observations + time limit

Free format text: ORIGINAL CODE: EPIDOSCOBS2

PLBB Reply of patent proprietor to notice(s) of opposition received

Free format text: ORIGINAL CODE: EPIDOSNOBS3

PG25 Lapsed in a contracting state [announced via postgrant information from national office to epo]

Ref country code: LU

Free format text: LAPSE BECAUSE OF NON-PAYMENT OF DUE FEES

Effective date: 20110513

PG25 Lapsed in a contracting state [announced via postgrant information from national office to epo]

Ref country code: BG

Free format text: LAPSE BECAUSE OF FAILURE TO SUBMIT A TRANSLATION OF THE DESCRIPTION OR TO PAY THE FEE WITHIN THE PRESCRIBED TIME-LIMIT

Effective date: 20110727

PLAB Opposition data, opponent's data or that of the opponent's representative modified

Free format text: ORIGINAL CODE: 0009299OPPO

R26 Opposition filed (corrected)

Opponent name: THYSSENKRUPP STEEL EUROPE AG

Effective date: 20120127

PG25 Lapsed in a contracting state [announced via postgrant information from national office to epo]

Ref country code: HU

Free format text: LAPSE BECAUSE OF FAILURE TO SUBMIT A TRANSLATION OF THE DESCRIPTION OR TO PAY THE FEE WITHIN THE PRESCRIBED TIME-LIMIT

Effective date: 20110427

RIN2 Information on inventor provided after grant (corrected)

Inventor name: WIKSTROEM, PETER

Inventor name: NILSSON, LARS

PUAH Patent maintained in amended form

Free format text: ORIGINAL CODE: 0009272

STAA Information on the status of an ep patent application or granted ep patent

Free format text: STATUS: PATENT MAINTAINED AS AMENDED

27A Patent maintained in amended form

Effective date: 20140820

AK Designated contracting states

Kind code of ref document: B2

Designated state(s): AT BE BG CH CY CZ DE DK EE ES FI FR GB GR HU IE IS IT LI LT LU MC NL PL PT RO SE SI SK TR

REG Reference to a national code

Ref country code: DE

Ref legal event code: R102

Ref document number: 602005027693

Country of ref document: DE

REG Reference to a national code

Ref country code: DE

Ref legal event code: R102

Ref document number: 602005027693

Country of ref document: DE

Effective date: 20140820

REG Reference to a national code

Ref country code: FR

Ref legal event code: PLFP

Year of fee payment: 12

REG Reference to a national code

Ref country code: FR

Ref legal event code: PLFP

Year of fee payment: 13

REG Reference to a national code

Ref country code: FR

Ref legal event code: PLFP

Year of fee payment: 14

P01 Opt-out of the competence of the unified patent court (upc) registered

Effective date: 20230530

PGFP Annual fee paid to national office [announced via postgrant information from national office to epo]

Ref country code: GB

Payment date: 20240521

Year of fee payment: 20

PGFP Annual fee paid to national office [announced via postgrant information from national office to epo]

Ref country code: DE

Payment date: 20240531

Year of fee payment: 20

PGFP Annual fee paid to national office [announced via postgrant information from national office to epo]

Ref country code: CZ

Payment date: 20240509

Year of fee payment: 20

PGFP Annual fee paid to national office [announced via postgrant information from national office to epo]

Ref country code: FR

Payment date: 20240529

Year of fee payment: 20

PGFP Annual fee paid to national office [announced via postgrant information from national office to epo]

Ref country code: TR

Payment date: 20240506

Year of fee payment: 20

REG Reference to a national code

Ref country code: DE

Ref legal event code: R071

Ref document number: 602005027693

Country of ref document: DE

REG Reference to a national code

Ref country code: GB

Ref legal event code: PE20

Expiry date: 20250512

PG25 Lapsed in a contracting state [announced via postgrant information from national office to epo]

Ref country code: GB

Free format text: LAPSE BECAUSE OF EXPIRATION OF PROTECTION

Effective date: 20250512

PG25 Lapsed in a contracting state [announced via postgrant information from national office to epo]

Ref country code: CZ

Free format text: LAPSE BECAUSE OF EXPIRATION OF PROTECTION

Effective date: 20250513