EP1574651A2 - Duschabtrennung - Google Patents

Duschabtrennung Download PDF

Info

Publication number
EP1574651A2
EP1574651A2 EP04030538A EP04030538A EP1574651A2 EP 1574651 A2 EP1574651 A2 EP 1574651A2 EP 04030538 A EP04030538 A EP 04030538A EP 04030538 A EP04030538 A EP 04030538A EP 1574651 A2 EP1574651 A2 EP 1574651A2
Authority
EP
European Patent Office
Prior art keywords
bracket
door
shower partition
partition according
engages
Prior art date
Legal status (The legal status is an assumption and is not a legal conclusion. Google has not performed a legal analysis and makes no representation as to the accuracy of the status listed.)
Granted
Application number
EP04030538A
Other languages
English (en)
French (fr)
Other versions
EP1574651B1 (de
EP1574651A3 (de
Inventor
Thomas Sickendiek
Roland Bögeholz
Michael Fritz
Current Assignee (The listed assignees may be inaccurate. Google has not performed a legal analysis and makes no representation or warranty as to the accuracy of the list.)
Koralle Sanitaerprodukte GmbH
Original Assignee
Koralle Sanitaerprodukte GmbH
Priority date (The priority date is an assumption and is not a legal conclusion. Google has not performed a legal analysis and makes no representation as to the accuracy of the date listed.)
Filing date
Publication date
Application filed by Koralle Sanitaerprodukte GmbH filed Critical Koralle Sanitaerprodukte GmbH
Priority to PL04030538T priority Critical patent/PL1574651T3/pl
Publication of EP1574651A2 publication Critical patent/EP1574651A2/de
Publication of EP1574651A3 publication Critical patent/EP1574651A3/de
Application granted granted Critical
Publication of EP1574651B1 publication Critical patent/EP1574651B1/de
Anticipated expiration legal-status Critical
Expired - Lifetime legal-status Critical Current

Links

Images

Classifications

    • AHUMAN NECESSITIES
    • A47FURNITURE; DOMESTIC ARTICLES OR APPLIANCES; COFFEE MILLS; SPICE MILLS; SUCTION CLEANERS IN GENERAL
    • A47KSANITARY EQUIPMENT NOT OTHERWISE PROVIDED FOR; TOILET ACCESSORIES
    • A47K3/00Baths; Douches; Appurtenances therefor
    • A47K3/28Showers or bathing douches
    • A47K3/30Screens or collapsible cabinets for showers or baths
    • A47K3/36Articulated screens
    • EFIXED CONSTRUCTIONS
    • E05LOCKS; KEYS; WINDOW OR DOOR FITTINGS; SAFES
    • E05DHINGES OR SUSPENSION DEVICES FOR DOORS, WINDOWS OR WINGS
    • E05D11/00Additional features or accessories of hinges
    • E05D11/10Devices for preventing movement between relatively-movable hinge parts
    • E05D11/1028Devices for preventing movement between relatively-movable hinge parts for maintaining the hinge in two or more positions, e.g. intermediate or fully open
    • E05D11/105Devices for preventing movement between relatively-movable hinge parts for maintaining the hinge in two or more positions, e.g. intermediate or fully open the maintaining means acting perpendicularly to the pivot axis
    • EFIXED CONSTRUCTIONS
    • E05LOCKS; KEYS; WINDOW OR DOOR FITTINGS; SAFES
    • E05DHINGES OR SUSPENSION DEVICES FOR DOORS, WINDOWS OR WINGS
    • E05D5/00Construction of single parts, e.g. the parts for attachment
    • E05D5/02Parts for attachment, e.g. flaps
    • E05D5/0246Parts for attachment, e.g. flaps for attachment to glass panels
    • EFIXED CONSTRUCTIONS
    • E05LOCKS; KEYS; WINDOW OR DOOR FITTINGS; SAFES
    • E05DHINGES OR SUSPENSION DEVICES FOR DOORS, WINDOWS OR WINGS
    • E05D7/00Hinges or pivots of special construction
    • E05D7/04Hinges adjustable relative to the wing or the frame
    • E05D7/0415Hinges adjustable relative to the wing or the frame with adjusting drive means
    • E05D7/0423Screw-and-nut mechanisms
    • AHUMAN NECESSITIES
    • A47FURNITURE; DOMESTIC ARTICLES OR APPLIANCES; COFFEE MILLS; SPICE MILLS; SUCTION CLEANERS IN GENERAL
    • A47KSANITARY EQUIPMENT NOT OTHERWISE PROVIDED FOR; TOILET ACCESSORIES
    • A47K3/00Baths; Douches; Appurtenances therefor
    • A47K3/28Showers or bathing douches
    • A47K3/30Screens or collapsible cabinets for showers or baths
    • A47K2003/307Adjustable connections to the wall
    • EFIXED CONSTRUCTIONS
    • E05LOCKS; KEYS; WINDOW OR DOOR FITTINGS; SAFES
    • E05DHINGES OR SUSPENSION DEVICES FOR DOORS, WINDOWS OR WINGS
    • E05D7/00Hinges or pivots of special construction
    • E05D7/06Hinges or pivots of special construction to allow tilting of the members
    • EFIXED CONSTRUCTIONS
    • E05LOCKS; KEYS; WINDOW OR DOOR FITTINGS; SAFES
    • E05YINDEXING SCHEME ASSOCIATED WITH SUBCLASSES E05D AND E05F, RELATING TO CONSTRUCTION ELEMENTS, ELECTRIC CONTROL, POWER SUPPLY, POWER SIGNAL OR TRANSMISSION, USER INTERFACES, MOUNTING OR COUPLING, DETAILS, ACCESSORIES, AUXILIARY OPERATIONS NOT OTHERWISE PROVIDED FOR, APPLICATION THEREOF
    • E05Y2201/00Constructional elements; Accessories therefor
    • E05Y2201/60Suspension or transmission members; Accessories therefor
    • E05Y2201/622Suspension or transmission members elements
    • E05Y2201/628Bearings
    • EFIXED CONSTRUCTIONS
    • E05LOCKS; KEYS; WINDOW OR DOOR FITTINGS; SAFES
    • E05YINDEXING SCHEME ASSOCIATED WITH SUBCLASSES E05D AND E05F, RELATING TO CONSTRUCTION ELEMENTS, ELECTRIC CONTROL, POWER SUPPLY, POWER SIGNAL OR TRANSMISSION, USER INTERFACES, MOUNTING OR COUPLING, DETAILS, ACCESSORIES, AUXILIARY OPERATIONS NOT OTHERWISE PROVIDED FOR, APPLICATION THEREOF
    • E05Y2600/00Mounting or coupling arrangements for elements provided for in this subclass
    • E05Y2600/50Mounting methods; Positioning
    • E05Y2600/52Toolless
    • E05Y2600/526Gluing or cementing
    • EFIXED CONSTRUCTIONS
    • E05LOCKS; KEYS; WINDOW OR DOOR FITTINGS; SAFES
    • E05YINDEXING SCHEME ASSOCIATED WITH SUBCLASSES E05D AND E05F, RELATING TO CONSTRUCTION ELEMENTS, ELECTRIC CONTROL, POWER SUPPLY, POWER SIGNAL OR TRANSMISSION, USER INTERFACES, MOUNTING OR COUPLING, DETAILS, ACCESSORIES, AUXILIARY OPERATIONS NOT OTHERWISE PROVIDED FOR, APPLICATION THEREOF
    • E05Y2800/00Details, accessories and auxiliary operations not otherwise provided for
    • E05Y2800/67Materials; Strength alteration thereof
    • E05Y2800/672Glass
    • EFIXED CONSTRUCTIONS
    • E05LOCKS; KEYS; WINDOW OR DOOR FITTINGS; SAFES
    • E05YINDEXING SCHEME ASSOCIATED WITH SUBCLASSES E05D AND E05F, RELATING TO CONSTRUCTION ELEMENTS, ELECTRIC CONTROL, POWER SUPPLY, POWER SIGNAL OR TRANSMISSION, USER INTERFACES, MOUNTING OR COUPLING, DETAILS, ACCESSORIES, AUXILIARY OPERATIONS NOT OTHERWISE PROVIDED FOR, APPLICATION THEREOF
    • E05Y2900/00Application of doors, windows, wings or fittings thereof
    • E05Y2900/10Application of doors, windows, wings or fittings thereof for buildings or parts thereof
    • E05Y2900/114Application of doors, windows, wings or fittings thereof for buildings or parts thereof for showers

Definitions

  • the invention relates to a shower enclosure with at least one preferably door made of glass, which is fixed by means of two fittings to a fixed by means of two brackets attached to the wall wall strip, turn preferably made of glass, mounted pivotably about a predetermined angle is.
  • Such shower enclosures are known in various designs. at they must have both the fixed wall strip and the door, the preferably consist of glass panes, with recesses or holes be provided, the introduction of which is expensive.
  • the invention has the object of providing a shower enclosure of the type described above in such a way that the hinges are three-dimensionally adjustable to allow a good adaptation to the particular structural conditions, and at the same time store a door with a smooth, easy to clean inner surface.
  • a support rail is mounted horizontally adjustable, which carries a pivot axis of the door-forming axle, which engages in a bearing bore in a door fitting which is glued to the outside of the door.
  • the door bearing support rail is in the horizontal direction, that is to Wall and thus adjustable to the fixed wall plate and carries the fixed axle bolt on which the door by means of its door fitting is pivotally mounted, the door fitting on the outside of the door is glued so that the inside of the door without obstruction by patch parts can be easily cleaned.
  • consuming and expensive expensive preparations of both the wall strip and the door by introducing of recesses or holes.
  • the head of the axle is as Hemisphere and the end of the bearing bore formed hemispherical. hereby is a compensation of a Verwinklung between door and pivot axis by a few Angle degrees possible.
  • axle bolt is provided with flattened surfaces, with which interacts with a loaded by a spring pressure piece.
  • This Design of the fixed axle bolt with a triangular or square surface is an automatic transfer of the door both in the closed position and in achieved a polygonal version corresponding opening position, as the Spring force in the intermediate positions a torque exerted on the door and the Door either in the closed position or in its predetermined open position pivoted. Because of the large lever of the door handle to the pivot axis This spring force when deliberately opening and closing the door easily be overcome.
  • the pressure is based on the pressure piece acting spring at its other end on a strap that opens with a the opposite side of the axle acting balance piece connected is.
  • the spring force is in the embodiment of the invention in half on the pressure piece and the compensation piece and thus on both transferred to opposite sides of the axle.
  • the invention creates thus a self-contained spring system independent of the door fitting, the rising and falling loads that occur during a rotation of the Door fitting around the fixed, trained as a square, for example Achsbolzen yield, keeps away from the bonding of the door fitting with the door. In this way, the adhesive surface is not burdened with additional stresses.
  • the mounting rail by means of a Guide led to the bracket in a horizontal direction and along this Guides adjustable by an adjusting screw, the head between two forked bearing plates of the bracket is mounted and their Threaded shaft engages in a threaded bore of the mounting rail.
  • one is preferably made Glass existing wall strip S by means of a bracket 1 on the wall W attached.
  • This bracket 1 is perspective in the Fign. 3 to 5, once from inside to the other from the outside, shown.
  • the illustration lacks a cover of the bracket 1.
  • a support rail 2 is adjustable attached in the Fign. 4 and 5 shown in two different positions is. Also in these representations of the sake of clarity is a Outside cover of the bracket 1 omitted, which indicated in Fig. 1 and is provided with the reference numeral 1a.
  • a fixed axle 3 On the mounting rail 2, a fixed axle 3 is arranged, the together with another support bolt in the area of the upper edge of the Wall strip S forms the pivot axis for a door T of the shower enclosure, of which a lying in the vicinity of the pivot axis part in Fig. 1 is shown.
  • This door T is provided with a door fitting 4, which is on the outside of the door T is glued on.
  • a door fitting 4 which is on the outside of the door T is glued on.
  • the wall strip S nor the door T, usually made of Glass exist, are therefore provided with recesses or holes whose Incorporation in these glass components would be complicated and expensive.
  • the fixed wall strip S covers a narrow strip of the closed door T, thus on the inside i the shower enclosure is located and a good seal against the outside a causes.
  • the door T with a seal D be provided.
  • bracket 1 has two slots 1b for wall mounting screws. At his vertical protruding from the wall W surface is the bracket 1 with a Receiving groove 1c provided for a retaining strip 1d, which the chamfered lower edge of the wall strip S accommodates. Means formed on the retaining strip 1d Guide pin 1e engages the retaining strip 1d in recesses 1f, which basically the receiving groove 1c are formed. In this way, the wall strip S reliably attached to the bracket 1.
  • a Guide 1g formed for the horizontal adjustment of the support rail 2, the by two, a slot 2b by cross-fastening screws 2a in the desired position can be fastened.
  • the head 5a of the adjusting screw 5 is by two am Bracket 1 formed forked bearing plates 1h set.
  • Threaded shaft 5b of the adjusting screw 5 engages in a threaded bore 2c of the Support rail 2 a, so that depending on the direction of rotation of the adjusting screw 5 a Adjustment of the support rail 2 takes place.
  • the bracket 1 By means of the wall mounting screws thus the distance of the through Bearing pin 3 predetermined pivot axis of the wall W can be adjusted.
  • the outer cover 1a on the bracket 1 placed.
  • Door fitting 4 has a bearing bore 4a for the bearing pin 3, which at her End 4b is hemispherical in shape.
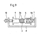
  • a spring system cooperates, which in the Fign. 6 and 9 is shown. It consists of a pressure piece 6, which in storage areas 4c of the Door fitting is guided.
  • the pressure piece 6 has a guide pin 6 a for a compression spring 7, which is supported with one end on the pressure piece 6.
  • the other end of the compression spring 7 is supported on a bracket 8, which on the Pressure piece 6 opposite side of the axle 3 with a Balancing piece 9 is connected.
  • the compound between bracket 8 and balance piece 9 by a screw 10 causes in a threaded bore 8 a of the bracket 8 is arranged and with its end on the Balance piece 9 acts. Also, the compensation piece 9 is in storage areas 4d of the Door fitting 4 slidably guided.
  • the pressure piece 6 acts under the action of Compression spring 7 on one of the surfaces 3b of the axle 3 a. Since the Compression spring 7 is supported on the bracket 8, half of the spring force on the Adjusting screw 10 transferred to the balance piece 9, the axle 3 on loaded on the opposite surface 3b. The generated by the compression spring 7 Load is thus halved and on opposite sides of the axle 3 transferred.
  • the force of the compression spring 7 can be adjusted continuously become. So it is possible, for example, under special conditions, the force completely cancel the compression spring 7, for example, during assembly work.

Landscapes

  • Engineering & Computer Science (AREA)
  • Mechanical Engineering (AREA)
  • Health & Medical Sciences (AREA)
  • Public Health (AREA)
  • Epidemiology (AREA)
  • General Health & Medical Sciences (AREA)
  • Support Devices For Sliding Doors (AREA)
  • Specific Sealing Or Ventilating Devices For Doors And Windows (AREA)
  • Residential Or Office Buildings (AREA)
  • Photoreceptors In Electrophotography (AREA)
  • Control Of Throttle Valves Provided In The Intake System Or In The Exhaust System (AREA)
  • Formation Of Various Coating Films On Cathode Ray Tubes And Lamps (AREA)

Abstract

Um eine Duschabtrennung der eingangs beschriebenen Art derart weiterzubilden, daß die Scharniere dreidimensional verstellbar sind, um eine gute Anpassung an die jeweiligen baulichen Gegebenheiten zu ermöglichen, und gleichzeitig eine Tür mit glatter, leicht zu reinigender Innenfläche lagern, wird mit der vorliegenden Erfindung vorgeschlagen, daß an jedem Haltewinkel eine Tragschiene waagerecht einstellbar befestigt ist, die einen die Schwenkachse der Tür bildenden Achsbolzen trägt, der in eine Lagerbohrung in einem Türbeschlag eingreift, der auf die Außenseite der Tür aufgeklebt ist.

Description

Die Erfindung betrifft eine Duschabtrennung mit mindestens einer vorzugsweise aus Glas bestehenden Tür, die mittels zweier Beschläge an einem feststehenden, mittels zweier Haltewinkel an der Wand befestigten Wandstreifen, wiederum vorzugsweise aus Glas, um einen vorgegebenen Winkel verschwenkbar gelagert ist.
Derartige Duschabtrennungen sind in verschiedenen Ausführungen bekannt. Bei ihnen müssen sowohl der feststehende Wandstreifen als auch die Tür, die vorzugsweise aus Glasscheiben bestehen, mit Aussparungen oder Löchern versehen werden, deren Einbringen teuer ist.
Der Erfindung liegt die Aufgabe zugrunde, eine Duschabtrennung der eingangs beschriebenen Art derart weiterzubilden, daß die Scharniere dreidimensional verstellbar sind, um eine gute Anpassung an die jeweiligen baulichen Gegebenheiten zu ermöglichen, und gleichzeitig eine Tür mit glatter, leicht zu reinigender Innenfläche lagern.
Die Lösung dieser Aufgabenstellung durch die Erfindung ist dadurch gekennzeichnet, daß an jedem Haltewinkel eine Tragschiene waagerecht einstellbar befestigt ist, die einen die Schwenkachse der Tür bildenden Achsbolzen trägt, der in eine Lagerbohrung in einem Türbeschlag eingreift, der auf die Außenseite der Tür aufgeklebt ist.
Die die Tür lagernde Tragschiene ist in waagerechter Richtung, das heißt zur Wand und damit zur feststehenden Wandscheibe einstellbar und trägt den feststehenden Achsbolzen, auf dem die Tür mittels ihres Türbeschlages verschwenkbar gelagert ist, wobei der Türbeschlag auf die Außenseite der Tür aufgeklebt ist, so daß die Türinnenseite ohne Behinderung durch aufgesetzte Teile auf einfache Weise gereinigt werden kann. Außerdem entfallen aufwendige und teure Vorbereitungen sowohl des Wandstreifens als auch der Tür durch Einbringen von Aussparungen oder Löchern.
Gemäß einem weiteren Merkmal der Erfindung ist der Kopf des Achsbolzens als Halbkugel und das Ende der Lagerbohrung halbkugelförmig ausgebildet. Hierdurch ist ein Ausgleich einer Verwinklung zwischen Tür und Schwenkachse um wenige Winkelgrade möglich.
Erfindungsgemäß ist der Achsbolzen mit abgeflachten Flächen versehen, mit denen ein durch eine Feder belastetes Druckstück zusammenwirkt. Durch diese Gestaltung des feststehenden Achsbolzens mit einer Dreikant- oder Vierkantfläche wird eine selbsttätige Überführung der Tür sowohl in die Schließstellung als auch in eine der Mehrkantausführung entsprechende Öffnungsstellung erreicht, da die Federkraft in den Zwischenstellungen ein Drehmoment auf die Tür ausübt und die Tür entweder in die Schließstellung oder in ihre vorgegebene Öffnungsstellung verschwenkt. Wegen des großen Hebels des Türhandgriffes zur Schwenkachse kann diese Federkraft beim bewußten Öffnen und Schließen der Tür leicht überwunden werden.
Bei einer erfindungsgemäßen Ausbildung stützt sich die auf das Druckstück einwirkende Feder an ihrem anderen Ende an einem Bügel ab, der mit einem auf die gegenüberliegende Seite des Achsbolzens einwirkenden Ausgleichstück verbunden ist. Hierdurch wird eine einseitige Belastung des Achsbolzens durch die Federkraft verhindert. Die Federkraft wird bei der erfindungsgemäßen Ausführung hälftig auf das Druckstück und das Ausgleichstück und damit auf beide gegenüberliegenden Seiten des Achsbolzens übertragen. Die Erfindung schafft somit ein vom Türbeschlag unabhängiges, in sich geschlossenes Federsystem, das die an- und abschwellenden Lasten, die sich bei einer Drehung des Türbeschlages um den feststehenden, beispielsweise als Vierkant ausgebildeten Achsbolzen ergeben, von der Verklebung des Türbeschlages mit der Tür fernhält. Auf diese Weise wird die Klebefläche nicht mit zusätzlichen Spannungen belastet.
Um die Federkraft zur Rückführung der Tür in die offene bzw. geschlossene Stellung einstellen zu können, ist gemäß einem weiteren Merkmal der Erfindung zwischen Bügel und Ausgleichstück eine Stellschraube angeordnet. Somit kann auf einfache Weise eine Einstellung des Drehmomentes erfolgen, welches die Tür in ihre Endstellungen überführt.
Gemäß einem weiteren Merkmal der Erfindung ist die Tragschiene mittels einer Führung am Haltewinkel in waagerechter Richtung geführt und entlang dieser Führungen durch eine Einstellschraube verstellbar, deren Kopf zwischen zwei gabelförmigen Lagerlaschen des Haltewinkels gelagert ist und deren Gewindeschaft in eine Gewindebohrung der Tragschiene eingreift. Mit diesen Merkmalen wird eine zuverlässige und einfache Einstellmöglichkeit geschaffen, die dadurch ergänzt wird, daß die Tragschiene durch zwei in einem Langloch geführte Befestigungsschrauben am Haltewinkel befestigbar ist. Mit der Erfindung wird schließlich vorgeschlagen, daß der Haltewinkel mit einer Aufnahmenut für eine den oberen bzw. unteren Rand des Wandstreifens aufnehmende Halteleiste versehen ist. Auf diese Weise wird der Wandstreifen sicher und zuverlässig am Haltewinkel festgelegt. Erfindungsgemäß greift diese Halteleiste mittels Führungsbolzen in Aussparungen des Haltewinkels ein.
Auf der Zeichnung ist ein Ausführungsbeispiel der erfindungsgemäßen Duschabtrennung dargestellt, und zwar zeigen:
Fig. 1
einen waagerechten Schnitt durch die Duschabtrennung im Bereich des an der Wand befestigten Wandstreifens und eines Teiles der in der geschlossenen Stellung befindlichen Tür,
Fig. 2
einen weiteren Schnitt gemäß Fig. 1 bei um 45° geöffneter Tür,
Fig. 3
eine perspektivische Darstellung in Form eines Sprengbildes des den Wandstreifen aufnehmenden Haltewinkels,
Fig. 4
eine perspektivische Darstellung der am Haltewinkel verstellbar befestigten Tragschiene nahe der einen Endstellung und
Fig. 5
eine Darstellung gemäß Fig. 4 in der Nähe der anderen Endstellung der Tragschiene,
Fig. 6
ein Sprengbild des Türbeschlages,
Fig. 7
einen Querschnitt durch den Türbeschlag,
Fig. 8
einen Längsschnitt gemäß der Schnittlinie VIII-VIII in Fig. 7 durch den Türbeschlag und
Fig. 9
eine schematische Darstellung bezüglich der auf den Achsbolzen einwirkenden Kräfte.
Wie aus den Darstellungen in Fig. 1 und 2 hervorgeht, wird ein vorzugsweise aus Glas bestehender Wandstreifen S mittels eines Haltewinkels 1 an der Wand W befestigt. Dieser Haltewinkel 1 ist perspektivisch in den Fign. 3 bis 5, einmal von innen zum anderen von außen, dargestellt. In der Darstellung fehlt eine Abdeckung des Haltewinkels 1.
An der Außenseite dieses Haltewinkels 1 ist eine Tragschiene 2 einstellbar befestigt, die in den Fign. 4 und 5 in zwei unterschiedlichen Stellungen dargestellt ist. Auch in diesen Darstellungen ist der besseren Übersichtlichkeit wegen eine Außenabdeckung des Haltewinkels 1 weggelassen, die in Fig. 1 angedeutet und mit der Bezugsziffer 1a versehen ist.
Auf der Tragschiene 2 ist ein feststehender Achsbolzen 3 angeordnet, der zusammen mit einem weiteren Tragbolzen im Bereich der Oberkante des Wandstreifens S die Schwenkachse für eine Tür T der Duschabtrennung bildet, von der ein in der Nähe der Schwenkachse liegender Teil in Fig. 1 dargestellt ist.
Diese Tür T ist mit einem Türbeschlag 4 versehen, der auf die Außenseite der Tür T aufgeklebt ist. Weder der Wandstreifen S noch die Tür T, die üblicherweise aus Glas bestehen, sind deshalb mit Aussparungen oder Löchern versehen, deren Einbringung in diese Glasbauteile aufwendig und teuer wäre.
Wie aus Fig. 1 hervorgeht, überdeckt der feststehende Wandstreifen S einen schmalen Streifen der geschlossenen Tür T, die somit auf der Innenseite i der Duschabtrennung liegt und eine gute Abdichtung gegenüber der Außenseite a bewirkt. Zur Verbesserung der Abdichtung kann die Tür T mit einer Dichtung D versehen sein.
Der in Fig. 3 perspektivisch in der Art eines Sprengbildes dargestellte Haltewinkel 1 besitzt zwei Langlöcher 1b für Wandbefestigungsschrauben. An seiner senkrecht von der Wand W abstehenden Oberfläche ist der Haltewinkel 1 mit einer Aufnahmenut 1c für eine Halteleiste 1d versehen, welche die angefaste Unterkante des Wandstreifens S aufnimmt. Mittels an der Halteleiste 1d ausgebildeten Führungsbolzen 1e greift die Halteleiste 1d in Aussparungen 1f ein, die im Grunde der Aufnahmenut 1c ausgebildet sind. Auf diese Weise wird der Wandstreifen S zuverlässig am Haltewinkel 1 befestigt.
An der in den Fign. 4 und 5 erkennbaren Außenseite des Haltewinkels 1 ist eine Führung 1g für die waagerechte Einstellung der Tragschiene 2 ausgebildet, die durch zwei, ein Langloch 2b durchgreifende Befestigungsschrauben 2a in der gewünschten Stellung befestigbar ist.
Die waagerechte Verstellung der Tragschiene 2 erfolgt mittels einer Einstellschraube 5. Der Kopf 5a der Einstellschraube 5 ist durch zwei am Haltewinkel 1 ausgebildete gabelförmige Lagerlaschen 1h festgelegt. Der Gewindeschaft 5b der Einstellschraube 5 greift in eine Gewindebohrung 2c der Tragschiene 2 ein, so daß je nach Drehrichtung der Einstellschraube 5 eine Verstellung der Tragschiene 2 erfolgt. Nach der Ausrichtung des Haltewinkels 1 mittels der Wandbefestigungsschrauben kann somit der Abstand der durch den Lagerbolzen 3 vorgegebenen Schwenkachse von der Wand W eingestellt werden. Nach erfolgter Einstellung wird die äußere Abdeckung 1a auf den Haltewinkel 1 aufgesetzt.
Der in den Fign. 6 bis 8 anhand eines Ausführungsbeispiels dargestellte Türbeschlag 4 besitzt eine Lagerbohrung 4a für den Lagerzapfen 3, die an ihrem Ende 4b halbkugelförmig ausgebildet ist. Der Kopf 3a des Achsbolzens 3, der als Halbkugel ausgeführt ist, läßt somit den Ausgleich von Verwinklungen zwischen Tür T und der Schwenkachse um wenige Winkelgrade zu.
Unterhalb des Kopfes 3a ist der Achsbolzen 3 beim Ausführungsbeispiel als Vierkant mit abgeflachten Flächen 3b (siehe Fign. 4 und 5) ausgebildet. Mit diesen abgeflachten Flächen 3b wirkt ein Federsystem zusammen, das in den Fign. 6 und 9 dargestellt ist. Es besteht aus einem Druckstück 6, das in Lagerflächen 4c des Türbeschlages geführt ist. Das Druckstück 6 weist einen Führungsbolzen 6a für eine Druckfeder 7 auf, die sich mit einem Ende am Druckstück 6 abstützt. Das andere Ende der Druckfeder 7 stützt sich an einem Bügel 8 ab, der auf der dem Druckstück 6 gegenüberliegenden Seite des Achsbolzens 3 mit einem Ausgleichstück 9 verbunden ist. Wie Fig. 9 erkennen läßt, wird die Verbindung zwischen Bügel 8 und Ausgleichstück 9 durch eine Stellschraube 10 bewirkt, die in einer Gewindebohrung 8a des Bügels 8 angeordnet ist und mit ihrem Ende auf das Ausgleichstück 9 einwirkt. Auch das Ausgleichstück 9 ist in Lagerflächen 4d des Türbeschlages 4 verschiebbar geführt.
Wie die Fig. 9 erkennen läßt, wirkt das Druckstück 6 unter der Wirkung der Druckfeder 7 auf eine der Flächen 3b des Achsbolzens 3 ein. Da sich die Druckfeder 7 am Bügel 8 abstützt, wird die Hälfte der Federkraft über die Stellschraube 10 auf das Ausgleichstück 9 übertragen, das den Achsbolzen 3 auf der gegenüberliegenden Fläche 3b belastet. Die durch die Druckfeder 7 erzeugte Belastung wird somit halbiert und auf gegenüberliegende Seiten des Achsbolzens 3 übertragen.
Wenn der Türbeschlag 4, in dem die in Fig. 9 gezeichneten Teile angeordnet sind, um den feststehenden Achsbolzen 3 verdreht wird, entsteht eine zunehmende Belastung, bis das Druckstück 6 und Ausgleichstück 9 die Diagonale des Achsbolzens 3 erreicht haben. Da der Abstand dieser Diagonale von der Schwenkachse größer ist als der Abstand der beiden Flächen 3b, wird eine ansteigende Kraft erzielt. Diese wird als Rückstellkraft auf die Tür T ausgeübt, welche die Tür T entweder in die Schließstellung oder in die um 90° gedrehte Offenstellung überführt. Trotz dieser an- und abschwellenden Rückstellkraft wird die Verklebung des Türbeschlages 4 mit der Tür T nicht belastet, da das Federsystem gemäß der voranstehenden Beschreibung in sich geschlossen ist und keine in der Klebefläche auftretenden Scherkräfte hervorruft.
Mit der Stellschraube 10 kann die Kraft der Druckfeder 7 stufenlos eingestellt werden. So ist es beispielsweise möglich, unter besonderen Bedingungen die Kraft der Druckfeder 7 vollständig aufzuheben, beispielsweise bei Montagearbeiten.
Bezugszeichenliste
D
Dichtung
S
Wandstreifen
T
Tür
W
Wand
a
Außenseite
i
Innenseite
1
Haltewinkel
1a
Abdeckung
1b
Langloch
1c
Aufnahmenut
1d
Halteleiste
1e
Führungsbolzen
1f
Aussparung
1g
Führung
1h
Lagerlasche
2
Tragschiene
2a
Befestigungsschraube
2b
Langloch
2c
Gewindebohrung
3
Achsbolzen
3a
Kopf
3b
Fläche
4
Türbeschlag
4a
Lagerbohrung
4b
Ende
4c
Lagerfläche
4d
Lagerfläche
5
Einstellschraube
5a
Kopf
5b
Gewindeschaft
6
Druckstück
6a
Führungsbolzen
7
Druckfeder
8
Bügel
8a
Gewindebohrung
9
Ausgleichstück
10
Stellschraube

Claims (9)

  1. Duschabtrennung mit mindestens einer vorzugsweise aus Glas bestehenden Tür (T), die mittels zweier Beschläge an einem feststehenden, mittels zweier Haltewinkel (1) an der Wand (W) befestigten Wandstreifen (S), wiederum vorzugsweise aus Glas, um einen vorgegebenen Winkel verschwenkbar gelagert ist,
    dadurch gekennzeichnet, daß an jedem Haltewinkel (1) eine Tragschiene (2) waagerecht einstellbar befestigt ist, die einen die Schwenkachse der Tür (T) bildenden Achsbolzen (3) trägt, der in eine Lagerbohrung (4a) in einem Türbeschlag (4) eingreift, der auf die Außenseite der Tür (T) aufgeklebt ist.
  2. Duschabtrennung nach Anspruch 1, dadurch gekennzeichnet, daß der Kopf (3a) des Achsbolzens (3) als Halbkugel und das Ende (4b) der Lagerbohrung (4a) halbkugelförmig ausgebildet sind.
  3. Duschabtrennung nach Anspruch 1 und 2, dadurch gekennzeichnet, daß der Achsbolzen (3) mit abgeflachten Flächen (3b) versehen ist, mit denen ein durch eine Feder (7) belastetes Druckstück (6) zusammenwirkt.
  4. Duschabtrennung nach Anspruch 3, dadurch gekennzeichnet, daß die auf das Druckstück (6) einwirkende Feder (7) sich an ihrem anderen Ende an einem Bügel (8) abstützt, der mit einem auf die gegenüberliegende Seite des Achsbolzens (3) einwirkenden Ausgleichstück (9) versehen ist.
  5. Duschabtrennung nach Anspruch 4, dadurch gekennzeichnet, daß die Federkraft durch eine zwischen Bügel (8) und Ausgleichstück (9) angeordnete Stellschraube (10) einstellbar ist.
  6. Duschabtrennung nach mindestens einem der Ansprüche 1 bis 5, dadurch gekennzeichnet, daß die Tragschiene (2) mittels einer Führung (1g) am Haltewinkel (1) in waagerechter Richtung geführt und entlang dieser Führung (1g) durch eine Einstellschraube (5) verstellbar ist, deren Kopf (5a) zwischen zwei gabelförmigen Lagerlaschen (1a) des Haltewinkels (1) gelagert ist und deren Gewindeschaft (5b) in eine Gewindebohrung (2c) der Tragschiene (2) eingreift.
  7. Duschabtrennung nach Anspruch 6, dadurch gekennzeichnet, daß die Tragschiene (2) durch zwei in einem Langloch (2b) geführte Befestigungsschrauben (2a) am Haltewinkel (1) befestigbar ist.
  8. Duschabtrennung nach mindestens einem der Ansprüche 1 bis 7, dadurch gekennzeichnet, daß der Haltewinkel (1) mit einer Aufnahmenut (1c) für eine den oberen bzw. unteren Rand des Wandstreifens (S) aufnehmende Halteleiste (1d) versehen ist.
  9. Duschabtrennung nach Anspruch 8, dadurch gekennzeichnet, daß die Halteleiste (1d) mittels Führungsbolzen (1e) in Aussparungen (1f) des Haltewinkels (1) eingreift.
EP04030538A 2004-02-09 2004-12-23 Duschabtrennung Expired - Lifetime EP1574651B1 (de)

Priority Applications (1)

Application Number Priority Date Filing Date Title
PL04030538T PL1574651T3 (pl) 2004-02-09 2004-12-23 Przegroda prysznicowa

Applications Claiming Priority (2)

Application Number Priority Date Filing Date Title
DE202004001967U 2004-02-09
DE202004001967U DE202004001967U1 (de) 2004-02-09 2004-02-09 Duschabtrennung

Publications (3)

Publication Number Publication Date
EP1574651A2 true EP1574651A2 (de) 2005-09-14
EP1574651A3 EP1574651A3 (de) 2009-10-07
EP1574651B1 EP1574651B1 (de) 2011-12-14

Family

ID=33103777

Family Applications (1)

Application Number Title Priority Date Filing Date
EP04030538A Expired - Lifetime EP1574651B1 (de) 2004-02-09 2004-12-23 Duschabtrennung

Country Status (4)

Country Link
EP (1) EP1574651B1 (de)
AT (1) ATE537321T1 (de)
DE (1) DE202004001967U1 (de)
PL (1) PL1574651T3 (de)

Families Citing this family (1)

* Cited by examiner, † Cited by third party
Publication number Priority date Publication date Assignee Title
FR3113081B1 (fr) * 2020-07-29 2023-01-27 Groupe Tirard & Burgaud Sas Gond réglable

Family Cites Families (7)

* Cited by examiner, † Cited by third party
Publication number Priority date Publication date Assignee Title
IT215091Z2 (it) * 1988-12-16 1990-07-30 Memo Spa Cerniera con asse di articolazione orientabile
DE4119628C1 (en) * 1991-06-14 1992-07-30 Altura Leiden Holding B.V., Maastricht, Nl Coupler for profiled rail and shower partition - has securing bracket in duct, adjacent laterally to clamping gap
DE9318246U1 (de) * 1993-11-29 1994-10-27 Società Italiana Progetti S.r.l., Magenta, Mailand/Milano Tür- oder Fensterbeschlag
DE29619955U1 (de) * 1996-11-16 1997-01-02 Koralle Sanitärprodukte GmbH, 32602 Vlotho Scharnier für eine Glastür
US6526627B2 (en) * 2000-12-05 2003-03-04 Fanny Chiang Hinge auto-return device for a glass door
US6618871B2 (en) * 2001-07-24 2003-09-16 Kohler Co. Shower door assembly
ITBS20010105A1 (it) * 2001-12-13 2003-06-13 Duka S R L Porta per cabine doccia perfezionata

Also Published As

Publication number Publication date
EP1574651B1 (de) 2011-12-14
PL1574651T3 (pl) 2012-05-31
ATE537321T1 (de) 2011-12-15
DE202004001967U1 (de) 2004-09-30
EP1574651A3 (de) 2009-10-07

Similar Documents

Publication Publication Date Title
DE4219681C2 (de) Einstellbares Abhebescharnier
DE602004002173T2 (de) Einrichtung für eine höheneinstellbare Halterung eines Tores
DE3738596C2 (de)
EP3103948B1 (de) Band für eine tür oder ein fenster
EP1331338B1 (de) Band für Türen, Fenster und dergleichen
EP2365167A2 (de) Türband, insbesondere für Gebäudeabschlusstüren
DE29602424U1 (de) Tragteil für ein Verschlußelement, vorzugsweise für einen Türflügel einer Faltschiebetür
DE9215565U1 (de) Band für Türen, Fenster u.dgl.
EP2754813B1 (de) Band, insbesondere für Kunststoff-Türen und -Fenster
EP3168398A1 (de) Verstecktes scharnier für türen, fenster oder ähnliche bauteile
EP1017920B1 (de) Beschlag zur drehlagerung eines fenster- oder türflügels
EP0478639A1 (de) Scharnier.
EP0318422B1 (de) Einstellbares Gelenkband, insbesondere für Fenster und Türen
EP3029227B2 (de) Beschlag mit einstellbarem Einspannbereich
DE60010806T2 (de) Verdeckter Öffnungsbeschlag für Drehflügeltür oder -Fenster
DE29817807U1 (de) Dreidimensional verstellbares Aufschraubband für Tür- oder Fensterflügel
EP0487825B1 (de) Verdeckt angeordneter Beschlag für Drehflügel, insb. für Dreh-Kipp-Flügel von Fenstern oder Türen
EP1574651B1 (de) Duschabtrennung
CH649341A5 (en) Corner joint on a turn-and-tilt window or on a turn-and-tilt door
EP1319786A1 (de) Scharnier
EP1223275B1 (de) Band für Türen oder Fenster
DE8111079U1 (de) Ecklager fuer fluegel von fenstern, tueren od. dgl.
DE2660245C2 (de) Scharnier zum gelenkigen Verbinden zweier Bauteile
EP1301676A1 (de) Fenster oder tür mit entlastungseinrichtung
EP1813751A1 (de) Verdeckt liegendes Band

Legal Events

Date Code Title Description
PUAI Public reference made under article 153(3) epc to a published international application that has entered the european phase

Free format text: ORIGINAL CODE: 0009012

AK Designated contracting states

Kind code of ref document: A2

Designated state(s): AT BE BG CH CY CZ DE DK EE ES FI FR GB GR HU IE IS IT LI LT LU MC NL PL PT RO SE SI SK TR

AX Request for extension of the european patent

Extension state: AL BA HR LV MK YU

PUAL Search report despatched

Free format text: ORIGINAL CODE: 0009013

AK Designated contracting states

Kind code of ref document: A3

Designated state(s): AT BE BG CH CY CZ DE DK EE ES FI FR GB GR HU IE IS IT LI LT LU MC NL PL PT RO SE SI SK TR

AX Request for extension of the european patent

Extension state: AL BA HR LV MK YU

17P Request for examination filed

Effective date: 20091125

AKX Designation fees paid

Designated state(s): AT BE BG CH CY CZ DE DK EE ES FI FR GB GR HU IE IS IT LI LT LU MC NL PL PT RO SE SI SK TR

17Q First examination report despatched

Effective date: 20100607

GRAP Despatch of communication of intention to grant a patent

Free format text: ORIGINAL CODE: EPIDOSNIGR1

GRAS Grant fee paid

Free format text: ORIGINAL CODE: EPIDOSNIGR3

GRAA (expected) grant

Free format text: ORIGINAL CODE: 0009210

AK Designated contracting states

Kind code of ref document: B1

Designated state(s): AT BE BG CH CY CZ DE DK EE ES FI FR GB GR HU IE IS IT LI LT LU MC NL PL PT RO SE SI SK TR

REG Reference to a national code

Ref country code: GB

Ref legal event code: FG4D

Free format text: NOT ENGLISH

REG Reference to a national code

Ref country code: CH

Ref legal event code: EP

REG Reference to a national code

Ref country code: CH

Ref legal event code: NV

Representative=s name: E. BLUM & CO. AG PATENT- UND MARKENANWAELTE VSP

REG Reference to a national code

Ref country code: DE

Ref legal event code: R082

Ref document number: 502004013144

Country of ref document: DE

Representative=s name: STENGER WATZKE RING INTELLECTUAL PROPERTY, DE

REG Reference to a national code

Ref country code: IE

Ref legal event code: FG4D

PGFP Annual fee paid to national office [announced via postgrant information from national office to epo]

Ref country code: CH

Payment date: 20111230

Year of fee payment: 8

Ref country code: FR

Payment date: 20111221

Year of fee payment: 8

Ref country code: LU

Payment date: 20111223

Year of fee payment: 8

Ref country code: NL

Payment date: 20111228

Year of fee payment: 8

REG Reference to a national code

Ref country code: NL

Ref legal event code: T3

REG Reference to a national code

Ref country code: DE

Ref legal event code: R096

Ref document number: 502004013144

Country of ref document: DE

Effective date: 20120301

PG25 Lapsed in a contracting state [announced via postgrant information from national office to epo]

Ref country code: LT

Free format text: LAPSE BECAUSE OF FAILURE TO SUBMIT A TRANSLATION OF THE DESCRIPTION OR TO PAY THE FEE WITHIN THE PRESCRIBED TIME-LIMIT

Effective date: 20111214

LTIE Lt: invalidation of european patent or patent extension

Effective date: 20111214

PG25 Lapsed in a contracting state [announced via postgrant information from national office to epo]

Ref country code: GR

Free format text: LAPSE BECAUSE OF FAILURE TO SUBMIT A TRANSLATION OF THE DESCRIPTION OR TO PAY THE FEE WITHIN THE PRESCRIBED TIME-LIMIT

Effective date: 20120315

Ref country code: SI

Free format text: LAPSE BECAUSE OF FAILURE TO SUBMIT A TRANSLATION OF THE DESCRIPTION OR TO PAY THE FEE WITHIN THE PRESCRIBED TIME-LIMIT

Effective date: 20111214

Ref country code: SE

Free format text: LAPSE BECAUSE OF FAILURE TO SUBMIT A TRANSLATION OF THE DESCRIPTION OR TO PAY THE FEE WITHIN THE PRESCRIBED TIME-LIMIT

Effective date: 20111214

PGFP Annual fee paid to national office [announced via postgrant information from national office to epo]

Ref country code: DE

Payment date: 20111126

Year of fee payment: 8

REG Reference to a national code

Ref country code: PL

Ref legal event code: T3

PG25 Lapsed in a contracting state [announced via postgrant information from national office to epo]

Ref country code: CY

Free format text: LAPSE BECAUSE OF FAILURE TO SUBMIT A TRANSLATION OF THE DESCRIPTION OR TO PAY THE FEE WITHIN THE PRESCRIBED TIME-LIMIT

Effective date: 20111214

PGFP Annual fee paid to national office [announced via postgrant information from national office to epo]

Ref country code: GB

Payment date: 20120104

Year of fee payment: 8

Ref country code: BE

Payment date: 20120102

Year of fee payment: 8

REG Reference to a national code

Ref country code: IE

Ref legal event code: FD4D

PG25 Lapsed in a contracting state [announced via postgrant information from national office to epo]

Ref country code: EE

Free format text: LAPSE BECAUSE OF FAILURE TO SUBMIT A TRANSLATION OF THE DESCRIPTION OR TO PAY THE FEE WITHIN THE PRESCRIBED TIME-LIMIT

Effective date: 20111214

Ref country code: IE

Free format text: LAPSE BECAUSE OF FAILURE TO SUBMIT A TRANSLATION OF THE DESCRIPTION OR TO PAY THE FEE WITHIN THE PRESCRIBED TIME-LIMIT

Effective date: 20111214

Ref country code: IS

Free format text: LAPSE BECAUSE OF FAILURE TO SUBMIT A TRANSLATION OF THE DESCRIPTION OR TO PAY THE FEE WITHIN THE PRESCRIBED TIME-LIMIT

Effective date: 20120414

Ref country code: MC

Free format text: LAPSE BECAUSE OF NON-PAYMENT OF DUE FEES

Effective date: 20111231

Ref country code: BG

Free format text: LAPSE BECAUSE OF FAILURE TO SUBMIT A TRANSLATION OF THE DESCRIPTION OR TO PAY THE FEE WITHIN THE PRESCRIBED TIME-LIMIT

Effective date: 20120314

Ref country code: SK

Free format text: LAPSE BECAUSE OF FAILURE TO SUBMIT A TRANSLATION OF THE DESCRIPTION OR TO PAY THE FEE WITHIN THE PRESCRIBED TIME-LIMIT

Effective date: 20111214

Ref country code: CZ

Free format text: LAPSE BECAUSE OF FAILURE TO SUBMIT A TRANSLATION OF THE DESCRIPTION OR TO PAY THE FEE WITHIN THE PRESCRIBED TIME-LIMIT

Effective date: 20111214

PG25 Lapsed in a contracting state [announced via postgrant information from national office to epo]

Ref country code: PT

Free format text: LAPSE BECAUSE OF FAILURE TO SUBMIT A TRANSLATION OF THE DESCRIPTION OR TO PAY THE FEE WITHIN THE PRESCRIBED TIME-LIMIT

Effective date: 20120416

Ref country code: RO

Free format text: LAPSE BECAUSE OF FAILURE TO SUBMIT A TRANSLATION OF THE DESCRIPTION OR TO PAY THE FEE WITHIN THE PRESCRIBED TIME-LIMIT

Effective date: 20111214

PGFP Annual fee paid to national office [announced via postgrant information from national office to epo]

Ref country code: PL

Payment date: 20111213

Year of fee payment: 8

PGFP Annual fee paid to national office [announced via postgrant information from national office to epo]

Ref country code: IT

Payment date: 20111216

Year of fee payment: 8

PLBE No opposition filed within time limit

Free format text: ORIGINAL CODE: 0009261

STAA Information on the status of an ep patent application or granted ep patent

Free format text: STATUS: NO OPPOSITION FILED WITHIN TIME LIMIT

PG25 Lapsed in a contracting state [announced via postgrant information from national office to epo]

Ref country code: DK

Free format text: LAPSE BECAUSE OF FAILURE TO SUBMIT A TRANSLATION OF THE DESCRIPTION OR TO PAY THE FEE WITHIN THE PRESCRIBED TIME-LIMIT

Effective date: 20111214

26N No opposition filed

Effective date: 20120917

REG Reference to a national code

Ref country code: DE

Ref legal event code: R097

Ref document number: 502004013144

Country of ref document: DE

Effective date: 20120917

PG25 Lapsed in a contracting state [announced via postgrant information from national office to epo]

Ref country code: ES

Free format text: LAPSE BECAUSE OF FAILURE TO SUBMIT A TRANSLATION OF THE DESCRIPTION OR TO PAY THE FEE WITHIN THE PRESCRIBED TIME-LIMIT

Effective date: 20120325

PG25 Lapsed in a contracting state [announced via postgrant information from national office to epo]

Ref country code: FI

Free format text: LAPSE BECAUSE OF FAILURE TO SUBMIT A TRANSLATION OF THE DESCRIPTION OR TO PAY THE FEE WITHIN THE PRESCRIBED TIME-LIMIT

Effective date: 20111214

BERE Be: lapsed

Owner name: KORALLE SANITARPRODUKTE G.M.B.H.

Effective date: 20121231

REG Reference to a national code

Ref country code: NL

Ref legal event code: V1

Effective date: 20130701

REG Reference to a national code

Ref country code: CH

Ref legal event code: PL

REG Reference to a national code

Ref country code: AT

Ref legal event code: MM01

Ref document number: 537321

Country of ref document: AT

Kind code of ref document: T

Effective date: 20121223

GBPC Gb: european patent ceased through non-payment of renewal fee

Effective date: 20121223

REG Reference to a national code

Ref country code: FR

Ref legal event code: ST

Effective date: 20130830

PG25 Lapsed in a contracting state [announced via postgrant information from national office to epo]

Ref country code: BE

Free format text: LAPSE BECAUSE OF NON-PAYMENT OF DUE FEES

Effective date: 20121231

Ref country code: TR

Free format text: LAPSE BECAUSE OF FAILURE TO SUBMIT A TRANSLATION OF THE DESCRIPTION OR TO PAY THE FEE WITHIN THE PRESCRIBED TIME-LIMIT

Effective date: 20111214

REG Reference to a national code

Ref country code: DE

Ref legal event code: R119

Ref document number: 502004013144

Country of ref document: DE

Effective date: 20130702

PG25 Lapsed in a contracting state [announced via postgrant information from national office to epo]

Ref country code: NL

Free format text: LAPSE BECAUSE OF NON-PAYMENT OF DUE FEES

Effective date: 20130701

Ref country code: AT

Free format text: LAPSE BECAUSE OF NON-PAYMENT OF DUE FEES

Effective date: 20121223

Ref country code: DE

Free format text: LAPSE BECAUSE OF NON-PAYMENT OF DUE FEES

Effective date: 20130702

Ref country code: CH

Free format text: LAPSE BECAUSE OF NON-PAYMENT OF DUE FEES

Effective date: 20121231

Ref country code: HU

Free format text: LAPSE BECAUSE OF FAILURE TO SUBMIT A TRANSLATION OF THE DESCRIPTION OR TO PAY THE FEE WITHIN THE PRESCRIBED TIME-LIMIT

Effective date: 20111214

Ref country code: LI

Free format text: LAPSE BECAUSE OF NON-PAYMENT OF DUE FEES

Effective date: 20121231

PG25 Lapsed in a contracting state [announced via postgrant information from national office to epo]

Ref country code: FR

Free format text: LAPSE BECAUSE OF NON-PAYMENT OF DUE FEES

Effective date: 20130102

Ref country code: GB

Free format text: LAPSE BECAUSE OF NON-PAYMENT OF DUE FEES

Effective date: 20121223

PG25 Lapsed in a contracting state [announced via postgrant information from national office to epo]

Ref country code: IT

Free format text: LAPSE BECAUSE OF NON-PAYMENT OF DUE FEES

Effective date: 20121223

PG25 Lapsed in a contracting state [announced via postgrant information from national office to epo]

Ref country code: PL

Free format text: LAPSE BECAUSE OF NON-PAYMENT OF DUE FEES

Effective date: 20121223

PG25 Lapsed in a contracting state [announced via postgrant information from national office to epo]

Ref country code: LU

Free format text: LAPSE BECAUSE OF NON-PAYMENT OF DUE FEES

Effective date: 20121223