EP1568942A1 - Vormischbrenner sowie Verfahren zur Verbrennung eines niederkalorischen Brenngases - Google Patents
Vormischbrenner sowie Verfahren zur Verbrennung eines niederkalorischen Brenngases Download PDFInfo
- Publication number
- EP1568942A1 EP1568942A1 EP04004137A EP04004137A EP1568942A1 EP 1568942 A1 EP1568942 A1 EP 1568942A1 EP 04004137 A EP04004137 A EP 04004137A EP 04004137 A EP04004137 A EP 04004137A EP 1568942 A1 EP1568942 A1 EP 1568942A1
- Authority
- EP
- European Patent Office
- Prior art keywords
- combustion
- gas
- air
- premix
- burner
- Prior art date
- Legal status (The legal status is an assumption and is not a legal conclusion. Google has not performed a legal analysis and makes no representation as to the accuracy of the status listed.)
- Withdrawn
Links
Images
Classifications
-
- F—MECHANICAL ENGINEERING; LIGHTING; HEATING; WEAPONS; BLASTING
- F23—COMBUSTION APPARATUS; COMBUSTION PROCESSES
- F23R—GENERATING COMBUSTION PRODUCTS OF HIGH PRESSURE OR HIGH VELOCITY, e.g. GAS-TURBINE COMBUSTION CHAMBERS
- F23R3/00—Continuous combustion chambers using liquid or gaseous fuel
- F23R3/02—Continuous combustion chambers using liquid or gaseous fuel characterised by the air-flow or gas-flow configuration
- F23R3/04—Air inlet arrangements
- F23R3/10—Air inlet arrangements for primary air
- F23R3/12—Air inlet arrangements for primary air inducing a vortex
- F23R3/14—Air inlet arrangements for primary air inducing a vortex by using swirl vanes
-
- F—MECHANICAL ENGINEERING; LIGHTING; HEATING; WEAPONS; BLASTING
- F23—COMBUSTION APPARATUS; COMBUSTION PROCESSES
- F23D—BURNERS
- F23D14/00—Burners for combustion of a gas, e.g. of a gas stored under pressure as a liquid
- F23D14/46—Details
- F23D14/48—Nozzles
- F23D14/58—Nozzles characterised by the shape or arrangement of the outlet or outlets from the nozzle, e.g. of annular configuration
- F23D14/583—Nozzles characterised by the shape or arrangement of the outlet or outlets from the nozzle, e.g. of annular configuration of elongated shape, e.g. slits
-
- F—MECHANICAL ENGINEERING; LIGHTING; HEATING; WEAPONS; BLASTING
- F23—COMBUSTION APPARATUS; COMBUSTION PROCESSES
- F23R—GENERATING COMBUSTION PRODUCTS OF HIGH PRESSURE OR HIGH VELOCITY, e.g. GAS-TURBINE COMBUSTION CHAMBERS
- F23R3/00—Continuous combustion chambers using liquid or gaseous fuel
- F23R3/28—Continuous combustion chambers using liquid or gaseous fuel characterised by the fuel supply
- F23R3/286—Continuous combustion chambers using liquid or gaseous fuel characterised by the fuel supply having fuel-air premixing devices
-
- F—MECHANICAL ENGINEERING; LIGHTING; HEATING; WEAPONS; BLASTING
- F23—COMBUSTION APPARATUS; COMBUSTION PROCESSES
- F23R—GENERATING COMBUSTION PRODUCTS OF HIGH PRESSURE OR HIGH VELOCITY, e.g. GAS-TURBINE COMBUSTION CHAMBERS
- F23R2900/00—Special features of, or arrangements for continuous combustion chambers; Combustion processes therefor
- F23R2900/00002—Gas turbine combustors adapted for fuels having low heating value [LHV]
Definitions
- the invention relates to a premix burner for combustion a low calorie combustible gas, in particular a synthesis gas.
- the invention further relates to a method for the combustion of a low calorific fuel gas.
- a burner for gaseous fuels, in particular used in a gas turbine plant is, for example known from DE 42 12 810 A1. It can be seen that Combustion air through an air-ring channel system and fuel fed through another annular channel system of combustion become. This is a high-calorie fuel (Natural gas or fuel oil) from the fuel channel into the air duct injected, either directly or formed as a hollow blades Swirl blades.
- a high-calorie fuel Natural gas or fuel oil
- the combustible constituents of synthesis gas are essentially carbon monoxide and hydrogen.
- the burner in the gas turbine associated combustion chamber must then be designed as a two- or multi-fuel burner, both with the synthesis gas and with the second fuel, such as natural gas or fuel oil can be applied as needed.
- the respective fuel is supplied via a fuel passage in the burner of the combustion zone.
- the calorific value of the synthesis gas is about five to ten times smaller compared to the calorific value of natural gas.
- Main constituent in addition to CO and H 2 are inert components such as nitrogen and / or water vapor and possibly also carbon dioxide. Due to the low calorific value consequently high volume flows of fuel gas must be supplied through the burner of the combustion chamber. This has the consequence that one or more separate fuel passages must be made available for the combustion of low calorific fuels - such as synthesis gas.
- Such a multi-pass burner which is also suitable for synthesis gas operation, is disclosed for example in EP 1 227 920 A1.
- premix combustion In view of increasingly stringent requirements on the output Of nitrogen oxides, premix combustion also gains The combustion of low calorific gases is becoming increasingly important.
- the object of the invention is therefore a premix burner for Indicate combustion of a low calorific fuel gas.
- a Another object of the invention is to specify a Process for the combustion of a low calorific fuel gas.
- the first object is achieved by a premix burner for burning a low calorie Fuel gas, with one extending along a burner axis
- Premix air duct can be supplied via the combustion air is, and arranged with a in the premix air duct Swirling device, wherein in the flow direction of the combustion air downstream of the swirl device an injection device is arranged for the low calorific fuel gas.
- the invention is based on the consideration that to ensure a low-emission operation the mixture of Fuel and combustion air is of particular importance. Temperature peaks can only be as homogeneous as possible Mixture be avoided. As with low calorific fuel gases high volume flows of fuel gas are involved with the Combustion air to mix, here presented the solution of Mixed task presents the experts with special challenges the constructive design of such burner.
- the synthesis gas premix burner of the invention is used for the first time proposed a burner concept, which pollutant emissions Related advantages of premixing also for low calorie synthesis gas as fuel makes applicable.
- the injection device downstream of the twisting device takes place the injection of undiluted or partially diluted low calorie Fuel gas in the already twisted mass flow.
- the spatial area downstream of the twisting device takes place thereby a largely homogeneous mixing of the synthesis gas and the twisted air mass flow.
- the Combustion of the premixed fuel gas-air mixture takes place downstream of the burner at one of the premixed air ratios corresponding temperature.
- Premix flame can - especially in the partial load range - a small partial mass flow of the low calorie combustible gas previously separated and in the combustion chamber via a in the diffusion mode operated sustaining flame, e.g. about 5% up to 20% of the total volume flow of fuel gas ..
- the swirl device are sufficiently large volume flows of low calorific fuel gas miscible with the combustion air, where extremely good mixing results can be achieved are. This has a particularly advantageous effect on the pollutant balance from the premix burner.
- Another advantage is that the proven premix combustion concept for high-calorie fuels such as natural gas or Oil can be taken over unchanged, so that any lengthy Optimizations and / or design changes not necessary. That is, it is possible a conventional combustion system, designed for high calorific fuels is, by means of fluidically coupled to the air duct Injection device through an additional fuel passage for low calorific fuel gases, and indeed without the constructive implementation an adverse effect on the existing conventional combustion system would have, e.g. with regard to occurring pressure losses.
- the premix burner with both the synthesis gas for example, from coal, industrial residues or Waste is generated, as well as with a secondary fuel, such as e.g. Natural gas or oil.
- a secondary fuel such as e.g. Natural gas or oil.
- the premix burner burns accordingly the set air ratio at much lower temperatures; which ultimately leads to a minimization of the thermal Nitrogen oxide formation during combustion of the low calorie Fuel gas leads.
- the injection device a plurality of fuel gas inlet ports on, which open into the premix air duct.
- the injection device has a gas distribution ring which surrounds the premix air passage radially outward.
- the premix air duct is preferred as an annular channel formed, which has an outer channel wall, with a variety of holes interspersed with the gas distribution ring in fluid communication. This will It achieves that over the full circumference of the ring channel one Injection of low calorific fuel gas into the twisted Combustion air is ensured.
- the volume flow of low calorific fuel gas is the Diameter of the hole, their number and their distribution the outer duct wall should be designed accordingly.
- the outer channel wall tapers cone-like in the flow direction of the combustion air. Due to the injection of the low calorific fuel gas through the holes introduced into the outer cone to any additional negative influence on the air flow Built-in components for the injection device are dispensed with, allowing the operation even with conventional fuels (Natural gas or fuel oil) without restriction if necessary is possible.
- Particularly preferred embodiment is the premix burner in a combustion chamber, for example in an annular combustion chamber, used.
- a combustion chamber is advantageous designed as a combustion chamber of a gas turbine, for example as an annular combustion chamber of a stationary gas turbine.
- the object directed to the method is according to the invention solved by a method of burning a low calorie Fuel gas, in which the combustion air imparted a twist, low calorific fuel gas into the twisted combustion air injected and mixed with this, and the mixture is burned.
- This process is a particularly homogeneous combustion mixture achievable, with high volume flows of low calorie Fuel gas are miscible with the combustion air.
- This is advantageously undiluted or partially diluted low calorific fuel gas into the twisted combustion air injected.
- the method is preferably in operation a gas turbine burner, wherein a synthesis gas, which is a low calorie fuel, burned in premix operation.
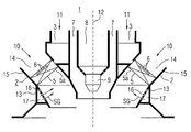
- the premix burner 1 shows a premix burner 1, which is approximately rotationally symmetrical with respect to a burner axis 12.
- One along the burner axis 12 directed pilot burner 9 with a Fuel supply channel 8 and this concentrically enclosing Air supply annular channel 7 is surrounded concentrically from a fuel ring channel 3.
- This fuel ring channel 3 is partially concentrically enclosed by a premixed air channel 2.
- the premix air channel 2 is the annular channel 14th formed, which has an outer channel wall 15.
- a swirl device forms. At least one of these swirl blades 5 is as Hollow blade 5a formed. It points one by several small openings formed inlet 6 for a fuel supply on.
- the hollow blade 5a is for the supply of high calorie fuel 11, e.g. Natural gas or fuel oil, designed.
- the fuel ring channel 3 opens into this hollow blade 5a.
- the premix burner 1 can via the pilot burner 9 as a diffusion burner operate. Usually he is but as Premix burners are used, that is, fuel and air first mixed and then sent to combustion. there the pilot burner 9 serves to maintain a pilot flame, combustion during premix burner operation at a possibly changing fuel-air ratio stabilized.
- combustion air 10 and the high calorific fuel 11 mixed in premix air channel 2 and then fed to the combustion.
- high-calorie fuel 11th from the fuel ring channel 3 in a hollow blade 5a of the Swirl vane wreath 5 and from there over the inlet 6 introduced into the combustion air 10 in the premix air channel 2.
- the premix burner 1 of the invention is beyond optionally also the combustion of a low calorific fuel gas SG, for example, a synthesis gas from a coal gasification process, possible.
- a low calorific fuel gas SG for example, a synthesis gas from a coal gasification process
- the injection device 13 comprises a plurality from inlet openings 16 for the fuel gas SG.
- the inlet openings 16 open into the premix air channel 2.
- the injection device 13 has a gas distribution ring 17, the surrounds the premix air channel 2 radially outward.
- low calorific gas SG fully in the annular channel 14 formed as a premixing air duct second downstream of the swirl device 5 in the distributed combustion air flow 10 is injectable.
- the outer channel wall 15 of Ring channel 14 is here with a variety of holes interspersed with the gas distribution ring 17 in fluid communication stand. In this way is through the gas distribution ring 17 also ensures a distributor function, so that low calorific gas SG with the required Pressure and flow rate provided and by the variety of holes in the outer channel wall 15 of the twisted Combustion air 10 can be mixed.
- it is a particularly homogeneous and uniform one Mixing of combustion air 10 with the low calorie Fuel gas SG reached.
- Fuel gas SG can be supplied for the synthesis gas pre-mixing operation.
- the outer channel wall 15 tapers.
- the premix burner 1 for combustion of a low calorific gas SG is in a combustion chamber of a gas turbine, for example a Ring combustion chamber of a stationary gas turbine used.
- premix burner 1 of the invention is an optional Operation with a synthesis gas from a gasification device or a secondary or substitute fuel possible, since the premix burner 1 designed as a two- or multi-fuel burner is that with both low calorific fuel gas SG as well with high calorie fuel 11, e.g. Natural gas or fuel oil, can be applied.
- high calorie fuel e.g. Natural gas or fuel oil
- Fuel gas SG is the combustion air 10 imparted a twist and the low calorific fuel gas SG in the twisted Combustion air 10 injected and mixed with this. This mixture is then burned. It can also teilverPhynstes low-calorie fuel gas SG in the twisted Combustion air 10 are injected.
- low calorie Fuel gas SG is advantageously a gasifier fossil fuel, especially gasified coal from a Gasification device, used.
- the premix burner 1 is particularly advantageous a synthesis gas operation in a Gas turbine feasible.
- the main advantage of the premix burner according to the invention 1 and the described method for combustion of a low calorific fuel SG is that the proven Premix combustion concept for natural gas and oil (high calorific Fuels) can be taken over unchanged.
- high calorific Fuels high calorific Fuels
- the premix burner 1 is only through an additional fuel passage for low calorie Brenngase SG expands without the constructive implementation a significant influence on conventional operation combustion system with high calorific fuels.
- the proposed construction allows particularly favorable Mixing properties of the low calorific gas SG with the combustion air 10, with a sufficiently large Throughput (volume flow) of synthesis gas SG of the combustion process can be supplied.
Landscapes
- Engineering & Computer Science (AREA)
- Chemical & Material Sciences (AREA)
- Combustion & Propulsion (AREA)
- Mechanical Engineering (AREA)
- General Engineering & Computer Science (AREA)
Abstract
Die Erfindung betrifft einen Vormischbrenner (1) zur Verbrennung
eines niederkalorischen Brenngases (SG), mit einem sich
entlang einer Brennerachse (12) erstreckenden Luftkanal (2)
über den Verbrennungsluft (10) zuführbar ist. In dem Luftkanal
(2) ist eine Dralleinrichtung (5) angeordnet, wodurch der
Verbrennungsluft (10) ein Drall aufprägbar ist. Stromab der
Dralleinrichtung (5) ist eine Eindüseeinrichtung (13) für das
niederkalorische Brenngas (SG) vorgesehen. Die Erfindung betrifft
weiterhin ein Verfahren zur Verbrennung eines niederkalorischen
Brenngases (SG), bei dem Verbrennungsluft (10)
ein Teil aufgeprägt, niederkalorisches Brenngas (SG) in die
verdrallte Verbrennungsluft (10) eingedüst und mit dieser intensiv
vermischt wird, und anschließend das Gemisch verbrannt
wird.
Description
Die Erfindung betrifft einen Vormischbrenner zur Verbrennung
eines niederkalorischen Brenngases, insbesondere eines Synthesegases.
Die Erfindung betrifft weiterhin ein Verfahren
zur Verbrennung eines niederkalorischen Brenngases.
Ein Brenner für gasförmige Brennstoffe, wie er insbesondere
in einer Gasturbinenanlage eingesetzt wird, ist beispielsweise
aus der DE 42 12 810 A1 bekannt. Hieraus geht hervor, dass
Verbrennungsluft durch ein Luft-Ringkanalsystem und Brennstoff
durch ein weiteres Ringkanalsystem der Verbrennung zugeführt
werden. Dabei wird ein hochkalorischer Brennstoff
(Erdgas oder Heizöl) aus dem Brennstoffkanal in den Luftkanal
eingedüst, entweder direkt oder aus als Hohlschaufeln ausgebildeten
Drallschaufeln.
Damit soll u.a. eine möglichst homogene Mischung von Brennstoff
und Luft erreicht werden, um eine stickoxidarme Verbrennung
zu erzielen. Eine möglichst geringe Stickoxidproduktion
ist aus Gründen des Umweltschutzes und entsprechenden
gesetzlichen Richtlinien für Schadstoffemissionen eine wesentliche
Anforderung an die Verbrennung, insbesondere an die
Verbrennung in der Gasturbinenanlage eines Kraftwerks. Die
Bildung von Stickoxiden erhöht sich exponentiell mit der
Flammentemperatur der Verbrennung. Bei einer inhomogenen Mischung
von Brennstoff und Luft ergibt sich eine bestimmte
Verteilung der Flammentemperaturen im Verbrennungsbereich.
Die Maximaltemperaturen einer solchen Verteilung bestimmen
nach dem genannten exponentiellen Zusammenhang von Stickoxidbildung
und Flammentemperatur maßgeblich die Menge der gebildeten
Stickoxide. Die Verbrennung eines homogenen Brennstoff-Luft-Gemischs
erzielt demnach bei gleicher mittlerer Flammentemperatur
einen niedrigeren Stickoxidausstoß als die
Verbrennung eines inhomogenen Gemisches. Bei der Brennerausführung
in der oben zitierten Druckschrift wird eine räumlich
gute Mischung von Luft und Brennstoff erzielt.
Verglichen mit den klassischen Gasturbinenbrennstoffen Erdgas und Erdöl, die im Wesentlichen aus Kohlenwasserstoffverbindungen bestehen, sind die brennbaren Bestandteile von Synthesegas im Wesentlichen Kohlenmonoxid und Wasserstoff. Zum wahlweisen Betrieb einer Gasturbine mit Synthesegas aus einer Vergasungseinrichtung und einem Zweit- oder Ersatzbrennstoff muss der Brenner in der der Gasturbine zugeordneten Brennkammer dann als Zwei- oder Mehrbrennstoffbrenner ausgelegt sein, der sowohl mit dem Synthesegas als auch mit dem Zweitbrennstoff, z.B. Erdgas oder Heizöl je nach Bedarf beaufschlagt werden kann. Der jeweilige Brennstoff wird hierbei über eine Brennstoffpassage im Brenner der Verbrennungszone zugeführt.
Verglichen mit den klassischen Gasturbinenbrennstoffen Erdgas und Erdöl, die im Wesentlichen aus Kohlenwasserstoffverbindungen bestehen, sind die brennbaren Bestandteile von Synthesegas im Wesentlichen Kohlenmonoxid und Wasserstoff. Zum wahlweisen Betrieb einer Gasturbine mit Synthesegas aus einer Vergasungseinrichtung und einem Zweit- oder Ersatzbrennstoff muss der Brenner in der der Gasturbine zugeordneten Brennkammer dann als Zwei- oder Mehrbrennstoffbrenner ausgelegt sein, der sowohl mit dem Synthesegas als auch mit dem Zweitbrennstoff, z.B. Erdgas oder Heizöl je nach Bedarf beaufschlagt werden kann. Der jeweilige Brennstoff wird hierbei über eine Brennstoffpassage im Brenner der Verbrennungszone zugeführt.
Abhängig vom Vergasungsverfahren und Gesamtanlagenkonzept ist
der Heizwert des Synthesegases etwa fünf- bis zehnmal kleiner
verglichen mit dem Heizwert von Erdgas. Hauptbestandteil neben
CO und H2 sind inerte Anteile wie Stickstoff und/oder
Wasserdampf und gegebenenfalls noch Kohlendioxid. Bedingt
durch den kleinen Heizwert müssen demzufolge hohe Volumenströme
an Brenngas durch den Brenner der Brennkammer zugeführt
werden. Dies hat zur Folge, dass für die Verbrennung
von niederkalorische Brennstoffen - wie z.B. Synthesegas eine
oder mehrere gesonderte Brennstoffpassagen zur Verfügung gestellt
werden müssen. Ein derartiger Mehrpassagenbrenner, der
auch für den Synthesegasbetrieb geeignet ist, ist beispielsweise
in der EP 1 227 920 A1 offenbart.
Neben der stöchiometrischen Verbrennungstemperatur des Synthesegases
ist besonders die Mischungsgüte zwischen Synthesegas
und Luft an der Flammenfront eine wesentliche Einflussgröße
zur Vermeidung von Temperaturspitzen und somit zur Minimierung
der thermischen Stickoxidbildung.
Im Hinblick auf zunehmend strengere Anforderungen an den Ausstoß
von Stickoxiden gewinnt die Vormischverbrennung auch bei
der Verbrennung von niederkalorischen Gasen zunehmend an Bedeutung.
Aufgabe der Erfindung ist es daher einen Vormischbrenner zur
Verbrennung eines niederkalorischen Brenngases anzugeben. Eine
weitere Aufgabe der Erfindung besteht in der Angabe eines
Verfahrens zur Verbrennung eines niederkalorischen Brenngases.
Die erstgenannte Aufgabe wird erfindungsgemäß gelöst durch
einen Vormischbrenner zur Verbrennung eines niederkalorischen
Brenngases, mit einem sich entlang einer Brennerachse erstreckenden
Vormisch-Luftkanal über den Verbrennungsluft zuführbar
ist, und mit einer in dem Vormisch-Luftkanal angeordneten
Dralleinrichtung, wobei in Strömungsrichtung der Verbrennungsluft
stromab der Dralleinrichtung eine Eindüseeinrichtung
für das niederkalorische Brenngas angeordnet ist.
Die Erfindung geht von der Überlegung aus, dass zur Sicherstellung
eines schadstoffarmen Betriebs die Mischung von
Brennstoff und Verbrennungsluft von besonderer Bedeutung ist.
Temperaturspitzen können nur durch eine möglichst homogene
Mischung vermieden werden. Da bei niederkalorischen Brenngasen
hohe Volumenströme an Brenngas involviert sind, die mit
Verbrennungsluft zu mischen sind, stellte hier die Lösung der
Mischaufgabe die Fachwelt vor besondere Herausforderungen an
die konstruktive Auslegung derartiger Brenner.
Mit dem Synthesegas-Vormischbrenner der Erfindung wird erstmals
ein Brennerkonzept vorgeschlagen, welches die Schadstoffausstoß
bezogenen Vorteile des Vormischbetriebs auch für
niederkalorische Synthesegase als Brennstoff anwendbar macht.
Durch die Eindüsevorrichtung stromab der Dralleinrichtung erfolgt
die Eindüsung von unverdünnten bzw. teilverdünnten niederkalorischen
Brenngas in den bereits verdrallten Massenstrom.
Im räumlichen Bereich stromab der Drallvorrichtung erfolgt
dadurch eine weitgehend homogene Vermischung des Synthesegases
und dem verdrallten Luftmassenstromes. Die
Verbrennung des vorgemischten Brenngas-Luftgemisches erfolgt
stromab des Brenners bei einer der vorgemischten Luftzahl
entsprechenden Temperatur. Zur Stabilisierung der niederkalorischen
Vormischflamme kann - speziell im Teillastbereich -
ein kleiner Teilmassenstrom des niederkalorischen Brenngases
zuvor abgetrennt und im Brennraum über eine im Diffusionsbetrieb
betriebene Stützflamme zugeführt werden, z.B. etwa 5%
bis 20% des Gesamtvolumenstroms an Brenngas..
Durch diese Konstruktion mit der Eindüseeinrichtung stromab
der Dralleinrichtung sind ausreichend große Volumenströme von
niederkalorischen Brenngas mit der Verbrennungsluft mischbar,
wobei außerordentlich gute Mischungsergebnisse erzielbar
sind. Dies wirkt sich besonders vorteilhaft auf die Schadstoffbilanz
des Vormischbrenners aus.
Weiterhin von Vorteil ist, dass das bewährte Vormischverbrennungskonzept
für hochkalorische Brennstoffe wie Erdgas oder
Öl unverändert übernommen werden kann, womit eventuelle langwierige
Optimierungen und/oder konstruktive Änderungen nicht
notwendig sind. D.h., es ist möglich ein herkömmliches Verbrennungssystem,
das auf hochkalorische Brennstoffe ausgelegt
ist, mittels der an den Luftkanal strömungstechnisch angekoppelten
Eindüseeinrichtung durch eine zusätzliche Brennstoffpassage
für niederkalorische Brenngase zu erweitern, und zwar
ohne das die konstruktive Umsetzung einen nachteiligen Einfluss
auf das bestehende konventionelle Verbrennungssystem
hätte, z.B. hinsichtlich auftretender Druckverluste.
Somit kann der Vormischbrenner sowohl mit dem Synthesegas,
das beispielsweise aus Kohle, industriellen Rückständen oder
Abfall erzeugt wird, als auch mit einem Zweitbrennstoff, wie
z.B. Erdgas oder Öl, betrieben werden. Bei einem Synthesegas-Vormischbetrieb
wird lediglich über die Eindüseeinrichtung
stromab der Dralleinrichtung der niederkalorische Brennstoff
in den Vormisch-Luftkanal eingedüst, wobei in Folge der
drallbehafteten Verbrennungsluft eine besonders homogene Mischung
sichergestellt ist. Durch dieses Konzept sind auch
konstruktive Maßnahmen, die mit zusätzlichen Einbauten einhergehen,
vermieden, so dass insbesondere der verdrallte
Luftmassenstrom durch eventuelle Einbauten nicht beeinträchtigt
wird.
Durch den Vormischbrenner erfolgt die Verbrennung entsprechend
der eingestellten Luftzahl bei deutlich niedrigeren
Temperaturen; was letztendlich zu einer Minimierung der thermischen
Stickoxidbildung bei der Verbrennung des niederkalorischen
Brenngases führt.
In besonders vorteilhafter Ausgestaltung weist die Eindüseeinrichtung
eine Vielzahl von Einlassöffnungen für Brenngas
auf, die in den Vormisch-Luftkanal einmünden.
Vorzugsweise weist die Eindüseeinrichtung einen Gasverteilungsring
auf, der den Vormisch-Luftkanal radial auswärts umgibt.
Der Vormisch-Luftkanal ist dabei bevorzugt als Ringkanal
ausgebildet, der eine äußere Kanalwand aufweist, die mit
einer Vielzahl von Bohrungen durchsetzt ist, die mit dem Gasverteilungsring
in Strömungsverbindung stehen. Hierdurch wird
es erreicht, dass über den vollen Umfang des Ringkanals eine
Eindüsung von niederkalorischen Brenngas in die verdrallte
Verbrennungsluft gewährleistet ist. Je nach Anforderungen an
den Volumenstrom von niederkalorischen Brenngas ist der
Durchmesser der Bohrung, deren Anzahl und deren Verteilung an
der äußeren Kanalwand entsprechend auszulegen. Durch entsprechende
konstruktive Auslegung der Eindüseeinrichtung wird erreicht,
dass ein hinreichend großer Brenngas-Volumenstrom
eingedüst und damit ein stabiler Synthesegas-Vormischbetrieb
sichergestellt ist.
In bevorzugter Ausgestaltung verjüngt sich die äußere Kanalwand
konusartig in Strömungsrichtung der Verbrennungsluft.
Bedingt durch die Eindüsung des niederkalorischen Brenngases
durch den in den äußeren Konus eingebrachten Bohrungen kann
auf jegliche die Luftströmung negativ beeinflussende zusätzliche
Einbauten für die Eindüseeinrichtung verzichtet werden,
so dass der Betrieb auch mit konventionellen Brennstoffen
(Erdgas oder Heizöl) ohne Einschränkung bei Bedarf weiterhin
möglich ist.
Besonders bevorzugte Ausgestaltung ist der Vormischbrenner in
einer Brennkammer, beispielsweise in einer Ringbrennkammer,
eingesetzt. Eine derartige Brennkammer ist vorteilhafter Weise
als Brennkammer einer Gasturbine ausgestaltet, beispielsweise
als eine Ringbrennkammer einer stationären Gasturbine.
Die auf das Verfahren gerichtete Aufgabe wird erfindungsgemäß
gelöst durch ein Verfahren zur Verbrennung eines niederkalorischen
Brenngases, bei dem Verbrennungsluft ein Drall aufgeprägt,
niederkalorisches Brenngas in die verdrallte Verbrennungsluft
eingedüst und mit dieser vermischt, und das Gemisch
verbrannt wird.
Mit diesem Verfahren ist ein besonders homogenes Verbrennungsgemisch
erreichbar, wobei hohe Volumenströme an niederkalorischem
Brenngas mit der Verbrennungsluft mischbar sind.
Hierbei wird vorteilhafter Weise unverdünnte oder teilverdünntes
niederkalorisches Brenngas in die verdrallte Verbrennungsluft
eingedüst.
Als niederkalorisches Brenngas kommt ein vergaster fossiler
Brennstoff, insbesondere vergaste Kohle, besonders vorteilhaft
zum Einsatz. Das Verfahren wird vorzugsweise beim Betrieb
eines Gasturbinenbrenners durchgeführt, wobei ein Synthesegas,
das einen niederkalorischen Brennstoff darstellt,
im Vormischbetrieb verbrannt wird.
In der Zeichnung ist zur näheren Erläuterung ein Ausführungsbeispiel
der Erfindung dargestellt. Es zeigt:
- FIG 1
- ein Längsschnitt durch einen Vormischbrenner gemäß der Erfindung.
FIG 1 zeigt einen Vormischbrenner 1, der in etwa rotationssymmetrisch
bezüglich einer Brennerachse 12 ist. Ein entlang
der Brennerachse 12 gerichteter Pilotbrenner 9 mit einem
Brennstoff-Zufuhrkanal 8 und einem diesen konzentrisch umschließenden
Luftzufuhr-Ringkanal 7 ist konzentrisch umgeben
von einem Brennstoff-Ringkanal 3. Dieser Brennstoff-Ringkanal
3 ist teilweise konzentrisch umschlossen von einem Vormisch-Luftkanal
2. Der Vormisch-Luftkanal 2 ist als Ringkanal 14
ausgebildet, der eine äußere Kanalwand 15 aufweist. In diesem
Vormisch-Luftkanal 2 ist ein - schematisch dargestellter -
Kranz von Drallschaufeln 5 eingebaut, der eine Dralleinrichtung
bildet. Mindestens eine dieser Drallschaufeln 5 ist als
Hohlschaufel 5a ausgebildet. Sie weist einen durch mehrere
kleine Öffnungen gebildeten Einlass 6 für eine Brennstoffzuführung
auf. Die Hohlschaufel 5a ist dabei für die Zufuhr von
hochkalorischen Brennstoff 11, z.B. Erdgas oder Heizöl, ausgelegt.
Der Brennstoff-Ringkanal 3 mündet in diese Hohlschaufel
5a.
Der Vormischbrenner 1 kann über den Pilotbrenner 9 als Diffusionsbrenner
betrieben werden. Üblicherweise wird er aber als
Vormischbrenner eingesetzt, d.h., Brennstoff und Luft werden
zuerst gemischt und dann der Verbrennung zugeführt. Dabei
dient der Pilotbrenner 9 zur Aufrechterhaltung einer Pilotflamme,
die die Verbrennung während des Vormischbrennerbetriebes
bei einem eventuell wechselnden Brennstoff-Luftverhältnis
stabilisiert.
Bei der Verbrennung von hochkalorischen Brennstoff 11, d.h.
z.B. Erdgas oder Heizöl, werden Verbrennungsluft 10 und der
hochkalorische Brennstoff 11 im Vormisch-Luftkanal 2 gemischt
und anschließend der Verbrennung zugeführt. Im gezeigten Ausführungsbeispiel
wird dabei der hochkalorische Brennstoff 11
aus dem Brennstoff-Ringkanal 3 in eine Hohlschaufel 5a des
Drallschaufelkranzes 5 geleitet und von dort über den Einlass
6 in die Verbrennungsluft 10 im Vormisch-Luftkanal 2 eingeleitet.
Bei dem Vormischbrenner 1 der Erfindung ist darüber hinaus
wahlweise auch die Verbrennung eines niederkalorischen Brenngases
SG, beispielsweise eines Synthesegases aus einem Kohlevergasungsprozess,
möglich. Hierzu ist in Strömungsrichtung
der Verbrennungsluft 10 stromab von der Dralleinrichtung 5
eine Eindüseeinrichtung 13 für das niederkalorische Brenngas
SG vorgesehen. Die Eindüseeinrichtung 13 umfasst eine Vielzahl
von Einlassöffnungen 16 für das Brenngas SG. Die Einlassöffnungen
16 münden in den Vormisch-Luftkanal 2. Die Eindüseeinrichtung
13 weist einen Gasverteilungsring 17 auf, der
den Vormisch-Luftkanal 2 radial auswärts umgibt. Somit wird
erreicht, dass niederkalorisches Brenngas SG vollumfänglich
in den als Ringkanal 14 ausgebildeten Vormisch-Luftkanal 2
stromab der Dralleinrichtung 5 in den verteilten Verbrennungsluftstrom
10 eindüsbar ist. Die äußere Kanalwand 15 des
Ringkanals 14 ist hierbei mit einer Vielzahl von Bohrungen
durchsetzt, die mit dem Gasverteilungsring 17 in Strömungsverbindung
stehen. Auf diese Weise ist durch den Gasverteilungsring
17 auch eine Verteilerfunktion gewährleistet, so
dass niederkalorisches Brenngas SG mit dem erforderlichen
Druck und Volumenstrom bereitgestellt und durch die Vielzahl
von Bohrungen in der äußeren Kanalwand 15 der verdrallten
Verbrennungsluft 10 zugemischt werden kann. Vorteilhafter
Weise ist hierdurch eine besonders homogene und gleichmäßige
Vermischung von Verbrennungsluft 10 mit den niederkalorischen
Brenngas SG erreicht. Durch entsprechende konstruktive Auslegung
und strömungstechnische Dimensionierung wird erreicht,
dass mittels der Eindüseeinrichtung 13, respektive dem Gasverteilungsring
17, ein hinreichend großer Volumenstrom an
Brenngas SG zuführbar ist für den Synthesegas-Vormischbetrieb.
In Strömungsrichtung der Verbrennungsluft 10
verjüngt sich die äußere Kanalwand 15. Der Vormischbrenner 1
zur Verbrennung eines niederkalorischen Brenngases SG ist in
einer Brennkammer einer Gasturbine, beispielsweise einer
Ringbrennkammer einer stationären Gasturbine einsetzbar.
Mit dem Vormischbrenner 1 der Erfindung ist ein wahlweiser
Betrieb mit einem Synthesegas aus einer Vergasungseinrichtung
oder einem Zweit- oder Ersatzbrennstoff möglich, da der Vormischbrenner
1 als Zwei- oder Mehrbrennstoffbrenner ausgelegt
ist, der sowohl mit niederkalorischen Brenngas SG als auch
mit hochkalorischen Brennstoff 11, z.B. Erdgas oder Heizöl,
beaufschlagt werden kann.
Bei einem Betrieb des Vormischbrenners 1 mit niederkalorischen
Brenngas SG wird der Verbrennungsluft 10 ein Drall aufgeprägt
und das niederkalorische Brenngas SG in die verdrallte
Verbrennungsluft 10 eingedüst und mit dieser vermischt.
Dieses Gemisch wird anschließend verbrannt. Dabei kann auch
teilverdünntes niederkalorisches Brenngas SG in die verdrallte
Verbrennungsluft 10 eingedüst werden. Als niederkalorisches
Brenngas SG kommt vorteilhafter Weise ein vergaster
fossiler Brennstoff, insbesondere vergaste Kohle aus einer
Vergasungseinrichtung, zum Einsatz. Mit dem Vormischbrenner 1
ist besonders vorteilhaft ein Synthesegasbetrieb bei einer
Gasturbine durchführbar.
Der wesentliche Vorteil des erfindungsgemäßen Vormischbrenners
1 und des beschriebenen Verfahrens zur Verbrennung eines
niederkalorischen Brennstoffs SG besteht darin, dass das bewährte
Vormisch-Verbrennungskonzept für Erdgas und Öl (hochkalorische
Brennstoffe) unverändert übernommen werden kann.
Vorteilhafter Weise sind dabei eventuelle langwierige konstruktive
Brenneroptimierungen und/oder konstruktive Änderungen
nicht erforderlich. Der Vormischbrenner 1 wird lediglich
durch eine zusätzliche Brennstoffpassage für niederkalorische
Brenngase SG erweitert, ohne das die konstruktive Umsetzung
einen nennenswerten Einfluss auf den herkömmlichen Betrieb
des Verbrennungssystems mit hochkalorischen Brennstoffen hat.
Die vorgeschlagene Konstruktion ermöglicht besonders günstige
Mischungseigenschaften des niederkalorischen Brenngases SG
mit der Verbrennungsluft 10, wobei ein hinreichend großer
Durchsatz (Volumenstrom) an Synthesegas SG der Verbrennungsprozess
zugeführt werden kann.
Claims (11)
- Vormischbrenner(1) zur Verbrennung eines niederkalorischen Brenngases (SG), mit einem sich entlang einer Brennerachse (12) erstreckenden Vormisch-Luftkanal (2) über den Verbrennungsluft (10) zuführbar ist, und mit einer in dem Vormisch-Luftkanal (2) angeordneten Dralleinrichtung (5), wobei in Strömungsrichtung der Verbrennungsluft (10) stromab der Dralleinrichtung (5) eine Eindüseeinrichtung (13) für das niederkalorische Brenngas (SG) angeordnet ist.
- Vormischbrenner (10) nach Anspruch 1,
bei dem die Eindüseeinrichtung (13) eine Vielzahl von Einlassöffnungen (16) für Brenngas (B) aufweist, die in den Vormisch-Luftkanal (2) einmünden. - Vormischbrenner (10) nach Anspruch 1 oder 2,
bei dem die Eindüseeinrichtung (13) einen Gasverteilungsring (17) aufweist, der den Vormisch-Luftkanal (2) radial auswärts umgibt. - Vormischbrenner (10) nach Anspruch 1,2 oder 3,
bei dem der Vormisch-Luftkanal (2) als Ringkanal (14) ausgebildet ist, der eine äußere Kanalwand (15) aufweist, die mit einer Vielzahl von Bohrungen durchsetzt ist, die mit dem Gasverteilungsring (17) in Strömungsverbindung stehen. - Vormischbrenner (10) nach Anspruch 4, mit einer sich in Strömungsrichtung der Verbrennungsluft (10) konusartig verjüngenden äußeren Kanalwand (15).
- Brennkammer mit einem Vormischbrenner (1) nach einem der vorhergehenden Ansprüche.
- Gasturbine mit einer Brennkammer nach Anspruch 6.
- Verfahren zur Verbrennung eines niederkalorischen Brenngases (SG), bei dem Verbrennungsluft (10) ein Drall aufgeprägt, niederkalorisches Brenngas (B) in die verdrallte Verbrennungsluft (10) eingedüst und mit dieser vermischt, und das Gemisch verbrannt wird.
- Verfahren nach Anspruch 8,
bei dem teilverdünntes Brenngas (SG) in die verdrallte Verbrennungsluft (10) eingedüst wird. - Verfahren nach Anspruch 8 oder 9,
bei dem als niederkalorisches Brenngas (SG) ein vergaster fossiler Brennstoff, insbesondere vergaste Kohle, eingesetzt wird. - Verfahren nach Anspruch 8, 9 oder 10, das beim Betrieb eines Gasturbinenbrenners durchgeführt wird.
Priority Applications (6)
| Application Number | Priority Date | Filing Date | Title |
|---|---|---|---|
| EP04004137A EP1568942A1 (de) | 2004-02-24 | 2004-02-24 | Vormischbrenner sowie Verfahren zur Verbrennung eines niederkalorischen Brenngases |
| US10/590,379 US7448218B2 (en) | 2004-02-24 | 2005-02-15 | Premix burner and method for burning a low-calorie combustion gas |
| CN200580005907.6A CN100473905C (zh) | 2004-02-24 | 2005-02-15 | 用于燃烧低热量燃烧气体的预混合燃烧器以及方法 |
| PCT/EP2005/050656 WO2005080878A1 (de) | 2004-02-24 | 2005-02-15 | Vormischbrenner sowie verfahren zur verbrennung eines niederkalorischen brenngases |
| EP05708014A EP1723369B1 (de) | 2004-02-24 | 2005-02-15 | Vormischbrenner sowie verfahren zur verbrennung eines niederkalorischen brenngases |
| ES05708014T ES2287902T3 (es) | 2004-02-24 | 2005-02-15 | Quemador de premezcla asi como procedimiento para la combustion de un combustible gaseoso pobre. |
Applications Claiming Priority (1)
| Application Number | Priority Date | Filing Date | Title |
|---|---|---|---|
| EP04004137A EP1568942A1 (de) | 2004-02-24 | 2004-02-24 | Vormischbrenner sowie Verfahren zur Verbrennung eines niederkalorischen Brenngases |
Publications (1)
| Publication Number | Publication Date |
|---|---|
| EP1568942A1 true EP1568942A1 (de) | 2005-08-31 |
Family
ID=34745867
Family Applications (2)
| Application Number | Title | Priority Date | Filing Date |
|---|---|---|---|
| EP04004137A Withdrawn EP1568942A1 (de) | 2004-02-24 | 2004-02-24 | Vormischbrenner sowie Verfahren zur Verbrennung eines niederkalorischen Brenngases |
| EP05708014A Expired - Lifetime EP1723369B1 (de) | 2004-02-24 | 2005-02-15 | Vormischbrenner sowie verfahren zur verbrennung eines niederkalorischen brenngases |
Family Applications After (1)
| Application Number | Title | Priority Date | Filing Date |
|---|---|---|---|
| EP05708014A Expired - Lifetime EP1723369B1 (de) | 2004-02-24 | 2005-02-15 | Vormischbrenner sowie verfahren zur verbrennung eines niederkalorischen brenngases |
Country Status (5)
| Country | Link |
|---|---|
| US (1) | US7448218B2 (de) |
| EP (2) | EP1568942A1 (de) |
| CN (1) | CN100473905C (de) |
| ES (1) | ES2287902T3 (de) |
| WO (1) | WO2005080878A1 (de) |
Cited By (8)
| Publication number | Priority date | Publication date | Assignee | Title |
|---|---|---|---|---|
| EP2042807A1 (de) * | 2007-09-25 | 2009-04-01 | Siemens Aktiengesellschaft | Vormischstufe für einen Gasturbinenbrenner |
| WO2009068427A1 (de) * | 2007-11-27 | 2009-06-04 | Alstom Technology Ltd | Vorrichtung und verfahren zum betrieb einer gasturbinenanlage unter verwendung eines zweiten, wasserstoffreichen brennstoffs |
| CN101000135B (zh) * | 2006-01-09 | 2011-09-07 | 斯奈克玛 | 用于燃烧室的多方式喷油器和燃烧室以及喷气发动机 |
| EP1909030A3 (de) * | 2006-09-29 | 2013-01-02 | General Electric Company | Verfahren und Vorrichtung zur Erleichterung des Verringerns von Verbrennungsschwingungen |
| WO2015150089A1 (de) * | 2014-04-01 | 2015-10-08 | Siemens Aktiengesellschaft | Doppelbrennstoff-brenner für eine gasturbine |
| EP3320268B1 (de) * | 2015-07-06 | 2020-04-29 | Siemens Aktiengesellschaft | Brenner für eine gasturbine und verfahren zum betrieb des brenners |
| CN112325287A (zh) * | 2020-11-10 | 2021-02-05 | 华帝股份有限公司 | 一种燃气预混结构、燃烧器及预混燃气热水器 |
| CN119508848A (zh) * | 2024-12-03 | 2025-02-25 | 北京航空航天大学 | 双燃料中心分级多焰燃烧室 |
Families Citing this family (26)
| Publication number | Priority date | Publication date | Assignee | Title |
|---|---|---|---|---|
| CA2455011C (en) | 2004-01-09 | 2011-04-05 | Suncor Energy Inc. | Bituminous froth inline steam injection processing |
| EP1645805A1 (de) * | 2004-10-11 | 2006-04-12 | Siemens Aktiengesellschaft | Brenner für fluidische Brennstoffe und Verfahren zum Betreiben eines derartigen Brenners |
| DE102005061486B4 (de) | 2005-12-22 | 2018-07-12 | Ansaldo Energia Switzerland AG | Verfahren zum Betreiben einer Brennkammer einer Gasturbine |
| DE102006051286A1 (de) * | 2006-10-26 | 2008-04-30 | Deutsches Zentrum für Luft- und Raumfahrt e.V. | Brennervorrichtung |
| JP5115372B2 (ja) * | 2008-07-11 | 2013-01-09 | トヨタ自動車株式会社 | ガスタービンの運転制御装置 |
| EP2161502A1 (de) | 2008-09-05 | 2010-03-10 | Siemens Aktiengesellschaft | Vormischbrenner zur Verbrennung eines niederkalorischen sowie hochkalorischen Brennstoffes |
| EP2312215A1 (de) * | 2008-10-01 | 2011-04-20 | Siemens Aktiengesellschaft | Brenner und Verfahren zum Betrieb eines Brenners |
| US8220272B2 (en) * | 2008-12-04 | 2012-07-17 | General Electric Company | Combustor housing for combustion of low-BTU fuel gases and methods of making and using the same |
| US8161751B2 (en) * | 2009-04-30 | 2012-04-24 | General Electric Company | High volume fuel nozzles for a turbine engine |
| EP2270398A1 (de) * | 2009-06-30 | 2011-01-05 | Siemens Aktiengesellschaft | Brenner, insbesondere für Gasturbinen |
| US8683804B2 (en) * | 2009-11-13 | 2014-04-01 | General Electric Company | Premixing apparatus for fuel injection in a turbine engine |
| CN101832556B (zh) * | 2010-06-03 | 2012-02-08 | 蓝星化工有限责任公司 | 一种以混合燃气为燃料的燃烧器 |
| ITTO20101093A1 (it) * | 2010-12-30 | 2012-07-01 | Ansaldo Energia Spa | Gruppo bruciatore, impianto per la produzione di energia a turbina a gas comprendente detto gruppo bruciatore e metodo per operare detto gruppo bruciatore |
| US9163841B2 (en) * | 2011-09-23 | 2015-10-20 | Siemens Aktiengesellschaft | Cast manifold for dry low NOx gas turbine engine |
| CN102537959B (zh) * | 2012-02-28 | 2014-08-27 | 东方电气集团东方锅炉股份有限公司 | 一种旋流、直流结合型式的气体燃烧器 |
| US9228747B2 (en) | 2013-03-12 | 2016-01-05 | Pratt & Whitney Canada Corp. | Combustor for gas turbine engine |
| US9127843B2 (en) | 2013-03-12 | 2015-09-08 | Pratt & Whitney Canada Corp. | Combustor for gas turbine engine |
| US9541292B2 (en) | 2013-03-12 | 2017-01-10 | Pratt & Whitney Canada Corp. | Combustor for gas turbine engine |
| US9366187B2 (en) | 2013-03-12 | 2016-06-14 | Pratt & Whitney Canada Corp. | Slinger combustor |
| US9958161B2 (en) | 2013-03-12 | 2018-05-01 | Pratt & Whitney Canada Corp. | Combustor for gas turbine engine |
| MX370842B (es) | 2013-06-17 | 2020-01-08 | Schlumberger Technology Bv | Montaje de quemador para encender gases de bajo contenido calorifico. |
| JP5980186B2 (ja) * | 2013-09-26 | 2016-08-31 | 三菱重工業株式会社 | バーナー、および、石炭改質プラント |
| US20150184848A1 (en) * | 2013-12-26 | 2015-07-02 | Rinnai Corporation | Tubular Burner |
| JP6102009B2 (ja) * | 2015-02-27 | 2017-03-29 | 大陽日酸株式会社 | 気体燃料バーナ、及び気体燃料バーナによる加熱方法 |
| CN109237514B (zh) * | 2018-08-08 | 2024-02-23 | 中国华能集团有限公司 | 一种用于燃气轮机的双管路气体燃料燃烧器 |
| US11946644B1 (en) * | 2023-03-31 | 2024-04-02 | Solar Turbines Incorporated | Multi-pot swirl injector |
Citations (5)
| Publication number | Priority date | Publication date | Assignee | Title |
|---|---|---|---|---|
| US4761948A (en) * | 1987-04-09 | 1988-08-09 | Solar Turbines Incorporated | Wide range gaseous fuel combustion system for gas turbine engines |
| DE4212810A1 (de) * | 1991-04-25 | 1992-10-29 | Siemens Ag | Brenner mit zusaetzlicher zufuehrungsmoeglichkeit fuer fluidische stoffe, insbesondere fuer gasturbinen, und verfahren zu seinem betrieb |
| EP0625673A2 (de) * | 1993-05-17 | 1994-11-23 | ABB Management AG | Vormischbrenner zum Betrieb einer Brennkraftmaschine, einer Brennkammer einer Gasturbogruppe oder Feuerungsanlage |
| US5829967A (en) * | 1995-03-24 | 1998-11-03 | Asea Brown Boveri Ag | Combustion chamber with two-stage combustion |
| EP0908671A1 (de) * | 1997-10-08 | 1999-04-14 | Abb Research Ltd. | Verfahren zur Verbrennung von gasförmigen, flüssigen sowie mittel-oder niederkalorischen Brennstoffen in einem Brenner |
Family Cites Families (9)
| Publication number | Priority date | Publication date | Assignee | Title |
|---|---|---|---|---|
| US4498288A (en) * | 1978-10-13 | 1985-02-12 | General Electric Company | Fuel injection staged sectoral combustor for burning low-BTU fuel gas |
| DE4409918A1 (de) * | 1994-03-23 | 1995-09-28 | Abb Management Ag | Brenner zum Betrieb einer Brennkammer |
| US5680766A (en) * | 1996-01-02 | 1997-10-28 | General Electric Company | Dual fuel mixer for gas turbine combustor |
| US5850732A (en) * | 1997-05-13 | 1998-12-22 | Capstone Turbine Corporation | Low emissions combustion system for a gas turbine engine |
| US6360776B1 (en) * | 2000-11-01 | 2002-03-26 | Rolls-Royce Corporation | Apparatus for premixing in a gas turbine engine |
| EP1277920A1 (de) | 2001-07-19 | 2003-01-22 | Siemens Aktiengesellschaft | Verfahren zum Betrieb eines Brenners einer Gasturbine sowie Kraftwerksanlage |
| WO2003036167A1 (de) | 2001-10-19 | 2003-05-01 | Alstom Technology Ltd | Brenner für synthesegas |
| CN2522746Y (zh) * | 2002-01-30 | 2002-11-27 | 大庆石油管理局 | 自然通风自动低压天然气燃烧器 |
| EP1504222B1 (de) * | 2002-05-16 | 2007-07-11 | Alstom Technology Ltd | Vormischbrenner |
-
2004
- 2004-02-24 EP EP04004137A patent/EP1568942A1/de not_active Withdrawn
-
2005
- 2005-02-15 US US10/590,379 patent/US7448218B2/en not_active Expired - Fee Related
- 2005-02-15 WO PCT/EP2005/050656 patent/WO2005080878A1/de not_active Ceased
- 2005-02-15 CN CN200580005907.6A patent/CN100473905C/zh not_active Expired - Fee Related
- 2005-02-15 EP EP05708014A patent/EP1723369B1/de not_active Expired - Lifetime
- 2005-02-15 ES ES05708014T patent/ES2287902T3/es not_active Expired - Lifetime
Patent Citations (6)
| Publication number | Priority date | Publication date | Assignee | Title |
|---|---|---|---|---|
| US4761948A (en) * | 1987-04-09 | 1988-08-09 | Solar Turbines Incorporated | Wide range gaseous fuel combustion system for gas turbine engines |
| DE4212810A1 (de) * | 1991-04-25 | 1992-10-29 | Siemens Ag | Brenner mit zusaetzlicher zufuehrungsmoeglichkeit fuer fluidische stoffe, insbesondere fuer gasturbinen, und verfahren zu seinem betrieb |
| US5451160A (en) * | 1991-04-25 | 1995-09-19 | Siemens Aktiengesellschaft | Burner configuration, particularly for gas turbines, for the low-pollutant combustion of coal gas and other fuels |
| EP0625673A2 (de) * | 1993-05-17 | 1994-11-23 | ABB Management AG | Vormischbrenner zum Betrieb einer Brennkraftmaschine, einer Brennkammer einer Gasturbogruppe oder Feuerungsanlage |
| US5829967A (en) * | 1995-03-24 | 1998-11-03 | Asea Brown Boveri Ag | Combustion chamber with two-stage combustion |
| EP0908671A1 (de) * | 1997-10-08 | 1999-04-14 | Abb Research Ltd. | Verfahren zur Verbrennung von gasförmigen, flüssigen sowie mittel-oder niederkalorischen Brennstoffen in einem Brenner |
Cited By (11)
| Publication number | Priority date | Publication date | Assignee | Title |
|---|---|---|---|---|
| CN101000135B (zh) * | 2006-01-09 | 2011-09-07 | 斯奈克玛 | 用于燃烧室的多方式喷油器和燃烧室以及喷气发动机 |
| EP1909030A3 (de) * | 2006-09-29 | 2013-01-02 | General Electric Company | Verfahren und Vorrichtung zur Erleichterung des Verringerns von Verbrennungsschwingungen |
| EP2042807A1 (de) * | 2007-09-25 | 2009-04-01 | Siemens Aktiengesellschaft | Vormischstufe für einen Gasturbinenbrenner |
| WO2009040218A1 (de) * | 2007-09-25 | 2009-04-02 | Siemens Aktiengesellschaft | Vormischstufe für einen gasturbinenbrenner |
| WO2009068427A1 (de) * | 2007-11-27 | 2009-06-04 | Alstom Technology Ltd | Vorrichtung und verfahren zum betrieb einer gasturbinenanlage unter verwendung eines zweiten, wasserstoffreichen brennstoffs |
| US10208960B2 (en) | 2007-11-27 | 2019-02-19 | Ansaldo Energia Switzerland AG | Method for operating a gas turbine installation and equipment for carrying out the method |
| WO2015150089A1 (de) * | 2014-04-01 | 2015-10-08 | Siemens Aktiengesellschaft | Doppelbrennstoff-brenner für eine gasturbine |
| EP3320268B1 (de) * | 2015-07-06 | 2020-04-29 | Siemens Aktiengesellschaft | Brenner für eine gasturbine und verfahren zum betrieb des brenners |
| US10941940B2 (en) | 2015-07-06 | 2021-03-09 | Siemens Energy Global GmbH & Co. KG | Burner for a gas turbine and method for operating the burner |
| CN112325287A (zh) * | 2020-11-10 | 2021-02-05 | 华帝股份有限公司 | 一种燃气预混结构、燃烧器及预混燃气热水器 |
| CN119508848A (zh) * | 2024-12-03 | 2025-02-25 | 北京航空航天大学 | 双燃料中心分级多焰燃烧室 |
Also Published As
| Publication number | Publication date |
|---|---|
| CN1922440A (zh) | 2007-02-28 |
| US20070275337A1 (en) | 2007-11-29 |
| WO2005080878A1 (de) | 2005-09-01 |
| US7448218B2 (en) | 2008-11-11 |
| EP1723369A1 (de) | 2006-11-22 |
| ES2287902T3 (es) | 2007-12-16 |
| EP1723369B1 (de) | 2007-07-18 |
| CN100473905C (zh) | 2009-04-01 |
Similar Documents
| Publication | Publication Date | Title |
|---|---|---|
| EP1568942A1 (de) | Vormischbrenner sowie Verfahren zur Verbrennung eines niederkalorischen Brenngases | |
| EP0710797B1 (de) | Verfahren und Vorrichtung zum Betrieb eines Vormischbrenners | |
| EP2329189B1 (de) | Brennstoffdüse | |
| DE3432971C2 (de) | ||
| EP2329196B1 (de) | Brenner und verfahren zum betrieb eines brenners | |
| DE60016345T2 (de) | Vormischkammer für Gasturbinen | |
| DE102010037412B4 (de) | Zweibrennstoffdüse für eine Turbomaschine | |
| DE102009025812A1 (de) | Coanda-Einspritzsystem für axial gestufte Niedrigemissionsbrennkammern | |
| DE102008044422A1 (de) | Verfahren und Vorrichtung für die Verbrennung von Brennstoff in einer Gasturbine | |
| WO2009016079A1 (de) | Vormischbrenner und verfahren zum betrieb eines vormischbrenners | |
| EP0995066B1 (de) | Brenneranordnung für eine feuerungsanlage, insbesondere eine gasturbinenbrennkammer | |
| WO2003036167A1 (de) | Brenner für synthesegas | |
| DE4446842A1 (de) | Verfahren und Vorrichtung zum Zuleiten eines gasförmigen Brennstoffs in einen Vormischbrenner | |
| EP1614967B1 (de) | Verfahren und Vormischverbrennungssystem | |
| CH698098B1 (de) | Vormischvorrichtung, Brennkammer und Verfahren zum Betreiben einer Brennkammer. | |
| EP1800062B1 (de) | Brenner zur verbrennung eines niederkalorischen brenngases und verfahren zum betrieb eines brenners | |
| EP1800061B1 (de) | Brenner für fluidische brennstoffe und verfahren zum betreiben eines derartigen brenners | |
| EP1754937B1 (de) | Brennkopf und Verfahren zur Verbrennung von Brennstoff | |
| EP1555484B1 (de) | Verfahren zum Betreiben einer Gasturbinen-Brennkammer | |
| DE10233161B4 (de) | Brenner und Pilotbrenner | |
| CH701905A1 (de) | Verfahren zum Verbrennen wasserstoffreicher, gasförmiger Brennstoffe in einem Brenner sowie Brenner zur Durchführung des Verfahrens. | |
| EP2703719A1 (de) | Brennkammer für eine Gasturbine, Gasturbine und Verfahren | |
| DE4444125A1 (de) | Verfahren zur schadstoffarmen Verbrennung | |
| EP2244015A1 (de) | Vormischbrenner | |
| EP2169308A1 (de) | Brennstoffzufuhr und Verfahren zur Brennstoffeindüsung |
Legal Events
| Date | Code | Title | Description |
|---|---|---|---|
| PUAI | Public reference made under article 153(3) epc to a published international application that has entered the european phase |
Free format text: ORIGINAL CODE: 0009012 |
|
| AK | Designated contracting states |
Kind code of ref document: A1 Designated state(s): AT BE BG CH CY CZ DE DK EE ES FI FR GB GR HU IE IT LI LU MC NL PT RO SE SI SK TR |
|
| AX | Request for extension of the european patent |
Extension state: AL LT LV MK |
|
| AKX | Designation fees paid | ||
| STAA | Information on the status of an ep patent application or granted ep patent |
Free format text: STATUS: THE APPLICATION IS DEEMED TO BE WITHDRAWN |
|
| 18D | Application deemed to be withdrawn |
Effective date: 20060301 |
|
| REG | Reference to a national code |
Ref country code: DE Ref legal event code: 8566 |