EP1559849A2 - Kunststoffprofil zum Befestigen von Elementen in Wänden oder dergleichen - Google Patents

Kunststoffprofil zum Befestigen von Elementen in Wänden oder dergleichen Download PDF

Info

Publication number
EP1559849A2
EP1559849A2 EP04105817A EP04105817A EP1559849A2 EP 1559849 A2 EP1559849 A2 EP 1559849A2 EP 04105817 A EP04105817 A EP 04105817A EP 04105817 A EP04105817 A EP 04105817A EP 1559849 A2 EP1559849 A2 EP 1559849A2
Authority
EP
European Patent Office
Prior art keywords
profile
notches
orifices
walls
plastic material
Prior art date
Legal status (The legal status is an assumption and is not a legal conclusion. Google has not performed a legal analysis and makes no representation as to the accuracy of the status listed.)
Withdrawn
Application number
EP04105817A
Other languages
English (en)
French (fr)
Other versions
EP1559849A3 (de
Inventor
Ramon Ceravalls Pujol
Nuria Lopez Puche
Current Assignee (The listed assignees may be inaccurate. Google has not performed a legal analysis and makes no representation or warranty as to the accuracy of the list.)
Individual
Original Assignee
Individual
Priority date (The priority date is an assumption and is not a legal conclusion. Google has not performed a legal analysis and makes no representation as to the accuracy of the date listed.)
Filing date
Publication date
Application filed by Individual filed Critical Individual
Publication of EP1559849A2 publication Critical patent/EP1559849A2/de
Publication of EP1559849A3 publication Critical patent/EP1559849A3/de
Withdrawn legal-status Critical Current

Links

Images

Classifications

    • AHUMAN NECESSITIES
    • A47FURNITURE; DOMESTIC ARTICLES OR APPLIANCES; COFFEE MILLS; SPICE MILLS; SUCTION CLEANERS IN GENERAL
    • A47BTABLES; DESKS; OFFICE FURNITURE; CABINETS; DRAWERS; GENERAL DETAILS OF FURNITURE
    • A47B96/00Details of cabinets, racks or shelf units not covered by a single one of groups A47B43/00 - A47B95/00; General details of furniture
    • A47B96/14Bars, uprights, struts, or like supports, for cabinets, brackets, or the like
    • A47B96/1466Bars, uprights, struts, or like supports, for cabinets, brackets, or the like with longitudinal grooves
    • A47B96/1475Bars, uprights, struts, or like supports, for cabinets, brackets, or the like with longitudinal grooves and perforations
    • EFIXED CONSTRUCTIONS
    • E04BUILDING
    • E04FFINISHING WORK ON BUILDINGS, e.g. STAIRS, FLOORS
    • E04F13/00Coverings or linings, e.g. for walls or ceilings
    • E04F13/07Coverings or linings, e.g. for walls or ceilings composed of covering or lining elements; Sub-structures therefor; Fastening means therefor
    • E04F13/08Coverings or linings, e.g. for walls or ceilings composed of covering or lining elements; Sub-structures therefor; Fastening means therefor composed of a plurality of similar covering or lining elements
    • E04F13/0801Separate fastening elements
    • E04F13/0803Separate fastening elements with load-supporting elongated furring elements between wall and covering elements
    • EFIXED CONSTRUCTIONS
    • E04BUILDING
    • E04FFINISHING WORK ON BUILDINGS, e.g. STAIRS, FLOORS
    • E04F19/00Other details of constructional parts for finishing work on buildings
    • E04F19/02Borders; Finishing strips, e.g. beadings; Light coves
    • E04F19/06Borders; Finishing strips, e.g. beadings; Light coves specially designed for securing panels or masking the edges of wall- or floor-covering elements

Definitions

  • the present invention relates to a profile of plastic material for fixing elements in walls and the like.
  • This kind of profiles usually has a 'C'-shaped cross section. This shape allows screwing or nailing the profile to the wall by its bottom, and using the lateral flanges to fix a sliding screw or a bridle at any point along the profile.
  • Profiles of this kind which can be manually cut have been designed, in such a way that the user can choose the length of each portion of profile that he needs without needing to use cutting devices.
  • profiles are made from a metallic sheet which is punched, forming a plurality of orifices which will be used to fix the profile to the wall. Punching the sheet every certain distance forms an orifice wider than the others, which will be used as a fracture point when the profile is manually cut.
  • the sheet is folded by its lateral ends and the profile is formed, the orifices being placed in the bottom of it. Therefore, when the profile has to be cut, it is broken by the points corresponding to the wider orifices, which span almost all the width of the bottom of the profile.
  • the aim of the present invention is to solve the disadvantages that have the devices known in the art, providing a profile of plastic material for fixing elements in walls or the like, which comprises a substantially 'C'-shaped cross section defined by a bottom and a pair of lateral flanges, which is characterized in that the profile comprises, in the lateral flanges, a plurality of notches for breaking it.
  • the bottom of the profile comprises a plurality of orifices for fixing the profile to a wall or the like.
  • the profile is easily fixed by its bottom to the wall using screws or nails.
  • the orifices closer to the notches are wider.
  • the fracture cross section is smaller, and, therefore, the effort that the user has to carry out to break the profile is also decreased.
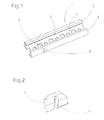
  • the profile 1 has a 'C'-shaped section, with a bottom 2 and a pair of lateral 'L'-shaped parallel flanges 3.
  • Each flange 3 has fracture notches 4 every certain distance. These notches 4 are situated each in front of the other in each flange 3 to make the fracture of the profile 1 possible.
  • the bottom 2 of the profile 1 has a plurality of orifices 5 for fixing it by screwing or nailing it to a wall or the like.
  • the notches 4 decrease the cross section of the profile 1 in the fracture zone. Moreover, the orifices 6 situated closer to the notches are wider than the other. This facilitates breaking the profile 1 in said zone.
  • the profile 1 can be manually broken by bending it, without needing to use cutting devices.
  • a suitable distance between the notches will be provided according to the use requirements of each profile 1.

Landscapes

  • Engineering & Computer Science (AREA)
  • Architecture (AREA)
  • Civil Engineering (AREA)
  • Structural Engineering (AREA)
  • Connection Of Plates (AREA)
  • Food-Manufacturing Devices (AREA)
EP04105817A 2004-01-29 2004-11-16 Kunststoffprofil zum Befestigen von Elementen in Wänden oder dergleichen Withdrawn EP1559849A3 (de)

Applications Claiming Priority (2)

Application Number Priority Date Filing Date Title
ES200400179U 2004-01-29
ES200400179U ES1056645Y (es) 2004-01-29 2004-01-29 Perfil de material plastico para la fijacion de elementos en paredes o similares

Publications (2)

Publication Number Publication Date
EP1559849A2 true EP1559849A2 (de) 2005-08-03
EP1559849A3 EP1559849A3 (de) 2008-05-14

Family

ID=32187509

Family Applications (1)

Application Number Title Priority Date Filing Date
EP04105817A Withdrawn EP1559849A3 (de) 2004-01-29 2004-11-16 Kunststoffprofil zum Befestigen von Elementen in Wänden oder dergleichen

Country Status (2)

Country Link
EP (1) EP1559849A3 (de)
ES (1) ES1056645Y (de)

Cited By (1)

* Cited by examiner, † Cited by third party
Publication number Priority date Publication date Assignee Title
EP1801313A1 (de) * 2005-12-23 2007-06-27 Richard Anthony Whiting Montagesystem für Bodenbeläge, insbesondere Profilschienensystem für Bodenbeläge

Family Cites Families (4)

* Cited by examiner, † Cited by third party
Publication number Priority date Publication date Assignee Title
AT399641B (de) * 1990-06-27 1995-06-26 Mesner Walter Mehrzweckprofilsystem
DE19646857A1 (de) * 1996-11-13 1998-05-20 Gerd Stuckenbrok Decken- und Wandprofil zur universellen Verwendung im Trockenbau
IT1290903B1 (it) * 1997-01-29 1998-12-14 Massimo Ferrante Metodo di fabbricazione di profilati rigidi snodabili manualmente, impiegabili come ossatura di pareti, contropareti, controsoffitti e
DE20206281U1 (de) * 2002-04-20 2002-08-01 Richter-System GmbH & Co. KG, 64347 Griesheim Tragprofil für mehrere C-Profilschienen

Cited By (1)

* Cited by examiner, † Cited by third party
Publication number Priority date Publication date Assignee Title
EP1801313A1 (de) * 2005-12-23 2007-06-27 Richard Anthony Whiting Montagesystem für Bodenbeläge, insbesondere Profilschienensystem für Bodenbeläge

Also Published As

Publication number Publication date
ES1056645Y (es) 2004-08-01
ES1056645U (es) 2004-04-16
EP1559849A3 (de) 2008-05-14

Similar Documents

Publication Publication Date Title
US20060230687A1 (en) Solid edge gutter screen
US7669374B2 (en) Beam for a drywall ceiling soffit
ES2287591T3 (es) Viga recta para usar en falsos techos curvos y metodos para fabricarla.
WO2004097136A3 (en) Vented soffit panel
ATE269922T1 (de) Verformbare leiste für eine verkleidungsplatte
DE50100471D1 (de) Profilleiste für den übergang zwischen bauteil und gebäudefläche
EP1559849A2 (de) Kunststoffprofil zum Befestigen von Elementen in Wänden oder dergleichen
AU2010353548B2 (en) Profile element
ATE494784T1 (de) Toastbrotscheibe, toastbrot, verfahren zu dessen herstellung und dafür geeigneter brotkasten
US20090019804A1 (en) Tracks, methods for use thereof, and apparatus, system, and method for manufacture
ES2586809T3 (es) Guía deformable para particiones en general
ATE276854T1 (de) Führungsschiene für geräte zur beton- bzw. gesteinsbohrung
WO2009059731A8 (de) Metallprofil
EP1788681B9 (de) Einrastkabelrinnendehnung
EP1445392A3 (de) Baurahmenprofil
EP2706163A2 (de) Invertiertes T-förmiges Profil für eine Unterdeckenkonstruktion für abgehängte Decken
GB2448411A (en) Cladding system
EP4212225B1 (de) Taktiler führungsstreifen
US1484070A (en) Metal structural member
EP1445398A1 (de) Montagesystem für die Verkleidung einer Gebäudekonstruktion
US20050266736A1 (en) Fixing rail of terminal block for electric/electronic components
JP2004011317A (ja) グレーチング
GB0510467D0 (en) Improved carton handle
AU2002323737B2 (en) A multiple flexible track
WO2006128927A3 (es) Jaula de estructura plegable, reutilizable y/o desechable con cajón receptor de excrementos extraíble

Legal Events

Date Code Title Description
PUAI Public reference made under article 153(3) epc to a published international application that has entered the european phase

Free format text: ORIGINAL CODE: 0009012

AK Designated contracting states

Kind code of ref document: A2

Designated state(s): AT BE BG CH CY CZ DE DK EE ES FI FR GB GR HU IE IS IT LI LU MC NL PL PT RO SE SI SK TR

AX Request for extension of the european patent

Extension state: AL HR LT LV MK YU

PUAL Search report despatched

Free format text: ORIGINAL CODE: 0009013

AK Designated contracting states

Kind code of ref document: A3

Designated state(s): AT BE BG CH CY CZ DE DK EE ES FI FR GB GR HU IE IS IT LI LU MC NL PL PT RO SE SI SK TR

AX Request for extension of the european patent

Extension state: AL HR LT LV MK YU

AKX Designation fees paid
REG Reference to a national code

Ref country code: DE

Ref legal event code: 8566

STAA Information on the status of an ep patent application or granted ep patent

Free format text: STATUS: THE APPLICATION IS DEEMED TO BE WITHDRAWN

18D Application deemed to be withdrawn

Effective date: 20081115