EP1188902A1 - Bauteil mit einer prallgekühlten Wand - Google Patents
Bauteil mit einer prallgekühlten Wand Download PDFInfo
- Publication number
- EP1188902A1 EP1188902A1 EP00120031A EP00120031A EP1188902A1 EP 1188902 A1 EP1188902 A1 EP 1188902A1 EP 00120031 A EP00120031 A EP 00120031A EP 00120031 A EP00120031 A EP 00120031A EP 1188902 A1 EP1188902 A1 EP 1188902A1
- Authority
- EP
- European Patent Office
- Prior art keywords
- wall
- cooling
- component
- cross flow
- cold side
- Prior art date
- Legal status (The legal status is an assumption and is not a legal conclusion. Google has not performed a legal analysis and makes no representation as to the accuracy of the status listed.)
- Withdrawn
Links
- 238000001816 cooling Methods 0.000 claims abstract description 80
- 239000012809 cooling fluid Substances 0.000 claims abstract description 15
- 238000011144 upstream manufacturing Methods 0.000 claims description 2
- 239000007789 gas Substances 0.000 description 35
- 238000005266 casting Methods 0.000 description 3
- 239000000112 cooling gas Substances 0.000 description 1
- 230000003116 impacting effect Effects 0.000 description 1
- 230000007246 mechanism Effects 0.000 description 1
- 230000003014 reinforcing effect Effects 0.000 description 1
Images
Classifications
-
- F—MECHANICAL ENGINEERING; LIGHTING; HEATING; WEAPONS; BLASTING
- F01—MACHINES OR ENGINES IN GENERAL; ENGINE PLANTS IN GENERAL; STEAM ENGINES
- F01D—NON-POSITIVE DISPLACEMENT MACHINES OR ENGINES, e.g. STEAM TURBINES
- F01D5/00—Blades; Blade-carrying members; Heating, heat-insulating, cooling or antivibration means on the blades or the members
- F01D5/12—Blades
- F01D5/14—Form or construction
- F01D5/18—Hollow blades, i.e. blades with cooling or heating channels or cavities; Heating, heat-insulating or cooling means on blades
- F01D5/187—Convection cooling
- F01D5/188—Convection cooling with an insert in the blade cavity to guide the cooling fluid, e.g. forming a separation wall
- F01D5/189—Convection cooling with an insert in the blade cavity to guide the cooling fluid, e.g. forming a separation wall the insert having a tubular cross-section, e.g. airfoil shape
-
- F—MECHANICAL ENGINEERING; LIGHTING; HEATING; WEAPONS; BLASTING
- F01—MACHINES OR ENGINES IN GENERAL; ENGINE PLANTS IN GENERAL; STEAM ENGINES
- F01D—NON-POSITIVE DISPLACEMENT MACHINES OR ENGINES, e.g. STEAM TURBINES
- F01D25/00—Component parts, details, or accessories, not provided for in, or of interest apart from, other groups
- F01D25/08—Cooling; Heating; Heat-insulation
- F01D25/12—Cooling
-
- F—MECHANICAL ENGINEERING; LIGHTING; HEATING; WEAPONS; BLASTING
- F05—INDEXING SCHEMES RELATING TO ENGINES OR PUMPS IN VARIOUS SUBCLASSES OF CLASSES F01-F04
- F05D—INDEXING SCHEME FOR ASPECTS RELATING TO NON-POSITIVE-DISPLACEMENT MACHINES OR ENGINES, GAS-TURBINES OR JET-PROPULSION PLANTS
- F05D2240/00—Components
- F05D2240/10—Stators
- F05D2240/12—Fluid guiding means, e.g. vanes
- F05D2240/126—Baffles or ribs
-
- F—MECHANICAL ENGINEERING; LIGHTING; HEATING; WEAPONS; BLASTING
- F05—INDEXING SCHEMES RELATING TO ENGINES OR PUMPS IN VARIOUS SUBCLASSES OF CLASSES F01-F04
- F05D—INDEXING SCHEME FOR ASPECTS RELATING TO NON-POSITIVE-DISPLACEMENT MACHINES OR ENGINES, GAS-TURBINES OR JET-PROPULSION PLANTS
- F05D2260/00—Function
- F05D2260/20—Heat transfer, e.g. cooling
- F05D2260/201—Heat transfer, e.g. cooling by impingement of a fluid
-
- F—MECHANICAL ENGINEERING; LIGHTING; HEATING; WEAPONS; BLASTING
- F05—INDEXING SCHEMES RELATING TO ENGINES OR PUMPS IN VARIOUS SUBCLASSES OF CLASSES F01-F04
- F05D—INDEXING SCHEME FOR ASPECTS RELATING TO NON-POSITIVE-DISPLACEMENT MACHINES OR ENGINES, GAS-TURBINES OR JET-PROPULSION PLANTS
- F05D2260/00—Function
- F05D2260/20—Heat transfer, e.g. cooling
- F05D2260/221—Improvement of heat transfer
- F05D2260/2214—Improvement of heat transfer by increasing the heat transfer surface
- F05D2260/22141—Improvement of heat transfer by increasing the heat transfer surface using fins or ribs
Definitions
- the invention relates to a component with a hot gas Wall that has a hot gas side and one of the Has hot gas side opposite cold side, the Wall on the one hand through along the cold side as a cross flow cooling fluid flowing in a cross flow direction and simultaneously by perpendicular to the cold side as impact cooling jets impacting cooling fluid is coolable.
- US 5,328,331 discloses a coolable gas turbine blade.
- the gas turbine blade has an integrally formed double wall structure in their airfoil area.
- the double wall is of an outer blade wall and an inner one Blade wall formed.
- the outer airfoil wall and the inner airfoil wall are separated from each other by one Bucket wall cavity separated.
- the inner blade wall is interspersed with holes. Encloses the inner wall of the bucket an inner vane cavity into which cooling air is introduced becomes. This occurs over the holes in the inner wall of the blade Cooling air into the vane wall cavity as vertical Impact cooling jets directed at the outer wall of the blade. This results in effective impingement cooling of the outer wall of the blade reached.
- WO 98/25009 discloses a turbine blade.
- the turbine blade has an outer wall around which a hot gas can flow on.
- the turbine blade also has an inner wall on so that between the outer wall and the inner wall Cooling area formed for the flow of a cooling fluid is. In the cooling area are along a main flow direction of the cooling fluid flow around heat transfer elements arranged one behind the other, the thermally with the External wall are connected. Through a flow through the cooling area with cooling fluid, convective cooling of the External wall reached by heat flow from the heat transfer elements is amplified on the cooling fluid.
- a gas turbine vane with a guide from Cooling gas for cooling it is described in US Pat. No. 5,419,039.
- the guide vane is designed as a casting or composed of two castings. She points inside a supply of cooling air from the compressor to the assigned Gas turbine plant on. In their the hot gas flow exposed to the gas turbine, enclosing the air supply Wall structures are cast-in open on one side Cooling bags provided.
- the cooler bags are on the outside the wall structure both in the flow direction of the hot gas as well as perpendicular to the direction of flow of the hot gas arranged along the main direction of expansion of the guide vane.
- the cooling air supply flows into each cooler bag cooling air through a plurality of holes in the wall structure in the cooler bag. This is in the flow direction of the Hot gas flows through the cooling air and already occurs in one formed by casting the guide vanes gap across the entire width of the cooler bag the flow of hot gas.
- the object of the invention is to provide a component with a hot gas-exposed wall, which is particularly efficient is coolable.
- this object is achieved by specifying a Component with a hot gas-pressurized wall, the one Hot gas side and one opposite the hot gas side Cold side, the wall on the one hand along the cold side as a cross flow in a cross flow direction flowing cooling fluid and at the same time by perpendicular to the Cooling fluid that can be cooled as impact cooling jets, can be cooled is, the impingement cooling jets against the cross flow each by a projection arranged on the cold side are shielded.
- the invention is based on the finding that cooling the hot gas wall, both by convection cooling by means of a flowing along the cold side Cooling fluids as well as by means of vertically hitting the cold side Impingement cooling jets are two very effective cooling mechanisms connects with each other, but in the usual Technology to reduce the efficiency of impingement cooling leads.
- the impact cooling jets by means of a projection arranged on the cold side shield against the cross flow so that a Interference with the vertical impingement of the impingement cooling jets the cold side is at least largely reduced by the cross flow becomes.
- the lead can also be considered a Heat transfer element serve which the effective surface the cold side enlarged and thus a reinforced Cooling caused by the cross flow.
- the protrusions Preferably at least some of the protrusions have on them with respect to the cross flow direction downstream side a bulge on that in the cross flow a slipstream area generates in which slipstream area an impact cooling jet strikes the cold side.
- the lead is specifically designed by the bulge so that a pronounced slipstream area on the downstream side of the lead. In this slipstream area the impact cooling jet is almost unaffected by the cross flow hit vertically on the cold side and thereby effective baffle cooling.
- At least some of the projections have on them with respect to the cross-flow direction side one Contour with a low flow resistance for the cross flow on.
- a contour can e.g. an approximately oval Be shape with a tip of the oval opposite the cross flow direction is directed. Due to the low flow resistance for the cross flow this is in its flow velocity only slightly affected by the protrusions, which in turn provides high convective cooling for the Cold side.
- there is a contour a comparatively low flow resistance large surface of the tab. This is a heat transfer further reinforced from the wall to the cooling fluid.
- a baffle cooling wall is preferably spaced from the cold side arranged at least over some of the protrusions is connected to the wall. There are openings in the baffle cooling wall provided, from which the impact cooling jets emerge.
- the connection of the baffle cooling wall via the projections with the On the one hand, wall allows easy attachment of the Baffle cooling wall and on the other hand a further improved heat transfer by conduction from the protrusions the baffle cooling wall.
- the component is preferably designed as a gas turbine blade, the wall being an outer blade wall.
- a Gas turbine blade is particularly high thermal loads exposed, usually only through effective Cooling can be caught. Any improvement in the Cooling efficiency in a gas turbine blade leads to one lower cooling air consumption and this in turn leads to a improved efficiency of a gas turbine in which the Gas turbine blade is installed.
- the baffle cooling wall is preferably an airfoil inner wall.
- the airfoil inner wall can be both integral with the Blade outer wall can be shaped as well as an impact cooling insert be carried out in the interior of the airfoil.
- one thus designed gas turbine blade is cooling air into Airfoil interior fed. Over the airfoil inner wall this cooling air passes over impingement cooling openings as impinging cooling jets and hits the cold side of the outer blade wall.
- the cooling fluid is preferably cooling air.
- the wall with the projections is further preferably in one piece cast.
- the component is preferably designed as a gas turbine guide vane.
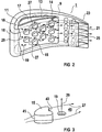
- Figure 1 shows a gas turbine blade 1.
- the gas turbine blade 1 has an airfoil area 3, a platform area 5 and a fastening area 7.
- the airfoil area 3 has an outer blade wall 9.
- the outer airfoil 9 encloses an inner cavity 11.
- In the inner cavity 11 is the same as Blade outer wall 9 a blade inner wall 13 so arranged that between the outer blade wall 9 and of the airfoil inner wall 13 a wall cavity 14 is formed is.
- the airfoil inner wall 11 is with the airfoil outer wall 9 connected via cylindrical projections 15, that on the inside cold side 16 of the blade outer wall 9 are arranged.
- the blade outer wall 9 Opposite the cold side 16 the blade outer wall 9 has a hot gas side 18, that in the operation of a gas turbine into which the gas turbine blade 1 is installed, flows around the blade outer wall 9. at Such a flow around with hot gas becomes the gas turbine blade 1 exposed to temperatures so high that cooling by means of cooling air 25 is necessary, which in one of the Blade cavity inner wall 13 encloses blade cavity 17 is initiated.
- the cooling air emerges from the blade cavity 17 25 through holes 19 in the inner blade wall 13 in the Wall cavity 14 in the form of impact cooling jets 29.
- the Impingement cooling jets 29 strike the cold side 16 of the outer blade wall 9.
- the impacted cooling air 25 then forms a transverse flow 27 towards a trailing edge of the airfoil 23.
- FIG. 2 shows a section of a gas turbine blade 1, which largely corresponds to the embodiment from FIG. 1.
- a decisive improvement in cooling efficiency will, however by the arrangement of the projections 15 and the impingement cooling openings 19 scored.
- the projections 15 shield the impingement cooling jets 29, which emerge from the impingement cooling openings 19 opposite the cross flow 27. As a result, the impact cooling jets 29 not disturbed and hit almost ideally vertically to the cold side 16.
- a particularly efficient shielding is achieved by the special shape of the projections 15, what is explained in more detail with reference to Figure 3.
- FIG 3 shows in detail a part of the cooling structure of the gas turbine blade 1 from Figure 2.
- the projections 15 are with an oval contour so that on the one hand the cross flow 27 by one in the cross flow direction behind each Projection 15 lying baffle cooling opening 19 is passed around.
- the oval shape also leads to a low flow resistance for the cross flow 27.
- each projection 15 a bulge 43 on its based on the Cross flow direction on the downstream side. Through this Bulge 43 becomes a slipstream area particularly effectively 45 generated, which the influence of the cross flow 27 on the Impingement cooling jets 29 reduced particularly efficiently.
- the related on the upstream side 41 the projection 15 is still comparatively due to the oval contour large area, so that an improved Heat transfer from the origin 15 to the cooling air 25 results.
Landscapes
- Engineering & Computer Science (AREA)
- Mechanical Engineering (AREA)
- General Engineering & Computer Science (AREA)
- Turbine Rotor Nozzle Sealing (AREA)
Abstract
Die Erfindung betrifft ein Bauteil (1) mit einer heißgasbeaufschlagbaren
Wand (9), die auf ihrer Kaltseite (16) durch
Prallkühlstrahlen (29) gekühlt ist, wobei die Prallkühlstrahlen
(29) jeweils durch einen Vorsprung (15) gegenüber einer
Kühlfluidquerströmung (27) abgeschirmt sind.
Description
Die Erfindung betrifft ein Bauteil mit einer heißgas-beaufschlagbaren
Wand, die eine Heißgasseite und eine der
Heißgasseite gegenüberliegende Kaltseite aufweist, wobei die
Wand einerseits durch entlang der Kaltseite als Querströmung
in einer Querströmungsrichtung strömendes Kühlfluid und
gleichzeitig durch senkrecht auf die Kaltseite als Prallkühlstrahlen
aufprallendes Kühlfluid kühlbar ist.
Die US 5,328,331 offenbart eine kühlbare Gasturbinenschaufel.
Die Gasturbinenschaufel weist eine integral gebildete Doppelwandstruktur
in ihrem Schaufelblattbereich auf. Die Doppelwand
ist von einer äußeren Schaufelblattwand und einer inneren
Schaufelblattwand gebildet. Die äußere Schaufelblattwand
und die innere Schaufelblattwand sind voneinander durch einen
Schaufelwandhohlraum getrennt. Durch den Schaufelwandhohlraum
führen die Schaufelaußenwand und die Schaufelinnenwand verbindend
integral mit der Schaufelaußenwand und der Schaufelinnenwand
ausgeführte Vorsprünge. Die Schaufelinnenwand ist
mit Bohrungen durchsetzt. Die Schaufelinnenwand umschließt
einen inneren Schaufelhohlraum, in den Kühlluft eingeleitet
wird. Über die Bohrungen der Schaufelinnenwand tritt die
Kühlluft in den Schaufelwandhohlraum ein, und zwar als senkrecht
auf die Schaufelaußenwand gerichtete Prallkühlstrahlen.
Hierdurch wird eine effektive Prallkühlung der Schaufelaußenwand
erreicht.
Die WO 98/25009 offenbart eine Turbinenschaufel. Die Turbinenschaufel
weist eine von einem Heißgas umströmbare Außenwand
auf. Die Turbinenschaufel weist weiterhin eine Innenwand
auf, so dass zwischen der Außenwand und der Innenwand ein
Kühlbereich zur Durchströmung mit einem Kühlfluid gebildet
ist. In den Kühlbereich sind entlang einer Hauptströmungsrichtung
des Kühlfluides umströmbare Wärmeübertragungselemente
hintereinander angeordnet, die wärmetechnisch mit der
Außenwand verbunden sind. Durch eine Durchströmung des Kühlbereichs
mit Kühlfluid wird eine konvektive Kühlung der
Außenwand erreicht, die durch einen Wärmefluss von den Wärmeübertragungselementen
auf das Kühlfluid verstärkt wird.
Eine Leitschaufel einer Gasturbine mit einer Führung von
Kühlgas zu deren Kühlung ist in der US 5,419 039 A beschrieben.
Die Leitschaufel ist als ein Gussstück ausgeführt bzw.
aus zwei Gussstücken zusammengesetzt. Sie weist in ihrem Inneren
eine Zuführung von Kühlluft aus dem Verdichter der zugeordneten
Gasturbinenanlage auf. In ihrer der Heißgasströmung
der Gasturbine ausgesetzten, die Luftzuführung umschließenden
Wandstruktur sind eingegossene einseitig offene
Kühltaschen vorgesehen. Die Kühltaschen sind an der Außenseite
der Wandstruktur sowohl in Strömungsrichtung des Heißgases
als auch senkrecht zur Strömungsrichtung des Heißgases
entlang der Hauptausdehnungsrichtung der Leitschaufel angeordnet.
In jede Kühltasche strömt von der Kühlluftzuführung
über eine Mehrzahl von Löchern in der Wandstruktur Kühlluft
in die Kühltasche ein. Diese wird in Strömungsrichtung des
Heißgases von der Kühlluft durchströmt und tritt in einem bereits
durch das Gießen der Leitschaufeln gebildeten, sich
über die gesamte Breite der Kühltasche erstreckenden Spalt in
die Strömung des Heißgases aus.
Aufgabe der Erfindung ist die Angabe eines Bauteils mit einer
heißgas-beaufschlagbaren Wand, welches besonders effizient
kühlbar ist.
Erfindungsgemäß wird diese Aufgabe gelöst durch Angabe eines
Bauteils mit einer heißgas-beaufschlagbaren Wand, die eine
Heißgasseite und eine der Heißgasseite gegenüberliegende
Kaltseite aufweist, wobei die Wand einerseits durch entlang
der Kaltseite als Querströmung in einer Querströmungsrichtung
strömendes Kühlfluid und gleichzeitig durch senkrecht auf die
Kaltseite als Prallkühlstrahlen aufprallendes Kühlfluid kühlbar
ist, wobei die Prallkühlstrahlen gegenüber der Querströmung
jeweils durch einen auf der Kaltseite angeordneten Vorsprung
abgeschirmt sind.
Die Erfindung geht von der Erkenntnis aus, dass eine Kühlung
der heißgasbeaufschlagbaren Wand sowohl durch eine Konvektionskühlung
mittels eines entlang der Kaltseite strömenden
Kühlfluides als auch mittels senkrecht auf die Kaltseite auftreffender
Prallkühlstrahlen zwar zwei sehr effektive Kühlmechanismen
miteinander verbindet, dies aber in gewöhnlicher
Technologie zu einer Verringerung der Effizienz der Prallkühlung
führt. Um die kühlende Querströmung einerseits beizubehalten,
andererseits aber die Prallkühlung nicht zu beeinträchtigen,
wird nun erstmals vorgeschlagen, die Prallkühlstrahlen
mittels eines auf der Kaltseite angeordneten Vorsprungs
so gegenüber der Querströmung abzuschirmen, dass eine
Störung des senkrechten Auftreffens der Prallkühlstrahlen auf
die Kaltseite durch die Querströmung zumindest weitgehend reduziert
wird. Der Vorsprung kann dabei gleichzeitig als ein
Wärmeübertragungselement dienen, welches die effektive Oberfläche
der Kaltseite vergrößert und damit eine verstärkte
Kühlung durch die Querströmung bewirkt. Somit werden erstmals
die konvektive Kühlung mittels der Querströmung und die
Prallkühlung mittels Prallkühlstrahlen so miteinander kombiniert,
dass keine gegenseitige Beeinträchtigung erfolgt.
Vorzugsweise weisen zumindest einige der Vorsprünge auf ihrer
bezüglich der Querströmungsrichtung abströmseitigen Seite
eine Ausbuchtung auf, die in der Querströmung ein Windschattengebiet
erzeugt, in welchem Windschattengebiet ein Prallkühlstrahl
auf die Kaltseite auftrifft. Der Vorsprung ist
also durch die Ausbuchtung gezielt so gestaltet, dass ein
ausgeprägtes Windschattengebiet auf der abströmseitigen Seite
des Vorsprungs entsteht. In diesem Windschattengebiet kann
der Prallkühlstrahl nahezu unbeeinträchtigt von der Querströmung
senkrecht auf die Kaltseite auftreffen und hierdurch
eine effektive Prallkühlung bewirken.
Bevorzugt weisen zumindest einige der Vorsprünge auf ihrer
bezüglich der Querströmungsrichtung anströmigen Seite eine
Kontur mit einem niedrigen Strömungswiderstand für die Querströmung
auf. Eine solche Kontur kann z.B. eine etwa ovale
Form sein, wobei eine Spitze des Ovals entgegen der Querströmungsrichtung
gerichtet ist. Durch den niedrigen Strömungswiderstand
für die Querströmung wird diese in ihrer Strömungsgeschwindigkeit
nur geringfügig durch die Vorsprünge beeinträchtigt,
was wiederum eine hohe konvektive Kühlung für die
Kaltseite zur Folge hat. Zudem ergibt sich bei einer Kontur
mit einem niedrigen Strömungswiderstand eine vergleichsweise
große Oberfläche des Vorsprungs. Hierdurch wird ein Wärmeübertrag
von der Wand auf das Kühlfluid weiter verstärkt.
Vorzugsweise ist beabstandet von der Kaltseite eine Prallkühlwand
angeordnet, die zumindest über einige der Vorsprünge
mit der Wand verbunden ist. In der Prallkühlwand sind Öffnungen
vorgesehen, aus denen die Prallkühlstrahlen austreten.
Die Verbindung der Prallkühlwand über die Vorsprünge mit der
Wand ermöglicht einerseits eine einfache Befestigung der
Prallkühlwand und andererseits eine weiter verbesserte Wärmeübertragung
durch Wärmeleitung aus den Vorsprüngen heraus in
die Prallkühlwand.
Vorzugsweise ist das Bauteil als Gasturbinenschaufel ausgeführt,
wobei die Wand eine Schaufelblattaußenwand ist. Eine
Gasturbinenschaufel ist besonders hohen thermischen Belastungen
ausgesetzt, die in der Regel nur durch eine effektive
Kühlung aufgefangen werden können. Jede Verbesserung in der
Kühleffizienz bei einer Gasturbinenschaufel führt zu einem
niedrigeren Kühlluftverbrauch und dies führt wiederum zu einem
verbesserten Wirkungsgrad einer Gasturbine, in der die
Gasturbinenschaufel eingebaut ist.
Bevorzugt ist die Prallkühlwand eine Schaufelblattinnenwand.
Die Schaufelblattinnenwand kann sowohl integral mit der
Schaufelblattaußenwand geformt sein, als auch als ein Prallkühleinsatz
im Schaufelblatt-Inneren ausgeführt sein. Einer
so ausgestalteten Gasturbinenschaufel wird Kühlluft ins
Schaufelblatt-Innere zugeführt. Über die Schaufelblatt-Innenwand
tritt diese Kühlluft über Prallkühlöffnungen als-Prallkühlstrahlen
aus und trifft auf die Kaltseite der Schaufelblatt-Außenwand.
Bevorzugtermaßen ist das Kühlfluid Kühlluft.
Weiter bevorzugt ist die Wand mit den Vorsprüngen einstückig
gegossen.
Vorzugsweise ist das Bauteil als Gasturbinenleitschaufel ausgeführt.
Die Erfindung wird anhand der Zeichnung beispielhaft näher
erläutert. Es zeigen teilweise schematisch und nicht maßstäblich:
- FIG 1
- eine Gasturbinenschaufel nach dem Stand der Technik,
- FIG 2
- einen Ausschnitt einer Gasturbinenschaufel mit verbesserter Kühlung, und
- FIG 3
- eine Detailansicht der Kühlstruktur aus Figur 2.
Gleiche Bezugszeichen haben in den verschiedenen Figuren die
gleiche Bedeutung.
Figur 1 zeigt eine Gasturbinenschaufel 1. Die Gasturbinenschaufel
1 weist einen Schaufelblattbereich 3, einen Plattformbereich
5 und einen Befestigungsbereich 7 auf. Der Schaufelblattbereich
3 weist eine Schaufelblattaußenwand 9 auf.
Die Schaufelblattaußenwand 9 umschließt einen inneren Hohlraum
11. In dem inneren Hohlraum 11 ist gleich verlaufend zur
Schaufelblattaußenwand 9 eine Schaufelblattinnenwand 13 so
angeordnet, dass zwischen der Schaufelblattaußenwand 9 und
der Schaufelblattinnenwand 13 ein Wandhohlraum 14 gebildet
ist. Die Schaufelblattinnenwand 11 ist mit der Schaufelblattaußenwand
9 über zylindrisch ausgeführte Vorsprünge 15 verbunden,
die an der innenliegenden Kaltseite 16 der Schaufelaußenwand
9 angeordnet sind. Der Kaltseite 16 gegenüberliegend
weist die Schaufelaußenwand 9 eine Heißgasseite 18 auf,
die im Betrieb einer Gasturbine, in die die Gasturbinenschaufel
1 eingebaut ist, die Schaufelaußenwand 9 umströmt. Bei
einer solchen Umströmung mit Heißgas wird die Gasturbinenschaufel
1 so hohen Temperaturen ausgesetzt, dass eine Kühlung
mittels Kühlluft 25 nötig ist, die in einen von der
Schaufelblattinnenwand 13 umschlossenen Schaufelhohlraum 17
eingeleitet wird. Vom Schaufelhohlraum 17 tritt die Kühlluft
25 über Bohrungen 19 in der Schaufelblattinnenwand 13 in den
Wandhohlraum 14 in Form von Prallkühlstrahlen 29 aus. Die
Prallkühlstrahlen 29 treffen auf die Kaltseite 16 der Schaufelblattaußenwand
9. Die aufgeprallte Kühlluft 25 bildet sodann
eine Querströmung 27 in Richtung auf eine Schaufelblatthinterkante
23. Im Bereich der Schaufelblatthinterkante 23
tritt die Kühlluft 25 über Kanäle 21 aus. Die Vielzahl von
Prallkühlstrahlen 29 führt zu einer sich immer weiter in
Richtung auf die Schaufelhinterkante 23 verstärkenden Querströmung
27. Diese Querströmung 27 stört die Prallkühlstrahlen
29, da diese nicht mehr ideal senkrecht auf die Kaltseite
16 auftreffen. Die Effektivität der Prallkühlung wird somit
durch die Querströmung 27 verringert. Dieser Nachteil wird
durch ein neues Kühlkonzept vermieden, welches näher anhand
der Figuren 2 und 3 erläutert wird.
Figur 2 zeigt einen Ausschnitt einer Gasturbinenschaufel 1,
der in weiten Teilen der Ausführung aus Figur 1 entspricht.
Eine entscheidende Verbesserung der Kühleffizienz wird aber
durch die Anordnung der Vorsprünge 15 und der Prallkühlöffnungen
19 erzielt. Die Vorsprünge 15 schirmen die Prallkühlstrahlen
29, die aus den Prallkühlöffnungen 19 austreten, gegenüber
der Querströmung 27 ab. Hierdurch werden die Prallkühlstrahlen
29 nicht gestört und treffen nahezu ideal senkrecht
auf die Kaltseite 16. Eine besonders effiziente Abschirmung
wird durch die besondere Form der Vorsprünge 15 erzielt,
was näher anhand von Figur 3 erläutert wird.
Figur 3 zeigt im Detail einen Teil der Kühlstruktur der Gasturbinenschaufel
1 aus Figur 2. Die Vorsprünge 15 sind mit
einer ovalen Kontur so ausgebildet, dass einerseits die Querströmung
27 um eine in Querströmungsrichtung hinter jedem
Vorsprung 15 liegende Prallkühlöffnung 19 herumgeleitet wird.
Die ovale Form führt zudem zu einem niedrigen Strömungswiderstand
für die Querströmung 27. Weiterhin weist jeder Vorsprung
15 eine Ausbuchtung 43 auf seiner bezogen auf die
Querströmungsrichtung abströmseitigen Seite auf. Durch diese
Ausbuchtung 43 wird besonders effektiv ein Windschattengebiet
45 erzeugt, welches den Einfluß der Querströmung 27 auf die
Prallkühlstrahlen 29 besonders effizient verringert. Die bezogen
auf die Querströmungsrichtung anströmseitige Seite 41
des Vorsprungs 15 ist durch die ovale Kontur weiterhin vergleichsweise
großflächig ausgebildet, so dass sich ein verbesserter
Wärmeübertrag aus dem Ursprung 15 auf die Kühlluft
25 ergibt.
Claims (8)
- Bauteil (1) mit einer heißgas-beaufschlagbaren Wand (9), die eine Heißgasseite (18) und eine der Heißgasseite (18) gegenüberliegende Kaltseite (16) aufweist, wobei die Wand (9) einerseits durch entlang der Kaltseite (16) als Querströmung (27) in einer Querströmungsrichtung strömendes Kühlfuid (25) und gleichzeitig durch senkrecht auf die Kaltseite (16) als Prallkühlstrahlen (29) aufprallendes Kühlfluid (25) kühlbar ist, wobei die Prallkühlstrahlen (29) gegenüber der Querströmung (27) jeweils durch einen auf der Kaltseite (16) angeordneten Vorsprung (15) abgeschirmt sind.
- Bauteil (1) nach Anspruch 1, bei dem zumindest einige der Vorsprünge (15) auf ihrer bezüglich der Querströmungsrichtung abströmseitigen Seite eine Ausbuchtung (43) aufweisen, die in der Querströmung (27) ein Windschattengebiet (45) erzeugt, in welchem Windschattengebiet (45) ein Prallkühlstrahl (29) auf die Kaltseite (16) auftrifft.
- Bauteil (1) nach Anspruch 1, bei dem zumindest einige der Vorsprünge (15) auf ihrer bezüglich der Querströmungsrichtung anströmseitigen Seite eine Kontur mit einem niedrigen Strömungswiderstand für die Querströmung (27) aufweisen.
- Bauteil (1) nach Anspruch 1, bei dem beabstandet von der Kaltseite (16) eine Prallkühlwand (13) angeordnet ist, die zumindest über einige der Vorsprünge (15) mit der Wand (9) verbunden ist.
- Bauteil (1) nach Anspruch 1, ausgeführt als Gasturbinenschaufel, wobei die Wand (9) eine Schaufelblattaußenwand ist.
- Bauteil (1) nach Anspruch 5 und 4, wobei die Prallkühlwand (13) eine Schaufelblattinnenwand ist.
- Bauteil (1) nach Anspruch 6, bei dem das Kühlfluid (25) Kühlluft ist.
- Bauteil (1) nach Anspruch 5, wobei die Wand (9) mit den Vorsprüngen (15) einstückig gegossen ist.
Priority Applications (1)
| Application Number | Priority Date | Filing Date | Title |
|---|---|---|---|
| EP00120031A EP1188902A1 (de) | 2000-09-14 | 2000-09-14 | Bauteil mit einer prallgekühlten Wand |
Applications Claiming Priority (1)
| Application Number | Priority Date | Filing Date | Title |
|---|---|---|---|
| EP00120031A EP1188902A1 (de) | 2000-09-14 | 2000-09-14 | Bauteil mit einer prallgekühlten Wand |
Publications (1)
| Publication Number | Publication Date |
|---|---|
| EP1188902A1 true EP1188902A1 (de) | 2002-03-20 |
Family
ID=8169833
Family Applications (1)
| Application Number | Title | Priority Date | Filing Date |
|---|---|---|---|
| EP00120031A Withdrawn EP1188902A1 (de) | 2000-09-14 | 2000-09-14 | Bauteil mit einer prallgekühlten Wand |
Country Status (1)
| Country | Link |
|---|---|
| EP (1) | EP1188902A1 (de) |
Cited By (25)
| Publication number | Priority date | Publication date | Assignee | Title |
|---|---|---|---|---|
| EP1544412A3 (de) * | 2003-12-19 | 2008-11-26 | United Technologies Corporation | Gekühlte Rotorschaufel mit einem Schwingungsdämpfungselement |
| EP2031244A1 (de) * | 2007-08-31 | 2009-03-04 | Lm Glasfiber A/S | Mittel zur Bewahrung des Flusses eines an die Außenseite einer Durchflussreglerelements befestigten strömenden Mediums mittels Verwendung von Kreuzungsunterkanälen |
| EP2159376A2 (de) | 2008-08-28 | 2010-03-03 | United Technologies Corporation | Schaufeleinsatz und Verfahren zur Kühlung einer Turbinenschaufel |
| EP2233694A1 (de) * | 2009-03-26 | 2010-09-29 | United Technologies Corporation | Messung von Abstandsbolzen für Tragflächenleitblech |
| WO2011020485A1 (en) * | 2009-08-20 | 2011-02-24 | Siemens Aktiengesellschaft | Cross-flow blockers in a gas turbine impingement cooling gap |
| EP1574669A3 (de) * | 2004-03-10 | 2012-07-18 | Rolls-Royce Plc | Anordnung zur Prallkühlung in einer Turbinenschaufel |
| CN102839991A (zh) * | 2011-06-20 | 2012-12-26 | 通用电气公司 | 热气体路径构件 |
| EP2412925A4 (de) * | 2009-03-26 | 2013-05-08 | Mitsubishi Heavy Ind Ltd | Turbinenschaufel und gasturbine |
| CN103975129A (zh) * | 2011-12-15 | 2014-08-06 | 株式会社Ihi | 冲击冷却机构、涡轮翼以及燃烧器 |
| CN103994468A (zh) * | 2013-02-20 | 2014-08-20 | 株式会社日立制作所 | 具备传热装置的燃气轮机燃烧器 |
| WO2014150681A1 (en) * | 2013-03-15 | 2014-09-25 | United Technologies Corporation | Gas turbine engine component having shaped pedestals |
| EP1760265B1 (de) | 2005-08-31 | 2015-07-15 | United Technologies Corporation | Bauteil eines Turbinentriebwerks mit einem Mikrokühlkreislauf und zugehöriges Herstellungsverfahren |
| EP2902589A1 (de) * | 2014-01-29 | 2015-08-05 | Siemens Aktiengesellschaft | Prallgekühltes Bauteil für eine Gasturbine |
| WO2015157780A1 (en) * | 2014-04-09 | 2015-10-15 | Siemens Aktiengesellschaft | Internal cooling system with insert forming nearwall cooling channels in an aft cooling cavity of a gas turbine airfoil including heat dissipating ribs |
| EP2955443A1 (de) * | 2014-06-11 | 2015-12-16 | Alstom Technology Ltd | Prallgekühlte wandanordnung |
| WO2016036367A1 (en) * | 2014-09-04 | 2016-03-10 | Siemens Aktiengesellschaft | Internal cooling system with insert forming nearwall cooling channels in midchord cooling cavities of a gas turbine airfoil |
| WO2016036366A1 (en) * | 2014-09-04 | 2016-03-10 | Siemens Aktiengesellschaft | Internal cooling system with insert forming nearwall cooling channels in an aft cooling cavity of a gas turbine airfoil |
| US20170067365A1 (en) * | 2015-09-09 | 2017-03-09 | General Electric Company | Exhaust frame strut with cooling fins |
| EP2610436A3 (de) * | 2011-12-30 | 2017-06-21 | General Electric Company | Kühlung der Plattform einer Turbinenrotorschaufel |
| US9863255B2 (en) | 2012-02-15 | 2018-01-09 | Siemens Aktiengesellschaft | Impingement cooling of turbine blades or vanes |
| CN108119238A (zh) * | 2016-11-30 | 2018-06-05 | 通用电气公司 | 燃气涡轮发动机的冲击插入件 |
| US20180163545A1 (en) * | 2016-12-08 | 2018-06-14 | Doosan Heavy Industries & Construction Co., Ltd | Cooling structure for vane |
| US20180328224A1 (en) * | 2017-05-09 | 2018-11-15 | General Electric Company | Impingement insert |
| CN110700893A (zh) * | 2019-10-14 | 2020-01-17 | 哈尔滨工程大学 | 一种包括v肋-凹坑复合冷却结构的燃气轮机涡轮叶片 |
| CN114961876A (zh) * | 2022-06-10 | 2022-08-30 | 中国联合重型燃气轮机技术有限公司 | 冲击冷却组件、透平叶片和燃气轮机 |
Citations (4)
| Publication number | Priority date | Publication date | Assignee | Title |
|---|---|---|---|---|
| DE2657405A1 (de) * | 1975-12-20 | 1977-07-07 | Rolls Royce 1971 Ltd | Oberflaechenkuehlvorrichtung, insbesondere fuer gasturbinentriebwerke |
| US5328331A (en) | 1993-06-28 | 1994-07-12 | General Electric Company | Turbine airfoil with double shell outer wall |
| US5419039A (en) | 1990-07-09 | 1995-05-30 | United Technologies Corporation | Method of making an air cooled vane with film cooling pocket construction |
| WO1998025009A1 (de) | 1996-12-02 | 1998-06-11 | Siemens Aktiengesellschaft | Turbinenschaufel sowie verwendung in einer gasturbinenanlage |
-
2000
- 2000-09-14 EP EP00120031A patent/EP1188902A1/de not_active Withdrawn
Patent Citations (4)
| Publication number | Priority date | Publication date | Assignee | Title |
|---|---|---|---|---|
| DE2657405A1 (de) * | 1975-12-20 | 1977-07-07 | Rolls Royce 1971 Ltd | Oberflaechenkuehlvorrichtung, insbesondere fuer gasturbinentriebwerke |
| US5419039A (en) | 1990-07-09 | 1995-05-30 | United Technologies Corporation | Method of making an air cooled vane with film cooling pocket construction |
| US5328331A (en) | 1993-06-28 | 1994-07-12 | General Electric Company | Turbine airfoil with double shell outer wall |
| WO1998025009A1 (de) | 1996-12-02 | 1998-06-11 | Siemens Aktiengesellschaft | Turbinenschaufel sowie verwendung in einer gasturbinenanlage |
Cited By (52)
| Publication number | Priority date | Publication date | Assignee | Title |
|---|---|---|---|---|
| EP1544412A3 (de) * | 2003-12-19 | 2008-11-26 | United Technologies Corporation | Gekühlte Rotorschaufel mit einem Schwingungsdämpfungselement |
| EP1574669A3 (de) * | 2004-03-10 | 2012-07-18 | Rolls-Royce Plc | Anordnung zur Prallkühlung in einer Turbinenschaufel |
| EP1760265B1 (de) | 2005-08-31 | 2015-07-15 | United Technologies Corporation | Bauteil eines Turbinentriebwerks mit einem Mikrokühlkreislauf und zugehöriges Herstellungsverfahren |
| US8550787B2 (en) | 2007-08-31 | 2013-10-08 | Lm Glasfiber A/S | Wind turbine blade with submerged boundary layer control means comprising crossing sub-channels |
| EP2031244A1 (de) * | 2007-08-31 | 2009-03-04 | Lm Glasfiber A/S | Mittel zur Bewahrung des Flusses eines an die Außenseite einer Durchflussreglerelements befestigten strömenden Mediums mittels Verwendung von Kreuzungsunterkanälen |
| EP2159376A2 (de) | 2008-08-28 | 2010-03-03 | United Technologies Corporation | Schaufeleinsatz und Verfahren zur Kühlung einer Turbinenschaufel |
| EP2159376A3 (de) * | 2008-08-28 | 2012-03-21 | United Technologies Corporation | Schaufeleinsatz und Verfahren zur Kühlung einer Turbinenschaufel |
| EP2233694A1 (de) * | 2009-03-26 | 2010-09-29 | United Technologies Corporation | Messung von Abstandsbolzen für Tragflächenleitblech |
| EP2233695A1 (de) | 2009-03-26 | 2010-09-29 | United Technologies Corporation | Messung von Abstandsbolzen für Tragflächenleitblech |
| US8109724B2 (en) | 2009-03-26 | 2012-02-07 | United Technologies Corporation | Recessed metering standoffs for airfoil baffle |
| EP2412925A4 (de) * | 2009-03-26 | 2013-05-08 | Mitsubishi Heavy Ind Ltd | Turbinenschaufel und gasturbine |
| US8480366B2 (en) | 2009-03-26 | 2013-07-09 | United Technologies Corporation | Recessed metering standoffs for airfoil baffle |
| WO2011020485A1 (en) * | 2009-08-20 | 2011-02-24 | Siemens Aktiengesellschaft | Cross-flow blockers in a gas turbine impingement cooling gap |
| EP2538025B1 (de) * | 2011-06-20 | 2018-08-08 | General Electric Company | Bauteil für Heissgasstrom und zugehöriges Verfahren zur Herstellung eines Bauteils |
| CN102839991A (zh) * | 2011-06-20 | 2012-12-26 | 通用电气公司 | 热气体路径构件 |
| CN102839991B (zh) * | 2011-06-20 | 2015-08-19 | 通用电气公司 | 热气体路径构件 |
| CN103975129A (zh) * | 2011-12-15 | 2014-08-06 | 株式会社Ihi | 冲击冷却机构、涡轮翼以及燃烧器 |
| US9771809B2 (en) | 2011-12-15 | 2017-09-26 | Ihi Corporation | Impingement cooling mechanism, turbine blade and combustor |
| CN103975129B (zh) * | 2011-12-15 | 2016-06-29 | 株式会社Ihi | 冲击冷却机构、涡轮翼以及燃烧器 |
| EP2610436A3 (de) * | 2011-12-30 | 2017-06-21 | General Electric Company | Kühlung der Plattform einer Turbinenrotorschaufel |
| US9863255B2 (en) | 2012-02-15 | 2018-01-09 | Siemens Aktiengesellschaft | Impingement cooling of turbine blades or vanes |
| US9435536B2 (en) | 2013-02-20 | 2016-09-06 | Mitsubishi Hitachi Power Systems, Ltd. | Gas turbine combustor equipped with heat-transfer device |
| EP2770258A3 (de) * | 2013-02-20 | 2015-07-15 | Mitsubishi Hitachi Power Systems, Ltd. | Gasturbinenbrennkammer mit Wärmeübertragungsvorrichtung |
| CN103994468B (zh) * | 2013-02-20 | 2017-01-04 | 三菱日立电力系统株式会社 | 具备传热装置的燃气轮机燃烧器 |
| CN103994468A (zh) * | 2013-02-20 | 2014-08-20 | 株式会社日立制作所 | 具备传热装置的燃气轮机燃烧器 |
| US10358978B2 (en) | 2013-03-15 | 2019-07-23 | United Technologies Corporation | Gas turbine engine component having shaped pedestals |
| WO2014150681A1 (en) * | 2013-03-15 | 2014-09-25 | United Technologies Corporation | Gas turbine engine component having shaped pedestals |
| EP2902589A1 (de) * | 2014-01-29 | 2015-08-05 | Siemens Aktiengesellschaft | Prallgekühltes Bauteil für eine Gasturbine |
| WO2015157780A1 (en) * | 2014-04-09 | 2015-10-15 | Siemens Aktiengesellschaft | Internal cooling system with insert forming nearwall cooling channels in an aft cooling cavity of a gas turbine airfoil including heat dissipating ribs |
| RU2696830C2 (ru) * | 2014-06-11 | 2019-08-06 | Ансалдо Энерджиа Свитзерлэнд Аг | Устройство для инжекционного охлаждения стенки |
| EP2955443A1 (de) * | 2014-06-11 | 2015-12-16 | Alstom Technology Ltd | Prallgekühlte wandanordnung |
| US10060352B2 (en) | 2014-06-11 | 2018-08-28 | Ansaldo Energia Switzerland AG | Impingement cooled wall arrangement |
| EP2955442A1 (de) * | 2014-06-11 | 2015-12-16 | Alstom Technology Ltd | Prallgekühlte Wandanordnung |
| CN106661945A (zh) * | 2014-09-04 | 2017-05-10 | 西门子公司 | 带有在燃气涡轮翼型的尾部冷却腔中形成近壁冷却通道的插入件的内部冷却系统 |
| CN106795771B (zh) * | 2014-09-04 | 2018-11-30 | 西门子公司 | 带有在燃气涡轮翼型的翼弦中部冷却腔中形成近壁冷却通道的插入件的内部冷却系统 |
| US9863256B2 (en) | 2014-09-04 | 2018-01-09 | Siemens Aktiengesellschaft | Internal cooling system with insert forming nearwall cooling channels in an aft cooling cavity of an airfoil usable in a gas turbine engine |
| CN107075955A (zh) * | 2014-09-04 | 2017-08-18 | 西门子公司 | 具有在燃气涡轮机翼型件的后部冷却腔中形成近壁冷却通道的插入件的包括散热肋的内部冷却系统 |
| WO2016036367A1 (en) * | 2014-09-04 | 2016-03-10 | Siemens Aktiengesellschaft | Internal cooling system with insert forming nearwall cooling channels in midchord cooling cavities of a gas turbine airfoil |
| WO2016036366A1 (en) * | 2014-09-04 | 2016-03-10 | Siemens Aktiengesellschaft | Internal cooling system with insert forming nearwall cooling channels in an aft cooling cavity of a gas turbine airfoil |
| US9840930B2 (en) | 2014-09-04 | 2017-12-12 | Siemens Aktiengesellschaft | Internal cooling system with insert forming nearwall cooling channels in midchord cooling cavities of a gas turbine airfoil |
| CN106795771A (zh) * | 2014-09-04 | 2017-05-31 | 西门子公司 | 带有在燃气涡轮翼型的翼弦中部冷却腔中形成近壁冷却通道的插入件的内部冷却系统 |
| US20170067365A1 (en) * | 2015-09-09 | 2017-03-09 | General Electric Company | Exhaust frame strut with cooling fins |
| EP3330486A1 (de) * | 2016-11-30 | 2018-06-06 | General Electric Company | Pralleinsatz für einen gasturbinenmotor |
| CN108119238A (zh) * | 2016-11-30 | 2018-06-05 | 通用电气公司 | 燃气涡轮发动机的冲击插入件 |
| US11519281B2 (en) | 2016-11-30 | 2022-12-06 | General Electric Company | Impingement insert for a gas turbine engine |
| CN108119238B (zh) * | 2016-11-30 | 2022-10-14 | 通用电气公司 | 燃气涡轮发动机的冲击插入件 |
| US20180163545A1 (en) * | 2016-12-08 | 2018-06-14 | Doosan Heavy Industries & Construction Co., Ltd | Cooling structure for vane |
| US10968755B2 (en) * | 2016-12-08 | 2021-04-06 | DOOSAN Heavy Industries Construction Co., LTD | Cooling structure for vane |
| US20180328224A1 (en) * | 2017-05-09 | 2018-11-15 | General Electric Company | Impingement insert |
| US10494948B2 (en) * | 2017-05-09 | 2019-12-03 | General Electric Company | Impingement insert |
| CN110700893A (zh) * | 2019-10-14 | 2020-01-17 | 哈尔滨工程大学 | 一种包括v肋-凹坑复合冷却结构的燃气轮机涡轮叶片 |
| CN114961876A (zh) * | 2022-06-10 | 2022-08-30 | 中国联合重型燃气轮机技术有限公司 | 冲击冷却组件、透平叶片和燃气轮机 |
Similar Documents
| Publication | Publication Date | Title |
|---|---|---|
| EP1188902A1 (de) | Bauteil mit einer prallgekühlten Wand | |
| DE69714960T2 (de) | Wirbelelementkonstruktion für Kühlkanäle eines Gasturbinenrotorschaufelblattes | |
| DE69822100T2 (de) | Turbinenschaufel | |
| EP1320661B1 (de) | Gasturbinenschaufel | |
| DE69017493T2 (de) | Gekühlte Turbinenschaufel und Kombinationskraftwerk mit einer Gasturbine, die solche Schaufeln hat. | |
| DE60015233T2 (de) | Turbinenschaufel mit interner Kühlung | |
| DE4441507C3 (de) | Gekühlte Turbinenschaufel | |
| DE69723663T2 (de) | Wirbelelementkonstruktion für kühlkanäle einer Gasturbinenschaufel | |
| DE69006433T3 (de) | Turbinenschaufel. | |
| DE2657405A1 (de) | Oberflaechenkuehlvorrichtung, insbesondere fuer gasturbinentriebwerke | |
| DE102006004437A1 (de) | Plattform einer Laufschaufel einer Gasturbine, Verfahren zur Herstellung einer Laufschaufel, Dichtungsplatte und Gasturbine | |
| DE2042947A1 (de) | Schaufelanordnung mit Kühlvorrichtung | |
| EP1260678A1 (de) | Kühlvorrichtung für Gasturbinenkomponenten | |
| DE102005044183A1 (de) | Vorrichtung und Verfahren zur Kühlung von Turbinenschaufelplattformen | |
| DE10001109A1 (de) | Gekühlte Schaufel für eine Gasturbine | |
| DE102005019652A1 (de) | Turbulator auf der Unterseite einer Turbinenschaufelspitzenumleitbiegung und zugehöriges Verfahren | |
| EP0825332B1 (de) | Kühlbare Schaufel | |
| DE102010010128A1 (de) | Flugzeugtriebwerk mit optimiertem Ölwärmetauscher | |
| EP0798448A2 (de) | Vorrichtung und Verfahren zur Kühlung einer einseitig von Heissgas umgebenen Wand | |
| DE2404297A1 (de) | Kuehlsystem fuer aufprall-konvektionskuehlung | |
| EP0892149B1 (de) | Kühlsystem für den Vorderkantenbereich einer hohlen Gasturbinenschaufel | |
| EP1112440B1 (de) | Turbinenleitschaufel | |
| DE102010017363A1 (de) | Kühllochaustritte für ein Turbinenschaufelspitzendeckband | |
| EP2414639B1 (de) | Gekühltes Bauteil für eine Gasturbine | |
| EP0892150B1 (de) | Kühlsystem für den Hinterkantenbereich einer hohlen Gasturbinenschaufel |
Legal Events
| Date | Code | Title | Description |
|---|---|---|---|
| PUAI | Public reference made under article 153(3) epc to a published international application that has entered the european phase |
Free format text: ORIGINAL CODE: 0009012 |
|
| AK | Designated contracting states |
Kind code of ref document: A1 Designated state(s): AT BE CH CY DE DK ES FI FR GB GR IE IT LI LU MC NL PT SE |
|
| AX | Request for extension of the european patent |
Free format text: AL;LT;LV;MK;RO;SI |
|
| AKX | Designation fees paid | ||
| REG | Reference to a national code |
Ref country code: DE Ref legal event code: 8566 |
|
| STAA | Information on the status of an ep patent application or granted ep patent |
Free format text: STATUS: THE APPLICATION IS DEEMED TO BE WITHDRAWN |
|
| 18D | Application deemed to be withdrawn |
Effective date: 20020921 |