EP1177707B1 - Centralizing of a spatially expanded stereophonic audio image - Google Patents
Centralizing of a spatially expanded stereophonic audio image Download PDFInfo
- Publication number
- EP1177707B1 EP1177707B1 EP00932346A EP00932346A EP1177707B1 EP 1177707 B1 EP1177707 B1 EP 1177707B1 EP 00932346 A EP00932346 A EP 00932346A EP 00932346 A EP00932346 A EP 00932346A EP 1177707 B1 EP1177707 B1 EP 1177707B1
- Authority
- EP
- European Patent Office
- Prior art keywords
- frequencies
- signal
- audio system
- treble
- bass
- Prior art date
- Legal status (The legal status is an assumption and is not a legal conclusion. Google has not performed a legal analysis and makes no representation as to the accuracy of the status listed.)
- Expired - Lifetime
Links
- 230000000694 effects Effects 0.000 claims description 4
- 239000003990 capacitor Substances 0.000 description 7
- 239000000463 material Substances 0.000 description 5
- 238000010586 diagram Methods 0.000 description 4
- 230000003247 decreasing effect Effects 0.000 description 3
- 230000008447 perception Effects 0.000 description 2
- 238000006842 Henry reaction Methods 0.000 description 1
- 230000015572 biosynthetic process Effects 0.000 description 1
- 239000000872 buffer Substances 0.000 description 1
- 230000007812 deficiency Effects 0.000 description 1
- 239000011159 matrix material Substances 0.000 description 1
- 238000000034 method Methods 0.000 description 1
- 230000000630 rising effect Effects 0.000 description 1
Images
Classifications
-
- H—ELECTRICITY
- H04—ELECTRIC COMMUNICATION TECHNIQUE
- H04S—STEREOPHONIC SYSTEMS
- H04S1/00—Two-channel systems
- H04S1/002—Non-adaptive circuits, e.g. manually adjustable or static, for enhancing the sound image or the spatial distribution
-
- H—ELECTRICITY
- H04—ELECTRIC COMMUNICATION TECHNIQUE
- H04S—STEREOPHONIC SYSTEMS
- H04S1/00—Two-channel systems
-
- H—ELECTRICITY
- H04—ELECTRIC COMMUNICATION TECHNIQUE
- H04R—LOUDSPEAKERS, MICROPHONES, GRAMOPHONE PICK-UPS OR LIKE ACOUSTIC ELECTROMECHANICAL TRANSDUCERS; DEAF-AID SETS; PUBLIC ADDRESS SYSTEMS
- H04R3/00—Circuits for transducers, loudspeakers or microphones
- H04R3/04—Circuits for transducers, loudspeakers or microphones for correcting frequency response
-
- H—ELECTRICITY
- H04—ELECTRIC COMMUNICATION TECHNIQUE
- H04S—STEREOPHONIC SYSTEMS
- H04S7/00—Indicating arrangements; Control arrangements, e.g. balance control
- H04S7/30—Control circuits for electronic adaptation of the sound field
Definitions
- Stereophonic enhancement audio systems typically process sum 'L+R and difference L-R signal components which, if not otherwise available, can be generated from a pair of left L and right R signals.
- the difference signal can be used to create a spatially broadened stereo image when reproduced through a pair of left and right loudspeakers or through a surround system.
- Boosting the level of the difference signal with respect to the sum signal can widen such a perceived sound image.
- Such processing of the difference signal includes equalization comprising both bass and treble boost.
- an increase in level in the difference signal can have undesirable effects on a person's perception of the sound.
- boosting of the difference signal in the mid-range of audio frequencies can cause a sound perception which is undesirably very sensitive to the physical location of the listener with respect to the left and right loudspeakers.
- the spatially broadened stereo image does not property localize sounds which would normally emanate from the center, such as speech from a person visually centered on a display of television or motion picture programming. This is the case whether or not the sound system includes a center loudspeaker or just left and right loudspeakers.
- U.S. Patent No. 4,229,716 discloses an amplitude equalizer circuit utilizing active components in which unidirectional functional tuning of the amplitude, bandwidth and center frequency, may each be adjusted by varying a single resistance for each parameter.
- U.S. Patent No. 4,866,744 discloses a directivity servo for controllably amplifying a stereo difference signal in response to amplitude of an input signal from one side or the other or from one channel or the other.
- the desired bass reduction in the L + R sum signal of the audio system can be accomplished by the use of a gyrator to economically synthesize an inductance.
- a gyrator generated inductance in combination with a resistance in the L + R sum signal path, economically provides such a decreasing bass frequency response while avoiding the deficiencies of a wound inductance which would be more expensive, bulky, and subject to the picking-up of hum and other electromagnetic/electrostatic extraneous noise and signals.
- the gyrator synthesized inductance as well as being more economical, can be used in a lower signal level portion of the audio system.
- equalization(s) of the L+ R sum signal to reduce the signal at bass frequencies and to increase the signal at treble frequencies are switchable singly or in combination between "ON” and “OFF” modes, and/or are variably adjustable singly or in combination. This switchability/adjustability permits greater flexibility to tailor the response of the system to the listener's satisfaction.
- Fig. 1 shows a nominal graph of the desired frequency response 10 of the L+R sum signal for providing the desired centralizing locationatization effect for center audio material.
- This frequency response shows various levels of decreased bass response between the dashed lines of minimum bass 12 and maximum base 14 starting at 580 Hz, with a minimum response between 250 and 300 Hz, and then with an increasing bass response for a one dB gain at 100 Hz.
- the nominal treble response increases starting at 580 Hz up to a maximum gain of about 4 dB at about 2,000 Hz and above, within minimum treble 16 and maximum treble 18 limits shown by dashed lines.
- Fig. 2 shows in block diagram form, the present equalization 20 in the L + R sum signal path and the spatial image broadening equalization 22 in the L-R difference signal path. Spatial image broadening equalization 22 using the L-R difference signal is known in the prior art.
- Fig. 2 shows the formation of the L+R and L-R signals from L and R signals, but this need not be the case for an FM or television stereophonic program in the United States wherein the detected signals are already in L + R and L-R format, and have to be matrix decoded to provide separate L and R signals.
- matrixing encoders/decoders 24/26 are shown for the instance when the difference L-R and sum L+R signals have to be both encoded and decoded.
- Fig. 3 shows schematic diagrams of the block 20 of Fig. 2 which provides the equalization in the L+R sum signal path which helps the listener to localize center audio material more towards the center.
- LC network 30 is a divider with resistor 32 effectively realizing the bass frequency response of Fig. 1.
- Simulated gyrator inductance 34 has reduced impedance at lower frequencies, thus reducing the bass response with divider resistor 32 until the impedance of capacitor 36 in series with inductance 34 takes over and raises the response at lower frequencies.
- This divider can be placed at the input of an op-amp stage 38 which buffers the signal and allows a simple series RC network using feedback around op-amp 40 to provide the high frequency boost shown in Fig. 1.
- the gyrator 34 comprises a general purpose transistor 42 having an emitter electrode coupled to ground through resistor 44, and a base electrode biased through resistor 46.
- the gyrator 34 configuration shown is merely exemplary and is chosen to provide the required operation with a minimum cost of parts.
- Capacitor 36 couples gyrator 34 to resistor 32 and provides the increasing impedance at low bass frequencies in order to increase the gain at lower bass frequencies, as discussed above, with a one dB gain at 100 Hz.
- High pass filter 38 comprises op-amp 40 with feedback resistor 52 coupled to the negative terminal and a series RC network of capacitor and resistor 54, 56 coupled from the negative terminal to a source of bias which also provides an AC ground.
- the impedance of capacitor 54 goes down and the feedback is reduced, thus increasing the gain of op-amp 40.
- the bias is adjusted to place op-amp 40 in a linear operating region.
- Fig. 4 shows the switching of the bass and treble equalization(s) circuits of Fig. 3.
- the equalization portions can be switched into an "ON” or an "OFF” mode, singly or in combination. This permits greater flexibility to tailor the response of the system to the listener's satisfaction.
- This switching can be provided in response to respective control signals provided by a microprocessor (not shown), with the switching being accomplished by commonly available devices, e.g., a relay, a bipolar transistor, a MOS/CMOS FET or the like, which can be discrete components or be provided in a monolithic integrated circuit, as appropriate.
- the control signals are applied to respective transistors to saturate or to cut-off transistors 60, 62 of the respective gyrator and treble boost circuits. Additionally, the control signals applied to transistors 60, 62, and the bias provided by transistor 58, can each be variably adjustable, and for transistors 60, 62 be adjustable within the limits of the control signals necessary to switch the transistors between "ON" and "OFF".
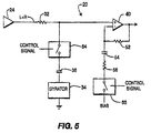
- Fig. 5 shows an alternate embodiment of the switching arrangement of Fig. 4 wherein the switch for the gyrator 34 and LC network 30 is removed from ground and is shown as a generic switch 64 responsive to a respective control signal, and the high pass filter circuit 38 is shown as being switched by a generic switch 66 responsive to its respective control signal.
- resistor 32 3.3 Kohms
- capacitor 36 0.22 uf
- resistor 46 68 Kohms
- resistor 44 1 Kohm
- resistor 50 2.2 Kohms
- resistors 52/56 15 Kohms
- capacitor 54 0.01uf.
- the transistors 42, 58, 60, and 62 can be non-critical signal types, e.g., 2N2222, and op-amp 40 is a non-critical general purpose MC3404 op-amp.
Landscapes
- Physics & Mathematics (AREA)
- Engineering & Computer Science (AREA)
- Acoustics & Sound (AREA)
- Signal Processing (AREA)
- Stereophonic System (AREA)
- Tone Control, Compression And Expansion, Limiting Amplitude (AREA)
Applications Claiming Priority (3)
| Application Number | Priority Date | Filing Date | Title |
|---|---|---|---|
| US13400599P | 1999-05-13 | 1999-05-13 | |
| US134005P | 1999-05-13 | ||
| PCT/US2000/013049 WO2000070913A2 (en) | 1999-05-13 | 2000-05-12 | Centralizing of a spatially expanded stereophonic audio image |
Publications (2)
| Publication Number | Publication Date |
|---|---|
| EP1177707A2 EP1177707A2 (en) | 2002-02-06 |
| EP1177707B1 true EP1177707B1 (en) | 2004-09-15 |
Family
ID=22461328
Family Applications (1)
| Application Number | Title | Priority Date | Filing Date |
|---|---|---|---|
| EP00932346A Expired - Lifetime EP1177707B1 (en) | 1999-05-13 | 2000-05-12 | Centralizing of a spatially expanded stereophonic audio image |
Country Status (8)
| Country | Link |
|---|---|
| EP (1) | EP1177707B1 (enExample) |
| JP (1) | JP4868647B2 (enExample) |
| KR (1) | KR100699454B1 (enExample) |
| CN (1) | CN1227950C (enExample) |
| AU (1) | AU5008100A (enExample) |
| DE (1) | DE60013807T2 (enExample) |
| MX (1) | MXPA01011426A (enExample) |
| WO (1) | WO2000070913A2 (enExample) |
Families Citing this family (16)
| Publication number | Priority date | Publication date | Assignee | Title |
|---|---|---|---|---|
| TWI278851B (en) | 2003-02-25 | 2007-04-11 | Lg Electronics Inc | Recording medium having data structure for managing at least a data area of the recording medium and recording and reproducing methods and apparatuses |
| CN1308952C (zh) * | 2003-03-03 | 2007-04-04 | 三星电子株式会社 | 用于管理盘缺陷的设备 |
| JP2007528564A (ja) | 2003-05-09 | 2007-10-11 | エルジー エレクトロニクス インコーポレーテッド | データ領域を管理するためのデータ構造を備えた記録媒体と記録再生方法及び装置 |
| CA2525115A1 (en) | 2003-05-09 | 2004-11-18 | Lg Electronics Inc. | Recording medium having data structure for managing at least a data area of the recording medium and recording and reproducing methods and apparatuses |
| JP4533892B2 (ja) | 2003-07-04 | 2010-09-01 | エルジー エレクトロニクス インコーポレイティド | 追記型光ディスクの上書きを管理する方法及び装置 |
| KR101024916B1 (ko) | 2004-03-19 | 2011-03-31 | 엘지전자 주식회사 | 1회 기록 가능한 고밀도 광디스크의 데이터 기록 방법 및장치 |
| KR101113866B1 (ko) | 2004-03-19 | 2012-03-02 | 엘지전자 주식회사 | 기록매체내에 기록되는 데이터 구조 및 데이터 기록방법과기록장치 |
| KR101049117B1 (ko) | 2004-06-08 | 2011-07-14 | 엘지전자 주식회사 | 1회 기록 가능한 광디스크 및 광디스크의 관리정보 기록방법, 디스크 클로징 방법 및 기록재생 장치 |
| KR101014727B1 (ko) | 2004-06-23 | 2011-02-16 | 엘지전자 주식회사 | 1회 기록 가능한 광디스크의 중첩 기록 방법 및 장치 |
| KR101041811B1 (ko) | 2004-08-02 | 2011-06-17 | 엘지전자 주식회사 | 광 저장매체의 기록 재생 방법 및 장치 |
| KR101012378B1 (ko) | 2004-08-16 | 2011-02-09 | 엘지전자 주식회사 | 광 저장매체의 기록 재생 방법 및 장치 |
| JP5144265B2 (ja) | 2004-09-14 | 2013-02-13 | エルジー エレクトロニクス インコーポレイティド | 記録媒体及び記録媒体の記録再生方法及び装置 |
| US7613874B2 (en) | 2004-10-14 | 2009-11-03 | Lg Electronics, Inc. | Recording medium, and a method and apparatus for overwriting data in the same |
| GB2419265B (en) * | 2004-10-18 | 2009-03-11 | Wolfson Ltd | Improved audio processing |
| KR101227485B1 (ko) | 2005-11-25 | 2013-01-29 | 엘지전자 주식회사 | 기록매체 및 기록매체의 결함관리 정보 기록방법과기록장치 |
| KR20070058292A (ko) | 2005-12-02 | 2007-06-08 | 엘지전자 주식회사 | 기록매체, 기록매체 기록재생 방법 및 장치와 기록매체클로징 방법 |
Family Cites Families (9)
| Publication number | Priority date | Publication date | Assignee | Title |
|---|---|---|---|---|
| CA1124339A (en) * | 1979-05-15 | 1982-05-25 | Israel Levi | Amplitude equalizer circuit |
| US4451927A (en) * | 1982-03-24 | 1984-05-29 | Harris Corporation | Separation correction method and apparatus for plural channel transmission system |
| US4748669A (en) * | 1986-03-27 | 1988-05-31 | Hughes Aircraft Company | Stereo enhancement system |
| US4759065A (en) * | 1986-09-22 | 1988-07-19 | Harman International Industries, Incorporated | Automotive sound system |
| US4866774A (en) * | 1988-11-02 | 1989-09-12 | Hughes Aircraft Company | Stero enhancement and directivity servo |
| JP2767389B2 (ja) * | 1994-11-08 | 1998-06-18 | ローム株式会社 | イコライザおよびこれを用いるオーディオ装置 |
| US5692050A (en) * | 1995-06-15 | 1997-11-25 | Binaura Corporation | Method and apparatus for spatially enhancing stereo and monophonic signals |
| JPH09252500A (ja) * | 1996-03-15 | 1997-09-22 | Shuichi Sato | 音響機器におけるステレオ再生方式 |
| DE59611450D1 (de) * | 1996-05-17 | 2008-01-03 | Micronas Gmbh | Raumklangsystem |
-
2000
- 2000-05-12 EP EP00932346A patent/EP1177707B1/en not_active Expired - Lifetime
- 2000-05-12 MX MXPA01011426A patent/MXPA01011426A/es active IP Right Grant
- 2000-05-12 WO PCT/US2000/013049 patent/WO2000070913A2/en not_active Ceased
- 2000-05-12 AU AU50081/00A patent/AU5008100A/en not_active Abandoned
- 2000-05-12 KR KR1020017013546A patent/KR100699454B1/ko not_active Expired - Lifetime
- 2000-05-12 DE DE60013807T patent/DE60013807T2/de not_active Expired - Lifetime
- 2000-05-12 JP JP2000619239A patent/JP4868647B2/ja not_active Expired - Lifetime
- 2000-05-12 CN CNB008075379A patent/CN1227950C/zh not_active Expired - Lifetime
Also Published As
| Publication number | Publication date |
|---|---|
| JP2003500916A (ja) | 2003-01-07 |
| DE60013807D1 (de) | 2004-10-21 |
| EP1177707A2 (en) | 2002-02-06 |
| WO2000070913A9 (en) | 2002-04-18 |
| WO2000070913A3 (en) | 2001-08-16 |
| CN1364393A (zh) | 2002-08-14 |
| AU5008100A (en) | 2000-12-05 |
| WO2000070913A2 (en) | 2000-11-23 |
| DE60013807T2 (de) | 2005-04-14 |
| CN1227950C (zh) | 2005-11-16 |
| KR20010110799A (ko) | 2001-12-13 |
| MXPA01011426A (es) | 2002-06-04 |
| KR100699454B1 (ko) | 2007-03-27 |
| JP4868647B2 (ja) | 2012-02-01 |
Similar Documents
| Publication | Publication Date | Title |
|---|---|---|
| EP1177707B1 (en) | Centralizing of a spatially expanded stereophonic audio image | |
| US5930370A (en) | In-home theater surround sound speaker system | |
| CA2228051C (en) | Acoustic correction apparatus | |
| US4479235A (en) | Switching arrangement for a stereophonic sound synthesizer | |
| US5265166A (en) | Multi-channel sound simulation system | |
| US6711265B1 (en) | Centralizing of a spatially expanded stereophonic audio image | |
| US6947564B1 (en) | Stereophonic spatial expansion circuit with tonal compensation and active matrixing | |
| JP3431959B2 (ja) | オーディオ信号処理装置 | |
| US5533135A (en) | Crossover system | |
| CN1458809B (zh) | 具有音调补偿的扩展立体声电路 | |
| US4257067A (en) | Sound enhancement system for television receivers | |
| JP4097735B2 (ja) | スピーカ装置 | |
| JPS63194500A (ja) | ステレオ再生装置 | |
| US3050583A (en) | Controllable stereophonic electroacoustic network | |
| KR900010615Y1 (ko) | 저음 전용 증폭회로 | |
| JPH0735518Y2 (ja) | サラウンド回路 | |
| WO2000042819A1 (en) | A stereophonic spatial expansion circuit with tonal compensation and active matrixing | |
| US20020196950A1 (en) | Method and apparatus for treating an audio signal | |
| KR850003259Y1 (ko) | 모조 스테레오 | |
| JPS5832362Y2 (ja) | Fm放送再生装置 | |
| KR930004104B1 (ko) | 음향기기의 스테레오 확장회로 | |
| JPH0588020U (ja) | サブウ−ハ出力回路 | |
| JPH0136314B2 (enExample) | ||
| JPH10136496A (ja) | ステレオ音源移動音響効果装置 | |
| JPS6412160B2 (enExample) |
Legal Events
| Date | Code | Title | Description |
|---|---|---|---|
| PUAI | Public reference made under article 153(3) epc to a published international application that has entered the european phase |
Free format text: ORIGINAL CODE: 0009012 |
|
| 17P | Request for examination filed |
Effective date: 20011102 |
|
| AK | Designated contracting states |
Kind code of ref document: A2 Designated state(s): AT BE CH CY DE DK ES FI FR GB GR IE IT LI LU MC NL PT SE |
|
| AX | Request for extension of the european patent |
Free format text: AL;LT;LV;MK;RO;SI |
|
| 17Q | First examination report despatched |
Effective date: 20021230 |
|
| GRAP | Despatch of communication of intention to grant a patent |
Free format text: ORIGINAL CODE: EPIDOSNIGR1 |
|
| GRAS | Grant fee paid |
Free format text: ORIGINAL CODE: EPIDOSNIGR3 |
|
| GRAA | (expected) grant |
Free format text: ORIGINAL CODE: 0009210 |
|
| AK | Designated contracting states |
Kind code of ref document: B1 Designated state(s): DE FR GB IT |
|
| REG | Reference to a national code |
Ref country code: GB Ref legal event code: FG4D |
|
| REG | Reference to a national code |
Ref country code: IE Ref legal event code: FG4D |
|
| REF | Corresponds to: |
Ref document number: 60013807 Country of ref document: DE Date of ref document: 20041021 Kind code of ref document: P |
|
| REG | Reference to a national code |
Ref country code: GB Ref legal event code: 746 Effective date: 20041026 |
|
| LTIE | Lt: invalidation of european patent or patent extension |
Effective date: 20040915 |
|
| PLBE | No opposition filed within time limit |
Free format text: ORIGINAL CODE: 0009261 |
|
| STAA | Information on the status of an ep patent application or granted ep patent |
Free format text: STATUS: NO OPPOSITION FILED WITHIN TIME LIMIT |
|
| ET | Fr: translation filed | ||
| 26N | No opposition filed |
Effective date: 20050616 |
|
| REG | Reference to a national code |
Ref country code: FR Ref legal event code: D6 |
|
| REG | Reference to a national code |
Ref country code: FR Ref legal event code: PLFP Year of fee payment: 17 |
|
| REG | Reference to a national code |
Ref country code: FR Ref legal event code: PLFP Year of fee payment: 18 |
|
| REG | Reference to a national code |
Ref country code: DE Ref legal event code: R082 Ref document number: 60013807 Country of ref document: DE Representative=s name: DEHNS PATENT AND TRADEMARK ATTORNEYS, DE Ref country code: DE Ref legal event code: R082 Ref document number: 60013807 Country of ref document: DE Representative=s name: DEHNS PATENT AND TRADE MARK ATTORNEYS, DE Ref country code: DE Ref legal event code: R082 Ref document number: 60013807 Country of ref document: DE Representative=s name: HOFSTETTER, SCHURACK & PARTNER PATENT- UND REC, DE |
|
| REG | Reference to a national code |
Ref country code: FR Ref legal event code: PLFP Year of fee payment: 19 |
|
| REG | Reference to a national code |
Ref country code: FR Ref legal event code: TP Owner name: THOMSON LICENSING DTV, FR Effective date: 20180830 |
|
| REG | Reference to a national code |
Ref country code: GB Ref legal event code: 732E Free format text: REGISTERED BETWEEN 20180927 AND 20181005 |
|
| REG | Reference to a national code |
Ref country code: DE Ref legal event code: R082 Ref document number: 60013807 Country of ref document: DE Representative=s name: DEHNS PATENT AND TRADEMARK ATTORNEYS, DE Ref country code: DE Ref legal event code: R081 Ref document number: 60013807 Country of ref document: DE Owner name: INTERDIGITAL MADISON PATENT HOLDINGS, FR Free format text: FORMER OWNER: THOMSON LICENSING S.A., BOULOGNE, CEDEX, FR Ref country code: DE Ref legal event code: R082 Ref document number: 60013807 Country of ref document: DE Representative=s name: DEHNS PATENT AND TRADE MARK ATTORNEYS, DE |
|
| PGFP | Annual fee paid to national office [announced via postgrant information from national office to epo] |
Ref country code: DE Payment date: 20190418 Year of fee payment: 20 Ref country code: IT Payment date: 20190418 Year of fee payment: 20 |
|
| PGFP | Annual fee paid to national office [announced via postgrant information from national office to epo] |
Ref country code: FR Payment date: 20190419 Year of fee payment: 20 |
|
| PGFP | Annual fee paid to national office [announced via postgrant information from national office to epo] |
Ref country code: GB Payment date: 20190423 Year of fee payment: 20 |
|
| REG | Reference to a national code |
Ref country code: DE Ref legal event code: R071 Ref document number: 60013807 Country of ref document: DE |
|
| REG | Reference to a national code |
Ref country code: GB Ref legal event code: PE20 Expiry date: 20200511 |
|
| PG25 | Lapsed in a contracting state [announced via postgrant information from national office to epo] |
Ref country code: GB Free format text: LAPSE BECAUSE OF EXPIRATION OF PROTECTION Effective date: 20200511 |