EP1076211A2 - Vorrichtung zur Rauchfreihaltung von Rettungswegen in Gebäuden - Google Patents

Vorrichtung zur Rauchfreihaltung von Rettungswegen in Gebäuden Download PDF

Info

Publication number
EP1076211A2
EP1076211A2 EP00116550A EP00116550A EP1076211A2 EP 1076211 A2 EP1076211 A2 EP 1076211A2 EP 00116550 A EP00116550 A EP 00116550A EP 00116550 A EP00116550 A EP 00116550A EP 1076211 A2 EP1076211 A2 EP 1076211A2
Authority
EP
European Patent Office
Prior art keywords
control
escape route
signal
fire
control unit
Prior art date
Legal status (The legal status is an assumption and is not a legal conclusion. Google has not performed a legal analysis and makes no representation as to the accuracy of the status listed.)
Granted
Application number
EP00116550A
Other languages
English (en)
French (fr)
Other versions
EP1076211B1 (de
EP1076211A3 (de
Inventor
Horst Dr. Ermer
Current Assignee (The listed assignees may be inaccurate. Google has not performed a legal analysis and makes no representation or warranty as to the accuracy of the list.)
BranTech GmbH
Original Assignee
BranTech GmbH
Priority date (The priority date is an assumption and is not a legal conclusion. Google has not performed a legal analysis and makes no representation as to the accuracy of the date listed.)
Filing date
Publication date
Application filed by BranTech GmbH filed Critical BranTech GmbH
Publication of EP1076211A2 publication Critical patent/EP1076211A2/de
Publication of EP1076211A3 publication Critical patent/EP1076211A3/de
Application granted granted Critical
Publication of EP1076211B1 publication Critical patent/EP1076211B1/de
Anticipated expiration legal-status Critical
Expired - Lifetime legal-status Critical Current

Links

Images

Classifications

    • FMECHANICAL ENGINEERING; LIGHTING; HEATING; WEAPONS; BLASTING
    • F24HEATING; RANGES; VENTILATING
    • F24FAIR-CONDITIONING; AIR-HUMIDIFICATION; VENTILATION; USE OF AIR CURRENTS FOR SCREENING
    • F24F11/00Control or safety arrangements
    • F24F11/0001Control or safety arrangements for ventilation
    • FMECHANICAL ENGINEERING; LIGHTING; HEATING; WEAPONS; BLASTING
    • F24HEATING; RANGES; VENTILATING
    • F24FAIR-CONDITIONING; AIR-HUMIDIFICATION; VENTILATION; USE OF AIR CURRENTS FOR SCREENING
    • F24F7/00Ventilation
    • F24F7/04Ventilation with ducting systems, e.g. by double walls; with natural circulation
    • F24F7/06Ventilation with ducting systems, e.g. by double walls; with natural circulation with forced air circulation, e.g. by fan positioning of a ventilator in or against a conduit
    • FMECHANICAL ENGINEERING; LIGHTING; HEATING; WEAPONS; BLASTING
    • F24HEATING; RANGES; VENTILATING
    • F24FAIR-CONDITIONING; AIR-HUMIDIFICATION; VENTILATION; USE OF AIR CURRENTS FOR SCREENING
    • F24F11/00Control or safety arrangements
    • F24F11/30Control or safety arrangements for purposes related to the operation of the system, e.g. for safety or monitoring
    • F24F11/32Responding to malfunctions or emergencies
    • F24F11/33Responding to malfunctions or emergencies to fire, excessive heat or smoke

Definitions

  • the present invention relates to an arrangement for keeping smoke free of escape routes in buildings, especially internal ones Stairwells.
  • DE 297 16 474 U1 describes a device for stationary positive pressure ventilation of a building.
  • the device consists of a High performance fan in front of an opening in the outer wall of a building is positioned, and the smoke-free fresh air in the event of fire Promotes opening in the outer wall into the interior of the building. It is also provided that the opening in the outer wall can be closed by means of slats make, the fins by the delivery pressure of the fan or by means of an actuating device which responds to a fire signal can.
  • a ventilation device can be provided in the building be, so that through the pressure ventilation an air flow in to Ventilation provided rooms.
  • the High-performance fan and the ventilation device via smoke sensors can be controlled.
  • a device for keeping smoke free from Escape routes in buildings containing the components listed below comprises in a compact device, preferably in a common Housing are integrated.
  • the device comprises a fan unit, which has at least one fan, which is preferably encapsulated is.
  • the fan unit is designed to allow smoke-free air into the escape route to promote, especially air from the surroundings of the building.
  • the device comprises a control unit which has an input for a supply voltage, an input for a first signal line from a fire and / or smoke detector or a manual alarm button and an output for a first control line for the fan unit having.
  • the control unit is intended to consist of one at the entrance the signal applied to the first signal line, which signals a fire, generate a control signal by means of which the fan unit is controlled via the first control line, so that smoke-free air in the Escape route is promoted.
  • the first control line can also be complete run inside the compact device so that the output for the first Control line is not necessarily accessible from outside the compact device have to be.
  • the device according to the invention represents a minimal configuration that smoke-free escape routes in buildings, especially internal ones Stairways, safe in case of fire by means of positive pressure ventilation prevented.
  • the compact device has a mounting frame that allows mounting of the compact device in the frame of windows, skylights or doors preferably standardized size allows. In this way, the Installation of the device according to the invention without major structural changes on the building simply by exchanging a window or skylight respectively.
  • the compact device is designed so that with such Assembly automatically promotes smoke-free air from the environment of the building in the escape route using the fan unit is. In this way, the cost of equipping buildings can be minimized with a device according to the invention.
  • control unit of the compact device has an output for a second Control line, which for controlling a variable outflow opening is provided.
  • the control unit is set up to consist of one signal present at the input of the first signal line, which is a Fire signals that a control signal is generated by means of which a variable outflow opening is controlled via the second control line.
  • variable outflow opening in this way is controlled that there is a preset flow resistance the outflow opening.
  • a preset Flow resistance have been determined in preliminary tests, the default Flow resistance was determined in such a way that an optimal Overpressure ventilation of the escape route results.
  • the Flow resistance to be set from the delivery rate of the fan unit depend on the compact device.
  • control signal a complete opening of the outflow opening, d. H. a minimization of the flow resistance of the outflow opening.
  • the compact device has one Input for a second signal line for signals from one in the escape route arranged pressure sensor.
  • the control unit is modified so that that it is set up to provide a control signal for the outflow opening to generate a change in the flow resistance of the Outflow opening in such a way that a preset pressure value is set in the escape route.
  • control unit of the compact device is designed to do so in the main claim of the patent application Arrangement for setting a pressure difference "by the same applicant from the same day.
  • the control unit of the arrangement for setting a pressure difference is now integrated in the control unit of the compact device.
  • the methods specified in subclaims 2 and 3 of the parallel patent application are used for the determination Both methods can advantageously be carried out by the control unit of the compact device.
  • a comparable effect can be achieved if in addition to the pressure sensor
  • Another pressure sensor in the escape route in the vicinity of the building is arranged which detects the ambient pressure.
  • the ambient pressure is used as a reference print.
  • a particular simplification can be made at this Spot can be achieved by using a differential pressure sensor instead of two Pressure sensor for the pressure in the escape route and the ambient pressure is used.
  • a pre-set pressure in the escape route can be achieved using the compact device can be set when the control unit of the compact device is designed to control the delivery rate of the fan unit, for example via a speed control.
  • the compact device is expanded by additional fan units can be. This can preferably be done by simply flanging on further ones Fan units take place on the compact device, whereby special There are advantages if the compact device and the additional fan unit are designed so that the mechanical connection of Compact device and additional fan unit automatically an electrical Contact between the output for a first control line of the control unit and the corresponding input of the additional fan unit results.
  • the compact device has an emergency power supply comprises, which supplies at least the control unit. If so Emergency generators with a sufficiently compact design and sufficient Power is available that also supplies the fan unit such an emergency power supply can be taken for granted supply both the control unit and the fan unit of the compact device.
  • the control unit of the compact device can be further developed that a further output is provided for a fourth control line, can be controlled via the automatic door closer.
  • Such Door closers are preferably attached to doors leading to the escape route to lead.
  • the control unit controls the door closer in such a way that it closes the door leading to the escape route.
  • the automatic door closer preferably as a freewheel door closer be executed, d. H. as a door closer which has no or only in normal operation exerts a small force on the door, but in the event of fire, the door with a large one Power closes.
  • control unit has another Output for a fifth control line for a door actuator, which controlled by the control unit a door in the escape route in the Fire opens or closes.
  • the compact device can be equipped with an internal signal transmitter for warning purposes be equipped, which in the event of fire from the control unit via a third Control line controlled and for transmission, for example, acoustic or visual warning signals.
  • a connection for an external signal transmitter can also be provided.
  • an operating state is set on the control unit can be used for the ventilation of escape routes outside in the event of a fire.
  • Such an operating state is due to a fresh air supply by means of the fan unit and / or by ventilation characterized a controlled open discharge opening.
  • Advantageously is ensured in such an operating state that the resulting Pressure increase in the escape route remains below 5 Pa, preferably below 1 Pa. This ensures that doors leading to the escape route opened and thus opened against the excess pressure in the escape route must be easy, even by small or light people can be opened.
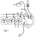
  • FIG. 1 shows schematically a first embodiment of the inventive Contraption.
  • a fan unit 2 and a control unit 3 are shown in FIG a common housing 1 connected to a compact device.
  • the fan unit 2 has an input 22 for a first control line 332 on.
  • the control unit 3 has an input for a voltage supply 31 and a first signal input 321 for a fire or Smoke detector 41 and a further first signal input 321 for one manual alarm button 42 on. Both the detector 41 and the alarm button 42 are connected to the corresponding ones via separate first control lines 322 first signal inputs 321 connected.
  • first two signal inputs 321 for a first Signal line 322 is omitted.
  • control unit 3 is set up to consist of a Signal which is present at a first signal input 321 and which signals a fire or alarm, a control signal in this way generate that over a first control line 332 at the first control output 331 connected fan unit 2 begins to convey air.
  • the device according to the invention shown in FIG. 1 is preferred in a low-lying area of an escape route in a building mounted in such a way that the fan unit 2 is smoke-free as efficiently as possible Deliver fresh air from the surroundings of the building to the escape route can.
  • the fan unit 2 can be in the immediate vicinity, for example of a wall opening.
  • the housing 1 of the invention Device for mounting in the framework of a skylight, window or a door, preferably of a standardized size.
  • suitable mounting rails 11 can be attached to the housing 1 be provided so that the compact device completely instead of a window can be used in an existing window frame.
  • this is a Existing buildings can be retrofitted particularly easily.
  • the delivery rate is preferred of the compact device by varying the number of modular gate units 2 adapted to the structural conditions of the escape route.
  • FIG corresponds to Figure 1.
  • the multiple fan units 2 do not have a common first Control line 332 controlled synchronously, but via individual first Control lines 332 individually controlled.
  • FIG. 3 shows a further embodiment of the device according to the invention, which is based on the device shown in FIG. 1. From Figure 3 visible device additionally has a second signal input 341 for a second signal line 342, which is supplied by a pressure sensor 6 originates, and a second control output 351 for a second control line 352, which leads to an actuating device 51 of a variable outflow opening 5 leads on.
  • control unit 3 is set up to with the alarm signal present at the first signal input 321 on the first Control output 331 a signal to control the fan unit 2 generate, as well as a signal for the steep device at the second control output 351 51 to generate the variable outflow opening 5 in such a way that the adjusting device 51 the flow resistance of the outflow opening 5 sets a preset value.
  • delivery rate of the fan unit / units 2 and the preset Value of the flow resistance of the outflow opening 5 to the structural Escape route conditions can be adjusted.
  • FIG. 4 shows an extension of the inventive device known from FIG. 3 Device which additionally has a second signal input 341 for a has second signal line 342, which for connecting a pressure sensor 6 is provided.
  • a first pressure sensor 61 is preferably in the escape route arranged and serves a controlled pressure in the escape route by regulating the flow resistance of the variable outflow opening 5 and / or the delivery rate of the fan units 2.
  • This control task is carried out by the control unit 3.
  • the control unit 3 is for this set up, the current pressure measured by the first pressure sensor 61 in the escape route with a reference value and compare the difference between the measured pressure in the escape route and the reference value to regulate a preset target difference.
  • This regulation can on the one hand by regulating the delivery capacity of the fan unit 2 and on the other hand by varying the flow resistance of the outflow opening 5.
  • a combination of both control parameters is also conceivable.
  • Figure 5 shows the use of an inventive device for positive pressure ventilation of a stairwell in a multi-storey building.
  • the inventive device is by means of mounting rails 11 in the Skylight of the outer door of the stairwell of the housing, which as Escape route serves, assembled.
  • the control unit 3 is via a first signal line 322 with a fire and / or smoke detector 41 and a manual Alarm button 42 connected, both in the area of the escape route are arranged.
  • the escape route points in its upper area a variable outflow opening 5, which in this embodiment in the roof of the building is integrated.
  • the actuator 51 of the variable Outflow opening 5 is connected to the second one via a second control line 352 Control output 351 of the control unit 3 of the compact device connected.
  • Farther is a first pressure sensor in the immediate vicinity of the outflow opening 5 61 arranged within the escape route, via a second signal line 342 with the second signal input 341 of the control unit 3 of the Compact device is connected.
  • An alarm signal goes over a first signal line 322 control unit 3 controls fan unit 2 in this way that the fan unit 2 smokeless fresh air from the environment of the building in the escape route, d. H. in the stairwell.
  • the control unit 3 controls the adjusting device 51 of the variable outflow opening 5 via the second control line 352 such that an in Preliminary tests determined flow resistance of the outflow opening 5 achieved becomes.
  • the combination of the delivery capacity of the fan unit is advantageous 2 and flow resistance of the outflow opening 5 in such a way the structural conditions in the escape route matched the optimal Conditions for positive pressure ventilation in relation to that through the escape route flowing air quantity per time, their flow velocity as well as the resulting overpressure in the escape route.
  • the device according to the invention holds one constant overpressure in the stairwell. This is done by using the first pressure sensor 61 the pressure conditions in the stairwell with a Reference value are compared and the delivery rate of the fan unit 2 and / or the flow resistance of the outflow opening 5 is regulated in this way that the difference between that measured in the stairwell Pressure and the reference pressure as close as possible to a preset Differential pressure.
  • This target differential pressure is chosen so that there is an overpressure in the stairwell, the value of which is preferably between 15 Pa and 35 Pa, in particular between 10 Pa and 50 Pa.
  • the reference value can be obtained using a second pressure sensor 62 (not shown) determined pressure in the vicinity of the building, where at this point, a differential pressure sensor 63 (not shown) is advantageous instead two separate pressure sensors 61 and 62 for measuring the Pressure in the stairwell and the measurement of the pressure in the vicinity of the Building is used.
  • the above can be used as the reference pressure as already described an interval of duration ⁇ 1 averaged pressure in the stairwell was used the interval before the fire should occur.
  • This Pressure in the stairwell averaged over a period of time before the fire corresponds with good accuracy to the pressure in the vicinity of the building.
  • a second pressure sensor 62 for measuring the External pressure can be saved.
  • stairways in high Buildings can advantageously have a plurality of devices according to the invention be used.
  • This plurality is according to the invention Devices essentially along the entire length of the escape route distributed, so that in the event of fire smoke-free fresh air at several Places at the same time in the escape route is promoted, the arrangement is advantageously chosen so that it is as homogeneous as possible Pressure distribution in the escape route results. For example, in one thirty-storey building all five floors devices according to the invention to be ordered.
  • a device for keeping escape routes smoke-free according to the present invention in an advantageous manner with an arrangement for setting a pressure difference such as that mentioned Patent application of the same applicant from the same day is known an overall arrangement for smoke-free escape routes in buildings can be combined using positive pressure ventilation.
  • an overall arrangement for smoke-free escape routes in buildings can be combined using positive pressure ventilation.
  • additional inputs and outputs for signal and Control lines of pressure sensors and control devices of the outflow opening on the control unit of the device according to the invention whereby the installation of such an overall arrangement is further simplified.
  • a further significant increase in operational security can be achieved be, if the inventive device for smoke control of Escape routes in buildings with a self-opening discharge opening is combined, as it further registration of the same applicant from same day is known.
  • the self-adjusting outflow opening in combination with the inventive device for Smoke-free escape routes in buildings will be self-regulating Outflow opening 5 configured such that in the event of a failure of the Power supply to the self-regulating discharge opening or a control signal on the second control line 352 to the self-adjusting outflow opening 5, the adjusting device 51 of the outflow opening 5, the flow resistance the outflow opening 5 is automatically reduced. In this way, a safe function of the overall arrangement for smoke-free escape routes in buildings by means of positive pressure ventilation even if the Mains supply or in the event of destruction of an otherwise conventional control line between Outflow opening and control unit are guaranteed.

Landscapes

  • Engineering & Computer Science (AREA)
  • Chemical & Material Sciences (AREA)
  • Combustion & Propulsion (AREA)
  • Mechanical Engineering (AREA)
  • General Engineering & Computer Science (AREA)
  • Respiratory Apparatuses And Protective Means (AREA)
  • Emergency Lowering Means (AREA)
  • Buildings Adapted To Withstand Abnormal External Influences (AREA)

Abstract

Die Erfindung bezieht sich auf eine Vorrichtung zur Rauchfreihaltung von Rettungswegen in Gebäuden, insbesondere von innenliegenden Treppenhäusern, welche die folgenden Komponenten umfasst, die in ein Kompaktgerät, vorzugsweise in ein gemeinsames Gehäuse (1) integriert sind eine Ventilatoreinheit (2), welche mindestens einen vorzugsweise gekapselten Ventilator (21) aufweist, wobei die Ventilatoreinheit (2) dazu vorgesehen ist, rauchfreie Luft vorzugsweise aus der Umgebung eines Gebäudes in einen Rettungsweg des Gebäudes zu fördern, eine Steuereinheit (3), welche einen Eingang (31) für eine Versorgungsspannung, einen ersten Signaleingang (312) für eine erste Signalleitung (322) von einem Alarmmelder (4) wie einem Brand- und/oder Rauchdetektor (41) oder einem manuellen Alarmtaster (42) und einen ersten Steuerausgang (331) für eine erste Steuerleitung (332) zur Ansteuerung der Ventilatoreinheit (2) aufweist, wobei die Steuereinheit (3) dazu eingerichtet ist, aus einem am ersten Signaleingang (312) anliegenden Signal, welches einen Brandfall signalisiert, ein Steuersignal zu generieren, mittels welchem die Ventilatoreinheit (2) über die erste Steuerleitung (332) dergestalt angesteuert wird, dass sie beginnt, rauchfreie Luft in den Rettungsweg zu fördern. <IMAGE>

Description

Gegenstand der vorliegenden Erfindung ist eine Anordnung zur Rauchfreihaltung von Rettungswegen in Gebäuden, insbesondere von innenliegenden Treppenhäusern.
Aus der DE 297 16 474 U1 ist eine Vorrichtung zur stationären Überdruckbelüftung eines Gebäudes bekannt. Die Vorrichtung besteht aus einem Hochleistungsventilator, der vor einer Öffnung in der Aussenwand eines Gebäudes positioniert ist, und der im Brandfall rauchfreie Frischluft durch die Öffnung in der Aussenwand ins Gebäudeinnere fördert. Weiterhin ist vorgesehen, die Öffnung in der Aussenwand mittels Lamellen verschliessbar zu machen, wobei die Lamellen durch den Förderdruck des Ventilators oder mittels einer Stelleinrichtung, die auf ein Feuersignal reagiert, geöffnet werden können. Schliesslich kann eine Entlüftungseinrichtung im Gebäude vorgesehen werden, so dass durch die Überdruckbelüftung ein Luftstrom in zur Belüftung vorgesehenen Räumen entsteht. Insbesondere können auch der Hochleistungsventilator und die Entlüftungseinrichtung über Rauchsensoren angesteuert werden.
Aus der Zeitschrift
Figure 00010001
Feuerwehr", Ausgabe 9/95, Seite 48 ff ist eine in ihrer Funktionsweise vergleichbare Überdrucklüftungsanlage beschrieben. Im Gegensatz zur vorgenannten Vorrichtung wird im Brandfall Frischluft über eine Rohrleitung ins Gebäudeinnere gefördert, in der oder an deren Ende ein Ventilator angeordnet ist.
Das zugrundeliegende Konzept zur Rauchfreihaltung von Rettungswegen in Gebäuden, welches im folgenden als Überdrucklüftung bezeichnet, hat sich in der Praxis hervorragend bewährt und wird bereits vielfach eingesetzt. Jedoch weisen die vorbekannten Vorrichtungen entscheidende Nachteile bezüglich ihrer Installation in Neubauten oder ihrer Nachrüstung in bestehenden Bauten auf. Bei allen vorbekannten Konzepten muss eine Öffnung in der Gebäudeaussenwand für die Frischluftzufuhr geschaffen werden. Insbesondere bei der letztgenannten Vorrichtung müssen zusätzlich Rohrleitungen für die Frischluftzufuhr verlegt werden. Weiterhin bestehen die vorbekannten Vorrichtungen aus einer Vielzahl von Einzelkomponenten, was zu einem hohen Aufwand bei der Neuinstallation oder Nachrüstung derartiger Vorrichtungen führt. So muss Platz für eine Ventilatoreinheit einschliesslich Rohrleitungen und ein Schaltschrank für die Aufnahme der erforderlichen Steuerelemente gefunden werden. Die Vielzahl der Einzelkomponenten erfordert zusätzlich einen erhöhten Aufwand bei der Verkabelung einer solchen Vorrichtung.
Aufgabe der vorliegenden Erfindung soll es daher sein, eine Vorrichtung zur Rauchfreihaltung von Rettungswegen in Gebäuden, insbesondere von innenliegenden Treppenhäusern, anzugeben, welche die genannten Nachteile vermeidet, insbesondere ohne erhöhte bauliche Massnahmen in Neubauten oder bestehende Bauten zu integrieren ist.
Gelöst wird diese Aufgabe durch eine Vorrichtung zur Rauchfreihaltung von Rettungswegen in Gebäuden, welche die im folgenden aufgeführten Komponenten umfasst, die in ein Kompaktgerät, vorzugsweise in ein gemeinsames Gehäuse integriert sind. Die Vorrichtung umfasst eine Ventilatoreinheit, welche mindestens einen Ventilator aufweist, welcher vorzugsweise gekapselt ist. Die Ventilatoreinheit ist dazu vorgesehen, rauchfreie Luft in den Rettungsweg zu fördern, insbesondere Luft aus der Umgebung des Gebäudes. Weiterhin umfasst die Vorrichtung eine Steuereinheit, welche einen Eingang für eine Versorgungsspannung, einen Eingang für eine erste Signalleitung von einem Brand- und/oder Rauchdetektor oder einem manuellen Alarmtaster und einen Ausgang für eine erste Steuerleitung für die Ventilatoreinheit aufweist. Die Steuereinheit ist dazu vorgesehen, aus einem am Eingang der ersten Signalleitung anliegenden Signal, welches einen Brandfall signalisiert, ein Steuersignal zu generieren, mittels welchem die Ventilatoreinheit über die erste Steuerleitung angesteuert wird, so dass rauchfreie Luft in den Rettungsweg gefördert wird. Die erste Steuerleitung kann auch vollständig innerhalb des Kompaktgeräts verlaufen, so dass der Ausgang für die erste Steuerleitung nicht zwangsläufig von ausserhalb des Kompaktgeräts zugänglich sein muss.
Die erfindungsgemässe Vorrichtung stellt eine Minimalkonfiguration dar, die eine Rauchfreihaltung von Rettungswegen in Gebäuden, insbesondere innenliegenden Treppenhäusern, im Brandfall mittels Überdrucklüftung sicher verhindert. Die Integration von Ventilatoreinheit und Steuereinheit in einem Kompaktgerät, vorzugsweise in ein gemeinsames Gehäuse, schafft die Voraussetzungen für eine einfache und fehlerfreie Montage. Aufgrund der gewählten Bauform erfolgt die anschlussfertige Verkabelung nach Montage der Vorrichtung durch Anschluss einer Versorgungsspannung und durch Anschluss einer entsprechenden Signalleitung von einer Feuermeldereinrichtung wie Brand- oder Rauchdetektoren oder manuellen Alarmtastern an dem dafür vorgesehenen Eingang für eine erste Signalleitung.
In einer besonders bevorzugten Weiterbildung der erfindungsgemässen Vorrichtung weist das Kompaktgerät einen Montagerahmen auf, der eine Montage des Kompaktgeräts in Rahmen von Fenstern, Oberlichtern oder Türen vorzugsweise standardisierter Grösse ermöglicht. Auf diese Weise kann der Einbau der erfindungsgemässen Vorrichtung ohne grössere bauliche Veränderungen am Gebäude einfach durch Austausch eines Fensters oder Oberlichts erfolgen. Dabei ist das Kompaktgerät so gestaltet, dass bei einer solchen Montage automatisch eine Förderung von rauchfreier Luft aus der Umgebung des Gebäudes in den Rettungsweg mittels der Ventilatoreinheit möglich ist. Auf diese Weise können die Kosten für die Ausstattung von Gebäuden mit einer erfindungsgemässen Vorrichtung minimiert werden.
Eine weitere Verbesserung der erfindungsgemässen Vorrichtung ergibt sich, wenn die Steuereinheit des Kompaktsgeräts einen Ausgang für eine zweite Steuerleitung aufweist, der für die Ansteuerung einer variablen Abströmöffnung vorgesehen ist. Dabei ist die Steuereinheit dazu eingerichtet, aus einem am Eingang der ersten Signalleitung anliegenden Signal, welches einen Brandfall signalisiert, ein Steuersignal zu generieren, mittels welchem eine variable Abströmöffnung über die zweite Steuerleitung angesteuert wird.
Besondere Vorteile ergeben sich, wenn die variable Abströmöffnung dergestalt angesteuert wird, dass sich ein voreingestellter Strömungswiderstand der Abströmöffnung ergibt. Insbesondere kann ein solcher voreingestellter Strömungswiderstand in Vorversuchen ermittelt worden sein, wobei der voreingestellte Strömungswiderstand so bestimmt wurde, dass sich eine optimale Überdrucklüftung des Rettungswegs ergibt. Dabei kann die Gesamtinstallation aus Kompaktgerät und Abströmöffnung auf die baulichen Gegebenheiten des Rettungswegs abgestimmt werden. Insbesondere kann der einzustellende Strömungswiderstand von der Förderleistung der Ventilatoreinheit des Kompaktgeräts abhängen.
Je nach verwendeter Abströmöffnung kann es auch vorteilhaft sein, wenn das Stellsignal eine vollständige Öffnung der Abströmöffnung, d. h. eine Minimierung des Strömungswiderstands der Abströmöffnung bewirkt.
In einer weiteren vorteilhaften Ausbildung weist das Kompaktgerät einen Eingang für eine zweite Signalleitung für Signale von einem im Rettungsweg angeordneten Drucksensor auf. Die Steuereinheit wird dahingehend abgeändert, dass sie dazu eingerichtet ist, ein Steuersignal für die Abströmöffnung zu generieren, welches eine Änderung des Strömungswiderstands der Abströmöffnung dergestalt zur Folge hat, das ein voreingestellter Druckwert im Rettungsweg eingestellt wird.
Besondere Vorteile ergeben sich, wenn die Steuereinheit des Kompaktgeräts dazu ausgelegt ist, das im Hauptanspruch der Patentanmeldung Anordnung zur Einstellung einer Druckdifferenz" des gleichen Anmelders vom selben Tage beschriebene Verfahren auszuführen. Dabei ist die Steuerungseinheit der Anordnung zur Einstellung einer Druckdifferenz nun in die Steuereinheit des Kompaktgeräts integriert. Insbesondere werden die in den Unteransprüchen 2 und 3 der parallelen Patentanmeldung genannten Verfahrensweisen zur Bestimmung eines Referenzdrucks ebenfalls zum Inhalt dieser Patentanmeldung gemacht. Beide Verfahrensweisen können vorteilhaft von der Steuereinheit des Kompaktgeräts ausgeführt werden. Im Unteranspruch 2 wird beansprucht, den über ein Zeitintervall der Dauer τ1 gemittelten Druck im Rettungsweg als Referenzdruck zu verwenden. Im Rettungsweg wird mittels des Kompaktgeräts und der variablen Abströmöffnung ein voreingestellter Druck erzeugt, der über dem Referenzdruck liegt. Auf diese Weise kann mit grosser Sicherheit ein ausreichender aber kontrollierter Überdruck im Rettungsweg sichergestellt werden.
Eine vergleichbare Wirkung erzielt man, wenn zusätzlich zum Drucksensor im Rettungsweg ein weiterer Drucksensor in der Umgebung des Gebäudes angeordnet ist der den Umgebungsdruck erfasst. Der Umgebungsdruck wird als Referenzdruck verwendet. Eine besondere Vereinfachung kann an dieser Stelle erzielt werden, indem ein Differenzdrucksensor anstelle zweier einzelner Drucksensor für den Druck im Rettungsweg und den Umgebungsdruck verwendet wird.
Weiterhin kann ein voreingestellter Druck im Rettungsweg mittels des Kompaktgeräts eingestellt werden, wenn die Steuereinheit des Kompaktgeräts dazu ausgelegt ist, die Fördermenge der Ventilatoreinheit zu kontrollieren, beispielsweise über eine Drehzahlsteuerung.
Auch durch eine solche Variation der Fördermenge der Ventilatoreinheit kann sichergestellt werden, dass ein in Vorversuchen als optimal ermittelter voreingestellter Überdruck im Rettungsweg erzielt wird. Selbstverständlich können auch sowohl der Strömungswiderstand der Abströmöffnung als auch die Fördermenge der Ventilatoreinheit gleichzeitig variiert werden.
Um besonders flexibel auf die unterschiedlichen Anforderungen bei der Verwendung einer erfindungsgemässen Vorrichtung in unterschiedlichen Gebäuden reagieren zu können, hat es sich als besonders vorteilhaft erwiesen, wenn das Kompaktgerät modular um weitere Ventilatoreinheiten erweitert werden kann. Dies kann vorzugsweise durch einfaches Anflanschen weiterer Ventilatoreinheiten an das Kompaktgerät erfolgen, wobei sich besondere Vorteile ergeben, wenn das Kompaktgerät und die zusätzliche Ventilatoreinheit so ausgeführt sind, dass sich bei der mechanischen Verbindung von Kompaktgerät und zusätzlicher Ventilatoreinheit automatisch ein elektrischer Kontakt zwischen dem Ausgang für eine erste Steuerleitung der Steuereinheit und dem entsprechenden Eingang der zusätzlichen Ventilatoreinheit ergibt.
Bei einem Kompaktgerät, welches bereits modular um weitere Ventilatoreinheiten erweitert wurde, können entweder sämtliche Ventilatoreinheiten synchron über eine erste Steuerleitung von der Steuereinheit angesteuert werden, wobei dies schalttechnisch vorzugsweise so ausgeführt wird, dass der Ausfall einer Ventilatoreinheit nicht zum Ausfall aller anderen Ventilatoreinheiten führt, oder es können alle Ventilatoreinheiten individuell über individuelle erste Steuerleitungen, die mit dafür vorgesehenen Ausgängen der Steuereinheit verbunden sind, von der Steuereinheit angesteuert werden. Hierdurch ergeben sich insbesondere zwei Möglichkeiten, die Frischluftfördermenge der Ventilatoreinheiten mittels der Steuereinheit zu variieren:
  • 1. die Drehzahlen aller Ventilatoreinheiten werden synchron von der Steuereinheit variiert,
  • 2. die Ventilatoreinheiten laufen mit fester Drehzahl, vorzugsweise bei optimalem Wirkungsgrad, die Fördermenge wird von der Steuereinheit durch Zuschalten oder Abschalten einzelner Ventilatoreinheiten variiert.
  • Selbstverständlich können beide genannten Verfahrensweisen beliebig miteinander kombiniert werden.
    Weitere Vorteile ergeben sich, wenn das Kompaktgerät eine Notstromversorgung umfasst, welche mindestens die Steuereinheit versorgt. Falls jedoch Notstromaggregate mit ausreichend kompakter Bauweise und ausreichender Leistung zur Verfügung stehen, dass auch die Ventilatoreinheit versorgt werden kann, so kann eine solche Notstromversorgung selbstverständlich sowohl Steuereinheit als auch Ventilatoreinheit des Kompaktgeräts versorgen.
    Um einen sicheren Überdruckaufbau im Rettungsweg zu gewährleisten, kann die Steuereinheit des Kompaktgeräts dahingehend weitergebildet werden, dass ein weiterer Ausgang für eine vierte Steuerleitung vorgesehen ist, über die automatische Türschliesser angesteuert werden können. Solche Türschliesser sind vorzugsweise an Türen angebracht, welche zum Rettungsweg führen. Im Brandfall steuert die Steuereinheit den Türschliesser dergestalt, dass dieser die zum Rettungsweg führende Türe schliesst. Dabei kann der automatische Türschliesser, vorzugsweise als Freilauftürschliesser ausgeführt sein, d. h. als Türschliesser der im Normalbetrieb keine oder nur eine geringe Kraft auf die Tür ausübt, jedoch im Brandfall die Tür mit grosser Kraft schliesst.
    Weiterhin kann es vorteilhaft sein, wenn die Steuereinheit einen weiteren Ausgang für eine fünfte Steuerleitung für einen Türsteller aufweist, welcher von der Steuereinheit angesteuert eine im Rettungsweg gelegene Tür im Brandfall öffnet oder schliesst.
    Zu Warnzwecken kann das Kompaktgerät mit einem internen Signalgeber ausgestattet sein, welcher im Brandfall von der Steuereinheit über eine dritte Steuerleitung angesteuert und zur Aussendung beispielsweise akustischer oder optischer Warnsignale veranlasst wird. Alternativ oder ergänzend kann auch ein Anschluss für einen externen Signalgeber vorgesehen sein.
    Die Einsatzmöglichkeiten der erfindungsgemässen Vorrichtung können noch erweitert werden, wenn an der Steuereinheit ein Betriebszustand eingestellt werden kann, der zur Be-/ bzw. Entlüftung von Rettungswegen ausserhalb eines Brandfalls dient. Ein solcher Betriebszustand ist durch eine Frischluftzufuhr mittels der Ventilatoreinheit und/oder durch eine Entlüftung über eine kontrolliert geöffnete Abströmöffnung charakterisiert. Vorteilhafterweise wird bei einem solchen Betriebszustand sichergestellt, dass die resultierende Druckerhöhung im Rettungsweg unter 5 Pa, vorzugsweise unter 1 Pa verbleibt. Auf diese Weise ist sichergestellt, dass Türen, die zum Rettungsweg hin geöffnet werden und somit gegen den Überdruck im Rettungsweg geöffnet werden müssen, auch von kleinen oder leichten Personen ohne Schwierigkeiten geöffnet werden können.
    Weitere Merkmale und Vorteile der erfindungsgemässen Vorrichtung ergeben sich aus den Unteransprüchen sowie aus den nun folgenden Ausführungsbeispielen, die nicht einschränkend zu verstehen sind und die anhand der Zeichnung erläutert werden. In dieser zeigen:
    Fig. 1:
    eine schematische Darstellung einer erfindungsgemässen Vorrichtung, die modular um zwei weitere Ventilatoreinheiten erweitert ist, wobei alle drei Ventilatoreinheiten über eine gemeinsame erste Steuerleitung synchron angesteuert werden,
    Fig. 2:
    wie vor, wobei die einzelnen Ventilatoreinheiten separat über einzelne erste Steuerleitungen mit der Steuereinheit verbunden sind und individuell angesteuert werden können,
    Fig. 3:
    eine schematische Darstellung einer weiteren Ausführungsform eines erfindungsgemässen Kompaktgeräts, wobei die Steuereinheit neben den aus Figur 1 ersichtlichen Anschlüssen einen weiteren Anschluss für einen Druckmesser aufweist, und
    Fig. 4:
    wie vor, wobei die Steuerungseinheit neben den aus Figur 3 ersichtlichen Anschlüssen einen weiteren Anschluss für die Stellvorrichtung einer variablen Abströmöffnung aufweist.
    Fig. 5:
    eine schematischen Darstellung der Verwendung einer erfindungsgemässen Vorrichtung zur Rauchfreihaltung eines Rettungswegs in einem mehrgeschossigen Gebäude.
    Figur 1 zeigt schematisch eine erste Ausführungsform der erfindungsgemässen Vorrichtung. Eine Ventilatoreinheit 2 und eine Steuereinheit 3 sind in einem gemeinsamen Gehäuse 1 zu einem Kompaktgerät zusammengeschlossen. Die Ventilatoreinheit 2 weist einen Eingang 22 für eine erste Steuerleitung 332 auf. Die Steuereinheit 3 weist einen Eingang für eine Spannungsversorgung 31 sowie einen ersten Signaleingang 321 für einen Brand- oder Rauchdetektor 41 und einen weiteren ersten Signaleingang 321 für einen manuellen Alarmtaster 42 auf. Sowohl der Detektor 41 als auch der Alarmtaster 42 sind über separate erste Steuerleitungen 322 mit den entsprechenden ersten Signaleingängen 321 verbunden. In einer Grundausführung kann wahlweise einer der beiden ersten Signaleingänge 321 für eine erste Signalleitung 322 entfallen.
    In dieser Ausführungsform ist die Steuereinheit 3 dazu eingerichtet, aus einem Signal, welches an einem ersten Signaleingang 321 anliegt und welches einen Brand- oder Alarmfall signalisiert, ein Steuerungssignal dergestalt zu generieren, dass die über eine erste Steuerleitung 332 am ersten Steuerausgang 331 angeschlossene Ventilatoreinheit 2 beginnt, Luft zu fördern.
    Die aus Figur 1 ersichtliche erfindungsgemässe Vorrichtung wird vorzugsweise in einem tiefgelegenen Bereich eines Rettungswegs in einem Gebäude dergestalt montiert, dass die Ventilatoreinheit 2 möglichst effizient rauchfreie Frischluft aus der Umgebung des Gebäudes in den Rettungsweg fördern kann. Dazu kann die Ventilatoreinheit 2 beispielsweise in unmittelbarer Nähe eines Wanddurchbruchs montiert werden.
    Besondere Vorteile ergeben sich, wenn das Gehäuse 1 der erfindungsgemässen Vorrichtung für eine Montage im Rahmen eines Oberlichts, Fensters oder einer Tür vorzugsweise standardisierter Grösse vorgesehen ist. Insbesondere können dazu am Gehäuse 1 hierzu geeignete Montageschienen 11 vorgesehen sein, so dass das Kompaktgerät vollständig anstelle eines Fensters in einen bereits vorhandenen Fensterrahmen eingesetzt werden kann. Auf diese Weise ist kein zusätzlicher Wanddurchbruch für die Ventilatoreinheit 2 erforderlich, wodurch die Montage eines erfindungsgemässen Kompaktgeräts drastisch vereinfacht wird. Insbesondere ist auf diese Weise eine besonders einfache Nachrüstung bestehender Gebäude möglich.
    Vorzugsweise wird bei der in Figur 1 gezeigten Anordnung die Förderleistung des Kompaktgeräts durch Variation der Anzahl der modularen Ventialtoreinheiten 2 an die baulichen Gegebenheiten des Rettungswegs angepasst.
    Aus Figur 2 ist eine erfindungsgemässe Vorrichtung ersichtlich, die im wesentlichen mit Figur 1 übereinstimmt. Im Unterschied zu Figur 1 werden jedoch die mehreren Ventilatoreinheiten 2 nicht über eine gemeinsame erste Steuerleitung 332 synchron angesteuert, sondern über individuelle erste Steuerleitungen 332 einzeln angesteuert.
    Figur 3 zeigt eine weitere Ausführungsform der erfindungsgemässen Vorrichtung, die auf der aus Figur 1 ersichtlichen Vorrichtung beruht. Die aus Figur 3 ersichtliche Vorrichtung weist zusätzlich einen zweiten Signaleingang 341 für eine zweite Signalleitung 342, die von einem Drucksensor 6 herrührt, sowie einen zweiten Steuerausgang 351 für eine zweite Steuerleitung 352, die zu einer Stelleinrichtung 51 einer variablen Abströmöffnung 5 führt, auf. In dieser Ausführungsform ist die Steuereinheit 3 dazu eingerichtet, bei am ersten Signaleingang 321 anliegenden Alarmsignal am ersten Steuerausgang 331 ein Signal zur Ansteuerung der Ventilatoreinheit 2 zu generieren, sowie am zweiten Steuerausgang 351 ein Signal für die Steileinrichtung 51 der variablen Abströmöffnung 5 zu generieren, dergestalt, dass die Stelleinrichtung 51 den Strömungswiderstand der Abströmöffnung 5 auf einen voreingestellten Wert einstellt. Insbesondere ist auch hier vorteilhaft, wenn die Förderleistung der Ventilatoreinheit/-einheiten 2 und der voreingestellte Wert des Strömungswiderstands der Abströmöffnung 5 an die baulichen Gegebenheiten des Rettungswegs angepasst werden.
    Figur 4 zeigt eine Erweiterung der aus Figur 3 bekannten erfindungsgemässen Vorrichtung, die zusätzlich einen zweiten Signaleingang 341 für eine zweite Signalleitung 342 aufweist, welche zum Anschluss eines Drucksensors 6 vorgesehen ist. Ein erster Drucksensor 61 wird vorzugsweise im Rettungsweg angeordnet und dient dazu, einen kontrollierten Druck im Rettungsweg durch Regelung des Strömungswiderstands der variablen Abströmöffnung 5 und/oder der Förderleistung der Ventilatoreinheiten 2 einzustellen. Diese Regelungsaufgabe wird von der Steuereinheit 3 ausgeführt. In einer besonders bevorzugten Weiterbildung ist die Steuereinheit 3 dazu eingerichtet, den vom ersten Drucksensor 61 gemessenen aktuellen Druck im Rettungsweg mit einem Referenzwert zu vergleichen und die Differenz zwischen dem gemessenen Druck im Rettungsweg und dem Referenzwert auf eine voreingestellte Solldifferenz zu regeln. Diese Regelung kann einerseits durch Regelung der Förderleistung der Ventilatoreinheit 2 und andererseits durch Variation des Strömungswiderstands der Abströmöffnung 5 erfolgen. Denkbar ist auch eine Kombination beider Regelungsparameter.
    Figur 5 zeigt die Verwendung einer erfindungsgemässen Vorrichtung zur Überdrucklüftung eines Treppenhauses in einem mehrgeschossigen Gebäude. Die erfindungsgemässe Vorrichtung wird mittels Montageschienen 11 in das Oberlicht der Aussentür des Treppenhauses des Gehäuses, welches als Rettungsweg dient, montiert. Die Steuereinheit 3 ist über eine erste Signalleitung 322 mit einem Brand- und/oder Rauchdetektor 41 sowie einem manuellen Alarmtaster 42 verbunden, die beide im Bereich des Rettungswegs angeordnet sind. Weiterhin weist der Rettungsweg in seinem oberen Bereich eine variable Abströmöffnung 5 auf, die in diesem Ausführungsbeispiel in das Dach des Gebäudes integriert ist. Die Stelleinrichtung 51 der variablen Abströmöffnung 5 ist über eine zweite Steuerleitung 352 mit dem zweiten Steuerausgang 351 der Steuereinheit 3 des Kompaktgeräts verbunden. Weiterhin ist in der unmittelbaren Nähe der Abströmöffnung 5 ein erster Drucksensor 61 innerhalb des Rettungswegs angeordnet, der über eine zweite Signalleitung 342 mit dem zweiten Signaleingang 341 der Steuereinheit 3 des Kompaktgeräts verbunden ist. Geht über eine erste Signalleitung 322 ein Alarmsignal ein, so steuert die Steuereinheit 3 die Ventilatoreinheit 2 dergestalt an, dass die Ventilatoreinheit 2 rauchfreie Frischluft aus der Umgebung des Gebäudes in den Rettungsweg, d. h. in das Treppenhaus fördert. Gleichzeitig steuert die Steuereinheit 3 die Stelleinrichtung 51 der variablen Abströmöffnung 5 über die zweite Steuerleitung 352 dergestalt an, dass ein in Vorversuchen ermittelter Strömungswiderstand der Abströmöffnung 5 erzielt wird. Vorteilhafterweise ist die Kombination aus Förderleistung der Ventilatoreinheit 2 und Strömungswiderstand der Abströmöffnung 5 dergestalt auf die baulichen Verhältnisse im Rettungsweg abgestimmt, das sich optimale Verhältnisse für die Überdrucklüftung bezüglich der durch den Rettungsweg strömenden Luftmenge pro Zeit, deren Strömungsgeschwindigkeit sowie dem sich im Rettungsweg ergebenen Überdruck ergeben.
    In der gezeigten Ausführung hält die erfindungsgemässe Vorrichtung einen konstanten Überdruck im Treppenhaus. Dies geschieht, indem über den ersten Drucksensor 61 die Druckverhältnisse im Treppenhaus mit einem Referenzwert verglichen werden und die Förderleistung der Ventilatoreinheit 2 und/oder der Strömungswiderstand der Abströmöffnung 5 dergestalt eingeregelt werden, dass die Differenz zwischen dem im Treppenhaus gemessenen Druck und dem Referenzdruck möglichst nahe an einem voreingestellten Differenzdruck liegt. Dieser Solldifferenzdruck ist dabei so gewählt, dass sich ein Überdruck im Treppenhaus einstellt, dessen Wert vorzugsweise zwischen 15 Pa und 35 Pa, insbesondere zwischen 10 Pa und 50 Pa liegt. Als Referenzwert kann der mittels eines zweiten Drucksensors 62 (nicht gezeigt) ermittelte Druck in der Umgebung des Gebäudes herangezogen werden, wobei an dieser Stelle vorteilhaft ein Differenzdrucksensor 63 (nicht gezeigt) anstelle zweier getrennter Drucksensoren 61 und 62 für die Messung des Drucks im Treppenhaus und die Messung des Drucks in der Umgebung des Gebäudes verwendet wird.
    Alternativ hierzu kann wie bereits beschrieben als Referenzdruck der über ein Intervall der Dauer τ1 gemittelte Druck im Treppenhaus herangezogen werden, wobei das Intervall vor Eintreten des Brandfalls liegen sollte. Dieser über eine gewisse Zeit vor dem Brandfall gemittelte Druck im Treppenhaus entspricht mit guter Genauigkeit dem Druck in der Umgebung des Gebäudes. Auf diese Weise kann ein zweiter Drucksensor 62 für die Messung des Aussendrucks eingespart werden.
    Bei Rettungswegen mit grosser Länge, beispielsweise Treppenhäusern in hohen Gebäuden, kann vorteilhaft eine Mehrzahl erfindungsgemässer Vorrichtungen eingesetzt werden. Dabei wird diese Mehrzahl erfindungsgemässer Vorrichtungen im wesentlichen über die gesamte Länge des Rettungswegs verteilt angeordnet, so dass im Brandfall rauchfreie Frischluft an mehreren Stellen gleichzeitig in den Rettungsweg gefördert wird, wobei die Anordnung vorteilhaft so gewählt wird, dass sich eine möglichst homogene Druckverteilung im Rettungsweg ergibt. So können beispielsweise in einem dreissiggeschossigen Gebäude alle fünf Geschosse erfindungsgemässe Vor-richtungen angeordnet werden.
    An dieser Stelle wird noch einmal ausdrücklich an die beiden Patentanmeldungen des selben Anmelders vom gleichen Tage mit dem Titel Anordnung zur Einstellung einer Druckdifferenz" und Selbststellende Abströmöffnung" verwiesen, deren Offenbarungsgehalt ausdrücklich zum Offenbarungsgehalt dieser Patentanmeldung gemacht wird. Insbesondere werden die Merkmale der in diesen beiden Patentanmeldungen offenbarten Vorrichtungen und Verfahren zum Gegenstand der vorliegenden Anmeldung gemacht.
    Insbesondere kann eine Vorrichtung zur Rauchfreihaltung von Rettungswegen gemäss der vorliegenden Erfindung auf vorteilhafte Weise mit einer Anordnung zur Einstellung einer Druckdifferenz, wie sie aus der genannten Patentanmeldung desselben Anmelders vom gleichen Tage bekannt ist, zu einer Gesamtanordnung zur Rauchfreihaltung von Rettungswegen in Gebäuden mittels Überdrucklüftung kombiniert werden. In einer solchen Gesamtanordnung entfallen zusätzliche Ein- und Ausgänge für Signal- und Steuerleitungen von Drucksensoren und Stelleinrichtungen der Abströmöffnung an der Steuereinheit der erfindungsgemässen Vorrichtung, wodurch sich die Installation einer solchen Gesamtanordnung weiter vereinfacht.
    Eine weitere wesentliche Erhöhung der Betriebssicherheit kann erreicht werden, wenn die erfindungsgemässe Vorrichtung zur Rauchfreihaltung von Rettungswegen in Gebäuden mit einer selbststellenden Abströmöffnung kombiniert wird, wie sie der weiteren Anmeldung desselben Anmelders vom gleichen Tage bekannt ist. Für eine Verwendung der selbststellenden Abströmöffnung in Kombination mit der erfindungsgemässen Vorrichtung zur Rauchfreihaltung von Rettungswegen in Gebäuden wird die selbststellende Abströmöffnung 5 dergestalt konfiguriert, dass im Falle eines Ausfalls der Spannungsversorgung der selbststellenden Abströmöffnung oder eines Steuersignals auf der zweiten Steuerleitung 352 zur selbststellenden Abströmöffnung 5 die Stelleinrichtung 51 der Abströmöffnung 5 den Strömungswiderstand der Abströmöffnung 5 selbsttätig verringert. Auf diese Weise kann eine sichere Funktion der Gesamtanordnung zur Rauchfreihaltung von Rettungswegen in Gebäuden mittels Überdrucklüftung auch bei Ausfall der Netzversorgung oder bei Zerstörung einer sonst üblichen Steuerleitung zwischen Abströmöffnung und Steuereinheit gewährleistet werden.
    Bezugszeichen
    1
    Gehäuse
    11
    Montagerahmen
    12
    Montageschienen
    2
    Ventilatoreinheit
    21
    Ventilator
    22
    Eingang
    3
    Steuereinheit
    31
    Eingang Versorgungsspannung
    321
    Erster Signaleingang
    322
    Erste Signalleitung
    331
    Erster Steuerausgang
    332
    Erste Steuerleitung
    341
    Zweiter Signaleingang
    342
    Zweite Signalleitung
    351
    Zweiter Steuerausgang
    352
    Zweite Steuerleitung
    361
    Dritter Steuerausgang
    362
    Dritte Steuerleitung
    371
    Vierter Steuerausgang
    372
    Vierte Steuerleitung
    381
    Fünfter Steuerausgang
    4
    Alarmmelder
    41
    Brand-/Rauchsensor
    42
    Manueller Alarmtaster
    5
    Abströmöffnung
    51
    Stelleinrichtung
    6
    Drucksensor
    61
    Erster Drucksensor
    62
    Zweiter Drucksensor
    63
    Differenzdrucksensor
    7
    Notstromversorgung
    8
    Automatischer Türschliesser
    9
    Automatischer Türsteller
    10
    Signalgeber
    101
    interner Signalgeber
    102
    externer Signalgeber

    Claims (14)

    1. Vorrichtung zur Rauchfreihaltung von Rettungswegen in Gebäuden, insbesondere von innenliegenden Treppenhäusern, welche die folgenden Komponenten umfasst, die in ein Kompaktgerät, vorzugsweise in ein gemeinsames Gehäuse (1) integriert sind:
      Eine Ventilatoreinheit (2), welche mindestens einen vorzugsweise gekapselten Ventilator (21) aufweist, wobei die Ventilatoreinheit (2) dazu vorgesehen ist, rauchfreie Luft vorzugsweise aus der Umgebung eines Gebäudes in einen Rettungsweg des Gebäudes zu fördern,
      Eine Steuereinheit (3), welche einen Eingang (31) für eine Versorgungsspannung, einen ersten Signaleingang (312) für eine erste Signalleitung (322) von einem Alarmmelder (4) wie einem Brand- und/oder Rauchdetektor (41) oder einem manuellen Alarmtaster (42) und einen ersten Steuerausgang (331) für eine erste Steuerleitung (332) zur Ansteuerung der Ventilatoreinheit (2) aufweist, wobei die Steuereinheit (3) dazu eingerichtet ist, aus einem am ersten Signaleingang (312) anliegenden Signal, welches einen Brandfall signalisiert, ein Steuersignal zu generieren, mittels welchem die Ventilatoreinheit (2) über die erste Steuerleitung (332) dergestalt angesteuert wird, dass sie beginnt, rauchfreie Luft in den Rettungsweg zu fördern.
    2. Vorrichtung gemäss Anspruch 1, dadurch gekennzeichnet, dass das Kompaktgerät einen Montagerahmen (11) oder Montageschienen (12) aufweist, der eine Montage des Kompaktgeräts in Rahmen vorzugsweise standardisierter Grösse beispielsweise von Fenstern, Oberlichtern oder Türen ermöglicht.
    3. Vorrichtung gemäss Anspruch 1, dadurch gekennzeichnet, dass die Steuereinheit (3) einen zweiten Steuerausgang (351) für eine zweite Steuerleitung (352) für eine variable Abströmöffnung (5) mit vorzugsweise elektrischer Stelleinrichtung (51) aufweist, und die Steuereinheit (3) dazu eingerichtet ist, aus einem am ersten Signaleingang (321) anliegenden Signal, welches einen Brandfall signalisiert, ein Steuersignal zu generieren, mittels welchem eine variable Abströmöffnung (5) über die zweite Steuerleitung (352) angesteuert wird, insbesondere ein voreingestellter Strömungswiderstand der Abströmöffnung (5) eingestellt wird.
    4. Vorrichtung gemäss Anspruch 3, dadurch gekennzeichnet, dass die Steuereinheit (3) einen zweiten Signaleingang (341) für eine zweite Signalleitung (342) von einem Drucksensor (6) aufweist, insbesondere von einem im Rettungsweg angeordneten ersten Drucksensor (61), vorzugsweise von einem Differenzdrucksensor (63), und dazu eingerichtet ist, im Brandfall die variable Abströmöffnung (5) über die zweite Steuerleitung (352) dergestalt anzusteuern, dass durch Variation des Strömungswiderstands der Abströmöffnung (5) ein voreingestellter Druck, insbesondere Überdruck, im Rettungsweg erzielt wird.
    5. Vorrichtung gemäss Anspruch 1, dadurch gekennzeichnet, dass die Steuereinheit (3) einen zweiten Signaleingang (341) für eine zweite Signalleitung (342) von einem Drucksensor (6) aufweist, insbesondere von einem im Rettungsweg angeordneten ersten Drucksensor (61), vorzugsweise von einem Differenzdrucksensor (63), und dazu eingerichtet ist, im Brandfall die Ventilatoreinheit (2) dergestalt anzusteuern, dass durch Variation der Förderleistung der Ventilatoreinheit (2) ein voreingestellter Druck, insbesondere Überdruck im Rettungsweg erzielt wird.
    6. Vorrichtung gemäss Anspruch 1, dadurch gekennzeichnet, dass das Kompaktgerät modular um weitere Ventilatoreinheiten (2) erweitert werden kann, dergestalt dass bei Erweiterung des Kompaktgeräts um eine weitere Ventilatoreinheit (2) diese automatisch mit dem oder mit einem ersten Steuerausgang (331) verbunden ist.
    7. Vorrichtung gemäss Anspruch 6, dergestalt, dass die Ventilatoreinheiten (2) entweder synchron über eine erste Steuerleitung (332) mit einem ersten Steuerausgang (331) der Steuereinheit (3) angesteuert werden oder individuell über individuelle erste Steuerleitungen (332) angesteuert werden, welche an individuelle erste Steuerausgänge (331) angeschlossen sind.
    8. Vorrichtung gemäss Anspruch 1, dadurch gekennzeichnet, dass das Kompaktgerät eine Notstromversorgung (7) mindestens für die Steuereinheit (3) aufweist.
    9. Vorrichtung gemäss Anspruch 1, dadurch gekennzeichnet, dass die Steuereinheit (3) einen vierten Steuerausgang (371) für eine vierte Steuerleitung (372) zu einem automatischen Türschliesser (8), vorzugsweise zu einem Freilauftürschliesser, aufweist und dazu eingerichtet ist, im Brandfall den Türschliesser (8) dergestalt anzusteuern, dass dieser eine zum Rettungsweg führende Türe schliesst.
    10. Vorrichtung gemäss Anspruch 1, dadurch gekennzeichnet, dass das Kompaktgerät einen internen, beispielsweise akustischen oder optischen Signalgeber (101) umfasst und dass die Steuereinheit (3) dazu eingerichtet ist, im Brandfall den internen Signalgeber (101) dergestalt anzusteuern, dass dieser ein Alarmsignal erzeugt.
    11. Vorrichtung gemäss Anspruch 1, dadurch gekennzeichnet, dass das Kompaktgerät einen dritten Steuerausgang (361) für eine dritte Steuerleitung (362) für einen externen, beispielsweise optischen oder akustischen Signalgeber (102) umfasst und die Steuereinheit (3) dazu eingerichtet ist, im Brandfall ein Steuersignal für den externen Signalgeber (102) dergestalt zu generieren, dass dieser ein Alarmsignal erzeugt.
    12. Vorrichtung gemäss Anspruch 1, dadurch gekennzeichnet, dass an der Steuereinheit (3) ein Betriebszustand eingestellt werden kann, der zur Be-/Entlüftung von Rettungswegen ausserhalb von Brandfällen dient und der insbesondere durch eine Frischluftzufuhr mittels der Ventilatoreinheit (2) und/oder durch eine Entlüftung über eine kontrolliert geöffnete Abströmöffnung (5) charakterisiert ist, wobei die resultierende Druckerhöhung im Rettungsweg unter 5 Pa, vorzugsweise unter 1 Pa beträgt.
    13. Verwendung einer Vorrichtung gemäss Anspruch 1 zur Rauchfreihaltung eines Rettungswegs, dadurch gekennzeichnet, dass die Vorrichtung dergestalt montiert wird, dass die Ventilatoreinheit (2) im Brandfall rauchfreie Frischluft aus der Umgebung in den Rettungsweg, vorzugsweise an einem tiefliegenden Punkt, fördern kann und die Steuereinheit (3) mit einer Spannungsversorgung und einem Alarmmelder (4) wie einem Brand- und/oder Rauchmelder (41) und/oder manuellen Alarmtaster (42) jeweils über eine erste Signalleitung (322) verbunden ist.
    14. Verwendung mehrerer Vorrichtungen gemäss Anspruch 1 zur Rauchfreihaltung eines Rettungswegs in einem mehrgeschossigen Gebäude, dadurch gekennzeichnet, dass die Vorrichtungen dergestalt montiert werden, dass die Ventilatoreinheiten (2) rauchfreie Frischluft aus der Umgebung in den Rettungsweg fördern können und die Steuereinheiten (3) mit einer Spannungsversorgung und einem Alarmmelder (4) wie einem Brand- und/oder Rauchmelder (41) und/oder manuellen Alarmtaster (42) jeweils über eine erste Signalleitung (322) verbunden sind, wobei die Vorrichtungen so angeordnet sind, dass die rauchfreie Luft im Brandfall an mehreren Stellen des Rettungswegs, die im wesentlichen gleichmässig über die Länge des Rettungswegs verteilt sind, in den Rettungsweg gefördert wird, so dass sich im gesamten Rettungsweg eine im wesentlichen homogene Druckverteilung ergibt.
    EP00116550A 1999-08-09 2000-08-01 Vorrichtung zur Rauchfreihaltung von Rettungswegen in Gebäuden Expired - Lifetime EP1076211B1 (de)

    Applications Claiming Priority (2)

    Application Number Priority Date Filing Date Title
    DE19937531A DE19937531A1 (de) 1999-08-09 1999-08-09 Vorrichtung zur Rauchfreihaltung von Rettungswegen in Gebäuden
    DE19937531 1999-08-09

    Publications (3)

    Publication Number Publication Date
    EP1076211A2 true EP1076211A2 (de) 2001-02-14
    EP1076211A3 EP1076211A3 (de) 2003-11-05
    EP1076211B1 EP1076211B1 (de) 2007-09-26

    Family

    ID=7917721

    Family Applications (1)

    Application Number Title Priority Date Filing Date
    EP00116550A Expired - Lifetime EP1076211B1 (de) 1999-08-09 2000-08-01 Vorrichtung zur Rauchfreihaltung von Rettungswegen in Gebäuden

    Country Status (3)

    Country Link
    EP (1) EP1076211B1 (de)
    AT (1) ATE374343T1 (de)
    DE (2) DE19937531A1 (de)

    Cited By (7)

    * Cited by examiner, † Cited by third party
    Publication number Priority date Publication date Assignee Title
    EP1524404A3 (de) * 2003-10-09 2008-01-16 Industrie Elektronik Brandenburg Gmbh Verfahren und Einrichtung zum Überwachen von Bauwerken
    EP2180269A1 (de) 2008-10-27 2010-04-28 Wildeboer, Werner Hybride Raumlüftungsvorrichtung
    WO2013001301A3 (en) * 2011-06-30 2013-03-07 AHMAD, Danish Smoke ventilation
    EP2722607A1 (de) 2012-10-16 2014-04-23 Smay Sp. z.o.o. Differenzdruckvorrichtung
    EP2314944A3 (de) * 2009-10-20 2014-11-05 Smay Sp. z.o.o. Überdruckbasiertes System zum Schutz vertikaler Evakuierungswege vor Rauchinfiltration
    FR3013070A1 (fr) * 2013-11-14 2015-05-15 Finsecur Dispositif d'aeration d'un local, dispositif de securisation d'un site et procede d'aeration d'un site
    CN113432225A (zh) * 2021-07-27 2021-09-24 绿康环境技术发展(广东)有限公司 一种吸烟室的净化处理系统

    Families Citing this family (4)

    * Cited by examiner, † Cited by third party
    Publication number Priority date Publication date Assignee Title
    CN107062521A (zh) * 2017-01-25 2017-08-18 青岛海尔空调器有限总公司 变频空调防火控制方法
    CN106766000A (zh) * 2017-01-25 2017-05-31 青岛海尔空调器有限总公司 变频空调防火控制方法及控制系统
    CN109529499A (zh) * 2018-12-28 2019-03-29 安徽中固建设有限公司 一种大型楼宇空气循环系统
    CN111852300A (zh) * 2020-07-23 2020-10-30 湖南理工学院 一种火灾逃生门控制系统

    Citations (1)

    * Cited by examiner, † Cited by third party
    Publication number Priority date Publication date Assignee Title
    DE29716474U1 (de) 1997-09-13 1998-01-08 Bader, Jürgen, 89537 Giengen Vorrichtung zur stationären Überdruckbelüftung eines Gebäudes

    Family Cites Families (5)

    * Cited by examiner, † Cited by third party
    Publication number Priority date Publication date Assignee Title
    GB1438001A (en) * 1973-06-26 1976-06-03 Kg Smoke Dispersal Ltd Fire safety systems
    DE8109226U1 (de) * 1981-03-28 1981-12-03 Nowicki, Karl-Heinz, 4730 Ahlen Lueftungsgeraet fuer insbesondere zwangsbelueftete, fensterlose raeume
    DE9409176U1 (de) * 1994-06-07 1995-10-12 Pafamax Brandschutztechnik GmbH, 34123 Kassel Rauchschutzeinrichtung für einen geschlossenen Treppenraum
    GB9415837D0 (en) * 1994-08-05 1994-09-28 Colt Int Ltd Safety apparatus
    DE69713305D1 (de) * 1996-12-23 2002-07-18 Medina Manuel Sierra Haushaltsgerät zur detektion und zum austreiben von gas

    Patent Citations (1)

    * Cited by examiner, † Cited by third party
    Publication number Priority date Publication date Assignee Title
    DE29716474U1 (de) 1997-09-13 1998-01-08 Bader, Jürgen, 89537 Giengen Vorrichtung zur stationären Überdruckbelüftung eines Gebäudes

    Cited By (8)

    * Cited by examiner, † Cited by third party
    Publication number Priority date Publication date Assignee Title
    EP1524404A3 (de) * 2003-10-09 2008-01-16 Industrie Elektronik Brandenburg Gmbh Verfahren und Einrichtung zum Überwachen von Bauwerken
    EP2180269A1 (de) 2008-10-27 2010-04-28 Wildeboer, Werner Hybride Raumlüftungsvorrichtung
    EP2314944A3 (de) * 2009-10-20 2014-11-05 Smay Sp. z.o.o. Überdruckbasiertes System zum Schutz vertikaler Evakuierungswege vor Rauchinfiltration
    WO2013001301A3 (en) * 2011-06-30 2013-03-07 AHMAD, Danish Smoke ventilation
    CN103797307B (zh) * 2011-06-30 2017-07-18 戴维·约翰·罗伊尔 烟雾通风
    EP2722607A1 (de) 2012-10-16 2014-04-23 Smay Sp. z.o.o. Differenzdruckvorrichtung
    FR3013070A1 (fr) * 2013-11-14 2015-05-15 Finsecur Dispositif d'aeration d'un local, dispositif de securisation d'un site et procede d'aeration d'un site
    CN113432225A (zh) * 2021-07-27 2021-09-24 绿康环境技术发展(广东)有限公司 一种吸烟室的净化处理系统

    Also Published As

    Publication number Publication date
    EP1076211B1 (de) 2007-09-26
    EP1076211A3 (de) 2003-11-05
    ATE374343T1 (de) 2007-10-15
    DE19937531A1 (de) 2001-02-15
    DE50014672D1 (de) 2007-11-08

    Similar Documents

    Publication Publication Date Title
    EP1076211A2 (de) Vorrichtung zur Rauchfreihaltung von Rettungswegen in Gebäuden
    DE102010006455B4 (de) Verfahren, Steuereinrichtung und -system zur Be-und Entlüftung eines Gesamtraums mit mehreren Teilräumen, insbesondere eines eine Wohneinheit bildenden Gesamtraums
    DE3408396A1 (de) Autarkes sonnenschutzsystem
    DE9409176U1 (de) Rauchschutzeinrichtung für einen geschlossenen Treppenraum
    DE19854016C2 (de) Lüftungssystem
    DE19963837A1 (de) Entlüftungsanlage und Verfahren zum Einstellen und Betreiben der Entlüftungsanlage
    DE102007041618A1 (de) Vorrichtung zur Druckentlastung von Feuerschutztüren in Tunnels
    EP0667495B1 (de) Laborbe- und -entlüftungsanlage
    DE3020099A1 (de) Anordnung zur einstellung und voreinstellung von ein- und ausschaltvorgaengen und von zustandsbereichen
    DE102007011428B4 (de) Steuereinheit für eine Rauch- und Wärmeabzugsanlage eines Gebäudes
    DE19856193C2 (de) Verfahren zur Sicherung von Gebäudeteilen im Brandfall sowie Rauchschutzeinrichtung
    DE19937530A1 (de) Selbststellende Abströmöffnung
    EP3078918B2 (de) Hybrid-rauchschutz-differenzdruckanlage und verfahren zur aufrechterhaltung eines überdrucks
    DE19937532A1 (de) Anordnung zur Einstellung einer Druckdifferenz
    DE60100226T2 (de) Steuervorrichtung für Rolladen
    DE60004897T2 (de) Belüftungssystem
    EP1440242B1 (de) Rauchschutz für räume
    DE202011000035U1 (de) Druckbelüftungssystem zur Druckbelüftung eines Treppenraums in einem Gebäude
    EP0062263B1 (de) Lüftungsgerät für die Zu- bzw. Abführung von Luft
    EP1519120A1 (de) Elektrisch angetriebene Brandschutzklappe
    DE9401350U1 (de) Vorrichtung zum Be- und/oder Entlüften von Räumen
    DE102015112065B4 (de) Verfahren zum Abfördern von Luft
    EP4656959A1 (de) Rauchschutzanlage und verfahren zur rauchfreihaltung eines sicherheitsraums
    EP3473945A1 (de) Rauchschutzdruckanlage und verfahren zum betrieb einer rauchschutzdruckanlage
    DE20307637U1 (de) Messwertaufnehmer

    Legal Events

    Date Code Title Description
    PUAI Public reference made under article 153(3) epc to a published international application that has entered the european phase

    Free format text: ORIGINAL CODE: 0009012

    AK Designated contracting states

    Kind code of ref document: A2

    Designated state(s): AT BE CH CY DE DK ES FI FR GB GR IE IT LI LU MC NL PT SE

    AX Request for extension of the european patent

    Free format text: AL;LT;LV;MK;RO;SI

    PUAL Search report despatched

    Free format text: ORIGINAL CODE: 0009013

    AK Designated contracting states

    Kind code of ref document: A3

    Designated state(s): AT BE CH CY DE DK ES FI FR GB GR IE IT LI LU MC NL PT SE

    AX Request for extension of the european patent

    Extension state: AL LT LV MK RO SI

    RIC1 Information provided on ipc code assigned before grant

    Ipc: 7F 24F 7/06 A

    Ipc: 7F 24F 11/00 B

    17P Request for examination filed

    Effective date: 20040506

    AKX Designation fees paid

    Designated state(s): AT BE CH CY DE DK ES FI FR GB GR IE IT LI LU MC NL PT SE

    GRAP Despatch of communication of intention to grant a patent

    Free format text: ORIGINAL CODE: EPIDOSNIGR1

    GRAS Grant fee paid

    Free format text: ORIGINAL CODE: EPIDOSNIGR3

    GRAA (expected) grant

    Free format text: ORIGINAL CODE: 0009210

    AK Designated contracting states

    Kind code of ref document: B1

    Designated state(s): AT BE CH CY DE DK ES FI FR GB GR IE IT LI LU MC NL PT SE

    REG Reference to a national code

    Ref country code: GB

    Ref legal event code: FG4D

    Free format text: NOT ENGLISH

    REG Reference to a national code

    Ref country code: CH

    Ref legal event code: EP

    REF Corresponds to:

    Ref document number: 50014672

    Country of ref document: DE

    Date of ref document: 20071108

    Kind code of ref document: P

    REG Reference to a national code

    Ref country code: IE

    Ref legal event code: FG4D

    Free format text: LANGUAGE OF EP DOCUMENT: GERMAN

    PG25 Lapsed in a contracting state [announced via postgrant information from national office to epo]

    Ref country code: FI

    Free format text: LAPSE BECAUSE OF FAILURE TO SUBMIT A TRANSLATION OF THE DESCRIPTION OR TO PAY THE FEE WITHIN THE PRESCRIBED TIME-LIMIT

    Effective date: 20070926

    NLV1 Nl: lapsed or annulled due to failure to fulfill the requirements of art. 29p and 29m of the patents act
    GBV Gb: ep patent (uk) treated as always having been void in accordance with gb section 77(7)/1977 [no translation filed]
    PG25 Lapsed in a contracting state [announced via postgrant information from national office to epo]

    Ref country code: NL

    Free format text: LAPSE BECAUSE OF FAILURE TO SUBMIT A TRANSLATION OF THE DESCRIPTION OR TO PAY THE FEE WITHIN THE PRESCRIBED TIME-LIMIT

    Effective date: 20070926

    Ref country code: ES

    Free format text: LAPSE BECAUSE OF FAILURE TO SUBMIT A TRANSLATION OF THE DESCRIPTION OR TO PAY THE FEE WITHIN THE PRESCRIBED TIME-LIMIT

    Effective date: 20080106

    Ref country code: GR

    Free format text: LAPSE BECAUSE OF FAILURE TO SUBMIT A TRANSLATION OF THE DESCRIPTION OR TO PAY THE FEE WITHIN THE PRESCRIBED TIME-LIMIT

    Effective date: 20071227

    REG Reference to a national code

    Ref country code: IE

    Ref legal event code: FD4D

    PG25 Lapsed in a contracting state [announced via postgrant information from national office to epo]

    Ref country code: PT

    Free format text: LAPSE BECAUSE OF FAILURE TO SUBMIT A TRANSLATION OF THE DESCRIPTION OR TO PAY THE FEE WITHIN THE PRESCRIBED TIME-LIMIT

    Effective date: 20080226

    PG25 Lapsed in a contracting state [announced via postgrant information from national office to epo]

    Ref country code: SE

    Free format text: LAPSE BECAUSE OF FAILURE TO SUBMIT A TRANSLATION OF THE DESCRIPTION OR TO PAY THE FEE WITHIN THE PRESCRIBED TIME-LIMIT

    Effective date: 20071226

    EN Fr: translation not filed
    PG25 Lapsed in a contracting state [announced via postgrant information from national office to epo]

    Ref country code: DK

    Free format text: LAPSE BECAUSE OF FAILURE TO SUBMIT A TRANSLATION OF THE DESCRIPTION OR TO PAY THE FEE WITHIN THE PRESCRIBED TIME-LIMIT

    Effective date: 20070926

    PLBE No opposition filed within time limit

    Free format text: ORIGINAL CODE: 0009261

    STAA Information on the status of an ep patent application or granted ep patent

    Free format text: STATUS: NO OPPOSITION FILED WITHIN TIME LIMIT

    26N No opposition filed

    Effective date: 20080627

    PG25 Lapsed in a contracting state [announced via postgrant information from national office to epo]

    Ref country code: FR

    Free format text: LAPSE BECAUSE OF FAILURE TO SUBMIT A TRANSLATION OF THE DESCRIPTION OR TO PAY THE FEE WITHIN THE PRESCRIBED TIME-LIMIT

    Effective date: 20080704

    Ref country code: IE

    Free format text: LAPSE BECAUSE OF FAILURE TO SUBMIT A TRANSLATION OF THE DESCRIPTION OR TO PAY THE FEE WITHIN THE PRESCRIBED TIME-LIMIT

    Effective date: 20070926

    PG25 Lapsed in a contracting state [announced via postgrant information from national office to epo]

    Ref country code: GB

    Free format text: LAPSE BECAUSE OF FAILURE TO SUBMIT A TRANSLATION OF THE DESCRIPTION OR TO PAY THE FEE WITHIN THE PRESCRIBED TIME-LIMIT

    Effective date: 20070926

    PG25 Lapsed in a contracting state [announced via postgrant information from national office to epo]

    Ref country code: MC

    Free format text: LAPSE BECAUSE OF NON-PAYMENT OF DUE FEES

    Effective date: 20080831

    PG25 Lapsed in a contracting state [announced via postgrant information from national office to epo]

    Ref country code: BE

    Free format text: LAPSE BECAUSE OF NON-PAYMENT OF DUE FEES

    Effective date: 20080831

    Ref country code: CY

    Free format text: LAPSE BECAUSE OF FAILURE TO SUBMIT A TRANSLATION OF THE DESCRIPTION OR TO PAY THE FEE WITHIN THE PRESCRIBED TIME-LIMIT

    Effective date: 20070926

    PG25 Lapsed in a contracting state [announced via postgrant information from national office to epo]

    Ref country code: LU

    Free format text: LAPSE BECAUSE OF NON-PAYMENT OF DUE FEES

    Effective date: 20080801

    PG25 Lapsed in a contracting state [announced via postgrant information from national office to epo]

    Ref country code: IT

    Free format text: LAPSE BECAUSE OF NON-PAYMENT OF DUE FEES

    Effective date: 20080831

    PGFP Annual fee paid to national office [announced via postgrant information from national office to epo]

    Ref country code: DE

    Payment date: 20190822

    Year of fee payment: 20

    PGFP Annual fee paid to national office [announced via postgrant information from national office to epo]

    Ref country code: AT

    Payment date: 20190820

    Year of fee payment: 20

    PGFP Annual fee paid to national office [announced via postgrant information from national office to epo]

    Ref country code: CH

    Payment date: 20190826

    Year of fee payment: 20

    REG Reference to a national code

    Ref country code: DE

    Ref legal event code: R071

    Ref document number: 50014672

    Country of ref document: DE

    REG Reference to a national code

    Ref country code: CH

    Ref legal event code: PL

    REG Reference to a national code

    Ref country code: AT

    Ref legal event code: MK07

    Ref document number: 374343

    Country of ref document: AT

    Kind code of ref document: T

    Effective date: 20200801