EP1069230A2 - Device for smoothing shirts with collars - Google Patents
Device for smoothing shirts with collars Download PDFInfo
- Publication number
- EP1069230A2 EP1069230A2 EP00114660A EP00114660A EP1069230A2 EP 1069230 A2 EP1069230 A2 EP 1069230A2 EP 00114660 A EP00114660 A EP 00114660A EP 00114660 A EP00114660 A EP 00114660A EP 1069230 A2 EP1069230 A2 EP 1069230A2
- Authority
- EP
- European Patent Office
- Prior art keywords
- collar
- shirt
- section
- inflatable bag
- support parts
- Prior art date
- Legal status (The legal status is an assumption and is not a legal conclusion. Google has not performed a legal analysis and makes no representation as to the accuracy of the status listed.)
- Granted
Links
Images
Classifications
-
- D—TEXTILES; PAPER
- D06—TREATMENT OF TEXTILES OR THE LIKE; LAUNDERING; FLEXIBLE MATERIALS NOT OTHERWISE PROVIDED FOR
- D06F—LAUNDERING, DRYING, IRONING, PRESSING OR FOLDING TEXTILE ARTICLES
- D06F71/00—Apparatus for hot-pressing clothes, linen or other textile articles, i.e. wherein there is substantially no relative movement between pressing element and article while pressure is being applied to the article; Similar machines for cold-pressing clothes, linen or other textile articles
- D06F71/18—Apparatus for hot-pressing clothes, linen or other textile articles, i.e. wherein there is substantially no relative movement between pressing element and article while pressure is being applied to the article; Similar machines for cold-pressing clothes, linen or other textile articles specially adapted for pressing particular garments or parts thereof
- D06F71/22—Apparatus for hot-pressing clothes, linen or other textile articles, i.e. wherein there is substantially no relative movement between pressing element and article while pressure is being applied to the article; Similar machines for cold-pressing clothes, linen or other textile articles specially adapted for pressing particular garments or parts thereof for pressing collars
-
- D—TEXTILES; PAPER
- D06—TREATMENT OF TEXTILES OR THE LIKE; LAUNDERING; FLEXIBLE MATERIALS NOT OTHERWISE PROVIDED FOR
- D06F—LAUNDERING, DRYING, IRONING, PRESSING OR FOLDING TEXTILE ARTICLES
- D06F71/00—Apparatus for hot-pressing clothes, linen or other textile articles, i.e. wherein there is substantially no relative movement between pressing element and article while pressure is being applied to the article; Similar machines for cold-pressing clothes, linen or other textile articles
- D06F71/32—Details
- D06F71/40—Holders or stretchers for the article to be pressed
Definitions
- the invention relates to a device for smoothing shirts with a collar.
- a device for smoothing shirts is known in which the shirt fixed in several places and then by train and blown into it Air is tensioned. You can also use the shirt on the hem, the button placket and the sleeve ends and fixed to the collar.
- the collar fixing device known from this publication has a fixed and two expandable support parts, which together form one form essentially triangular bodies around which the collar of the shirt can be placed. By spreading the movable support parts, the cross section of the Triangular body can be enlarged so that the collar is tensioned from the inside and on this Way can be fixed. The collar fixing device can then be moved upwards be moved to stretch the shirt lengthways. Fixing the shirt At various points in this case it is absolutely necessary to get it in the right place Keep shape.
- Another method of stretching shirts is through the German utility model GM 75 20 576 and the US 3,165,244 known that an inflatable inflatable bag use to stretch the shirt.
- the inflatable bag used has the shape a shirt, so that in these cases the shirt in each case from the inflated inflatable bag the correct shape is kept and no other devices for fixing the Shirts are necessary.
- the inflatable bag described in the two publications has one Fuselage section, two sleeve sections and a collar section that is inflated Condition the collar can be tightened from the inside.
- the one-piece inflatable bag disclosed in German utility model GM 75 20 576 has especially the disadvantage that only the same pressure in the collar section as in the rest Inflatable bag can be achieved for a satisfactory smoothing of the in the Usually multilayer and stiffer collar is too low.
- US 3,165,244 is therefore a multi-part inflatable bag is used, in which the collar section with a higher Pressure can be applied, but this is disadvantageous in particular Blower with higher pressure, but only for the comparatively small volume in the Collar section is necessary, and a complex device for producing different Pressures in the different sections of the inflatable bag required.
- the present invention has for its object a device of the beginning to create the type mentioned, in which the collar with an easy-to-use device can be smoothed satisfactorily.
- This object is achieved by a device for smoothing shirts solved, with an inflatable, shirt-shaped inflatable bag, the one body section, two Has sleeve sections and a collar section, and with expandable support parts for Tensioning the shirt collar.
- the expandable support parts can, for example, around the collar section of the Inflatable bags can be arranged around, the collar section between the support parts can lie against the collar to tighten it.
- the support parts are within the collar section the inflatable bag arranged.
- the collar section can in this way entire collar and tighten it without folds, with the additional mechanical Attack the clamping force in some places with the expandable support parts can.
- the inflatable bag can be supported in this way that would otherwise collapse when not inflated.
- a spring element is assigned to the support parts is that exerts a spreading tension on the support parts.
- the spring force is preferably of the spring element so that an operator manually compress the support parts can. This makes it easier for the operator to put on the shirt for example, can squeeze the support parts with one hand while holding the the other hand puts on the collar and then simply by releasing the support parts can fix.
- the end of the hollow collar shape on the button facing side compared to the adjacent support part movable jaws for the preferably folded up crane tips are arranged. In this way the Collars are not buttoned, so that the shirt can be put on even when open can be.
- a support part on the button strip side can be used stationary and a supporting part serving as a neck tensioner can be arranged movably.
- the support members can be designed so that they together Floor plan of a teardrop shape are approximated. In this way, in particular folded up collar that the rear part of the collar is in a rounded position is fixed and smoothed, whereas the generally larger collar tips in the flat state can be fixed and smoothed, as it is with a smoothed Shirt is usually desired.
- the inflatable bag and the support parts are advantageously air-permeable. This is particularly so Advantageous in cases where the shirt is placed on under and wet Voltage is smoothed in order to achieve a better smoothing result.
- the inflatable bag is filled with heated air that flows through the inflatable bag to the wet shirt, flows through it and dries in this way.
- the air permeability of the support parts becomes the access of the drying air to the shirt hampered as little as possible, so that this is advantageous to the drying of the shirt collar affects.
- the support parts can be bent from perforated sheet metal, for example Be molded. Steam and / or fogging can also be used to smooth the shirt Water are introduced into the inflatable bag.
- an air deflection part over the collar section is provided to air exiting from the collar section to an on Steer collar.
- the air deflecting part can also be used to deflect from the Collar section of escaping steam or nebulized water.
- This air deflection part can be in the form of a hat placed over the collar portion is. Air or steam or water mist from the collar section of the Inflatable bags can be redirected downwards and on the outside of one put on shirt collar. This can both Both inside and outside are exposed to drying air or steam, so that it can be dried or steamed faster.
- the schematic front view according to FIG. 1 shows a device 1 for smoothing Shirts with an inflatable bag 2 on a base 6 that is not shown in full is mounted.
- the inflatable bag 2 has a torso section 3, two sleeve sections 4 and a collar section 5.
- the base 6, which also serves as a base for the device 1, has a blower and a heater to the inflatable bag 2 with heated air to be able to inflate.
- the shirt smoothing device 1 has clamping jaws 8, that in the area of the collar section 5 the collar 14 placed on top Shirts can press against a support part 9 arranged inside the collar section 5, to fix the collar 14.
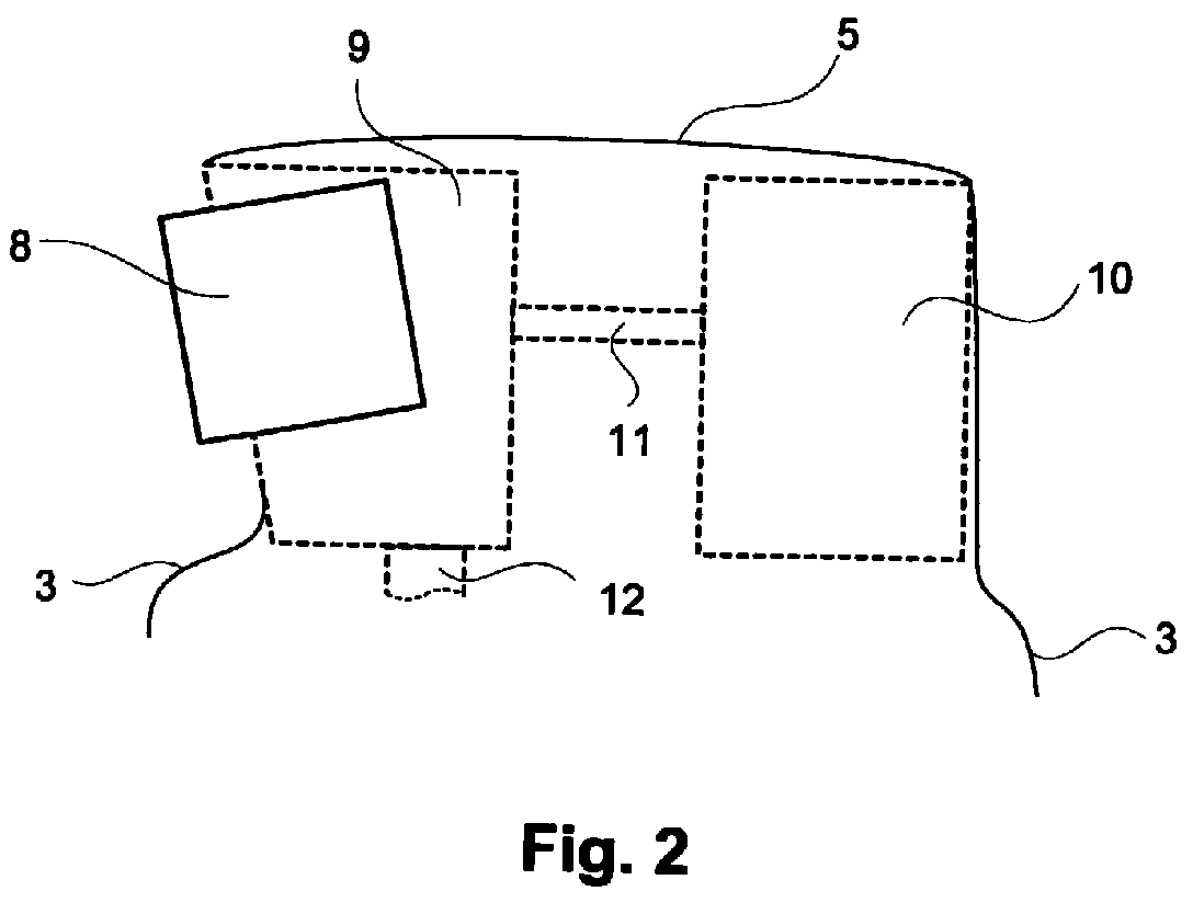
- the side view according to Figure 2 shows the collar section 5 with arranged therein Support parts 9, 10 for tensioning the shirt collar and a clamping jaw 8.
- the inside Parts of the collar section 5 are shown in dashed lines.
- the Air deflection part 7 is not shown in this view.
- the button facing end the hollow collar shape on which the button placket lies when the shirt is on comes, is on the left in Figure 2.
- the fixed support part 9 is arranged which is attached to the base 6 by means of a strut 12.
- two rods 11 are attached, along which the movable neck tensioner 10 can be moved.
- the neck tensioner 10 is supported by a spring pushed away from the fixed support member 9, a stop to limit this movement can be provided.
- the two clamping jaws 8 are pivotably attached to the fixed support part 9, so that with them the collar 14 of a shirt pressed against the fixed support member 9 can be.
- the collar section 5 is fastened to the fixed support part 9 and encloses the collar tensioning device 9, 10, 11, 12 with the exception of the jaws 8, which are used for clamping of an applied shirt collar 14 must be on the outside.
- the fuselage section 3 At the bottom of the collar section 5 joins the fuselage section 3.
- the horizontal section according to FIG. 3 shows a collar 14 in the clamped position and tense condition.
- pillows 13 are also made of one compliant, soft-elastic plastic can be seen on the inside of the clamping jaws 8 are attached to better press the collar 14 against the fixed support member 9.
- the two tips of the shirt collar 14, which are in the Drawing above, between the jaws 8 or the pads 13 and the fixed support part 9 clamped, between the collar 14 and the fixed support part 9 is still the collar section 5.
- the collar hollow shape which is located in the drawing below, the collar 14 through the neck tensioner 10 tensioned by spring force.
- the shirt to be smoothed is turned over the inflatable bag 2 placed, the collar 14 placed behind the neck tensioner 10, this pulled forward against the spring force and the tips of the shirt collar 14 clamped against the fixed support part 9 by means of the clamping jaws 8. Then the Neck tensioner 10 are released, which is pushed back by the spring and the collar 14 fixed at the front. Then the inflatable bag can be used to smooth the shirt 2 are inflated with the collar section 5, in particular with heated air, so that the collar 14 receives the shape shown in Figure 3 and is smoothed in this. To this The tension of the shirt collar 14 is in the inventive solution a position with particularly few folds or faults possible, so that a special good smoothing result for the collar 14 is achieved.
- the device 1 according to the invention can be provided to remove the air flow from the Inflatable bag 2 in the collar section 5 to control and at the beginning of the smoothing process only allow a small air flow to allow a higher pressure inside the inflatable bag 2 and thus to achieve a higher tension of the shirt and a better smoothing. After a period of time, this airflow can be increased by more To direct air into the collar section 5 or to the collar in order to improve this to be able to smooth and dry.
Landscapes
- Engineering & Computer Science (AREA)
- Textile Engineering (AREA)
- Packaging Of Annular Or Rod-Shaped Articles, Wearing Apparel, Cassettes, Or The Like (AREA)
- Irons (AREA)
Abstract
Um beim Glätten eines Hemds den in der Regel wesentlich steiferen Kragen 14 zufriedenstellend glätten zu können, ist eine erhöhte Spannung erforderlich. Dabei sollte der Kragen 14 in einem möglichst abgerundeten Zustand gespannt und geglättet werden, damit er keine Falten oder Knicke bekommt. Bei einer Hemdenglättvorrichtung mit einem Blähsack 2 wird dies erfindungsgemäß dadurch ermöglicht, daß der Blähsack 2 mit einem Kragenabschnitt 5 zum gleichmäßigen Spannen des Kragens 14 versehen ist, wobei insbesondere innen im Kragenabschnitt 5 spreizbare Stützteile 9, 10 zum Spannen des Kragens 14 angeordnet sind. Der Kragen 14 kann dabei mit Spannbacken 8 gegen ein Stützteil 9 festgeklemmt werden. Auf diese Weise kann der Kragen 14 mit der erforderlichen Spannung und in einer besonders falten- und verwerfungsfreien Stellung geglättet werden. In order to be able to smooth the usually much stiffer collar 14 when smoothing a shirt, increased tension is required. The collar 14 should be tensioned and smoothed in a state that is as rounded as possible so that it does not get any folds or kinks. In a shirt smoothing device with an inflatable bag 2, this is made possible according to the invention in that the inflatable bag 2 is provided with a collar section 5 for uniform tensioning of the collar 14, with expandable supporting parts 9, 10 for tensioning the collar 14 being arranged in particular in the collar section 5. The collar 14 can be clamped against a support part 9 with clamping jaws 8. In this way, the collar 14 can be smoothed with the required tension and in a particularly wrinkle-free and warp-free position.
Description
Die Erfindung bezieht sich auf eine Vorrichtung zum Glätten von Hemden mit Kragen.The invention relates to a device for smoothing shirts with a collar.
Durch die FR 1.557.767 ist eine Vorrichtung zum Glätten von Hemden bekannt, bei der das Hemd an mehreren Stellen fixiert und anschließend durch Zug und hineingeblasene Luft gespannt wird. Dazu kann das Hemd am Saum, der Knopfleiste, den Ärmelenden und dem Kragen fixiert werden. Die aus dieser Druckschrift bekannte Kragenfixiervorrichtung weist ein feststehendes und zwei spreizbare Stützteile auf, die zusammen einen im wesentlichen dreieckförmigen Körper bilden, um den herum der Kragen des Hemds gelegt werden kann. Durch Spreizen der beweglichen Stützteile kann der Querschnitt des Dreieckkörpers vergrößert werden, so daß der Kragen von innen gespannt und auf diese Weise fixiert werden kann. Anschließend kann die Kragenfixiervorrichtung nach oben verfahren werden, um das Hemd in Längsrichtung zu spannen. Die Fixierung des Hemds an verschiedenen Stellen ist in diesem Fall unbedingt notwendig, um es in der richtigen Form zu halten.From FR 1,557,767 a device for smoothing shirts is known in which the shirt fixed in several places and then by train and blown into it Air is tensioned. You can also use the shirt on the hem, the button placket and the sleeve ends and fixed to the collar. The collar fixing device known from this publication has a fixed and two expandable support parts, which together form one form essentially triangular bodies around which the collar of the shirt can be placed. By spreading the movable support parts, the cross section of the Triangular body can be enlarged so that the collar is tensioned from the inside and on this Way can be fixed. The collar fixing device can then be moved upwards be moved to stretch the shirt lengthways. Fixing the shirt At various points in this case it is absolutely necessary to get it in the right place Keep shape.
Ein anderes Verfahren zum Spannen von Hemden ist durch das deutsche Gebrauchsmuster GM 75 20 576 sowie die US 3,165,244 bekannt, die einen aufblasbaren Blähsack zum Spannen des Hemds verwenden. Der jeweils verwendete Blähsack besitzt die Form eines Hemds, so daß in diesen Fällen das Hemd jeweils vom aufgeblasenen Blähsack in der richtigen Form gehalten wird und keine weiteren Einrichtungen zum Fixieren des Hemds nötig sind. Der in den beiden Druckschriften beschriebene Blähsack weist einen Rumpfabschnitt, zwei Ärmelabschnitte und einen Kragenabschnitt auf, der im aufgeblasenen Zustand den Kragen von innen spannen kann.Another method of stretching shirts is through the German utility model GM 75 20 576 and the US 3,165,244 known that an inflatable inflatable bag use to stretch the shirt. The inflatable bag used has the shape a shirt, so that in these cases the shirt in each case from the inflated inflatable bag the correct shape is kept and no other devices for fixing the Shirts are necessary. The inflatable bag described in the two publications has one Fuselage section, two sleeve sections and a collar section that is inflated Condition the collar can be tightened from the inside.
Der im deutschen Gebrauchsmuster GM 75 20 576 offenbarte einteilige Blähsack weist insbesondere den Nachteil auf, daß im Kragenabschnitt nur der gleiche Druck wie im übrigen Blähsack erreicht werden kann, der für ein zufriedenstellendes Glätten des in der Regel mehrlagigen und steiferen Kragens zu niedrig ist. In der US 3,165,244 wird daher ein mehrteiliger Blähsack verwendet, bei dem der Kragenabschnitt mit einem höheren Druck beaufschlagt werden kann, wobei dies jedoch nachteiligerweise insbesondere ein Gebläse mit höherem Druck, der jedoch nur für das vergleichsweise kleine Volumen im Kragenabschnitt nötig ist, und eine aufwendige Einrichtung zum Herstellen unterschiedlicher Drücke in den verschiedenen Abschnitten des Blähsacks erfordert.The one-piece inflatable bag disclosed in German utility model GM 75 20 576 has especially the disadvantage that only the same pressure in the collar section as in the rest Inflatable bag can be achieved for a satisfactory smoothing of the in the Usually multilayer and stiffer collar is too low. In US 3,165,244 is therefore a multi-part inflatable bag is used, in which the collar section with a higher Pressure can be applied, but this is disadvantageous in particular Blower with higher pressure, but only for the comparatively small volume in the Collar section is necessary, and a complex device for producing different Pressures in the different sections of the inflatable bag required.
Der vorliegenden Erfindung liegt die Aufgabe zugrunde, eine Vorrichtung der eingangs genannten Art zu schaffen, bei der der Kragen mit einer einfach bedienbaren Einrichtung zufriedenstellend geglättet werden kann.The present invention has for its object a device of the beginning to create the type mentioned, in which the collar with an easy-to-use device can be smoothed satisfactorily.
Diese Aufgabe wird erfindungsgemäß durch eine Vorrichtung zum Glätten von Hemden gelöst, mit einem aufblasbaren, hemdförmigen Blähsack, der einen Rumpfabschnitt, zwei Ärmelabschnitte und einen Kragenabschnitt aufweist, und mit spreizbaren Stützteilen zum Spannen des Hemdkragens.This object is achieved by a device for smoothing shirts solved, with an inflatable, shirt-shaped inflatable bag, the one body section, two Has sleeve sections and a collar section, and with expandable support parts for Tensioning the shirt collar.
Die spreizbaren Stützteile können dabei beispielsweise um den Kragenabschnitt des Blähsacks herum angeordnet sein, wobei der Kragenabschnitt zwischen den Stützteilen sich gegen den Kragen anlegen kann, um diesen zu spannen.The expandable support parts can, for example, around the collar section of the Inflatable bags can be arranged around, the collar section between the support parts can lie against the collar to tighten it.
Durch das Zusammenwirken des aufblasbaren Kragenabschnitts und den spreizbaren Stützteilen zum Spannen des Hemdkragens wird eine größere aber dennoch gleichmäßige und verwerfungsfreie Spannung des Hemdkragens erreicht, so daß dieser optimal geglättet wird. Die gleichmäßige Spannung des Hemdkragens wird dabei von dem Kragenabschnitt des Blähsacks erreicht, der unter Einwirkung der eingeblasenen Luft ohne scharfe Kanten oder Spitzen abgerundet aufgebläht werden kann. Weiterhin ist auf diese Weise kein erhöhter Druck im Kragenabschnitt des Blähsacks erforderlich, so daß der damit verbundene hohe Aufwand vermieden werden kann.By the interaction of the inflatable collar section and the expandable Support parts for tensioning the shirt collar will be a larger but even one and warp-free tension of the shirt collar, so that it is optimally smoothed becomes. The uniform tension of the shirt collar is determined by the collar section the inflatable bag is reached without the influence of the blown air sharp edges or tips can be inflated rounded. Continues on this Way, no increased pressure in the collar portion of the inflatable bag is required, so that the associated high effort can be avoided.
In einer besonders vorteilhaften Ausführungsform sind die Stützteile innerhalb des Kragenabschnitts des Blähsacks angeordnet. Der Kragenabschnitt kann auf diese Weise am gesamten Kragenanliegen und diesen ohne Falten spannen, wobei zusätzlich die mechanische Spannkraft durch die spreizbaren Stützteile an einigen Stellen unterstützend angreifen kann. Darüber hinaus kann auf diese Weise eine Stützung des Blähsacks erreicht werden, der im nicht aufgeblasenen Zustand ansonsten zusammenfallen würde.In a particularly advantageous embodiment, the support parts are within the collar section the inflatable bag arranged. The collar section can in this way entire collar and tighten it without folds, with the additional mechanical Attack the clamping force in some places with the expandable support parts can. In addition, the inflatable bag can be supported in this way that would otherwise collapse when not inflated.
Weiterhin kann vorgesehen werden, daß den Stützteilen ein Federelement zugeordnet ist, das auf die Stützteile eine Spreizspannung ausübt. Vorzugsweise ist die Federkraft des Federelements so bemessen, daß eine Bedienperson die Stützteile manuell zusammendrücken kann. Dies erleichtert das Anlegen des Hemds durch die Bedienperson, die beispielsweise mit einer Hand die Stützteile zusammendrücken kann, während sie mit der anderen Hand den Kragen auflegt und anschließend einfach durch Loslassen der Stützteile fixieren kann.Furthermore, it can be provided that a spring element is assigned to the support parts is that exerts a spreading tension on the support parts. The spring force is preferably of the spring element so that an operator manually compress the support parts can. This makes it easier for the operator to put on the shirt for example, can squeeze the support parts with one hand while holding the the other hand puts on the collar and then simply by releasing the support parts can fix.
In einer vorteilhaften Ausführungsform können am knopfleistenseitigen Ende der Kragenhohlform gegenüber dem benachbarten Stützteil bewegbare Spannbacken für die vorzugsweise hochgeklappten Krangenspitzen angeordnet sein. Auf diese Weise muß der Kragen nicht zugeknöpft werden, so daß das Hemd auch im offenen Zustand aufgelegt werden kann.In an advantageous embodiment, the end of the hollow collar shape on the button facing side compared to the adjacent support part movable jaws for the preferably folded up crane tips are arranged. In this way the Collars are not buttoned, so that the shirt can be put on even when open can be.
Bei der Ausgestaltung der spreizbaren Stützteile kann ein knopfleistenseitiges Stützteil ortsfest und ein als Nackenspanner dienendes Stützteil beweglich angeordnet sein. Eine vor dem Gerät stehende Bedienperson kann auf diese Weise die spreizbaren Stützteile einfach zusammenziehen, indem sie den Nackenspanner zu sich herzieht, um den Kragen anzulegen. Die Stützteile können so ausgebildet sein, daß sie zusammen dem Grundriß einer Tropfenform angenähert sind. Auf diese Weise wird insbesondere bei hochgeklappten Kragen erreicht, daß der hintere Teil des Kragens in gerundeter Stellung fixiert und geglättet wird, wohingegen die in der Regel großflächigeren Kragenspitzen im ebenen Zustand fixiert und geglättet werden können, so wie es bei einem geglätteten Hemd üblicherweise erwünscht ist.In the configuration of the expandable support parts, a support part on the button strip side can be used stationary and a supporting part serving as a neck tensioner can be arranged movably. A In this way, the operator standing in front of the device can use the expandable support parts simply pull it together by pulling the neck tensioner towards you around the collar to create. The support members can be designed so that they together Floor plan of a teardrop shape are approximated. In this way, in particular folded up collar that the rear part of the collar is in a rounded position is fixed and smoothed, whereas the generally larger collar tips in the flat state can be fixed and smoothed, as it is with a smoothed Shirt is usually desired.
Vorteilhafterweise sind der Blähsack und die Stützteile luftdurchlässig. Dies ist insbesondere in den Fällen vorteilhaft, in denen das Hemd im feuchten Zustand aufgelegt und unter Spannung geglättet wird, um ein besseres Glättungsergebnis zu erzielen. In der Regel wird dazu der Blähsack mit erhitzter Luft gefüllt, die durch den Blähsack hindurch zu dem feuchten Hemd gelangen kann, dieses durchströmt und auf diese Weise trocknet. Durch die Luftdurchlässigkeit der Stützteile wird der Zutritt der Trocknungsluft zu dem Hemd möglichst wenig behindert, so daß sich dies vorteilhaft auf die Trocknung des Hemdkragens auswirkt. Die Stützteile können zu diesem Zweck beispielsweise aus Lochblech gebogen Formkörper sein. Zum Glätten des Hemds kann auch Dampf und/oder vernebeltes Wasser in den Blähsack eingeleitet werden.The inflatable bag and the support parts are advantageously air-permeable. This is particularly so Advantageous in cases where the shirt is placed on under and wet Voltage is smoothed in order to achieve a better smoothing result. Usually the inflatable bag is filled with heated air that flows through the inflatable bag to the wet shirt, flows through it and dries in this way. By the air permeability of the support parts becomes the access of the drying air to the shirt hampered as little as possible, so that this is advantageous to the drying of the shirt collar affects. For this purpose, the support parts can be bent from perforated sheet metal, for example Be molded. Steam and / or fogging can also be used to smooth the shirt Water are introduced into the inflatable bag.
Zusätzlich kann vorgesehen sein, daß über dem Kragenabschnitt ein Luftumlenkungsteil vorgesehen ist, um aus dem Kragenabschnitt austretende Luft zu einem aufgelegten Kragen zu lenken. Das Luftumlenkungsteil kann ebenso zum Umlenken von aus dem Kragenabschnitt austretendem Dampf oder vernebeltem Wasser dienen. Dieses Luftumlenkungsteil kann die Form eines Hutes haben, der über dem Kragenabschnitt angeordnet ist. Luft beziehungsweise Dampf oder Wassernebel aus dem Kragenabschnitt des Blähsacks kann auf diese Weise nach unten umgelenkt und an den Außenseiten eines aufgelegten Hemdkragens vorbeigeführt werden. Dieser kann auf diese Weise sowohl von innen als auch von außen mit Trocknungsluft beziehungsweise Dampf beaufschlagt, so daß er schneller getrocknet beziehungsweise gedämpft werden kann.In addition, it can be provided that an air deflection part over the collar section is provided to air exiting from the collar section to an on Steer collar. The air deflecting part can also be used to deflect from the Collar section of escaping steam or nebulized water. This air deflection part can be in the form of a hat placed over the collar portion is. Air or steam or water mist from the collar section of the Inflatable bags can be redirected downwards and on the outside of one put on shirt collar. This can both Both inside and outside are exposed to drying air or steam, so that it can be dried or steamed faster.
Weitere Einzelheiten, Merkmale und Vorteile der Erfindung ergeben sich aus der folgenden Beschreibung einer Ausführungsform für eine erfindungsgemäße Vorrichtung zum Glätten von Hemden unter Bezugnahme auf die Zeichnungen. Darin zeigen:
- Fig. 1
- eine Vorderansicht einer erfindungsgemäßen Vorrichtung zum Glätten von Hemden,
- Fig. 2
- eine seitliche Draufsicht auf den Kragenabschnitt der Hemdenglättvorrichtung aus Fig. 1 mit darin angeordneten Stützteilen und
- Fig. 3
- einen waagrechten Schnitt durch den Kragenabschnitt mit der Vorrichtung zum Spannen eines Hemdkragens sowie einem Kragen im fixierten und gespannten Zustand.
- Fig. 1
- 2 shows a front view of a device for smoothing shirts,
- Fig. 2
- a side plan view of the collar portion of the shirt smoothing device of FIG. 1 with support members and arranged therein
- Fig. 3
- a horizontal section through the collar section with the device for tensioning a shirt collar and a collar in the fixed and tensioned state.
Die schematische Vorderansicht gemäß Figur 1 zeigt eine Vorrichtung 1 zum Glätten von
Hemden mit einem Blähsack 2, der auf einem nicht vollständig dargestellten Sockel 6
montiert ist. Der Blähsack 2 weist einen Rumpfabschnitt 3, zwei Ärmelabschnitte 4 und
einen Kragenabschnitt 5 auf. Der Sockel 6, der auch als Standfuß für das Gerät 1 dient,
weist ein Gebläse und eine Heizeinrichtung auf, um den Blähsack 2 mit erwärmter Luft
aufblasen zu können. Weiterhin weist die Hemdenglättvorrichtung 1 Spannbacken 8 auf,
die im Bereich des Kragenabschnitts 5 den hochgestellten Kragen 14 eines aufgelegten
Hemds gegen ein innen im Kragenabschnitt 5 angeordnetes Stützteil 9 drücken können,
um den Kragen 14 zu fixieren. Zusätzlich ist über dem Kragenabschnitt 5 ein Luftumlenkungsteil
7 befestigt, das insbesondere oben aus dem Kragenabschnitt austretende Luft
nach unten umlenken und von außen an einen fixierten Kragen leiten kann.The schematic front view according to FIG. 1 shows a
Die Seitenansicht gemäß Figur 2 zeigt den Kragenabschnitt 5 mit darin angeordneten
Stützteilen 9, 10 zum Spannen des Hemdkragens sowie eine Spannbacke 8. Die innerhalb
des Kragenabschnitts 5 angeordneten Teile sind dabei gestrichelt dargestellt. Das
Luftumlenkungsteil 7 ist in dieser Ansicht nicht dargestellt. Das knopfleistenseitige Ende
der Kragenhohlform, an dem bei einem aufgelegtem Hemd die Knopfleiste zu liegen
kommt, befindet sich in Figur 2 links. An diesem Ende ist das feste Stützteil 9 angeordnet,
das mittels einer Strebe 12 an dem Sockel 6 befestigt ist. An der Rückseite des festen
Stützteils 9 sind zwei Stangen 11 befestigt, an denen entlang der bewegliche Nackenspanner
10 verschoben werden kann. Der Nackenspanner 10 wird dabei von einer Feder
von dem festen Stützteil 9 weggedrückt, wobei ein Anschlag zum Begrenzen dieser Bewegung
vorgesehen sein kann.The side view according to Figure 2 shows the
Weiterhin sind an dem festen Stützteil 9 die zwei Spannbacken 8 schwenkbar befestigt,
so daß mit ihnen der Kragen 14 eines aufgelegten Hemds gegen das feste Stützteil 9 gepreßt
werden kann.Furthermore, the two clamping
Der Kragenabschnitt 5 ist am festen Stützteil 9 befestigt und umschließt die Kragenspannvorrichtung
9, 10, 11, 12 mit Ausnahme der Spannbacken 8, die zum Festklemmen
eines aufgelegten Hemdkragens 14 außen liegen müssen. Unten an dem Kragenabschnitt
5 schließt sich der Rumpfabschnitt 3 an.The
Der waagrechte Schnitt gemäß Figur 3 zeigt einen aufgestellten Kragen 14 im festgeklemmten
und gespannten Zustand. In dieser Ansicht sind auch Kissen 13 aus einem
nachgiebigen, weichelastischen Kunststoff zu sehen, die innen an den Spannbacken 8
befestigt sind, um dem Kragen 14 besser gegen das feste Stützteil 9 pressen zu können.
In der gezeigten Darstellung sind die beiden Spitzen des Hemdkragens 14, die sich in der
Zeichnung oben befinden, zwischen den Spannbacken 8 beziehungsweise den Polstern
13 und dem festen Stützteil 9 festgeklemmt, wobei sich zwischen dem Kragen 14 und
dem festen Stützteil 9 noch der Kragenabschnitt 5 befindet. Am entgegengesetzten Ende
der Kragenhohlform, das sich in der Zeichnung unten befindet, wird der Kragen 14 durch
den Nackenspanner 10 mittels Federkraft gespannt. Zusätzlich ist in dem dargestellten
Zustand der Kragenabschnitt 5 aufgebläht, so daß er sich innen an den Kragen 14 anlegt
und zusätzlich nach außen drückt. Dies ist insbesondere im Mittelabschnitt zwischen dem
festen Stützteil 9 und dem Nackenspanner 10 zu sehen, in dem der Blähsack 2 den Kragen
14 von den Stützteilen 9, 10 weg drückt. Auf diese Weise wird der Kragen 14 in einem
sehr abgerundeten Zustand gespannt, so daß er ohne Verwerfungen oder Falten besonders
vorteilhaft geglättet werden kann. Die Spannbereiche des festen Stützteils 9 sowie
der Spannbacken 8, zwischen denen die Spitzen des Hemdkragens zu liegen kommen,
sind im wesentlichen eben ausgeführt, da es bei den Hemdkragenspitzen üblicherweise
erwünscht ist, daß diese nach dem Glätten eben sind.The horizontal section according to FIG. 3 shows a
Um den Kragen 14 wie in Figur 3 dargestellt zu fixieren, wird das zu glättende Hemd um
den Blähsack 2 gelegt, der Kragen 14 hinten an den Nackenspanner 10 angelegt, dieser
gegen die Federkraft nach vorne gezogen und werden die Spitzen des Hemdkragens 14
mittels der Spannbacken 8 gegen das feste Stützteil 9 festgeklemmt. Danach kann der
Nackenspanner 10 losgelassen werden, der von der Feder nach hinten gedrückt wird und
den vorne fixierten Kragen 14 spannt. Danach kann zum Glätten des Hemds der Blähsack
2 mit dem Kragenabschnitt 5 mit insbesondere erwärmter Luft aufgebläht werden, so daß
der Kragen 14 die in Figur 3 dargestellte Form erhält und in dieser geglättet wird. Auf diese
Weise ist durch die erfindungsgemäße Lösung die Spannung des Hemdkragens 14 in
einer Stellung mit besonders wenig Falten oder Verwerfungen möglich, so daß ein besonders
gutes Glättungsergebnis für den Kragen 14 erzielt wird. In einer Weiterbildung
der erfindungsgemäßen Vorrichtung 1 kann vorgesehen sein, den Luftstrom aus dem
Blähsack 2 in den Kragenabschnitt 5 zu steuern und zu Beginn des Glättungsvorgangs
nur einen geringen Luftstrom zuzulassen, um einen höheren Druck im Inneren des Blähsacks
2 und damit eine höhere Spannung des Hemds und eine bessere Glättung zu erreichen.
Nach einer bestimmten Zeitdauer kann dieser Luftstrom erhöht werden, um mehr
Luft in den Kragenabschnitt 5 beziehungsweise zum Kragen zu leiten, um diesen besser
glätten und trocknen zu können.In order to fix the
Claims (8)
Applications Claiming Priority (2)
| Application Number | Priority Date | Filing Date | Title |
|---|---|---|---|
| DE19932451 | 1999-07-12 | ||
| DE19932451A DE19932451A1 (en) | 1999-07-12 | 1999-07-12 | Device for smoothing shirts with a collar |
Publications (3)
| Publication Number | Publication Date |
|---|---|
| EP1069230A2 true EP1069230A2 (en) | 2001-01-17 |
| EP1069230A3 EP1069230A3 (en) | 2002-10-16 |
| EP1069230B1 EP1069230B1 (en) | 2004-03-17 |
Family
ID=7914443
Family Applications (1)
| Application Number | Title | Priority Date | Filing Date |
|---|---|---|---|
| EP00114660A Expired - Lifetime EP1069230B1 (en) | 1999-07-12 | 2000-07-07 | Device for smoothing shirts with collars |
Country Status (3)
| Country | Link |
|---|---|
| EP (1) | EP1069230B1 (en) |
| DE (2) | DE19932451A1 (en) |
| ES (1) | ES2216773T3 (en) |
Families Citing this family (4)
| Publication number | Priority date | Publication date | Assignee | Title |
|---|---|---|---|---|
| DE10064320A1 (en) * | 2000-12-22 | 2002-07-04 | Bsh Bosch Siemens Hausgeraete | Iron-on manikin with stiffeners on the sleeve end |
| DE10064321A1 (en) * | 2000-12-22 | 2002-07-04 | Bsh Bosch Siemens Hausgeraete | Device for smoothing shirts |
| DE10339781A1 (en) * | 2003-08-28 | 2005-03-24 | BSH Bosch und Siemens Hausgeräte GmbH | Inflatable body for ironing garments, with collars, has clamp for collar to hold it in place without creases, and air openings to indicate that collar is in correct position |
| DE10339700A1 (en) * | 2003-08-28 | 2005-03-17 | BSH Bosch und Siemens Hausgeräte GmbH | Apparatus for ironing garment, e.g. shirt, has inflatable body with collar stretcher in two moving sections which give intermediate zone between them |
Family Cites Families (8)
| Publication number | Priority date | Publication date | Assignee | Title |
|---|---|---|---|---|
| US1388984A (en) * | 1917-07-02 | 1921-08-30 | American Laundry Mach Co | Ironing-machine |
| US2454977A (en) * | 1947-03-10 | 1948-11-30 | John H Richa | Adjustable shoulder support for garment finishing apparatus |
| US3165244A (en) * | 1962-05-18 | 1965-01-12 | Dosal Martin Roberto | Inflatable apparatus for pressing shirts |
| FR1557767A (en) * | 1967-12-06 | 1969-02-21 | ||
| US3568900A (en) * | 1969-10-27 | 1971-03-09 | August F Paris | Shirt pressing machine |
| FR2575773A1 (en) * | 1985-01-08 | 1986-07-11 | Gomez Jacques | METHOD OF IRISHING A GARMENT AND DEVICES THEREFOR |
| DE19730358A1 (en) * | 1997-07-15 | 1999-01-21 | Bosch Siemens Hausgeraete | Device for smoothing laundry |
| DE19754027A1 (en) * | 1997-12-05 | 1999-06-10 | Bosch Siemens Hausgeraete | Device for smoothing shirt collars |
-
1999
- 1999-07-12 DE DE19932451A patent/DE19932451A1/en not_active Withdrawn
-
2000
- 2000-07-07 EP EP00114660A patent/EP1069230B1/en not_active Expired - Lifetime
- 2000-07-07 DE DE50005655T patent/DE50005655D1/en not_active Expired - Lifetime
- 2000-07-07 ES ES00114660T patent/ES2216773T3/en not_active Expired - Lifetime
Also Published As
| Publication number | Publication date |
|---|---|
| DE50005655D1 (en) | 2004-04-22 |
| EP1069230A3 (en) | 2002-10-16 |
| DE19932451A1 (en) | 2001-01-18 |
| EP1069230B1 (en) | 2004-03-17 |
| ES2216773T3 (en) | 2004-11-01 |
Similar Documents
| Publication | Publication Date | Title |
|---|---|---|
| EP1349981B1 (en) | Device for smoothing shirts | |
| DE1150042B (en) | Ironing press for pants | |
| EP1069230B1 (en) | Device for smoothing shirts with collars | |
| EP0921227B1 (en) | Device for smoothing of shirt collar | |
| DE10064321A1 (en) | Device for smoothing shirts | |
| DE2414702C3 (en) | Apparatus for ironing items of clothing | |
| EP1349980B1 (en) | Form finisher with a reinforcement on the end of the sleeve | |
| EP1069231B1 (en) | Device for smoothing shirts | |
| EP1448833B1 (en) | Device for pressing shirt-like garments | |
| DE20020231U1 (en) | Device for smoothing shirts with a collar | |
| EP1448834A1 (en) | Inflatable body for pressing shirt-like garments and device for pressing garments with said inflatable body | |
| EP4237614A1 (en) | Inflatable body and use of the inflatable body in a system for drying and/or pressing a piece of textile | |
| DE3228622C2 (en) | Device for ironing seams on tubularly closed items of clothing, such as trouser legs, sleeves, or the like. | |
| DE3617585C2 (en) | ||
| EP1339907B1 (en) | Method and device for ironing garments | |
| DE1137413B (en) | Ironing press for items of clothing or the like. | |
| EP1510614B1 (en) | Device for pressing garments | |
| EP1745174B1 (en) | Device for ironing and/or drying a garment | |
| DE1257732B (en) | Ironing press for pants | |
| DE7410664U (en) | Apparatus for ironing items of clothing | |
| DE10339781A1 (en) | Inflatable body for ironing garments, with collars, has clamp for collar to hold it in place without creases, and air openings to indicate that collar is in correct position | |
| DE9015920U1 (en) | Ironing device for ironing outerwear | |
| DE2214970B2 (en) | TROUSER IRONING MACHINE | |
| DE1154428B (en) | Blow dryer for curtains | |
| DE2225073A1 (en) | DEVICE FOR DAMPING SHIRTS, BLOUSES OR SIMILAR CLOTHING |
Legal Events
| Date | Code | Title | Description |
|---|---|---|---|
| PUAI | Public reference made under article 153(3) epc to a published international application that has entered the european phase |
Free format text: ORIGINAL CODE: 0009012 |
|
| AK | Designated contracting states |
Kind code of ref document: A2 Designated state(s): AT BE CH CY DE DK ES FI FR GB GR IE IT LI LU MC NL PT SE |
|
| AX | Request for extension of the european patent |
Free format text: AL;LT;LV;MK;RO;SI |
|
| RIN1 | Information on inventor provided before grant (corrected) |
Inventor name: WETZL, GERHARD Inventor name: DAMRATH, JOACHIM Inventor name: SPIELMANNLEITNER, MARKUS |
|
| PUAL | Search report despatched |
Free format text: ORIGINAL CODE: 0009013 |
|
| AK | Designated contracting states |
Kind code of ref document: A3 Designated state(s): AT BE CH CY DE DK ES FI FR GB GR IE IT LI LU MC NL PT SE |
|
| AX | Request for extension of the european patent |
Free format text: AL;LT;LV;MK;RO;SI |
|
| RIC1 | Information provided on ipc code assigned before grant |
Free format text: 7D 06F 71/22 A, 7D 06F 73/00 B |
|
| 17P | Request for examination filed |
Effective date: 20030416 |
|
| AKX | Designation fees paid |
Designated state(s): DE ES FR GB IT SE |
|
| GRAP | Despatch of communication of intention to grant a patent |
Free format text: ORIGINAL CODE: EPIDOSNIGR1 |
|
| GRAS | Grant fee paid |
Free format text: ORIGINAL CODE: EPIDOSNIGR3 |
|
| RAP1 | Party data changed (applicant data changed or rights of an application transferred) |
Owner name: BSH BOSCH UND SIEMENS HAUSGERAETE GMBH |
|
| GRAA | (expected) grant |
Free format text: ORIGINAL CODE: 0009210 |
|
| AK | Designated contracting states |
Kind code of ref document: B1 Designated state(s): DE ES FR GB IT SE |
|
| REG | Reference to a national code |
Ref country code: GB Ref legal event code: FG4D Free format text: NOT ENGLISH |
|
| REG | Reference to a national code |
Ref country code: IE Ref legal event code: FG4D Free format text: GERMAN |
|
| REF | Corresponds to: |
Ref document number: 50005655 Country of ref document: DE Date of ref document: 20040422 Kind code of ref document: P |
|
| GBT | Gb: translation of ep patent filed (gb section 77(6)(a)/1977) |
Effective date: 20040712 |
|
| REG | Reference to a national code |
Ref country code: IE Ref legal event code: FD4D |
|
| ET | Fr: translation filed | ||
| REG | Reference to a national code |
Ref country code: ES Ref legal event code: FG2A Ref document number: 2216773 Country of ref document: ES Kind code of ref document: T3 |
|
| PLBE | No opposition filed within time limit |
Free format text: ORIGINAL CODE: 0009261 |
|
| STAA | Information on the status of an ep patent application or granted ep patent |
Free format text: STATUS: NO OPPOSITION FILED WITHIN TIME LIMIT |
|
| 26N | No opposition filed |
Effective date: 20041220 |
|
| PGFP | Annual fee paid to national office [announced via postgrant information from national office to epo] |
Ref country code: GB Payment date: 20120723 Year of fee payment: 13 Ref country code: SE Payment date: 20120723 Year of fee payment: 13 |
|
| PGFP | Annual fee paid to national office [announced via postgrant information from national office to epo] |
Ref country code: IT Payment date: 20120725 Year of fee payment: 13 Ref country code: FR Payment date: 20120803 Year of fee payment: 13 Ref country code: DE Payment date: 20120731 Year of fee payment: 13 Ref country code: ES Payment date: 20120723 Year of fee payment: 13 |
|
| REG | Reference to a national code |
Ref country code: SE Ref legal event code: EUG |
|
| GBPC | Gb: european patent ceased through non-payment of renewal fee |
Effective date: 20130707 |
|
| REG | Reference to a national code |
Ref country code: FR Ref legal event code: ST Effective date: 20140331 |
|
| PG25 | Lapsed in a contracting state [announced via postgrant information from national office to epo] |
Ref country code: GB Free format text: LAPSE BECAUSE OF NON-PAYMENT OF DUE FEES Effective date: 20130707 Ref country code: DE Free format text: LAPSE BECAUSE OF NON-PAYMENT OF DUE FEES Effective date: 20140201 Ref country code: SE Free format text: LAPSE BECAUSE OF NON-PAYMENT OF DUE FEES Effective date: 20130708 |
|
| REG | Reference to a national code |
Ref country code: DE Ref legal event code: R119 Ref document number: 50005655 Country of ref document: DE Effective date: 20140201 |
|
| PG25 | Lapsed in a contracting state [announced via postgrant information from national office to epo] |
Ref country code: FR Free format text: LAPSE BECAUSE OF NON-PAYMENT OF DUE FEES Effective date: 20130731 Ref country code: IT Free format text: LAPSE BECAUSE OF NON-PAYMENT OF DUE FEES Effective date: 20130707 |
|
| REG | Reference to a national code |
Ref country code: ES Ref legal event code: FD2A Effective date: 20141010 |
|
| PG25 | Lapsed in a contracting state [announced via postgrant information from national office to epo] |
Ref country code: ES Free format text: LAPSE BECAUSE OF NON-PAYMENT OF DUE FEES Effective date: 20130708 |
