EP1024220A2 - Verfahren sowie Vorrichtung zur Behandlung einer textilen Warenbahn - Google Patents
Verfahren sowie Vorrichtung zur Behandlung einer textilen Warenbahn Download PDFInfo
- Publication number
- EP1024220A2 EP1024220A2 EP00100197A EP00100197A EP1024220A2 EP 1024220 A2 EP1024220 A2 EP 1024220A2 EP 00100197 A EP00100197 A EP 00100197A EP 00100197 A EP00100197 A EP 00100197A EP 1024220 A2 EP1024220 A2 EP 1024220A2
- Authority
- EP
- European Patent Office
- Prior art keywords
- web
- treatment
- strand
- nozzle
- squeezed
- Prior art date
- Legal status (The legal status is an assumption and is not a legal conclusion. Google has not performed a legal analysis and makes no representation as to the accuracy of the status listed.)
- Granted
Links
- 238000000034 method Methods 0.000 title claims abstract description 68
- 239000004753 textile Substances 0.000 title claims abstract description 8
- 239000004744 fabric Substances 0.000 title abstract description 3
- 239000000463 material Substances 0.000 claims abstract description 21
- 238000009736 wetting Methods 0.000 claims description 26
- 238000004043 dyeing Methods 0.000 claims description 6
- 238000009835 boiling Methods 0.000 claims description 4
- 238000004061 bleaching Methods 0.000 claims description 3
- 230000000694 effects Effects 0.000 description 9
- 238000011161 development Methods 0.000 description 8
- 230000018109 developmental process Effects 0.000 description 8
- 238000013461 design Methods 0.000 description 4
- 230000015572 biosynthetic process Effects 0.000 description 3
- 239000000975 dye Substances 0.000 description 2
- 239000012530 fluid Substances 0.000 description 2
- 238000012546 transfer Methods 0.000 description 2
- 238000005406 washing Methods 0.000 description 2
- XLYOFNOQVPJJNP-UHFFFAOYSA-N water Substances O XLYOFNOQVPJJNP-UHFFFAOYSA-N 0.000 description 2
- 230000037303 wrinkles Effects 0.000 description 2
- -1 Aids Substances 0.000 description 1
- 230000001143 conditioned effect Effects 0.000 description 1
- 238000010276 construction Methods 0.000 description 1
- 238000012937 correction Methods 0.000 description 1
- 238000005516 engineering process Methods 0.000 description 1
- 238000010438 heat treatment Methods 0.000 description 1
- 238000009958 sewing Methods 0.000 description 1
- 239000000126 substance Substances 0.000 description 1
- 239000000758 substrate Substances 0.000 description 1
- 238000012549 training Methods 0.000 description 1
- 239000002351 wastewater Substances 0.000 description 1
Images
Classifications
-
- D—TEXTILES; PAPER
- D06—TREATMENT OF TEXTILES OR THE LIKE; LAUNDERING; FLEXIBLE MATERIALS NOT OTHERWISE PROVIDED FOR
- D06B—TREATING TEXTILE MATERIALS USING LIQUIDS, GASES OR VAPOURS
- D06B3/00—Passing of textile materials through liquids, gases or vapours to effect treatment, e.g. washing, dyeing, bleaching, sizing, impregnating
- D06B3/28—Passing of textile materials through liquids, gases or vapours to effect treatment, e.g. washing, dyeing, bleaching, sizing, impregnating of fabrics propelled by, or with the aid of, jets of the treating material
-
- D—TEXTILES; PAPER
- D06—TREATMENT OF TEXTILES OR THE LIKE; LAUNDERING; FLEXIBLE MATERIALS NOT OTHERWISE PROVIDED FOR
- D06B—TREATING TEXTILE MATERIALS USING LIQUIDS, GASES OR VAPOURS
- D06B15/00—Removing liquids, gases or vapours from textile materials in association with treatment of the materials by liquids, gases or vapours
- D06B15/02—Removing liquids, gases or vapours from textile materials in association with treatment of the materials by liquids, gases or vapours by squeezing rollers
Definitions
- the present invention relates to a method for treatment a textile web in the form of an endless web with the features of the preamble of the claim 1 and an apparatus for performing the method with the features of the preamble of the claim 12th
- Textile treatment processes e.g. Pretreatment process, Dyeing processes or post-treatment processes are in multiple design known, such treatment methods continuously or as part of the present Registration can be carried out discontinuously.
- discontinuous treatment processes for example when washing, boiling, boiling, bleaching, dyeing, Washing, softening and / or finishing, becomes a delimited Length of a textile web in such a way
- Treatment facility arranged that the beginning the web with formation of an endless web loop connected to the end of the web, in particular sewn, is. In this case, this can then be endless Web loop in the broad condition or preferably as a web in the corresponding treatment facility be treated.
- CH 575 037 describes a typical process or a typical device for treating such endless web loop in strand form, being used to achieve a given treatment effect a given one Length of a web within a treatment facility is arranged. Then in the treatment facility the web by connecting the two web ends one Endless web loop made, this web loop then subsequently in strand form within the treatment facility transported for a predetermined time and brought into contact with a treatment fleet there becomes. After wetting the endless web of fabric this linger, depending on the recorded Amount of treatment liquor is on the bottom side in the treatment facility accumulates and there again with the web strand in contact while lingering.
- the known method and the known device allows compared to a conventional treatment method a not inconsiderable reduction in the fleet ratio (Weight of the treated goods: volume of the treatment liquor), however, the known method remains Fleet ratios required, of the order of magnitude are between 1: 3 and 1: 7.
- the present invention is based on the object Methods of the type specified and a device are available with which it is possible to create endless textile Treat web strands particularly economically.
- the method according to the invention for treating a textile Material web in which a predetermined length of the material web is within a treatment facility arranged there from the Material web by connecting the two material web ends an endless Made web loop and then this in Strand shape present web loop within the Treatment facility transported for a predetermined time provides that the first step is the continuous the treatment facility transported endless web of goods is wetted with a treatment liquor. Right away afterwards the treatment fleet is removed from the web squeezed, the squeezed fleet separated from the Web strand is caught. Then the web is in the method according to the invention with a Gas flow applied, so that after that the web strand is allowed to linger for a predetermined dwell time. In this dwell stage occurs in the process according to the invention the web strand is no longer in contact with the treatment fleet.
- the term falls under the term Squeeze any technology that makes it possible is the remaining liquor concentration in the endless web to any, predetermined and reproducible Adjust size, especially a mechanical one Squeezing, wiping over the corresponding wiping element, setting the remaining liquor concentration in the web strand by means of vacuum and / or via a corresponding one Gas flow, especially via compressed air.
- the method according to the invention has a number of advantages on. It could surprisingly be found that by Application of the method according to the invention considerable costs can be saved since the inventive method works with a relatively low fleet ratio. Of therefore when using the method according to the invention a saving especially in relation to the required Energy, as well as saving on water, chemicals, Aids, dyes and waste water possible. Let also surprisingly in the process according to the invention particularly reproducible and even the desired Set treatment effects, so that the invention Process particularly advantageous in particular for dyeing can be used. Already a three to a hundred times, preferably repeating four to thirty times of the previously described treatment steps lead to Application of the inventive method to the desired Treatment effects, especially for unevenly colored web strands, so that the treatment times accordingly be minimized when using the method according to the invention.
- the web strand is preferred for a time between 0.01 seconds and 1 Second with the treatment liquor, whereby this Treatment times for one circulation of the web strand Respectively.
- the Time between wetting the web and squeezing 0.01 seconds to 1 second which pays off also refer to a circulation, so that for the determination the total residence time these preferred given above Times are multiplied by the number of round trips have to.
- the web strand with the wetting the respective treatment liquor is achieved by that here the web of goods in a corresponding The treatment liquor is applied to the nozzle.
- Aid to the treatment fleet can be transported excellent results in terms of mass and energy transfer and thus particularly reproducible and uniform Achieve treatment effects in the inventive method.
- the transport speed of the Material web strand in the method according to the invention on the one hand according to the quality of the web to be treated and on the other hand according to the desired treatment effect.
- Transport speeds are preferred selected in the method according to the invention, the between 100 m / min and 800 m / min, in particular between 300 m / min and 600 m / min, vary, with a normal load a corresponding treatment facility with a
- a web length of between 100 m and 1,200 m those specified above in the process according to the invention Treatment steps every 7.5 seconds to every 12 minutes be repeated.
- this Temperature according to the substrate to be treated and the desired treatment aimed.
- the Temperature for wetting the web for which Squeezing the same, for the loading of the web strand with a gas, in particular with air, and / or for dwelling of the web between 30 ° C and 150 ° C, preferably between 60 ° C and 140 ° C.
- the treatment liquor can by every suitable process step from the endless web of goods are removed, in particular a mechanical Squeezing the web strand is preferred, such as this in the following for the device according to the invention is explained in more detail.
- a particularly economical and environmentally friendly treatment is achieved in the method according to the invention by that the fleet caught separately from the web of goods is used again to wet the web strand, so that accordingly, this further increases the fleet ratio and especially fleet consumption is reduced.
- Gas flow an air and / or steam flow used, for Transfer of thermal energy then a steam flow especially is preferred, because in addition to the desired laying of the web still a fast and reproducible Heating of the web strand is brought about.
- the present invention further relates to a device to carry out the method described above.
- the device according to the invention has a treatment device, in particular a cylindrical treatment device, to accommodate the web of material to be treated, wherein the treatment device with a nozzle for wetting of the web with a treatment fleet and a web storage is provided.
- the invention Device in the direction of transport of the to be treated The web of material first seen the nozzle for wetting the Material web strand, hereafter a squeezing device and followed by a gas nozzle for loading the web arranged with the gas flow, the nozzle for Wetting the web of material and / or the squeezing device
- Another facility is associated with the treatment liquor squeezed by the squeezing device catches and this collected treatment fleet one feeds containers arranged separately from the web store.
- the inventive Device still has the further advantage that it an extremely space-saving design a versatile treatment of the web strand enables.
- the device according to the invention only in addition to Treatment device and the nozzle for wetting the web, one after that in the direction of transport of the web seen squeeze device and one on it following gas nozzle and a web store, the web store outside the treatment facility, in particular but preferably within the treatment facility, is arranged.
- a particularly suitable first embodiment of the invention Device has a as the squeezing device Roller deflecting the web of material web, in particular a reel, on, this roller or the reel not only the web strand squeezed to a reproducible residual fleet value but also the direction of the web strand at the same time changes.
- the roller from the web strand with an angle between 90 ° and 180 °, in particular with a Angled between 130 ° and 170 °.
- the device according to the invention has such a roller construction on at which the actual roller or the Reel is assigned a second roller, being between the Roller and the second roller of the web strand is guided.
- the second roller which is optional is driven or free-running, on the first roller, the is also optionally free running or driven achieved that the web strand on a by weight certain residual liquor squeezed off the second roller becomes.
- the device provides that the roller and / or the second roller is mounted in such a way that the contact pressure of the two rollers adjustable relative to each other is, so that in this development of the invention Device an adjustable to the material of the web and desired squeezing effect can be achieved.
- the treatment fleet squeezed from the web strand to catch is preferably the device for collecting the squeezed treatment liquor of the nozzle for wetting assigned to the web, such that the device the nozzle on all sides in the area of the squeezing device Training a catchment area for the squeezed treatment fleet surrounds, as follows using a concrete embodiment is explained in more detail.
- the nozzle tube and / or the device for collecting the squeezed treatment liquor as an angular tube to design.
- Catch the device and rewetting it of the web strand is the one described above Collection space, in particular via a first piping system with the container for storing the treatment liquor connected. Furthermore, this container is about one second piping system and one of the second piping system assigned pump with the nozzle for wetting the Web strand connected, so that when squeezing the Fleet of goods caught on the first pipeline system to the tank and from there via the pump again can be fed to the nozzle.
- the first piping system and / or the second piping system a heat store and / or a lint filter can be assigned to the treatment liquor to filter or to a desired temperature to heat up.
- the treatment liquor comes into contact with the strand-like Preventing the web in the web store is particularly important advantageous development of the device according to the invention before that the web store an area to catch is assigned by treatment fleet, this area in particular is positioned so that the web strand dripping fleet caught in this area without the web train with the collected Fleet came into contact again.
- this area is positioned so that the web strand dripping fleet caught in this area without the web train with the collected Fleet came into contact again.
- a corresponding Perforated plate assigned to separate trough is, preferably this area with the container for Storage of the treatment liquor and / or the second piping system is connected so that the so caught The liquor can then be used again for further treatment can.
- Another, particularly advantageous embodiment of the invention Device provides that within the cylindrical Treatment device at least one freely rotatable cylindrical drum is arranged as a web store, the drum consisting of two axially adjacent and aligned drum halves, which are such are spaced from each other that between the Half of the drum over the entire circumference of the drum surface extending jacket gap is formed.
- the material line is seen behind in the direction of transport the gas nozzle is transported through the jacket gap into the inside of the drum and stored there, so that by the weight of the web then the one within the autoclave is freely rotatable stored drum is rotated in the direction of transport what in turn leads to the web strand being twisted the drum inevitably towards the wetting nozzle is promoted.
- the device according to the invention provides that the gas nozzle assigned an element for stacking the web strand in this way is that the web of goods is transported in the treatment device through the jacket gap into the interior promoted the drum and there through the element for destacking cut off accordingly and additionally opened and / or is relocated.
- Such a measure is essential to ensure that the transport of the web within the device according to the invention runs smoothly, and that effective even with particularly sensitive items Breaks, folds and / or pinching can be avoided.
- Device also has the possibility that an end section of the gas nozzle is arranged so as to be pivotable is that this end portion of the gas nozzle at the same time Forms element for stacking the web strand.
- drums that depending on the size you want Treatment facility basically any number can be arranged by drums. However, preferably points the device according to the invention one to eight, in particular two to four, internal drums, whereby in such a machine then one to eight, preferably treated two to four, web strands simultaneously can be.
- the device according to the invention is particularly suitable To design so that the treatment facility as All-round closed and pressure-tight autoclave, in particular is designed as a cylindrical autoclave. Here such an autoclave then has a gas-tight seal Loading opening for the entry and exit of the web on.
- the container also as a closed and pressure-tight container train so that the collected treatment fleet are returned to the wetting nozzle via the container can without a change in pressure and / or temperature is required.
- the method according to the invention and the device according to the invention is used especially for pretreatment, bleaching, used for boiling, dyeing and / or post-treatment, the aftertreatment is both a postwash in the frame a previous dyeing, a wash of printed Goods and also includes softening and / or finishing.
- the device according to the invention is described in the following Drawing explained in connection with an embodiment.
- the single figure of the drawing shows schematically an embodiment of the device, partly in Cut.
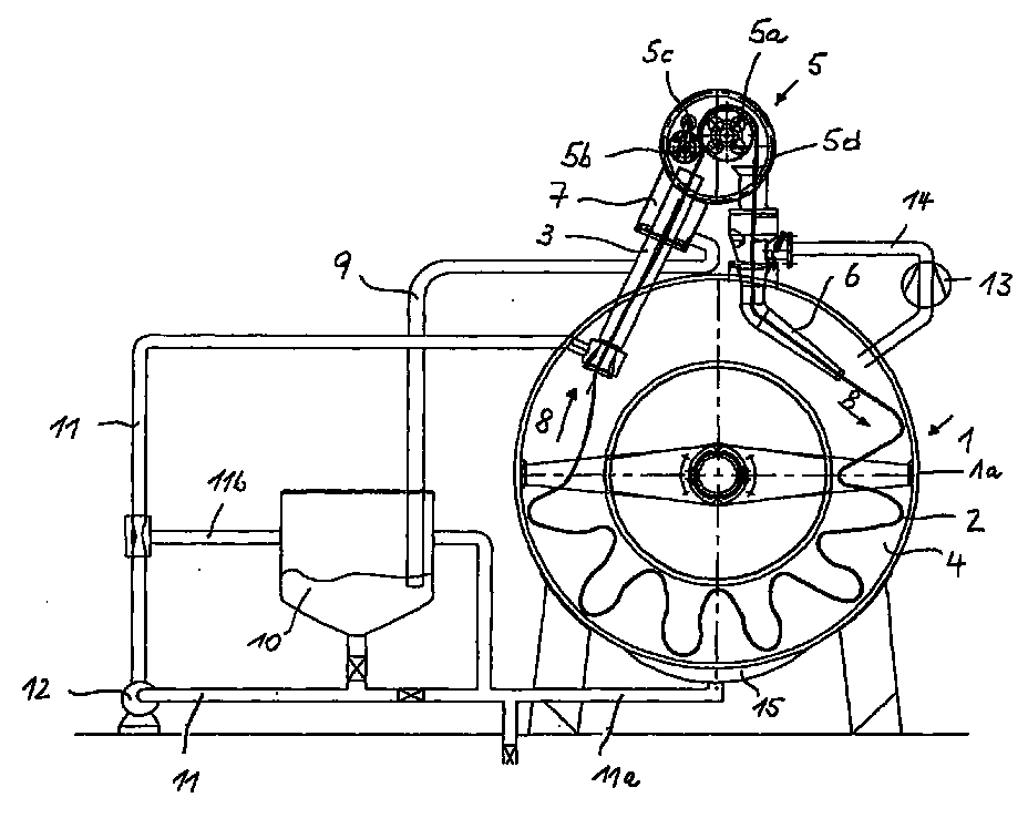
- the device shown in the figure has a cylindrical Treatment device 1, wherein the cylindrical treatment device 1 a web strand to be treated 2 picks up that as an endless web of material within the treatment facility 1 is arranged.
- the cylindrical treatment facility 1 is in the embodiment shown designed as a pressure-tight autoclave.
- a nozzle 3 for wetting the web strand 2 is arranged, whereupon a squeezing device 5 and following a gas nozzle 6 are provided. Closes the gas nozzle 6 then a web store 4.
- the nozzle 3 for wetting the web strand 2 is one Assigned device for collecting the treatment liquor 7, the device 7 in turn via a first piping system 9 with a container 10 for storing the collected Treatment fleet is connected.
- This container 10 is also via a second piping system 11 and 11 b and a this second piping system 11 assigned pump 12 with the nozzle 3 for wetting of the web strand 2 connected.
- An air duct system 14 with an air duct system 14 assigned blower 13 supplies the gas nozzle 6 continuously with a gas flow from inside the treatment facility 1, this gas flow depending on the selected one Treatment conditions optionally an air and / or Steam flow can be.
- the web store 2 is as inside the cylindrical Treatment device 1 arranged freely rotatable drum designed, the drum of two axially side by side lying and aligned drum halves, which are spaced from each other in this way, that between the drum halves over the entire circumference of the drum jacket surface extending jacket gap is formed is.
- a web store is for example in Figure 2 of CH 575 037 is shown and is by the applicant also used in systems that are called "roto-stream" are distributed.
- the squeezing device 5, the 8 in the transport direction Web strand 2 seen behind the wetting nozzle 3 follows, comprises a first roller 5 a and a second roller 5 b, which is pivotally mounted about point 5 c, such that the contact pressure of the second roller 5 b relative to the first Roller 5 a is adjustable, whereby the squeezing effect of intermediate web strand 2 to a predetermined Value is adjustable.
- the squeeze device 5 is in a closed overall Housing 5 d arranged, the closed housing 5th d to the device 7 for collecting the squeezed fleet and to the gas nozzle 6 provided with corresponding openings is, so that on the one hand the squeezed fleet over the facility 7 and the first piping system 9 to the container 10 can be fed and on the other hand the web strand after deflection of the gas nozzle 6 by an angle of approximately 170 ° is fed.
- the wall 1 a of the cylindrical treatment device is arranged at a distance from the lateral surface of the drum, wherein an area 15 is formed on the bottom in which dripping treatment liquor is accumulated without this treatment liquor while the web strand is lingering 2 in the web store 4 again in contact with the Goods web strand 2 occurs.
- This drained and in the area 15 collected fleet can then over a section 11 a of second piping system 11 and the pump 12 the container 10 via a further section 11 b of the second pipeline system 11 are supplied so that in this way no treatment fleet is lost unused.
- a finite web of goods for example 400 m up to 1,200 m, using the squeeze device 5 and / or the gas nozzle 6 is drawn into the treatment device 1, whereupon by sewing the two ends from the finite web then an endless web loop in strand form is produced becomes.
- Treatment liquor for example a dye liquor
- the web of material web is then transported in the direction of arrow 8, first the web of material in the nozzle 3 with from the container 10 via the second circulation line 11 and the pump 12 supplied treatment liquor and is wetted. Immediately after wetting the web strand this is then fed to the squeezing device 5 and there by means of the first roller 5 a and the second Roller 5 b squeezed to a predetermined amount of remaining liquor, the squeezed liquor being collected in the device 7 and again via the first piping system 9 to the container 10 is supplied.
- the related treatment is ended, after a Rinse the connection of the two with water, for example Web ends is separated, so that from the endless web then again created a finite web is that from the treatment device 1 with the help of the squeezing device 5 and / or the gas nozzle 6 are removed can.
Landscapes
- Engineering & Computer Science (AREA)
- Textile Engineering (AREA)
- Treatment Of Fiber Materials (AREA)
Abstract
wobei die vorstehenden Behandlungsschritte a) bis e) vielfach in derselben Reihenfolge wiederholt werden.
Description
Claims (28)
- Verfahren zur Behandlung einer textilen Warenbahn, bei dem eine vorgegebene Länge der Warenbahn innerhalb einer Behandlungseinrichtung angeordnet, dort aus der Warenbahn durch Verbinden der beiden Warenbahnenden eine endlose Warenbahnschlaufe hergestellt und anschließend diese in Strangform vorliegende Warenbahnschlaufe innerhalb der Behandlungseinrichtung für eine vorgegebene Zeit transportiert und mit einer Behandlungsflotte in Kontakt gebracht wird, dadurch gekennzeichnet, daßa) der kontinuierlich durch die Behandlungseinrichtung transportierte endlose warenbahnstrang mit einer Behandlungsflotte benetzt wird,b) daß unmittelbar hiernach die Behandlungsflotte aus dem Warenbahnstrang abgequetscht undc) die abgequetschte Flotte getrennt von dem Warenbahnstrang aufgefangen wird,d) daß anschließend der Warenbahnstrang mit einem Gasstrom beaufschlagt wird unde) daß hiernach der Warenbahnstrang für eine vorgegebene Verweilzeit verweilen gelassen wird, ohne daß dabei der Warenbahnstrang in erneuten Kontakt mit der Behandlungsflotte gebracht wird,
wobei die vorstehenden Behandlungsschritte a) bis e) vielfach in derselben Reihenfolge wiederholt werden. - Verfahren nach Anspruch 1, dadurch gekennzeichnet, daß der Warenbahnstrang während einer Zeit zwischen 0,01 Sekunden und 1 Sekunde pro Umlauf mit der Behandlungsflotte benetzt wird.
- Verfahren nach Anspruch 1 oder 2, dadurch gekennzeichnet, daß nach 0,01 Sekunden bis 1 Sekunde pro Umlauf nach dem Benetzen des Warenbahnstranges die Behandlungsflotte abgequetscht wird.
- Verfahren nach einem der vorangehenden Ansprüche, dadurch gekennzeichnet, daß der Warenbahnstrang auf eine Restflottenkonzentration zwischen 80 Gew.% und 300 Gew.%, insbesondere zwischen 120 Gew.% und 180 Gew.%, bezogen auf das trockene Warenbahngewicht, abgequetscht wird.
- Verfahren nach einem der vorangehenden Ansprüche, dadurch gekennzeichnet, daß der Warenbahnstrang in einer Düse mit der Behandlungsflotte benetzt wird.
- Verfahren nach einem der vorangehenden Ansprüche, dadurch gekennzeichnet, daß der Warenbahnstrang mit einer Geschwindigkeit zwischen 100 m/min und 800 m/min, insbesondere mit einer Geschwindigkeit zwischen 300 m/min und 600 m/min, durch die Behandlungseinrichtung transportiert wird.
- Verfahren nach einem der vorangehenden Ansprüche, dadurch gekennzeichnet, daß die Benetzung des Warenbahnstranges, das Abquetschen desselben, die Beaufschlagung des Warenbahnstranges mit einem Gas und/oder das Verweilen des Warenbahnstranges bei einer Temperatur zwischen 30 °C und 150 °C, insbesondere bei einer Temperatur zwischen 60 °C und 140 °C, durchgeführt wird.
- Verfahren nach einem der vorangehenden Ansprüche, dadurch gekennzeichnet, daß als Verweilzeit eine Zeit zwischen einer Minute und 10 Minuten ausgewählt wird.
- Verfahren nach einem der vorangehenden Ansprüche, dadurch gekennzeichnet, daß die Behandlungsflotte mechanisch aus dem endlosen Warenbahnstrang abgequetscht wird.
- Verfahren nach einem der vorangehenden Ansprüche, dadurch gekennzeichnet, daß die getrennt von dem Warenbahnstrang aufgefangene Flotte erneut zum Benetzen des Warenbahnstranges verwendet wird.
- Verfahren nach einem der vorangehenden Ansprüche, dadurch gekennzeichnet, daß als Gasstrom ein Luft- und/oder Dampfstrom verwendet wird.
- Vorrichtung zur Durchführung des Verfahrens nach einem der vorangehenden Ansprüche mit einer Behandlungseinrichtung, insbesondere einer zylindrischen Behandlungseinrichtung, zur Aufnahme des zu behandelnden Warenbahnstranges, einer Düse zur Benetzung des Warenbahnstranges mit Behandlungsflotte und einem Warenbahnspeicher, dadurch gekennzeichnet, daß in Transportrichtung (8) des zu behandelnden Warenbahnstranges (2) gesehen zunächst die Düse (3) zur Benetzung des Warenbahnstranges (2), hiernach eine Abquetscheinrichtung (5, 5 a, 5 b, 5 c) und daran anschließend eine Gasdüse (6) zur Beaufschlagung des Warenbahnstranges (2) mit dem Gasstrom angeordnet sind, wobei der Düse (3) zur Benetzung des Warenbahnstranges und/oder der Abquetscheinrichtung (5, 5 a, 5 b, 5 c) eine Einrichtung (7) zugeordnet ist, die die durch die Abquetscheinrichtung (5, 5 a, 5 b, 5 c) abgequetschte Behandlungsflotte auffängt und einem separat vom Warenbahnspeicher (4) angeordneten Behälter (10) zuführt.
- Vorrichtung nach Anspruch 12, dadurch gekennzeichnet, daß die Abquetscheinrichtung (5, 5 a, 5 b, 5 c) eine den Warenbahnstrang (2) umlenkende Walze (5 a), insbesondere Haspel, aufweist.
- Vorrichtung nach Anspruch 13, dadurch gekennzeichnet, daß die Walze (5 a) von dem Warenbahnstrang (2) mit einem Winkel zwischen 90° und 180°, insbesondere mit einem Winkel zwischen 130° und 170°, umschlungen ist.
- Vorrichtung nach Anspruch 13 oder 14, dadurch gekennzeichnet, daß der Walze (5 a) eine zweite Walze (5 b) zugeordnet ist, wobei zwischen der Walze (5 a) und der zweiten Walze (5 b) der Warenbahnstrang (2) geführt ist.
- Vorrichtung nach einem der Ansprüche 13 bis 15, dadurch gekennzeichnet, daß die Walze (5 a) und/oder die zweite Walze (5 b) derart gelagert ist bzw. sind, daß der Anpreßdruck der beiden Walzen einstellbar ist.
- Vorrichtung nach einem der Ansprüche 13 bis 16, dadurch gekennzeichnet, daß die Walze (5 a) und/oder die zweite Walze (5 b) angetrieben ist bzw. sind.
- Vorrichtung nach einem der Ansprüche 12 bis 17, dadurch gekennzeichnet, daß die Einrichtung (7) zum Auffangen der abgequetschten Behandlungsflotte der Düse (3) zur Benetzung des Warenbahnstranges (2) zugeordnet ist, derart, daß die Einrichtung (7) die Düse (2) allseitig im Bereich der Abquetscheinrichtung (5) unter Ausbildung eines Auffangbereiches für die abgequetschte Behandlungsflotte umgibt.
- Vorrichtung nach Anspruch 18, dadurch gekennzeichnet, daß die Düse (3) als zylindrisches Düsenrohr ausgebildet ist und daß die Einrichtung (7) zum Auffangen der abgequetschten Behandlungsflotte als zylindrisches, einseitig geschlossenes Rohr ausgestaltet ist, wobei das Rohr das zylindrische Düsenrohr mit radialem Abstand unter Ausbildung des Auffangraumes umgibt und mit seiner Öffnung in den Bereich der Abquetscheinrichtung (5) mündet.
- Vorrichtung nach Anspruch 18 oder 19, dadurch gekennzeichnet, daß der Auffangraum über ein erstes Rohrleitungssystem (9) mit dem Behälter (10) zur Aufbewahrung der Behandlungsflotte und daß der Behälter (10) über ein zweites Rohrleitungssystem (11) und einer dem zweiten Rohrleitungssystem (11) zugeordneten Pumpe (12) mit der Düse (3) zur Benetzung des Warenbahnstranges (2) verbunden ist.
- Vorrichtung nach einem der Ansprüche 12 bis 20, dadurch gekennzeichnet, daß dem Warenbahnspeicher (4) ein Bereich (15) zum Auffangen von Behandlungsflotte zugeordnet ist, wobei dieser Bereich (15) so positioniert ist, daß der Warenbahnstrang (2) mit der im Bereich (15) aufgefangenen Flotte nicht in Kontakt gelangt.
- Vorrichtung nach Anspruch 20 oder 21, dadurch gekennzeichnet, daß der Bereich (15) mit dem Behälter (10) und/oder dem zweiten Rohrleitungssystem (11) verbunden ist.
- Vorrichtung nach einem der Ansprüche 12 bis 22, dadurch gekennzeichnet, daß innerhalb der zylindrischen Behandlungseinrichtung (1) eine frei drehbare Trommel angeordnet ist, wobei die Trommel aus zwei axial nebeneinander liegenden und aufeinander ausgerichteten Trommelhälften besteht, die derart mit Abstand voneinander angeordnet sind, daß zwischen den Trommelhälften ein über den gesamten Umfang der Trommelmantelfläche erstreckender Mantelspalt ausgebildet ist.
- Vorrichtung nach Anspruch 23, dadurch gekennzeichnet, daß die Gasdüse derart zum Mantelspalt der Trommel positioniert und ausgerichtet ist, daß der Warenbahnstrang durch den Mantelspalt in das Innere der Trommel gefördert und dort abgelegt oder abgetafelt wird.
- Vorrichtung nach Anspruch 23 oder 24, dadurch gekennzeichnet, daß die Behandlungseinrichtung ein bis acht, insbesondere zwei bis vier, innenliegende Trommeln aufweist.
- Vorrichtung nach einem der Ansprüche 12 bis 25, dadurch gekennzeichnet, daß die Behandlungseinrichtung (1) als allseitig geschlossener und druckdichter Autoklave, insbesondere als zylindrischer Autoklave, ausgebildet ist, wobei der Autoklave mit einer gasdicht verschließbaren Beschickungsöffnung für das Ein- und Ausführen des Warenbahnstranges (2) versehen ist.
- Vorrichtung nach Anspruch 26, dadurch gekennzeichnet, daß der Behälter (10) als geschlossener und druckdichter Behälter ausgebildet ist.
- Verwendung des Verfahrens bzw. der Vorrichtung nach einem der vorangehenden Ansprüche, dadurch gekennzeichnet, daß das Verfahren bzw. die Vorrichtung zur Vorbehandlung, zum Bleichen, zum Abkochen, zum Färben und/oder zum Nachbehandeln eingesetzt wird.
Applications Claiming Priority (2)
| Application Number | Priority Date | Filing Date | Title |
|---|---|---|---|
| DE19903045A DE19903045A1 (de) | 1999-01-26 | 1999-01-26 | Verfahren sowie Vorrichtung zur Behandlung einer textilen Warenbahn |
| DE19903045 | 1999-01-26 |
Publications (3)
| Publication Number | Publication Date |
|---|---|
| EP1024220A2 true EP1024220A2 (de) | 2000-08-02 |
| EP1024220A3 EP1024220A3 (de) | 2001-03-14 |
| EP1024220B1 EP1024220B1 (de) | 2003-05-02 |
Family
ID=7895443
Family Applications (1)
| Application Number | Title | Priority Date | Filing Date |
|---|---|---|---|
| EP00100197A Expired - Lifetime EP1024220B1 (de) | 1999-01-26 | 2000-01-13 | Verfahren sowie Vorrichtung zur Behandlung einer textilen Warenbahn |
Country Status (4)
| Country | Link |
|---|---|
| EP (1) | EP1024220B1 (de) |
| AT (1) | ATE239121T1 (de) |
| DE (2) | DE19903045A1 (de) |
| ES (1) | ES2194628T3 (de) |
Cited By (4)
| Publication number | Priority date | Publication date | Assignee | Title |
|---|---|---|---|---|
| US7886459B2 (en) * | 2007-03-08 | 2011-02-15 | John R. Ruess | Apparatus for assisting in fluid removal from fluid storage bladder and the like |
| CN102899826A (zh) * | 2012-09-14 | 2013-01-30 | 佛山市三技精密机械有限公司 | 气流染色机 |
| DE102016005441A1 (de) | 2015-05-08 | 2016-11-10 | Thies Gmbh & Co. Kg | Verfahren zur Behandlung eines textilen Substrates sowie Vorrichtung zur Durchführung des Verfahrens |
| CN114801440A (zh) * | 2022-05-30 | 2022-07-29 | 山东朱氏印务有限公司 | 一种具有避免油墨外溢的盒体包装印刷便携油墨添加装置 |
Families Citing this family (1)
| Publication number | Priority date | Publication date | Assignee | Title |
|---|---|---|---|---|
| GB0719634D0 (en) * | 2007-10-08 | 2007-11-14 | Rees Carpeting Contractors Ltd | Method and apparatus for processing textile material |
Family Cites Families (1)
| Publication number | Priority date | Publication date | Assignee | Title |
|---|---|---|---|---|
| TR18620A (tr) * | 1974-05-04 | 1977-05-13 | Thies A Jun | Uzun serit seklindeki dokuma staihlarinin muamelesine mahsus usul ve tertibat |
-
1999
- 1999-01-26 DE DE19903045A patent/DE19903045A1/de not_active Ceased
-
2000
- 2000-01-13 EP EP00100197A patent/EP1024220B1/de not_active Expired - Lifetime
- 2000-01-13 ES ES00100197T patent/ES2194628T3/es not_active Expired - Lifetime
- 2000-01-13 DE DE50001923T patent/DE50001923D1/de not_active Expired - Lifetime
- 2000-01-13 AT AT00100197T patent/ATE239121T1/de not_active IP Right Cessation
Cited By (12)
| Publication number | Priority date | Publication date | Assignee | Title |
|---|---|---|---|---|
| US7886459B2 (en) * | 2007-03-08 | 2011-02-15 | John R. Ruess | Apparatus for assisting in fluid removal from fluid storage bladder and the like |
| CN102899826A (zh) * | 2012-09-14 | 2013-01-30 | 佛山市三技精密机械有限公司 | 气流染色机 |
| CN102899826B (zh) * | 2012-09-14 | 2017-02-08 | 佛山市三技精密机械有限公司 | 气流染色机 |
| DE102016005441A1 (de) | 2015-05-08 | 2016-11-10 | Thies Gmbh & Co. Kg | Verfahren zur Behandlung eines textilen Substrates sowie Vorrichtung zur Durchführung des Verfahrens |
| WO2016180390A1 (de) | 2015-05-08 | 2016-11-17 | Thies Gmbh & Co. Kg | Verfahren zur behandlung eines textilen substrates sowie vorrichtungen zur durchführung des verfahrens |
| CN107636221A (zh) * | 2015-05-08 | 2018-01-26 | 蒂斯有限及两合公司 | 用于处理纺织基材的方法以及用于执行该方法的装置 |
| US20180119323A1 (en) * | 2015-05-08 | 2018-05-03 | Thies Gmbh & Co. Kg | Method for the treatment of a textile substrate, and devices for carrying out said method |
| RU2707795C2 (ru) * | 2015-05-08 | 2019-11-29 | ТИС ГМБХ унд КО. КГ | Способ обработки текстильной основы и устройства для осуществления данного способа |
| CN107636221B (zh) * | 2015-05-08 | 2020-08-21 | 蒂斯有限及两合公司 | 用于处理纺织基材的方法以及用于执行该方法的装置 |
| US10895031B2 (en) | 2015-05-08 | 2021-01-19 | Thies Gmbh & Co. Kg | Method for the treatment of a textile substrate, and devices for carrying out said method |
| CN114801440A (zh) * | 2022-05-30 | 2022-07-29 | 山东朱氏印务有限公司 | 一种具有避免油墨外溢的盒体包装印刷便携油墨添加装置 |
| CN114801440B (zh) * | 2022-05-30 | 2024-01-19 | 山东朱氏印务有限公司 | 一种具有避免油墨外溢的盒体包装印刷便携油墨添加装置 |
Also Published As
| Publication number | Publication date |
|---|---|
| EP1024220B1 (de) | 2003-05-02 |
| ATE239121T1 (de) | 2003-05-15 |
| DE50001923D1 (de) | 2003-06-05 |
| EP1024220A3 (de) | 2001-03-14 |
| DE19903045A1 (de) | 2000-07-27 |
| ES2194628T3 (es) | 2003-12-01 |
Similar Documents
| Publication | Publication Date | Title |
|---|---|---|
| EP0818568A2 (de) | Verfahren und Vorrichtung zum hydrodynamischen Verschlingen der Fasern einer Faserbahn | |
| WO2016180390A1 (de) | Verfahren zur behandlung eines textilen substrates sowie vorrichtungen zur durchführung des verfahrens | |
| EP2173938A1 (de) | Vorrichtung und verfahren zum behandeln von strangförmiger textilware | |
| EP0119521B2 (de) | Kontinuierliches Verfahren zur Herstellung von Polyacrylnitrilfäden und -fasern | |
| DE3112851C2 (de) | Verfahren und Vorrichtung zum Schlichten und Trocknen von Kettfäden | |
| DE69704028T2 (de) | Verfahren, vorrichtung und anlage zur behandlung von garnen mit fortlaufender verschiebung | |
| DE2853242A1 (de) | Vorrichtung zur nassbehandlung von fasermaterial | |
| EP1024220B1 (de) | Verfahren sowie Vorrichtung zur Behandlung einer textilen Warenbahn | |
| DE1710727B1 (de) | Verfahren und Vorrichtung zur Behandlung von losen Fasern mit einer Fluessigkeit | |
| EP0030670A1 (de) | Verfahren zum Waschen von Chemiefasern im Anschluss an das Spinnen | |
| DE2009662A1 (de) | ||
| DE2623441A1 (de) | Verfahren und vorrichtung zur herstellung von nicht tordierten textilschnueren oder textilfaeden | |
| DE2424155C2 (de) | Verfahren und Vorrichtung zum kontinuierlichen Schrumpfen eines Faservlieses | |
| DE2925819A1 (de) | Verfahren zur herstellung von kohleund graphitfaeden | |
| DE2813603B2 (de) | Verfahren und Vorrichtung zum kontinuierlichen Merzerisieren eines schlauchförmigen Textilguts | |
| EP0534036A1 (de) | Verfahren zur Nassbehandlung textiler Schlauchware und Vorrichtung zur Durchführung des Verfahrens | |
| DE1916474A1 (de) | Verfahren zur Behandlung von Fasermaterial | |
| DE69027605T2 (de) | Verfahren und Vorrichtung zum kontinuierlichen Mercerisieren | |
| DE2911138A1 (de) | Verfahren und kufe zum spuelen von strangfoermigem textilgut | |
| DE1964343C3 (de) | Vorrichtung zum kontinuierlichen Naßbehandeln und Anstoßen und/oder Kneten ausgebreiteter Textilbahnen | |
| DE1610982A1 (de) | Verfahren zum Reinigen von Textilmaterialien | |
| DE3423154C2 (de) | Verfahren und Vorrichtung zum kontinuierlichen Auswaschen von bahnförmigem Textilgut | |
| DE3605994C2 (de) | Anordnung zum Behandeln von durchlaufenden Warenbahnen | |
| EP4077789B1 (de) | Verfahren zur herstellung von spinnvlies | |
| DE2809433A1 (de) | Verfahren und vorrichtung zum kontinuierlichen waschen von bahnfoermigem textilgut |
Legal Events
| Date | Code | Title | Description |
|---|---|---|---|
| PUAI | Public reference made under article 153(3) epc to a published international application that has entered the european phase |
Free format text: ORIGINAL CODE: 0009012 |
|
| AK | Designated contracting states |
Kind code of ref document: A2 Designated state(s): AT BE CH CY DE DK ES FI FR GB GR IE IT LI LU MC NL PT SE |
|
| AX | Request for extension of the european patent |
Free format text: AL;LT;LV;MK;RO;SI |
|
| PUAL | Search report despatched |
Free format text: ORIGINAL CODE: 0009013 |
|
| AK | Designated contracting states |
Kind code of ref document: A3 Designated state(s): AT BE CH CY DE DK ES FI FR GB GR IE IT LI LU MC NL PT SE |
|
| AX | Request for extension of the european patent |
Free format text: AL;LT;LV;MK;RO;SI |
|
| 17P | Request for examination filed |
Effective date: 20010407 |
|
| AKX | Designation fees paid |
Free format text: AT BE CH CY DE DK ES FI FR GB GR IE IT LI LU MC NL PT SE |
|
| GRAH | Despatch of communication of intention to grant a patent |
Free format text: ORIGINAL CODE: EPIDOS IGRA |
|
| GRAH | Despatch of communication of intention to grant a patent |
Free format text: ORIGINAL CODE: EPIDOS IGRA |
|
| GRAA | (expected) grant |
Free format text: ORIGINAL CODE: 0009210 |
|
| AK | Designated contracting states |
Designated state(s): AT BE CH CY DE DK ES FI FR GB GR IE IT LI LU MC NL PT SE |
|
| PG25 | Lapsed in a contracting state [announced via postgrant information from national office to epo] |
Ref country code: CY Free format text: LAPSE BECAUSE OF FAILURE TO SUBMIT A TRANSLATION OF THE DESCRIPTION OR TO PAY THE FEE WITHIN THE PRESCRIBED TIME-LIMIT Effective date: 20030502 Ref country code: NL Free format text: LAPSE BECAUSE OF FAILURE TO SUBMIT A TRANSLATION OF THE DESCRIPTION OR TO PAY THE FEE WITHIN THE PRESCRIBED TIME-LIMIT Effective date: 20030502 Ref country code: FR Free format text: LAPSE BECAUSE OF FAILURE TO SUBMIT A TRANSLATION OF THE DESCRIPTION OR TO PAY THE FEE WITHIN THE PRESCRIBED TIME-LIMIT Effective date: 20030502 Ref country code: GB Free format text: LAPSE BECAUSE OF FAILURE TO SUBMIT A TRANSLATION OF THE DESCRIPTION OR TO PAY THE FEE WITHIN THE PRESCRIBED TIME-LIMIT Effective date: 20030502 Ref country code: FI Free format text: LAPSE BECAUSE OF FAILURE TO SUBMIT A TRANSLATION OF THE DESCRIPTION OR TO PAY THE FEE WITHIN THE PRESCRIBED TIME-LIMIT Effective date: 20030502 Ref country code: IE Free format text: LAPSE BECAUSE OF NON-PAYMENT OF DUE FEES Effective date: 20030502 |
|
| REG | Reference to a national code |
Ref country code: GB Ref legal event code: FG4D Free format text: NOT ENGLISH |
|
| REG | Reference to a national code |
Ref country code: CH Ref legal event code: EP Ref country code: CH Ref legal event code: NV Representative=s name: SCHMAUDER & PARTNER AG PATENTANWALTSBUERO |
|
| REF | Corresponds to: |
Ref document number: 50001923 Country of ref document: DE Date of ref document: 20030605 Kind code of ref document: P |
|
| REG | Reference to a national code |
Ref country code: IE Ref legal event code: FG4D Free format text: GERMAN |
|
| PG25 | Lapsed in a contracting state [announced via postgrant information from national office to epo] |
Ref country code: DK Free format text: LAPSE BECAUSE OF FAILURE TO SUBMIT A TRANSLATION OF THE DESCRIPTION OR TO PAY THE FEE WITHIN THE PRESCRIBED TIME-LIMIT Effective date: 20030802 Ref country code: GR Free format text: LAPSE BECAUSE OF FAILURE TO SUBMIT A TRANSLATION OF THE DESCRIPTION OR TO PAY THE FEE WITHIN THE PRESCRIBED TIME-LIMIT Effective date: 20030802 Ref country code: SE Free format text: LAPSE BECAUSE OF FAILURE TO SUBMIT A TRANSLATION OF THE DESCRIPTION OR TO PAY THE FEE WITHIN THE PRESCRIBED TIME-LIMIT Effective date: 20030802 |
|
| PG25 | Lapsed in a contracting state [announced via postgrant information from national office to epo] |
Ref country code: PT Free format text: LAPSE BECAUSE OF FAILURE TO SUBMIT A TRANSLATION OF THE DESCRIPTION OR TO PAY THE FEE WITHIN THE PRESCRIBED TIME-LIMIT Effective date: 20030804 |
|
| NLV1 | Nl: lapsed or annulled due to failure to fulfill the requirements of art. 29p and 29m of the patents act | ||
| GBV | Gb: ep patent (uk) treated as always having been void in accordance with gb section 77(7)/1977 [no translation filed] |
Effective date: 20030502 |
|
| REG | Reference to a national code |
Ref country code: IE Ref legal event code: FD4D Ref document number: 1024220E Country of ref document: IE |
|
| PG25 | Lapsed in a contracting state [announced via postgrant information from national office to epo] |
Ref country code: AT Free format text: LAPSE BECAUSE OF NON-PAYMENT OF DUE FEES Effective date: 20040113 Ref country code: LU Free format text: LAPSE BECAUSE OF NON-PAYMENT OF DUE FEES Effective date: 20040113 |
|
| PG25 | Lapsed in a contracting state [announced via postgrant information from national office to epo] |
Ref country code: MC Free format text: LAPSE BECAUSE OF NON-PAYMENT OF DUE FEES Effective date: 20040131 Ref country code: BE Free format text: LAPSE BECAUSE OF NON-PAYMENT OF DUE FEES Effective date: 20040131 |
|
| PLBQ | Unpublished change to opponent data |
Free format text: ORIGINAL CODE: EPIDOS OPPO |
|
| PLBI | Opposition filed |
Free format text: ORIGINAL CODE: 0009260 |
|
| PLAZ | Examination of admissibility of opposition: despatch of communication + time limit |
Free format text: ORIGINAL CODE: EPIDOSNOPE2 |
|
| 26 | Opposition filed |
Opponent name: SCHOLL-THEN GMBH Effective date: 20040202 |
|
| PLAX | Notice of opposition and request to file observation + time limit sent |
Free format text: ORIGINAL CODE: EPIDOSNOBS2 |
|
| PLBA | Examination of admissibility of opposition: reply received |
Free format text: ORIGINAL CODE: EPIDOSNOPE4 |
|
| EN | Fr: translation not filed | ||
| BERE | Be: lapsed |
Owner name: *THIES G.M.B.H. & CO. K.G. Effective date: 20040131 |
|
| PLBB | Reply of patent proprietor to notice(s) of opposition received |
Free format text: ORIGINAL CODE: EPIDOSNOBS3 |
|
| PLAB | Opposition data, opponent's data or that of the opponent's representative modified |
Free format text: ORIGINAL CODE: 0009299OPPO |
|
| REG | Reference to a national code |
Ref country code: CH Ref legal event code: PCAR Free format text: SCHMAUDER & PARTNER AG PATENT- UND MARKENANWAELTE VSP;ZWAENGIWEG 7;8038 ZUERICH (CH) |
|
| R26 | Opposition filed (corrected) |
Opponent name: THEN MASCHINEN GMBH Effective date: 20040202 |
|
| PLBP | Opposition withdrawn |
Free format text: ORIGINAL CODE: 0009264 |
|
| PLBD | Termination of opposition procedure: decision despatched |
Free format text: ORIGINAL CODE: EPIDOSNOPC1 |
|
| PLBM | Termination of opposition procedure: date of legal effect published |
Free format text: ORIGINAL CODE: 0009276 |
|
| STAA | Information on the status of an ep patent application or granted ep patent |
Free format text: STATUS: OPPOSITION PROCEDURE CLOSED |
|
| 27C | Opposition proceedings terminated |
Effective date: 20091213 |
|
| PGFP | Annual fee paid to national office [announced via postgrant information from national office to epo] |
Ref country code: IT Payment date: 20190208 Year of fee payment: 20 Ref country code: DE Payment date: 20190131 Year of fee payment: 20 Ref country code: ES Payment date: 20190208 Year of fee payment: 20 Ref country code: CH Payment date: 20190205 Year of fee payment: 20 |
|
| REG | Reference to a national code |
Ref country code: DE Ref legal event code: R071 Ref document number: 50001923 Country of ref document: DE |
|
| REG | Reference to a national code |
Ref country code: ES Ref legal event code: FD2A Effective date: 20200902 |
|
| PG25 | Lapsed in a contracting state [announced via postgrant information from national office to epo] |
Ref country code: ES Free format text: LAPSE BECAUSE OF EXPIRATION OF PROTECTION Effective date: 20200114 |
