EP0933151A1 - Giessform und Verfahren zum Herstellen von Gussstücken - Google Patents

Giessform und Verfahren zum Herstellen von Gussstücken Download PDF

Info

Publication number
EP0933151A1
EP0933151A1 EP98120098A EP98120098A EP0933151A1 EP 0933151 A1 EP0933151 A1 EP 0933151A1 EP 98120098 A EP98120098 A EP 98120098A EP 98120098 A EP98120098 A EP 98120098A EP 0933151 A1 EP0933151 A1 EP 0933151A1
Authority
EP
European Patent Office
Prior art keywords
casting
mold cavity
mold
gravity
run
Prior art date
Legal status (The legal status is an assumption and is not a legal conclusion. Google has not performed a legal analysis and makes no representation as to the accuracy of the status listed.)
Granted
Application number
EP98120098A
Other languages
English (en)
French (fr)
Other versions
EP0933151B1 (de
Inventor
Rolf Dipl.-Ing. Heinemann
Current Assignee (The listed assignees may be inaccurate. Google has not performed a legal analysis and makes no representation or warranty as to the accuracy of the list.)
Volkswagen AG
Original Assignee
Volkswagen AG
Priority date (The priority date is an assumption and is not a legal conclusion. Google has not performed a legal analysis and makes no representation as to the accuracy of the date listed.)
Filing date
Publication date
Application filed by Volkswagen AG filed Critical Volkswagen AG
Publication of EP0933151A1 publication Critical patent/EP0933151A1/de
Application granted granted Critical
Publication of EP0933151B1 publication Critical patent/EP0933151B1/de
Anticipated expiration legal-status Critical
Expired - Lifetime legal-status Critical Current

Links

Images

Classifications

    • BPERFORMING OPERATIONS; TRANSPORTING
    • B22CASTING; POWDER METALLURGY
    • B22DCASTING OF METALS; CASTING OF OTHER SUBSTANCES BY THE SAME PROCESSES OR DEVICES
    • B22D15/00Casting using a mould or core of which a part significant to the process is of high thermal conductivity, e.g. chill casting; Moulds or accessories specially adapted therefor
    • B22D15/02Casting using a mould or core of which a part significant to the process is of high thermal conductivity, e.g. chill casting; Moulds or accessories specially adapted therefor of cylinders, pistons, bearing shells or like thin-walled objects
    • BPERFORMING OPERATIONS; TRANSPORTING
    • B22CASTING; POWDER METALLURGY
    • B22CFOUNDRY MOULDING
    • B22C9/00Moulds or cores; Moulding processes
    • B22C9/08Features with respect to supply of molten metal, e.g. ingates, circular gates, skim gates

Definitions

  • the invention further relates to a method for producing castings, in particular Cylinder heads, cylinder blocks, gear housings and / or crankcases for internal combustion engines, from a cast metal by means of increasing casting with molded outer parts and at least one core, which form a mold cavity for the casting, wherein at least one feeder is formed to form a pressure mass and a casting run is, which is connected via an opening to the mold cavity, according to the preamble of claim 8.
  • the present invention is therefore based on the object of an improved casting mold and to provide an improved method of the above type, the the disadvantages mentioned above are overcome.
  • the casting run is on a lowest point of the mold cavity in the direction of gravity through it in shape of a channel and the opening of the pouring barrel at one of the deepest in the direction of gravity Point of the channel is formed.
  • this corresponds to the uniform filling of the mold cavity a length of the casting run of a length extension extending through the mold cavity of the casting.
  • a large passage area for the casting material, a more homogeneous and uniform Distribution in the mold cavity and a further improved separation of bubbles, oxides and other undesirable impurities are achieved by the channel in Gravity direction is open at the bottom, being vertically downwards in the direction of gravity extending side walls of the channel at their end faces from a bottom of the molding space are spaced such that the opening from the casting run to the mold cavity between the end faces of these side walls and the bottom in the form of respective Longitudinal slots are formed.
  • the side walls act with their entire vertical Length like a diving separator.
  • Uniform filling of the mold cavity over the entire length of the channel is achieved in that the pouring run through the mold cavity with respect to gravity extends essentially horizontally or on a geodetic line.
  • the casting run is in a casting run core educated.
  • the casting barrel core is expediently a cylinder bore core if it is at the casting is a crankcase. Furthermore, the casting to be cast is preferred with respect to the direction of gravity arranged overhead.
  • the species are attached to one in the direction of gravity the deepest impurities present in the mold cavity in a casting material, such as bubbles and / or oxides, are retained and collected.
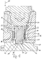
  • FIGS. 1 and 2 of an inventive Casting mold comprises a base plate 10 and lateral mold outer parts 12 and 14. Between these parts also have cores arranged in such a way that a mold cavity 16 is formed is in which pouring material is poured during the casting process, which first and the cast body, in the illustration, for example, forms a crankcase.
  • the cores include, among others, a water core 18, a cylinder bore core 20, one or a plurality of oil return cores 22 and one or more crankcase cores 24.
  • These cores 18, 20, 22 and 24 are formed, for example, as sand cores bound with chemical agents, which disintegrate after the pouring process, so that the then loose sand is only blown out must become.
  • the outer mold parts 14 and 16 can also be made of chemically bound Sand or steel or plastic can be made.
  • the base plate 10 When casting, it is important that the casting material cools down quickly so that it is even and forms void-free structure. For this reason, the base plate 10 is preferred water or air cooled. It is also preferred to use a print mask above the feeder 32 the pressure mass formed by these additionally with a pressure of, for example 0.1 bar or more applied. However, this preferably occurs in the contact area of the casting material with the bottom 34 of the base plate 10 to form bubbles and Oxides which would rise with the molding material in the mold cavity 16 and which Deteriorate microstructure when cooling the casting material.
  • an end section of the casting run 28 is designed as a channel 36, which is essentially on an entire longitudinal extent of the casting deepest region of the bottom 34 in the direction of gravity 30 through the mold cavity 16 extends, as can be seen in particular from FIG. 2.
  • the channel 36 runs with respect to Gravity direction 30 substantially horizontal or on a geodetic line.
  • the channel 36 is at the bottom in the direction of gravity 30 open so that its side walls form an inverted U.
  • the legs of the U's form vertical side walls with respect to gravity, which in the direction of gravity 30 run down and end with end faces 38 spaced from the floor 34.

Landscapes

  • Engineering & Computer Science (AREA)
  • Mechanical Engineering (AREA)
  • Molds, Cores, And Manufacturing Methods Thereof (AREA)
  • Mold Materials And Core Materials (AREA)
  • Pens And Brushes (AREA)
  • Adornments (AREA)
  • Moulds For Moulding Plastics Or The Like (AREA)

Abstract

Die Erfindung betrifft eine Gießform zum Herstellen von Gußstücken, insbesondere Zylinderköpfen, Zylinderblöcken, Getriebegehäusen und/oder Kurbelgehäusen für Brennkraftmaschinen, aus einem Gußmaterial mittels steigendem Gießen mit Formaußenteilen (10, 12, 14) und mindestens einem Kern (18, 20, 22, 24), welche einen Formhohlraum (16) für das Gußstück ausbilden, wobei mindestens ein Speiser (32) zum Bilden einer Druckmassel sowie ein Gießlauf (28) ausgebildet ist, welcher über eine Öffnung (42) mit dem Formhohlraum (16) verbunden ist. Hierbei erstreckt sich der Gießlauf (28) an einer in Schwerkraftrichtung (30) tiefsten Stelle (34) des Formhohlraumes (16) durch diesen hindurch in Form eines Kanals (36) und die Öffnung (42) des Gießlaufes (28) ist an einer in Schwerkraftrichtung (30) tiefsten Stelle des Kanals (36) ausgebildet. <IMAGE>

Description

Die Erfindung betrifft eine Gießform zum Herstellen von Gußstücken, insbesondere Zylinderköpfen, Zylinderblöcken, Getriebegehäusen und/oder Kurbelgehäusen für Brennkraftmaschinen, aus einem Gußmetall mittels steigendem Gießen mit Formaußenteilen und mindestens einem Kern, welche einen Formhohlraum für das Gußstück ausbilden, wobei mindestens ein Speiser zum Bilden einer Druckmassel sowie ein Gießlauf ausgebildet ist, welcher über eine Öffnung mit dem Formhohlraum verbunden ist, gemäß dem Oberbegriff des Anspruchs 1. Die Erfindung betrifft ferner ein Verfahren zum Herstellen von Gußstücken, insbesondere Zylinderköpfen, Zylinderblöcken, Getriebegehäusen und/oder Kurbelgehäusen für Brennkraftmaschinen, aus einem Gußmetall mittels steigendem Gießen mit Formaußenteilen und mindestens einem Kern, welche einen Formhohlraum für das Gußstück ausbilden, wobei mindestens ein Speiser zum Bilden einer Druckmassel sowie ein Gießlauf ausgebildet ist, welcher über eine Öffnung mit dem Formhohlraum verbunden ist, gemäß dem Oberbegriff des Anspruchs 8.
Aus der DE-OS-28 18 442 ist ein Niederdruckgießverfahren für Metalle bekannt, wobei aus einem zylinderförmigen Gießlauf mittels eines Stempels bzw. eines Kolbens Gußmaterial in den Formhohlraum gepreßt wird, wobei das Gußmaterial in dem Formhohlraum aufsteigt.
Hierbei ist jedoch nachteilig, daß sich besonders in einem in Schwerkraftrichtung untersten Bereich des Formhohlraumes, wo das Gußmaterial erstmals auf das kühlere Material der Formaußenteile und der Kerne trifft, wobei ggf. das eine Grundplatte bildende Formaußenteil zusätzlich gekühlt ist, Blasen, Oxide und andere Verunreinigungen des Gußmaterials bilden, welche mit dem Gußmaterial im Formhohlraum aufsteigen und eine Bildung eines gleichmäßigen Gefüges beeinträchtigen und ggf. zu Fehlstellen oder Schwachstellen im Gußstück führen können, so daß das Gußstück nachbearbeitet werden muß oder schlimmstenfalls unbrauchbar ist.
Der vorliegenden Erfindung liegt daher die Aufgabe zugrunde, eine verbesserte Gießform und ein verbessertes Verfahren der obengenannten Art zur Verfügung zu stellen, wobei die obengenannten Nachteile überwunden werden.
Diese Aufgabe wird erfindungsgemäß durch eine Gießform der o.g. Art mit den in Anspruch 1 gekennzeichneten Merkmalen und durch ein Verfahren der o.g. Art mit den in Anspruch 8 gekennzeichneten Merkmalen gelöst. Vorteilhafte Ausgestaltungen der Erfindung sind in den abhängigen Ansprüchen angegeben.
Dazu ist es bei einer Gießform erfindungsgemäß vorgesehen, daß sich der Gießlauf an einer in Schwerkraftrichtung tiefsten Stelle des Formhohlraumes durch diesen hindurch in Form eines Kanals erstreckt und die Öffnung des Gießlaufes an einer in Schwerkraftrichtung tiefsten Stelle des Kanals ausgebildet ist.
Dies hat den Vorteil, daß sich Blasen, Oxide und andere unerwünschten Verunreinigungen im Kanal an dessen in Schwerkraftrichtung obersten Bereich ansammeln, welcher bezüglich der Schwerkraftrichtung über die gesamte vertikale Ausdehnung des Kanals von der Öffnung zum Formhohlraum beabstandet ist, und somit Blasen, Oxide und andere unerwünschten Verunreinigungen nicht in den Formhohlraum gelangen, da durch die dem obersten Bereich des Kanals in Schwerkraftrichtung gegenüberliegend angeordnete Öffnung zum Formhohlraum Blasen, Oxide und andere unerwünschte Verunreinigungen in der Art eines Tauchabscheiders im Kanal des Gießlaufes zurückgehalten werden.
Zum gleichmäßigen Füllen des Formhohlraumes entspricht in besonders vorteilhafter Weise eine Länge des sich durch den Formhohlraum erstreckenden Gießlaufes einer Längenausdehnung des Gußstückes.
Eine große Durchtrittsfläche für das Gußmaterial, eine homogenere sowie gleichmäßigere Verteilung im Formhohlraum und eine weiter verbesserte Abscheidung von Blasen, Oxiden und anderen unerwünschten Verunreinigungen erzielt man dadurch, daß der Kanal in Schwerkraftrichtung unten offen ist, wobei sich in Schwerkraftrichtung vertikal nach unten erstreckende Seitenwandungen des Kanals an ihren Stirnseiten von einem Boden des Formraumes derart beabstandet sind, daß die Öffnung von Gießlauf zum Formhohlraum zwischen den Stirnseiten dieser Seitenwandungen und dem Boden in Form von jeweiligen Längsschlitzen ausgebildet ist. Hierbei wirken die Seitenwandungen mit ihrer gesamten vertikalen Länge in der Art eines Tauchabscheiders.
Eine gleichmäßiges Auffüllen des Formhohlraumes über eine gesamte Länge des Kanals erzielt man dadurch, daß sich der Gießlauf durch den Formhohlraum bezüglich der Schwerkraft im wesentlichen waagrecht bzw. auf einer geodätischen Linie erstreckt.
In einer besonders einfach realisierbaren Ausführungsform ist der Gießlauf in einem Gießlaufkern ausgebildet.
Hierbei ist zweckmäßigerweise der Gießlaufkern ein Zylinderbohrungskern, wenn es sich bei dem Gußstück um ein Kurbelgehäuse handelt. Ferner ist bevorzugt das zu gießende Gußteil bzgl. der Schwerkraftrichtung über Kopf angeordnet.
Bei einem Verfahren der o.g. Art werden erfindungsgemäß an einem in Schwerkraftrichtung am tiefsten liegenden den des Formhohlraumes in einem Gußmaterial vorhandene Verunreinigungen, wie beispielsweise Blasen und/oder Oxide, zurückgehalten und gesammelt.
Dies hat den Vorteil, daß Verunreinigungen, wie Blasen oder Oxide, nicht mit dem Gußmaterial im Formhohlraum aufsteigen, wodurch eine verbesserte Gefügebildung sichergestellt und Bildung von Fehlstellen vermieden ist.
Weitere Merkmale, Vorteile und vorteilhafte Ausgestaltungen der Erfindung ergeben sich aus den abhängigen Ansprüchen, sowie aus der nachstehenden Beschreibung der Erfindung anhand der beigefügten Zeichnungen. Diese zeigen in
Fig. 1
eine bevorzugte Ausführungsform einer erfindungsgemäßen Gießform im Querschnitt und
Fig. 2
im Längsschnitt.
Die in Fig. 1 und 2 dargestellte bevorzugte Ausführungsform einer erfindungsgemäßen Gießform umfaßt eine Grundplatte 10 und seitliche Formaußenteile 12 und 14. Zwischen diesen Teilen sind ferner Kerne derart angeordnet, daß ein Formhohlraum 16 ausgebildet ist, in welchen während des Gießvorgangs Gußmaterial eingefüllt wird, welches erstant und den Gußkörper, in der Darstellung beispielsweise ein Kurbelgehäuse, ausbildet. Die Kerne umfassen unter anderem einen Wasserkern 18, einen Zylinderbohrungskern 20, einen oder mehrere Ölrücklaufkerne 22 und einen oder mehrere Kurbelraumkerne 24. Diese Kerne 18, 20, 22 und 24 sind beispielsweise als mit chemischen Mittel gebundene Sandkerne ausgebildet, welche nach dem Gießvorgang zerfallen, so daß der dann lose Sand lediglich ausgeblasen werden muß. Die Formaußenteile 14 und 16 können ebenfalls aus chemisch gebundenem Sand oder Stahl oder Kunststoff gefertigt sein.
Über einen Zulauf 26 wird das Gußmaterial, beispielsweise ein Metall, wie Aluminium, oder eine Metallegierung, wie beispielsweise eine Aluminiumlegierung, der Gießform zugeführt und durch einen Gießlauf 28 zu einem in Schwerkraftrichtung 30 unteren Ende der Gießform geleitet. Aus dem Gießlauf 28 tritt das Gußmaterial aus und dringt in den Formhohlraum 16 ein, wo es entgegen der Schwerkraftrichtung 30 aufsteigt und den Formhohlraum 16 auffüllt, bis es in Speiser 32 gelangt und gesammelt wird.
Beim Abguß ist es wichtig, daß sich das Gußrnaterial schnell abkühlt, damit sich ein gleichmäßiges und lunkerfreies Gefüge ausbildet. Aus diesem Grund ist die Grundplatte 10 vorzugsweise wasser- oder luftgekühlt. Ferner wird bevorzugt über eine Druckmaske oberhalb der Speiser 32 die von diesen gebildete Druckmassel zusätzlich mit einem Druck von beispielsweise 0,1 bar oder mehr beaufschlagt. Hierbei kommt es jedoch bevorzugt im Kontaktbereich des Gußmaterials mit dem Boden 34 der Grundplatte 10 zur Bildung von Blasen und Oxiden, welche mit dem Gußmaterial in dem Formhohlraum 16 aufsteigen würden und die Gefügebildung beim Abkühlen des Gußmaterials beeinträchtigen.
Daher ist erfindungsgemäß ein Endabschnitt des Gießlaufes 28 als Kanal 36 ausgebildet, welcher sich im wesentlichen über eine gesamte Längsausdehnung des Gußstückes an einem in Schwerkraftrichtung 30 tiefsten Bereich des Bodens 34 durch den Formhohlraum 16 erstreckt, wie insbesondere aus Fig. 2 ersichtlich. Hierbei verläuft der Kanal 36 bezüglich der Schwerkraftrichtung 30 im wesentlichen waagrecht bzw. auf einer geodätischen Linie.
Wie sich insbesondere aus Fig. 1 ergibt, ist der Kanal 36 in Schwerkraftrichtung 30 unten offen, so daß dessen Seitenwandungen ein umgekehrtes U ausbilden. Die Schenkel des U's bilden bezüglich der Schwerkraft vertikale Seitenwandungen, welche in Schwerkraftrichtung 30 nach unten verlaufen und mit Stirnseiten 38 beabstandet vom Boden 34 enden. Die Öffnung zwischen den Stirnseiten 38 und dem Boden 34 bildet eine Durchgangsöffnung 42 für das Gußmaterial aus dem Kanal 36 heraus in den Formhohlraum 16 der Gießform.
Hierbei ist insbesondere aus Fig. 1 ersichtlich, daß sich durch die besondere Ausbildung des Kanals 36 in dem Gußmaterial gebildete Verunreinigen, wie Blasen oder Oxide, in einem in Schwerkraftrichtung 30 oberen Bereich 40 des Kanals 36 sammeln. Da jedoch die Durchgangsöffnung 42 an einem in Schwerkraftrichtung 30 untersten Bereich des Kanals 36 ausgebildet ist, bleiben diese Verunreinigungen im Kanal 36 gefangen und können nicht in den Formhohlraum 16 eindringen. Die vertikalen Seitenwandungen des Kanals 36 wirken daher in der Art eines Tauchabscheiders und sammeln die Verunreinigungen im oberen Bereich 40 des Kanals 36.
In der in den Fig. 1 und 2 dargestellten bevorzugten Ausführungsform ist der Kanal 36 als Teil des Zylinderbohrungskernes 20 ausgebildet. In einem dem Abguß und dem Sammeln von Verunreinigungen nachfolgenden Schritt wird der sich am Boden 34 aus dem Gußmaterial ausgebildete Abdruck des Kanals 36 entfernt, womit alle ggf. im Gußmaterial vorhandenen Verunreinigungen entfernt sind.

Claims (9)

  1. Gießform zum Herstellen von Gußstücken, insbesondere Zylinderköpfen, Zylinderblöcken, Getriebegehäusen und/oder Kurbelgehäusen für Brennkraftmaschinen, aus einem Gußmaterial mittels steigendem Gießen mit Formaußenteilen (10,12,14) und mindestens einem Kern (18,20,22,24), welche einen Formhohlraum (16) für das Gußstück ausbilden, wobei mindestens ein Speiser (32) zum Bilden einer Druckmassel sowie ein Gießlauf (28) ausgebildet ist, welcher über eine Öffnung (42) mit dem Formhohlraum (16) verbunden ist,
    dadurch gekennzeichnet, daß
    sich der Gießlauf (28) an einer in Schwerkraftrichtung (30) tiefsten Stelle (34) des Formhohlraumes (16) durch diesen hindurch in Form eines Kanals (36) erstreckt und die Öffnung (42) des Gießlaufes (28) an einer in Schwerkraftrichtung (30) tiefsten Stelle des Kanals (36) ausgebildet ist.
  2. Gießform nach Anspruch 1,
    dadurch gekennzeichnet, daß
    eine Länge des sich durch den Formhohlraum (16) erstreckenden Gießlaufes (28) einer Längenausdehnung des Gußstückes entspricht.
  3. Gießform nach Anspruch 1 oder 2,
    dadurch gekennzeichnet, daß
    der Kanal (36) in Schwerkraftrichtung (30) unten offen ist, wobei sich in Schwerkraftrichtung (30) vertikal nach unten erstreckende Seitenwandungen des Kanals (36) an ihren Stirnseiten (38) von einem Boden (34) des Formhohlraumes (16) derart beabstandet sind, daß die Öffnung (42) von Gießlauf (28) zum Formhohlraum (16) zwischen den Stirnseiten (38) dieser Seitenwandungen und dem Boden (34) in Form von jeweiligen Längsschlitzen ausgebildet ist.
  4. Gießform nach einem der vorhergehenden Ansprüche,
    dadurch gekennzeichnet, daß
    sich der Gießlauf (28) durch den Formhohlraum (16) bezüglich der Schwerkraft im wesentlichen waagrecht bzw. auf einer geodätischen Linie erstreckt.
  5. Gießform nach einem der vorhergehenden Ansprüche,
    dadurch gekennzeichnet, daß
    der Gießlauf (28) in einem Gießlaufkern (20) ausgebildet ist.
  6. Gießform nach Anspruch 5,
    dadurch gekennzeichnet, daß
    das Gußstück ein Kurbelgehäuse und der Gießlaufkern ein Zylinderbohrungskern (20) ist.
  7. Gießform nach einem der vorhergehenden Ansprüche,
    dadurch gekennzeichnet, daß
    das zu gießende Gußteil bzgl. der Schwerkraftrichtung (30) über Kopf angeordnet ist.
  8. Verfahren zum Herstellen von Gußstücken, insbesondere Zylinderköpfen, Zylinderblöcken, Getriebegehäusen und/oder Kurbelgehäusen für Brennkraftmaschinen, aus einem Gußmetall mittels steigendem Gießen mit Formaußenteilen und mindestens einem Kern, welche einen Formhohlraum für das Gußstück ausbilden, wobei mindestens ein Speiser zum Bilden einer Druckmassel sowie ein Gießlauf ausgebildet ist, welcher über eine Öffnung mit dem Formhohlraum verbunden ist,
    dadurch gekennzeichnet, daß
    an einem in Schwerkraftrichtung am tiefsten liegenden Boden des Formhohlraumes in einem Gußmaterial vorhandene Verunreinigungen, wie beispielsweise Blasen und/oder Oxide, zurückgehalten und gesammelt werden.
  9. Verfahren nach Anspruch 8,
    dadurch gekennzeichnet, daß
    nach Fertigstellung des Gußteiles ein aus dem Gußmaterial gebildeter Bereich, welcher die gesammelten Verunreinigungen enthält, entfernt wird.
EP98120098A 1998-01-31 1998-10-24 Giessform und Verfahren zum Herstellen von Gussstücken Expired - Lifetime EP0933151B1 (de)

Applications Claiming Priority (2)

Application Number Priority Date Filing Date Title
DE19803866 1998-01-31
DE19803866A DE19803866A1 (de) 1998-01-31 1998-01-31 Gießform und Verfahren zum Herstellen von Gußstücken

Publications (2)

Publication Number Publication Date
EP0933151A1 true EP0933151A1 (de) 1999-08-04
EP0933151B1 EP0933151B1 (de) 2003-06-25

Family

ID=7856299

Family Applications (1)

Application Number Title Priority Date Filing Date
EP98120098A Expired - Lifetime EP0933151B1 (de) 1998-01-31 1998-10-24 Giessform und Verfahren zum Herstellen von Gussstücken

Country Status (3)

Country Link
EP (1) EP0933151B1 (de)
AT (1) ATE243579T1 (de)
DE (2) DE19803866A1 (de)

Cited By (4)

* Cited by examiner, † Cited by third party
Publication number Priority date Publication date Assignee Title
EP2340901A1 (de) * 2009-12-17 2011-07-06 Bayerische Motoren Werke Aktiengesellschaft Verfahren zur Herstellung eines Gussteils
CN103769559A (zh) * 2014-02-19 2014-05-07 重庆擎一模具制造有限公司 多点孤立热节大型齿轮箱体低压铸造模具
WO2015128180A1 (de) * 2014-02-28 2015-09-03 Bayerische Motoren Werke Aktiengesellschaft Verfahren für die herstellung eines gusskerns für die fertigung von zylinderköpfen
CN110709189A (zh) * 2017-07-12 2020-01-17 宝马股份公司 用于制造构件的锭模和方法

Families Citing this family (5)

* Cited by examiner, † Cited by third party
Publication number Priority date Publication date Assignee Title
DE10014591C1 (de) * 2000-03-27 2001-08-02 Actech Gmbh Adv Casting Tech Verfahren zum steigenden Gießen in Sandformen mit gerichteter Erstarrung von Gußteilen
DE10063357B4 (de) * 2000-12-19 2005-09-15 Hydro Aluminium Mandl&Berger Gmbh Gießform für und Gießverfahren zur Herstellung von Motorblöcken aus Leichtmetall-Werkstoffen
DE102016220240A1 (de) 2015-10-15 2017-04-20 Volkswagen Aktiengesellschaft Rotationsgießverfahren
DE102018128020B4 (de) 2018-11-09 2024-05-23 Bayerische Motoren Werke Aktiengesellschaft Kokille sowie Verfahren zum Herstellen eines Kurbelgehäuses
DE102018128021A1 (de) * 2018-11-09 2020-05-14 Bayerische Motoren Werke Aktiengesellschaft Kokille sowie Verfahren zum Herstellen eines Kurbelgehäuses

Citations (1)

* Cited by examiner, † Cited by third party
Publication number Priority date Publication date Assignee Title
DE2218256A1 (de) * 1972-04-15 1973-10-31 Buderus Eisenwerk Eingussystem

Family Cites Families (7)

* Cited by examiner, † Cited by third party
Publication number Priority date Publication date Assignee Title
US3844334A (en) * 1970-03-17 1974-10-29 Mcculloch Corp Method of casting cylinders
DE2128425A1 (de) * 1970-08-21 1973-01-04 Friedhelm Dipl Ing Kahn Giessverfahren mit druckanwendung und einrichtung zur durchfuehrung des verfahrens
US3851701A (en) * 1971-05-10 1974-12-03 Steel Corp Gas venting in the manufacture of chilled rolls
US4791977A (en) * 1987-05-07 1988-12-20 Metal Casting Technology, Inc. Countergravity metal casting apparatus and process
DE3924742A1 (de) * 1989-07-26 1991-01-31 Alcan Gmbh Niederdruck-kokillen-giessverfahren zum giessen von metallgussteilen
DE19533447C1 (de) * 1995-09-09 1996-12-05 Bbs Kraftfahrzeugtechnik Verfahren und Vorrichtung zum Befüllen eines Gießwerkzeugs mit einer Metallschmelze
DE19533529C2 (de) * 1995-09-11 2001-10-11 Vaw Alucast Gmbh Verfahren zum Gießen eines Motorblockes aus Aluminium

Patent Citations (1)

* Cited by examiner, † Cited by third party
Publication number Priority date Publication date Assignee Title
DE2218256A1 (de) * 1972-04-15 1973-10-31 Buderus Eisenwerk Eingussystem

Non-Patent Citations (1)

* Cited by examiner, † Cited by third party
Title
WEBSTER P D: "THE CONTROL OF INCLUSIONS IN SAND CASTING", FOUNDRY TRADE JOURNAL, vol. 165, no. 3438, 9 August 1991 (1991-08-09), pages 576 - 577, XP000220236 *

Cited By (10)

* Cited by examiner, † Cited by third party
Publication number Priority date Publication date Assignee Title
EP2340901A1 (de) * 2009-12-17 2011-07-06 Bayerische Motoren Werke Aktiengesellschaft Verfahren zur Herstellung eines Gussteils
DE102009058730B4 (de) * 2009-12-17 2021-03-25 Bayerische Motoren Werke Aktiengesellschaft Verfahren zur Herstellung eines Motorbocks
DE102009058730B8 (de) * 2009-12-17 2021-05-20 Bayerische Motoren Werke Aktiengesellschaft Verfahren zur Herstellung eines Motorblocks
CN103769559A (zh) * 2014-02-19 2014-05-07 重庆擎一模具制造有限公司 多点孤立热节大型齿轮箱体低压铸造模具
CN103769559B (zh) * 2014-02-19 2016-01-13 重庆擎一模具制造有限公司 多点孤立热节大型齿轮箱体低压铸造模具
WO2015128180A1 (de) * 2014-02-28 2015-09-03 Bayerische Motoren Werke Aktiengesellschaft Verfahren für die herstellung eines gusskerns für die fertigung von zylinderköpfen
US9993864B2 (en) 2014-02-28 2018-06-12 Bayerische Motoren Werke Aktiengesellschaft Method for producing a casting core for manufacturing cylinder heads
CN110709189A (zh) * 2017-07-12 2020-01-17 宝马股份公司 用于制造构件的锭模和方法
US11014149B2 (en) 2017-07-12 2021-05-25 Bayerische Motoren Werke Aktiengesellschaft Ingot mold and method for producing a component
CN110709189B (zh) * 2017-07-12 2022-02-11 宝马股份公司 用于制造构件的锭模和方法及其在机动车制造中的应用

Also Published As

Publication number Publication date
DE19803866A1 (de) 1999-08-05
EP0933151B1 (de) 2003-06-25
DE59808810D1 (de) 2003-07-31
ATE243579T1 (de) 2003-07-15

Similar Documents

Publication Publication Date Title
EP2091678B1 (de) Giessform zum giessen eines gussteils und verwendung einer solchen giessform
EP2844409B1 (de) VERFAHREN ZUM GIEßEN EINES MIT MINDESTENS EINER DURCHGANGSÖFFNUNG VERSEHENEN GUSSTEILS
DE3322424C2 (de)
EP1952914B1 (de) Vorrichtung und Sandkern zur Herstellung eines Zylinderkurbelgehäuses
DE10058428B4 (de) Zylinderlaufbuchse und Zylinderblock sowie Verfahren zur Herstellung derselben
EP0933151B1 (de) Giessform und Verfahren zum Herstellen von Gussstücken
DE102005047035B3 (de) Verfahren zur Herstellung eines Kolbens für einen Verbrennungsmotor sowie danach hergestellter Kolben
DE69128415T2 (de) Formen für horizontal/vertikal druckgussmaschinen
EP2340901B9 (de) Verfahren zur Herstellung eines Gussteils
DE102018127350A1 (de) Giessformanordnung und verfahren zur herstellung von metallgussteilen
EP3697554B1 (de) Druckgussform zum giessen von zylinderkurbelgehäusen oder kurbelgehäuseunterteilen
DE102008013813A1 (de) Zylinderkurbelgehäuse und Verfahren zu dessen Herstellung
EP1578549A2 (de) Formkernanordnung zur herstellung eines zylinderkurbelgeh us es mit getrenntem wasserk hlungsbereich
EP0241426A1 (de) Verfahren und Anlage zum Druckgiessen
WO2013072151A1 (de) Giessform für einen kolben
DE102021003793B4 (de) Verfahren zum Bereitstellen eines Rohbauteils für ein Kraftfahrzeug
EP1498197B1 (de) Verfahren zum Giessen von Kurbelgehäusen für Hubkolbenbrennkraftmaschinen
EP0893182B1 (de) Herstellverfahren für eine Zylinderbüchse einer Brennkraftmaschine
EP2636467A2 (de) Vorrichtung zur Herstellung eines Zylinderkurbelgehäuses in V-Bauform
DE10328654A1 (de) Gießverfahren für metallische Bauteile
DE10255691A1 (de) Verfahren zur Herstellung eines gekühlten Ringträgers für einen Aluminiumkolben
DE68901957T2 (de) Form fuer die herstellung eines metallischen gegenstandes, gebrauch dieser form und verfahren zur entsprechenden formherstellung.
EP0476348A2 (de) Sandgussform zur Herstellung von Zylinderköpfen aus Aluminium
DE102017211876B3 (de) Kokille sowie Verfahren zum Herstellen eines Bauteils
DE102020004195A1 (de) 3-Platten-Druckgusswerkzeug zur Herstellung eines metallischen Bauteils

Legal Events

Date Code Title Description
PUAI Public reference made under article 153(3) epc to a published international application that has entered the european phase

Free format text: ORIGINAL CODE: 0009012

AK Designated contracting states

Kind code of ref document: A1

Designated state(s): AT DE ES FR GB IT SE

AX Request for extension of the european patent

Free format text: AL;LT;LV;MK;RO;SI

17P Request for examination filed

Effective date: 20000204

AKX Designation fees paid

Free format text: AT DE ES FR GB IT SE

GRAH Despatch of communication of intention to grant a patent

Free format text: ORIGINAL CODE: EPIDOS IGRA

GRAH Despatch of communication of intention to grant a patent

Free format text: ORIGINAL CODE: EPIDOS IGRA

GRAA (expected) grant

Free format text: ORIGINAL CODE: 0009210

AK Designated contracting states

Designated state(s): AT DE ES FR GB IT SE

PG25 Lapsed in a contracting state [announced via postgrant information from national office to epo]

Ref country code: IT

Free format text: LAPSE BECAUSE OF FAILURE TO SUBMIT A TRANSLATION OF THE DESCRIPTION OR TO PAY THE FEE WITHIN THE PRESCRIBED TIME-LIMIT;WARNING: LAPSES OF ITALIAN PATENTS WITH EFFECTIVE DATE BEFORE 2007 MAY HAVE OCCURRED AT ANY TIME BEFORE 2007. THE CORRECT EFFECTIVE DATE MAY BE DIFFERENT FROM THE ONE RECORDED.

Effective date: 20030625

Ref country code: GB

Free format text: LAPSE BECAUSE OF FAILURE TO SUBMIT A TRANSLATION OF THE DESCRIPTION OR TO PAY THE FEE WITHIN THE PRESCRIBED TIME-LIMIT

Effective date: 20030625

REG Reference to a national code

Ref country code: GB

Ref legal event code: FG4D

Free format text: NOT ENGLISH

REF Corresponds to:

Ref document number: 59808810

Country of ref document: DE

Date of ref document: 20030731

Kind code of ref document: P

PG25 Lapsed in a contracting state [announced via postgrant information from national office to epo]

Ref country code: SE

Free format text: LAPSE BECAUSE OF FAILURE TO SUBMIT A TRANSLATION OF THE DESCRIPTION OR TO PAY THE FEE WITHIN THE PRESCRIBED TIME-LIMIT

Effective date: 20030925

PG25 Lapsed in a contracting state [announced via postgrant information from national office to epo]

Ref country code: ES

Free format text: LAPSE BECAUSE OF FAILURE TO SUBMIT A TRANSLATION OF THE DESCRIPTION OR TO PAY THE FEE WITHIN THE PRESCRIBED TIME-LIMIT

Effective date: 20031222

GBV Gb: ep patent (uk) treated as always having been void in accordance with gb section 77(7)/1977 [no translation filed]

Effective date: 20030625

ET Fr: translation filed
PLBE No opposition filed within time limit

Free format text: ORIGINAL CODE: 0009261

STAA Information on the status of an ep patent application or granted ep patent

Free format text: STATUS: NO OPPOSITION FILED WITHIN TIME LIMIT

26N No opposition filed

Effective date: 20040326

REG Reference to a national code

Ref country code: DE

Ref legal event code: R084

Ref document number: 59808810

Country of ref document: DE

Effective date: 20110723

REG Reference to a national code

Ref country code: FR

Ref legal event code: PLFP

Year of fee payment: 18

PGFP Annual fee paid to national office [announced via postgrant information from national office to epo]

Ref country code: DE

Payment date: 20151031

Year of fee payment: 18

PGFP Annual fee paid to national office [announced via postgrant information from national office to epo]

Ref country code: AT

Payment date: 20151028

Year of fee payment: 18

Ref country code: FR

Payment date: 20151030

Year of fee payment: 18

REG Reference to a national code

Ref country code: DE

Ref legal event code: R119

Ref document number: 59808810

Country of ref document: DE

REG Reference to a national code

Ref country code: AT

Ref legal event code: MM01

Ref document number: 243579

Country of ref document: AT

Kind code of ref document: T

Effective date: 20161024

REG Reference to a national code

Ref country code: FR

Ref legal event code: ST

Effective date: 20170630

PG25 Lapsed in a contracting state [announced via postgrant information from national office to epo]

Ref country code: DE

Free format text: LAPSE BECAUSE OF NON-PAYMENT OF DUE FEES

Effective date: 20170503

Ref country code: FR

Free format text: LAPSE BECAUSE OF NON-PAYMENT OF DUE FEES

Effective date: 20161102

PG25 Lapsed in a contracting state [announced via postgrant information from national office to epo]

Ref country code: AT

Free format text: LAPSE BECAUSE OF NON-PAYMENT OF DUE FEES

Effective date: 20161024