EP0903474A1 - Anordnung zum Einkapseln einer Nebenwelle einer Hubkolben-Brennkraftmaschine - Google Patents

Anordnung zum Einkapseln einer Nebenwelle einer Hubkolben-Brennkraftmaschine Download PDF

Info

Publication number
EP0903474A1
EP0903474A1 EP98117181A EP98117181A EP0903474A1 EP 0903474 A1 EP0903474 A1 EP 0903474A1 EP 98117181 A EP98117181 A EP 98117181A EP 98117181 A EP98117181 A EP 98117181A EP 0903474 A1 EP0903474 A1 EP 0903474A1
Authority
EP
European Patent Office
Prior art keywords
oil
arrangement according
capsule device
crankcase
web
Prior art date
Legal status (The legal status is an assumption and is not a legal conclusion. Google has not performed a legal analysis and makes no representation as to the accuracy of the status listed.)
Granted
Application number
EP98117181A
Other languages
English (en)
French (fr)
Other versions
EP0903474B1 (de
Inventor
Volker Cornelius
Current Assignee (The listed assignees may be inaccurate. Google has not performed a legal analysis and makes no representation or warranty as to the accuracy of the list.)
Volkswagen AG
Original Assignee
Volkswagen AG
Priority date (The priority date is an assumption and is not a legal conclusion. Google has not performed a legal analysis and makes no representation as to the accuracy of the date listed.)
Filing date
Publication date
Application filed by Volkswagen AG filed Critical Volkswagen AG
Publication of EP0903474A1 publication Critical patent/EP0903474A1/de
Application granted granted Critical
Publication of EP0903474B1 publication Critical patent/EP0903474B1/de
Anticipated expiration legal-status Critical
Expired - Lifetime legal-status Critical Current

Links

Images

Classifications

    • FMECHANICAL ENGINEERING; LIGHTING; HEATING; WEAPONS; BLASTING
    • F01MACHINES OR ENGINES IN GENERAL; ENGINE PLANTS IN GENERAL; STEAM ENGINES
    • F01MLUBRICATING OF MACHINES OR ENGINES IN GENERAL; LUBRICATING INTERNAL COMBUSTION ENGINES; CRANKCASE VENTILATING
    • F01M11/00Component parts, details or accessories, not provided for in, or of interest apart from, groups F01M1/00 - F01M9/00
    • F01M11/0004Oilsumps
    • FMECHANICAL ENGINEERING; LIGHTING; HEATING; WEAPONS; BLASTING
    • F02COMBUSTION ENGINES; HOT-GAS OR COMBUSTION-PRODUCT ENGINE PLANTS
    • F02BINTERNAL-COMBUSTION PISTON ENGINES; COMBUSTION ENGINES IN GENERAL
    • F02B77/00Component parts, details or accessories, not otherwise provided for
    • F02B77/11Thermal or acoustic insulation
    • F02B77/13Acoustic insulation
    • FMECHANICAL ENGINEERING; LIGHTING; HEATING; WEAPONS; BLASTING
    • F01MACHINES OR ENGINES IN GENERAL; ENGINE PLANTS IN GENERAL; STEAM ENGINES
    • F01MLUBRICATING OF MACHINES OR ENGINES IN GENERAL; LUBRICATING INTERNAL COMBUSTION ENGINES; CRANKCASE VENTILATING
    • F01M1/00Pressure lubrication
    • F01M1/02Pressure lubrication using lubricating pumps
    • F01M2001/0253Pressure lubrication using lubricating pumps characterised by the pump driving means
    • F01M2001/0276Pressure lubrication using lubricating pumps characterised by the pump driving means driven by a balancer shaft
    • FMECHANICAL ENGINEERING; LIGHTING; HEATING; WEAPONS; BLASTING
    • F01MACHINES OR ENGINES IN GENERAL; ENGINE PLANTS IN GENERAL; STEAM ENGINES
    • F01MLUBRICATING OF MACHINES OR ENGINES IN GENERAL; LUBRICATING INTERNAL COMBUSTION ENGINES; CRANKCASE VENTILATING
    • F01M11/00Component parts, details or accessories, not provided for in, or of interest apart from, groups F01M1/00 - F01M9/00
    • F01M11/0004Oilsumps
    • F01M2011/0029Oilsumps with oil filters

Definitions

  • the invention relates to an arrangement for encapsulating a secondary shaft of a reciprocating piston internal combustion engine with a crankcase and one arranged on the crankcase Oil pan according to the preamble of claim 1 and an internal combustion engine according to the Preamble of claim 16.
  • the present invention is therefore based on the object of an improved arrangement and to provide an internal combustion engine of the above type, the above mentioned disadvantages are overcome.
  • a trough-shaped capsule device with an open side, a tub floor and one that runs around the open side Trough edge is provided, which with the open side towards the crankcase and enclosing the auxiliary shaft and encapsulating it against the oil pan, arranged in the oil pan is.
  • Fixing means are expediently on the capsule device on the crankcase side formed, for example, as mounting holes or as at least one clip closure and are particularly preferably formed around the tub rim.
  • the capsule device has in the tub floor an oil intake opening, which is arranged such that when the capsule device is mounted An intake port of an oil pump with this oil intake opening on the crankcase side connected is.
  • the oil suction opening is advantageously provided with a sieve.
  • the diagonal arrangement of the sieve provides a particularly large filter area.
  • an uninterrupted oil supply to the oil pump is achieved in that the oil intake opening oil pan side has a snorkel, which in an oil sump in the Oil pan protrudes and preferably a snorkel connection on the oil pan side at the oil intake opening is arranged.
  • a contour of the Trough edge of the capsule device essentially follows this web, so that the Capsule device can be flanged to this web, can advantageously a large part of the lubricating oil circulating in the crankcase is directed past the capsule device and only a smaller, predetermined part of the lubricating oil penetrates the crankcase side to lubricate the auxiliary shaft in the capsule device.
  • the support structure on the oil pan side one of an outer edge of the support structure spaced, circumferential web, with a contour of the tub edge Capsule device essentially follows this web, so that the capsule device is on this web can be flanged, can advantageously a large part of the in the crankcase circulating lubricating oil are directed past the capsule device and only one smaller, predetermined part of the lubricating oil penetrates into the secondary shaft to lubricate it Capsule device.
  • the capsule device in the trough bottom at least one oil drain opening advantageously has a defined oil-conducting connection between the oil pan and an interior of the capsule device created, whereby the interior the capsule device is connected to an oil circulation in the crankcase
  • the capsule device is advantageous integrally formed as an injection molded part.
  • the reciprocating piston internal combustion engine has a crankcase, not shown, with one therein rotating crankshaft 1. Lateral walls of the crankcase are over the crankshaft center 2 in the direction of an oil pan, not shown, into one Flange level E guided. At this flange level E includes in the direction of the oil pan connected to the walls of the crankcase, labeled 3 in total Component, which is referred to below as support structure 3. This is essentially plate-shaped and extends in the longitudinal direction L and transverse direction Q of Crankcase and separates through its connection to the opening area of the crankcase surrounding flange opposite the crank drive designated overall with 4 the oil pan essentially.
  • the surface of the support structure 3 facing the crank mechanism 4 is at least in the region of Crank cheeks 6 of the crank mechanism 4 in accordance with the rotation there Conrod violin structure formed.
  • the Support structure 3 On its surface 7 facing away from the crank mechanism 4 and facing the oil pan, the Support structure 3 formed in one piece and of the same material, each an undivided bearing 8 and 9 bearing blocks 10 and 11.
  • the support structure 3 is essentially rectangular, with 12 on the long sides and 13 mounting eyes 14 are arranged for performing screw connections.
  • the long side 12 is essentially covered in the illustration in FIG. 1. With the Screw connections, the support structure 3 is fixed in the flange plane E on the crankcase.
  • auxiliary shaft In the assembled state of the support structure 3 according to Figures 2, 3 and 4 is in the bearings 8 and 9 rotatably held a total of 20 designated auxiliary shaft.
  • This is integral and provided in one piece with a leveling compound 21 and initially from the end face 16 inserted through the bearing 9 and then through the bearing 8.
  • stepped pin 22 of the auxiliary shaft 20th On one plugged in Condition of the bearing 8 penetrating, stepped pin 22 of the auxiliary shaft 20th is a drive wheel 23 designed as a chain wheel and then a further balancing mass 24 put on.
  • This arrangement ensures together with one at the On the inside of the end wall 17 adjoining collar 26 of the secondary shaft 20 has an axial bearing, while the bearing 9 is designed as a floating bearing.
  • the floating mounting of the balancing mass 21 ensures that the space is optimally approached this balancing mass 21 to the support structure 3.
  • This has a section 7a appropriately shaped contour surfaces 27 to create a free passage.
  • Crossing stiffening ribs 30 are between the two bearing blocks 10 and 11 arranged, which intersect at intersection points 31.
  • the support structure 3 has a channel system for lubricating oil. From the flange level E starting in the area of the bearing block 11 extends essentially transverse inflow channel 45, which extends to the bearing 9 there. In one shaft 46 protruding from surface 7 extends parallel to the auxiliary shaft 20 a supply channel 47 which intersects the inflow channel 45 and which feeds in the Lubricating oil to the bearing 8 promotes. The shaft 46 receiving the supply channel 47 runs along a series of crossing points 31.
  • the surface 7 continues to bear a web 32 which is a capsule device according to the invention described below Drive shaft 20 adjacent.
  • This web 32 extends from the end wall 17 spaced and parallel to the long side 13 along the end face 16 and again after internally offset essentially parallel to the other long side 12.
  • In the area of this Longitudinal sides 12 and 13 are between these 32 web-like openings 33 for the web the passage of lubricating oil of the crank mechanism 4 arranged in the oil pan.
  • FIG. 5 to 9 show the aforementioned capsule device 49 according to the invention in one preferred embodiment.
  • This comprises a trough-like housing 50, which in a circumferential contour and in a peripheral tub rim which is only partially visible in FIG. 5 64 the contour of the web 32 of FIG. 4 is adapted such that it is on the web 32 can be flanged and the auxiliary shaft 20 encapsulates against an oil pan.
  • the capsule device 49 further includes, in the preferred embodiment shown, mounting eyes 52, Clip connector 54, a snorkel flange with cover 56, a snorkel 58 and one Oil intake opening 60.
  • FIG. 6 shows in detail the area of the oil suction opening 60 which, in addition to the snorkel flange with cover 56, also comprises a sieve 62.
  • the cover 56 with the snorkel 58 (not visible in FIG. 6) is arranged on the oil pan side, ie in the installed position below the capsule device 49.
  • a connecting piece 66 formed integrally with the housing 50 is provided on an opposite side facing the crankcase or the support structure 3 in an interior of the capsule device 49.
  • this connecting piece 66 interacts with an intake port 67 of the oil pump in such a way that the oil pump is connected to the snorkel 58 and pumps and delivers oil from an oil sump.
  • FIG. 7 the snorkel 58 is shown in solid lines for a specific internal combustion engine, while a shortened snorkel 58 for a specific internal combustion engine is shown in dashed lines with a different stroke volume and / or a different installation position.
  • FIG. 10 shows a detailed illustration of a fastening eye 52 on the housing 50
  • Fastening the capsule device 49 is a screw on the oil pan side in the direction of arrow 70 53 performed by the mounting eye 52 and either on the crankcase side Crankcase or screwed to the attachment points 44 ( Figure 1) of the support structure 3.
  • An annular web 59 integrally formed with the housing 50 in a depression 61 is plastically pressed by contacting the screw head 53 a and makes one separate sealing ring unnecessary.
  • the screw torque is based on the crankcase or on the lead frame, but not on the housing 50. This means that no independent occurs Dissolve by creeping the housing material.
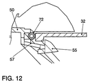
  • the clip connectors 54 shown in detail in FIGS. 11 and 12 can be used in addition to the Fastening eyes 52 or be provided instead.
  • the clip connector 54 includes a hook-shaped element 55, which is attached to the housing 50 via an elastic arm 57 is. When pushed onto the web 32, the hook-shaped element 55 engages around the Web 32, as shown in Figure 12, and thus secures the housing 50 in a predetermined Position below the crankcase. An inserted sealing cord 72 seals the housing 50 on a circumferential bearing surface on the web 32 against the interior of the surrounding oil pan.
  • the clip connections 54 have the advantage that they are the same can be removed again simply and quickly, as previously by "clipping" the housing 50 were manufactured.
  • the capsule device 49 can also be closed again quickly and easily disassemble, for example for later maintenance or repair work.
  • the capsule device 49 advantageously prevents the rotating ones from “splashing" Counter shaft 20 in the oil sump, which leads to an undesirable foaming of the oil and unnecessary loss of work.
  • the suction snorkel integrated in the capsule device 49 58 for the oil pump reduces the total number of parts when assembling the Internal combustion engine.
  • the capsule device 49 for example, only takes on the auxiliary shaft 20 oil extracted for their lubrication and the oil flowing out of the crank mechanism becomes of such an embodiment completely past the auxiliary shaft 20 into the oil pan headed.

Landscapes

  • Engineering & Computer Science (AREA)
  • Mechanical Engineering (AREA)
  • General Engineering & Computer Science (AREA)
  • Physics & Mathematics (AREA)
  • Acoustics & Sound (AREA)
  • Chemical & Material Sciences (AREA)
  • Combustion & Propulsion (AREA)
  • Lubrication Details And Ventilation Of Internal Combustion Engines (AREA)

Abstract

Die vorliegende Erfindung betrifft eine Anordnung zum Einkapseln einer Nebenwelle einer Hubkolben-Brennkraftmaschine mit einem Kurbelgehäuse und einer am Kurbelgehäuse angeordneten Ölwanne. Dabei ist eine wannenförmige Kapselvorrichtung (49) mit einer offenen Seite, einem Gehäuse (50) und einen um die offene Seite umlaufenden Wannenrand (64) vorgesehen, welche mit der offenen Seite in Richtung Kurbelgehäuse und die Nebenwelle umschließend und gegen die Ölwanne abkapselnd, in der Ölwanne angeordnet ist. <IMAGE>

Description

Die Erfindung betrifft eine Anordnung zum Einkapseln einer Nebenwelle einer Hubkolben-Brennkraftmaschine mit einem Kurbelgehäuse und einer am Kurbelgehäuse angeordneten Ölwanne gemäß dem Oberbegriff von Anspruch 1 und eine Brennkraftmaschine gemäß dem Oberbegriff von Anspruch 16.
Eine derartige Anordnung ist aus der EP 0 634 566 B1 bekannt, die zum Führen von Öl in dem Kurbelgehäuse an der Nebenwelle vorbei zwischen einem Kurbeltrieb und der Ölwanne eine Schale aufweist, von der sich in Richtung Ölwanne Stege erstrecken, welche die Nebenwelle teilweise umschließen und mit der Schale zusammen ein Profil bilden, welches gegenüber dem Kurbeltrieb geschlossen ist. Durch Ausbilden der Stege derart, daß sie an Wandabschnitten der Brennkraftmaschine anliegen, wird eine Kapselung der Nebenwelle erzielt.
Diese Anordnung hat jedoch den Nachteil, daß sie einen komplizierten Aufbau und dementsprechend kostenintensiv in der Herstellung und Montage ist.
Aus der DE 42 04 522 C1 ist es ferner bekannt, zum Zwecke der Geräuschdämpfung in einer Brennkraftmaschine mit Kurbelgehäuse das Triebwerk zur Ölwanne hin mittels einer Schale abzudecken, welche wenigstens eine Öffnung zum Ableiten von Schmieröl aufweist, wobei die Öffnung in eine Dämpfungskammer mündet. Die Schale ist in ihrer Kontur derart ausgebildet, daß sie nahe entlang einer Pleuelgeige verläuft. Diese Schale ist jedoch oberhalb einer eventuell vorhandenen, als Ausgleichswelle ausgebildeten Nebenwelle vorgesehen, wobei die Nebenwelle selbst zur Ausbildung der Dämpfungskammer dient und daher immer notwendigerweise außerhalb der Schale angeordnet ist.
Der vorliegenden Erfindung liegt daher die Aufgabe zugrunde, eine verbesserte Anordnung und Brennkraftmaschine der obengenannten Art zur Verfügung zu stellen, wobei die oben genannten Nachteile überwunden werden.
Diese Aufgabe wird erfindungsgemäß durch eine Anordnung der o.g. Art mit den in Anspruch 1 gekennzeichneten Merkmalen und durch eine Brennkraftmaschine der o.g. Art mit den in Anspruch 16 gekennzeichneten Merkmalen gelöst. Vorteilhafte Ausgestaltungen der Erfindung sind in den abhängigen Ansprüchen angegeben.
Dazu ist es erfindungsgemäß vorgesehen, daß eine wannenförmige Kapselvorrichtung mit einer offenen Seite, einem Wannenboden und einen um die offene Seite umlaufenden Wannenrand vorgesehen ist, welche mit der offenen Seite in Richtung Kurbelgehäuse und die Nebenwelle umschließend und gegen die Ölwanne abkapselnd, in der Ölwanne angeordnet ist.
Dies hat den Vorteil, daß eine derartige Anordnung von unten, also ölwannenseitig, auf das Kurbelgehäuse oder einen daran angeordneten Leiterrahmen z. B.einfach aufsteckbar ist und daher unabhängig von der Form und Ausgestaltung des Innenraumes des Kurbelgehäuses universell ausgebildet werden kann, da die Kapseleinrichtung selbst und ohne Zuhilfenahme von Wandungen der Brennkraftmaschine, eine Kapselung gegen die Ölwanne ausbildet.
Zweckmäßigerweise sind an der Kapselvorrichtung kurbelgehäuseseitig Befestigungsmittel ausgebildet, die beispielsweise als Befestigungslöcher oder als wenigstens ein Clipverschluß und in besonders bevorzugter Weise um den Wannenrand herum ausgebildet sind.
In einer vorteilhaften Weiterbildung der Erfindung weist die Kapselvorrichtung im Wannenboden eine Ölansaugöffnung auf, welche derart angeordnet ist, daß bei montierter Kapselvorrichtung kurbelgehäuseseitig ein Ansaugstutzen einer Ölpumpe mit dieser Ölansaugöffnung verbunden ist. Dies hat den Vorteil, daß bei Montage der Kapselvorrichtung die Ölpumpe automatisch und ohne weiter Montagearbeiten angeschlossen ist. Dadurch wird ein herkömmlicher Saugschnorchel ersetzt.
Zum Abscheiden von Partikeln aus dem von der Ölpumpe über die Ölansaugöffnung angesaugten Schmieröl ist in vorteilhafter Weise die Ölansaugöffnung mit einem Sieb versehen.
Durch diagonale Anordnung des Siebs steht eine besonders große Filterfläche zur Verfügung.
Eine unterbrechungsfreie Ölversorgung der Ölpumpe wird dadurch erzielt, daß die Ölansaugöffnung ölwannenseitig einen Schnorchel aufweist, welcher in einen Ölsumpf in der Ölwanne ragt und bevorzugt ölwannenseitig an der Ölansaugöffnung ein Schnorchelstutzen angeordnet ist.
Dadurch, daß das Kurbelgehäuse ölwannenseitig einen von einem äußeren Rand des Kurbelgehäuses beabstandeten, umlaufenden Steg aufweist, wobei eine Kontur des Wannenrandes der Kapselvorrichtung im wesentlichen diesem Steg folgt, so daß die Kapselvorrichtung an diesen Steg anflanschbar ist, kann in vorteilhafter Weise ein Großteil des im Kurbelgehäuse zirkulierenden Schmieröls an der Kapselvorrichtung vorbei geleitet werden und nur ein kleinerer, vorbestimmter Teil des Schmieröls dringt kurbelgehäuseseitig zum Schmieren der Nebenwelle in die Kapselvorrichtung ein.
Eine zusätzliche mechanische Verstärkung der Anordnung wird in vorteilhafter Weise dadurch erzielt, daß zwischen Kapselvorrichtung und Kurbelgehäuse eine Stützstruktur vorgesehen ist, welche die Nebenwelle trägt.
Dadurch, daß die Stützstruktur ölwannenseitig einen von einem äußeren Rand der Stützstruktur beabstandeten, umlaufend Steg aufweist, wobei eine Kontur des Wannenrandes der Kapselvorrichtung im wesentlichen diesem Steg folgt, so daß die Kapselvorrichtung an diesen Steg anflanschbar ist, kann in vorteilhafter Weise ein Großteil des im Kurbelgehäuse zirkulierenden Schmieröls an der Kapselvorrichtung vorbei geleitet werden und nur ein kleinerer, vorbestimmter Teil des Schmieröls dringt zum Schmieren der Nebenwelle in die Kapselvorrichtung ein.
Eine einfach herzustellende und lösbare Befestigung der Kapselvorrichtung für eventuelle Wartungs- oder Reparaturarbeiten wird in vorteilhafter Weise dadurch erzielt, daß an der Kapselvorrichtung vorgesehene Befestigungsmittel auf diesen Steg aufschnappen.
Dadurch, daß die Kapselvorrichtung in dem Wannenboden wenigstens eine Ölablauföffnung aufweist wird in vorteilhafter Weise eine definierte ölleitende Verbindung zwischen der Ölwanne und einem Innenraum der Kapselvorrichtung geschaffen, wodurch auch der Innenraum der Kapselvorrichtung an einer Ölzirkulation im Kurbelgehäuse angeschlossen ist
Aus Gründen einer einfachen Herstellung und Montage ist in vorteilhafter Weise die Kapselvorrichtung einstückig als Spritzgußteil ausgebildet.
Weitere Merkmale, Vorteile und vorteilhafte Ausgestaltungen der Erfindung ergeben sich aus den abhängigen Ansprüchen, sowie aus der nachstehenden Beschreibung der Erfindung anhand der beigefügten Zeichnungen. Diese zeigen in
Fig. 1
eine perspektivische Ansicht von schräg unten auf eine Stützstruktur für ein Kurbelgehäuse zum Anbau einer Nebenwelle,
Fig. 2
eine perspektivische Ansicht einer in einer Hubkolben-Brennkraftmaschine verbauten Stützstruktur mit einem teilweise dargestellten Kurbeltrieb ohne Kurbelgehäuse,
Fig. 3
eine stirnseitige Seitenansicht zu Fig. 2,
Fig. 4
eine Seitenansicht zu Fig. 3,
Fig. 5
eine erfindungsgemäße Kapselvorrichtung in einer Ansicht von unten,
Fig. 6
einen Teil einer Schnittansicht entlang der Linie VI - VI von Fig. 5,
Fig. 7
einen Schnitt entlang der Linie VII - VII von Fig. 5,
Fig. 8
einen Schnitt entlang der Linie VIII - VIII von Fig. 5,
Fig. 9
eine Seitenansicht in Richtung S von Fig. 5,
Fig. 10
eine Detailansicht des Ausschnittes F von Fig. 7,
Fig. 11
eine Detailansicht des Ausschnittes E von Fig. 7,
Fig. 12
eine Detailansicht des Ausschnittes C von Fig. 8 und
Fig. 13
eine Aufsicht eines Schnorchelflansches mit Sieb.
Die Figuren 1 bis 4 zeigen zur Erläuterung Teile eines Kurbeltriebes einer Brennkraftmaschine mit einer unter einem Kurbelgehäuse an einer Stützstruktur 3 angeordneten, als Ausgleichswelle 20 ausgebildeten Nebenwelle.
Die Hubkolben-Brennkraftmaschine weist ein nicht gezeigtes Kurbelgehäuse mit einer darin rotierend gelagerten Kurbelwelle 1 auf. Seitliche Wandungen des Kurbelgehäuses sind über die Kurbelwellenmitte 2 hinaus in Richtung auf eine nicht gezeigte Ölwanne bis in eine Flanschebene E geführt. An dieser Flanschebene E schließt in Richtung auf die Ölwanne ein an die Wandungen des Kurbelgehäuses angebundenes, insgesamt mit 3 bezeichnetes Bauteil an, welches nachfolgend als Stützstruktur 3 bezeichnet wird. Dieses ist im wesentlichen plattenartig ausgebildet und erstreckt sich in Längsrichtung L und Querrichtung Q des Kurbelgehäuses und trennt durch seine Anbindung an den den Öffnungsbereich des Kurbelgehäuses umgebenden Flansch den insgesamt mit 4 bezeichneten Kurbeltrieb gegenüber der Ölwanne im wesentlichen ab.
Die dem Kurbeltrieb 4 zugewandte Fläche der Stützstruktur 3 ist zumindest im Bereich von Kurbelwangen 6 des Kurbeltriebes 4 entsprechend der dort durch die Rotation entstehenden Pleuelgeigenstruktur ausgebildet.
Auf seiner vom Kurbeltrieb 4 abgewandten und der Ölwanne zugewandten Fläche 7 trägt die Stützstruktur 3 einstückig und materialeinheitlich ausgebildete, jeweils ein ungeteiltes Lager 8 und 9 aufweisende Lagerböcke 10 und 11.
Die Stützstruktur 3 ist im wesentlichen rechteckförmig ausgebildet, wobei an Längsseiten 12 und 13 Befestigungsaugen 14 zur Durchführung von Schraubverbindungen angeordnet sind. Die Längsseite 12 ist hierbei in der Darstellung von Fig. 1 im wesentlichen verdeckt. Mit den Schraubverbindungen ist die Stützstruktur 3 in der Flanschebene E am Kurbelgehäuse festgelegt.
In Längsrichtung L erstrecken sich zwischen den Längsseiten 12 und 13 endseitig jeweils Stirnseiten 15 und 16. Die eine Stirnseite 15 ist als Stirnwandung 17 ausgebildet und nimmt unter anderem integral den Lagerbock 10 auf.
Im bestückten Zustand der Stützstruktur 3 gemäß Figuren 2, 3 und 4 ist in den Lagern 8 und 9 eine insgesamt mit 20 bezeichnete Nebenwelle drehbar gehalten. Diese ist integral und einstückig mit einer Ausgleichsmasse 21 versehen und von der Stirnseite 16 aus zunächst durch das Lager 9 und anschließend durch das Lager 8 gesteckt. Auf einen im eingesteckten Zustand das Lager 8 durchsetzenden, abgesetzten Zapfen 22 der Nebenwelle 20 ist ein als Kettenrad ausgebildetes Antriebsrad 23 und anschließend eine weitere Ausgleichsmasse 24 aufgesetzt. Diese Anordnung gewährleistet gemeinsam mit einem an der Innenseite der Stirnwandung 17 anliegenden Bund 26 der Nebenwelle 20 eine Axiallagerung, während das Lager 9 als Loslager ausgebildet ist.
Die fliegende Lagerung der Ausgleichsmasse 21 gewährleistet ein bauraumoptimales Heranrücken dieser Ausgleichsmasse 21 an die Stützstruktur 3. Diese weist in einem Abschnitt 7a entsprechend geformte Konturflächen 27 zur Schaffung eines Freiganges auf.
Zwischen den beiden Lagerböcken 10 und 11 sind sich kreuzende Versteifungsrippen 30 angeordnet, welche sich in Kreuzungspunkten 31 schneiden.
Der Antrieb der Nebenwelle 20 erfolgt von einem Abtriebsrad 40 der Kurbelwelle 1 aus. Dieses Abtriebsrad 40 definiert gemeinsam mit dem Antriebsrad 23 eine Triebebene T für eine Kette 41. Wie am besten aus Figuren 2 und 3 ersichtlich, treibt die Kette 41 mit ihrer Rückseite zur Drehrichtungsumkehr die Nebenwelle 20 an. Zu diesem Zwecke sind zwei Umlenkräder 42 vorgesehen, wobei eines dieser Umlenkräder 42 in einer Lagerung 43 der Stirnwandung 17 drehbar gehalten ist. Ein weiteres Umlenkrad 42 wirkt als Antriebsrad für eine nicht gezeigte Ölpumpe der Hubkolben-Brennkraftmaschine. Diese ist zur optimalen Bauraumausnutzung zwischen der Innenseite 25 der Stirnwandung 17, der Fläche 7 und neben der Nebenwelle 20 liegend lösbar an der Stützstruktur 3 angeordnet. Die Fläche 7 trägt zu diesem Zwecke Befestigungspunkte 44.
Zur Versorgung der Lager 8 und 9 mit Schmieröl und zur Vermeidung von externen Zuleitungen, weist die Stützstruktur 3 ein Kanalsystem für Schmieröl auf. Von der Flanschebene E ausgehend erstreckt sich im Bereich des Lagerbockes 11 ein im wesentlichen querlaufender Zuströmkanal 45, welcher sich bis zum dortigen Lager 9 erstreckt. In einem von der Fläche 7 abragend ausgebildeten Schacht 46 erstreckt sich parallel zur Nebenwelle 20 ein den Zuströmkanal 45 schneidender Versorgungskanal 47, der das eingespeiste Schmieröl zum Lager 8 fördert. Der den Versorgungskanal 47 aufnehmende Schacht 46 verläuft entlang einer Reihe von Kreuzungspunkten 31.
Wie am besten aus Figur 1 ersichtlich, trägt die Fläche 7 weiterhin einen Steg 32, an welchem eine im nachfolgenden beschriebene erfindungsgemäße Kapselvorrichtung der Antriebswelle 20 angrenzt. Dieser Steg 32 erstreckt sich von der Stirnwand 17 ausgehend beabstandet und parallel zur Längsseite 13 entlang der Stirnseite 16 und wiederum nach innen versetzt im wesentlichen parallel zur anderen Längsseite 12. Im Bereich dieser Längsseiten 12 und 13 sind zwischen diesen dem Steg 32 fensterartige Öffnungen 33 für den Durchtritt von Schmieröl des Kurbeltriebes 4 in die Ölwanne angeordnet.
Figur 5 bis 9 zeigen die vorerwähnte erfindungsgemäße Kapselvorrichtung 49 in einer bevorzugten Ausführungsform. Diese umfaßt ein wannenartiges Gehäuse 50, welches in einer Umfangskontur und in einem in Figur 5 nur teilweise sichtbaren umlaufenden Wannenrand 64 der Kontur des Steges 32 von Figur 4 derart angepaßt ist, daß es am Steg 32 anflanschbar ist und die Nebenwelle 20 gegen eine Ölwanne kapselt. Die Kapselvorrichtung 49 umfaßt ferner in der dargestellten bevorzugten Ausführungsform Befestigungsaugen 52, Clipverbinder 54, einen Schnorchelflansch mit Deckel 56, einen Schnorchel 58 und eine Ölansaugöffnung 60.
Figur 6 zeigt detailliert den Bereich der Ölansaugöffnung 60, welcher neben dem Schnorchelflansch mit Deckel 56 zusätzlich ein Sieb 62 umfaßt. Der Deckel 56 mit dem in Figur 6 nicht sichtbaren Schnorchel 58 ist ölwannenseitig, d. h. in Einbaulage unterhalb der Kapselvorrichtung 49 angeordnet. An einer gegenüberliegenden, dem Kurbelgehäuse bzw. der Stützstruktur 3 zugewandten Seite in einem Innenraum der Kapselvorrichtung 49 ist ein einstückig mit dem Gehäuse 50 ausgebildeter Anschlußstutzen 66 vorgesehen. Bei der Montage der Kapselvorrichtung 49 an der Stützstruktur 3 wirkt dieser Anschlußstutzen 66 mit einem Ansaugstutzen 67 der Ölpumpe derart zusammen, daß die Ölpumpe mit dem Schnorchel 58 verbunden ist und aus einem Ölsumpf Öl pumpt und fördert. Der Anschlußstutzen 66 und die Ölpumpe bzw. deren Ansaugstutzen 67 sind derart angeordnet, daß diese Verbindung automatisch durch Aufsetzten der Kapselvorrichtung 49 hergestellt wird. Zusätzliche Montagearbeiten zum Anschluß der Ölpumpe entfallen demnach. Zugleich wirkt der Ansaugstutzen 67 als Zentrierung für das Gehäuse 50. Bei der Montage wird zunächst das Sieb 62 in die Ölansaugöffnung 60 ein- und der Deckel 56 aufgelegt. Letzterer stößt in diesem Montagestadium an eine um die Ölansaugöffnung 60 umlaufende Erhebung 68 an und ist dementsprechend vom Sieb 62 beabstandet. In einem nachfolgenden Bearbeitungsschritt wird der Deckel 56 auf die Erhebung 68 reibgeschweißt, wodurch die Erhebung 68 teilweise schmilzt und der Deckel 56 in Figur 6 nach unten wandert, bis er auf dem Sieb 66 aufliegt. Weiteres Reibschweißen verbindet nunmehr den Deckel 56 mit dem Sieb 66 und dem Gehäuse 50 am Umfang des Siebes 66 innerhalb der Erhebung 68. Dieses zweistufige Reibschweißen gewährleistet eine sichere, feste und dichte Verbindung im Bereich der Ölansaugöffnung 60.
In Figur 7 ist der Schnorchel 58 in ausgezogenen Linien für eine bestimmte Brennkraftmaschine gezeigt, während ein verkürzter Schnorchel 58 für eine bestimmte Brenkraftmaschine mit einem anderen Hubvolumen und/oder einer anderen Einbaulage gestrichelt dargestellt ist.
Figur 10 zeigt eine Detaildarstellung eines Befestigungsauges 52 am Gehäuse 50. Zum Befestigen der Kapselvorrichtung 49 wird ölwannenseitig in Pfeilrichtung 70 eine Schraube 53 durch das Befestigungsauge 52 durchgeführt und kurbelgehäuseseitig entweder am Kurbelgehäuse oder an den Befestigungspunkten 44 (Figur 1) der Stützstruktur 3 festgeschraubt. Ein integral mit dem Gehäuse 50 ausgebildeter Ringsteg 59 in einer Einsenkung 61 wird durch Anlage des Schraubenkopfes 53 a plastisch verpreßt und macht einen separaten Dichtring überflüssig. Das Schraubendrehmoment stützt sich am Kurbelgehäuse oder am Leiterrahmen ab, nicht jedoch am Gehäuse 50. Dadurch tritt kein selbständiges Lösen durch Kriechen des Gehäusewerkstoffes auf.
Die in Figuren 11 und 12 im Detail dargestellten Clipverbinder 54 könne zusätzlich zu den Befestigungsaugen 52 oder statt diesen vorgesehen sein. Der Clipverbinder 54 umfaßt ein hakenförmiges Element 55, welches über einen elastischen Arm 57 am Gehäuse 50 befestigt ist. Beim Aufschieben auf den Steg 32 umgreift das hakenförmige Element 55 den Steg 32, wie in Figur 12 dargestellt, und befestigt so das Gehäuse 50 in einer vorbestimmten Position unterhalb des Kurbelgehäuses. Eine eingelegte Dichtschnur 72 dichtet das Gehäuse 50 an einer umlaufenden Auflagefläche auf dem Steg 32 gegen den Innenraum der umgebenden Ölwanne ab. Die Clipverbindungen 54 haben den Vorteil, daß sie genauso einfach und schnell wieder zu lösen sind, wie sie vorher durch "aufclipsen" des Gehäuses 50 hergestellt wurden. So ist die Kapselvorrichtung 49 auch einfach und schnell wieder zu demontieren, beispielsweise für spätere Wartungs- oder Reparaturarbeiten.
Fig. 13 zeigt den Deckel 56 mit Sieb 62 in vergrößerter Darstellung in einer Ansicht von der Kurbelgehäuseseite her. Das Sieb 62 ist bevorzugt in einem vorbestimmten Winkel verkippt zur Ölwanne bzw. zum in dieser enthaltenen Ölsumpf angeordnet, so daß das von der Pumpe über das Sieb 62 geförderte Öl am Sieb 62 entlang eine vergrößerte Siebfläche überwinden muß. Auf diese Weise wird das geförderte Öl von Luftblasen befreit, die sich auf dem Sieb 62 abscheiden.
Die Kapselvorrichtung 49 verhindert in vorteilhafter Weise ein "panschen" der sich drehenden Nebenwelle 20 im Ölsumpf, was zu einem unerwünschten Aufschäumen des Öls und unnötiger Verlustarbeit führen würde. Der in die Kapselvorrichtung 49 integrierte Saugschnorchel 58 für die Ölpumpe reduziert die Gesamtzahl der Teile bei der Montage der Brennkraftmaschine. Die Kapselvorrichtung 49 nimmt beispielsweise nur zur Nebenwelle 20 zu ihrer Schmierung gefördertes Öl auf und das vom Kurbeltrieb abströmende Öl wird bei einer derartigen Ausführungsform vollständig an der Nebenwelle 20 vorbei in die Ölwanne geleitet.

Claims (17)

  1. Anordnung zum Einkapseln einer Nebenwelle einer Hubkolben-Brennkraftmaschine mit einem Kurbelgehäuse und einer am Kurbelgehäuse angeordneten Ölwanne, dadurch gekennzeichnet, daß
    eine wannenförmige Kapselvorrichtung (49) mit einer offenen Seite, einem Gehäuse (50) und einen um die offene Seite umlaufenden Wannenrand (64) vorgesehen ist, welche mit der offenen Seite in Richtung Kurbelgehäuse und die Nebenwelle umschließend und gegen die Ölwanne abkapselnd, in der Ölwanne angeordnet ist.
  2. Anordnung nach Anspruch 1,
    dadurch gekennzeichnet, daß
    an der Kapselvorrichtung (49) kurbelgehäuseseitig Befestigungsmittel (52, 54) ausgebildet sind.
  3. Anordnung nach Anspruch 2,
    dadurch gekennzeichnet, daß
    die Befestigungsmittel Befestigungsaugen (52) sind, durch welche Schrauben (53) hindurchsteckbar und kurbelgehäuseseitig festschraubbar sind.
  4. Anordnung nach Anspruch 2,
    dadurch gekennzeichnet, daß
    die Befestigungsmittel wenigstens einen Clipverschluß (54) umfassen.
  5. Anordnung nach einem der Ansprüche 2 bis 4,
    dadurch gekennzeichnet, daß
    die Befestigungsmittel (52, 54) an dem Wannenrand (64) ausgebildet sind.
  6. Anordnung nach einem der vorhergehenden Ansprüche,
    dadurch gekennzeichnet, daß
    die Kapselvorrichtung (49) am Gehäuse (50) eine Ölansaugöffnung (60) aufweist, welche derart angeordnet ist, daß bei montierter Kapselvorrichtung (49) kurbelgehäuseseitig ein Ansaugstutzen einer Ölpumpe mit dieser Ölansaugöffnung (60) verbunden ist.
  7. Anordnung nach Anspruch 6,
    dadurch gekennzeichnet, daß
    die Ölansaugöffnung (60) mit einem Sieb (62) versehen ist.
  8. Anordnung nach Anspruch 6 oder 7,
    dadurch gekennzeichnet, daß
    die Ölansaugöffnung (60) ölwannenseitig einen Schnorchel (58) aufweist, welcher in einen Ölsumpf in der Ölwanne ragt.
  9. Anordnung nach Anspruch 6, dadurch gekennzeichnet, daß in Einbaulage das Sieb (62) bezüglich des Ölströmweges schräg angeordnet ist.
  10. Anordnung nach einem der Ansprüche 6 bis 9,
    dadurch gekennzeichnet, daß
    ölwannenseitig an der Ölansaugöffnung (60) ein Schnorchelstutzen mit Deckel (56) angeordnet ist.
  11. Anordnung nach einem der vorhergehenden Ansprüche,
    dadurch gekennzeichnet, daß
    das Kurbelgehäuse ölwannenseitig einen von einem äußeren Rand des Kurbelgehäuses beabstandeten, umlaufenden Steg (32) aufweist, wobei eine Kontur des Wannenrandes (64) der Kapselvorrichtung (49) im wesentlichen diesem Steg (32) folgt, so daß die Kapselvorrichtung (49) an diesen Steg (32) anflanschbar ist.
  12. Anordnung nach einem der vorhergehenden Ansprüche,
    dadurch gekennzeichnet, daß
    zwischen Kapselvorrichtung (49) und Kurbelgehäuse eine Stützstruktur (3) vorgesehen ist, welche eine als Ausgleichswelle (20) ausgebildete Nebenwelle trägt.
  13. Anordnung nach Anspruch 12,
    dadurch gekennzeichnet, daß
    die Stützstruktur (3) ölwannenseitig einen von einem äußeren Rand der Stützstruktur beabstandeten, umlaufend Steg (32) aufweist, wobei eine Kontur des Wannenrandes (64) der Kapselvorrichtung (49) im wesentlichen diesem Steg (32) folgt, so daß die Kapselvorrichtung (49) an diesen Steg (32) anflanschbar ist.
  14. Anordnung nach Anspruch 13,
    dadurch gekennzeichnet, daß
    an der Kapselvorrichtung (49) vorgesehene Befestigungsmittel (54) auf diesen Steg (32) aufschnappen.
  15. Anordnung nach einem der vorhergehenden Ansprüche,
    dadurch gekennzeichnet, daß
    die Kapselvorrichtung (49) im Gehäuse (50) wenigstens eine Ölablauföffnung aufweist.
  16. Anordnung nach einem der vorhergehenden Ansprüche,
    dadurch gekennzeichnet, daß
    die Kapselvorrichtung (49) einstückig als Spritzgußteil ausgebildet ist.
  17. Brennkraftmaschine mit einer Nebenwelle,
    dadurch gekennzeichnet, daß
    eine Anordnung zum Einkapseln der Nebenwelle gemäß wenigstens einem der vorhergehenden Ansprüche vorgesehen ist.
EP98117181A 1997-09-19 1998-09-10 Anordnung zum Einkapseln einer Nebenwelle einer Hubkolben-Brennkraftmaschine Expired - Lifetime EP0903474B1 (de)

Applications Claiming Priority (2)

Application Number Priority Date Filing Date Title
DE19741448 1997-09-19
DE19741448A DE19741448A1 (de) 1997-09-19 1997-09-19 Anordnung zum Einkapseln einer Nebenwelle einer Hubkolben-Brennkraftmaschine

Publications (2)

Publication Number Publication Date
EP0903474A1 true EP0903474A1 (de) 1999-03-24
EP0903474B1 EP0903474B1 (de) 2002-07-10

Family

ID=7842989

Family Applications (1)

Application Number Title Priority Date Filing Date
EP98117181A Expired - Lifetime EP0903474B1 (de) 1997-09-19 1998-09-10 Anordnung zum Einkapseln einer Nebenwelle einer Hubkolben-Brennkraftmaschine

Country Status (2)

Country Link
EP (1) EP0903474B1 (de)
DE (2) DE19741448A1 (de)

Cited By (2)

* Cited by examiner, † Cited by third party
Publication number Priority date Publication date Assignee Title
WO2005003526A1 (de) * 2003-07-02 2005-01-13 Mtu Friedrichshafen Gmbh Abdeckplatte für ein kurbelgehäuse
CN110259885A (zh) * 2019-06-26 2019-09-20 浙江吉利控股集团有限公司 一种用于车辆的发动机平衡系统

Citations (5)

* Cited by examiner, † Cited by third party
Publication number Priority date Publication date Assignee Title
EP0291358A2 (de) * 1987-05-15 1988-11-17 Honda Giken Kogyo Kabushiki Kaisha Brennkraftmaschine
DE4204522C1 (en) 1992-02-15 1993-04-15 Mercedes-Benz Aktiengesellschaft, 7000 Stuttgart, De IC engine silencer with lower cover shell - has oil flow shell aperture opening into noise damping chamber
EP0634566A1 (de) 1993-07-12 1995-01-18 Dr.Ing.h.c. F. Porsche Aktiengesellschaft Vorrichtung zum Führen von Schmieröl in einer Brennkraftmaschine
US5535643A (en) * 1993-11-12 1996-07-16 General Motors Corporation Anti-rattle engine balancer which drives associated oil pump
EP0809041A2 (de) * 1996-05-20 1997-11-26 Audi Ag Vorrichtung zum Ausgleich von Massenmomenten an Hubkolben-Brennkraftmaschinen

Family Cites Families (4)

* Cited by examiner, † Cited by third party
Publication number Priority date Publication date Assignee Title
DE3321751A1 (de) * 1983-06-16 1984-12-20 Dr.Ing.H.C. F. Porsche Ag, 7000 Stuttgart Brennkraftmaschine fuer fahrzeuge, insb. fuer motorraeder
US4677948A (en) * 1986-05-29 1987-07-07 Chrysler Motors Corporation Lubricating system for an engine balancing device
JPH0211418A (ja) * 1988-06-29 1990-01-16 Honda Motor Co Ltd 車両の駆動装置
US5479886A (en) * 1995-05-12 1996-01-02 Cummins Engine Engine oil capacitor

Patent Citations (5)

* Cited by examiner, † Cited by third party
Publication number Priority date Publication date Assignee Title
EP0291358A2 (de) * 1987-05-15 1988-11-17 Honda Giken Kogyo Kabushiki Kaisha Brennkraftmaschine
DE4204522C1 (en) 1992-02-15 1993-04-15 Mercedes-Benz Aktiengesellschaft, 7000 Stuttgart, De IC engine silencer with lower cover shell - has oil flow shell aperture opening into noise damping chamber
EP0634566A1 (de) 1993-07-12 1995-01-18 Dr.Ing.h.c. F. Porsche Aktiengesellschaft Vorrichtung zum Führen von Schmieröl in einer Brennkraftmaschine
US5535643A (en) * 1993-11-12 1996-07-16 General Motors Corporation Anti-rattle engine balancer which drives associated oil pump
EP0809041A2 (de) * 1996-05-20 1997-11-26 Audi Ag Vorrichtung zum Ausgleich von Massenmomenten an Hubkolben-Brennkraftmaschinen

Cited By (3)

* Cited by examiner, † Cited by third party
Publication number Priority date Publication date Assignee Title
WO2005003526A1 (de) * 2003-07-02 2005-01-13 Mtu Friedrichshafen Gmbh Abdeckplatte für ein kurbelgehäuse
CN100443699C (zh) * 2003-07-02 2008-12-17 Mtu腓特烈港有限责任公司 曲轴箱盖板
CN110259885A (zh) * 2019-06-26 2019-09-20 浙江吉利控股集团有限公司 一种用于车辆的发动机平衡系统

Also Published As

Publication number Publication date
EP0903474B1 (de) 2002-07-10
DE59804711D1 (de) 2002-08-14
DE19741448A1 (de) 1999-03-25

Similar Documents

Publication Publication Date Title
DE19619977C2 (de) Ölwanne für eine Brennkraftmaschine
DE3226189C2 (de)
DE60024738T2 (de) Ausgleichswellengehäuse
DE3240237A1 (de) Viertakt-verbrennungsmotor
DE69907786T2 (de) Brennkraftmaschine mit Anti-Schaumvorrichtung
DE102011003003B4 (de) Steuerkettengehäusestruktur für Motor
DE2920081C2 (de) Brennkraftmaschine, dessen Triebwerksträger über kraftübertragende und körperschallisolierende Elemente am Kurbelgehäuse abgestützt ist
EP0809041A2 (de) Vorrichtung zum Ausgleich von Massenmomenten an Hubkolben-Brennkraftmaschinen
DE68905924T2 (de) Heckantrieb mit schmiervorrichtung, die durch das gehäuse geht.
DE19630545A1 (de) Ölpumpenzahnkranzabdeckung für einen Verbrennungsmotor
DE2423383A1 (de) Fluidumlaufpumpe
DE69202605T2 (de) Hubkolbenmaschine.
EP0903474B1 (de) Anordnung zum Einkapseln einer Nebenwelle einer Hubkolben-Brennkraftmaschine
DE3005728A1 (de) Kupplung
DE19947271C2 (de) Mehrzylinder-Brennkraftmaschine mit zumindest einer ersten Ausgleichswelle
DE102009025453B4 (de) Ausgleichswellenmodul
EP1164262B1 (de) Ölmodul für eine Brennkraftmaschine
DE2908434A1 (de) Waermepumpen-antriebsaggregat mit einem kompressor und einer brennkraftmaschine
DE69812053T2 (de) Überwanne zur Ölwanne und Brennkraftmaschine mit dieser Überwanne
DE4202161C2 (de)
DE102005061475A1 (de) Wasserpumpe
EP0030597B1 (de) Brennkraftmaschine mit einer Einspritzpumpenanordnung
EP1867862A2 (de) Ölpumpenvorrichtung für eine Brennkraftmaschine mit einer Ölwanne
DE4223544A1 (de) Pumpe, insbesondere Wasserpumpe, für Kraftfahrzeuge
EP0995906A1 (de) Motorgetriebene Doppelpumpe der Kreiselpumpenbauart

Legal Events

Date Code Title Description
PUAI Public reference made under article 153(3) epc to a published international application that has entered the european phase

Free format text: ORIGINAL CODE: 0009012

AK Designated contracting states

Kind code of ref document: A1

Designated state(s): DE ES FR GB IT SE

AX Request for extension of the european patent

Free format text: AL;LT;LV;MK;RO;SI

17P Request for examination filed

Effective date: 19990924

AKX Designation fees paid

Free format text: DE ES FR GB IT SE

17Q First examination report despatched

Effective date: 20010704

GRAG Despatch of communication of intention to grant

Free format text: ORIGINAL CODE: EPIDOS AGRA

GRAG Despatch of communication of intention to grant

Free format text: ORIGINAL CODE: EPIDOS AGRA

GRAG Despatch of communication of intention to grant

Free format text: ORIGINAL CODE: EPIDOS AGRA

GRAH Despatch of communication of intention to grant a patent

Free format text: ORIGINAL CODE: EPIDOS IGRA

GRAH Despatch of communication of intention to grant a patent

Free format text: ORIGINAL CODE: EPIDOS IGRA

GRAA (expected) grant

Free format text: ORIGINAL CODE: 0009210

AK Designated contracting states

Kind code of ref document: B1

Designated state(s): DE ES FR GB IT SE

REG Reference to a national code

Ref country code: GB

Ref legal event code: FG4D

Free format text: NOT ENGLISH

REF Corresponds to:

Ref document number: 59804711

Country of ref document: DE

Date of ref document: 20020814

GBT Gb: translation of ep patent filed (gb section 77(6)(a)/1977)

Effective date: 20020902

PG25 Lapsed in a contracting state [announced via postgrant information from national office to epo]

Ref country code: SE

Free format text: LAPSE BECAUSE OF FAILURE TO SUBMIT A TRANSLATION OF THE DESCRIPTION OR TO PAY THE FEE WITHIN THE PRESCRIBED TIME-LIMIT

Effective date: 20021010

ET Fr: translation filed
PG25 Lapsed in a contracting state [announced via postgrant information from national office to epo]

Ref country code: ES

Free format text: LAPSE BECAUSE OF FAILURE TO SUBMIT A TRANSLATION OF THE DESCRIPTION OR TO PAY THE FEE WITHIN THE PRESCRIBED TIME-LIMIT

Effective date: 20030130

PLBE No opposition filed within time limit

Free format text: ORIGINAL CODE: 0009261

STAA Information on the status of an ep patent application or granted ep patent

Free format text: STATUS: NO OPPOSITION FILED WITHIN TIME LIMIT

26N No opposition filed

Effective date: 20030411

PGFP Annual fee paid to national office [announced via postgrant information from national office to epo]

Ref country code: GB

Payment date: 20070822

Year of fee payment: 10

PGFP Annual fee paid to national office [announced via postgrant information from national office to epo]

Ref country code: IT

Payment date: 20070913

Year of fee payment: 10

PGFP Annual fee paid to national office [announced via postgrant information from national office to epo]

Ref country code: FR

Payment date: 20070904

Year of fee payment: 10

GBPC Gb: european patent ceased through non-payment of renewal fee

Effective date: 20080910

REG Reference to a national code

Ref country code: FR

Ref legal event code: ST

Effective date: 20090529

PG25 Lapsed in a contracting state [announced via postgrant information from national office to epo]

Ref country code: IT

Free format text: LAPSE BECAUSE OF NON-PAYMENT OF DUE FEES

Effective date: 20080910

PG25 Lapsed in a contracting state [announced via postgrant information from national office to epo]

Ref country code: FR

Free format text: LAPSE BECAUSE OF NON-PAYMENT OF DUE FEES

Effective date: 20080930

PG25 Lapsed in a contracting state [announced via postgrant information from national office to epo]

Ref country code: GB

Free format text: LAPSE BECAUSE OF NON-PAYMENT OF DUE FEES

Effective date: 20080910

PGFP Annual fee paid to national office [announced via postgrant information from national office to epo]

Ref country code: DE

Payment date: 20140930

Year of fee payment: 17

REG Reference to a national code

Ref country code: DE

Ref legal event code: R119

Ref document number: 59804711

Country of ref document: DE

PG25 Lapsed in a contracting state [announced via postgrant information from national office to epo]

Ref country code: DE

Free format text: LAPSE BECAUSE OF NON-PAYMENT OF DUE FEES

Effective date: 20160401