EP0899445A3 - Liquid cooled cylinder head for a multi-cylinder internal combustion engine - Google Patents
Liquid cooled cylinder head for a multi-cylinder internal combustion engine Download PDFInfo
- Publication number
- EP0899445A3 EP0899445A3 EP98114792A EP98114792A EP0899445A3 EP 0899445 A3 EP0899445 A3 EP 0899445A3 EP 98114792 A EP98114792 A EP 98114792A EP 98114792 A EP98114792 A EP 98114792A EP 0899445 A3 EP0899445 A3 EP 0899445A3
- Authority
- EP
- European Patent Office
- Prior art keywords
- cylinder head
- internal combustion
- combustion engine
- cylinder
- liquid
- Prior art date
- Legal status (The legal status is an assumption and is not a legal conclusion. Google has not performed a legal analysis and makes no representation as to the accuracy of the status listed.)
- Granted
Links
- 238000002485 combustion reaction Methods 0.000 title abstract 4
- 239000007788 liquid Substances 0.000 title 1
- 239000000498 cooling water Substances 0.000 abstract 1
- 238000002347 injection Methods 0.000 abstract 1
- 239000007924 injection Substances 0.000 abstract 1
Classifications
-
- F—MECHANICAL ENGINEERING; LIGHTING; HEATING; WEAPONS; BLASTING
- F02—COMBUSTION ENGINES; HOT-GAS OR COMBUSTION-PRODUCT ENGINE PLANTS
- F02F—CYLINDERS, PISTONS OR CASINGS, FOR COMBUSTION ENGINES; ARRANGEMENTS OF SEALINGS IN COMBUSTION ENGINES
- F02F1/00—Cylinders; Cylinder heads
- F02F1/24—Cylinder heads
- F02F1/26—Cylinder heads having cooling means
- F02F1/36—Cylinder heads having cooling means for liquid cooling
- F02F1/40—Cylinder heads having cooling means for liquid cooling cylinder heads with means for directing, guiding, or distributing liquid stream
-
- F—MECHANICAL ENGINEERING; LIGHTING; HEATING; WEAPONS; BLASTING
- F02—COMBUSTION ENGINES; HOT-GAS OR COMBUSTION-PRODUCT ENGINE PLANTS
- F02F—CYLINDERS, PISTONS OR CASINGS, FOR COMBUSTION ENGINES; ARRANGEMENTS OF SEALINGS IN COMBUSTION ENGINES
- F02F1/00—Cylinders; Cylinder heads
- F02F1/24—Cylinder heads
- F02F1/26—Cylinder heads having cooling means
- F02F1/36—Cylinder heads having cooling means for liquid cooling
- F02F1/38—Cylinder heads having cooling means for liquid cooling the cylinder heads being of overhead valve type
Landscapes
- Engineering & Computer Science (AREA)
- Chemical & Material Sciences (AREA)
- Combustion & Propulsion (AREA)
- Mechanical Engineering (AREA)
- General Engineering & Computer Science (AREA)
- Cylinder Crankcases Of Internal Combustion Engines (AREA)
Abstract
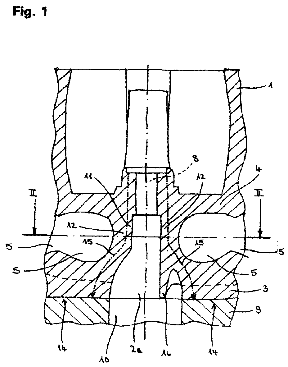
Die Erfindung bezieht sich auf einen flüssigkeitsgekühlten Zylinderkopf (1)
einer mehrzylindrigen Brennkraftmaschine mit einem
Kühlwasserraum (2), in dem in Richtung einer Motorquerachse (7) verlaufende
Gaswechselkanäle (5) und mindestens eine Kammer (6) für eine
Zündkerze und/oder eine Einspritzdüse angeordnet sind, und mit
Schraubenpfeifen (11) zur Verteilung der Schraubenspannkräfte der
Zylinderkopfschrauben (8), wobei der Zylinderkopf (1) unter Zwischenschaltung
einer Zylinderkopfdichtung mit einem Kurbelgehäuse (9)
der Brennkraftmaschine verbindbar ist.
Um einen flüssigkeitsgekühlten Zylinderkopf (1) einer mehrzylindrigen
Brennkraftmaschine so auszubilden, daß auch bei beengten
Platzverhältnissen eine möglichst hohe und gleichmäßige Flächenpressung
der Zylinderkopfdichtung auch in den Bereichen
zwischen den Zylinderkopfschrauben (8) zu erzielen ist, wird erfindungsgemäß
vorgeschlagen, daß benachbarte Wandabschnitte der
Gaswechselkanäle (5) im Bereich der Zylinderkopfschrauben (8) zur Bildung
von Rippen verdickt ausgeformt sind, die Teil der Schraubenpfeifen (11)
sind.
The invention relates to a liquid-cooled cylinder head (1) of a multi-cylinder internal combustion engine with a cooling water chamber (2), in which gas exchange channels (5) extending in the direction of a transverse engine axis (7) and at least one chamber (6) for a spark plug and / or an injection nozzle are arranged, and with screw pipes (11) for distributing the screw clamping forces of the cylinder head screws (8), the cylinder head (1) being connectable to a crankcase (9) of the internal combustion engine with the interposition of a cylinder head gasket.
In order to design a liquid-cooled cylinder head (1) of a multi-cylinder internal combustion engine in such a way that the greatest possible and uniform surface pressure of the cylinder head gasket can also be achieved in the areas between the cylinder head bolts (8), even in confined spaces, it is proposed according to the invention that adjacent wall sections of the gas exchange channels ( 5) are thickened in the area of the cylinder head screws (8) to form ribs which are part of the screw pipes (11).
Applications Claiming Priority (2)
| Application Number | Priority Date | Filing Date | Title |
|---|---|---|---|
| DE19737492A DE19737492C1 (en) | 1997-08-28 | 1997-08-28 | Liquid cooled cylinder head for motor vehicle internal combustion engine |
| DE19737492 | 1997-08-28 |
Publications (3)
| Publication Number | Publication Date |
|---|---|
| EP0899445A2 EP0899445A2 (en) | 1999-03-03 |
| EP0899445A3 true EP0899445A3 (en) | 2000-01-12 |
| EP0899445B1 EP0899445B1 (en) | 2003-02-26 |
Family
ID=7840435
Family Applications (1)
| Application Number | Title | Priority Date | Filing Date |
|---|---|---|---|
| EP98114792A Expired - Lifetime EP0899445B1 (en) | 1997-08-28 | 1998-08-06 | Liquid cooled cylinder head for a multi-cylinder internal combustion engine |
Country Status (3)
| Country | Link |
|---|---|
| US (1) | US6129064A (en) |
| EP (1) | EP0899445B1 (en) |
| DE (1) | DE19737492C1 (en) |
Families Citing this family (2)
| Publication number | Priority date | Publication date | Assignee | Title |
|---|---|---|---|---|
| DE102009041708A1 (en) * | 2009-09-16 | 2011-03-24 | GM Global Technology Operations, Inc., Detroit | Screw pipe for cylinder head of internal combustion engine of vehicle, particularly motor vehicle, has area, where area is formed as truncated cone with base surface, cover surface and lateral area |
| KR20130127546A (en) * | 2011-04-11 | 2013-11-22 | 도요타 지도샤(주) | Cylinder head of internal combustion engine |
Citations (6)
| Publication number | Priority date | Publication date | Assignee | Title |
|---|---|---|---|---|
| DE3228922A1 (en) * | 1982-08-03 | 1984-02-09 | M.A.N. Maschinenfabrik Augsburg-Nürnberg AG, 8500 Nürnberg | Connection of preferably dynamically highly-stressed machine parts by means of a plurality of long bolts and a plurality of short bolts |
| US4530323A (en) * | 1982-12-20 | 1985-07-23 | Mazda Motor Corporation | Cylinder head structure of engine |
| US4658763A (en) * | 1985-04-12 | 1987-04-21 | Daimler-Benz Aktiengesellschaft | Liquid-cooled four-valve cylinder head for a multi-cylinder internalcombustion engine |
| US5069176A (en) * | 1986-05-16 | 1991-12-03 | Audi Ag | Internal combustion engine |
| EP0579918A1 (en) * | 1992-07-18 | 1994-01-26 | Bayerische Motoren Werke Aktiengesellschaft | Fastening system for a cylinder head of an internal combustion engine |
| DE19644530C1 (en) * | 1996-10-26 | 1998-02-12 | Daimler Benz Ag | Cylinder head for multi-cylinder IC engine |
Family Cites Families (11)
| Publication number | Priority date | Publication date | Assignee | Title |
|---|---|---|---|---|
| DE1220202B (en) * | 1964-05-08 | 1966-06-30 | Daimler Benz Ag | Arrangement of cylinder liners, in particular wet cylinder liners in internal combustion engines |
| DE1301655C2 (en) * | 1965-01-12 | 1970-04-23 | Daimler Benz Ag | Internal combustion engine with fluid-cooled cylinder liners |
| DE2143734B2 (en) * | 1971-09-01 | 1973-10-04 | Daimler-Benz Ag, 7000 Stuttgart | Internal combustion engine with an intermediate pipe inserted into the passage for the cooling water between the cylinder head and the crankcase |
| JPS5996341A (en) * | 1982-11-22 | 1984-06-02 | 株式会社 中井(保)組 | Installation of cylinder in underground |
| DE3545333A1 (en) * | 1985-12-20 | 1987-07-02 | Kloeckner Humboldt Deutz Ag | CYLINDER HEAD |
| DE3726027A1 (en) * | 1987-08-05 | 1989-02-16 | Alcan Gmbh | HEAT-INPUTED COMPONENT |
| DE3836117C1 (en) * | 1988-10-22 | 1989-07-27 | Krupp Mak Maschinenbau Gmbh, 2300 Kiel, De | Cylinder head for internal combustion engines |
| DE3922885A1 (en) * | 1989-07-12 | 1991-01-17 | Man Nutzfahrzeuge Ag | CYLINDER HEAD GASKET FOR PISTON PISTON, IN PARTICULAR COMBUSTION ENGINES |
| IT1270244B (en) * | 1993-07-23 | 1997-04-29 | Porsche Ag | SCREW COUPLING OF THE CYLINDER HEAD OF AN INTERNAL COMBUSTION ENGINE |
| US5630389A (en) * | 1995-09-29 | 1997-05-20 | Self; Kevin G. | Cylinder head bolt plug |
| SE9503622L (en) * | 1995-10-13 | 1996-09-23 | Scania Cv Ab | Apparatus for sealing an internal combustion engine's combustion chamber |
-
1997
- 1997-08-28 DE DE19737492A patent/DE19737492C1/en not_active Expired - Fee Related
-
1998
- 1998-08-06 EP EP98114792A patent/EP0899445B1/en not_active Expired - Lifetime
- 1998-08-28 US US09/143,626 patent/US6129064A/en not_active Expired - Fee Related
Patent Citations (6)
| Publication number | Priority date | Publication date | Assignee | Title |
|---|---|---|---|---|
| DE3228922A1 (en) * | 1982-08-03 | 1984-02-09 | M.A.N. Maschinenfabrik Augsburg-Nürnberg AG, 8500 Nürnberg | Connection of preferably dynamically highly-stressed machine parts by means of a plurality of long bolts and a plurality of short bolts |
| US4530323A (en) * | 1982-12-20 | 1985-07-23 | Mazda Motor Corporation | Cylinder head structure of engine |
| US4658763A (en) * | 1985-04-12 | 1987-04-21 | Daimler-Benz Aktiengesellschaft | Liquid-cooled four-valve cylinder head for a multi-cylinder internalcombustion engine |
| US5069176A (en) * | 1986-05-16 | 1991-12-03 | Audi Ag | Internal combustion engine |
| EP0579918A1 (en) * | 1992-07-18 | 1994-01-26 | Bayerische Motoren Werke Aktiengesellschaft | Fastening system for a cylinder head of an internal combustion engine |
| DE19644530C1 (en) * | 1996-10-26 | 1998-02-12 | Daimler Benz Ag | Cylinder head for multi-cylinder IC engine |
Also Published As
| Publication number | Publication date |
|---|---|
| EP0899445A2 (en) | 1999-03-03 |
| EP0899445B1 (en) | 2003-02-26 |
| US6129064A (en) | 2000-10-10 |
| DE19737492C1 (en) | 1998-10-29 |
Similar Documents
| Publication | Publication Date | Title |
|---|---|---|
| DE69401535T2 (en) | Cylinder block for an internal combustion engine | |
| DE3838953A1 (en) | CYLINDER HEAD COOLING DEVICE FOR WATER-COOLED MULTI-CYLINDER INTERNAL COMBUSTION ENGINES | |
| GB2162907A (en) | A crankshaft bearing for use in a internal-combustion | |
| DE3330554A1 (en) | PISTON FOR INTERNAL COMBUSTION ENGINES | |
| GB2198186A (en) | Mounting two camshafts on an i.c. engine cylinder head | |
| DE3543747A1 (en) | CYLINDER BLOCK AND HEAD UNIT FOR AN INTERNAL COMBUSTION ENGINE | |
| EP0088157B1 (en) | Cylinder head for a water-cooled internal-combustion engine | |
| DE102010047325B4 (en) | Internal combustion engine with a cylinder housing made of light metal cast and with cylinder liners made of rough cast | |
| DE4342800A1 (en) | Reciprocating internal combustion engine | |
| DE3000127A1 (en) | CYLINDER HEAD FOR COMPRESSION-IGNITIONED INTERNAL COMBUSTION ENGINES | |
| EP0695866A1 (en) | Cylinder block for an internal combustion engine with a water jacket made of aluminium | |
| EP0899445A3 (en) | Liquid cooled cylinder head for a multi-cylinder internal combustion engine | |
| EP0838586B1 (en) | Cylinder head for a multi-cylinder internal combustion engine | |
| DE69522681T2 (en) | INTERNAL COMBUSTION ENGINE WITH CYLINDER RIFLE WITH PARALLEL COOLING FLOW AND METHOD FOR COOLING | |
| GB2187791A (en) | I.c. engine passages communicating the crankcase and valve gear regions | |
| DE4030652C2 (en) | ||
| DE4121504A1 (en) | Four-valve cylinder head - has inlet manifold and overhead camshafts with air intake pipe in upper and side part | |
| WO2003100237A1 (en) | Cylinder head of an internal combustion engine | |
| DE102004062522A1 (en) | Cylinder head with stiffening | |
| DE10160731A1 (en) | Internal combustion engine | |
| DE3741838A1 (en) | CYLINDER BLOCK FOR A WATER-COOLED PISTON COMBUSTION ENGINE | |
| WO1998045591A1 (en) | Multicylinder four-stroke internal combustion engine | |
| DE69826429T2 (en) | Cylinder block construction | |
| DE2055902A1 (en) | Multi-cylinder internal combustion engine | |
| DE10029241A1 (en) | Cylinder head mounting at the cylinder block of an IC motor has claws at the inlet and exhaust manifold flanges to engage recesses with screw bolts to dispense with conventional bolts and give more space for the gas channels |
Legal Events
| Date | Code | Title | Description |
|---|---|---|---|
| PUAI | Public reference made under article 153(3) epc to a published international application that has entered the european phase |
Free format text: ORIGINAL CODE: 0009012 |
|
| AK | Designated contracting states |
Kind code of ref document: A2 Designated state(s): DE FR GB IT Kind code of ref document: A2 Designated state(s): FR GB IT |
|
| AX | Request for extension of the european patent |
Free format text: AL;LT;LV;MK;RO;SI |
|
| RAP1 | Party data changed (applicant data changed or rights of an application transferred) |
Owner name: DAIMLERCHRYSLER AG |
|
| PUAL | Search report despatched |
Free format text: ORIGINAL CODE: 0009013 |
|
| AK | Designated contracting states |
Kind code of ref document: A3 Designated state(s): AT BE CH CY DE DK ES FI FR GB GR IE IT LI LU MC NL PT SE |
|
| AX | Request for extension of the european patent |
Free format text: AL;LT;LV;MK;RO;SI |
|
| 17P | Request for examination filed |
Effective date: 19991209 |
|
| AKX | Designation fees paid |
Free format text: DE FR GB IT |
|
| GRAG | Despatch of communication of intention to grant |
Free format text: ORIGINAL CODE: EPIDOS AGRA |
|
| 17Q | First examination report despatched |
Effective date: 20020625 |
|
| GRAG | Despatch of communication of intention to grant |
Free format text: ORIGINAL CODE: EPIDOS AGRA |
|
| GRAH | Despatch of communication of intention to grant a patent |
Free format text: ORIGINAL CODE: EPIDOS IGRA |
|
| GRAH | Despatch of communication of intention to grant a patent |
Free format text: ORIGINAL CODE: EPIDOS IGRA |
|
| RBV | Designated contracting states (corrected) |
Designated state(s): FR GB IT |
|
| GRAA | (expected) grant |
Free format text: ORIGINAL CODE: 0009210 |
|
| REG | Reference to a national code |
Ref country code: DE Ref legal event code: 8566 |
|
| AK | Designated contracting states |
Designated state(s): FR GB IT |
|
| REG | Reference to a national code |
Ref country code: GB Ref legal event code: FG4D Free format text: NOT ENGLISH |
|
| GBT | Gb: translation of ep patent filed (gb section 77(6)(a)/1977) |
Effective date: 20030509 |
|
| ET | Fr: translation filed | ||
| PLBE | No opposition filed within time limit |
Free format text: ORIGINAL CODE: 0009261 |
|
| STAA | Information on the status of an ep patent application or granted ep patent |
Free format text: STATUS: NO OPPOSITION FILED WITHIN TIME LIMIT |
|
| 26N | No opposition filed |
Effective date: 20031127 |
|
| PGFP | Annual fee paid to national office [announced via postgrant information from national office to epo] |
Ref country code: GB Payment date: 20050725 Year of fee payment: 8 |
|
| PGFP | Annual fee paid to national office [announced via postgrant information from national office to epo] |
Ref country code: FR Payment date: 20050812 Year of fee payment: 8 |
|
| PGFP | Annual fee paid to national office [announced via postgrant information from national office to epo] |
Ref country code: IT Payment date: 20060831 Year of fee payment: 9 |
|
| GBPC | Gb: european patent ceased through non-payment of renewal fee |
Effective date: 20060806 |
|
| REG | Reference to a national code |
Ref country code: FR Ref legal event code: ST Effective date: 20070430 |
|
| PG25 | Lapsed in a contracting state [announced via postgrant information from national office to epo] |
Ref country code: GB Free format text: LAPSE BECAUSE OF NON-PAYMENT OF DUE FEES Effective date: 20060806 |
|
| PG25 | Lapsed in a contracting state [announced via postgrant information from national office to epo] |
Ref country code: FR Free format text: LAPSE BECAUSE OF NON-PAYMENT OF DUE FEES Effective date: 20060831 |
|
| PG25 | Lapsed in a contracting state [announced via postgrant information from national office to epo] |
Ref country code: IT Free format text: LAPSE BECAUSE OF NON-PAYMENT OF DUE FEES Effective date: 20070806 |
