EP0843390A3 - Universal manual crimping tool - Google Patents
Universal manual crimping tool Download PDFInfo
- Publication number
- EP0843390A3 EP0843390A3 EP97111216A EP97111216A EP0843390A3 EP 0843390 A3 EP0843390 A3 EP 0843390A3 EP 97111216 A EP97111216 A EP 97111216A EP 97111216 A EP97111216 A EP 97111216A EP 0843390 A3 EP0843390 A3 EP 0843390A3
- Authority
- EP
- European Patent Office
- Prior art keywords
- hand
- shaped
- angled
- profiles
- holder
- Prior art date
- Legal status (The legal status is an assumption and is not a legal conclusion. Google has not performed a legal analysis and makes no representation as to the accuracy of the status listed.)
- Granted
Links
Classifications
-
- B—PERFORMING OPERATIONS; TRANSPORTING
- B26—HAND CUTTING TOOLS; CUTTING; SEVERING
- B26F—PERFORATING; PUNCHING; CUTTING-OUT; STAMPING-OUT; SEVERING BY MEANS OTHER THAN CUTTING
- B26F1/00—Perforating; Punching; Cutting-out; Stamping-out; Apparatus therefor
- B26F1/32—Hand-held perforating or punching apparatus, e.g. awls
- B26F1/36—Punching or perforating pliers
-
- B—PERFORMING OPERATIONS; TRANSPORTING
- B25—HAND TOOLS; PORTABLE POWER-DRIVEN TOOLS; MANIPULATORS
- B25B—TOOLS OR BENCH DEVICES NOT OTHERWISE PROVIDED FOR, FOR FASTENING, CONNECTING, DISENGAGING OR HOLDING
- B25B7/00—Pliers; Other hand-held gripping tools with jaws on pivoted limbs; Details applicable generally to pivoted-limb hand tools
- B25B7/02—Jaws
-
- B—PERFORMING OPERATIONS; TRANSPORTING
- B25—HAND TOOLS; PORTABLE POWER-DRIVEN TOOLS; MANIPULATORS
- B25B—TOOLS OR BENCH DEVICES NOT OTHERWISE PROVIDED FOR, FOR FASTENING, CONNECTING, DISENGAGING OR HOLDING
- B25B7/00—Pliers; Other hand-held gripping tools with jaws on pivoted limbs; Details applicable generally to pivoted-limb hand tools
- B25B7/12—Pliers; Other hand-held gripping tools with jaws on pivoted limbs; Details applicable generally to pivoted-limb hand tools involving special transmission means between the handles and the jaws, e.g. toggle levers, gears
-
- H—ELECTRICITY
- H01—ELECTRIC ELEMENTS
- H01R—ELECTRICALLY-CONDUCTIVE CONNECTIONS; STRUCTURAL ASSOCIATIONS OF A PLURALITY OF MUTUALLY-INSULATED ELECTRICAL CONNECTING ELEMENTS; COUPLING DEVICES; CURRENT COLLECTORS
- H01R43/00—Apparatus or processes specially adapted for manufacturing, assembling, maintaining, or repairing of line connectors or current collectors or for joining electric conductors
- H01R43/04—Apparatus or processes specially adapted for manufacturing, assembling, maintaining, or repairing of line connectors or current collectors or for joining electric conductors for forming connections by deformation, e.g. crimping tool
- H01R43/042—Hand tools for crimping
- H01R43/0421—Hand tools for crimping combined with other functions, e.g. cutting
-
- B—PERFORMING OPERATIONS; TRANSPORTING
- B26—HAND CUTTING TOOLS; CUTTING; SEVERING
- B26F—PERFORATING; PUNCHING; CUTTING-OUT; STAMPING-OUT; SEVERING BY MEANS OTHER THAN CUTTING
- B26F1/00—Perforating; Punching; Cutting-out; Stamping-out; Apparatus therefor
- B26F1/32—Hand-held perforating or punching apparatus, e.g. awls
- B26F1/36—Punching or perforating pliers
- B26F2001/365—Punching or perforating pliers hand held pliers with handles
Landscapes
- Engineering & Computer Science (AREA)
- Mechanical Engineering (AREA)
- Manufacturing & Machinery (AREA)
- Life Sciences & Earth Sciences (AREA)
- Forests & Forestry (AREA)
- Gripping Jigs, Holding Jigs, And Positioning Jigs (AREA)
- Hand Tools For Fitting Together And Separating, Or Other Hand Tools (AREA)
- Connection Of Plates (AREA)
- Clamps And Clips (AREA)
Abstract
Universell verwendbare Handsickenzange, welche sich für die verschiedensten Arbeitsgänge der Kaltverformung eignet, beispielsweise für entsprechend vorbereitete Decken CD- oder U-Profile.Universally applicable hand crimping pliers, which are suitable for a wide variety of operations cold forming is suitable, for example, for appropriately prepared ceilings CD or U profiles.
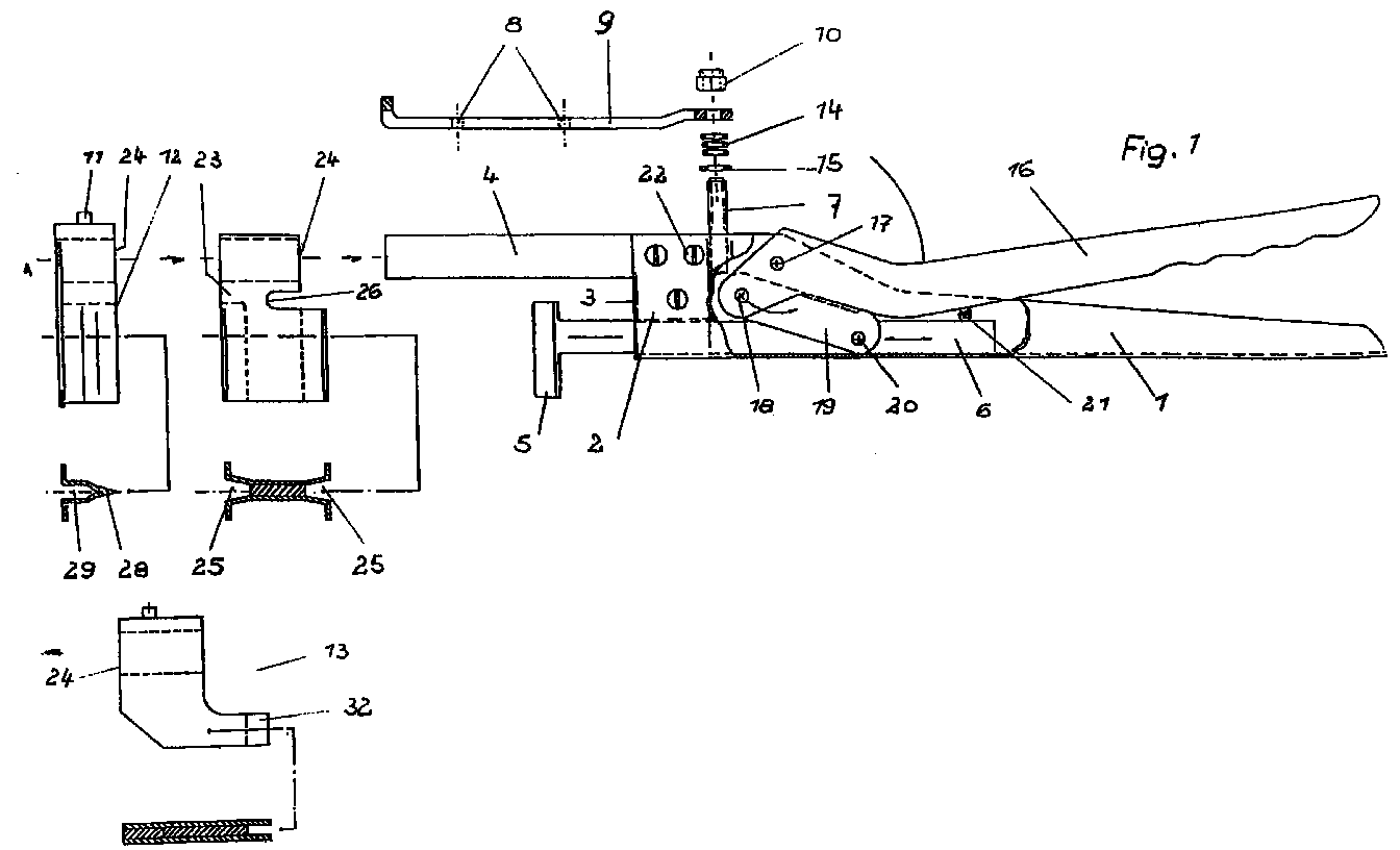
Ein Grundelement (1) als statischer Teil, beispielsweise aus U-förmigen Stahlblech, ist an seiner Vorderseite so abgewinkelt und verjüngt, daß durch die sich so ergebenden parallelen Außenseiten (2) ein Befestigungs- und Führungsteil (3) entsteht, in welches einerseits im oberen Teil eine rechtwinklige und L-förmige Gesenkaufnahme (4) mit einem stirnseitig daran fest verbundenen Schraubbolzen (7) als Halterung für eine Gesenkarretierung (9) eingebracht wird und andererseits im unteren Teil eine Gleitaufnahme, in der ein aus Flachstahl bestehender mit einein Kerbsickenkeil (5) fest verbundener Schaft (6) aufgenommen wird, der durch die Unterseite des L-förmig ausgebildeten Teiles der Gesenkaufnahme (4) sowie durch einen Bolzen (21), der gleichzeitig auch als Anschlag für einen Hebel (16) mit einem Griffelement dient, geführt wird.A basic element (1) as a static part, for example made of U-shaped steel sheet, is on its front so angled and tapered that through the resulting parallel Outside (2) a fastening and guide part (3) is formed, in which on the one hand in upper part of a right-angled and L-shaped die holder (4) with a front screw bolts (7) firmly attached to it as a holder for a die lock (9) and on the other hand in the lower part a sliding mount in which a flat steel existing shaft (6) which is fixedly connected to a notched bead wedge (5), which through the underside of the L-shaped part of the die holder (4) and through a bolt (21), which also serves as a stop for a lever (16) with a grip element serves, is led.
Mit der Erfindung wird erreicht, daß die im Trockenbau anfallenden Anpassungen, beispielsweise der verschiedensten Deckenprofile, wie Rundbögen, sofort an Ort und Stelle möglich sind und ein sonst üblicher Deckenumbau entfallen kann. With the invention it is achieved that the adjustments that occur in drywall construction, for example the most varied ceiling profiles, such as round arches, are immediately possible on site and an otherwise conventional ceiling conversion can be dispensed with.
Applications Claiming Priority (2)
| Application Number | Priority Date | Filing Date | Title |
|---|---|---|---|
| DE19646785 | 1996-11-13 | ||
| DE19646785A DE19646785C1 (en) | 1996-11-13 | 1996-11-13 | Hand crimping tool with interchangeable die |
Publications (3)
| Publication Number | Publication Date |
|---|---|
| EP0843390A2 EP0843390A2 (en) | 1998-05-20 |
| EP0843390A3 true EP0843390A3 (en) | 1998-06-03 |
| EP0843390B1 EP0843390B1 (en) | 2000-11-15 |
Family
ID=7811471
Family Applications (1)
| Application Number | Title | Priority Date | Filing Date |
|---|---|---|---|
| EP97111216A Expired - Lifetime EP0843390B1 (en) | 1996-11-13 | 1997-07-03 | Universal manual crimping tool |
Country Status (2)
| Country | Link |
|---|---|
| EP (1) | EP0843390B1 (en) |
| DE (2) | DE19646785C1 (en) |
Families Citing this family (1)
| Publication number | Priority date | Publication date | Assignee | Title |
|---|---|---|---|---|
| GB2438467B (en) * | 2006-05-25 | 2010-12-29 | Blue Sky Access Ltd | A crimping tool for use on a metal roof panel |
Citations (2)
| Publication number | Priority date | Publication date | Assignee | Title |
|---|---|---|---|---|
| EP0058349A2 (en) * | 1981-02-13 | 1982-08-25 | Bessey & Sohn GmbH. & Co. | Tool for deforming, pressing or executing other operations by applying pressure |
| WO1984004475A1 (en) * | 1983-05-09 | 1984-11-22 | David Meikle | Forming tool |
Family Cites Families (4)
| Publication number | Priority date | Publication date | Assignee | Title |
|---|---|---|---|---|
| BE533170A (en) * | 1953-11-10 | |||
| DE7205611U (en) * | 1972-02-15 | 1972-05-04 | Huber & Suhner Ag | Clamping pliers especially for cable connections |
| DE2728454C3 (en) * | 1977-06-24 | 1981-06-25 | Fritz 6703 Limburghof Knebel | Pipe wrench |
| DD225655B1 (en) * | 1984-04-10 | 1987-07-08 | Adw Ddr | PRESS PLIERS FOR COMPRESSING PIPE OR HUEL SENSITIVE WORKPIECES |
-
1996
- 1996-11-13 DE DE19646785A patent/DE19646785C1/en not_active Expired - Fee Related
-
1997
- 1997-07-03 EP EP97111216A patent/EP0843390B1/en not_active Expired - Lifetime
- 1997-07-03 DE DE59702638T patent/DE59702638D1/en not_active Expired - Fee Related
Patent Citations (2)
| Publication number | Priority date | Publication date | Assignee | Title |
|---|---|---|---|---|
| EP0058349A2 (en) * | 1981-02-13 | 1982-08-25 | Bessey & Sohn GmbH. & Co. | Tool for deforming, pressing or executing other operations by applying pressure |
| WO1984004475A1 (en) * | 1983-05-09 | 1984-11-22 | David Meikle | Forming tool |
Also Published As
| Publication number | Publication date |
|---|---|
| DE19646785C1 (en) | 1998-03-05 |
| EP0843390B1 (en) | 2000-11-15 |
| EP0843390A2 (en) | 1998-05-20 |
| DE59702638D1 (en) | 2000-12-21 |
Similar Documents
| Publication | Publication Date | Title |
|---|---|---|
| DE69422297T2 (en) | SUPPORT DEVICE FOR PANELS | |
| DE3634729A1 (en) | COMPONENT FOR FIXING GLASS PANELS | |
| EP2844808B1 (en) | Method for producing a drywall | |
| EP0843390A3 (en) | Universal manual crimping tool | |
| DE19708198C2 (en) | Profile connection | |
| EP0824173A1 (en) | Fastening element and its use for connecting a ridge batten and fastening bolt therefore | |
| EP1790794A2 (en) | Device for fixing covering panels to a substructure | |
| EP1213186A3 (en) | Device for attaching two parts together | |
| DE19861052A1 (en) | Tacker for pushing floor heating holders into lower insulation layer, with pushrod, punch and punch guide in form of single plastic component | |
| EP1627154A1 (en) | Expanding anchor made of metal and placing tool therefor | |
| EP0051268B1 (en) | Fastening frame for plates or the like | |
| EP0054819B1 (en) | Prefabricated surround, preferably door surround | |
| EP1359055A3 (en) | Finishing moulding for a vehicle | |
| EP0675293B1 (en) | Fire resistant adjustable dowel with screw | |
| EP0643181B1 (en) | Profile with a sliding claw positioned in a groove | |
| EP0628679B1 (en) | Device for laying weatherstrips | |
| DE102007052236A1 (en) | Screwing device for fixing screwing axis and/or longitudinal axis of screw and pin opposite to surface of roof structure, has orientation device aligning erecting element in relation to base element around angle | |
| EP1783317A2 (en) | Supporting clip for a supporting profile of a shading device | |
| AT2484U1 (en) | FORGED IRON SUPPORT BAR WITH TRIM ELEMENT | |
| DE10328528A1 (en) | Corner connection for frames of solar collectors uses corner angles of plastic to anchor frame corners | |
| JPH06299675A (en) | Steel-made bed material for architecture and its metal fixture | |
| DE19628498A1 (en) | Wedge system for glazing window or door frame | |
| DE10200713B4 (en) | Hook for pressing parts against a building surface | |
| DE4123239C2 (en) | ||
| EP1088625A3 (en) | Screw driving tool |
Legal Events
| Date | Code | Title | Description |
|---|---|---|---|
| PUAI | Public reference made under article 153(3) epc to a published international application that has entered the european phase |
Free format text: ORIGINAL CODE: 0009012 |
|
| PUAL | Search report despatched |
Free format text: ORIGINAL CODE: 0009013 |
|
| AK | Designated contracting states |
Kind code of ref document: A2 Designated state(s): DE FR GB IT NL SE |
|
| AX | Request for extension of the european patent |
Free format text: AL;LT;LV;RO;SI |
|
| AK | Designated contracting states |
Kind code of ref document: A3 Designated state(s): AT BE CH DE DK ES FI FR GB GR IE IT LI LU MC NL PT SE |
|
| AX | Request for extension of the european patent |
Free format text: AL;LT;LV;RO;SI |
|
| 17P | Request for examination filed |
Effective date: 19981103 |
|
| AKX | Designation fees paid |
Free format text: DE FR GB IT NL SE |
|
| RBV | Designated contracting states (corrected) |
Designated state(s): DE FR GB IT NL SE |
|
| 17Q | First examination report despatched |
Effective date: 19990202 |
|
| GRAG | Despatch of communication of intention to grant |
Free format text: ORIGINAL CODE: EPIDOS AGRA |
|
| GRAG | Despatch of communication of intention to grant |
Free format text: ORIGINAL CODE: EPIDOS AGRA |
|
| GRAG | Despatch of communication of intention to grant |
Free format text: ORIGINAL CODE: EPIDOS AGRA |
|
| GRAH | Despatch of communication of intention to grant a patent |
Free format text: ORIGINAL CODE: EPIDOS IGRA |
|
| GRAH | Despatch of communication of intention to grant a patent |
Free format text: ORIGINAL CODE: EPIDOS IGRA |
|
| GRAA | (expected) grant |
Free format text: ORIGINAL CODE: 0009210 |
|
| AK | Designated contracting states |
Kind code of ref document: B1 Designated state(s): DE FR GB IT NL SE |
|
| ITF | It: translation for a ep patent filed | ||
| ET | Fr: translation filed | ||
| REF | Corresponds to: |
Ref document number: 59702638 Country of ref document: DE Date of ref document: 20001221 |
|
| GBT | Gb: translation of ep patent filed (gb section 77(6)(a)/1977) |
Effective date: 20001212 |
|
| PLBE | No opposition filed within time limit |
Free format text: ORIGINAL CODE: 0009261 |
|
| STAA | Information on the status of an ep patent application or granted ep patent |
Free format text: STATUS: NO OPPOSITION FILED WITHIN TIME LIMIT |
|
| 26N | No opposition filed | ||
| REG | Reference to a national code |
Ref country code: GB Ref legal event code: IF02 |
|
| PGFP | Annual fee paid to national office [announced via postgrant information from national office to epo] |
Ref country code: GB Payment date: 20020610 Year of fee payment: 6 |
|
| PGFP | Annual fee paid to national office [announced via postgrant information from national office to epo] |
Ref country code: NL Payment date: 20020717 Year of fee payment: 6 Ref country code: FR Payment date: 20020717 Year of fee payment: 6 |
|
| PGFP | Annual fee paid to national office [announced via postgrant information from national office to epo] |
Ref country code: SE Payment date: 20020723 Year of fee payment: 6 |
|
| PGFP | Annual fee paid to national office [announced via postgrant information from national office to epo] |
Ref country code: DE Payment date: 20020920 Year of fee payment: 6 |
|
| PG25 | Lapsed in a contracting state [announced via postgrant information from national office to epo] |
Ref country code: GB Free format text: LAPSE BECAUSE OF NON-PAYMENT OF DUE FEES Effective date: 20030703 |
|
| PG25 | Lapsed in a contracting state [announced via postgrant information from national office to epo] |
Ref country code: SE Free format text: LAPSE BECAUSE OF NON-PAYMENT OF DUE FEES Effective date: 20030704 |
|
| PG25 | Lapsed in a contracting state [announced via postgrant information from national office to epo] |
Ref country code: NL Free format text: LAPSE BECAUSE OF NON-PAYMENT OF DUE FEES Effective date: 20040201 |
|
| PG25 | Lapsed in a contracting state [announced via postgrant information from national office to epo] |
Ref country code: DE Free format text: LAPSE BECAUSE OF NON-PAYMENT OF DUE FEES Effective date: 20040203 |
|
| GBPC | Gb: european patent ceased through non-payment of renewal fee |
Effective date: 20030703 |
|
| EUG | Se: european patent has lapsed | ||
| PG25 | Lapsed in a contracting state [announced via postgrant information from national office to epo] |
Ref country code: FR Free format text: LAPSE BECAUSE OF NON-PAYMENT OF DUE FEES Effective date: 20040331 |
|
| NLV4 | Nl: lapsed or anulled due to non-payment of the annual fee |
Effective date: 20040201 |
|
| REG | Reference to a national code |
Ref country code: FR Ref legal event code: ST |
|
| PG25 | Lapsed in a contracting state [announced via postgrant information from national office to epo] |
Ref country code: IT Free format text: LAPSE BECAUSE OF NON-PAYMENT OF DUE FEES;WARNING: LAPSES OF ITALIAN PATENTS WITH EFFECTIVE DATE BEFORE 2007 MAY HAVE OCCURRED AT ANY TIME BEFORE 2007. THE CORRECT EFFECTIVE DATE MAY BE DIFFERENT FROM THE ONE RECORDED. Effective date: 20050703 |
