EP0807726A3 - Roof ventilating device - Google Patents
Roof ventilating device Download PDFInfo
- Publication number
- EP0807726A3 EP0807726A3 EP97107350A EP97107350A EP0807726A3 EP 0807726 A3 EP0807726 A3 EP 0807726A3 EP 97107350 A EP97107350 A EP 97107350A EP 97107350 A EP97107350 A EP 97107350A EP 0807726 A3 EP0807726 A3 EP 0807726A3
- Authority
- EP
- European Patent Office
- Prior art keywords
- sealing
- fan cap
- sealing members
- strips
- longitudinal axis
- Prior art date
- Legal status (The legal status is an assumption and is not a legal conclusion. Google has not performed a legal analysis and makes no representation as to the accuracy of the status listed.)
- Withdrawn
Links
Classifications
-
- E—FIXED CONSTRUCTIONS
- E04—BUILDING
- E04D—ROOF COVERINGS; SKY-LIGHTS; GUTTERS; ROOF-WORKING TOOLS
- E04D13/00—Special arrangements or devices in connection with roof coverings; Protection against birds; Roof drainage ; Sky-lights
- E04D13/17—Ventilation of roof coverings not otherwise provided for
-
- E—FIXED CONSTRUCTIONS
- E04—BUILDING
- E04D—ROOF COVERINGS; SKY-LIGHTS; GUTTERS; ROOF-WORKING TOOLS
- E04D13/00—Special arrangements or devices in connection with roof coverings; Protection against birds; Roof drainage ; Sky-lights
- E04D13/17—Ventilation of roof coverings not otherwise provided for
- E04D13/174—Ventilation of roof coverings not otherwise provided for on the ridge of the roof
- E04D13/176—Ventilation of roof coverings not otherwise provided for on the ridge of the roof formed by flexible material suitable to be rolled up
Landscapes
- Engineering & Computer Science (AREA)
- Architecture (AREA)
- Civil Engineering (AREA)
- Structural Engineering (AREA)
- Roof Covering Using Slabs Or Stiff Sheets (AREA)
- Building Environments (AREA)
Abstract
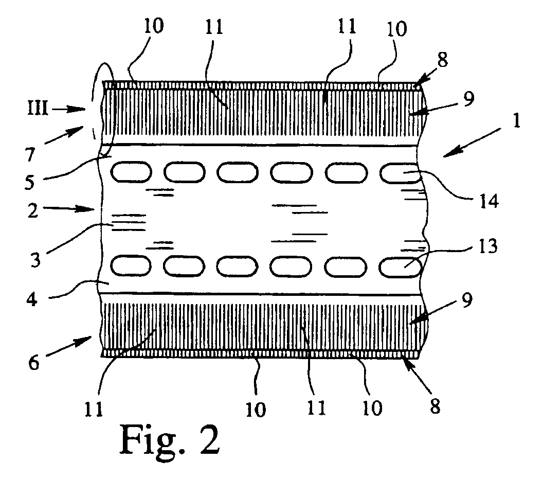
Dargestellt und beschrieben ist ein Lüftungselement (1) für Dächer, mit einer im First-Walm-oder Gratbereich anzuordnenden Lüfterkappe (2) und mit an den Randbereichen (4,5) der Lüfterkappe (2) anschließenden Abdichtorganen (6,7).Shown and described is a ventilation element (1) for roofs, with one in the first hip or Fan cap (2) to be arranged in the burr area and with at the edge areas (4,5) of the fan cap (2) connecting sealing members (6,7).
Bei Verwendung des erfindungsgemäßen Lüftungselementes (1), das kostengünstig hergestellt werden kann, ist eine gute Abdichtung gewährleistet, weil sich die Abdichtorgane (6,7) gleichmäßig und homogen jedem Bedachungsmaterial anpassen, und zwar dadurch, daß die Abdichtorgane (6,7) jeweils wenigstens zwei übereinander angeordnete, in Richtung der Längsachse (L) der Lüfterkappe (2) verlaufende, flache Abdichtungsstreifen (8,9) aufweisen und jeder Abdichtungsstreifen (8,9) eine Vielzahl von im wesentlichen quer zur Richtung der Längsachse (L) verlaufenden, vorzugsweise elastischen Querstreifen (10,11) aufweist. When using the ventilation element (1) according to the invention, which can be produced inexpensively, a good seal is ensured because the sealing members (6, 7) adapt uniformly and homogeneously to each roofing material, namely in that the sealing members (6, 7) in each case have at least two flat sealing strips (8,9) arranged one above the other and running in the direction of the longitudinal axis (L) of the fan cap (2), and each sealing strip (8,9) has a multiplicity of sealing strips running essentially transversely to the direction of the longitudinal axis (L), preferably has elastic transverse strips (10, 11).
Applications Claiming Priority (2)
| Application Number | Priority Date | Filing Date | Title |
|---|---|---|---|
| DE29608830U DE29608830U1 (en) | 1996-05-17 | 1996-05-17 | Ventilation element for roofs |
| DE29608830U | 1996-05-17 |
Publications (2)
| Publication Number | Publication Date |
|---|---|
| EP0807726A2 EP0807726A2 (en) | 1997-11-19 |
| EP0807726A3 true EP0807726A3 (en) | 1998-07-08 |
Family
ID=8024038
Family Applications (1)
| Application Number | Title | Priority Date | Filing Date |
|---|---|---|---|
| EP97107350A Withdrawn EP0807726A3 (en) | 1996-05-17 | 1997-05-03 | Roof ventilating device |
Country Status (2)
| Country | Link |
|---|---|
| EP (1) | EP0807726A3 (en) |
| DE (1) | DE29608830U1 (en) |
Families Citing this family (5)
| Publication number | Priority date | Publication date | Assignee | Title |
|---|---|---|---|---|
| DE19606843A1 (en) * | 1996-02-23 | 1997-08-28 | Alfons Knoche | Rollable ridge and ridge ventilation element and method for its production |
| DE19643591B4 (en) * | 1996-10-22 | 2007-08-30 | Hubert Rickert | Ventilation element for roofs with sealing element |
| DE29723495U1 (en) * | 1997-01-17 | 1998-09-03 | Knoche Alfons | Extruded universal fan with pleated side panels |
| DE102004003445A1 (en) * | 2003-12-19 | 2005-09-22 | Norm A.M.C. Ag, Erstfeld | Ventilation cap for roofs |
| EP1617007A2 (en) | 2004-07-15 | 2006-01-18 | Hubert Rickert | Ventilating element for roofs |
Citations (4)
| Publication number | Priority date | Publication date | Assignee | Title |
|---|---|---|---|---|
| DE2707384A1 (en) * | 1977-02-21 | 1978-08-24 | Herbst Karl Heinz | Ventilating ridge capping for tiled roof - comprises plastic body with lateral tongues allowing air flow and shanks providing rain-proofing |
| EP0117391A2 (en) * | 1983-02-26 | 1984-09-05 | BRAAS & CO. GMBH | Ridge or hip covering for roofs covered with panels |
| DE4226817A1 (en) * | 1992-08-13 | 1994-02-24 | Norm Amc Ag | Fan cap for rear ventilation of roofs |
| DE29504548U1 (en) * | 1995-03-17 | 1995-06-22 | Bwk Dachzubehoer Gmbh | Sealing strips for making ridge or ridge covers |
-
1996
- 1996-05-17 DE DE29608830U patent/DE29608830U1/en not_active Expired - Lifetime
-
1997
- 1997-05-03 EP EP97107350A patent/EP0807726A3/en not_active Withdrawn
Patent Citations (4)
| Publication number | Priority date | Publication date | Assignee | Title |
|---|---|---|---|---|
| DE2707384A1 (en) * | 1977-02-21 | 1978-08-24 | Herbst Karl Heinz | Ventilating ridge capping for tiled roof - comprises plastic body with lateral tongues allowing air flow and shanks providing rain-proofing |
| EP0117391A2 (en) * | 1983-02-26 | 1984-09-05 | BRAAS & CO. GMBH | Ridge or hip covering for roofs covered with panels |
| DE4226817A1 (en) * | 1992-08-13 | 1994-02-24 | Norm Amc Ag | Fan cap for rear ventilation of roofs |
| DE29504548U1 (en) * | 1995-03-17 | 1995-06-22 | Bwk Dachzubehoer Gmbh | Sealing strips for making ridge or ridge covers |
Also Published As
| Publication number | Publication date |
|---|---|
| DE29608830U1 (en) | 1996-08-14 |
| EP0807726A2 (en) | 1997-11-19 |
Similar Documents
| Publication | Publication Date | Title |
|---|---|---|
| DE69732543T2 (en) | roof rack | |
| DE3642063C2 (en) | ||
| EP0807726A3 (en) | Roof ventilating device | |
| DE2558814A1 (en) | METAL BEAM | |
| EP0878592A2 (en) | Structural members | |
| DE2211896C3 (en) | Device for sealing doors | |
| DE3889424T2 (en) | SEALING DEVICE. | |
| EP0386513A3 (en) | Profile frame of an elastomer and method for manufacturing the same | |
| DE3818224C2 (en) | Fastening device for roof mounting for vehicle air conditioning systems | |
| US4782549A (en) | Device for connecting a wiping element to the superstructure of a wiper blade | |
| EP0577152A1 (en) | Roof ridge and hip ventilated capping | |
| EP0957213A1 (en) | Joint seal for sandwich panels for roof and wall-systems | |
| EP0014870A1 (en) | Cover strip for roof edges, especially for flat roofs | |
| AT404965B (en) | GLASS FOLDED GASKET, ESPECIALLY FOR WINDOWS AND DOORS | |
| DE29711241U1 (en) | Sealing strips for ridge and / or ridge covers | |
| DE4443257B4 (en) | Sealing member for a plate or door of an electrical panel | |
| DE9317172U1 (en) | Sealing, decorative or end strip | |
| CH456106A (en) | Dilation element | |
| DE19825237C2 (en) | Seal between a heat exchanger and a housing wall | |
| DE4441296C1 (en) | Universal fan with pleated side parts in a sprayed version | |
| EP0133924B1 (en) | Shaped sealing | |
| DE3428094C2 (en) | ||
| EP0974712A3 (en) | Roof ridge or edge ventilating element | |
| DE19959076B4 (en) | Rollable sealing tape for ladle roofs | |
| EP0805256A2 (en) | Rabbet sealing for wing |
Legal Events
| Date | Code | Title | Description |
|---|---|---|---|
| PUAI | Public reference made under article 153(3) epc to a published international application that has entered the european phase |
Free format text: ORIGINAL CODE: 0009012 |
|
| AK | Designated contracting states |
Kind code of ref document: A2 Designated state(s): AT BE CH DE DK ES FI FR GB GR IE IT LI LU MC NL PT SE |
|
| PUAL | Search report despatched |
Free format text: ORIGINAL CODE: 0009013 |
|
| AK | Designated contracting states |
Kind code of ref document: A3 Designated state(s): AT BE CH DE DK ES FI FR GB GR IE IT LI LU MC NL PT SE |
|
| 17P | Request for examination filed |
Effective date: 19981207 |
|
| 17Q | First examination report despatched |
Effective date: 20020404 |
|
| GRAH | Despatch of communication of intention to grant a patent |
Free format text: ORIGINAL CODE: EPIDOS IGRA |
|
| STAA | Information on the status of an ep patent application or granted ep patent |
Free format text: STATUS: THE APPLICATION IS DEEMED TO BE WITHDRAWN |
|
| 18D | Application deemed to be withdrawn |
Effective date: 20030415 |
