EP0806164B1 - Montageeinrichtung und Verfahren zur Montage von Möbeln und Waschplatzelementen an einer Wand - Google Patents

Montageeinrichtung und Verfahren zur Montage von Möbeln und Waschplatzelementen an einer Wand Download PDF

Info

Publication number
EP0806164B1
EP0806164B1 EP19970107441 EP97107441A EP0806164B1 EP 0806164 B1 EP0806164 B1 EP 0806164B1 EP 19970107441 EP19970107441 EP 19970107441 EP 97107441 A EP97107441 A EP 97107441A EP 0806164 B1 EP0806164 B1 EP 0806164B1
Authority
EP
European Patent Office
Prior art keywords
wall
carrier element
furniture
elements
wash
Prior art date
Legal status (The legal status is an assumption and is not a legal conclusion. Google has not performed a legal analysis and makes no representation as to the accuracy of the status listed.)
Expired - Lifetime
Application number
EP19970107441
Other languages
English (en)
French (fr)
Other versions
EP0806164A1 (de
Inventor
Heinrich Feldhege
Current Assignee (The listed assignees may be inaccurate. Google has not performed a legal analysis and makes no representation or warranty as to the accuracy of the list.)
Alape Adolf Lamprecht KG
Original Assignee
Alape Adolf Lamprecht KG
Priority date (The priority date is an assumption and is not a legal conclusion. Google has not performed a legal analysis and makes no representation as to the accuracy of the date listed.)
Filing date
Publication date
Priority claimed from DE19628210A external-priority patent/DE19628210A1/de
Application filed by Alape Adolf Lamprecht KG filed Critical Alape Adolf Lamprecht KG
Publication of EP0806164A1 publication Critical patent/EP0806164A1/de
Application granted granted Critical
Publication of EP0806164B1 publication Critical patent/EP0806164B1/de
Anticipated expiration legal-status Critical
Expired - Lifetime legal-status Critical Current

Links

Images

Classifications

    • AHUMAN NECESSITIES
    • A47FURNITURE; DOMESTIC ARTICLES OR APPLIANCES; COFFEE MILLS; SPICE MILLS; SUCTION CLEANERS IN GENERAL
    • A47BTABLES; DESKS; OFFICE FURNITURE; CABINETS; DRAWERS; GENERAL DETAILS OF FURNITURE
    • A47B96/00Details of cabinets, racks or shelf units not covered by a single one of groups A47B43/00 - A47B95/00; General details of furniture
    • A47B96/06Brackets or similar supporting means for cabinets, racks or shelves
    • A47B96/067Horizontal rails as suspension means in a cantilever arrangement
    • AHUMAN NECESSITIES
    • A47FURNITURE; DOMESTIC ARTICLES OR APPLIANCES; COFFEE MILLS; SPICE MILLS; SUCTION CLEANERS IN GENERAL
    • A47KSANITARY EQUIPMENT; ACCESSORIES THEREFOR, e.g. TOILET ACCESSORIES
    • A47K1/00Wash-stands; Appurtenances therefor
    • A47K1/04Basins; Jugs; Holding devices therefor

Definitions

  • DE 41 14 378-A1 shows a cabinet suspension device, shows Rail holder that overlaps a hanging rail and on the wall hold tight.
  • the rail holder can be in relation to the rail in front of the Postpone assembly. After using the rail holders on the rail Is attached to the wall, furniture can be strung and hung on it. Similar to DE 29 49 833-A1, the pieces of furniture must now be one Maintain distance from the wall and form a cavity there.
  • the rail comprehensive rail holder also prevent any flexibility in the Suspension of the pieces of furniture, since these in turn are now on the rail rail bracket protruding forward must be taken into account.
  • DE 25 22 098 A1 describes an animal cage holding device for wall cultivation known.
  • This animal cage holding device has mounting brackets, which can be attached to the corresponding wall with their flanges. Hairpin-shaped support bracket with positioning pins in an attached Retaining members are shaped so that animal cages can be hung in them. The positioning pins engage in corresponding rows of holes in support strips that can be attached to the wall using the mounting brackets. A backup is then done by screwing the support bar and angle profile together connect. Refurnishing is difficult.
  • the object of the invention is to provide more flexible installation options for furniture and / or washing area elements on a wall, especially in bathrooms, that do not lose space by hanging the furniture in front of one Cause mounting wall or the like to propose.
  • a mounting device with a parallel to the Wall to be arranged horizontally elongated support element with its location essentially constant cross-sectional structure, with one or more with connected to the carrier element, but longitudinally displaceable to this stored wall fasteners, which the support element on the wall hold, with one or more hanging elements leading to the support element longitudinally displaceable and releasably suspended on this or releasable on this are attached, wherein they grip the support element in a form-fitting manner and with are each connected to a piece of furniture or washing area element, the or the hanging elements so in the back wall of furniture or Washing place element are incorporated, and so reach behind the support element, that the respective rear wall is flush with the wall.
  • the carrier element only in a predetermined height arranged on the wall, which hung on this Furniture and / or washing area elements, however, completely different heights can have. This is preferably done by changing the mounting height of the hanging element within the rear wall of the piece of furniture or Washing place element enables.
  • additional wall fastening elements can now be used can also be moved and screwed to the wall.
  • a unique one Balance with e.g. a spirit level is enough to ensure horizontality to ensure the carrier element.
  • Furniture pieces can now be hung on or attached to this support element become.
  • these pieces of furniture have one or more hanging elements, adapted according to the outer contour of the carrier element are and embrace this form-fitting.
  • These hanging elements are preferably an integral part of the piece of furniture, in particular part of the back wall.
  • Such training is for example also possible for a washstand with a wash basin inside.
  • a washstand with a wash basin inside In they are a corresponding metal profile wall part of a piece of furniture preferably incorporated into this, in particular by appropriate Laser out.
  • These hanging elements are in turn longitudinally displaceable on the carrier element. Above all, this means that their position is not immovable and permanent is fixed, as is the case with conventional furniture wall fastenings. Instead, they can be moved or removed if necessary and be replaced without causing any wall damage leads.
  • an initially small household with a sink and a small base cabinet but later easily additional hang a smaller closet next to it and later through one replace the larger one, the smaller one may be hung on the other side be etc.
  • the carrier element is particularly preferably a tubular one Construction mainly circular outer cross-section.
  • the carrier element can be made particularly stable when in the otherwise hollow cross-section opposite the slot itself up to in particular rib element extending to the center of the circle is provided, which then also passes along the carrier element. This increases the torsional rigidity of the otherwise slotted tubular element considerable and can also support the rider element and protect against bending.
  • This mounting option is particularly suitable for use in the bathroom or sanitary area. But it is also very advantageous in the rest of the living area or usable in kitchens. This proves to be particularly advantageous Support element also in the handicapped area as a handrail or in the bathroom as an additional bath bar for bath towels.
  • an extended spacer element provided, that is, a distance greater than 5-6 mm, for example off the wall. It is particularly advantageous that after a single Align (with a spirit level) when attaching the support element a wall afterwards for hanging the furniture etc. no specialist more is needed.
  • the usual Furniture wall fastenings hanging done by one person. At a possible move away after dismantling all parts, including of the support element, very few holes in the wall that are effortless can be filled in again when renovating.
  • Figure 1 shows a section through an assembly device, after which all the elements are assembled and the furniture is mounted on the wall 50. In the illustration you have to imagine the wall on the right. The cut is perpendicular to the wall.
  • a stabilizing rib part protrudes exactly opposite the slot 12, that is to say from above 13 into the cavity 11.
  • the entire tubular or rod-like support element 10 can be used in the intended Installation on the wall initially aligned freely in front of this wall and tried out at what height and position it should be installed. Is this position is held approximately, so is another element of the invention used, namely the wall fastening element 20th
  • the wall fastening element 20 is longitudinally displaceable in the carrier element 10 arranged. In the embodiment shown, it consists of a small one square plate 21, the diagonal of which is approximately as large or somewhat is larger than the diameter of the carrier element 10.
  • this rider element 23 can now and then can be pushed here and a location in the wall area can be selected on which the rider element 23 would be optimally placed, for example for reasons of stability or because there are no cables in the wall. If this place is found becomes a perpendicular to the plate 21 which protrudes and is held in it Fastening device 24, in particular a screw, in the wall 50 anchored.
  • this screw is for the sake of simplicity only indicated by its screw axis; it would go further than right protrude to be anchored in the wall, for example in one there provided dowels (also not shown).
  • the fastening device 24 also projects through the plate 21 a spacer element 25 which defines the distance of the plate 21 from the wall, so that the support element 10 is free above the plate 21 in space and not directly adjacent to the wall.
  • the overall construction of the hanging member 30 is also over a certain one Uniform length.
  • the hanging element 30 is more integrated Part of a piece of furniture that you can imagine in Figure 1 left Has. It is therefore part of a rear wall of one Piece of furniture or even around the entire back wall of a piece of furniture if it is around a flat piece of furniture located approximately at the height of the support element, such as for example, a washstand.
  • the hanging element 30 can also part of a profile part of a piece of furniture and lasered from it or be cut out by another method.
  • FIGS. 2 and 3 show the carrier element 10 in a perspective view.
  • the tubular shape of the carrier element 10 with its essentially circular cross-section, the inner cavity 11 , the elongated slot 12 on the underside of the tubular shape and the stabilizing rib 13, which also protrudes from above, can be clearly seen.
  • the wall fastening element 20 of which only the plate 21 and - facing away from the viewer - the spacer element 25 extending towards the rear of the wall can be seen in FIG. 3.
  • FIG. 2 in a perspective representation from another direction - as it were seen from the wall - the spacer element 25 turns towards the viewer and its structure can be seen more clearly.
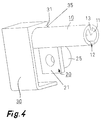
  • FIG. 4 illustrates the overall structure in a perspective view corresponding to FIG. 1.
  • support element 10 and plate 21 with spacer element 25 in particular the hanging element 30 already suspended here on tubular support element 10 can be seen.
  • the pieces of furniture, wash basin and other furnishing elements connected to the hanging element 30, which are fastened to the wall with the inventive concept, are omitted here for the sake of clarity. They would now be in front of the carrier element 10 for the viewer in FIG.
  • the nose-shaped part 35 of the section 31 that engages behind the carrier element of the hanging element 30 is in particular only 5-6 mm deep and is attached to the not shown wall. Aligned with this is the back wall of the Piece of furniture etc. provided.
  • the hanging element is in the piece of furniture etc. integrated, so that the entire back wall is flush against the wall can.
  • FIGS. 5 and 6 show the hanging element 30 separately for clarification. It is shown here as a mirror image of Figure 1, that is, the wall would be here on the left side after assembly, the piece of furniture rather on the right.
  • the exemplary embodiment shown in FIG. 5 shows a surface area 41 of the piece of furniture 40 which ends flush with the section 31 and forms a common horizontal plane. This could, for example, be a washstand. This can be removed from the carrier element or hung on this carrier element again at another location.
  • an opening 36 and a fastening device 33 are provided, with which the hanging element 30 becomes an integral part of the piece of furniture 40.
  • FIG. 6 shows a slightly modified embodiment in which the piece of furniture does not end flush at the top with the upper flat edge of the hanging element 30, but in which the hanging element is integrated in the piece of furniture 40 both above and below.
  • This can be a continuous closet, for example; Such a thing can also be exchangeably mounted on a wall with the same support element.
  • This embodiment of the hanging element 30 differs by the rounded edges 37 on the section 31, which facilitate installation in a corresponding piece of furniture.
  • the hanging element which preferably has the same length as the width of the piece of furniture, at different heights within the respective pieces of furniture, Different heights of furniture can be created and attached to one and the same support element (ie a fixed height of the support element above the floor).
  • the furniture or objects clamping elements especially screws, in Upper and lower areas 60, 61 can be provided. By tightening the Screws can then clamp the rear wall against the wall 50 generate, the connection of hanging element and support element rigid Crease line is.

Landscapes

  • Health & Medical Sciences (AREA)
  • Public Health (AREA)
  • Supports Or Holders For Household Use (AREA)

Description

Die Erfindung betrifft eine Montageeinrichtung und ein Verfahren zur Montage von Möbeln und Waschplatzelementen an einer Wand.
Möbel, Badezimmereinrichtungen, Waschplatzelemente usw. müssen üblicherweise an die Wände eines Badezimmers oder sonstigen Raumes montiert werden. Hierzu müssen Löcher in die Wände gebohrt, Dübel eingeschraubt und die Schränke sehr genau ausgerichtet werden. Sehr häufig geschehen hierbei Fehler, und die Vorgänge müssen hierbei wiederholt werden, was für die Stabilität der Wände ungünstig ist und bei einer Demontage und Neueinrichtung nach einigen Jahren (etwa bei einem Umzug) zu sehr störenden Schäden in den Wänden, häufig auch an den Möbeln führt. Darüber hinaus sind die Badezimmer auf diese Weise sehr unflexibel: Ein einmal an eine Wand montierter Wandschrank, ein Waschtisch oder ähnliches ist nur sehr erschwert wieder gegen einen anderen auszutauschen oder umzumöblieren.
Es ist daher bekannt, Montageeinrichtungen zu schaffen, die ein Ummöblieren oder Austauschen von Möbelstücken erleichtern. Aus der DE 29 49 833 A1 ist eine Vorrichtung zur hängenden Befestigung von Kleinmöbeln an einer Wand, in Anwendung für ein Hotelzimmer, bekannt. Diese Einrichtung weist eine Wandplatte auf, die vor die eigentliche Wand gesetzt wird. Auf ihrer Rückseite wird durch die Anbringung über eine sogenannte Laufbahn eine Distanz zur Wand geschaffen. Das Kleinmöbel weist auf seiner Rückseite im oberen Bereich eine an einer Schiebeplatte angebrachte Tragleiste auf, die mit Laufrollen oder Schienen zum Rollen oder Gleiten auf der Laufbahn versehen ist. Die Laufbahn ist als Fuge gebildet, in der die Schienen oder Laufrollen sich quer bewegen lassen. Die Rückwand des Kleinmöbels und die der Wand vorgesetzte Wandplatte liegen aneinander an, wodurch das Kleinmöbel mit seiner Rückwand abgestützt wird.
Aus der DE 76 37 651 U1 ist ein Beschlag für die wandseitige Aufhängung von Oberschränken oder Regalen beispielsweise zur Aufhängung in Küche oder Bad bekannt. Ein derartiger Beschlag ist sehr aufwendig gearbeitet. Er weist ein kegelförmiges Kulissenteil mit endseitiger Aufhängeeinrichtung auf. Die endseitige Aufhängeeinrichtung ist beispielsweise als U-förmige Schiene ausgebildet, die eine an der Wand angebrachte Schiene übergreift. Die an der Wand angebrachte Schiene muß eine Fuge aufweisen, da die U-förmige Schiene der endseitigen Aufhängeeinrichtung einen nasenförmigen Bereich aufweist, der in diese Fuge eingreift. Die Schiene mit der Fuge wird beispielsweise als Wandplatte oder breite Leiste gefertigt und an der Wand im entsprechenden Bereich oben, dort wo die Oberschränke angebracht werden sollen, durch Schrauben oder ähnliches befestigt. Der Oberschrank stützt sich dann mit einem Teilbereich seiner Rückwand an dieser Schiene ab.
Die US-PS 5,050,832 zeigt ebenfalls eine an der Wand angebrachte Schiene, in die Möbelstücke eingehängt werden können. Zu diesem Zweck sind an den Möbelstücken entsprechend Aufhängevorrichtungen vorgesehen. Die Schiene ist als C-Träger ausgebildet, wobei die Basis fest mit Schrauben an der Wand montiert ist. Vom oberen, von der Wand vorspringenden Schenkel ist nochmals um 90°, also wandparallel, eine Abknickung nach oben vorgesehen. Auf genau diese Abknickung werden die Aufhängevorrichtungen aufgehängt.
Die DE 41 14 378-A1 zeigt eine Schrankaufhängevorrichtung, zeigt Schienenhalter, die eine Hängeschiene übergreifen und an der Wand festhalten. Die Schienenhalter lassen sich in Bezug auf die Schiene vor der Montage verschieben. Nachdem mit den Schienenhaltern die Schiene an der Wand befestigt ist, können auf sie Möbel aufgereiht und aufgehängt werden. Ähnlich wie in der DE 29 49 833-A1 müssen nun aber die Möbelstücke eine Distanz zur Wand wahren und bilden dort einen Hohlraum. Die die Schiene übergreifenden Schienenhalter verhindern auch jede Flexibilität bei der Aufhängung der Möbelstücke, da diese nun wiederum die über die Schiene nach vorne vorstehenden Schienenhalter berücksichtigen müssen.
Aus der DE 25 22 098 A1 ist eine Tierkäfighaltevorrichtung für den Wandanbau bekannt. Diese Tierkäfighaltevorrichtung weist Befestigungsbügel auf, welche mit ihren Flanschen an der entsprechenden Wand befestigt werden. Haamadelförmige Tragbügel mit Positionierstiften in einem angefügten Halteglied sind so geformt, daß in diese Tierkäfige eingehängt werden können. Die Positionierstifte greifen in entsprechende Lochreihen in Tragleisten ein, die an der Wand mittels der Befestigungsbügel angebracht werden. Eine Sicherung erfolgt dann durch Schrauben, die Tragleiste und Winkelprofil miteinander verbinden. Ein Ummöblieren ist hierbei jedoch schlecht möglich.
Aufgabe der Erfindung ist es demgegenüber, flexiblere Montagemöglichkeiten für Möbel und/oder Waschplatzelemente an einer Wand, insbesondere in Badezimmern, die keinen Raumverlust durch Verhängen der Möbel vor eine Montagewand oder ähnliches verursachen, vorzuschlagen.
Diese Aufgabe wird gelöst durch eine Montageeinrichtung mit einem parallel zur Wand horizontal anzuordnenden länglichen Trägerelement mit über seine Lage im wesentlichen konstantem Querschnittsaufbau, mit einem oder mehreren mit dem Trägerelement verbundenen, aber zu diesem längs verschiebbar gelagerten Wandbefestigungselementen, die das Trägerelement an der Wand halten, mit einem oder mehreren Hängeelementen, die zum Trägerelement längs verschiebbar und auf diesem lösbar aufhängbar oder an diesem lösbar anhängbar sind, wobei sie das Trägerelement formschlüssig umgreifen und mit je einem Möbelstück oder Waschplatzelement verbunden sind, wobei das oder die Hängeelemente so in die Rückwand von Möbelstück oder Waschplatzelement eingearbeitet sind, und so hinter das Trägerelement greifen, daß die jeweilige Rückwand mit der Wand abschließt.
Ferner wird sie durch ein Verfahren gelöst, bei dem ein längliches Trägerelement horizontal und parallel zur Wand zunächst frei gehalten und ausgerichtet wird, anschließend ein mit dem Trägerelement verbundenes, aber zu diesem längs verschiebbar gelagertes Wandbefestigungselement so lange längs verschoben wird, bis es an einem zur Montage geeigneten Ort der Wand dort befestigt wird und der gleiche Vorgang gegebenenfalls mit weiteren Wandbefestigungselementen durchgeführt wird, anschließend Möbel und/oder Waschplatzelemente mit in ihnen integrierten, an das Trägerelement angepaßten Hängeelementen auf dem Trägerelement lösbar aufgehängt oder an dieses angehängt werden.
Hierdurch wird eine ungemein flexible, gleichwohl aber stabile Montagemöglichkeit geschaffen. Statt jedes einzelne Möbelstück an der Wand zu montieren, wird zunächst ein Trägerelement vor der Wand etwa horizontal und parallel zur Wand gehalten. Hierbei ist ein Austarieren leicht möglich, Unebenheiten der Wand können ausgeglichen werden und spielen kaum eine Rolle.
Als besonders vorteilhaft erweist es sich, daß das Trägerelement lediglich in einer vorgebbaren Höhe an der Wand angeordnet, die an diesem eingehängten Möbel und/oder Waschplatzelemente hingegen völlig unterschiedliche Höhen aufweisen können. Dies wird vorzugsweise durch Ändern der Anbringungshöhe des Hängeelementes innerhalb der Rückwand des Möbelstücks oder Waschplatzelementes ermöglicht.
Längsverschiebbar zu dem Trägerelement, aber mit diesem verbunden, bevorzugt dadurch, daß es reiterähnlich in dem Trägerelement läuft, sind Wandbefestigungselemente vorhanden. Zunächst eines dieser Wandbefestigungselemente wird so lange in dem Trägerelement verschoben, bis es sich an einem Ort befindet, wo eine Befestigung definiert angestrebt wird. Dort wird dieses Wandbefestigungselement in die Wand verschraubt. Zuvor ist es möglich, sich detailliert davon zu überzeugen, daß sich an dieser Stelle beispielsweise keine elektrischen Leitungen befinden und andererseits die erforderliche Tragfestigkeit gegeben ist, und auch festzulegen, daß die Höhe die exakt angestrebte ist.
Je nach Länge des Trägerelementes können jetzt weitere Wandbefestigungselemente ebenfalls verschoben und mit der Wand verschraubt werden. Ein einmaliges Austarieren mit z.B. einer Wasserwaage genügt, um die Horizontalität des Trägerelementes dabei zu gewährleisten.
Ist dieser Schritt vollzogen, befindet sich vor der Wand eine stabil montierte, exakt horizontal verlaufende und ausgesprochen feste Trägerelementkonstruktion.
Auf dieses Trägerelement können jetzt Möbelstücke gehängt oder an dieses angehängt werden. Diese Möbelstücke besitzen hierzu ein oder mehrere Hängeelemente, die entsprechend der Außenkontur des Trägerelementes angepaßt sind und dieses formschlüssig umgreifen.
Diese Hängeelemente sind bevorzugt integrativer Bestandteil des Möbelstücks, also insbesondere Teil der Rückwand. Eine solche Ausbildung ist zum Beispiel auch für einen Waschtisch mit darin befindlichem Waschbecken möglich. In einem entsprechenden Metallprofilwandteil eines Möbelstückes sind sie vorzugsweise in dieses eingearbeitet, insbesondere durch entsprechendes Auslasern.
Diese Hängeelemente sind ihrerseits auf dem Trägerelement längs verschiebbar. Das bedeutet vor allem, daß ihre Position nicht unverrückbar und auf Dauer festgelegt ist, wie dies bei herkömmlichen Möbelwandbefestigungen der Fall ist. Statt dessen können sie verschoben oder gegebenenfalls auch abgenommen und ausgetauscht werden, ohne daß dies zu irgendwelchen Wandbeschädigungen führt.
So kann beispielsweise ein zunächst kleiner Haushalt mit einem Waschbecken und einem kleinen Unterschrank auskommen, später aber problemlos zusätzlich einen kleineren Wandschrank daneben hängen und diesen später durch einen größeren ersetzen, der kleinere kann vielleicht auf der anderen Seite aufgehängt werden usw.
Gerade im Badbereich steht oftmals nur eine geringe Raumtiefe zur Verfügung. Da das Hängeelement im Unterschied zum gesamten Stand der Technik nicht nach außen auftragend, sondern in die Rückwand des Möbelstücks oder Waschplatzelementes nach innen eingearbeitet ist, schließt die Rückwand bündig mit der Wand ab. Dadurch ist lediglich die wirklich nutzbare Schrank- oder Waschplatzelementtiefe in den Raum hineinstehend angeordnet. Der zur Verfügung stehende Raum kann also, auch aufgrund der freien Verschiebbarkeit der Möbel, optimal ausgenutzt werden.
Auch das Anbringen von etwaigen Wasseranschlüssen, sonstigen Außenanschlüssen usw. ist leicht möglich: Durch die leichte Verschiebbarkeit kann der Waschtisch einfach in Position geschoben werden, bis er dort ist, wo der Anschluß dies sinnvoll erscheinen läßt.
Besonders bevorzugt handelt es sich bei dem Trägerelement um eine rohrförmige Konstruktion vor allem kreisförmigen Außenquerschnitts.
Dabei hat es sich sehr bewährt, wenn dieser kreisförmige, innen weitgehend hohle Querschnitt unten geschlitzt ist. In dem Schlitz, der dann längs des Rohres durchlaufend ist, kann ein Reiterelement des Wandbefestigungselementes laufen. Dieses Reiterelement kann ebenfalls einen kreisförmigen Aufbau aufweisen mit entsprechend geringerem Kreisdurchmesser als der Kreisdurchmesser des rohrförmigen Trägerelements. Die beiden kreisförmigen Querschnitte laufen dann ineinander, wobei der innere des Reiterelementes sich nach unten durch den Schlitz hindurch fortsetzt und dort beispielsweise in eine flächige wandparallele Platte übergeht. Diese Platte von zum Beispiel 2 cm x 2 cm Größe kann dann ihrerseits das in die Wand eindringende Befestigungsteil tragen, beispielsweise eine entsprechend massive Schraube. Der Wandabstand wird vorzugsweise durch ein Abstandshalterelement auf der Rückseite der Platte geschaffen, durch welches das Befestigungsteil durchgesteckt ist.
Das Trägerelement kann besonders stabil dann ausgeführt werden, wenn in dem im übrigen hohlen Querschnitt gegenüber vom Schlitz ein sich bis insbesondere zum Kreismittelpunkt erstreckendes Rippenelement vorgesehen ist, das dann seinerseits ebenfalls längs des Trägerelementes durchgeht. Dies erhöht die Verwindungssteifigkeit des im übrigen geschlitzten rohrförmigen Elementes beträchtlich und kann auch das Reiterelement zusätzlich abstützen und gegen Biegung schützen.
Insbesondere aber erhöht es die Tragfähigkeit des Trägerelementes bezüglich der Belastung, die ihm von oben von den Hängeelementen zugefügt wird. Die von diesen ausgeübte Kraft wird auf diese Weise besonders gut und gleichmäßig abgeführt.
Zugleich führt die von oben ausgeübte Kraft zu einer ganz leichten "Quetschung" des Querschnittes des Trägerelementes in dem belasteten Bereich. Dies führt zu einer Selbstarretierung der aufgehängten Möbel und sonstigen Objekte gegen die während des praktischen Gebrauchs unerwünschte Längsverschiebung.
Nach Entlastung, also bei leichtem Anheben der Möbel im Falle beabsichtigter Verschiebung, gibt sich diese Querschnittsveränderung wieder und ermöglicht das Verschieben.
Diese Montagemöglichkeit eignet sich besonders für die Verwendung im Bad oder Sanitärbereich. Sie ist aber auch sehr vorteilhaft im übrigen Wohnbereich oder in Küchen verwendbar. Als besonders vorteilhaft erweist sich das Trägerelement auch im Behindertenbereich als Haltestange oder aber im Bad als zusätzliche Badestange u.a. für Badetücher. Vorzugsweise ist für die beiden letztgenannten Anwendungsfälle ein verlängertes Abstandshalterelement vorgesehen, also eines, das einen größeren Abstand als beispielsweise 5-6 mm von der Wand schafft. Besonders vorteilhaft ist, daß nach einmaligem Ausrichten (mit einer Wasserwaage) beim Anbringen des Trägerelementes an einer Wand anschließend für das Aufhängen der Möbel etc. kein Fachmann mehr erforderlich ist. Ebenso läßt sich, im Unterschied zu üblichen Möbelwandbefestigungen, das Aufhängen von einer Person erledigen. Bei einem eventuellen Wegzug bleiben nach Demontage aller Teile, einschließlich des Trägerelementes, nur sehr wenige Löcher in der Wand zurück, die mühelos beim Renovieren wieder verfüllt werden können.
Im folgenden wird ein Ausführungsbeispiel der Erfindung im einzelnen beschrieben. Es zeigen:
Figur 1
einen Schnitt durch die erfindungsgemäße Montageeinrichtung;
Figur 2
eine perspektivische Darstellung eines Trägerelementes gemäß der Erfindung mit weiteren Bauteilen, gesehen aus Richtung der Wand schräg von unten vor der Montage;
Figur 3
eine perspektivische Darstellung der Zusammenstellung gemäß Figur 2 aus etwa entgegengesetzter Richtung;
Figur 4
eine perspektivische Darstellung der Zusammenstellung gemäß Figur 1;
Figur 5
einen Schnitt durch ein Hängeelement aus der erfindungsgemäßen Montageeinrichtung;
Figur 6
einen Schnitt durch eine andere Ausführungsform eines Hängeelementes; und
Figur 7
eine Ansicht einer fertig montierten Badezimmereinrichtung.
Figur 1 zeigt einen Schnitt durch eine Montageeinrichtung, nach dem sämtliche Elemente zusammengesetzt und das Möbel an der Wand 50 montiert ist. In der Darstellung hat man sich dabei die Wand rechts vorzustellen. Der Schnitt verläuft senkrecht zur Wand.
Parallel zur Wand und horizontal verläuft der Kern der Erfindung, das ist das Trägerelement 10. Das Trägerelement 10 ist rohrförmig, besitzt einen im wesentlichen kreisförmigen Querschnitt und weist innen einen Hohlraum 11 auf. Das Trägerelement 10 ist unten geschlitzt; die Schlitzung 12 ist in der Darstellung durch ein anderes, noch später zu beschreibendes Element gefüllt, aber erkennbar. Der Querschnitt ist über die gesamte Trägerelementlänge im wesentlichen von derselben Formgebung, er kann gegebenenfalls an den Rohrenden des Trägerelementes 10 durch Stopfen oder auf andere Weise geschlossen sein.
Genau gegenüber der Schlitzung 12, also von oben her, ragt ein Stabilisierungsrippenteil 13 in den Hohlraum 11.
Das ganze rohr- oder stangenähnliche Trägerelement 10 kann bei der beabsichtigten Montage an der Wand zunächst frei vor dieser Wand ausgerichtet und ausprobiert werden, in welcher Höhe und Lage es montiert werden soll. Ist diese Lage ungefähr festgehalten, so wird ein weiteres Element der Erfindung eingesetzt, nämlich das Wandbefestigungselement 20.
Das Wandbefestigungselement 20 ist in dem Trägerelement 10 längs verschiebbar angeordnet. Es besteht in der dargestellten Ausführungsform aus einer kleinen quadratischen Platte 21, deren Diagonale ungefähr so groß oder etwas größer ist als der Durchmesser des Trägerelements 10.
Das Material der Platte 21 ist ebenso wie das des Trägerelementes 10 Edelstahl oder ein anderes stabiles Metall oder sonstiger Werkstoff. Die Platte 21 ragt mit ihrer obersten Kante durch die Schlitzung 12 in den Hohlraum 11 im Inneren des Trägerelementes 10. Dort ist die Platte 21 mit einem Rohrstück 22 verbunden. Dieses Rohrstück ist etwa so lang wie die Platte 21 in Längsrichtung reicht, besitzt ebenfalls kreisförmigen Querschnitt und ist mit seinem Außendurchmesser dem Innendurchmesser des Trägerelementes 10 etwa angepaßt. Die Platte 21 und das Rohrstück 22 bilden gemeinsam ein Reiterelement 23. Durch die Verbreiterung des Rohrstücks 22 gegenüber der Schlitzung 12 wird das Reiterelement 23 unverlierbar in dem Trägerelement 10 gehalten. Das Reiterelement 23 ist dadurch beliebig längs verschiebbar im Trägerelement 10 gelagert, hält aber zugleich dieses an der Wand 50 fest. Das Rohrstück 22 ist in seinem oberen Teil unterbrochen, damit das Stabilisierungsrippenteil 13 des Trägerelementes 10 hineinragen kann. Diese Unterbrechung 26 der oberen Hälfte des Rohrstücks 22 ist jedoch so schmal, daß sich nach wie vor die Innenseite des Trägerelementes 10 auf der Außenseite des Rohrstücks 22 abstützen kann, wenn von oben Kraft ausgeübt wird.
Vor der endgültigen Montage jedoch kann dieses Reiterelement 23 nun hin- und hergeschoben werden, und es kann eine Stelle im Wandbereich ausgesucht werden, an der das Reiterelement 23 optimal plaziert wäre, etwa aus Stabilitätsgründen oder weil dort keine Leitungen in der Wand sind. Ist diese Stelle gefunden, wird eine senkrecht zur Platte 21 diese durchragende und in ihr gehaltene Befestigungseinrichtung 24, insbesondere eine Schraube, in der Wand 50 verankert. In der Darstellung in Figur 1 ist diese Schraube der Einfachheit halber nur durch ihre Schraubenachse angedeutet; sie würde nach rechts weiter als dargestellt ragen, um in der Wand verankert zu werden, etwa in einem dort vorzusehenden Dübel (ebenfalls nicht dargestellt).
Die Befestigungseinrichtung 24 ragt dabei außer durch die Platte 21 auch durch ein Abstandshalterelement 25, das den Abstand der Platte 21 von der Wand definiert, damit das Trägerelement 10 oberhalb der Platte 21 frei im Raum steht und nicht direkt an die Wand angrenzt.
Nach der Montage des Wandbefestigungselementes 20 kann ein weiteres solches Wandbefestigungselement in dem Trägerelement 10 ebenfalls längs verschoben werden, bis es an einer passenden Stelle angeordnet ist. Es wird dann dort befestigt. Damit ist das Trägerelement in seiner Höhenposition und seinem Abstand vor der Wand festgelegt. Es könnte jetzt noch das Trägerelement 10 selbst hin- und hergeschoben werden, falls dies im Hinblick auf seine Erstrekkung beabsichtigt ist. Bei besonders lang ausgebildeten Trägerelementen 10 könnte noch ein drittes oder weitere Wandbefestigungselemente 20 vorgesehen werden. Ist ein Element des Trägerelementes 10 am Ende offen, können diese Wandbefestigungselemente bis zur Montage jeweils nachgeschoben werden.
Auf das so angeordnete Trägerelement können nun variabel Möbelstücke auf- bzw. angehängt werden. Zu diesem Zweck ist ein Hängeelement 30 vorgesehen. Das Hängeelement 30 ist im Querschnitt etwa C-förmig ausgebildet. Dabei ist die der Wand zugewandte Seite des Hängeelements 30 im wesentlichen offen. Die Oberseite weist einen Abschnitt 31 auf, der das Trägerelement 10 von oben übergreift und in diesem Bereich so angepaßt ist, daß er formschlüssig auf dem Trägerelement 10 aufliegt. Der der Wand 50 abgewandte Bereich 32 ist flächig senkrecht und geht nach unten hin in einen horizontal verlaufenden Abschnitt 34 über.
Die gesamte Konstruktion des Hängeelements 30 ist ebenfalls über eine bestimmte Länge gleichförmig. Dabei ist das Hängeelement 30 integrierter Bestandteil eines Möbelstücks, das man sich in der Figur 1 links vorzustellen hat. Es handelt sich dabei also etwa um einen Teil einer Rückwand eines Möbelstücks oder auch um die gesamte Rückwand eines Möbelstücks, wenn es sich um ein etwa in Trägerelementhöhe befindliches flaches Möbelstück, wie beispielsweise einen Waschtisch handelt. Das Hängeelement 30 kann aber auch Teil eines Profilteils eines Möbelstücks und aus diesem ausgelasert oder mittels eines anderen Verfahrens ausgeschnitten sein.
Die Figuren 2 und 3 zeigen das Trägerelement 10 in perspektivischer Darstellung. Vor allem in der Figur 3 ist die rohrförmige Gestalt des Trägerelementes 10 mit seinem im wesentlichen kreisförmigen Querschnitt, dem inneren Hohlraum 11, der auf der Unterseite der rohrförmigen Gestalt durchgehenden länglichen Schlitzung 12 und der von oben herabragenden, ebenfalls durchgehenden Stabilisierungsrippe 13 gut zu erkennen. In der Schlitzung läuft das Wandbefestigungselement 20, von dem in Figur 3 nur die Platte 21 und - für den Betrachter abgewandt - das sich nach hinten zur Wand hin erstreckende Abstandshalterelement 25 zu erkennen ist. In der Figur 2 in perspektivischer Darstellung aus anderer Richtung - gewissermaßen von der Wand aus gesehen - wendet sich das Abstandshalterelement 25 auf den Betrachter zu und ist in seinem Aufbau deutlicher zu erkennen. Axial durch das Abstandshalterelement 25 und somit senkrecht durch die Platte 21 ist eine Bohrung 27 für die auch hier weggelassene Schraube vorgesehen, die das Wandbefestigungselement 20 an der Wand verankert. Von dem Kranz der Bohrung 27 zum Kranz des Abstandshalterelementes 25 sind in einer Linienflucht liegend Rippen 28 vorgesehen, die eine innere Aussteifung des Abstandshalterelementes bilden.
Das Wandbefestigungselement 20 mit der Platte 21 kann wie oben beschrieben relativ zum Trägerelement 10 parallel zu dessen Achse verschoben werden. Das im inneren Hohlraum 21 des Trägerelementes 10 befindliche und deshalb in den Figuren 2 und 3 nicht zu erkennende rohrförmige, in Trägerelementachsrichtung nur etwa die Längenabmessungen der Platte 21 aufweisende Reiterelement 23 ermöglicht diese Verschiebbarkeit bei gleichzeitiger Sicherung gegen Heraus- und Herabfallen.
Figur 4 verdeutlicht den Gesamtaufbau in einer perspektivischen Darstellung entsprechend Figur 1. Neben Trägerelement 10 und Platte 21 mit Abstandshalterelement 25 ist insbesondere das hier bereits auf dem rohrförmigen Trägerelement 10 aufgehängte Hängeelement 30 zu erkennen. Die mit dem Hängeelement 30 verbundenen Möbelstücke, Waschbecken und sonstigen Einrichtungselemente, die mit der erfindungsgemäßen Konzeption an der Wand befestigt werden, sind zur klareren Darstellung hier weggelassen. Sie würden sich in Figur 4 jetzt für den Betrachter vor dem Trägerelement 10 befinden.
Das hinter das Trägerelement greifende nasenförmige Teil 35 des Abschnitts 31 des Hängeelementes 30 ist insbesondere nur 5-6 mm tief und lagert an der nicht dargestellten Wand an. Fluchtend mit diesem ist dann die Rückwand des Möbelstücks etc. vorgesehen. Das Hängeelement ist in das Möbelstück etc. integriert, wodurch dessen gesamte Rückwand bündig an der Wand anliegen kann.
Figur 5 und 6 zeigen das Hängeelement 30 zur Verdeutlichung separat. Es ist hier spiegelbildlich zur Figur 1 dargestellt, das heißt, die Wand würde sich hier nach der Montage auf der linken Seite befinden, das Möbelstück eher rechts. Das in Figur 5 dargestellte Ausführungsbeispiel zeigt einen mit dem Abschnitt 31 oben bündig abschließenden und eine gemeinsame horizontale Ebene bildenden Flächenbereich 41 des Möbelstücks 40. Es könnte sich hier zum Beispiel um einen Waschtisch handeln. Dieser kann von dem Trägerelement abgenommen bzw. auf dieses Trägerelement an einer anderen Stelle wieder aufgehängt werden. In dem dem Möbelstück zugewandten flächigen senkBereich 32 des Hängeelements 30 ist eine Öffnung 36 und eine Befestigungsvorrichtung 33 vorgesehen, mit der das Hängeelement 30 integrativer Bestandteil des Möbelstücks 40 wird.
Figur 6 zeigt eine geringfügig geänderte Ausführungsform, bei der das Möbelstück nicht oben bündig mit der oberen flachen Kante des Hängeelements 30 abschließt, sondern bei dem das Hängeelement sowohl oben als auch unten im Möbelstück 40 integriert ist. Dies kann beispielsweise ein durchgehender Wandschrank sein; auch so etwas ist erfindungsgemäß mit dem gleichen Trägerelement an einer Wand auswechselbar montierbar. Diese Ausführungsform des Hängeelements 30 unterscheidet sich durch die gerundeten, einen Einbau in ein entsprechendes Möbelstück erleichternden Kanten 37 am Abschnitt 31. Durch den Einbau des Hängeelementes, welches vorzugsweise dieselbe Länge aufweist wie der Breite des Möbelstücks entspricht, in unterschiedlichen Höhen innerhalb der jeweiligen Möbelstücke, können unterschiedliche Möbelstückhöhen an ein und demselben Trägerelement (also einer festgelegten Höhe des Trägerelementes über dem Boden) geschaffen und angebracht werden.
Rein beispielhaft wird das Aussehen einer fertig montierten Badezimmereinrichtung in Figur 7 gezeigt. Man erkennt die die Struktur bildende rohrförmige Gestalt des Trägerelementes 10, die aber sehr formschön im Hintergrund bleibt. Auf diesem Trägerelement sind hier mehrere Möbelstücke 40 und andere Objekte aufgereiht; sie könnten vor der Wand 50 verschoben werden, wobei sie durch ihr Eigengewicht allerdings stabil gehalten werden. Durch geringfügiges Anheben wird ein Verschieben möglich. Auch ein vollständiges Herausnehmen aus der Einrichtung und ein Entfernen von der Wand bei einer beabsichtigten Neumöblierung kann einfach und durch den Besitzer selbst ohne größere Fachkenntnisse stattfinden, wenn das betreffende Einrichtungsstück einfach so weit angehoben wird, daß das Hängeelement sich vom Trägerelement 10 nach oben und nach vorn herunternehmen läßt. Umgekehrt können natürlich auch problemlos andere oder zusätzliche Möbelstücke 40 zwischen die vorhandenen durch Einhängen der C-förmigen Hängeelemente in das Trägerelement 10 hinzugefügt werden.
Sollte die Wand 50 etwaige Unebenheiten aufweisen, können in der Rückwand der Möbelstücke oder Objekte Spannelemente, insbesondere Schrauben, im oberen und unteren Bereich 60, 61 vorgesehen werden. Durch Festziehen der Schrauben läßt sich dann ein Verspannen der Rückwand gegen die Wand 50 erzeugen, wobei die Verbindung von Hängeelement und Trägerelement starre Knicklinie ist.
BEZUGSZEICHENLISTE
10
Trägerelement
11
Hohlraum
12
Schlitzung
13
Stabilisierungsrippenteil
20
Wandbefestigungselement
21
Platte
22
Rohrstück
23
Reiterelement
24
Befestigungseinrichtung
25
Abstandshalterelement
26
Unterbrechung
27
Bohrung
28
Rippen
30
Hängeelement
31
Abschnitt
32
senkrechter Bereich
33
Befestigungsvorrichtung
34
horizontaler Abschnitt
35
Teil
36
Öffnung
37
Kanten
40
Möbelstück
41
Flächenbereich
50
Wand
60
oberer Bereich
61
unterer Bereich

Claims (13)

  1. Montageeinrichtung zur Montage von Möbeln und Waschplatzelementen an einer Wand,
    mit einem parallel zur Wand horizontal anzuordnenden länglichen Trägerelement (10) mit über seine Länge im wesentlichen konstantem Querschnittsaufbau,
    mit einem oder mehreren mit dem Trägerelement (10) verbundenen Wandbefestigungselementen (20), die das Trägerelement (10) an der Wand halten,
    mit einem oder mehreren Hängeelementen (30), die zum Trägerelement (10) längs verschiebbar und auf diesem lösbar aufhängbar oder an diesem lösbar anhängbar sind, wobei sie das Trägerelement (10) formschlüssig umgreifen und mit je einem Möbelstück (40) oder Waschplatzelement verbunden sind, wobei das oder die Hängelemente (30) so in die Rückwand von Möbelstück oder Waschplatzelement eingearbeitet sind und so hinter das Trägerelement (10) greifen, daß die jeweilige Rückwand bündig mit der Wand abschließt,
    dadurch gekennzeichnet, daß die Wandbefestigungselemente (20) zum Trägerelement (10) längs verschiebbar sind.
  2. Montageeinrichtung nach Anspruch 1,
    dadurch gekennzeichnet,
    daß das Trägerelement (10) rohrförmig mit im wesentlichen kreisförmigem Außenquerschnitt ist.
  3. Montageeinrichtung nach Anspruch 2,
    dadurch gekennzeichnet,
    daß das Trägerelement (10) ein Rohr mit im wesentlichen kreisförmigem Querschnitt und einer einseitigen, durchgehenden Schlitzung (12) ist.
  4. Montageeinrichtung nach Anspruch 3,
    dadurch gekennzeichnet,
    daß das Trägerelement (10) einen gegenüber der Schlitzung (12) im Inneren (11) seines im übrigen hohlen Querschnitts nach innen vorspringenden, längs durchgehenden Stabilisierungsrippenteil (13) aufweist.
  5. Montageeinrichtung nach einem der Ansprüche 2 bis 4,
    dadurch gekennzeichnet,
    daß das oder die Wandbefestigungselemente (20) ein in der Schlitzung (12) des Trägerelementes (10) laufendes und längs verschiebbares, im Inneren (11) des im übrigen hohlen Querschnitts des Trägerelementes (10) aber unverlierbar gehaltenes Reiterelement (23) aufweisen.
  6. Montageeinrichtung nach Anspruch 5,
    dadurch gekennzeichnet,
    daß an dem Reiterelement (23) eine senkrecht zum Trägerelement (10) stehende, in die Wand einzuführende Befestigungseinrichtung (24), insbesondere eine Schraube, angeordnet ist.
  7. Montageeinrichtung nach einem der vorstehenden Ansprüche,
    dadurch gekennzeichnet,
    daß das Hängeelement (30) einen das Trägerelement (10) auf seiner Unterseite übergreifenden Abschnitt (34) aufweist, der sich gegen die Wand (50) abstützt.
  8. Montageeinrichtung nach Anspruch 7,
    dadurch gekennzeichnet,
    daß die der Wand (50) zugewandte Seite des Hängeelements (30) im wesentlichen offen ist.
  9. Montageeinrichtung nach einem der vorstehenden Ansprüche,
    dadurch gekennzeichnet,
    daß das oder die Hängeelemente (30) integrierter Bestandteil eines Möbelstücks oder eines Waschplatzelementes ist bzw. sind.
  10. Montageeinrichtung nach einem der vorstehenden Ansprüche,
    dadurch gekennzeichnet,
    daß in der Rückwand von Möbelstück (40) oder Waschplatzelement Spannelemente im oberen und unteren Bereich vorgesehen sind, die bei Unebenheiten in der Wand diese ausgleichen durch Verspannen der Spannelemente gegen die Wand und das Trägerelement (10).
  11. Montageinrichtung nach Anspruch 10,
    dadurch gekennzeichnet,
    daß die Spannelemente Schrauben sind, die durch Festziehen die Rückwand so gegen die Wand verspannen, daß kein Wackeln des Möbelstücks oder Waschplatzelementes möglich ist.
  12. Verfahren zum Montieren von Möbeln und Waschplatzelementen an einer Wand, bei dem ein längliches Trägerelement (10) horizontal und parallel zur Wand zunächst frei gehalten und ausgerichtet wird, anschließend ein mit dem Trägerelement (10) verbundenes, aber zu diesem längs verschiebbar gelagertes Wandbefestigungselement (20) so lange längs verschoben wird, bis es an einem zur Montage geeigneten Ort der Wand dort befestigt wird und der gleiche Vorgang gegebenenfalls mit weiteren Wandbefestigungselementen durchgeführt wird, anschließend Möbel und/oder Waschplatzelemente mit in ihnen integrierten, an das Trägerelement (10) angepaßten Hängeelementen (30) auf dem Trägerelement lösbar aufgehängt oder an dieses angehängt werden.
  13. Verfahren nach Anspruch 12,
    dadurch gekennzeichnet,
    daß Unebenheiten der Wand durch Verspannen von im oberen und unteren Bereich der Rückwände der Möbel oder Waschplatzelemente vorgesehenen Spannelementen, insbesondere durch Festziehen von Schrauben, ausgeglichen werden.
EP19970107441 1996-05-10 1997-05-06 Montageeinrichtung und Verfahren zur Montage von Möbeln und Waschplatzelementen an einer Wand Expired - Lifetime EP0806164B1 (de)

Applications Claiming Priority (4)

Application Number Priority Date Filing Date Title
DE19619025 1996-05-10
DE19619025 1996-05-10
DE19628210A DE19628210A1 (de) 1996-05-10 1996-07-12 Montageeinrichtung und Verfahren zur Montage von Möbeln und Waschplatzelementen an einer Wand
DE19628210 1996-07-12

Publications (2)

Publication Number Publication Date
EP0806164A1 EP0806164A1 (de) 1997-11-12
EP0806164B1 true EP0806164B1 (de) 2000-08-16

Family

ID=26025610

Family Applications (1)

Application Number Title Priority Date Filing Date
EP19970107441 Expired - Lifetime EP0806164B1 (de) 1996-05-10 1997-05-06 Montageeinrichtung und Verfahren zur Montage von Möbeln und Waschplatzelementen an einer Wand

Country Status (1)

Country Link
EP (1) EP0806164B1 (de)

Cited By (1)

* Cited by examiner, † Cited by third party
Publication number Priority date Publication date Assignee Title
EP1967093A2 (de) 2007-03-05 2008-09-10 Alape GmbH Montageeinrichtung für die Montage von Waschplatzelementen an einer Wand

Families Citing this family (1)

* Cited by examiner, † Cited by third party
Publication number Priority date Publication date Assignee Title
US9345327B2 (en) 2014-03-18 2016-05-24 Btps, Llc Wall-mount vanity bracket

Family Cites Families (3)

* Cited by examiner, † Cited by third party
Publication number Priority date Publication date Assignee Title
US5050832A (en) * 1990-05-18 1991-09-24 Lee/Rowan Company Modular storage unit mounting system
DE4114378A1 (de) * 1991-05-02 1992-11-05 Bulthaup Gmbh & Co Schrankaufhaengevorrichtung
US5392934A (en) * 1993-05-14 1995-02-28 Fox; Larry G. Apparatus and method for adjustably supporting furnishings on a wall surface

Cited By (2)

* Cited by examiner, † Cited by third party
Publication number Priority date Publication date Assignee Title
EP1967093A2 (de) 2007-03-05 2008-09-10 Alape GmbH Montageeinrichtung für die Montage von Waschplatzelementen an einer Wand
DE102007010916A1 (de) 2007-03-05 2008-09-11 Alape Gmbh Montageeinrichtung für die Montage von Waschplatzelementen an einer Wand

Also Published As

Publication number Publication date
EP0806164A1 (de) 1997-11-12

Similar Documents

Publication Publication Date Title
EP2808457A2 (de) Wasserablaufvorrichtung für eine sanitäre Anlage, wie einen bodenebenen Duschplatz
EP0806164B1 (de) Montageeinrichtung und Verfahren zur Montage von Möbeln und Waschplatzelementen an einer Wand
DE202015009052U1 (de) Montagevorrichtung
EP1231328B1 (de) Montagegestell für Sanitärapparate
EP1335077A1 (de) Einrichtung zur Befestigung von Sanitärobjekten der wandhängenden Ausführung
DE29611951U1 (de) Traggestellrahmen
DE10044969A1 (de) Wandprofilleiste
EP0673616A1 (de) Montagerahmen
DE10313030B3 (de) Höhenverstellbare Sitzvorrichtung
DE19628210A1 (de) Montageeinrichtung und Verfahren zur Montage von Möbeln und Waschplatzelementen an einer Wand
EP0951849A2 (de) Einhängesitz zum Einhängen in einen Wandhalter
DE7626246U1 (de) Einbau-traggeruest fuer hohlkoerperwaende zur befestigung von wandhaengenden sanitaereinrichtungen
EP2124677B1 (de) Regalsystem
EP3586704B1 (de) Duschabtrennung mit einer schwenkbaren duschtür
AT501147A4 (de) Tragrahmen
DE9304857U1 (de) Verkleidung für Sanitärbecken
DE19851450A1 (de) Installationselement
DE9402530U1 (de) Reinigungswagen
DE19624672A1 (de) Wandvorbauelement
EP4385364A1 (de) Halteelement für ein verlängerbares schrankgestell für einen ausziehbaren hochschrank
DE9203221U1 (de) Installationsblock
DE29513690U1 (de) Befestigungsvorrichtung für die Raumausstattung
WO2008061514A2 (de) Einrichtung für die halterung von gegenständen
DE29817039U1 (de) Befestigungssystem für Wandmöbel
CH555170A (de) Trageinrichtung zur aufhaengung von gegenstaenden, insbesondere von kleiderbuegeln, mit verschiebbaren tragelementen.

Legal Events

Date Code Title Description
PUAI Public reference made under article 153(3) epc to a published international application that has entered the european phase

Free format text: ORIGINAL CODE: 0009012

AK Designated contracting states

Kind code of ref document: A1

Designated state(s): BE CH DE LI NL

17P Request for examination filed

Effective date: 19971119

17Q First examination report despatched

Effective date: 19980415

GRAG Despatch of communication of intention to grant

Free format text: ORIGINAL CODE: EPIDOS AGRA

GRAG Despatch of communication of intention to grant

Free format text: ORIGINAL CODE: EPIDOS AGRA

GRAH Despatch of communication of intention to grant a patent

Free format text: ORIGINAL CODE: EPIDOS IGRA

GRAH Despatch of communication of intention to grant a patent

Free format text: ORIGINAL CODE: EPIDOS IGRA

GRAA (expected) grant

Free format text: ORIGINAL CODE: 0009210

AK Designated contracting states

Kind code of ref document: B1

Designated state(s): BE CH DE LI NL

PG25 Lapsed in a contracting state [announced via postgrant information from national office to epo]

Ref country code: NL

Free format text: LAPSE BECAUSE OF FAILURE TO SUBMIT A TRANSLATION OF THE DESCRIPTION OR TO PAY THE FEE WITHIN THE PRESCRIBED TIME-LIMIT

Effective date: 20000816

REG Reference to a national code

Ref country code: CH

Ref legal event code: EP

REF Corresponds to:

Ref document number: 59702178

Country of ref document: DE

Date of ref document: 20000921

EN Fr: translation not filed
PG25 Lapsed in a contracting state [announced via postgrant information from national office to epo]

Ref country code: BE

Free format text: LAPSE BECAUSE OF NON-PAYMENT OF DUE FEES

Effective date: 20010531

PG25 Lapsed in a contracting state [announced via postgrant information from national office to epo]

Ref country code: LI

Free format text: LAPSE BECAUSE OF NON-PAYMENT OF DUE FEES

Effective date: 20010605

Ref country code: CH

Free format text: LAPSE BECAUSE OF NON-PAYMENT OF DUE FEES

Effective date: 20010605

PLBE No opposition filed within time limit

Free format text: ORIGINAL CODE: 0009261

STAA Information on the status of an ep patent application or granted ep patent

Free format text: STATUS: NO OPPOSITION FILED WITHIN TIME LIMIT

26N No opposition filed
BERE Be: lapsed

Owner name: ALAPE ADOLF LAMPRECHT K.G.

Effective date: 20010531

REG Reference to a national code

Ref country code: CH

Ref legal event code: PL

PGFP Annual fee paid to national office [announced via postgrant information from national office to epo]

Ref country code: DE

Payment date: 20040521

Year of fee payment: 8

PG25 Lapsed in a contracting state [announced via postgrant information from national office to epo]

Ref country code: DE

Free format text: LAPSE BECAUSE OF NON-PAYMENT OF DUE FEES

Effective date: 20051201