EP0802384A3 - Heat exchanger - Google Patents
Heat exchanger Download PDFInfo
- Publication number
- EP0802384A3 EP0802384A3 EP97103857A EP97103857A EP0802384A3 EP 0802384 A3 EP0802384 A3 EP 0802384A3 EP 97103857 A EP97103857 A EP 97103857A EP 97103857 A EP97103857 A EP 97103857A EP 0802384 A3 EP0802384 A3 EP 0802384A3
- Authority
- EP
- European Patent Office
- Prior art keywords
- heat exchanger
- heat transfer
- transfer fluid
- tube
- heat
- Prior art date
- Legal status (The legal status is an assumption and is not a legal conclusion. Google has not performed a legal analysis and makes no representation as to the accuracy of the status listed.)
- Withdrawn
Links
Classifications
-
- F—MECHANICAL ENGINEERING; LIGHTING; HEATING; WEAPONS; BLASTING
- F28—HEAT EXCHANGE IN GENERAL
- F28D—HEAT-EXCHANGE APPARATUS, NOT PROVIDED FOR IN ANOTHER SUBCLASS, IN WHICH THE HEAT-EXCHANGE MEDIA DO NOT COME INTO DIRECT CONTACT
- F28D13/00—Heat-exchange apparatus using a fluidised bed
-
- F—MECHANICAL ENGINEERING; LIGHTING; HEATING; WEAPONS; BLASTING
- F26—DRYING
- F26B—DRYING SOLID MATERIALS OR OBJECTS BY REMOVING LIQUID THEREFROM
- F26B3/00—Drying solid materials or objects by processes involving the application of heat
- F26B3/02—Drying solid materials or objects by processes involving the application of heat by convection, i.e. heat being conveyed from a heat source to the materials or objects to be dried by a gas or vapour, e.g. air
- F26B3/06—Drying solid materials or objects by processes involving the application of heat by convection, i.e. heat being conveyed from a heat source to the materials or objects to be dried by a gas or vapour, e.g. air the gas or vapour flowing through the materials or objects to be dried
- F26B3/08—Drying solid materials or objects by processes involving the application of heat by convection, i.e. heat being conveyed from a heat source to the materials or objects to be dried by a gas or vapour, e.g. air the gas or vapour flowing through the materials or objects to be dried so as to loosen them, e.g. to form a fluidised bed
- F26B3/084—Drying solid materials or objects by processes involving the application of heat by convection, i.e. heat being conveyed from a heat source to the materials or objects to be dried by a gas or vapour, e.g. air the gas or vapour flowing through the materials or objects to be dried so as to loosen them, e.g. to form a fluidised bed with heat exchange taking place in the fluidised bed, e.g. combined direct and indirect heat exchange
-
- F—MECHANICAL ENGINEERING; LIGHTING; HEATING; WEAPONS; BLASTING
- F28—HEAT EXCHANGE IN GENERAL
- F28D—HEAT-EXCHANGE APPARATUS, NOT PROVIDED FOR IN ANOTHER SUBCLASS, IN WHICH THE HEAT-EXCHANGE MEDIA DO NOT COME INTO DIRECT CONTACT
- F28D7/00—Heat-exchange apparatus having stationary tubular conduit assemblies for both heat-exchange media, the media being in contact with different sides of a conduit wall
- F28D7/10—Heat-exchange apparatus having stationary tubular conduit assemblies for both heat-exchange media, the media being in contact with different sides of a conduit wall the conduits being arranged one within the other, e.g. concentrically
- F28D7/12—Heat-exchange apparatus having stationary tubular conduit assemblies for both heat-exchange media, the media being in contact with different sides of a conduit wall the conduits being arranged one within the other, e.g. concentrically the surrounding tube being closed at one end, e.g. return type
Landscapes
- Engineering & Computer Science (AREA)
- Mechanical Engineering (AREA)
- General Engineering & Computer Science (AREA)
- Physics & Mathematics (AREA)
- Thermal Sciences (AREA)
- Life Sciences & Earth Sciences (AREA)
- Microbiology (AREA)
- Heat-Exchange Devices With Radiators And Conduit Assemblies (AREA)
Abstract
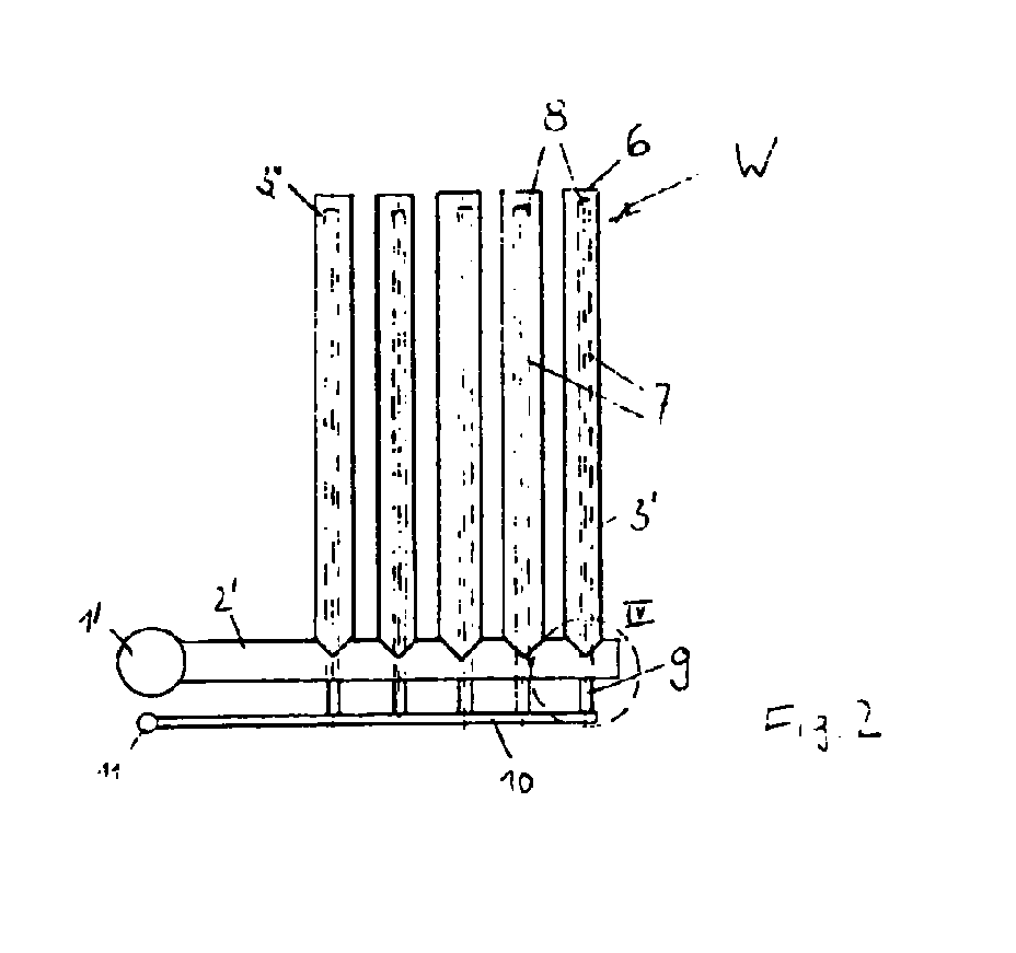
Wärmetauscher, insbesondere zur Verwendung in Wirbelschichttrocknern, mit zumindest einer Zuführung 1', 2' und einer Ableitung für das Wärmeträgerfluid und zumindest einem vom Wärmeträgerfluid durchströmten Wärmetauscherrohr 3'. Um die Wärmetauscherrohre 3' gut zugänglich zu machen, und die Strömung durch den Wärmetauscher durch das Verteilungs- oder Ableitsystem für das Wärmeträgerfluid so wenig wie möglich zu beeinflussen, ist vorgesehen, daß das oder jedes Wärmetauscherrohr 3' an lediglich einem seiner Enden mit einer Zuführung 2' für Wärmeträgerfluid verbunden und am anderen Ende 3'' geschlossen ist, in seinem Inneren zumindest ein zweites Rohr 7 mit kleinerem Durchmesser enthält, welches zumindest eine Öffnung 8 im Bereich des geschlossenen Endes 3'' des Wärmeträgerrohres 3' aufweist und dessen anderes Ende 9 in die Ableitung 10, 11 für das Wärmeträgerfluid mündet. Heat exchanger, in particular for use in fluidized bed dryers, with at least one feed 1 ', 2' and a discharge for the heat transfer fluid and at least one heat exchanger tube 3 'through which the heat transfer fluid flows. In order to make the heat exchanger tubes 3 'easily accessible and to influence the flow through the heat exchanger through the distribution or discharge system for the heat transfer fluid as little as possible, it is provided that the or each heat exchanger tube 3' has only one end with a feed 2 'for heat transfer fluid and is closed at the other end 3'', contains at least a second tube 7 with a smaller diameter in its interior, which has at least one opening 8 in the region of the closed end 3''of the heat transfer tube 3' and the other end thereof 9 opens into the discharge line 10, 11 for the heat transfer fluid.
Applications Claiming Priority (2)
| Application Number | Priority Date | Filing Date | Title |
|---|---|---|---|
| AT0069396A AT405685B (en) | 1996-04-17 | 1996-04-17 | HEAT EXCHANGER |
| AT693/96 | 1996-04-17 |
Publications (2)
| Publication Number | Publication Date |
|---|---|
| EP0802384A2 EP0802384A2 (en) | 1997-10-22 |
| EP0802384A3 true EP0802384A3 (en) | 1999-03-10 |
Family
ID=3497337
Family Applications (1)
| Application Number | Title | Priority Date | Filing Date |
|---|---|---|---|
| EP97103857A Withdrawn EP0802384A3 (en) | 1996-04-17 | 1997-03-07 | Heat exchanger |
Country Status (3)
| Country | Link |
|---|---|
| US (1) | US5940987A (en) |
| EP (1) | EP0802384A3 (en) |
| AT (1) | AT405685B (en) |
Families Citing this family (9)
| Publication number | Priority date | Publication date | Assignee | Title |
|---|---|---|---|---|
| WO2003001334A2 (en) * | 2001-06-22 | 2003-01-03 | Wonderware Corporation | Remotely monitoring / diagnosing distributed components of a supervisory process control and manufacturing information application from a central location |
| JP5050241B2 (en) * | 2007-01-29 | 2012-10-17 | 株式会社Kelk | Fluid temperature controller |
| RU2484404C2 (en) * | 2010-03-29 | 2013-06-10 | Государственное образовательное учреждение высшего профессионального образования "Воронежский государственный технический университет" | Heat exchange method of gaseous media |
| RU2484403C2 (en) * | 2010-03-29 | 2013-06-10 | Государственное образовательное учреждение высшего профессионального образования "Воронежский государственный технический университет" | Regenerative heat exchanger |
| DE102011014131A1 (en) * | 2011-03-15 | 2012-09-20 | Thyssenkrupp Uhde Gmbh | Process for drying moist polymer powder and apparatus suitable therefor |
| DE102011015808B4 (en) * | 2011-04-01 | 2013-09-19 | h s beratung GmbH & Co. KG | Dryers and methods for drying wet products |
| US10094595B1 (en) * | 2012-05-10 | 2018-10-09 | Lockheed Martin Corporation | Solar heat collector |
| US11614287B2 (en) | 2021-06-24 | 2023-03-28 | Darby Renewable Energy Design Systems Inc. | Heat exchanger |
| AT524791B1 (en) * | 2021-12-09 | 2022-09-15 | Andritz Tech & Asset Man Gmbh | HEAT TRANSFER ELEMENT AND ITS USE |
Citations (6)
| Publication number | Priority date | Publication date | Assignee | Title |
|---|---|---|---|---|
| DE231602C (en) * | ||||
| GB1525222A (en) * | 1973-05-05 | 1978-09-20 | Pearce A | Fluidised beds |
| US4290387A (en) * | 1979-10-04 | 1981-09-22 | Curtiss-Wright Corporation | Fluidized bed combustor and tube construction therefor |
| EP0316910A1 (en) * | 1987-11-17 | 1989-05-24 | Phillips Petroleum Company | Heat exchange apparatus |
| EP0447671A1 (en) * | 1990-03-20 | 1991-09-25 | Klöckner-Humboldt-Deutz Aktiengesellschaft | Process and apparatus for drying wet materials in a fluidised bed |
| US5353864A (en) * | 1993-03-01 | 1994-10-11 | Fmc Corporation | Mass flow cooler |
Family Cites Families (7)
| Publication number | Priority date | Publication date | Assignee | Title |
|---|---|---|---|---|
| GB1391430A (en) * | 1971-06-23 | 1975-04-23 | Ici Ltd | Tubular heat exchanger and use thereof in fluidised beds |
| FR2308052A1 (en) * | 1975-04-18 | 1976-11-12 | Commissariat Energie Atomique | PLUNGE TUBE HEAT EXCHANGER |
| US3982901A (en) * | 1975-06-25 | 1976-09-28 | Dorr-Oliver Incorporated | Heat transfer element and tuyere for fluidized bed reactor |
| JPS5677692A (en) * | 1979-11-27 | 1981-06-26 | Toyo Eng Corp | Heat exchanger |
| US4452233A (en) * | 1982-03-04 | 1984-06-05 | Goodman Jr Maurice | Solar energy collector |
| AU558049B2 (en) * | 1982-10-08 | 1987-01-15 | Asea Stal Aktiebolag | Collection of spent material and fly ash from a pressurised fluidised bed combustor |
| SE464781B (en) * | 1989-06-21 | 1991-06-10 | Nonox Eng Ab | DEVICE FOR INDIRECT HEATING OF HIGH PRESSURE TO HIGH TEMPERATURE AND USE OF THE DEVICE |
-
1996
- 1996-04-17 AT AT0069396A patent/AT405685B/en not_active IP Right Cessation
-
1997
- 1997-03-07 EP EP97103857A patent/EP0802384A3/en not_active Withdrawn
- 1997-04-14 US US08/843,303 patent/US5940987A/en not_active Expired - Fee Related
Patent Citations (6)
| Publication number | Priority date | Publication date | Assignee | Title |
|---|---|---|---|---|
| DE231602C (en) * | ||||
| GB1525222A (en) * | 1973-05-05 | 1978-09-20 | Pearce A | Fluidised beds |
| US4290387A (en) * | 1979-10-04 | 1981-09-22 | Curtiss-Wright Corporation | Fluidized bed combustor and tube construction therefor |
| EP0316910A1 (en) * | 1987-11-17 | 1989-05-24 | Phillips Petroleum Company | Heat exchange apparatus |
| EP0447671A1 (en) * | 1990-03-20 | 1991-09-25 | Klöckner-Humboldt-Deutz Aktiengesellschaft | Process and apparatus for drying wet materials in a fluidised bed |
| US5353864A (en) * | 1993-03-01 | 1994-10-11 | Fmc Corporation | Mass flow cooler |
Also Published As
| Publication number | Publication date |
|---|---|
| EP0802384A2 (en) | 1997-10-22 |
| ATA69396A (en) | 1999-02-15 |
| US5940987A (en) | 1999-08-24 |
| AT405685B (en) | 1999-10-25 |
Similar Documents
| Publication | Publication Date | Title |
|---|---|---|
| DE102010004418A1 (en) | UHT plant for heat treatment of temperature-sensitive food products and process for the heat treatment of temperature-sensitive food products in a UHT plant | |
| EP0802384A3 (en) | Heat exchanger | |
| DE2237307A1 (en) | DOUBLE BOTTLE | |
| DE10212688B4 (en) | Hot water storage | |
| DE2022388A1 (en) | Cooling device | |
| EP3011248B1 (en) | Apparatus for influencing the outflow region of a tube carrier plate of a tube bundle heat exchanger | |
| EP1103775A2 (en) | Heat exchanger and water heating system using same | |
| DE19756283A1 (en) | Device for storing and recovering heat from warm domestic effluent | |
| DE19901990C2 (en) | Press fitting | |
| DE202009011326U1 (en) | Heat exchanger for the flue gas duct of a furnace | |
| EP2696001A1 (en) | Sanitary water valve with an outlet part with an antibacterial fitting | |
| DE8901831U1 (en) | radiator | |
| DE102005019856B4 (en) | Continuous heater for a useful fluid and hydraulic circuit | |
| EP2225515B1 (en) | Apparatus for cooling drinking water | |
| DE3021968A1 (en) | Heat exchanger for shower or bath - has hollow liq. filled jacket in contact with body of tub which is connected to circulating system | |
| EP0395573B1 (en) | Device for the magnetic treatment of a fluid | |
| WO1996015328A1 (en) | Flow limiter for hose fittings | |
| DE202005013700U1 (en) | Heat reservoir heats and stores fluid heat medium heated using a source with fluctuating performance such as solar collector has container for storage and at least two heat exchangers each with a corrugate pipe section | |
| DE102004038546A1 (en) | Arrangement for preparing hot service water comprises a temperature sensor arranged in a secondary circulation system of a heat exchanger | |
| CH678354A5 (en) | ||
| DE102005043330B4 (en) | Devices for ice storage and direct cooling | |
| DE10248904B3 (en) | Longitudinal cooler for cooling analysis liquids in laboratory and industry, e.g. in power station, comprises cylindrical casing supporting tube through which cooling liquid flows and upon which are modules | |
| DE676860C (en) | Heat exchanger for liquids or gases, consisting of several tubes that are bundled together at the ends and lie seamlessly against one another | |
| Festspiele | Bayreuther Festspiele | |
| DE1642442A1 (en) | Flash evaporator |
Legal Events
| Date | Code | Title | Description |
|---|---|---|---|
| PUAI | Public reference made under article 153(3) epc to a published international application that has entered the european phase |
Free format text: ORIGINAL CODE: 0009012 |
|
| AK | Designated contracting states |
Kind code of ref document: A2 Designated state(s): DE ES FR GB IT |
|
| PUAL | Search report despatched |
Free format text: ORIGINAL CODE: 0009013 |
|
| AK | Designated contracting states |
Kind code of ref document: A3 Designated state(s): DE ES FR GB IT |
|
| 17P | Request for examination filed |
Effective date: 19990719 |
|
| RAP1 | Party data changed (applicant data changed or rights of an application transferred) |
Owner name: ANDRITZ AG |
|
| STAA | Information on the status of an ep patent application or granted ep patent |
Free format text: STATUS: THE APPLICATION IS DEEMED TO BE WITHDRAWN |
|
| 18D | Application deemed to be withdrawn |
Effective date: 20011002 |
