EP0795481A1 - Verschwenkbarer Griff eines Transportgefässes - Google Patents

Verschwenkbarer Griff eines Transportgefässes Download PDF

Info

Publication number
EP0795481A1
EP0795481A1 EP97102760A EP97102760A EP0795481A1 EP 0795481 A1 EP0795481 A1 EP 0795481A1 EP 97102760 A EP97102760 A EP 97102760A EP 97102760 A EP97102760 A EP 97102760A EP 0795481 A1 EP0795481 A1 EP 0795481A1
Authority
EP
European Patent Office
Prior art keywords
bearing block
handle
connecting element
positive
web
Prior art date
Legal status (The legal status is an assumption and is not a legal conclusion. Google has not performed a legal analysis and makes no representation as to the accuracy of the status listed.)
Withdrawn
Application number
EP97102760A
Other languages
English (en)
French (fr)
Inventor
Jakob Gies
Current Assignee (The listed assignees may be inaccurate. Google has not performed a legal analysis and makes no representation or warranty as to the accuracy of the list.)
Gies & Co Kunststoffwerk KG GmbH
Original Assignee
Gies & Co Kunststoffwerk KG GmbH
Priority date (The priority date is an assumption and is not a legal conclusion. Google has not performed a legal analysis and makes no representation as to the accuracy of the date listed.)
Filing date
Publication date
Application filed by Gies & Co Kunststoffwerk KG GmbH filed Critical Gies & Co Kunststoffwerk KG GmbH
Publication of EP0795481A1 publication Critical patent/EP0795481A1/de
Withdrawn legal-status Critical Current

Links

Images

Classifications

    • BPERFORMING OPERATIONS; TRANSPORTING
    • B65CONVEYING; PACKING; STORING; HANDLING THIN OR FILAMENTARY MATERIAL
    • B65DCONTAINERS FOR STORAGE OR TRANSPORT OF ARTICLES OR MATERIALS, e.g. BAGS, BARRELS, BOTTLES, BOXES, CANS, CARTONS, CRATES, DRUMS, JARS, TANKS, HOPPERS, FORWARDING CONTAINERS; ACCESSORIES, CLOSURES, OR FITTINGS THEREFOR; PACKAGING ELEMENTS; PACKAGES
    • B65D25/00Details of other kinds or types of rigid or semi-rigid containers
    • B65D25/28Handles
    • B65D25/32Bail handles, i.e. pivoted rigid handles of generally semi-circular shape with pivot points on two opposed sides or wall parts of the conainter

Definitions

  • the invention relates to a pivotable handle of a transport vessel, for example a basket or a bucket.
  • Baskets or buckets are provided with pivotable handles according to the prior art.
  • a disadvantage of the baskets or buckets with such a pivotable handle is that when the vessel is loaded unevenly, the vessel assumes a position relative to the handle that severely restricts transportation.
  • the invention is therefore based on the object of designing a pivotable handle of a transport vessel, for example a basket or a bucket, in such a way that the vessel assumes a predetermined position relative to the handle during transport.
  • the object is achieved in that the handle can be deflected vertically in the set-up position for locking, positive and negative latching elements provided on the vessel and on the handle interlocking.
  • the transport vessel has a bearing block and that the handle in the area of the bearing block for receiving by the bearing block has a connecting element, the bearing block and the connecting element having positive and negative latching elements which interact with one another.
  • the connecting element advantageously has two webs which enclose the bracket in the manner of a clamp.
  • a clamp-like detection of the bearing block by means of a connecting element provided with two webs results in a higher stability of the fastening of the handle on the vessel.
  • the bearing block in its edge region has a collar facing towards at least one web of the connecting element, which has a recess in the upper region as a negative latching element, the connecting element having the positive latching element, which is designed such that it can be brought into engagement with the recess and which rests on the collar.
  • the positive locking element is designed in the manner of a T-piece, the web of the T-piece abutting the collar in the locked state and the support of the T-piece protruding into the recess.
  • the first web of the connecting element has an axis of rotation which projects through a vertically aligned elongated hole arranged in the bearing block and which is connected to the other second web, for example by a screw. This axis of rotation is used in conjunction with the slot to guide the handle during vertical deflection Purpose of locking the handle.
  • the vessel designated overall by 1 has the pivotable handle 2 connected to it.
  • the connection of the pivotable handle 2 to the basket 1 results from FIGS. 2, 3 and 4.
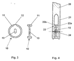
  • the bearing block attached to the basket 1 is designated by 10 in total.
  • the bearing block 10 which is essentially circular (FIG. 3), has a circumferential collar 11 on both sides, which has an opening 12 at its apex.
  • An elongated hole 13 is provided in the center of the bearing block 10 and is oriented vertically upward.
  • the handle of the vessel 1, designated 2 has the connecting element, designated overall 20, for connecting the bearing block to the handle.
  • the connecting element consists of two webs 21 which grip the bracket on both sides like a clamp.
  • Each of the webs 21, which advantageously has the same curvature as the bearing block 10, has on its side facing the bearing block 10 a positive locking element 22 in the form of a T-piece, which has a web 22a and a support 22b.
  • the strength of the T-piece designed as a locking element is such that it corresponds to the thickness of the collar 11 on one side of the bearing block, the collar being arranged on both sides of the bearing block 10.
  • the web 21 has the axis of rotation 24 which projects through the elongated hole 13 of the bearing block 10, the two axes of rotation of the webs 21 being connectable to one another by a screw 25.
  • the handle 2 is now fixed in such a way that when the handle is pivoted into its vertical position, the support 22b of the positive latching element runs into the opening 12 of the bearing block. At the same time, the axis 24 moves upwards in the slot 13. In this locked position, the support 22b of the positive latching element 22 is supported laterally on the collar ends of the collar 10. The web 22a of the latching element lies against the inner surface of the collar 11.

Landscapes

  • Engineering & Computer Science (AREA)
  • Mechanical Engineering (AREA)
  • Details Of Rigid Or Semi-Rigid Containers (AREA)

Abstract

Verschwenkbarer Griff eines Transportgefäßes, zum Beispiel eines Korbes oder eines Eimers, wobei der Griff (2) in aufgestellte Position zur Arretierung vertikal auslenkbar ist, und wobei hierbei am Gefäß (1) und am Griff (2) positive und negative Rastelemente (22 und 11, 12) ineinandergreifen. <IMAGE>

Description

  • Die Erfindung betrifft einen verschwenkbaren Griff eines Transportgefäßes, zum Beispiel eines Korbes oder eines Eimers.
  • Körbe oder Eimer sind nach dem Stand der Technik mit verschwenkbaren Griffen versehen. Nachteilig an den Körben oder Eimern mit einem derartigen verschwenkbaren Griff ist, daß bei ungleichmäßiger Belastung des Gefäßes, das Gefäß relativ zum Griff eine Stellung einnimmt, die den Transport stark einschränkt.
  • Der Erfindung liegt daher die Aufgabe zugrunde, einen verschwenkbaren Griff eines Transportgefäßes, beispielsweise eines Korbes oder eines Eimers, derart zugestalten, daß das Gefäß während des Transportes relativ zum Griff eine vorbestimmte Position einnimmt.
  • Die Aufgabe wird erfindungsgemäß dadurch gelöst, daß der Griff in aufgestellter Postion zur Arretierung vertikal auslenkbar ist, wobei jeweils am Gefäß und am Griff vorgesehene positive und negative Rastelemente ineinander greifen. Durch eine Arretierung des Griffes am Gefäß bei Transportstellung des Griffes, das heißt im wesentlichen bei vertikaler Ausrichtung des Griffes, wird erreicht, daß der Korb oder der Eimer auch bei ungleichmäßiger Belastung nicht mehr abkippt.
  • Im einzelnen ist vorgesehen, daß das Transportgefäß einen Lagerbock aufweist, und daß der Griff im Bereich des Lagerbockes zur Aufnahme durch den Lagerbock ein Verbindungselement besitzt, wobei der Lagerbock und das Verbindungselement positive und negative miteinander wirkende Rastelemente aufweisen.
  • Weiterhin besitzt das Verbindungselement vorteilhaft zwei Stege, die den Lagerbock klammerartig umfassen. Durch eine derartige klammerartige Erfassung des Lagerbockes durch ein mit zwei Stegen versehenes Verbindungselement wird eine höhere Stabilität der Befestigung des Griffes am Gefäß erzielt. Hierbei ist im einzelnen vorgesehen, daß der Lagerbock in seinem Randbereich einen in Richtung auf zumindest einen Steg des Verbindungselementes zuweisenden Bund aufweist, der im oberen Bereich eine Aussparung als negatives Rastelement besitzt, wobei das Verbindungselement das positive Rastelement aufweist, das derart gestaltet ist, daß es in Eingriff mit der Aussparung bringbar ist, und das an dem Bund anliegt. Hierbei ist das positive Rastelement nach Art eine T-Stückes ausgebildet, wobei im arretierten Zustand der Steg des T-Stückes an dem Bund anliegt, und die Stütze des T-Stückes in die Aussparung hineinragt.
  • Der eine erste Steg des Verbindungselementes besitzt eine Drehachse, die durch ein im Lagerbock angeordnetes, vertikal ausgerichtetes Langloch ragt und die mit dem anderen zweiten Steg, beispielsweise durch eine Schraube, in Verbindung steht. Diese Drehachse dient in Verbindung mit dem Langloch der Führung des Griffes bei der vertikalen Auslenkung zum Zwecke der Arretierung des Griffes.
  • Anhand der Zeichnung wird die Erfindung nachstehend beispielhaft näher erläutert.
  • Figur 1
    zeigt den Korb in einer perspektivischen Darstellung;
    Figur 2
    zeigt die Einzelheit "X" in Vergrößerung.
    Figur 3
    zeigt den Lagerbock in Alleinstellug;
    Figur 4
    zeigt einen Schnitt durch den Griff und den Lagerbock.
  • Gemäß Figur 1 weist das insgesamt mit 1 bezeichnete Gefäß den damit verbundenen, schwenkbaren Griff 2 auf. Die Verbindung des schwenkbaren Griffes 2 mit dem Korb 1 ergibt sich aus den Figuren 2, 3 und 4. Gemäß den Figuren 2 und 4 ist der am Korb 1 befestigte Lagerbock insgesamt mit 10 bezeichnet. Der Lagerbock 10, der im wesentlichen kreisrund (Fig. 3) ausgebildet ist, weist zu beiden Seiten einen umlaufenden Bund 11 auf, der an seinem Scheitelpunkt eine Öffnung 12 besitzt. Mittig in dem Lagerbock 10 ist ein Langloch 13 vorgesehen, das vertikal nach oben stehend ausgerichtet ist. Der mit 2 bezeichnete Griff des Gefäßes 1 besitzt das insgesamt mit 20 bezeichnete Verbindungselement zur Verbindung des Lagerbockes mit dem Griff. Das Verbindungselement besteht aus zwei Stegen 21, die den Lagerbock zu beiden Seiten klammerartig erfassen. Jeder der Stege 21, der vorteilhaft eine eben solche Rundung aufweist wie der Lagerbock 10, weist auf seiner dem Lagerbock 10 zugewandten Seite ein postitives Rastelement 22 in Form eines T-Stückes auf, das einen Steg 22a und eine Stütze 22b besitzt. Die Stärke des als Rastelement ausgebildeten T-Stückes ist hierbei derart, daR es der Dicke des Bundes 11 auf einer Seite des Lagerbockes entspricht, wobei der Bund zu beiden Seiten des Lagerbockes 10 an diesem angeordnet ist. Mittig besitzt der Steg 21 die Drehachse 24, die durch das Langloch 13 des Lagerbockes 10 durchragt, wobei durch eine Schraube 25 die beiden Drehachsen der Stege 21 miteinander verbindbar sind.
  • Die Fixierung des Griffes 2 erfolgt nun derart, daß bei Verschwenken des Griffes in seine vertikaler Position, die Stütze 22b des positiven Rastelementes in die Öffnung 12 des Lagerbockes hineinläuft. Gleichzeitig bewegt sich die Achse 24 in dem Langloch 13 nach oben. In dieser arretierten Position stützt sich die Stütze 22b des positiven Rastelementes 22 seitlich an den Bundenden des Bundes 10 ab. Der Steg 22a des Rastelementes liegt hierbei an der Innenfläche des Bundes 11 an.
  • Um den Griff umlegen zu können, ist lediglich erforderlich, daß durch Druck von oben auf den Griff die Stütze 22b aus dem Bereich der Öffnung 12 des Bundes 11 hinausgelangt; alsdann kann der Griff umgelegt werden.

Claims (6)

  1. Verschwenkbarer Griff eines Transportgefäßes, zum Beispiel eines Korbes oder eines Eimers,
    dadurch gekennzeichnet, daß
    der Griff (2) in aufgestellte Position zur Arretierung vertikal auslenkbar ist, wobei hierbei am Gefäß (1) und am Griff (2) positive und negative Rastelemente (22 und 11, 12) ineinandergreifen.
  2. Verschwenkbarer Griff nach Anspruch 1,
    dadurch gekennzeichnet, daß
    daß das Gefäß (1) einen Lagerbock (10) aufweist, und daß der Griff (2) im Bereich des Lagerbockes (10) zur Aufnahme durch den Lagerbock (10) ein Verbindungselement (20) aufweist, wobei der Lagerbock (10) und das Verbindungselement (20) positive und negative miteinander wirkende Rastelemente (22 und 11, 12) aufweisen.
  3. Verschwenkbarer Griff nach einem der veranstehenden Ansprüche,
    dadurch gekennzeichnet, daß
    das Verbindungselement (20) zwei Stege (21) aufweist, die den Lagerbock (10) klammerartig erfassen.
  4. Verschwenkbarer Griff nach einem der voranstehenden Ansprüche,
    dadurch gekennzeichnet, daß
    der Lagerbock (10) in seinem Randbereich einen in Richtung auf zumindest einen Steg (21) des Verbindungselementes (20) weisenden Bund (11) besitzt, der im oberen Bereich eine Aussparung (12) als negatives Rastelement aufweist, wobei das Verbindungselement (20) ein positives Rastelement (22) aufweist, das derart gestaltet ist, daß es in Eingriff mit der Aussparung bringbar ist und an dem Bund (11) anliegt.
  5. Verschwenkbarer Griff nach einem der voranstehenden Ansprüche,
    dadurch gekennzeichnet, daß
    das positive Rastelement (22) nach Art eines T-Stückes ausgebildet ist, wobei im arretierten Zustand der Steg (22b) des T-Stückes an dem Bund (11) anliegt und die Stütze (22a) des T-Stückes in die Aussparung (12] des Bundes (11) hineinragt.
  6. Verschwenkbarer Griff nach einem der voranstehenden Ansprüche,
    dadurch gekennzeichnet, daß
    der Steg (21) eine Drehachse (24) aufweist, die durch ein im Lagerbock (10) angeordnete,s vertikal ausgerichtetes Langloch (13) ragt und mit dem anderen zweiten Steg (21) in Verbindung steht.
EP97102760A 1996-03-16 1997-02-20 Verschwenkbarer Griff eines Transportgefässes Withdrawn EP0795481A1 (de)

Applications Claiming Priority (2)

Application Number Priority Date Filing Date Title
DE29604907U 1996-03-16
DE29604907U DE29604907U1 (de) 1996-03-16 1996-03-16 Verschwenkbarer Griff eines Transportgefäßes

Publications (1)

Publication Number Publication Date
EP0795481A1 true EP0795481A1 (de) 1997-09-17

Family

ID=8021192

Family Applications (1)

Application Number Title Priority Date Filing Date
EP97102760A Withdrawn EP0795481A1 (de) 1996-03-16 1997-02-20 Verschwenkbarer Griff eines Transportgefässes

Country Status (2)

Country Link
EP (1) EP0795481A1 (de)
DE (1) DE29604907U1 (de)

Cited By (1)

* Cited by examiner, † Cited by third party
Publication number Priority date Publication date Assignee Title
NL2030327B1 (en) * 2021-12-29 2023-07-04 Burgers Beheer B V An assembly of a carrier and a U-shaped handle

Families Citing this family (1)

* Cited by examiner, † Cited by third party
Publication number Priority date Publication date Assignee Title
DE102005061983A1 (de) * 2005-12-23 2007-07-05 Rixen & Kaul Gmbh Fahrradkorb mit einem Tragebügel

Citations (6)

* Cited by examiner, † Cited by third party
Publication number Priority date Publication date Assignee Title
CH305592A (de) * 1952-10-17 1955-02-28 Migros Korb mit Tragbügel.
CH306217A (de) * 1953-11-26 1955-03-31 Mitschjeta Max Transportbehälter.
CH320165A (de) * 1953-12-18 1957-03-15 Mitschjeta Max Transportbehälter
CH320622A (de) * 1954-04-29 1957-03-31 Rudolf Ruch Ag Korb mit verschwenkbarem Henkel
CH327951A (de) * 1954-10-23 1958-02-15 Mitschjeta Max Transportbehälter
FR1166967A (fr) * 1957-02-22 1958-11-18 Reunis Pour La Fabrication D A Perfectionnements au montage des anses de paniers et corbeilles de manutention

Patent Citations (6)

* Cited by examiner, † Cited by third party
Publication number Priority date Publication date Assignee Title
CH305592A (de) * 1952-10-17 1955-02-28 Migros Korb mit Tragbügel.
CH306217A (de) * 1953-11-26 1955-03-31 Mitschjeta Max Transportbehälter.
CH320165A (de) * 1953-12-18 1957-03-15 Mitschjeta Max Transportbehälter
CH320622A (de) * 1954-04-29 1957-03-31 Rudolf Ruch Ag Korb mit verschwenkbarem Henkel
CH327951A (de) * 1954-10-23 1958-02-15 Mitschjeta Max Transportbehälter
FR1166967A (fr) * 1957-02-22 1958-11-18 Reunis Pour La Fabrication D A Perfectionnements au montage des anses de paniers et corbeilles de manutention

Cited By (2)

* Cited by examiner, † Cited by third party
Publication number Priority date Publication date Assignee Title
NL2030327B1 (en) * 2021-12-29 2023-07-04 Burgers Beheer B V An assembly of a carrier and a U-shaped handle
WO2023128756A1 (en) * 2021-12-29 2023-07-06 Burgers Beheer B.V. An assembly of a carrier and a u-shaped handle

Also Published As

Publication number Publication date
DE29604907U1 (de) 1996-05-30

Similar Documents

Publication Publication Date Title
DE68926887T2 (de) Verschiebbares Scharnier insbesondere für Glas- oder Flaschenhalter
EP1254842B1 (de) Kunststoffbehälter
DE29812146U1 (de) In ein Kraftfahrzeug einbaubare Vorrichtung zum Halten eines Trinkgefäßes
DE19538988A1 (de) Tischüberbrückungsvorrichtung
EP1451054A2 (de) Einkaufswagen
EP0244731B1 (de) Anordnung zum Arretieren einer Ladeeinheit
EP0795481A1 (de) Verschwenkbarer Griff eines Transportgefässes
EP0742692B1 (de) Transportwagen mit einer grundplatte und standholmen
DE9317500U1 (de) Schiebegriffanordnung für einen Transportwagen
DE3921781C2 (de)
EP1024734A1 (de) Abdeckvorrichtung für ein gefäss
EP0541849A1 (de) Verbindung von Flächengebilden sowie Wasch- und/oder Trockenmaschine
EP0195004A1 (de) Schutzblende für spraydosen
EP1311305A1 (de) Sieb, insbesondere sterilisationssieb
DE29705962U1 (de) Vorrichtung zum stehenden Transport eines zylinderförmigen Behälters
DE29718814U1 (de) Abdeckvorrichtung für ein Gefäß
DE8912654U1 (de) Clip
DE20208827U1 (de) Tragevorrichtung für Flaschen
DE9205928U1 (de) Mehrwegverpackung
DE8136519U1 (de) Traggriff fuer einen handhabbaren Aufnahmebehaelter insbesondere fuer einen Kunststoffkorb
DE8224838U1 (de) Einsatzbehaeltnis fuer einkaufswagen
DE9206619U1 (de) Vorrichtung zum Transportieren und Entleeren von Behältern
DE29800047U1 (de) Drehstapelbarer Siebkorb
DE7709597U1 (de) Kabelkanal
DE9106016U1 (de) Vorrichtung zum Sortieren und Sammeln von Abfall, insbesondere von Büroabfällen

Legal Events

Date Code Title Description
PUAI Public reference made under article 153(3) epc to a published international application that has entered the european phase

Free format text: ORIGINAL CODE: 0009012

AK Designated contracting states

Kind code of ref document: A1

Designated state(s): AT BE CH DE DK ES FR GB GR IT LI LU NL SE

STAA Information on the status of an ep patent application or granted ep patent

Free format text: STATUS: THE APPLICATION HAS BEEN WITHDRAWN

18W Application withdrawn

Withdrawal date: 19970809