EP0680411B2 - Dokument mit dotiertem optischen sicherheitsmerkmal, schichtverbund zu dessen herstellung und prüfeinrichtung zur prüfung des dokumentes auf echtheit - Google Patents

Dokument mit dotiertem optischen sicherheitsmerkmal, schichtverbund zu dessen herstellung und prüfeinrichtung zur prüfung des dokumentes auf echtheit Download PDF

Info

Publication number
EP0680411B2
EP0680411B2 EP93924429A EP93924429A EP0680411B2 EP 0680411 B2 EP0680411 B2 EP 0680411B2 EP 93924429 A EP93924429 A EP 93924429A EP 93924429 A EP93924429 A EP 93924429A EP 0680411 B2 EP0680411 B2 EP 0680411B2
Authority
EP
European Patent Office
Prior art keywords
layer
document
substances
adhesive layer
film structure
Prior art date
Legal status (The legal status is an assumption and is not a legal conclusion. Google has not performed a legal analysis and makes no representation as to the accuracy of the status listed.)
Expired - Lifetime
Application number
EP93924429A
Other languages
English (en)
French (fr)
Other versions
EP0680411B1 (de
EP0680411A1 (de
Inventor
Erich Berger
Peter Fajmann
Current Assignee (The listed assignees may be inaccurate. Google has not performed a legal analysis and makes no representation or warranty as to the accuracy of the list.)
Osterreichische National Bank
Original Assignee
Osterreichische National Bank
Priority date (The priority date is an assumption and is not a legal conclusion. Google has not performed a legal analysis and makes no representation as to the accuracy of the date listed.)
Filing date
Publication date
Family has litigation
First worldwide family litigation filed litigation Critical https://patents.darts-ip.com/?family=3531764&utm_source=google_patent&utm_medium=platform_link&utm_campaign=public_patent_search&patent=EP0680411(B2) "Global patent litigation dataset” by Darts-ip is licensed under a Creative Commons Attribution 4.0 International License.
Application filed by Osterreichische National Bank filed Critical Osterreichische National Bank
Publication of EP0680411A1 publication Critical patent/EP0680411A1/de
Publication of EP0680411B1 publication Critical patent/EP0680411B1/de
Application granted granted Critical
Publication of EP0680411B2 publication Critical patent/EP0680411B2/de
Anticipated expiration legal-status Critical
Expired - Lifetime legal-status Critical Current

Links

Images

Classifications

    • BPERFORMING OPERATIONS; TRANSPORTING
    • B42BOOKBINDING; ALBUMS; FILES; SPECIAL PRINTED MATTER
    • B42DBOOKS; BOOK COVERS; LOOSE LEAVES; PRINTED MATTER CHARACTERISED BY IDENTIFICATION OR SECURITY FEATURES; PRINTED MATTER OF SPECIAL FORMAT OR STYLE NOT OTHERWISE PROVIDED FOR; DEVICES FOR USE THEREWITH AND NOT OTHERWISE PROVIDED FOR; MOVABLE-STRIP WRITING OR READING APPARATUS
    • B42D25/00Information-bearing cards or sheet-like structures characterised by identification or security features; Manufacture thereof
    • B42D25/20Information-bearing cards or sheet-like structures characterised by identification or security features; Manufacture thereof characterised by a particular use or purpose
    • B42D25/29Securities; Bank notes
    • BPERFORMING OPERATIONS; TRANSPORTING
    • B42BOOKBINDING; ALBUMS; FILES; SPECIAL PRINTED MATTER
    • B42DBOOKS; BOOK COVERS; LOOSE LEAVES; PRINTED MATTER CHARACTERISED BY IDENTIFICATION OR SECURITY FEATURES; PRINTED MATTER OF SPECIAL FORMAT OR STYLE NOT OTHERWISE PROVIDED FOR; DEVICES FOR USE THEREWITH AND NOT OTHERWISE PROVIDED FOR; MOVABLE-STRIP WRITING OR READING APPARATUS
    • B42D25/00Information-bearing cards or sheet-like structures characterised by identification or security features; Manufacture thereof
    • B42D25/30Identification or security features, e.g. for preventing forgery
    • B42D25/328Diffraction gratings; Holograms
    • BPERFORMING OPERATIONS; TRANSPORTING
    • B42BOOKBINDING; ALBUMS; FILES; SPECIAL PRINTED MATTER
    • B42DBOOKS; BOOK COVERS; LOOSE LEAVES; PRINTED MATTER CHARACTERISED BY IDENTIFICATION OR SECURITY FEATURES; PRINTED MATTER OF SPECIAL FORMAT OR STYLE NOT OTHERWISE PROVIDED FOR; DEVICES FOR USE THEREWITH AND NOT OTHERWISE PROVIDED FOR; MOVABLE-STRIP WRITING OR READING APPARATUS
    • B42D25/00Information-bearing cards or sheet-like structures characterised by identification or security features; Manufacture thereof
    • B42D25/30Identification or security features, e.g. for preventing forgery
    • B42D25/36Identification or security features, e.g. for preventing forgery comprising special materials
    • B42D25/373Metallic materials
    • BPERFORMING OPERATIONS; TRANSPORTING
    • B42BOOKBINDING; ALBUMS; FILES; SPECIAL PRINTED MATTER
    • B42DBOOKS; BOOK COVERS; LOOSE LEAVES; PRINTED MATTER CHARACTERISED BY IDENTIFICATION OR SECURITY FEATURES; PRINTED MATTER OF SPECIAL FORMAT OR STYLE NOT OTHERWISE PROVIDED FOR; DEVICES FOR USE THEREWITH AND NOT OTHERWISE PROVIDED FOR; MOVABLE-STRIP WRITING OR READING APPARATUS
    • B42D25/00Information-bearing cards or sheet-like structures characterised by identification or security features; Manufacture thereof
    • B42D25/40Manufacture
    • B42D25/45Associating two or more layers
    • B42D25/465Associating two or more layers using chemicals or adhesives
    • B42D25/47Associating two or more layers using chemicals or adhesives using adhesives
    • B42D2033/04
    • B42D2033/10
    • B42D2033/18
    • B42D2033/20
    • B42D2035/20
    • B42D2035/24
    • YGENERAL TAGGING OF NEW TECHNOLOGICAL DEVELOPMENTS; GENERAL TAGGING OF CROSS-SECTIONAL TECHNOLOGIES SPANNING OVER SEVERAL SECTIONS OF THE IPC; TECHNICAL SUBJECTS COVERED BY FORMER USPC CROSS-REFERENCE ART COLLECTIONS [XRACs] AND DIGESTS
    • Y10TECHNICAL SUBJECTS COVERED BY FORMER USPC
    • Y10STECHNICAL SUBJECTS COVERED BY FORMER USPC CROSS-REFERENCE ART COLLECTIONS [XRACs] AND DIGESTS
    • Y10S428/00Stock material or miscellaneous articles
    • Y10S428/916Fraud or tamper detecting
    • YGENERAL TAGGING OF NEW TECHNOLOGICAL DEVELOPMENTS; GENERAL TAGGING OF CROSS-SECTIONAL TECHNOLOGIES SPANNING OVER SEVERAL SECTIONS OF THE IPC; TECHNICAL SUBJECTS COVERED BY FORMER USPC CROSS-REFERENCE ART COLLECTIONS [XRACs] AND DIGESTS
    • Y10TECHNICAL SUBJECTS COVERED BY FORMER USPC
    • Y10TTECHNICAL SUBJECTS COVERED BY FORMER US CLASSIFICATION
    • Y10T428/00Stock material or miscellaneous articles
    • Y10T428/14Layer or component removable to expose adhesive
    • Y10T428/1476Release layer
    • YGENERAL TAGGING OF NEW TECHNOLOGICAL DEVELOPMENTS; GENERAL TAGGING OF CROSS-SECTIONAL TECHNOLOGIES SPANNING OVER SEVERAL SECTIONS OF THE IPC; TECHNICAL SUBJECTS COVERED BY FORMER USPC CROSS-REFERENCE ART COLLECTIONS [XRACs] AND DIGESTS
    • Y10TECHNICAL SUBJECTS COVERED BY FORMER USPC
    • Y10TTECHNICAL SUBJECTS COVERED BY FORMER US CLASSIFICATION
    • Y10T428/00Stock material or miscellaneous articles
    • Y10T428/24Structurally defined web or sheet [e.g., overall dimension, etc.]
    • Y10T428/24802Discontinuous or differential coating, impregnation or bond [e.g., artwork, printing, retouched photograph, etc.]
    • YGENERAL TAGGING OF NEW TECHNOLOGICAL DEVELOPMENTS; GENERAL TAGGING OF CROSS-SECTIONAL TECHNOLOGIES SPANNING OVER SEVERAL SECTIONS OF THE IPC; TECHNICAL SUBJECTS COVERED BY FORMER USPC CROSS-REFERENCE ART COLLECTIONS [XRACs] AND DIGESTS
    • Y10TECHNICAL SUBJECTS COVERED BY FORMER USPC
    • Y10TTECHNICAL SUBJECTS COVERED BY FORMER US CLASSIFICATION
    • Y10T428/00Stock material or miscellaneous articles
    • Y10T428/24Structurally defined web or sheet [e.g., overall dimension, etc.]
    • Y10T428/24802Discontinuous or differential coating, impregnation or bond [e.g., artwork, printing, retouched photograph, etc.]
    • Y10T428/24843Discontinuous or differential coating, impregnation or bond [e.g., artwork, printing, retouched photograph, etc.] with heat sealable or heat releasable adhesive layer
    • YGENERAL TAGGING OF NEW TECHNOLOGICAL DEVELOPMENTS; GENERAL TAGGING OF CROSS-SECTIONAL TECHNOLOGIES SPANNING OVER SEVERAL SECTIONS OF THE IPC; TECHNICAL SUBJECTS COVERED BY FORMER USPC CROSS-REFERENCE ART COLLECTIONS [XRACs] AND DIGESTS
    • Y10TECHNICAL SUBJECTS COVERED BY FORMER USPC
    • Y10TTECHNICAL SUBJECTS COVERED BY FORMER US CLASSIFICATION
    • Y10T428/00Stock material or miscellaneous articles
    • Y10T428/24Structurally defined web or sheet [e.g., overall dimension, etc.]
    • Y10T428/24802Discontinuous or differential coating, impregnation or bond [e.g., artwork, printing, retouched photograph, etc.]
    • Y10T428/24893Discontinuous or differential coating, impregnation or bond [e.g., artwork, printing, retouched photograph, etc.] including particulate material
    • YGENERAL TAGGING OF NEW TECHNOLOGICAL DEVELOPMENTS; GENERAL TAGGING OF CROSS-SECTIONAL TECHNOLOGIES SPANNING OVER SEVERAL SECTIONS OF THE IPC; TECHNICAL SUBJECTS COVERED BY FORMER USPC CROSS-REFERENCE ART COLLECTIONS [XRACs] AND DIGESTS
    • Y10TECHNICAL SUBJECTS COVERED BY FORMER USPC
    • Y10TTECHNICAL SUBJECTS COVERED BY FORMER US CLASSIFICATION
    • Y10T428/00Stock material or miscellaneous articles
    • Y10T428/24Structurally defined web or sheet [e.g., overall dimension, etc.]
    • Y10T428/24802Discontinuous or differential coating, impregnation or bond [e.g., artwork, printing, retouched photograph, etc.]
    • Y10T428/24917Discontinuous or differential coating, impregnation or bond [e.g., artwork, printing, retouched photograph, etc.] including metal layer
    • YGENERAL TAGGING OF NEW TECHNOLOGICAL DEVELOPMENTS; GENERAL TAGGING OF CROSS-SECTIONAL TECHNOLOGIES SPANNING OVER SEVERAL SECTIONS OF THE IPC; TECHNICAL SUBJECTS COVERED BY FORMER USPC CROSS-REFERENCE ART COLLECTIONS [XRACs] AND DIGESTS
    • Y10TECHNICAL SUBJECTS COVERED BY FORMER USPC
    • Y10TTECHNICAL SUBJECTS COVERED BY FORMER US CLASSIFICATION
    • Y10T428/00Stock material or miscellaneous articles
    • Y10T428/28Web or sheet containing structurally defined element or component and having an adhesive outermost layer
    • Y10T428/2804Next to metal
    • YGENERAL TAGGING OF NEW TECHNOLOGICAL DEVELOPMENTS; GENERAL TAGGING OF CROSS-SECTIONAL TECHNOLOGIES SPANNING OVER SEVERAL SECTIONS OF THE IPC; TECHNICAL SUBJECTS COVERED BY FORMER USPC CROSS-REFERENCE ART COLLECTIONS [XRACs] AND DIGESTS
    • Y10TECHNICAL SUBJECTS COVERED BY FORMER USPC
    • Y10TTECHNICAL SUBJECTS COVERED BY FORMER US CLASSIFICATION
    • Y10T428/00Stock material or miscellaneous articles
    • Y10T428/28Web or sheet containing structurally defined element or component and having an adhesive outermost layer
    • Y10T428/2839Web or sheet containing structurally defined element or component and having an adhesive outermost layer with release or antistick coating
    • YGENERAL TAGGING OF NEW TECHNOLOGICAL DEVELOPMENTS; GENERAL TAGGING OF CROSS-SECTIONAL TECHNOLOGIES SPANNING OVER SEVERAL SECTIONS OF THE IPC; TECHNICAL SUBJECTS COVERED BY FORMER USPC CROSS-REFERENCE ART COLLECTIONS [XRACs] AND DIGESTS
    • Y10TECHNICAL SUBJECTS COVERED BY FORMER USPC
    • Y10TTECHNICAL SUBJECTS COVERED BY FORMER US CLASSIFICATION
    • Y10T428/00Stock material or miscellaneous articles
    • Y10T428/31504Composite [nonstructural laminate]
    • Y10T428/31678Of metal

Definitions

  • the invention relates to a document, e.g. Banknote, check, credit card, ID card or ticket, which is an optical Security feature in the form of a light reflecting and diffractive provided at least in some areas and / or refractive layer, e.g. a hologram, an interference layer, a (computer-generated) Diffraction structure or the like has, wherein the optical security feature is provided with doping material and in a film structure is present, which is attached to the document by means of an adhesive layer and, if appropriate has at least one transparent layer in the film structure.
  • a document e.g. Banknote, check, credit card, ID card or ticket
  • an optical Security feature in the form of a light reflecting and diffractive provided at least in some areas and / or refractive layer, e.g. a hologram, an interference layer, a (computer-generated) Diffraction structure or the like has, wherein the optical security feature is provided with doping material and in a film structure is present, which is attached to the document by
  • the invention is concerned with a film structure, for the production of such documents, with a carrier film and a transfer layer which can be detached therefrom and which is at least the embossed optical security feature forming, light reflecting as well as diffractive and / or refractive layer, in particular as an embossing film, is preferably formed as a hot stamping film, and on the side of the reflective side facing away from the carrier film Layer has an adhesive layer, at least one transparent layer being arranged in the film structure can.
  • the known documents or embossing foils have an optical diffraction effect as a security feature all against color copy structure, such diffraction optically effective, i.e.
  • Light reflecting, Diffractive and / or refractive structures have the basic advantage that they are with the unarmed eye recognized, but can also be read by machine.
  • Typical structures applied in particular to banknotes include Kinegrams and pixelgrams. The falsification of such structures is very difficult, but is still in preparation all feasible if it is possible to expose the correspondingly structured surface and galvanically to take impressions or to copy phototechnically.
  • DE-OS 37 41 179 discloses the use of two security features, namely firstly, a relief embossed in paper and thus already palpable, and secondly a luminescent relief as a second security feature Substances on the peaks or in the valleys of the relief.
  • a transfer belt can be used, the layers of which are applied to the document by means of an adhesive layer can be, the transfer ribbon, however, a color layer of a luminescent substance in addition to this luminescent layer can contain a color pigment layer.
  • DE-OS 39 06 695 shows the embedding of a tape serving as a security element in a document.
  • the Band consists of a translucent plastic film, which with characters or patterns in the form of recesses is provided, with additionally luminescent substances in areas that are identical to the recesses are arranged.
  • the known state of the art can thus be summarized in that it is known luminescent substances on the one hand in the area of application of the non-optical features by (partial) printing, To apply coating, embossing or also with transfer ribbon transfer and on the other hand in the area of application optical characteristics (e.g. reflective grid structure with a number of lines of about 1000 / mm and line depth of about 100 nm) to be used to secure documents with protective coatings that cover the surface.
  • optical characteristics e.g. reflective grid structure with a number of lines of about 1000 / mm and line depth of about 100 nm
  • the object of the invention is now the authenticity detection of the optical feature applied to a document by verifying the authenticity independent of an existing (forged) hologram lattice structure, for example to be able to perform and thereby design the optical feature so that a reliable machine detection guaranteed in the high-speed range (10 m / sec) without incorrect readings and resulting rejections can be.
  • Documents should therefore only be rejected as suspicious if an imitation of the optical feature is present or this is missing entirely.
  • documents with damaged optical Features in the sorting process are controlled in a storage compartment for unusable documents and therefore none considerable effort in the form of manual processing, like this for Rejection is necessary.
  • the adhesive layer at least one luminescent substance is doped. It is also possible that different luminescent substances are contained in the adhesive layer.
  • the inventive design of the document on the one hand enables a simple and therefore extremely inexpensive authenticity measurement arrangement and on the other hand a completely negligible rejection rate at the machine processing of the documents achieved.
  • a high-quality professional made with the intention of deception Falsification of the structure of the optical feature is nevertheless machine-recognizable and in the case of counterfeiting, this during the sorting process or by one trained cashier can be eliminated or recognized.
  • the incorporation of the luminescent substances into the adhesive layer has the advantage that in the case of a Attempted manipulation of the optical security feature, e.g. trying one Lifting or peeling, still parts of the adhesive layer and thus the Doping material stuck to the document.
  • the adhesive layer with its thickness of about 6 ⁇ m, it is the thickest layer in the film structure.
  • Many Luminescent materials, such as rare earths, are more inorganic Natural and must be milled, with their particle sizes below 5 ⁇ m Significantly lose or lose lighting properties.
  • Many of the for circulating Banknotes suitable luminescent pigments with sufficient aging, UV and Chemical resistance can only be produced with particle sizes above about 5 ⁇ m.
  • luminescent substances in the adhesive layer has an opposite for example, structures which have a purely optical diffraction effect have the advantage that Security feature can still be determined when the document or Foil structure, e.g. mechanical, badly damaged. Unless it's a forger the diffractive optical structure should succeed on a fake one To transfer the document of value would still be the forgery because of the missing luminescent properties on the fake, but with the original diffractive structure provided document.
  • the admixture of luminescent substances provided according to the invention to the adhesive layer in the film structure can practically without additional effort in the usual production of the documents or the film structure can be realized and thus offers a very significant increase in the security effect without noticeable additional costs. If necessary, from security or production engineering considerations the application of the doped adhesive layer also either retrospectively on the prefabricated optical present on carrier film Security feature or in advance on the carrier material, especially paper, at Paper or document manufacturers take place.
  • the luminescent Substances only partially in the adhesive layer preferably in one certain, preferably machine-readable patterns are provided additional securing options, because then not just a general admixture of the luminescent substances to the adhesive layer is sufficient, but additionally that luminescent substances have to be introduced in a very specific way, which is only possible using special machines.
  • Luminescent substances are expediently fluorescent or phosphorescent, the decision to use fluorescent or phosphorescent substances of the respective purpose depends, but possibly there is also the possibility of fluorescent and use phosphorescent substances together, optionally each of the To provide substances in a certain pattern.
  • Substances have narrow-band fluorescent substances, e.g. from the Group of rare earths proven. Also fluorescent substances are very closely adjacent emission compared to the excitation wavelength and those with same emission wavelength can be used advantageously. The presence or The absence of substances of this type can be known from those known per se Determine measuring devices with great accuracy, already using luminescent substances that differ in terms of their luminescent properties Deviate slightly from original fabrics, can be safely determined, above all because the radiation devices used in checking the value documents etc. can be adapted exactly to the substances to be tested.
  • the Adhesive layer is formed by a hot melt adhesive, which is then the usual Application method for hot stamping foils easily a reliable adhesion generated.
  • the transparent layer in the film structure consists of a film structure expediently according to the invention from one of the known Transparent coatings.
  • the reflective layer of one, preferably by Evaporating in a thin metal layer, e.g. one Aluminum layer is formed.
  • a release layer e.g. a Wax layer
  • the Value document 1 has banknote paper as the carrier 1, however
  • the carrier can also use a synthetic one Paper, a plastic film or, in the case of a credit card, a plastic card his.
  • a plastic card can be embossed on its front, for example Letters bear the name of the owner and an identification number.
  • the Value document 1 has a local security feature, which in a film structure, which can be a layer composite 4 is present, which is shown in FIGS. 3 and 4 is shown where it is formed as an embossing film.
  • the layer composite 4 There is an optical security feature in the layer composite 4, namely a light reflective and diffractive and / or refractive structure present, the For example, is formed by a thin metal layer 5, which in the Embodiment of FIGS. 1 and 2 between one drawn as the top one transparent layer 6 embedded in the layer composite 4 and an adhesive layer 7 is.
  • the adhesive layer 7 serves to fix the layer composite 4 on the Surface of the document 1.
  • the transparent layer 6 in the layer composite 4 the is drawn as the top layer in the exemplary embodiment (FIG. 2), which covers that of the Metal layer 5 formed, diffraction-optical structure and difficult thus a decrease in the structure attempted forgery.
  • luminescent substances are present in the adhesive layer 7. Such substances can also be known in the transparent layer 6 be provided. You can, as in the embodiment of FIG. 1, only in areas, namely in area 8, where in the exemplary embodiment Head representation is located. A preparation can be used as a substance narrow band fluorescent rare earths are used.
  • the security feature in the document of value according to FIG. 1 thus exists not only from the diffraction optically effective, possibly specially shaped structure in the metal layer 5, but additionally in the layer composite 4 of the Areas with luminescent properties are present, these properties are also determined mechanically by readers and can be checked.
  • the attachment of the optical security feature with luminescent properties according to the invention on documents of value in take place in any way, for example also in that the layers of Layer composite 4 are applied in succession.
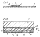
  • the layer composite 4 as in Fig. 3 schematically shown, is applied to a carrier film 9 and as Stamping foil, advantageously as a hot stamping foil, is used.
  • Stamping foils can, for example, as described in DE 34 22 910 C1, be constructed. They have a carrier film 9 on which with the interposition a release layer 10 made of wax which is designated as a whole by 11 Transfer position is arranged.
  • a release layer 10 made of wax which is designated as a whole by 11 Transfer position is arranged.
  • the transfer layer 11 consists of an adhesive layer 12 and a transparent layer 13, in the layer composite.
  • a reflective layer between the adhesive layer and the transparent layer Layer 15 made of metal arranged, at least in some areas, an optical diffraction effective, i.e. Has light refractive or diffractive structure 14.
  • the layer composite 4 (the embossing foils) is in turn according to DE 34 22 910 C1, first the release layer 10 on the carrier film 9 0 and then the transparent layer 13 applied in the layer composite.
  • the ones from Backing film 9 facing surface of the transparent layer 13 is with the desired refractive or diffractive structure 14 introduced.
  • the structured surface of the transparent layer then becomes Generation of the reflective layer 15 metallized, for example by Evaporation of aluminum in a vacuum.
  • the layer composite 4 is then through Application of the adhesive layer 12 completed.
  • the adhesive layer is in areas 16 12 luminescent substances available.
  • the reflective layer 15 made of metal may be interrupted in these areas.
  • the carrier 1 is transparent in order to test for Presence of the luminescent substances from the underside of the carrier to be able to make, especially if the carrier 1 is a plastic card.
  • the luminescent ones Regions 16 may also be present outside the metal layer 5.
  • the luminescent substances can also be used in the entire adhesive layer 12 may be present, which is for certain security purposes is quite sufficient. It should also be noted that as a luminescent Substances a wide variety of substances, for example fluorescent and phosphorescent substances, also used in different mixtures can be.
  • the group of organic luminous pigments includes an almost colorless, typical at 545 nm fluorescent benzoxazine derivative from the company Riedel-de Haen is sold under the name Lumilux CD 304.
  • the range of fluorescent substances in the form of solutions is one of them heterocyclic thioxanthene dye available from Bayer under the Trade name Macrolexfluorescence Red GG is sold.
  • Rare earths are phosphorescent and have very typical absorption and Emission spectra with narrow-band emission lines.
  • Scandium, yttrium and the lanthanides to call the europium are Scandium, yttrium and the lanthanides to call the europium.
  • luminescent materials in the form of organic semiconductors
  • conjugated polymers carbon chains in which double and Alternate single bonds
  • poly-p-phenylene-vinylene conjugated polymers (carbon chains in which double and Alternate single bonds) known as poly-p-phenylene-vinylene, whereby by Applying an electrical voltage stimulating electroluminescence which is used especially for static or quasi-static tests can be.

Landscapes

  • Business, Economics & Management (AREA)
  • Accounting & Taxation (AREA)
  • Finance (AREA)
  • Health & Medical Sciences (AREA)
  • Chemical & Material Sciences (AREA)
  • Chemical Kinetics & Catalysis (AREA)
  • General Chemical & Material Sciences (AREA)
  • General Health & Medical Sciences (AREA)
  • Toxicology (AREA)
  • Engineering & Computer Science (AREA)
  • Manufacturing & Machinery (AREA)
  • Credit Cards Or The Like (AREA)
  • Holo Graphy (AREA)
  • Glass Compositions (AREA)
  • Inspection Of Paper Currency And Valuable Securities (AREA)
  • Led Devices (AREA)
  • Electrochromic Elements, Electrophoresis, Or Variable Reflection Or Absorption Elements (AREA)
  • Crystals, And After-Treatments Of Crystals (AREA)
  • Medicines That Contain Protein Lipid Enzymes And Other Medicines (AREA)
  • Pharmaceuticals Containing Other Organic And Inorganic Compounds (AREA)
  • Acyclic And Carbocyclic Compounds In Medicinal Compositions (AREA)
  • Investigating Or Analysing Materials By Optical Means (AREA)
  • Laminated Bodies (AREA)
  • Manufacture Of Macromolecular Shaped Articles (AREA)
  • Preparing Plates And Mask In Photomechanical Process (AREA)

Description

Die Erfindung betrifft ein Dokument, z.B. Banknote, Scheck, Kreditkarte, Ausweis oder Ticket, welches ein optisches Sicherheitsmerkmal in Form einer wenigstens bereichsweise vorgesehenen, Licht reflektierenden sowie beugenden und/oder brechenden Schicht, z.B. ein Hologramm, eine Interferenzschicht, eine (computer-generierte) Beugungsstruktur od.dgl. aufweist, wobei das optische Sicherheitsmerkmal mit Dotierungsmaterial versehen ist und in einem Folienaufbau vorhanden ist, der an dem Dokument mittels einer Kleberschicht festgelegt ist und gegebenenfalls mindestens eine transparente Schicht im Folienaufbau aufweist.
Weiterhin befaßt sich die Erfindung mit einem Folienaufbau, zur Herstellung derartiger Dokumente, mit einem Trägerfilm und einer von diesem ablösbaren Übertragungslage, welche wenigstens die das geprägte optische Sicherheitsmerkmal bildende, Licht reflektierende sowie beugende und/oder brechende Schicht, die insbesondere als Prägefolie, bevorzugt als Heißprägefolie, ausgebildet ist, sowie auf der dem Trägerfilm abgekehrten Seite der reflektierenden Schicht eine Kleberschicht aufweist, wobei im Folienaufbau mindestens eine transparente Schicht angeordnet sein kann.
Dokumente der eingangs erwähnten Art sind beispielsweise aus der CH-PS 661 602 bekannt. Zur Herstellung solcher Wertdokumente dienende Prägefolien, insbesondere Heißprägefolien, sind z.B. in der DE 34 22 910 C1 beschrieben.
Die bekannten Dokumente bzw. Prägefolien weisen eine beugungsoptisch wirksame, als Sicherheitsmerkmal vor allem gegen Farbkopiatur dienende Struktur auf, wobei derartige beugungsoptisch wirksame, d.h. Licht reflektierende, beugende und/oder brechende Strukturen den grundsätzlichen Vorteil haben, daß sie mit dem unbewaffneten Auge erkannt, aber auch maschinell gelesen werden können. Typische insbes. auf Banknoten applizierte Strukturen sind u.a. Kinegramme und Pixelgramme. Die Fälschung derartiger Strukturen bereitet zwar große Mühe, ist jedoch trotzdem vor allem dann durchführbar, wenn es möglich ist, die entsprechend strukturierte Oberfläche freizulegen und galvanisch abzuformen oder fototechnisch zu kopieren.
Um Dokumente fälschungssicher zu machen, wurde die Anwendung lumineszierender Schichten in den Dokumenten vorgeschlagen. So offenbart etwa die DE-OS 37 41 179 die Verwendung von zwei Sicherheitsmerkmalen, nämlich einmal eines in Papier geprägten und somit bereits tastbaren Reliefs und weiters als zweites Sicherheitsmerkmal lumineszierende Substanzen auf den Gipfeln oder in den Tälern des Reliefs. Beim Gegenstand der DE-OS 37 41 179 kann von einem Transferband Gebrauch gemacht werden, dessen Schichten durch eine Klebeschicht auf das Dokument aufgebracht werden können, wobei das Transferband eine Farbschicht aus einem lumineszierenden Stoff, jedoch auch zusätzlich zu dieser lumineszierenden Schicht eine Farbpigmentschicht enthalten kann.
Die DE-OS 39 06 695 zeigt die Einbettung eines als Sicherheitselement dienenden Bandes in ein Dokument. Das Band besteht dabei aus einer lichtdurchlässigen Kunststoffolie, welche mit Zeichen oder Mustern in Form von Aussparungen versehen ist, wobei zusätzlich noch lumineszierende Substanzen in Bereichen, die mit den Aussparungen dekkungsgleich sind, angeordnet werden. Es sind somit auch hier zwei Sicherheitselemente vorhanden, nämlich einmal die Zeichen und Muster und weiters noch die lumineszierenden Substanzen.
Schließlich sind auch gemäß der DE-PS 27 54 267 bei Dokumenten zwei Sicherheitsmerkmale vorhanden, von welchen eines Lumineszenzeigenschaften aufweist. Im Gegensatz zu den brillanten oberflächigen optischen Merkmalen handelt es sich jedoch um in das Papier eingearbeitete Fäden, Blättchen und Fasern.
Der bekanntgewordene Stand der Technik kann somit dahingehend zusammengefaßt werden, daß es bekannt ist, lumineszierende Stoffe einerseits im Anwendungsbereich der nicht optischen Merkmale durch (partielles) Aufdrucken, Beschichten, Prägen oder auch mit Transferbandübertragung anzuwenden und anderseits im Anwendungsbereich der optischen Merkmale (z.B. reflektierende Gitterstruktur mit Linienanzahl von etwa 1000/mm und Linientiefe von etwa 100 nm) solche zur Sicherung von Dokumenten mit oberflächig überziehenden Schutzschichten aufzubringen.
In den bisherigen Denkansätzen zur maschinellen Detektion von optischen Merkmalen hat man sich auf die an sich naheliegende optische Lesung der Gitterstrukturen bzw. Informations- oder Bildinhalte konzentriert, womit allerdings nicht nur ein ganz erheblicher technischer Aufwand für die Lesung der mehrdimensionalen Information verbunden ist, sondern auch die Auswirkungen von Beschädigungen, wie sie beispielsweise im Banknotenumlauf auftreten und zur Zerstörung der Strukturen und damit zur nachteiligen Unlesbarkeit der Merkmalsechtheit führen, in Kauf genommen. Auch würden entsprechende Eindrucksfälschungen des optischen Merkmales mit derartiger Detektion nicht erkannt werden können.
Aufgabe der Erfindung ist nun, die Echtheitserkennung des auf ein Dokument applizierten optischen Merkmales durch Nachweis der Echtheit unabhängig von einer vorhan- denen (gefälschten) beispielsweise Hologrammgitterstruktur durchführen zu können und dabei das optische Merkmal so zu gestalten, daß eine sichere maschinelle Detektierung im Hochgeschwindigkeitsbereich (10 m/sek) ohne Fehllesungen und daraus resultierende Rückweisungen gewährleistet werden kann. Dokumente sollten demnach nur dann als verdächtig rückgewiesen werden, wenn eine Imitation des optischen Merkmales vorliegt oder dieses gänzlich fehlt. Hingegen sollen Dokumente mit beschädigten optischen Merkmalen beim Sortierprozeß in ein Ablagefach für unbrauchbare Dokumente gesteuert werden und demnach keinen erheblichen Aufwand in Form der händischen Weiterbearbeitung, wie dies für Rückweisungen notwendig ist, verursachen.
Gelöst wird diese Aufgabe bei einem Dokument der eingangs erwähnten Art in überraschend einfacher Weise, wenn gemäß der Erfindung die Kleberschicht mit mindestens einer lumineszierenden Substanz dotiert ist. Es ist dabei auch möglich, daß in der Kleberschicht unterschiedliche lumineszierende Substanzen enthalten sind.
Durch die erfindungsgemäße Ausgestaltung des Dokumentes wird zum einen eine einfache und somit äußerst kostengünstige Echtheitsmeßanordnung ermöglicht und zum anderen eine völlig vernachlässigbare Rückweisungsrate bei der maschinellen Bearbeitung der Dokumente erreicht. Darüberhinaus besteht der Vorteil, daß eine in Täuschungsabsicht hergestellte hochqualitative fachmännische Fälschung der Struktur des optischen Merkmales trotzdem maschinell erkennbar ist und im Falle einer Banknotenfälschung, diese beim Sortierprozeß oder von einem geschulten Kassier ausgeschieden bzw. erkannt werden kann.
Die Einarbeitung der lumineszierenden Substanzen in die Kleberschicht (Dotierung der Kleberschicht) bringt den Vorteil, daß im Falle eines Manipulationsversuches am optischen Sicherheitsmerkmal, z.B. der Versuch eines Abhebens oder Ablösens, immer noch Teile der Kleberschicht und somit des Dotierungsmaterials am Dokument haften bleiben. Weiters stellt die Kleberschicht. mit ihrer Stärke von etwa 6 µm die dickste Schicht im Folienaufbau dar. Viele lumineszierende Materialien, wie beispielsweise Seltene Erden, sind anorganischer Natur und müssen gemahlen werden, wobei sie bei Teilchengrößen unter 5 µm ihre Leuchteigenschaft signifikant einbüßen bzw. verlieren. Viele der für umlaufende Banknoten geeigneten Leuchtpigmente mit ausreichender Alterungs-, UV- und chemischer Beständigkeit sind nur mit Teilchengrößen über etwa 5 µm herstellbar. Würde man nun derartige Materialien in eine (nachträglich aufzubringende) am Dokument oberflächige Schutzschicht einarbeiten, würde dies neben anderen Nachteilen auch zu einer Reduzierung der Brillanz und zu einer produktionstechnisch nachteiligen punktuellen Verdickung des Dokumentes bzw. des Papierstapels Anlaß geben. Durch die technologisch bedingte aufwendige Prozeßsteuerung der Kleberbeschichtung kann gewährleistet werden, daß das lumineszierende Material in konstanter Schichtdicke bzw. Konzentration im optischen Merkmal eingearbeitet ist. Das Dotierungsmaterial ist unter der metallischen Reflexionsschicht gegen UV-Strahlung geschützt. Bevorzugt werden lumineszierende Substanzen, die mit normalem Tageslicht nicht, unter Verwendung einer UV-Lampe oder einer sonstigen elektromagnetischen Strahlenquelle entsprechender Energie jedoch feststellbar sind. Die Zugabe lumineszierender Substanzen in die Kleberschicht, hat dabei gegenüber beispielsweise rein beugungsoptisch wirksamen Strukturen den Vorteil, daß das Sicherheitsmerkmal auch dann noch feststellbar ist, wenn das Dokument bzw. der Folienaufbau, z.B. mechanisch, stark beschädigt ist. Sofern es einem Fälscher gelingen sollte, die beugungsoptisch wirksame Struktur auf ein gefälschtes Wertdokument zu übertragen, wäre die Fälschung trotzdem wegen der fehlenden lumineszierenden Eigenschaften auf dem gefälschten, jedoch mit der originalen beugungswirksamen Struktur versehenen Dokument feststellbar.
Die erfindungsgemäß vorgesehene Beimischung lumineszierender Substanzen zur Kleberschicht im Folienaufbau kann praktisch ohne zusätzlichen Aufwand bei der üblichen Fertigung der Dokumente bzw. des Folienaufbaues verwirklicht werden und bietet somit eine ganz erhebliche Steigerung der Sicherheitswirkung ohne merkliche zusätzliche Kosten. Gegebenenfalls kann aus sicherheitstechnischen oder produktionstechnischen Überlegungen die Aufbringung der dotierten Kleberschicht auch entweder nachträglich auf das vorgefertigte auf Trägerfilm vorliegende optische Sicherheitsmerkmal oder vorweg auf das Trägermaterial, insbesondere Papier, beim Papier- oder Dokumentenhersteller erfolgen.
Wenn, wie nach der Erfindung weiter möglich, die lumineszierenden Substanzen in der Kleberschicht nur bereichsweise, vorzugsweise in einem bestimmten, bevorzugt maschinell lesbaren Muster vorgesehen sind, bieten sich zusätzliche Sicherungsmöglichkeiten, weil dann nicht nur eine generelle Beimischung der lumineszierenden Substanzen zur Kleberschicht genügt, sondern zusätzlich die lumineszierenden Substanzen in ganz bestimmter Weise eingebracht werden müssen, was nur unter Verwendung spezieller Maschinen möglich ist.
Zweckmäßig sind lumineszierende Substanzen fluoreszierend oder phosphoreszierend, wobei die Entscheidung für die Verwendung fluoreszierender oder phosphoreszierender Substanzen von dem jeweiligen Verwendungszweck abhängt, gegebenenfalls aber auch die Möglichkeit besteht, fluoreszierende und phosphoreszierende Substanzen gemeinsam einzusetzen, gegebenenfalls jede der Substanzen in einem bestimmten Muster vorzusehen.
Als für die Zwecke der Erfindung besonders geeignete lumineszierende Substanzen haben sich schmalbandig fluoreszierende Substanzen, z.B. aus der Gruppe der Seltenen Erden erwiesen. Auch sind fluoreszierende Substanzen mit sehr eng benachbarter Emission gegenüber der Anregungswellenlänge und solche mit gleicher Emissionswellenlänge vorteilhaft einsetzbar. Das Vorhandensein oder Nicht-Vorhandensein derartiger Substanzen läßt sich mit an sich bekannten Meßgeräten mit großer Exaktheit feststellen, wobei bereits die Verwendung von lumineszierenden Stoffen, die hinsichtlich ihrer Lumineszenzeigenschaften von den Originalstoffen geringfügig abweichen, sicher festgestellt werden kann, vor allem weil die bei der Prüfung der Wertdokumente etc. verwendeten Bestrahlungsgeräte ganz genau an die zu prüfenden Substanzen anpaßbar sind.
Bei einem Folienaufbau nach der Erfindung ist es günstig, wenn die Kleberschicht von einem Schmelzkleber gebildet ist, die dann bei den üblichen Aufbringungsverfahren für Heißprägefolien ohne weiteres eine zuverlässige Haftung erzeugt.
Die transparente Schicht im Folienaufbau besteht bei einem Folienaufbau gemäß der Erfindung zweckmäßig aus einem der an sich bekannten Transparentlacke.
Um sicherzustellen, daß die das optische Sicherheitsmerkmal bildende, Licht reflektierende Schicht auch zuverlässig das Licht reflektiert, ist erfindungsgemäß vorgesehen, daß die reflektierende Schicht von einer, vorzugsweise durch Aufdampfen im Vakuum gebildeten, dünnen Metallschicht, z.B. einer Aluminiumschicht, gebildet ist.
Bei einem Folienaufbau nach der Erfindung ist schließlich vorgesehen, daß zwischen dem Trägerfilm und der Übertragungslage eine Ablöseschicht, z.B. eine Wachsschicht, angeordnet ist.
Weitere Merkmale, Einzelheiten und Vorteile der Erfindung ergeben sich aus der folgenden Beschreibung bevorzugter Ausführungsbeispiele anhand der Zeichnung.
Es zeigen:
  • Fig. 1 schematisch ein Wertdokument in Form einer modifizierten österreichischen Banknote im Wert von ATS 5000,--, die erfindungsgemäße Merkmale besitzt,
  • Fig. 2 einen Schnitt nach Linie II-II durch das Wertdokument gemäß Fig. 1, in vergrößertem Maßstab, die
  • Fig. 3 schematisch im Schnitt eine Ausführungsform einer Prägefolie,
  • Das Wertdokument gemäß Fig. 1 besitzt als Träger 1 Banknotenpapier, jedoch kann bei anders ausgebildeten Wertdokumenten der Träger auch ein synthetisches Papier, eine Kunststoffolie oder im Falle einer Kreditkarte auch eine Kunststoffkarte sein. Eine Kunststoffkarte kann auf ihrer Vorderseite beispielsweise in geprägten Buchstaben den Namen des Inhabers sowie eine Kennziffer tragen. Das Wertdokument 1 besitzt ein lokales Sicherheitsmerkmal, das in einem Folienaufbau, der ein Schichtverbund 4 sein kann, vorhanden ist, der in den Fig. 3 und 4 dargestellt ist, wo er als Prägefolie ausgebildet ist.
    Im Schichtverbund 4 ist ein optisches Sicherheitsmerkmal, nämlich eine Licht reflektierende sowie beugende und/oder brechende Struktur vorhanden, die beispielsweise von einer dünnen Metallschicht 5 gebildet ist, die bei dem Ausführungsbeispiel der Fig. 1 und 2 zwischen einer als oberste gezeichnete transparenten Schicht 6 im Schichtverbund 4 und einer Kleberschicht 7 eingebettet ist. Die Kleberschicht 7 dient zur Festlegung des Schichtverbundes 4 auf der Oberfläche des Dokuments 1. Die transparente Schicht 6 im Schichtverbund 4, die im Ausführungsbeispiel (Fig. 2) als oberste Schicht gezeichnet ist, deckt die von der Metallschicht 5 gebildete, beugungsoptisch wirksame Struktur ab und erschwert damit erheblich eine in Fälschungsabsicht versuchte Abnahme der Struktur.
    Die Besonderheit des Wertdokumentes nach der Erfindung ist nun darin zu sehen, daß lumineszierende Substanzen in der Kleberschicht 7 vorhanden sind. Solche Substanzen können auch wie bekannt in der transparenten Schicht 6 vorgesehen sein. Sie können dabei, wie bei der Ausführungsform der Fig. 1, nur bereichsweise, nämlich im Bereich 8, wo sich im Ausführungsbeispiel eine Kopfdarstellung befindet, vorgesehen werden. Als Substanz kann ein Präparat aus schmalbandig fluoreszierenden Seltenen Erden Verwendung finden.
    Das Sicherheitsmerkmal bei dem Wertdokument gemäß Fig. 1 besteht somit nicht nur aus der beugungsoptisch wirksamen, eventuell speziell geformten Struktur in der Metallschicht 5, sondern zusätzlich sind im Schichtverbund 4 des Wertdokumentes lumineszierende Eigenschaften aufweisende Bereiche vorhanden, wobei diese Eigenschaften durch Lesegeräte auch maschinell festgestellt und überprüft werden können.
    Grundsätzlich kann die Anbringung des optischen Sicherheitsmerkmals mit lumineszierenden Eigenschaften nach der Erfindung auf Wertdokumenten in beliebiger Weise erfolgen, etwa auch dadurch, daß die Schichten des Schichtverbundes 4 nacheinander aufgebracht werden.
    Wesentlich zweckmäßiger ist es jedoch, wenn der Schichtverbund 4, wie in Fig. 3 schematisch dargestellt, auf einen Trägerfilm 9 aufgebracht wird und als Prägefolie, vorteilhafterweise als eine Heißprägefolie, verwendet wird. Solche Heißprägefolien können beispielsweise, wie in der DE 34 22 910 C1 beschrieben, aufgebaut sein. Sie weisen einen Trägerfilm 9 auf, an dem unter Zwischenschaltung einer Ablöseschicht 10 aus Wachs die als Ganzes mit 11 bezeichnete Übertragungslage angeordnet ist. Beim Aufbringen des Schichtverbundes 4 auf das Dokument 1 wird die Übertragungslage 11 mit ihrer vom Trägerfilm 9 abgekehrten Oberfläche auf das Dokument 1, unter Wärmeeinwirkung angedrückt, auf dem sie dann mittels der Kleberschicht 12 haftet. Der Trägerfilm 9 wird unmittelbar anschließend abgezogen, was durch die Wachs-Ablöseschicht 10 erleichtert wird.
    Bei der in Fig. 3 gezeigten Prägefolien besteht die Übertragungslage 11 aus einer Kleberschicht 12 und aus einer transparenten Schicht 13, im Schichtverbund. Zwischen der Kleberschicht und der transparenten Schicht ist eine reflektierende Schicht 15 aus Metall angeordnet, die zumindest bereichsweise eine beugungsoptisch wirksame, d.h. Licht brechende oder beugende Struktur 14 aufweist. Bei der Herstellung des Schichtverbundes 4 (der Prägefolien) wird dabei wiederum entsprechend der DE 34 22 910 C1 auf den Trägerfilm 9 zuerst die Ablöseschicht 10 0 und dann die transparente Schicht 13 im Schichtverbund aufgebracht. Die vom Trägerfilm 9 abgekehrte Oberfläche der transparenten Schicht 13 wird mit der gewünschten lichtbrechenden oder beugenden Struktur 14 eingebracht. Hieran anschließend wird dann die strukturierte Oberfläche der transparenten Schicht zur Erzeugung der reflektierenden Schicht 15 metallisiert, beispielsweise durch Aufdampfen von Aluminium im Vakuum. Der Schichtverbund 4 wird dann durch Aufbringung der Kleberschicht 12 fertiggestellt.
    Denkbar wäre auch eine vereinfachte Ausführungsform für untergeordnete Anwendungen, bei der die Übertragungslage 11 aus nur einer Schicht besteht, welche zugleich die optische als auch die Klebefunktion erfüllt.
    Bei dem Schichtverbund 4 gemäß Fig. 3 sind in Bereichen 16 der Kleberschicht 12 lumineszierende Substanzen vorhanden. Die reflektierende Schicht 15 aus Metall kann in diesen Bereichen unterbrochen sein. Es sind jedoch auch Ausführungsformen möglich, bei welchen der Träger 1 transparent ist, um eine Prüfung auf das Vorhandensein der lumineszierenden Substanzen von der Träger-Unterseite her vornehmen zu können, insbes. wenn der Träger 1 eine Kunststoffkarte ist. Beispielsweise könnten bei der Ausführungform der Fig. 1 die lumineszierenden Bereiche 16 auch außerhalb der Metallschicht 5 vorhanden sein.
    Selbstverständlich können die lumineszierenden Substanzen auch in der gesamten Kleberschicht 12 vorhanden sein, was für bestimmte Sicherheitszwecke durchaus ausreichend ist. Weiterhin ist darauf hinzuweisen, daß als lumineszierende Substanzen die unterschiedlichsten Substanzen, beispielsweise fluoreszierende und phosphoreszierende Substanzen, auch in unterschiedlichen Gemischen, eingesetzt werden können.
    Der Gruppe der organischen Leuchtpigmente gehört ein nahezu farbloses, typisch bei 545 nm fluoreszierendes Benzoxazinderivat an, das von der Fa. Riedel-de Haen unter der Bezeichnung Lumilux CD 304 vertrieben wird.
    Der Reihe der Fluoreszenzstoffe in Form von Lösungen gehört ein heterocyclischer Thioxanthen-Farbstoff an, der von der Fa. Bayer unter dem Handelsnamen Macrolexfluoreszenzrot GG vertrieben wird.
    Seltene Erden sind phosphoreszierend und weisen sehr typische Absorptionsund Emissionsspektren mit schmalbandigen Emissionslinien auf. Als Beispiele sind Scandium, Yttrium und von den Lanthaniden das Europium zu nennen.
    Durch entsprechende Mischung lumineszierender Substanzen bzw. Mischung mit absorbierenden Stoffen sind Dotierungsmaterialien erhältlich, die im sichtbaren Bereich nicht lumineszieren. Dazu werden unterschiedliche Stoffe verwendet, bei denen sich Absorptionslinien der einen mit den Emissionslinien der anderen im sichtbaren Bereich überdecken.
    Auch sind fluoreszierende Substanzen mit sehr eng benachbarter Emission gegenüber der Anregungswellenlänge bekannt. Einen Sonderfall stellt die Resonanzfluoreszenz dar, bei der die Absorptions- gleich der Emissionslinie ist.
    Weiters sind lumineszierende Materialien in Form organischer Halbleiter auf Basis konjugierter Polymere (Kohlenstoffketten, in denen sich Doppel- und Einfachbindungen abwechseln) als Poly-p-phenylen-vinylen bekannt, wobei durch Anlegen einer elektrischen Spannung die Stimulierung der Elektrolumineszenz erfolgt, welche insbes. für statische oder quasistatische Prüfungen angewendet werden kann.
    Kleber, die lumineszierende Stoffe enthalten, können beispielsweise folgende Formulierungen aufweisen:
    Beispiel 1 (Zahlenwerte jeweils in Gew.-Teilen)
    Methylethylketon 250
    Toluol 395
    Ethylalkohol 150
    Vinylchlorid-Vinylacetat Copolymeres (Fp: > 65°C) 110
    Ungesättigtes Polyesterharz (Fp: 100°C) 30
    Netzmittel (40% in Butylacetat) (hochmolekulares Polymer) 10
    Füllstoff (SiO2) 5
    Leuchtpigment (Typ: Lumilux C, < 5 µ; Riedel-de Haen) 50
    Beispiel 2 (Zahlenangaben jeweils in Gew.-Teilen)
    Aceton 180
    Toluol 70
    Ethylalkohol 380
    Methyl-Butyl-Methacrylat (Tg = 80°C) 60
    Ethylmethacrylat (Tg = 63°C) 50
    Butyl-/Methyl-methacrylat-Mischpolymerisat (40% in Xylol) (Tg = 78°C) 180
    Netzmittel (40% in Butylacetat) (Hochmolekulares Polymer) 10
    Füllstoff (SiO2) 10
    Leuchtpigment (Typ: Lumilux C, < 5 µ; Riedel-de Haen) 60

    Claims (17)

    1. Dokument, z.B. Banknote, Scheck, Kreditkarte, Ausweis oder Ticket, welches ein optisches Sicherheitsmerkmal in Form einer wenigstens bereichsweise vorgesehenen, Licht reflektierenden sowie beugenden und/oder brechenden Schicht, z.B. ein Hologramm, eine Interferenzschicht, eine (computer-generierte) Beugungsstruktur od. dgl., aufweist, wobei das optische Sicherheitsmerkmal in einem Folienaufbau vorhanden ist, der an dem Dokument mittels einer Kleberschicht festgelegt und gegebenenfalls eine oder mehrere transparente Schichten im Folienaufbau aufweist, dadurch gekennzeichnet, daß die Kleberschicht (7, 12) mit mindestens einer lumineszierenden Substanz dotiert ist.
    2. Dokument nach Anspruch 1, dadurch gekennzeichnet, daß in der Kleberschicht (7; 12) unterschiedliche lumineszierende Substanzen enthalten sind.
    3. Dokument nach Anspruch 1 oder 2, dadurch gekennzeichnet, daß die lumineszierenden Substanzen in der Kleberschicht (7; 12) nur bereichsweise vorgesehen sind.
    4. Dokument nach Anspruch 3, dadurch gekennzeichnet, daß die lumineszierenden Substanzen in der Kleberschicht (7; 12) in einem bestimmten, vorzugsweise maschinell lesbaren Muster (8; 16') vorgesehen sind.
    5. Dokument nach einem der vorhergehenden Ansprüche, dadurch gekennzeichnet, daß die lumineszierenden Substanzen fluoreszierende oder phosphoreszierende Substanzen oder Gemische solcher Substanzen sind, wobei gegebenenfalls die fluoreszierenden Substanzen in einem Muster angeordnet sind, das von dem Muster, in dem die phosphoreszierenden Substanzen angeordnet sind, verschieden ist.
    6. Dokument nach Anspruch 5, dadurch gekennzeichnet, daß als lumineszierende Substanzen schmalbandig fluoreszierende Seltene Erden dienen.
    7. Folienaufbau zur Herstellung eines Wertdokumentes nach einem der Ansprüche 1 bis 6, mit einem Trägerfilm und einer von diesem ablösbaren Übertragungslage, welche wenigstens die das optische Sicherheitsmerkmal bildende, Licht reflektierende sowie beugende und/oder brechende Schicht, die insbesondere als Prägefolie, bevorzugt als Heißprägefolie, ausgebildet ist sowie auf der dem Trägerfilm abgekehrten Seite der reflektierenden Schicht eine Kleberschicht aufweist, wobei im Folienaufbau eine transparente Schicht, bevorzugt zwischen reflektierender Schicht und Trägerfilm angeordnet sein kann, dadurch gekennzeichnet, daß in der Kleberschicht (12) lumineszierende Substanzen enthalten sind.
    8. Folienaufbau nach Anspruch 7, dadurch gekennzeichnet, daß in der Kleberschicht (12) unterschiedliche lumineszierende Substanzen enthalten sind.
    9. Folienaufbau nach Anspruch 7 oder 8, dadurch gekennzeichnet, daß die lumineszierenden Substanzen in der Kleberschicht (12) nur bereichsweise vorgesehen sind.
    10. Folienaufbau nach Anspruch 9, dadurch gekennzeichnet, daß die lumineszierenden Substanzen in der Kleberschicht (12) in einem bestimmten, vorzugsweise maschinell lesbaren Muster vorgesehen sind.
    11. Folienaufbau nach einem der Ansprüche 7 bis 10, dadurch gekennzeichnet, daß die lumineszierenden Substanzen fluoreszierende oder phosphoreszierende Substanzen sind oder Gemische solcher Substanzen sind, wobei gegebenenfalls die fluoreszierenden Substanzen in einem Muster angeordnet sind, das von dem Muster, in dem die phosphoreszierenden Substanzen angeordnet sind, verschieden ist.
    12. Folienaufbau nach Anspruch 11, dadurch gekennzeichnet, daß als lumineszierende Substanzen schmalbandig fluoreszierende Seltene Erden dienen.
    13. Folienaufbau nach einem der Ansprüche 7 bis 12, dadurch gekennzeichnet, daß die Kleberschicht (12) von einem Schmelzkleber gebildet ist.
    14. Folienaufbau nach einem der Ansprüche 7 bis 13, dadurch gekennzeichnet, daß die transparente Schicht (13) eine Schicht aus einem Transparentlack ist.
    15. Folienaufbau nach einem der Ansprüche 7 bis 14, dadurch gekennzeichnet, daß die reflektierende Schicht (15) von einer vorzugsweise durch Aufdampfen im Vakuum gebildeten dünnen Metallschicht gebildet ist.
    16. Folienaufbau nach einem der Ansprüche 7 bis 15, dadurch gekennzeichnet, daß zwischen dem Trägerfilm (9) und der Übertragungslage (11) eine Ablöseschicht (10), z.B. Wachsschicht, angeordnet ist.
    17. Prüfverfahren für ein Dokument nach einem der Ansprüche 1 bis 6, dadurch gekennzeichnet, daß die am Dokument vorhandenen lumineszierenden Substanzen aus mindestens einer Quelle angeregt werden und die Emission der angeregten lumineszierenden Substanzen in mindestens einem Empfänger gemessen werden, wobei als Empfänger beispielsweise Fotodioden, Fotomultiplier, CCD-Arrays, und als Quelle beispielsweise ein Laserrohr, Laserdioden, Leuchtdioden, Leuchtstoffröhren, Halogenlampen, Röntgenröhren, Elektronenstrahlröhren sowie radioaktive Strahler, eingesetzt werden.
    EP93924429A 1992-11-18 1993-11-17 Dokument mit dotiertem optischen sicherheitsmerkmal, schichtverbund zu dessen herstellung und prüfeinrichtung zur prüfung des dokumentes auf echtheit Expired - Lifetime EP0680411B2 (de)

    Applications Claiming Priority (4)

    Application Number Priority Date Filing Date Title
    AT2298/92 1992-11-18
    AT0229892A AT403967B (de) 1992-11-18 1992-11-18 Dokument und folienaufbau zur herstellung eines dokumentes
    AT229892 1992-11-18
    PCT/AT1993/000176 WO1994011203A1 (de) 1992-11-18 1993-11-17 Dokument mit dotiertem optischen sicherheitsmerkmal, schichtverbund zu dessen herstellung und prüfeinrichtung zur prüfung des dokumentes auf echtheit

    Publications (3)

    Publication Number Publication Date
    EP0680411A1 EP0680411A1 (de) 1995-11-08
    EP0680411B1 EP0680411B1 (de) 1998-02-11
    EP0680411B2 true EP0680411B2 (de) 2002-10-02

    Family

    ID=3531764

    Family Applications (1)

    Application Number Title Priority Date Filing Date
    EP93924429A Expired - Lifetime EP0680411B2 (de) 1992-11-18 1993-11-17 Dokument mit dotiertem optischen sicherheitsmerkmal, schichtverbund zu dessen herstellung und prüfeinrichtung zur prüfung des dokumentes auf echtheit

    Country Status (12)

    Country Link
    US (1) US6165592A (de)
    EP (1) EP0680411B2 (de)
    JP (1) JPH08506772A (de)
    AT (2) AT403967B (de)
    AU (1) AU691475B2 (de)
    CA (1) CA2149550C (de)
    DE (1) DE59308150D1 (de)
    DK (1) DK0680411T4 (de)
    ES (1) ES2115081T5 (de)
    MX (1) MX9307182A (de)
    RU (1) RU95112499A (de)
    WO (1) WO1994011203A1 (de)

    Families Citing this family (87)

    * Cited by examiner, † Cited by third party
    Publication number Priority date Publication date Assignee Title
    CH694636A5 (de) * 1995-10-12 2005-05-13 Kba Giori Sa Verfahren zur Herstellung von Dokumenten mit einem Sicherheitsmerkmal in Form eines Folienelements und Dokument mit einem solchen Sicherheitsmerkmal.
    DE19611383A1 (de) * 1996-03-22 1997-09-25 Giesecke & Devrient Gmbh Datenträger mit optisch variablem Element
    US7129709B2 (en) 1997-04-25 2006-10-31 Whd Electronische Prueftechnik Method of testing documents provided with optico-diffractively effective markings
    RU2101188C1 (ru) * 1997-05-14 1998-01-10 Павел Евстафиевич Трушко Способ распространения информации
    DE19735293C2 (de) 1997-08-14 2003-06-12 Bundesdruckerei Gmbh Wert- und Sicherheitserzeugnis mit Lumineszenzelement
    DE19804012A1 (de) * 1998-02-02 1999-08-05 Giesecke & Devrient Gmbh Wertdokument
    DE19804024A1 (de) * 1998-02-02 1999-08-05 Giesecke & Devrient Gmbh Wertdokument
    DE19804032A1 (de) * 1998-02-02 1999-08-05 Giesecke & Devrient Gmbh Wertdokument
    DE19804021A1 (de) * 1998-02-02 1999-08-05 Giesecke & Devrient Gmbh Wertdokument
    DE19803997B4 (de) * 1998-02-02 2018-01-25 Giesecke+Devrient Currency Technology Gmbh Wertdokument
    CN1231892C (zh) * 1998-04-13 2005-12-14 精工爱普生株式会社 信息记录方法、信息重放方法、在这些方法中使用的记录媒体、信息记录装置和信息重放装置
    US6269169B1 (en) * 1998-07-17 2001-07-31 Imaging Automation, Inc. Secure document reader and method therefor
    DE19901107C1 (de) * 1999-01-14 2000-11-16 Bosch Gmbh Robert Lumineszierender elektrisch leitender Klebstoff
    DE19923959A1 (de) * 1999-05-25 2000-11-30 Giesecke & Devrient Gmbh Wertdokument
    GB9917442D0 (en) * 1999-07-23 1999-09-29 Rue De Int Ltd Security device
    GB0015873D0 (en) 2000-06-28 2000-08-23 Rue De Int Ltd Optically variable security device
    JP4891472B2 (ja) * 2000-07-10 2012-03-07 エルピーダメモリ株式会社 半導体集積回路装置
    SG152037A1 (en) * 2001-12-20 2009-05-29 Seiko Epson Corp Recorded article with anti-counterfeit measures
    DE10207622A1 (de) * 2002-02-22 2003-09-04 Giesecke & Devrient Gmbh Sicherheitsdokument und Sicherheitselement für ein Sicherheitsdokument
    US20040202829A1 (en) * 2002-05-03 2004-10-14 Zercher John Michael Identification media having a security image
    US7900836B2 (en) 2002-08-20 2011-03-08 Illumina, Inc. Optical reader system for substrates having an optically readable code
    US7872804B2 (en) 2002-08-20 2011-01-18 Illumina, Inc. Encoded particle having a grating with variations in the refractive index
    US7923260B2 (en) 2002-08-20 2011-04-12 Illumina, Inc. Method of reading encoded particles
    EP1535241A1 (de) 2002-08-20 2005-06-01 Cyvera Corporation Auf einem beugungsgitter basierendes optisches identifikationselement
    US7164533B2 (en) 2003-01-22 2007-01-16 Cyvera Corporation Hybrid random bead/chip based microarray
    US7901630B2 (en) 2002-08-20 2011-03-08 Illumina, Inc. Diffraction grating-based encoded microparticle assay stick
    US7441703B2 (en) 2002-08-20 2008-10-28 Illumina, Inc. Optical reader for diffraction grating-based encoded optical identification elements
    US7399643B2 (en) 2002-09-12 2008-07-15 Cyvera Corporation Method and apparatus for aligning microbeads in order to interrogate the same
    US7619819B2 (en) 2002-08-20 2009-11-17 Illumina, Inc. Method and apparatus for drug product tracking using encoded optical identification elements
    US7508608B2 (en) 2004-11-17 2009-03-24 Illumina, Inc. Lithographically fabricated holographic optical identification element
    CA2498916A1 (en) 2002-09-12 2004-03-25 Cyvera Corporation Chemical synthesis using diffraction grating-based encoded optical elements
    US7092160B2 (en) 2002-09-12 2006-08-15 Illumina, Inc. Method of manufacturing of diffraction grating-based optical identification element
    US20100255603A9 (en) 2002-09-12 2010-10-07 Putnam Martin A Method and apparatus for aligning microbeads in order to interrogate the same
    AU2003270726A1 (en) 2002-09-12 2004-04-30 Cidra Corporation Diffraction grating-based encoded micro-particles for multiplexed experiments
    AU2003278827A1 (en) 2002-09-12 2004-04-30 Cyvera Corp. Method and apparatus for labelling using diffraction grating-based encoded optical identification elements
    US7148493B2 (en) * 2003-01-27 2006-12-12 Hewlett-Packard Development Company, L.P. Method, apparatus, and system for imaging a fluorescent object
    DE10326644A1 (de) 2003-06-11 2005-01-13 Bundesdruckerei Gmbh Wertdokument mit einem Sicherheitselement und Verfahren zur Herstellung des Wertdokuments
    AT501356A1 (de) * 2003-06-18 2006-08-15 Hueck Folien Gmbh Sicherheitselemente und sicherheitsmerkmale mit farbeffekten
    US7488954B2 (en) * 2003-06-26 2009-02-10 Ncr Corporation Security markers for marking a person or property
    US7256398B2 (en) * 2003-06-26 2007-08-14 Prime Technology Llc Security markers for determining composition of a medium
    GB0314883D0 (en) * 2003-06-26 2003-07-30 Ncr Int Inc Security labelling
    US20060131517A1 (en) * 2003-06-26 2006-06-22 Ross Gary A Security markers for controlling operation of an item
    US20060219961A1 (en) * 2003-06-26 2006-10-05 Ross Gary A Security markers for controlling access to a secure area
    US7800088B2 (en) * 2003-06-26 2010-09-21 Ncr Corporation Security markers for identifying a source of a substance
    US20060180792A1 (en) * 2003-06-26 2006-08-17 Prime Technology Llc Security marker having overt and covert security features
    US7501646B2 (en) * 2003-06-26 2009-03-10 Ncr Corporation Security markers for reducing receipt fraud
    US7378675B2 (en) * 2003-06-26 2008-05-27 Ncr Corporation Security markers for indicating condition of an item
    US20060118739A1 (en) * 2003-06-26 2006-06-08 Ncr Corporation Security markers for marking pharmaceuticals
    USD512456S1 (en) * 2003-07-08 2005-12-06 Idt Corporation Card
    DE10344384B4 (de) * 2003-09-23 2008-07-10 Bundesdruckerei Gmbh Verfahren zur Überprüfung eines Authentifizierungsmerkmals eines rotierenden optischen Datenträgers und digitaler Datenträger
    DE10346631A1 (de) * 2003-10-08 2005-05-19 Giesecke & Devrient Gmbh Wertdokument
    DE10346630A1 (de) * 2003-10-08 2005-05-04 Giesecke & Devrient Gmbh Wertdokument
    DE10360699A1 (de) * 2003-12-19 2005-07-14 Giesecke & Devrient Gmbh Sicherheitselement und Verfahren zu seiner Herstellung
    US7433123B2 (en) 2004-02-19 2008-10-07 Illumina, Inc. Optical identification element having non-waveguide photosensitive substrate with diffraction grating therein
    DE102004021396B4 (de) * 2004-04-30 2018-02-15 Bundesdruckerei Gmbh System zur Echtheitsüberprüfung und zur Markierung von Wert- oder Sicherheitsdokumenten
    US7597961B2 (en) * 2004-07-13 2009-10-06 Sabic Innovative Plastics Ip B.V. Authenticatable article and method of authenticating
    TWI268013B (en) * 2004-08-13 2006-12-01 King House Technology Co Ltd Contact type illuminable card and storage cassette thereof
    US20080116272A1 (en) * 2004-09-02 2008-05-22 Thomas Giering Value Document with Luminescent Properties
    US7604173B2 (en) 2004-11-16 2009-10-20 Illumina, Inc. Holographically encoded elements for microarray and other tagging labeling applications, and method and apparatus for making and reading the same
    WO2006055735A2 (en) 2004-11-16 2006-05-26 Illumina, Inc Scanner having spatial light modulator
    WO2006055736A1 (en) 2004-11-16 2006-05-26 Illumina, Inc. And methods and apparatus for reading coded microbeads
    US20060234040A1 (en) * 2005-04-14 2006-10-19 Liu Yaoqi J Patterned adhesives for color shifting effect
    US20060234014A1 (en) * 2005-04-14 2006-10-19 Liu Yaoqi J Patterned adhesives for tamper evident feature
    US7623624B2 (en) 2005-11-22 2009-11-24 Illumina, Inc. Method and apparatus for labeling using optical identification elements characterized by X-ray diffraction
    US7830575B2 (en) 2006-04-10 2010-11-09 Illumina, Inc. Optical scanner with improved scan time
    US20080129037A1 (en) * 2006-12-01 2008-06-05 Prime Technology Llc Tagging items with a security feature
    US9734442B2 (en) * 2007-10-31 2017-08-15 Ncr Corporation LumID barcode format
    DE102008049631A1 (de) * 2008-09-30 2010-04-01 Giesecke & Devrient Gmbh Karte mit eingebettetem Sicherheitsmerkmal
    FR2941713B1 (fr) * 2009-02-03 2011-04-01 Arjowiggins Security Procede de securisation d'un objet opaque colore.
    CA2656506A1 (en) 2009-02-27 2010-08-27 Bank Of Canada Security device
    US8400509B2 (en) * 2009-09-22 2013-03-19 Honeywell International Inc. Authentication apparatus for value documents
    DE102010050031A1 (de) * 2010-11-02 2012-05-03 Ovd Kinegram Ag Sicherheitselement und Verfahren zur Herstellung eines Sicherheitselements
    DE102010051087A1 (de) * 2010-11-12 2012-05-16 Beb Industrie-Elektronik Ag Verfahren und Vorrichtung zur Überprüfung der Echtheit von Banknoten mit Sicherheitsfenstern
    FR2973392A1 (fr) * 2011-03-31 2012-10-05 Crime Scene Technology Composition polymere fluorescente, films comprenant ladite composition, leur procede de preparation et leurs applications
    US10275969B2 (en) 2012-03-09 2019-04-30 United States Postal Service Method and system for item authentication and customization
    US9291559B2 (en) 2012-03-09 2016-03-22 United States Postal Service Method and system for item authentication and customization
    CN102760379B (zh) * 2012-07-10 2014-12-10 深圳职业技术学院 防伪标识及其制造方法
    FR3004470B1 (fr) * 2013-04-11 2015-05-22 Arjowiggins Security Element de securite comportant un pigment interferentiel et une charge nanometrique.
    FR3004471B1 (fr) 2013-04-11 2015-10-23 Arjowiggins Security Element de securite comportant une structure de masquage contenant un melange de charges nanometriques.
    US8950855B1 (en) 2013-11-22 2015-02-10 Xerox Corporation System and method for highlighting printed material on a document
    DE102014010175A1 (de) 2014-07-09 2016-01-14 Hydac Filtertechnik Gmbh Filterelement
    US10036125B2 (en) 2015-05-11 2018-07-31 Nanotech Security Corp. Security device
    DE102016009024A1 (de) 2016-07-25 2018-01-25 Giesecke+Devrient Currency Technology Gmbh Sicherheitspapier, Sicherheitselement und Wertdokument
    EP3305541B1 (de) * 2016-10-04 2020-01-15 Hueck Folien Gesellschaft m.b.H. Sicherheitselement und wertdokument mit diesem sicherheitselement
    US10699610B2 (en) * 2018-09-07 2020-06-30 Royal Consumer Products Llc Framed poster board that reflects and refracts light as color hues
    US20220258521A1 (en) * 2019-06-26 2022-08-18 Microtrace, Llc Standardization of Taggant Signatures Using Transfer Images
    WO2021041688A1 (en) * 2019-08-29 2021-03-04 Microtrace, Llc Standardization of taggant signatures using transfer images

    Citations (10)

    * Cited by examiner, † Cited by third party
    Publication number Priority date Publication date Assignee Title
    US3473027A (en) 1965-03-08 1969-10-14 American Cyanamid Co Process for recording and retrieving information employing photoluminescent inks which luminesce under ultraviolet illumination
    DE3239995C2 (de) 1982-10-28 1985-07-25 COPYTEX GmbH Sicherheitssysteme, 7730 Villingen-Schwenningen Vorrichtung zum Erkennen von Dokumenten
    DE3422910C1 (de) 1984-06-20 1985-09-05 Leonhard Kurz GmbH & Co, 8510 Fürth Praegefolie,insbesondere Heisspraegefolie mit einer Magnetschicht
    CH661602A5 (de) 1981-02-19 1987-07-31 Rca Corp Kennzeichnungsvorrichtung fuer einen blattfoermigen gegenstand.
    DE3514852C2 (de) 1985-04-24 1987-10-29 Gao Gesellschaft Fuer Automation Und Organisation Mbh, 8000 Muenchen, De
    DE3321657C2 (de) 1982-06-16 1988-05-19 Kabushiki Kaisha Toshiba, Kawasaki, Kanagawa, Jp
    EP0420261A2 (de) 1989-09-28 1991-04-03 GAO Gesellschaft für Automation und Organisation mbH Datenträger mit einem optisch variablen Element und Verfahren zu seiner Herstellung
    WO1991006925A1 (en) 1989-10-26 1991-05-16 Amblehurst Limited Optical device
    EP0461475A1 (de) 1990-06-06 1991-12-18 Leonhard Kurz Gmbh & Co. Verfahren zum Übertragen eines Dekors auf ein Substrat sowie Verwendung einer Folie
    WO1992016378A1 (en) 1991-03-22 1992-10-01 De La Rue Holographics Limited Article

    Family Cites Families (23)

    * Cited by examiner, † Cited by third party
    Publication number Priority date Publication date Assignee Title
    NL7515010A (nl) * 1975-01-16 1976-07-20 Siemens Ag Tegen namaak beveiligde legitimatiekaart.
    GB1585533A (en) * 1976-12-07 1981-03-04 Portals Ltd Security papers
    US4151667A (en) * 1976-12-30 1979-05-01 Polaroid Corporation Novel I.D. cards
    GB2016370B (en) * 1978-01-18 1982-02-17 Post Office Credit cards security documents and the like
    FR2467089A1 (en) * 1979-10-15 1981-04-17 Bartoli Bernard Forge proof documents - coated with liq. UV curable epoxy! acrylate! varnish contg. monomolecular layer of luminescent pigment, covered with heat sealed film
    JPS58200275A (ja) * 1982-05-18 1983-11-21 Dainippon Printing Co Ltd パタ−ン状フレネルホログラムの製造方法
    GB8311795D0 (en) * 1983-04-29 1983-06-02 De La Rue Syst Detecting luminescent security features
    US4758296A (en) * 1983-06-20 1988-07-19 Mcgrew Stephen P Method of fabricating surface relief holograms
    US4705300A (en) * 1984-07-13 1987-11-10 Optical Coating Laboratory, Inc. Thin film optically variable article and method having gold to green color shift for currency authentication
    FR2570101B1 (fr) * 1984-09-07 1987-09-25 Sotimag Procede antifraude pour document de valeur
    US4881268A (en) * 1986-06-17 1989-11-14 Laurel Bank Machines Co., Ltd. Paper money discriminator
    FR2605123B1 (fr) * 1986-10-10 1989-07-07 Bric Objet fiduciaire ou de securite permettant une authentification visuelle ou optique
    DE3741179A1 (de) * 1987-12-04 1989-06-15 Gao Ges Automation Org Dokument mit faelschungssicherem oberflaechenrelief und verfahren zur herstellung desselben
    DE3906695A1 (de) * 1988-03-04 1989-09-14 Gao Ges Automation Org Sicherheitselement in form eines fadens oder bandes zur einbettung in sicherheitsdokumente sowie verfahren zur herstellung desselben
    DE3843075C2 (de) * 1988-12-21 2003-08-14 Gao Ges Automation Org Sicherheitsdokument mit darin eingebettetem elektrisch leitfähigen Sicherheitselement
    DK1125762T3 (da) * 1989-01-31 2004-05-10 Dainippon Printing Co Ltd Kort
    GB8912750D0 (en) * 1989-06-02 1989-07-19 Portals Ltd Security paper
    GB2240947A (en) * 1990-02-20 1991-08-21 Aco Electronics Limited Authentification of documents with luminescent security features
    DE4022020A1 (de) * 1990-07-11 1992-01-16 Gao Ges Automation Org Vorrichtung und verfahren zur pruefung von dokumenten
    JP2857671B2 (ja) * 1990-11-27 1999-02-17 三菱樹脂株式会社 可視記録カード
    GB2250474B (en) * 1990-12-04 1994-04-20 Portals Ltd Security articles
    JPH05595A (ja) * 1991-06-25 1993-01-08 Konica Corp 画像記録体
    GB9504145D0 (en) * 1995-03-02 1995-04-19 De La Rue Holographics Ltd Improvements relating to packaging

    Patent Citations (10)

    * Cited by examiner, † Cited by third party
    Publication number Priority date Publication date Assignee Title
    US3473027A (en) 1965-03-08 1969-10-14 American Cyanamid Co Process for recording and retrieving information employing photoluminescent inks which luminesce under ultraviolet illumination
    CH661602A5 (de) 1981-02-19 1987-07-31 Rca Corp Kennzeichnungsvorrichtung fuer einen blattfoermigen gegenstand.
    DE3321657C2 (de) 1982-06-16 1988-05-19 Kabushiki Kaisha Toshiba, Kawasaki, Kanagawa, Jp
    DE3239995C2 (de) 1982-10-28 1985-07-25 COPYTEX GmbH Sicherheitssysteme, 7730 Villingen-Schwenningen Vorrichtung zum Erkennen von Dokumenten
    DE3422910C1 (de) 1984-06-20 1985-09-05 Leonhard Kurz GmbH & Co, 8510 Fürth Praegefolie,insbesondere Heisspraegefolie mit einer Magnetschicht
    DE3514852C2 (de) 1985-04-24 1987-10-29 Gao Gesellschaft Fuer Automation Und Organisation Mbh, 8000 Muenchen, De
    EP0420261A2 (de) 1989-09-28 1991-04-03 GAO Gesellschaft für Automation und Organisation mbH Datenträger mit einem optisch variablen Element und Verfahren zu seiner Herstellung
    WO1991006925A1 (en) 1989-10-26 1991-05-16 Amblehurst Limited Optical device
    EP0461475A1 (de) 1990-06-06 1991-12-18 Leonhard Kurz Gmbh & Co. Verfahren zum Übertragen eines Dekors auf ein Substrat sowie Verwendung einer Folie
    WO1992016378A1 (en) 1991-03-22 1992-10-01 De La Rue Holographics Limited Article

    Also Published As

    Publication number Publication date
    EP0680411B1 (de) 1998-02-11
    AU691475B2 (en) 1998-05-21
    ATA229892A (de) 1997-11-15
    CA2149550C (en) 2006-05-16
    AU5411894A (en) 1994-06-08
    AT403967B (de) 1998-07-27
    US6165592A (en) 2000-12-26
    DE59308150D1 (de) 1998-03-19
    CA2149550A1 (en) 1994-05-26
    EP0680411A1 (de) 1995-11-08
    ES2115081T3 (es) 1998-06-16
    DK0680411T3 (da) 1999-02-22
    RU95112499A (ru) 1996-12-27
    ATE163159T1 (de) 1998-02-15
    JPH08506772A (ja) 1996-07-23
    ES2115081T5 (es) 2003-04-16
    DK0680411T4 (da) 2003-04-14
    MX9307182A (es) 1995-01-31
    WO1994011203A1 (de) 1994-05-26

    Similar Documents

    Publication Publication Date Title
    EP0680411B2 (de) Dokument mit dotiertem optischen sicherheitsmerkmal, schichtverbund zu dessen herstellung und prüfeinrichtung zur prüfung des dokumentes auf echtheit
    EP0435029B1 (de) Datenträger mit einem Flüssigkristall-Sicherheitselement
    EP0723501B2 (de) Wertdokument mit fenster
    DE69411602T2 (de) Sicherheitsfaden, und ihre Verwendung in Sicherheitspapier
    DE102004017093B4 (de) Prägefolie zur Herstellung fälschungssicherer Kraftfahrzeug-Nummernschilder und fälschungssicheres Kraftfahrzeug-Nummernschild mit einer solchen Prägefolie sowie Verwendung
    EP0330733B1 (de) Sicherheitselement in Form eines Fadens oder Bandes zur Einbettung in Sicherheitsdokumente sowie Verfahren zur Herstellung desselben
    EP2310211A1 (de) Sicherheitselement sowie verfahren zu seiner herstellung
    DE102007059550A1 (de) Optisch variables Sicherheitselement
    WO2003032243A1 (de) Wertdokument und sicherheitsmarkierung mit markierungsstoff
    DE102008034021A1 (de) Verfahren zur Herstellung eines Sicherheits- und/oder Wertprodukts mit Zufallsmuster und korrelierter Identzeichenfolge
    EP3317114A1 (de) Sicherheits- oder wertdokument mit einem lumineszenzmerkmal und verfahren zum prüfen der echtheit des sicherheits- oder wertdokuments
    EP1972463A2 (de) Sicherheitselement
    EP2307206B1 (de) Goniolumineszentes sicherheitselement und verfahren zu dessen herstellung
    DE102008034022A1 (de) Verfahren zur Herstellung eines Sicherheits- und/oder Wertprodukts mit Teilbereichen mit unterschiedlicher Lumineszenzemission
    EP1233106B1 (de) Sicherheitspapier und andere Sicherheitsartikel
    EP1436149B1 (de) Prägefolie und sicherheitsdokument
    EP1826728A2 (de) Lasermerkierbares Sicherheitselement
    CH678835A5 (de)
    DE102006023084B4 (de) Wertdokument mit Sicherheitselement
    EP2168780B1 (de) Sicherheitsmerkmal zur Absicherung von Wertgegenständen
    DE102010015258A1 (de) Sicherheitselement mit einer lokal hinsichtlich ihrer Lichtausbreitungseigenschaften modifizierten lichtleitenden Struktur und Verfahren zur Herstellung eines solchen Sicherheitselements
    DE602005003666T2 (de) Sicherheitsvorrichtung mit temperaturaktivierbarer polymerschicht
    EP3275685B1 (de) Sicherheitspapier und wertdokument
    EP4217205B1 (de) Optisch variables sicherheitselement mit reflektivem flächenbereich
    DE102015005448A1 (de) Wertdokument-Substrat und Wertdokument

    Legal Events

    Date Code Title Description
    PUAI Public reference made under article 153(3) epc to a published international application that has entered the european phase

    Free format text: ORIGINAL CODE: 0009012

    17P Request for examination filed

    Effective date: 19950619

    AK Designated contracting states

    Kind code of ref document: A1

    Designated state(s): AT BE CH DE DK ES FR GB IT LI MC NL PT SE

    17Q First examination report despatched

    Effective date: 19951222

    GRAG Despatch of communication of intention to grant

    Free format text: ORIGINAL CODE: EPIDOS AGRA

    GRAG Despatch of communication of intention to grant

    Free format text: ORIGINAL CODE: EPIDOS AGRA

    GRAH Despatch of communication of intention to grant a patent

    Free format text: ORIGINAL CODE: EPIDOS IGRA

    GRAH Despatch of communication of intention to grant a patent

    Free format text: ORIGINAL CODE: EPIDOS IGRA

    GRAA (expected) grant

    Free format text: ORIGINAL CODE: 0009210

    AK Designated contracting states

    Kind code of ref document: B1

    Designated state(s): AT BE CH DE DK ES FR GB IT LI MC NL PT SE

    REF Corresponds to:

    Ref document number: 163159

    Country of ref document: AT

    Date of ref document: 19980215

    Kind code of ref document: T

    REG Reference to a national code

    Ref country code: CH

    Ref legal event code: EP

    REF Corresponds to:

    Ref document number: 59308150

    Country of ref document: DE

    Date of ref document: 19980319

    ITF It: translation for a ep patent filed
    REG Reference to a national code

    Ref country code: CH

    Ref legal event code: NV

    Representative=s name: ARDIN & CIE S.A.

    GBT Gb: translation of ep patent filed (gb section 77(6)(a)/1977)

    Effective date: 19980513

    ET Fr: translation filed
    REG Reference to a national code

    Ref country code: ES

    Ref legal event code: FG2A

    Ref document number: 2115081

    Country of ref document: ES

    Kind code of ref document: T3

    REG Reference to a national code

    Ref country code: PT

    Ref legal event code: SC4A

    Free format text: AVAILABILITY OF NATIONAL TRANSLATION

    Effective date: 19980511

    PLBQ Unpublished change to opponent data

    Free format text: ORIGINAL CODE: EPIDOS OPPO

    PLBI Opposition filed

    Free format text: ORIGINAL CODE: 0009260

    PLBI Opposition filed

    Free format text: ORIGINAL CODE: 0009260

    PLBF Reply of patent proprietor to notice(s) of opposition

    Free format text: ORIGINAL CODE: EPIDOS OBSO

    26 Opposition filed

    Opponent name: DE LA RUE INTERNATIONAL LIMITED

    Effective date: 19981110

    26 Opposition filed

    Opponent name: GIESECKE & DEVRIENT GMBH

    Effective date: 19981110

    Opponent name: DE LA RUE INTERNATIONAL LIMITED

    Effective date: 19981110

    REG Reference to a national code

    Ref country code: DK

    Ref legal event code: T3

    NLR1 Nl: opposition has been filed with the epo

    Opponent name: GIESECKE & DEVRIENT GMBH

    Opponent name: DE LA RUE INTERNATIONAL LIMITED

    PLBF Reply of patent proprietor to notice(s) of opposition

    Free format text: ORIGINAL CODE: EPIDOS OBSO

    PLBF Reply of patent proprietor to notice(s) of opposition

    Free format text: ORIGINAL CODE: EPIDOS OBSO

    PLBF Reply of patent proprietor to notice(s) of opposition

    Free format text: ORIGINAL CODE: EPIDOS OBSO

    PLBQ Unpublished change to opponent data

    Free format text: ORIGINAL CODE: EPIDOS OPPO

    PLAB Opposition data, opponent's data or that of the opponent's representative modified

    Free format text: ORIGINAL CODE: 0009299OPPO

    R26 Opposition filed (corrected)

    Opponent name: DE LA RUE INTERNATIONAL LIMITED * 19981110 GIESECK

    Effective date: 19981110

    REG Reference to a national code

    Ref country code: GB

    Ref legal event code: 732E

    NLR1 Nl: opposition has been filed with the epo

    Opponent name: GIESECKE & DEVRIENT GMBH

    Opponent name: DE LA RUE INTERNATIONAL LIMITED

    PGFP Annual fee paid to national office [announced via postgrant information from national office to epo]

    Ref country code: MC

    Payment date: 20011120

    Year of fee payment: 9

    PLAW Interlocutory decision in opposition

    Free format text: ORIGINAL CODE: EPIDOS IDOP

    REG Reference to a national code

    Ref country code: CH

    Ref legal event code: PUE

    Owner name: OESTERREICHISCHE NATIONALBANK TRANSFER- OESTERREIC

    Ref country code: CH

    Ref legal event code: NV

    Representative=s name: MICHELI & CIE INGENIEURS-CONSEILS

    REG Reference to a national code

    Ref country code: GB

    Ref legal event code: IF02

    PLAW Interlocutory decision in opposition

    Free format text: ORIGINAL CODE: EPIDOS IDOP

    PUAH Patent maintained in amended form

    Free format text: ORIGINAL CODE: 0009272

    STAA Information on the status of an ep patent application or granted ep patent

    Free format text: STATUS: PATENT MAINTAINED AS AMENDED

    27A Patent maintained in amended form

    Effective date: 20021002

    AK Designated contracting states

    Kind code of ref document: B2

    Designated state(s): AT BE CH DE DK ES FR GB IT LI MC NL PT SE

    PGFP Annual fee paid to national office [announced via postgrant information from national office to epo]

    Ref country code: ES

    Payment date: 20021008

    Year of fee payment: 10

    PGFP Annual fee paid to national office [announced via postgrant information from national office to epo]

    Ref country code: PT

    Payment date: 20021009

    Year of fee payment: 10

    REG Reference to a national code

    Ref country code: CH

    Ref legal event code: AEN

    Free format text: AUFRECHTERHALTUNG DES PATENTES IN GEAENDERTER FORM

    PGFP Annual fee paid to national office [announced via postgrant information from national office to epo]

    Ref country code: BE

    Payment date: 20021112

    Year of fee payment: 10

    NLR2 Nl: decision of opposition
    GBTA Gb: translation of amended ep patent filed (gb section 77(6)(b)/1977)

    Effective date: 20030103

    NLR3 Nl: receipt of modified translations in the netherlands language after an opposition procedure
    NLR4 Nl: receipt of corrected translation in the netherlands language at the initiative of the proprietor of the patent
    REG Reference to a national code

    Ref country code: FR

    Ref legal event code: TP

    REG Reference to a national code

    Ref country code: DK

    Ref legal event code: EBP

    REG Reference to a national code

    Ref country code: ES

    Ref legal event code: DC2A

    Date of ref document: 20021224

    Kind code of ref document: T5

    ET3 Fr: translation filed ** decision concerning opposition
    PG25 Lapsed in a contracting state [announced via postgrant information from national office to epo]

    Ref country code: MC

    Free format text: LAPSE BECAUSE OF NON-PAYMENT OF DUE FEES

    Effective date: 20030601

    PG25 Lapsed in a contracting state [announced via postgrant information from national office to epo]

    Ref country code: ES

    Free format text: LAPSE BECAUSE OF NON-PAYMENT OF DUE FEES

    Effective date: 20031118

    PG25 Lapsed in a contracting state [announced via postgrant information from national office to epo]

    Ref country code: BE

    Free format text: LAPSE BECAUSE OF NON-PAYMENT OF DUE FEES

    Effective date: 20031130

    BERE Be: lapsed

    Owner name: *OESTERREICHISCHE NATIONALBANK

    Effective date: 20031130

    PG25 Lapsed in a contracting state [announced via postgrant information from national office to epo]

    Ref country code: PT

    Free format text: LAPSE BECAUSE OF NON-PAYMENT OF DUE FEES

    Effective date: 20040531

    REG Reference to a national code

    Ref country code: PT

    Ref legal event code: MM4A

    Free format text: LAPSE DUE TO NON-PAYMENT OF FEES

    Effective date: 20040531

    REG Reference to a national code

    Ref country code: ES

    Ref legal event code: FD2A

    Effective date: 20031118

    REG Reference to a national code

    Ref country code: DE

    Ref legal event code: R082

    Ref document number: 59308150

    Country of ref document: DE

    Representative=s name: CALLIES, RAINER, DIPL.-PHYS. DR.RER.NAT., DE

    Ref country code: DE

    Ref legal event code: R082

    Ref document number: 59308150

    Country of ref document: DE

    Representative=s name: RAINER CALLIES, DE

    PGFP Annual fee paid to national office [announced via postgrant information from national office to epo]

    Ref country code: DK

    Payment date: 20121120

    Year of fee payment: 20

    PGFP Annual fee paid to national office [announced via postgrant information from national office to epo]

    Ref country code: CH

    Payment date: 20121114

    Year of fee payment: 20

    Ref country code: FR

    Payment date: 20121207

    Year of fee payment: 20

    Ref country code: DE

    Payment date: 20121128

    Year of fee payment: 20

    PGFP Annual fee paid to national office [announced via postgrant information from national office to epo]

    Ref country code: GB

    Payment date: 20121120

    Year of fee payment: 20

    Ref country code: IT

    Payment date: 20121127

    Year of fee payment: 20

    Ref country code: SE

    Payment date: 20121107

    Year of fee payment: 20

    PGFP Annual fee paid to national office [announced via postgrant information from national office to epo]

    Ref country code: NL

    Payment date: 20121112

    Year of fee payment: 20

    Ref country code: AT

    Payment date: 20121107

    Year of fee payment: 20

    REG Reference to a national code

    Ref country code: DK

    Ref legal event code: EUP

    Effective date: 20131117

    REG Reference to a national code

    Ref country code: DE

    Ref legal event code: R071

    Ref document number: 59308150

    Country of ref document: DE

    REG Reference to a national code

    Ref country code: NL

    Ref legal event code: V4

    Effective date: 20131117

    REG Reference to a national code

    Ref country code: CH

    Ref legal event code: PL

    REG Reference to a national code

    Ref country code: GB

    Ref legal event code: PE20

    Expiry date: 20131116

    REG Reference to a national code

    Ref country code: SE

    Ref legal event code: EUG

    REG Reference to a national code

    Ref country code: AT

    Ref legal event code: MK07

    Ref document number: 163159

    Country of ref document: AT

    Kind code of ref document: T

    Effective date: 20131117

    PG25 Lapsed in a contracting state [announced via postgrant information from national office to epo]

    Ref country code: DE

    Free format text: LAPSE BECAUSE OF EXPIRATION OF PROTECTION

    Effective date: 20131119

    Ref country code: GB

    Free format text: LAPSE BECAUSE OF EXPIRATION OF PROTECTION

    Effective date: 20131116