EP0574343A2 - Procedure for the construction of polychrome pavements - Google Patents
Procedure for the construction of polychrome pavements Download PDFInfo
- Publication number
- EP0574343A2 EP0574343A2 EP93500048A EP93500048A EP0574343A2 EP 0574343 A2 EP0574343 A2 EP 0574343A2 EP 93500048 A EP93500048 A EP 93500048A EP 93500048 A EP93500048 A EP 93500048A EP 0574343 A2 EP0574343 A2 EP 0574343A2
- Authority
- EP
- European Patent Office
- Prior art keywords
- pavements
- procedure
- polychrome
- tiles
- pavement
- Prior art date
- Legal status (The legal status is an assumption and is not a legal conclusion. Google has not performed a legal analysis and makes no representation as to the accuracy of the status listed.)
- Withdrawn
Links
- 238000000034 method Methods 0.000 title claims abstract description 28
- PLXMOAALOJOTIY-FPTXNFDTSA-N Aesculin Natural products OC[C@@H]1[C@@H](O)[C@H](O)[C@@H](O)[C@H](O)[C@H]1Oc2cc3C=CC(=O)Oc3cc2O PLXMOAALOJOTIY-FPTXNFDTSA-N 0.000 title claims abstract description 13
- 238000010276 construction Methods 0.000 title claims 6
- 238000003801 milling Methods 0.000 claims description 8
- 239000004575 stone Substances 0.000 claims description 8
- 239000004927 clay Substances 0.000 claims description 7
- 239000000463 material Substances 0.000 claims description 7
- 238000005498 polishing Methods 0.000 claims description 6
- 238000010304 firing Methods 0.000 claims description 3
- 238000003825 pressing Methods 0.000 claims description 3
- 235000015895 biscuits Nutrition 0.000 claims description 2
- 210000003298 dental enamel Anatomy 0.000 claims 1
- 239000004579 marble Substances 0.000 description 4
- 238000004519 manufacturing process Methods 0.000 description 3
- 239000003086 colorant Substances 0.000 description 2
- 229910001369 Brass Inorganic materials 0.000 description 1
- 239000004411 aluminium Substances 0.000 description 1
- XAGFODPZIPBFFR-UHFFFAOYSA-N aluminium Chemical compound [Al] XAGFODPZIPBFFR-UHFFFAOYSA-N 0.000 description 1
- 229910052782 aluminium Inorganic materials 0.000 description 1
- 239000010951 brass Substances 0.000 description 1
- 238000009826 distribution Methods 0.000 description 1
- 230000000694 effects Effects 0.000 description 1
- 230000002708 enhancing effect Effects 0.000 description 1
- 238000009434 installation Methods 0.000 description 1
- 239000004570 mortar (masonry) Substances 0.000 description 1
- 238000000465 moulding Methods 0.000 description 1
- 239000004800 polyvinyl chloride Substances 0.000 description 1
- 238000002360 preparation method Methods 0.000 description 1
- 239000002994 raw material Substances 0.000 description 1
- 229920005989 resin Polymers 0.000 description 1
- 239000011347 resin Substances 0.000 description 1
- 229920003002 synthetic resin Polymers 0.000 description 1
- 239000000057 synthetic resin Substances 0.000 description 1
Images
Classifications
-
- B—PERFORMING OPERATIONS; TRANSPORTING
- B44—DECORATIVE ARTS
- B44C—PRODUCING DECORATIVE EFFECTS; MOSAICS; TARSIA WORK; PAPERHANGING
- B44C1/00—Processes, not specifically provided for elsewhere, for producing decorative surface effects
- B44C1/26—Inlaying with ornamental structures, e.g. niello work, tarsia work
-
- E—FIXED CONSTRUCTIONS
- E04—BUILDING
- E04F—FINISHING WORK ON BUILDINGS, e.g. STAIRS, FLOORS
- E04F21/00—Implements for finishing work on buildings
- E04F21/165—Implements for finishing work on buildings for finishing joints, e.g. implements for raking or filling joints, jointers
-
- E—FIXED CONSTRUCTIONS
- E04—BUILDING
- E04F—FINISHING WORK ON BUILDINGS, e.g. STAIRS, FLOORS
- E04F21/00—Implements for finishing work on buildings
- E04F21/165—Implements for finishing work on buildings for finishing joints, e.g. implements for raking or filling joints, jointers
- E04F21/1652—Implements for finishing work on buildings for finishing joints, e.g. implements for raking or filling joints, jointers for smoothing and shaping joint compound to a desired contour
Definitions
- This invention patent deals with a procedure conceived to lay out polychrome pavements of several kinds.
- the polychrome pavements that can be attained putting this patent into practice allow to start with prefabricated modular elements made of terrazzo, grit stone, clay, marble, etc. adequately fitted closely, or apart, including low relieves made by means of pressing, milling or moulding its upper surface on which it is flushed a formula with a high resistance and keying in matching or contrasting colours in contrast with the base, and with a lower equal or higher hardness.
- prefabricated modular elements made of terrazzo, grit stone, clay, marble, etc. adequately fitted closely, or apart, including low relieves made by means of pressing, milling or moulding its upper surface on which it is flushed a formula with a high resistance and keying in matching or contrasting colours in contrast with the base, and with a lower equal or higher hardness.
- a continuous polychrome surface will appear.
- the joints between the elements will be indistinguishable from the low relief pattern.
- the procedure which is the subject of this patent is based also on laying out levelled modular elements in the same fashion used for the traditional installation of terrazzo, grit stone or marble.
- a formula conceived to fill up the low relief is poured. It is composed of a synthetic resin and a crushed material, preferably hard or slip proof with a variable grain size distribution. After being poured out the necessary time for setting is allowed. It usually takes about 48 hours, proceeding afterwards with an overall polishing, similar to the procedure used for terrazzo.
- the procedure starts from prefabricated modular elements of the kind commonly used in the market. At present, those are normally used to build outdoor pavements, but applying this procedure they could also be used for indoor pavements.
- the use of the filling up product for setting will be limited to a light 2-3 mm layer, and the polishing phase will be very easy, taking into account that the levelling up of modular pieces shows a constant level which can be easily identified. This involves low fabrication costs and a remarkably fast preparation.
- Joints made of brass, PVC, aluminium, etc can be easily and safely made as they can be embedded between the modules, thus preventing them from deforming during the layout phase.
- the procedure object of this invention will allow the easy replacement of damaged pavement elements, broken or with cracks. After the overall embedding and polishing of the area, the shade differences of the pieces will be hard to distinguish if there is enough contrast between their colour and the settable filling up formula.
- This procedure can be also used to rehabilitate pavements already laid out by milling parts of the pavement, such as the joints between pieces which can be joined subsequently with a settable covering product, preferably slip proof.
- Figures 5 and 6 show the layout of relieves in adjoining pieces of a pavement and offsets for the pavement itself, respectively.
- Figures 7 and 8 are schematic views of two milling heads of a cylindrical milling cutter.
- Figures 9 and 10 are equivalent views depicting a disc-shaped milling cutter.
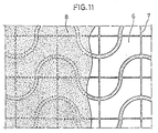
- Figure 11 shows schematically a plain view of the pavement with a polished and an unpolished surface.
- Figures 12 and 13 show two schematic views of a pavement being polished.
- Figures 14 and 15 show two views of a completely polished pavement.
- Figures 16 and 17 show two views of a detail of a tile offset of a pavement laid out according to this patent.
- the procedure explained in this patent can be applied to pavements made with a series of tiles -1-, figure 1, for instance, square-shaped which are regularly distributed, separated by interstices -2-.
- the pavements can be made using individual tiles of several shapes such as triangular tiles -3-, figure 2, rectangular tiles -4, figure 3 or polygonal tiles -5- shown in figure 4.
- the filling up product composed by a hardenable resin containing a slip proof product can be poured out, applying thicknesses of 2 to 3 cm in average, shown in figures 11 to 17.
- Figure 11 shows the layout of a series of tiles -6-, in the required pattern, with interstices -7- between them. It also shows the covering poured out on the tiles -8- which will cover its surface with a 2-3 mm layer and which, in addition, will fill up both the low relief creases -9- and the interstices -7-.
- the single surface obtained pouring the material -8- can be polished in such a fashion that, with this polishing operation effected by heads, schematically shown in number -10-, the cover will be cut -8- up to the level of the tile -6- obtaining a free covering surface corresponding to the upper side of the tile and filling the joints -9- and interstices -7-.
- a tile pavement -11- already installed can be rehabilitated milling the joints thus creating new joints -12- with the relevant mill cutter -13-.
- some fancy patterns can be obtained such as those shown by slots -14- and -15- of adjoining tiles -16- and -17-, figure 5, using a milling head -18-.
- the interstices between tiles can be filled with any material, which will be clearly visible once polished.
Landscapes
- Engineering & Computer Science (AREA)
- Architecture (AREA)
- Civil Engineering (AREA)
- Structural Engineering (AREA)
- Road Paving Structures (AREA)
Applications Claiming Priority (2)
| Application Number | Priority Date | Filing Date | Title |
|---|---|---|---|
| ES9200828 | 1992-04-20 | ||
| ES9200828 | 1992-04-20 |
Publications (2)
| Publication Number | Publication Date |
|---|---|
| EP0574343A2 true EP0574343A2 (en) | 1993-12-15 |
| EP0574343A3 EP0574343A3 (enExample) | 1994-04-13 |
Family
ID=8276770
Family Applications (1)
| Application Number | Title | Priority Date | Filing Date |
|---|---|---|---|
| EP93500048A Withdrawn EP0574343A2 (en) | 1992-04-20 | 1993-04-20 | Procedure for the construction of polychrome pavements |
Country Status (1)
| Country | Link |
|---|---|
| EP (1) | EP0574343A2 (enExample) |
Cited By (2)
| Publication number | Priority date | Publication date | Assignee | Title |
|---|---|---|---|---|
| EP0931893A3 (de) * | 1998-01-19 | 2000-02-02 | André Waldenburger | Verfahren zur Herstellung von Steinfussböden und Fussböden aus steinartigem Material |
| CN105332501A (zh) * | 2015-11-27 | 2016-02-17 | 中国一冶集团有限公司 | 一种用于铺撒砂粉粒物的智能小车及施工方法 |
Family Cites Families (6)
| Publication number | Priority date | Publication date | Assignee | Title |
|---|---|---|---|---|
| DE841345C (de) * | 1952-04-30 | Remscheid Karl Pauel | Verfahren zum Herstellen von mehrfarbigen Belägen aus flüssigen Massen, insbesondere für Fußböden | |
| US2274907A (en) * | 1941-05-31 | 1942-03-03 | Joseph A Madala | Process of making mosaic |
| US3772051A (en) * | 1971-07-29 | 1973-11-13 | Ici Ltd | Decorative flooring surfaces |
| FR2511949A1 (fr) * | 1981-08-31 | 1983-03-04 | Fabre Gerald | Procede d'incrustation et produits obtenus par ce procede |
| BE895130A (fr) * | 1982-11-25 | 1983-03-16 | Moeschal Jacques | Procede d'embellissement du beton brut |
| DE4103978C2 (de) * | 1991-02-09 | 1994-09-29 | Paul Hunkemoeller | Verfahren zum Sanieren von gefliesten Flächen |
-
1993
- 1993-04-20 EP EP93500048A patent/EP0574343A2/en not_active Withdrawn
Cited By (3)
| Publication number | Priority date | Publication date | Assignee | Title |
|---|---|---|---|---|
| EP0931893A3 (de) * | 1998-01-19 | 2000-02-02 | André Waldenburger | Verfahren zur Herstellung von Steinfussböden und Fussböden aus steinartigem Material |
| CN105332501A (zh) * | 2015-11-27 | 2016-02-17 | 中国一冶集团有限公司 | 一种用于铺撒砂粉粒物的智能小车及施工方法 |
| CN105332501B (zh) * | 2015-11-27 | 2018-04-10 | 中国一冶集团有限公司 | 一种用于铺撒砂粉粒物的智能小车及施工方法 |
Also Published As
| Publication number | Publication date |
|---|---|
| EP0574343A3 (enExample) | 1994-04-13 |
Similar Documents
| Publication | Publication Date | Title |
|---|---|---|
| US8793964B2 (en) | Concrete mosaic and method of forming the same | |
| CA2370783C (en) | Method of making terrazzo floors with design elements | |
| US20070187873A1 (en) | Cement-based, mesh reinforced concrete tiles with integral color and design | |
| US12325197B2 (en) | Method for manufacturing a slab of artificial agglomerated stone | |
| EP0574343A2 (en) | Procedure for the construction of polychrome pavements | |
| WO2022234399A1 (en) | A method for producing ceramic tiles, and ceramic tiles | |
| US1949517A (en) | Antislipping tread and method of making the same | |
| KR970002024B1 (ko) | 보도용 투수 유리 블럭 제조방법 | |
| KR100272801B1 (ko) | 토양바닥포장방법 | |
| WO2000014360A1 (en) | Method for producing decorative tiles | |
| RU2164866C1 (ru) | Способ изготовления декоративной плитки или панели и декоративная плитка или панель | |
| EP2060362A2 (en) | Process and plant for working a stone tile and tile thus obtained | |
| JP2834197B2 (ja) | 加飾施工法 | |
| US313221A (en) | Composite tiling | |
| EP3546675A1 (en) | Method for the realization and laying of a coating structure | |
| CN206016165U (zh) | 大面积无缝整体地面 | |
| EP4242183A1 (en) | Process for making a decorative flooring tile and decorative flooring tile obtained by this process | |
| JP2001026902A (ja) | 保水性コンクリート床材 | |
| JP2805677B2 (ja) | 象眼成形品による基盤装飾工法及び該工法によって得られるデザインパネル | |
| KR0143811B1 (ko) | 상면에 무늬를 형성한 테라죠타일의 제조방법 | |
| WO2001019624A1 (en) | Reflective products | |
| JPH07103526B2 (ja) | フリ−デザイン舗装工法 | |
| KR880002224B1 (ko) | 인조 대리석 판재의 제조 방법 | |
| SULLIVAN | Versatility in Design | |
| AU609225B2 (en) | A tile and method for making same |
Legal Events
| Date | Code | Title | Description |
|---|---|---|---|
| PUAI | Public reference made under article 153(3) epc to a published international application that has entered the european phase |
Free format text: ORIGINAL CODE: 0009012 |
|
| AK | Designated contracting states |
Kind code of ref document: A2 Designated state(s): DE FR GB IT PT |
|
| PUAL | Search report despatched |
Free format text: ORIGINAL CODE: 0009013 |
|
| AK | Designated contracting states |
Kind code of ref document: A3 Designated state(s): DE FR GB IT PT |
|
| 17P | Request for examination filed |
Effective date: 19941011 |
|
| STAA | Information on the status of an ep patent application or granted ep patent |
Free format text: STATUS: THE APPLICATION IS DEEMED TO BE WITHDRAWN |
|
| 18D | Application deemed to be withdrawn |
Effective date: 19951101 |