EP0477520B1 - Kontaktierungsleiste zur gemeinsamen elektrischen Kontaktierung mehrerer elektrisch erregbarer Aggregate von Brennkraftmaschinen - Google Patents
Kontaktierungsleiste zur gemeinsamen elektrischen Kontaktierung mehrerer elektrisch erregbarer Aggregate von Brennkraftmaschinen Download PDFInfo
- Publication number
- EP0477520B1 EP0477520B1 EP91113545A EP91113545A EP0477520B1 EP 0477520 B1 EP0477520 B1 EP 0477520B1 EP 91113545 A EP91113545 A EP 91113545A EP 91113545 A EP91113545 A EP 91113545A EP 0477520 B1 EP0477520 B1 EP 0477520B1
- Authority
- EP
- European Patent Office
- Prior art keywords
- contact strip
- housing
- plug
- damping element
- face
- Prior art date
- Legal status (The legal status is an assumption and is not a legal conclusion. Google has not performed a legal analysis and makes no representation as to the accuracy of the status listed.)
- Expired - Lifetime
Links
- 238000002485 combustion reaction Methods 0.000 title claims description 16
- 239000000446 fuel Substances 0.000 claims description 54
- 238000013016 damping Methods 0.000 claims description 52
- 238000002347 injection Methods 0.000 claims description 19
- 239000007924 injection Substances 0.000 claims description 19
- 239000013013 elastic material Substances 0.000 claims description 4
- 230000000717 retained effect Effects 0.000 claims 1
- 238000005304 joining Methods 0.000 description 10
- 238000000034 method Methods 0.000 description 10
- 239000004020 conductor Substances 0.000 description 6
- 238000004519 manufacturing process Methods 0.000 description 2
- 238000003466 welding Methods 0.000 description 2
- 101100400378 Mus musculus Marveld2 gene Proteins 0.000 description 1
- 230000001419 dependent effect Effects 0.000 description 1
- 238000011161 development Methods 0.000 description 1
- 230000018109 developmental process Effects 0.000 description 1
- 230000000694 effects Effects 0.000 description 1
- 239000012777 electrically insulating material Substances 0.000 description 1
- 239000000463 material Substances 0.000 description 1
- 239000002184 metal Substances 0.000 description 1
- 239000007769 metal material Substances 0.000 description 1
- 230000002028 premature Effects 0.000 description 1
- 230000001105 regulatory effect Effects 0.000 description 1
- 210000002105 tongue Anatomy 0.000 description 1
- 238000002604 ultrasonography Methods 0.000 description 1
Images
Classifications
-
- F—MECHANICAL ENGINEERING; LIGHTING; HEATING; WEAPONS; BLASTING
- F02—COMBUSTION ENGINES; HOT-GAS OR COMBUSTION-PRODUCT ENGINE PLANTS
- F02M—SUPPLYING COMBUSTION ENGINES IN GENERAL WITH COMBUSTIBLE MIXTURES OR CONSTITUENTS THEREOF
- F02M51/00—Fuel-injection apparatus characterised by being operated electrically
- F02M51/005—Arrangement of electrical wires and connections, e.g. wire harness, sockets, plugs; Arrangement of electronic control circuits in or on fuel injection apparatus
-
- F—MECHANICAL ENGINEERING; LIGHTING; HEATING; WEAPONS; BLASTING
- F02—COMBUSTION ENGINES; HOT-GAS OR COMBUSTION-PRODUCT ENGINE PLANTS
- F02M—SUPPLYING COMBUSTION ENGINES IN GENERAL WITH COMBUSTIBLE MIXTURES OR CONSTITUENTS THEREOF
- F02M69/00—Low-pressure fuel-injection apparatus ; Apparatus with both continuous and intermittent injection; Apparatus injecting different types of fuel
- F02M69/46—Details, component parts or accessories not provided for in, or of interest apart from, the apparatus covered by groups F02M69/02 - F02M69/44
- F02M69/462—Arrangement of fuel conduits, e.g. with valves for maintaining pressure in the pipes after the engine being shut-down
- F02M69/465—Arrangement of fuel conduits, e.g. with valves for maintaining pressure in the pipes after the engine being shut-down of fuel rails
-
- H—ELECTRICITY
- H01—ELECTRIC ELEMENTS
- H01R—ELECTRICALLY-CONDUCTIVE CONNECTIONS; STRUCTURAL ASSOCIATIONS OF A PLURALITY OF MUTUALLY-INSULATED ELECTRICAL CONNECTING ELEMENTS; COUPLING DEVICES; CURRENT COLLECTORS
- H01R13/00—Details of coupling devices of the kinds covered by groups H01R12/70 or H01R24/00 - H01R33/00
- H01R13/46—Bases; Cases
- H01R13/533—Bases, cases made for use in extreme conditions, e.g. high temperature, radiation, vibration, corrosive environment, pressure
Definitions
- the invention is based on a contact strip according to the preamble of claim 1.
- a contact strip is already known, the connector housing of which is rotatably mounted about its central axes.
- the plug housings with the first electrically conductive contact elements arranged therein carry out dynamic self-movements relative to the second electrically conductive contact elements of fuel injection valves, which lead to undesirable wear on the contact elements.
- WO-A-91/12 425 which falls under Article 54 (3) EPC, has already proposed a contact strip which serves for the joint contacting of several electrically excitable units of internal combustion engines which are jointly mounted in a fuel distributor piece.
- Plug housings with first electrically conductive contact elements are arranged on the contact strip housing and can be connected to second electrically conductive contact elements of electrically excitable units.
- the connector housings can be moved in the direction of their longitudinal axes and perpendicularly to the contact strip housing in order to connect the contact strip to the electrically excitable ones To prevent aggregates or damage to the internal combustion engine when assembling the electrically excitable aggregates connected to one another by means of the contacting strip.
- the radial and the axial The game that the connector housings have in the state mounted on the electrically excitable units with respect to the contact strip housing leads to the fact that the connector housings perform dynamic self-motions with respect to the contact strip housing and with respect to the electrically excitable units during operation of the internal combustion engine. These inherent movements also move the first electrically conductive contact elements fastened in the plug housings by means of clipping in relation to the second electrically conductive contact elements of the electrically excitable units. This process results in the risk of excessive wear on the contact surfaces of the first electrically conductive contact elements and the second electrically conductive contact elements, which can lead to the premature failure of the assembly consisting of contact strip and electrically excitable units.
- the contact strip according to the invention with the features of claim 1 has the advantage of effective damping of the dynamic natural movements of the individual connector housings compared to the contact strip housing and compared to the electrically excitable units and thus the movements of the second electrically conductive contact elements of the electrically excitable units compared to those with the second electrical To enable conductive contact elements interacting first electrically conductive contact elements of the connector housing. This results in particularly low wear of the first electrically conductive contact elements and the second electrically conductive contact elements, in particular of fuel injection parts, in the area of their contact points.
- the damping elements of the contact strip according to the invention allow the mobility of the plug housing when mounting the contact strip on the electrically excitable ones Units or the electrically excitable units connected to one another by means of the contact strip to the internal combustion engine, so that problem-free compensation of the shape and position tolerances and low-force joining are possible.
- a damping element is arranged between a bottom end face of the bottom of the contact strip housing facing the plug housing and each plug end face of the individual plug housing facing the bottom.
- a damping element is formed on a shoulder of a stepped through bore of the plug housing, which interacts with a central elevation of the bottom of the contact strip housing.
- FIG. 1 and 2 show a first exemplary embodiment of a contact strip designed in accordance with the invention
- FIG. 3 shows a greatly enlarged detail of FIG. 1 with the contact strip partially shown
- FIG. 4 shows a section along the line IV-IV in FIG. 3
- FIG. 5 shows a fuel distributor piece with it arranged fuel injection valves, which are electrically contacted together by a contact strip according to the first exemplary embodiment
- FIG. 6 shows a second exemplary embodiment of a contact strip according to the invention
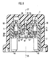
- FIG. 8 a fourth and FIG. 9 a fifth exemplary embodiment of a contact strip according to the invention.
- the contact strip housing which is designed, for example, as a plastic injection molded part, is designated by 1.
- Plug housing 2 are arranged in the contacting strip housing 1, each of which is assigned to an electrically excitable unit and is used to make electrical contact with it.
- a blind hole-shaped receiving opening 3 is provided in the contact strip housing 1 for each connector housing 2, which is open to a strip end face 4.
- first electrically conductive contact elements 5 are arranged, which are electrically conductively connected to electrical conductors 6 arranged in the contacting strip housing 1.
- the electrical conductors 6 are connected to the contact strip housing 1, for example, by at least one support point 7 of the contact strip housing 1 lying between each receiving opening 3, each support point 7 being formed by caulking the material of the contact strip housing 1 by means of ultrasonic welding.
- a connector 10 is also arranged on the contact strip housing 1, to which the individual electrical conductors 6 are connected and via the known control type of an electronic control device, not shown, electrical control signals for the elec tric excitable units can be entered.
- all electrical conductors 6 extend from the connector 10 to the individual connector housings 2 within the contact strip housing 1 and branch off there to the individual first electrically conductive contact elements 5.
- Two guide arms 11 protrude from the strip end face 4 of the contact strip housing 1 at an axial distance from one another.
- mounting bushes 13, 14 are formed in the contact strip illustrated as an exemplary embodiment during manufacture, which are open at least on their side facing the strip end face 4 and z. B. are formed from a metallic material.
- the fastening bushing 13 has a blind hole 17, which is provided with an internal thread 18, while the fastening bushings 14, which are open on both sides, form fastening holes 16 in the contacting strip housing 1 in connection with strip openings 15, which are concentric with the fastening bushings 14, of the contacting strip housing 1.
- FIG. 3 shows a greatly enlarged section of FIG. 1 with the contact strip partially shown and
- FIG. 4 shows a section along the line IV-IV in FIG. 3.
- a stepped holding element 19 which is made of plastic, for example, is used to connect the connector housing 2, which is made of plastic, for example, to the contact strip housing 1 which is made of plastic.
- the connector housing 2 which is made of plastic, for example, to the contact strip housing 1 which is made of plastic.
- This has a graduated one Holding element 19 has a smaller diameter than the head 20 central region 21 and a smaller diameter than the central region 21, for example stepped tip 22.
- the holding element 19 is through a stepped, concentric to a longitudinal axis 25 of the connector housing 2 formed through opening 26 of the connector housing 2 passed through.
- the holding element 19 With its tip 22, the holding element 19 is inserted into a blind hole 28 of a central elevation 29 of a bottom 30 of the contacting strip housing 1, which runs concentrically to a longitudinal axis 27 of the receiving opening 3 of the contacting strip housing 1.
- the holding element 19 is connected, for example by means of ultrasound welding, to the wall of the blind hole 28 in such a way that the holding element 19 lies with a first element shoulder 31 of the central region 21 in the axial direction on an end face 32 of the central elevation 29.
- the middle elevation 29 protrudes in the axial direction facing the respective connector housing 2 through a bottom face 33 of the bottom part 30 of the contact strip housing 1 and has, for example, an annular cross-sectional area.
- the stepped through opening 26 of the plug housing 2 has a first region 34 facing the bottom end face 33 of the bottom 30, a holding shoulder 35 having a reduced clear width and an adjoining second region 36 facing away from the bottom end face 33.
- the bottom end face 33 of the contact strip housing 1 is opposite the plug end faces 39 of the individual connector housing 2.
- the positioning lugs 40 have, for example, the shape of a right angle and have parallel surfaces 43 in the longitudinal direction of the contact strip housing 1 and parallel surfaces 44 perpendicular to this.
- a connecting web 45 is formed, which connects the two positioning lugs 40 lying on one side of the longitudinal axis 41 at their end facing away from the longitudinal axis 41, so that their two parallel surfaces 44 are shorter than the parallel ones running on the other side of the longitudinal axis 41 Surfaces 44 that end open at the end of the connector housing 2.
- the parallel surfaces 44 and thus the positioning lugs 40 are thus designed asymmetrically to one another on different sides of the strip longitudinal axis 41.
- the connector housing 2 has, for example, two stepped plug openings 46 open on both sides, in each of which a first electrically conductive contact element 5 by means of, for. B. two latches 47 formed on the first electrically conductive contact element 5 are secured by snapping with play.
- a radial play 50 is provided between the stepped through opening 26 of the plug housing 2 in the first region 34 facing the bottom face 33 and the circumference of the cylindrical central elevation 29. Furthermore, a radial play 51 between the clear width of the holding shoulder 35 and the central region 21 of the holding element 19 and a radial play 52 between the head 20 of the holding element 19 and the second region 36 of the through opening 26 surrounding the head 20 are provided.
- the connector housing 2 is freely movable relative to the holding element 19 and thus also with respect to the contact strip housing 1 in the radial or horizontal direction perpendicular to its longitudinal axis 25 or the longitudinal axis 27 of the receptacle.
- a damping element 55 is arranged between the bottom end face 33 of the contacting strip housing 1 and the plug end face 39 of the respective plug housing 2.
- the damping element 55 has, for example, the shape of a plate formed from an elastic material such as plastic or rubber.
- An axial play 60 is provided between the damping element 55 and the bottom end face 33 of the contact strip housing 1 or between the damping element 55 and the plug end face 39 of the respective connector housing 2.
- the axial play 60 and the elasticity of the elastic damping element 55 allow a low-force joining of the contact strip, for example onto a fuel distributor piece 62 with fuel injection valves 63 arranged therein, as shown in FIG. 5.
- the fuel distributor piece 62 corresponds essentially to the fuel distributor piece described in DE-OS 37 30 571.
- a fuel injector 63 is arranged in spaced-apart, stepped valve receiving openings 65, which is enclosed by the valve receiving opening 65, which is open at both ends.
- the fuel injection valve 63 is connected to at least one fuel line running in the fuel distributor piece 62.
- the supply and discharge of the fuel into and from the fuel distributor piece 62 takes place by means of, for example, two connecting pieces 68, 69 of the fuel distributor piece 62.
- the system pressure of the fuel in the fuel distributor piece 62 is regulated in a known manner by a pressure regulator 70 arranged on the fuel distributor piece 62.
- the contact strip is connected to the fuel distributor piece 62 in such a way that it covers the valve receiving openings 65 and the fuel injection valves 63 are held therein.
- the guide arms 11 of the contact strip housing 1 serve for easier assembly of the contact strip and fuel distributor piece 62 and engage in mounting openings 72 of the fuel distributor piece 62.
- Concentric to the fastening openings 16 formed in the contact strip housing 1 and open on both sides are opening holes 74 in the fuel distributor piece 62 that are open on both sides , for example by means of fastening bushings 75 arranged in the fuel distributor piece 62.
- a through hole 76 is formed concentrically with the blind hole 17 of the fastening bushing 13 in the fuel distributor piece 62, which thread has an internal thread 18, by means of a through bushing 77.
- the head of a screw 79 bears against an end face 78 of the through bushing 77 facing away from the contacting strip housing 1, which screw is screwed into the internal thread 18 of the blind hole 17 of the contacting strip housing 1 and thus connects the contacting strip and the fuel distributor piece 62 to one another.
- the fuel injection valves 63 directly at a receiving opening for fuel injection valves and connecting pieces and lines for the fuel supply, or on a cylinder head which is likewise designed in this way, and to make electrical contact with the fuel injection valves 63 together with a contact strip according to the invention.
- the connector housings 2 of the contact strip serve for the common electrical contacting of the electrically excitable units, for example the fuel injection valves 63.
- the first electrically conductive contact elements 5 of the connector housings 2 with second electrically conductive contact elements 66 of the fuel injection valves 63 are through Plug electrically connected.
- the plug housing 2 can be moved freely relative to the contact strip housing 1 before the joining process, which is made possible by the radial play 50, 51, 52 and the axial play 60 as well as the elasticity of the damping element 55.
- the elastic damping element 55 is between the bottom end face 33 of the contact strip housing 1 and the Connector end face 39 of the respective connector housing 2 clamped and elastically deformed so that the damping element 55 is under mechanical pretension in the direction of the connector longitudinal axis 25.
- the elastic damping element 55 thus clamped between the contact strip housing 1 and the respective plug housing counteracts an internal movement of the plug housing 2 produced by the operation of the internal combustion engine with respect to the contact strip housing 1 and the electrically excitable units by the damping element 55 being elastically deformed.
- the damping element 55 is clamped between the plug housing 2 and the bottom end face 33 of the contacting strip housing 1 after the joining process of the contacting strip and the fuel distributor piece 62, and the damping element is designed such that the movements of the first, which are excited by vibrations of the internal combustion engine, during operation electrically conductive contact elements 5 and the electrical conductor 6 are damped.
- the elastically deformed damping elements 55 are in direct contact with the circumference of push-through openings 58 which they have, against the first electrically conductive contact elements 5 of the plug housing 2 and the electrical conductors 6 which protrude through the push-through openings 58.
- the additional damping also has an advantageous effect on reduced wear at the contact points between the first electrically conductive contact elements 5 of FIG Plug housing 2 and the second electrically conductive contact elements 66 of the electrically excitable units, for example the fuel injection valves 63.
- FIG. 1 A second exemplary embodiment according to the invention is shown in FIG.
- the same and equivalent parts are identified by the same reference numerals as in Figures 1 to 5.
- a damping element in the form of a plate spring 81 is arranged between the plug end face 39 of the plug housing 2 and the stepped bottom 30 of the contact strip housing 1.
- the plate spring 81 has a flat region 82 pointing radially inward to the circumference of the central elevation 29 and a radially outwardly extending oblique spring region 83 which faces the plug housing 2 in the axial direction, for example with its outer end 84 on the plug face 39 of the plug housing 2 is present. It is also possible that the flat spring 81 rests with its flat region 82 on the plug end face 39 of the plug housing 2 or that the plate spring 81 has a cross-sectional shape other than that shown in FIG.
- the connector housing 2 is free with respect to the holding element 19 and thus also with respect to the contact strip housing 1 both in the radial or horizontal direction and perpendicularly thereto movable, so that when connecting the contact strip to the electrically excitable units due to shape and position tolerances, offsets occurring between the first electrically conductive contact elements 5 of the connector housing 2 and the second electrically conductive contact elements 66 of the electrically excitable units are compensated for and damage is avoided.
- the plate spring 81 After the joining process of the contact strip, for example on the fuel distributor piece 62, the plate spring 81 is elastically deformed by the contact with the bottom face 33 and the connector face 39 and is therefore under mechanical tension in the axial direction.
- the elastic deformability of the plate spring 81 enables the effective damping of the internal movements of the plug housing 2 produced by the operation of the internal combustion engine relative to the contact strip housing 1 and the electrically excitable units, and thus the reduction in contact point wear on the first electrically conductive contact elements 5 of the plug housing 2 and the second electrically conductive contact elements 66 of the electrically excitable units.
- FIG. 7 shows a third exemplary embodiment according to the invention, in which the same and equivalent parts have the same reference numerals as in FIGS. 1 to 6.
- the middle elevation 29 of the contacting strip housing 1 faces a plate spring-shaped or tongue-shaped damping element 89 also molded, which extends in the radial direction inwards towards the longitudinal axis 25 of the plug and is connected on the outside to the holding shoulder 35 of the plug housing 2.
- the plate spring-shaped or tongue-shaped damping element 89 is shaped in the axial direction of the end face 32 of the central elevation 29 and lies, for example, with its inner end 90 against the end face 32.
- the clear width of the damping element 89 at its inner end 90 has a significantly larger diameter than the central region 21 of the holding element 19 fastened in the blind hole 28 of the central elevation 29 be trained.
- an axial play 60 is provided between the bottom end face 33 of the contact strip housing 1 and the plug end face 39 of the plug housing 2 in the direction of the longitudinal axis 25 of the plug.
- the contact strip according to the third exemplary embodiment also allows the connector housing 2 to move freely relative to the contact strip housing 1 in the horizontal direction, ie perpendicular to the longitudinal axis 25 of the plug or the longitudinal axis 27 of the receptacle.
- the plate-spring-shaped or tongue-shaped damping element 89 which cooperates with the end face 32 of the central elevation 29 and is elastically deformed in the axial direction after the joining process, dampens, due to its elastic deformability, the inherent movements of the respective plug housing 2 produced by the operation of the internal combustion engine relative to the contact strip housing 1 in particular in the direction of the longitudinal axis 25 of the plug or the longitudinal axis 27 of the receptacle, thus reducing the wear on the contact points on the first electrically conductive contact elements 5 of the plug housing 2 and the second electrically conductive contact elements 66 of the electrically excitable units.
- the damping element 89 can of course also be designed as a plate made of elastic material as in the first exemplary embodiment according to FIGS. 1 to 6 or as a plate spring as in the second exemplary embodiment according to FIG. 6.
- FIG. 8 A fourth exemplary embodiment according to the invention is shown in FIG. 8, the same and equivalent parts being identified with the same reference numerals as in FIGS. 1 to 7.
- the longitudinal axis 25 of the plug or the longitudinal axis of the receptacle are shown 27 an axial play 60 between the respective plug housing 2 and the bottom end face 33 of the contacting strip housing 1 and perpendicular to it radial games 50, 51, 52 between the stepped through opening 26 of the connector housing 2 and the circumference of the cylindrical central elevation 29 or the holding element 19 are provided.
- a, for example, metal disc spring 97 serving as a damping element.
- the plate spring 81 lies, for example, on the second contact surface 96 of the holding shoulder 35 with play relative to the second region 26 and its inner end 90 encompasses the middle region 21 on the first contact surface 95 of the head 20.
- the plate spring 97 rests with its outer end 98 on the first contact surface 95 of the head 20 and with its inner end 91 on the second contact surface 96 of the holding shoulder 35.
- the connector housing 2 and the bottom 30 of the contact strip housing 1 are designed such that after the joining process of the contact strip, for example on a fuel distributor piece 62, the plate spring 97 is clamped elastically deformed in the direction of the longitudinal axis 25 of the plug between the first contact surface 95 and the second contact surface 96.
- the elastic deformability of the plate spring 97 serving as a damping element the inherent movements of the respective plug housing 2 produced by the operation of the internal combustion engine relative to the contact strip housing 1 are damped in particular in the direction of the longitudinal axis 25 of the plug or the longitudinal axis 27 of the receptacle, and thus the contact point wear on the first electrically conductive contact elements 5 the connector housing 2 and on the second electrically conductive contact elements 66 of the electrically excitable units are reduced.
- the damping element 97 can of course also be formed as a plate made of elastic material as in the first embodiment according to FIGS. 1 to 6 or as a plate spring-shaped or tongue-shaped damping element formed on the holding shoulder 35 in accordance with the third exemplary embodiment according to FIG.
- FIG. 9 shows a further, fifth exemplary embodiment according to the invention.
- the same and equivalent parts are provided with the same reference numerals as in Figures 1 to 8.
- radial games 50, 51, 52 between the stepped through opening 26 of the connector housing 2 and the circumference of the cylindrical central elevation 29 of the contact strip housing 1 or the holding element 19 is provided to ensure free movement of the connector housing 2 relative to the contact strip housing 1.
- the damping element 100 can be designed as at least two individual tongues or annular like a plate spring.
- the oblique spring region 102 of the plate-shaped or tongue-shaped damping element 100 extends from the inner end 101 to its outer end 103 in the axial direction facing the bottom end face 33 of the contact strip housing 1.
- An axial play 60 is provided between the outer end 103 of the damping element 100 and the bottom end face 33 of the contact strip housing 1, which ensures that the respective plug housing 2 can move freely relative to the contact strip housing 1.
- the axial clearance 60 is so large and the connector housing 2 or the bottom 30 of the contact strip housing 1 is designed such that after the assembly process of the electrically excitable units and the contact strip, the respective damping element 100, which is also molded onto the connector housing 2, on the bottom end face 33 of the contact strip housing 1 rests directly and is slightly deformed elastically. If the connector housing 2 carries out natural vibrations as a result of the operation of the internal combustion engine, these natural vibrations are damped by the deformability of the damping element 100 and thus the wear on the contact points between the first electrically conductive contact elements 5 of the connector housing 2 and the second electrically conductive contact elements 66 of the electrically excitable units is reduced.
- the respective plate-shaped or tongue-shaped damping elements 100 may be molded onto the bottom end face 33 of the contact strip housing 1 and to cooperate with the corresponding plug end faces 39 of the plug housing 2.
Landscapes
- Engineering & Computer Science (AREA)
- Chemical & Material Sciences (AREA)
- Combustion & Propulsion (AREA)
- Mechanical Engineering (AREA)
- General Engineering & Computer Science (AREA)
- Fuel-Injection Apparatus (AREA)
- Contacts (AREA)
- Details Of Connecting Devices For Male And Female Coupling (AREA)
Description
- Die Erfindung geht aus von einer Kontaktierungsleiste nach der Gattung des Patentanspruches 1. Durch die DE-U-89 03 551 ist bereits eine Kontaktierungsleiste bekannt, deren Steckergehäsue um ihre Mittelachsen drehbar gelagert sind. Beim Betrieb der Brennkraftmaschine führen die Steckergehäuse mit den darin angeordneten ersten elektrisch leitenden Kontaktelementen dynamische Eigenbewegungen gegenüber den zweiten elektrisch leitenden Kontaktelementen von Brennstoffeinspritzventilen aus, die zu unerwünschtem Verschleiß an den Kontaktelementen führen. In der WO-A-91/12 425, die unter Artikel 54 (3) EPÜ fällt ist schon eine der gemeinsamen Kontaktierung mehrerer elektrisch erregbarer, in einem Brennstoffverteilerstück gemeinsam montierter Aggregate von Brennkraftmaschinen dienende Kontaktierungsleiste vorgeschlagen worden. An dem Kontaktierungsleistengehäuse sind Steckergehäuse mit ersten elektrisch leitenden Kontaktelementen angeordnet, die mit zweiten elektrisch leitenden Kontaktelementen elektrisch erregbarer Aggregate verbindbar sind. Zum Ausgleich von Form- und Lagetoleranzen zwischen den ersten elektrisch leitenden Kontaktelementen der Steckergehäuse und den zweiten elektrisch leitenden Kontaktelementen der elektrisch erregbaren Aggregate sind die Steckergehäuse in Richtung ihrer Steckerlängsachsen und senkrecht dazu gegenüber dem Kontaktierungsleistengehäuse schwimmend bewegbar, um beim Verbinden der Kontaktierungsleiste mit den elektrisch erregbaren Aggregaten oder bei der Montage der elektrisch erregbaren, mittels der Kontaktierungsleiste miteinander verbundenen Aggregate an die Brennkraftmaschine Beschädigungen zu verhindern. Das radiale und das axiale Spiel, das die Steckergehäuse im an die elektrisch erregbaren Aggregate montierten Zustand gegenüber dem Kontaktierungsleistengehäuse aufweisen, führt dazu, daß die Steckergehäuse beim Betrieb der Brennkraftmaschine dynamische Eigenbewegungen gegenüber dem Kontaktierungsleistengehäuse sowie gegenüber den elektrisch erregbaren Aggregaten ausführen. Durch diese Eigenbewegungen werden auch die in den Steckergehäusen mittels Einclipsen befestigten ersten elektrisch leitenden Kontaktelemente gegenüber den zweiten elektrisch leitenden Kontaktelementen der elektrisch erregbaren Aggregate bewegt. Aus diesem Vorgang resultiert die Gefahr eines übermäßigen Verschleißes an den Kontaktflächen der ersten elektrisch leitenden Kontaktelemente und der zweiten elektrisch leitenden Kontaktelemente, der zum vorzeitigen Ausfall der aus Kontaktierungsleiste und elektrisch erregbaren Aggregaten bestehenden Baugruppe führen kann.
- Die erfindungsgemäße Kontaktierungsleiste mit den Merkmalen des Patentanspruchs 1 hat den Vorteil, eine wirksame Dämpfung der dynamischen Eigenbewegungen der einzelnen Steckergehäuse gegenüber dem Kontaktierungsleistengehäuse und gegenüber den elektrisch erregbaren Aggregaten und damit der Bewegungen der zweiten elektrisch leitenden Kontaktelemente der elektrisch erregbaren Aggregate gegenüber den mit den zweiten elektrisch leitenden Kontaktelementen zusammenwirkenden ersten elektrisch leitenden Kontaktelementen der Steckergehäuse zu ermöglichen. Dadurch ergibt sich ein besonders geringer Verschleiß der ersten elektrisch leitenden Kontaktelemente und der zweiten elektrisch leitenden Kontaktelemente, insbesondere von Brennstoffeinspritzentilen, im Bereich ihrer Kontaktstellen. Zugleich erlauben die Dämpfungselemente der erfindungsgemäßen Kontaktierungsleiste die Beweglichkeit der Steckergehäuse bei der Montage der Kontaktierungsleiste auf die elektrisch erregbaren Aggregate bzw. der mittels derKontaktierungsleiste miteinander verbundenen elektrisch erregbaren Aggregate an die Brennkraftmaschine, so daß ein problemloser Ausgleich der Form- und Lagetoleranzen und ein kraftarmes Fügen möglich sind.
- Durch die in den abhängigen Ansprüchen aufgeführten Maßnahmen sind vorteilhafte Weiterbildungen und Verbesserungen der in dem Patentanspruch 1 angegebenen Kontaktierungsleiste möglich.
- Für eine besonders einfache Ausbildung der erfindungsgemäßen Kontaktierungsleiste ist es von Vorteil, wenn zwischen einer den Steckergehäusen zugewandten Bodenstirnseite des Bodens des Kontaktierungsleistengehäuses und jeder dem Boden zugewandten Steckerstirnseite der einzelnen Steckergehäuse jeweils ein Dämpfungselement angeordnet ist.
- Es ist aber auch vorteilhaft, wenn an jede der dem Boden des Kontaktierungsleistengehäuses zugewandten Steckerstirnseiten der einzelnen Steckergehäuse ein Dämpfungselement angeformt ist. Hierdurch ergibt sich eine besonders einfache Montage der erfindungsgemäßen Kontaktierungsleiste.
- Für eine einfache und kostengünstige Ausbildung der erfindungsgemäßen Kontaktierungsleiste ist es vorteilhaft, wenn an einem Halteabsatz einer abgestuften Durchgangsbohrung des Steckergehäuses jeweils ein Dämpfungselement angeformt ist, das mit einer mittleren Erhebung des Bodens des Kontaktierungsleistengehäuses zusammenwirkt.
- Ausführungsbeispiele der Erfindung sind in der Zeichnung vereinfacht dargestellt und in der nachfolgenden Beschreibung näher erläutert. Es zeigen Figur 1 und Figur 2 ein erstes Ausführungsbeispiel einer erfindungsgemäß ausgestalteten Kontaktierungsleiste, Figur 3 einen stark vergrößerten Ausschnitt der Figur 1 mit der teilweise dargestellten Kontaktierungsleiste, Figur 4 einen Schnitt entlang der Linie IV-IV in Figur 3, Figur 5 ein Brennstoffverteilerstück mit darin angeordneten Brennstoffeinspritzventilen, die von einer Kontaktierungsleiste gemäß des ersten Ausführungsbeispiels gemeinsam elektrisch kontaktiert werden, Figur 6 ein zweites Ausführungsbeispiel einer erfindungsgemäßen Kontaktierungsleiste, Figur 7 ein drittes Ausführungsbeispiel einer erfindungsgemäßen Kontaktierungsleiste, Figur 8 ein viertes sowie Figur 9 ein fünftes Ausführungsbeispiel einer erfindungsgemäßen Kontaktierungsleiste.
- Bei der in den Figuren 1 bis 5 beispielsweise dargestellten Kontaktierungsleiste zur gemeinsamen elektrischen Kontaktierung mehrerer elektrisch erregbarer Aggregate von Brennkraftmaschinen gemäß eines ersten Ausführungsbeispiels ist das beispielsweise als Kunststoffspritzgußteil ausgebildete Kontaktierungsleistengehäuse mit 1 bezeichnet. In dem Kontaktierungsleistengehäuse 1 sind Steckergehäuse 2 angeordnet, die jeweils einem elektrisch erregbaren Aggregat zugeordnet sind und zu dessen elektrischer Kontaktierung dienen. Hierfür ist in dem Kontaktierungsleistengehäuse 1 für jedes Steckergehäuse 2 eine sacklochförmige Aufnahmeöffnung 3 vorgesehen, die zu einer Leistenstirnfläche 4 hin offen ist. In dem aus elektrisch isolierendem Material gefertigten Steckergehäuse 2 sind erste elektrisch leitende Kontaktelemente 5 angeordnet, die mit in dem Kontaktierungsleistengehäuse 1 angeordneten elektrischen Leitern 6 elektrisch leitend verbunden sind. Die elektrischen Leiter 6 sind mit dem Kontaktierungsleistengehäuse 1 beispielweise durch zumindest je eine zwischen jeder Aufnahmeöffnung 3 liegende Stützstelle 7 des Kontaktierungsleistengehäuses 1 verbunden, wobei jede Stützstelle 7 durch Verstemmen von Material des Kontaktierungsleistengehäuses 1 mittels Ultraschallschweißens gebildet wird.
- Beispielsweise an einem der Enden in Längsrichtung ist an dem Kontaktierungsleistengehäuse 1 weiterhin ein Anschlußstecker 10 angeordnet, mit dem die einzelnen elektrischen Leiter 6 verbunden sind und über den von einem nicht dargestellten elektronischen Steuergerät bekannter Bauart elektrische Ansteuersignale für die elek trisch erregbaren Aggregate eingebbar sind. Somit verlaufen alle elektrischen Leiter 6 vom Anschlußstecker 10 ausgehend zu den einzelnen Steckergehäusen 2 innerhalb des Kontaktierungsleistengehäuses 1 und zweigen dort zu den einzelnen ersten elektrisch leitenden Kontaktelementen 5 ab.
- Aus der Leistenstirnfläche 4 des Kontaktierungsleistengehäuses 1 ragen mit axialem Abstand zueinander zwei Führungsarme 11 heraus. Zur Verbindung des Kontaktierungsleistengehäuses 1 beispielsweise mit einem Brennstoffverteilerstück, einem Saugrohr oder einem Zylinderkopf einer Brennkraftmaschine sind in der als Ausführungsbeispiel dargestellten Kontaktierungsleiste bei der Herstellung Befestigungsbuchsen 13, 14 eingeformt, die zumindest an ihrer der Leistenstirnfläche 4 zugewandten Seite offen und z. B. aus einem metallischen Werkstoff ausgebildet sind. Die Befestigungsbuchse 13 weist eine Sacklochbohrung 17 auf, die mit einem Innengewinde 18 versehen ist, während die zu beiden Seiten hin offenen Befestigungsbuchsen 14 in Verbindung mit zu den Befestigungsbuchsen 14 konzentrischen Leistenöffnungen 15 des Kontaktierungsleistengehäuses 1 Befestigungsöffnungen 16 in dem Kontaktierungsleistengehäuse 1 ausbilden.
- Zur weiteren Erläuterung der Kontaktierungsleiste gemäß des ersten Ausführungsbeispiels ist in der Figur 3 ein stark vergrößerter Ausschnitt der Figur 1 mit der teilweise dargestellten Kontaktierungsleiste und in der Figur 4 ein Schnitt entlang der Linie IV-IV in Figur 3 dargestellt.
- Zur Verbindung des beispielsweise aus Kunststoff gefertigten Steckergehäuses 2 mit dem aus Kunststoff ausgebildeten Kontaktierungsleistengehäuse 1 dient ein abgestuftes Haltelement 19, das beispielweise aus Kunststoff gefertigt ist. Ausgehend von einem Kopf 20, der der Leistenstirnfläche 4 zugewandt ist, hat das abgestufte Halteelement 19 einen einen kleineren Durchmesser als der Kopf 20 aufweisenden Mittelbereich 21 sowie eine einen kleineren Durchmesser als der Mittelbereich 21 aufweisende, beispielsweise abgestufte Spitze 22. Das Halteelement 19 ist durch eine abgestufte, konzentrisch zu einer Steckerlängsachse 25 des Steckergehäuses 2 ausgebildete Durchgangsöffnung 26 des Steckergehäuses 2 hindurchgeführt. Mit seiner Spitze 22 ist das Halteelement 19 in eine konzentrisch zu einer Aufnahmelängsachse 27 der Aufnahmeöffnung 3 des Kontaktierungsleistengehäuses 1 verlaufende Sacklochbohrung 28 einer mittleren Erhebung 29 eines Bodens 30 des Kontaktierungsleistengehäuses 1 gesteckt. Das Haltelement 19 ist beispielweise mittels Ultraschallschweißens mit der Wandung der Sacklochbohrung 28 so verbunden, daß das Haltelement 19 mit einer ersten Elementschulter 31 des Mittelbereiches 21 in axialer Richtung an einer Stirnseite 32 der mittleren Erhebung 29 anliegt. Die mittlere Erhebung 29 ragt in axialer Richtung dem jeweiligen Steckergehäuse 2 zugewandt über eine Bodenstirnseite 33 des Bodenteils 30 des Kontaktierungsleistengehäuses 1 heraus und weist beispielsweise eine kreisringförmige Querschnittsfläche auf. Die abgestufte Durchgangsöffnung 26 des Steckergehäuses 2 weist einen der Bodenstirnfläche 33 des Bodens 30 zugewandten ersten Bereich 34, einen eine verringerte lichte Weite aufweisenden Halteabsatz 35 und einen sich daran anschließenden, der Bodenstirnseite 33 abgewandten zweiten Bereich 36 auf.
- Der Bodenstirnseite 33 des Kontaktierungsleistengehäuses 1 liegen Steckerstirnseiten 39 der einzelnen Steckergehäuse 2 gegenüber. An der der Steckerstirnseite 39 des Steckergehäuses 2 abgewandten Seite sind an jedem Steckergehäuse 2 beispielsweise vier eine mehreckige Querschnittsform aufweisende Positioniernasen 40 angeformt, die mit Abstand zueinander so angeordnet sind, daß je zwei auf einer Seite einer Leistenlängsachse 41 liegen und zwar symmetrisch zur Linie IV-IV in Figur 2, die durch die ersten elektrisch leitenden Kontaktelemente 5 verläuft. Die Positioniernasen 40 haben beispielsweise die Form eines rechten Winkels und weisen in Längsrichtung des Kontaktierungsleistengehäuses 1 parallele Flächen 43 und senkrecht hierzu parallele Flächen 44 auf. Am Steckergehäuse 2 ist ein Verbindungssteg 45 ausgebildet, der die auf einer Seite der Leistenlängsachse 41 liegenden zwei Positioniernasen 40 an ihrem der Leistenlängsachse 41 abgewandten Ende verbindet, so daß deren beide parallele Flächen 44 kürzer sind als die auf der anderen Seite der Leistenlängsachse 41 verlaufenden parallelen Flächen 44, die offen am Ende des Steckergehäuses 2 enden. In bezug auf die Leistenlängsachse 41 der Kontaktierungsleiste 1 sind die parallelen Flächen 44 und damit die Positioniernasen 40 also auf verschiedenen Seiten der Leistenlängsachse 41 asymmetrisch zueinander ausgestaltet.
- Das Steckergehäuse 2 weist beispielsweise zwei nach beiden Seite offene, abgestufte Steckeröffnungen 46 auf, in denen je ein erstes elektrisch leitendes Kontaktelement 5 mittels z. B. zwei an dem ersten elektrisch leitenden Kontaktelement 5 ausgebildeten Rastnasen 47 durch Einrasten mit Spiel befestigt ist.
- In radialer Richtung ist zwischen der abgestuften Durchgangsöffnung 26 des Steckergehäuses 2 in dem der Bodenstirnseite 33 zugewandten ersten Bereich 34 und dem Umfang der zylinderförmigen mittleren Erhebung 29 ein radiales Spiel 50 vorgesehen. Weiterhin ist ein radiales Spiel 51 zwischen der lichten Weite des Halteabsatzes 35 und dem Mittelbereich 21 des Halteelementes 19 sowie ein radiales Spiel 52 zwischen dem Kopf 20 des Halteelementes 19 und dem den Kopf 20 umgebenden zweiten Bereich 36 der Durchgangsöffnung 26 vorgesehen. Dadurch ist das Steckergehäuse 2 gegenüber dem Halteelement 19 und damit auch gegenüber dem Kontaktierungsleistengehäuse 1 in radialer bzw. horizontaler Richtung senkrecht zu seiner Steckerlängsachse 25 bzw. der Aufnahmelängsachse 27 frei bewegbar.
- In axialer Richtung der Steckerlängsachse 25 bzw. der Aufnahmelängsachse 27 ist zwischen der Bodenstirnseite 33 des Kontaktierungsleistengehäuses 1 und der Steckerstirnseite 39 des jeweiligen Steckergehäuses 2 jeweils ein Dämpfungselement 55 angeordnet. Das Dämpfungselement 55 hat beispielsweise die Form eines aus einem elastischen Material wie Kunststoff oder Gummi ausgeformten Plättchens. Im zwischen der Bodenstirnseite 33 des Bodens 30 und der Steckerstirnseite 39 des jeweiligen Steckergehäuses 2 montierten Zustand ist, wie aus der Figur 3 ersichtlich, bei dem ersten erfindungsgemäßen Ausführungsbeispiel der äußere Rand 56 des als Dämpfungselement 55 ausgebildeten elastischen Plättchens in Richtung der Positioniernasen 40 der Bodenstirnseite 33 abgewandt umgebogen.
- Zwischen dem Dämpfungselement 55 und der Bodenstirnseite 33 des Kontaktierungsleistengehäuses 1 bzw. zwischen dem Dämpfungselement 55 und der Steckerstirnseite 39 des jeweiligen Steckergehäuses 2 ist ein axiales Spiel 60 vorgesehen. Das axiale Spiel 60 und die Elastizität des elastischen Dämpfungselementes 55 erlauben ein kraftarmes Fügen der Kontaktierungsleiste beispielsweise auf ein Brennstoffverteilerstück 62 mit darin angeordneten Brennstoffeinspritzventilen 63, wie in der Figur 5 dargestellt ist.
- Das Brennstoffverteilerstück 62 entspricht im wesentlichen dem in der DE-OS 37 30 571 beschriebenen Brennstoffverteilerstück. In dem Brennstoffverteilerstück 62 sind in mit Abstand zueinander ausgebildeten, abgestuften Ventilaufnahmeöffnungen 65 je ein Brennstoffeinspritzventil 63 angeordnet, das von der an beiden Enden offenen Ventilaufnahmeöffnung 65 umschlossen wird. Das Brennstoffeinspritzventil 63 steht mit wenigstens einer in dem Brennstoffverteilerstück 62 verlaufenden Brennstoffleitung in Verbindung. Die Zufuhr und Abfuhr des Brennstoffs in das bzw. aus dem Brennstoffverteilerstück 62 erfolgt mittels beispielsweise zweier Anschlußstutzen 68, 69 des Brennstoffverteilerstücks 62. Der Systemdruck des Brennstoffs in dem Brennstoffverteilerstück 62 wird durch einen an dem Brennstoffverteilerstück 62 angeordneten Druckregler 70 in bekannter Weise geregelt.
- Die Kontaktierungsleiste ist mit dem Brennstoffverteilerstück 62 derart verbunden, daß durch sie die Ventilaufnahmeöffnungen 65 überdeckt und die Brennstoffeinspritzventile 63 darin gehalten werden. Die Führungsarme 11 des Kontaktierungsleistengehäuses 1 dienen der einfacheren Montage von Kontaktierungsleiste und Brennstoffverteilerstück 62 und greifen in Montageöffnungen 72 des Brennstoffverteilerstückes 62. Konzentrisch zu den in dem Kontaktierungsleistengehäuse 1 ausgebildeten, nach beiden Seiten offenen Befestigungsöffnungen 16 sind in dem Brennstoffverteilerstück 62 nach beiden Seiten offene Befestigungsöffnungen 74, beispielsweise mittels in dem Brennstoffverteilerstück 62 angeordneten Befestigungsbuchsen 75 ausgebildet. Mittels dieser sowohl durch das Brennstoffverteilerstück 62 als auch durch das Kontaktierungsleistengehäuse 1 hindurchreichenden Öffnungen läßt sich das aus Brennstoffverteilerstück 62 und Kontaktierungsleiste bestehende Teil gemeinsam beispielsweise an einem Saugrohr oder einem Zylinderkopf einer Brennkraftmaschine befestigen. Für eine Vormontage von Brennstoffverteilerstück 62 und Kontaktierungsleiste ist, wie im Ausführungsbeispiel dargestellt, konzentrisch zu der ein Innengewinde 18 aufweisenden Sacklochbohrung 17 der Befestigungsbuchse 13 im Brennstoffverteilerstück 62 mittels einer Durchgangsbuchse 77 eine Durchgangsöffnung 76 ausgebildet. An einer dem Kontaktierungsleistengehäuse 1 abgewandten Stirnseite 78 der Durchgangsbuchse 77 liegt der Kopf einer Schraube 79 an, die in das Innengewinde 18 der Sacklochbohrung 17 des Kontaktierungsleistengehäuses 1 geschraubt ist und so die Kontaktierungsleiste und das Brennstoffverteilerstück 62 miteinander verbindet.
- Es ist aber ebenfalls möglich, die Brennstoffeinspritzventile 63 unmittelbar an einem Aufnahmeöffnungen für Brennstoffeinspritzventile sowie Anschlußstutzen und Leitungen für die Brennstoffversorgung aufweisenden Saugrohr oder an einem ebenfalls in dieser Weise ausgebildeten Zylinderkopf anzuordnen und die Brennstoffeinspritzventile 63 mit einer erfindungsgemäßen Kontaktierungsleiste gemeinsam elektrisch zu kontaktieren.
- Die Steckergehäuse 2 der Kontaktierungsleiste dienen mit ihren ersten elektrisch leitenden Kontaktelementen 5 zur gemeinsamen elektrischen Kontaktierung der elektrisch erregbaren Aggregate, beispielsweise der Brennstoffeinspritzventile 63. Zu diesem Zweck sind die ersten elektrisch leitenden Kontaktelemente 5 der Steckergehäuse 2 mit zweiten elektrisch leitenden Kontaktelementen 66 der Brennstoffeinspritzventile 63 durch Stecken elektrisch leitend verbunden. Durch die fertigungsbedingten Form- und Lagetoleranzen des Kontaktierungsleistengehäuses 1, der Steckergehäuse 2, des Brennstoffverteilerstücks 62 und der Brennstoffeinspritzventile 63 treten zwischen den ersten elektrisch leitenden Kontaktelementen 5 der Steckergehäuse 2 und den zweiten elektrisch leitenden Kontaktelementen 66 der Brennstoffeinspritzventile 63 Versätze auf, die beim Fügevorgang von Kontaktierungsleiste und Brennstoffverteilerstück 62 zu Beschädigungen der ersten und der zweiten elektrisch leitenden Kontaktelemente 5, 66 führen können. Um diese Versätze auszugleichen und Beschädigungen zu verhindern, sind die Steckergehäuse 2 gegenüber dem Kontaktierungsleistengehäuse 1 vor dem Fügevorgang frei bewegbar, was durch das radiale Spiel 50, 51, 52 und das axiale Spiel 60 sowie die Elastizität des Dämpfungselementes 55 ermöglicht wird.
- Durch den Fügevorgang von Kontaktierungsleiste und Brennstoffverteilerstück 62 wird das elastische Dämpfungselement 55 zwischen der Bodenstirnseite 33 des Kontaktierungsleistengehäuses 1 und der Steckerstirnseite 39 des jeweiligen Steckergehäuses 2 verspannt und elastisch verformt, so daß das Dämpfungselement 55 in Richtung der Steckerlängsachse 25 unter einer mechanischen Vorspannung steht. Das so zwischen dem Kontaktierungsleistengehäuse 1 und dem jeweiligen Steckergehäuse eingeklemmte elastische Dämpfungselement 55 wirkt einer durch den Betrieb der Brennkraftmaschine erzeugten Eigenbewegung der Steckergehäuse 2 gegenüber dem Kontaktierungsleistengehäuse 1 und den elektrisch erregbaren Aggregaten entgegen, indem sich das Dämpfungselement 55 elastisch verformt.
- Durch diese Dämpfung der Relativbewegungen zwischen den Steckergehäusen 2 und den elektrisch erregbaren Aggregaten wird der Verschleiß an den Kontaktstellen zwischen den ersten elektrisch leitenden Kontaktelementen 5 der Steckergehäuse 2 und den zweiten elektrisch leitenden Kontaktelementen 66 der elektrisch erregbaren Aggregate wesentlich reduziert.
- Bei dem dargestellten ersten Ausführungsbeispiel der Kontaktierungsleiste ist das Dämpfungselement 55 nach dem Fügevorgang von Kontaktierungsleiste und Brennstoffverteilerstück 62 zwischen dem Steckergehäuse 2 und der Bodenstirnseite 33 des Kontaktierungsleistengehäuses 1 derart verspannt und das Dämpfungselement so ausgebildet daß auch die durch Schwingungen der Brennkraftmaschine im Betrieb angeregten Bewegungen der ersten elektrisch leitenden Kontaktelemente 5 und der elektrischen Leiter 6 gedämpft werden. Zu diesem Zweck liegen die elastisch verformten Dämpfungselemente 55 unmittelbar mit dem Umfang von Durchstecköffnungen 58, die sie aufweisen, an den die Durchstecköffnungen 58 durchragenden ersten elektrisch leitenden Kontaktelementen 5 der Steckergehäuse 2 und den elektrischen Leitern 6 an. Die zusätzliche Bedämpfung wirkt sich ebenfalls vorteilhaft auf einen verringerten Verschleiß an den Kontaktstellen zwischen den ersten elektrisch leitenden Kontaktelementen 5 der Steckergehäuse 2 und den zweiten elektrisch leitenden Kontaktelementen 66 der elektrisch erregbaren Aggregate, beispielsweise der Brennstoffeinspritzventile 63 aus.
- Ein zweites erfindungsgemäßes Ausführungsbeispiel ist in der Figur 6 dargestellt. Gleiche und gleichwirkende Teile sind durch die gleichen Bezugszeichen gekennzeichnet wie in den Figuren 1 bis 5.
- Zwischen der Steckerstirnseite 39 des Steckergehäuses 2 und dem abgestuften Boden 30 des Kontaktierungsleistengehäuses 1 ist ein Dämpfungselement in Form einer Tellerfeder 81 angeordnet. Die Tellerfeder 81 weist einen radial nach innen zum Umfang der mittleren Erhebung 29 weisenden ebenen Bereich 82 und einen sich radial nach außen erstreckenden schrägen Federbereich 83 auf, der in axialer Richtung dem Steckergehäuse 2 zugewandt beispielsweise mit seinem äußeren Ende 84 an der Steckerstirnseite 39 des Steckergehäuses 2 anliegt. Es ist dabei auch möglich, daß die Tellerfeder 81 mit ihrem ebenen Bereich 82 an der Steckerstirnseite 39 des Steckergehäuses 2 anliegt oder daß die Tellerfeder 81 eine andere als die in der Figur 6 gezeigte Querschnittsform hat.
- In Richtung der Aufnahmelängsachse 27 ist zwischen der Bodenstirnseite 33 des Kontaktierungsleistengehäuses 1 und dem ebenen Bereich 82 der Tellerfeder 81 bzw. zwischen der Steckerstirnseite 39 des Steckergehäuses 2 und dem Umfang des Federbereiches 83 der Tellerfeder 81 ein axiales Spiel 60 vorhanden. Wie auch bei dem ersten erfindungsgemäßen Ausführungsbeispiel sind in radialer Richtung zwischen der abgestuften Durchgangsöffnung 26 des Steckergehäuses 2 in dem der Bodenstirnseite 33 zugewandten ersten Bereich 34 und dem Umfang der zylinderförmigen mittleren Erhebung 29 ein radiales Spiel 50, zwischen der lichten Weite des Halteabsatzes 35 und dem Mittelbereich 21 des Halteelementes 19 ein radiales Spiel 51 sowie zwischen dem Kopf 20 des Halteelementes 19 und dem den Kopf 20 umgebenden zweiten Bereich 36 der Durchgangsöffnung 26 ein radiales Spiel 52 vorhanden. Durch die radialen Spiele 50, 51, 52 und das axiale Spiel 60 sowie die Elastizität der als Dämpfungselement dienenden Tellerfeder 81 ist das Steckergehäuse 2 gegenüber dem Halteelement 19 und damit auch gegenüber dem Kontaktierungsleistengehäuse 1 sowohl in radialer bzw. horizontaler Richtung als auch senkrecht hierzu frei bewegbar, so daß beim Verbinden der Kontaktierungsleiste mit den elektrisch erregbaren Aggregaten durch Form- und Lagetoleranzen auftretende Versätze zwischen den ersten elektrisch leitenden Kontaktelementen 5 der Steckergehäuse 2 und den zweiten elektrisch leitenden Kontaktelementen 66 der elektrisch erregbaren Aggregate ausgeglichen und Beschädigungen vermieden werden.
- Nach dem Fügevorgang der Kontaktierungsleiste, beispielsweise an das Brennstoffverteilerstück 62, ist die Tellerfeder 81 durch die Anlage an Bodenstirnseite 33 und Steckerstirnseite 39 elastisch verformt und steht somit in axialer Richtung unter einer mechanischen Vorspannung. Die elastische Verformbarkeit der Tellerfeder 81 ermöglicht die wirkungsvolle Dämpfung der durch den Betrieb der Brennkraftmaschine erzeugten Eigenbewegungen des Steckergehäuses 2 gegenüber dem Kontaktierungsleistengehäuse 1 und den elektrisch erregbaren Aggregaten und damit die Reduzierung des Kontaktstellenverschleißes an den ersten elektrisch leitenden Kontaktelementen 5 der Steckergehäuse 2 und den zweiten elektrisch leitenden Kontaktelementen 66 der elektrisch erregbaren Aggregate.
- Die Figur 7 zeigt ein drittes erfindungsgemäßes Ausführungsbeispiel, bei dem gleiche und gleichwirkende Teile die gleichen Bezugszeichen aufweisen wie in den Figuren 1 bis 6.
- An dem Halteabsatz 35 des beispielsweise aus einem Kunststoff bestehenden Steckergehäuses 2 ist der mittleren Erhebung 29 des Kontaktierungsleistengehäuses 1 zugewandt ein tellerfederförmiges oder zungenförmiges Dämpfungselement 89 mit angespritzt, das sich in radialer Richtung nach innen zu der Steckerlängsachse 25 hin erstreckt und außen mit dem Halteabsatz 35 des Steckergehäuses 2 verbunden ist. In radialer Richtung nach innen ist das tellerfederförmige oder zungenförmige Dämpfungselement 89 in axialer Richtung der Stirnseite 32 der mittleren Erhebung 29 zugewandt geformt und liegt beispielsweise mit seinem inneren Ende 90 an der Stirnseite 32 an. Die lichte Weite des Dämpfungselementes 89 an seinem inneren Ende 90 weist dabei aber einen deutlich größeren Durchmesser auf als der Mittelbereich 21 des in der Sacklochbohrung 28 der mittleren Erhebung 29 befestigten Halteelementes 19. Das Dämpfungselement 89 kann als wenigstens zwei einzelne Zungen oder ringförmig wie eine Tellerfeder ausgebildet sein. Zwischen der Bodenstirnseite 33 des Kontaktierungsleistengehäuses 1 und der Steckerstirnseite 39 des Steckergehäuses 2 ist in Richtung der Steckerlängsachse 25 beispielsweise ein axiales Spiel 60 vorgesehen. Neben der in Richtung der Steckerlängsachse 25 aufgrund der Elastizität des Dämpfungselementes 89 in axialer Richtung und des axialen Spiels 60 freien Bewegbarkeit des Steckergehäuses 2 gegenüber dem Kontaktierungsleistengehäuse 1 in vertikaler Richtung erlaubt die Kontaktierungsleiste gemäß des dritten Ausführungsbeispiels auch eine freie Bewegbarkeit des Steckergehäuses 2 gegenüber den Kontaktierungsleistengehäuse 1 in horizontaler, d. h. senkrecht zu der Steckerlängsachse 25 bzw. der Aufnahmelängsachse 27 verlaufender Richtung. Zu diesem Zweck ist in radialer Richtung zwischen der abgestuften Durchgangsöffnung 26 des Steckergehäuses 2 in dem der Bodenstirnseite 33 des Kontaktierungsleistengehäuses 1 zugewandten ersten Bereich 34 und dem Umfang der zylinderförmigen mittleren Erhebung 29 ein radiales Spiel 50, zwischen der lichten Weite des Halteabsatzes 35 und dem Mittelbereich 21 des Halteelementes 19 ein radiales Spiel 51 sowie zwischen dem Kopf 20 des Halteelementes 19 und dem den Kopf 20 umgebenden zweiten Bereich 36 der Durchgangsöffnung 26 ein radiales Spiel 52 vorgesehen.
- So wird ein problemloser Fügevorgang mit einem Versatzausgleich zwischen der Kontaktierungsleiste und den elektrisch erregbaren Aggregaten ermöglicht. Das tellerfederförmige oder zungenförmige Dämpfungselement 89, das mit der Stirnseite 32 der mittleren Erhebung 29 zusammenwirkt und nach dem Fügevorgang in axialer Richtung elastisch verformt ist, dämpft durch seine elastische Verformbarkeit die durch den Betrieb der Brennkraftmaschine erzeugten Eigenbewegungen des jeweiligen Steckergehäuses 2 gegenüber dem Kontaktierungsleistengehäuse 1 insbesondere in Richtung der Steckerlängsachse 25 bzw. der Aufnahmelängsachse 27 und reduziert damit den Kontaktstellenverschleiß an den ersten elektrisch leitenden Kontaktelementen 5 der Steckergehäuse 2 und den zweiten elektrisch leitenden Kontaktelementen 66 der elektrisch erregbaren Aggregate.
- In Abweichung von dem dargestellten dritten Ausführungsbeispiel ist es aber auch möglich, das jeweilige Dämpfungselement 89 an der Stirnseite 32 der mittleren Erhebung 29 mit anzuformen und mit seinem freien Ende am Halteabsatz 35 angreifen zu lassen. Außerdem kann natürlich das Dämpfungselement 89 ebenfalls als aus elastischem Material geformtes Plättchen wie beim ersten Ausführungssbeispiel nach den Figuren 1 bis 6 oder als Tellerfeder wie beim zweiten Ausführungsbeispiel nach Figur 6 ausgebildet sein.
- Ein viertes erfindungsgemäßes Ausführungsbeispiel ist in der Figur 8 dargestellt, wobei gleiche und gleichwirkende Teile mit den gleichen Bezugszeichen gekennzeichnet sind wie in den Figuren 1 bis 7. Wie auch bei dem dritten Ausführungsbeispiel sind bei dem vierten Ausführungsbeispiel in Richtung der Steckerlängsachse 25 bzw. der Aufnahmelängsachse 27 ein axiales Spiel 60 zwischen dem jeweiligen Steckergehäuse 2 und der Bodenstirnseite 33 des Kontaktierungsleistengehäuses 1 und senkrecht dazu radiale Spiele 50, 51, 52 zwischen der abgestuften Durchgangsöffnung 26 des Steckergehäuses 2 und dem Umfang der zylinderförmigen mittleren Erhebung 29 bzw. dem Halteelement 19 vorgesehen. Zwischen einer ersten der mittleren Erhebung 29 zugewandten Anlagefläche 95 des Kopfes 20 des Halteelementes 19 und einer zweiten dem Kopf 20 zugewandten Anlagefläche 96 des Halteabsatzes 35 des Steckergehäuses 2 ist eine als Dämpfungselement dienende, beispielsweise metallene Tellerfeder 97 angeordnet. Mit ihrem äußeren Ende 98 liegt die Tellerfeder 81 beispielsweise an der zweiten Anlagefläche 96 des Halteabsatzes 35 mit Spiel gegenüber dem zweiten Bereich 26 sowie ihrem inneren Ende 90 den Mittelbereich 21 umgreifend an der ersten Anlagefläche 95 des Kopfes 20 an. Möglich ist es aber auch, daß die Tellerfeder 97 mit ihrem äußeren Ende 98 an der ersten Anlagefläche 95 des Kopfes 20 und mit ihrem inneren Ende 91 an der zweiten Anlagefläche 96 des Halteabsatzes 35 anliegt. Das Steckergehäuse 2 und der Boden 30 des Kontaktierungsleistengehäuses 1 sind so ausgebildet, daß nach dem Fügevorgang der Kontaktierungsleiste beispielsweise an ein Brennstoffverteilerstück 62 die Tellerfeder 97 in Richtung der Steckerlängsachse 25 elastisch verformt zwischen der ersten Anlagefläche 95 und der zweiten Anlagefläche 96 eingespannt ist. Durch die elastische Verformbarkeit der als Dämpfungselement dienenden Tellerfeder 97 werden die durch den Betrieb der Brennkraftmaschine erzeugten Eigenbewegungen des jeweiligen Steckergehäuses 2 gegenüber dem Kontaktierungsleistengehäuse 1 insbesondere in Richtung der Steckerlängsachse 25 bzw. der Aufnahmelängsachse 27 gedämpft und damit der Kontaktstellenverschleiß an den ersten elektrisch leitenden Kontaktelementen 5 der Steckergehäuse 2 und an den zweiten elektrisch leitenden Kontaktelementen 66 der elektrisch erregbaren Aggregate reduziert.
- Das Dämpfungselement 97 kann natürlich auch als aus elastischem Material geformtes Plättchen wie beim ersten Ausführungsbeispiel nach den Figuren 1 bis 6 oder als an dem Halteabsatz 35 entsprechend dem dritten Ausführungsbeispiel nach Figur 7 angeformtes tellerfederförmiges oder zungenförmiges Dämpfungselement ausgebildet sein.
- Die Figur 9 zeigt ein weiteres, fünftes erfindungsgemäßes Ausführungsbeispiel. Gleiche und gleichwirkende Teile sind mit den gleichen Bezugszeichen versehen wie in den Figuren 1 bis 8. In radialer Richtung sind - wie bei den anderen erfindungsgemäßen Ausführungsbeispielen auch - radiale Spiele 50, 51, 52 zwischen der abgestuften Durchgangsöffnung 26 des Steckergehäuses 2 und dem Umfang der zylinderförmigen mittleren Erhebung 29 des Kontaktierungsleistengehäuses 1 bzw. dem Halteelement 19 vorgesehen, um eine freie Bewegbarkeit des Steckergehäuses 2 gegenüber dem Kontaktierungsleistengehäuse 1 zu gewährleisten.
- An einem äußeren Rand 99 der Steckerstirnseite 39 des beispielsweise aus einem Kunststoff ausgebildeten Steckergehäuses 2 ist ein tellerfederförmiges oder zungenförmiges Dämpfungselement 100 z. B. an seinem inneren Ende 101 mitangespritzt. Das Dämpfungselement 100 kann als wenigstens zwei einzelne Zungen oder ringförmig wie eine Tellerfeder ausgebildet sein. Der schräge Federbereich 102 des tellerfederförmigen oder zungenförmigen Dämpfungselementes 100 erstreckt sich ausgehend von dem inneren Ende 101 zu seinem äußeren Ende 103 hin in axialer Richtung der Bodenstirnseite 33 des Kontaktierungsleistengehäuses 1 zugewandt. Zwischen dem äußeren Ende 103 des Dämpfungselementes 100 und der Bodenstirnseite 33 des Kontaktierungsleistengehäuses 1 ist ein axiales Spiel 60 vorgesehen, das eine freie Bewegbarkeit des jeweiligen Steckergehäuses 2 gegenüber dem Kontaktierungsleistengehäuses 1 gewährleistet. Dabei ist das axiale Spiel 60 so groß und das Steckergehäuse 2 bzw. der Boden 30 des Kontaktierungsleistengehäuses 1 so ausgebildet, daß nach dem Montagevorgang der elektrisch erregbaren Aggregate und der Kontaktierungsleiste das jeweilige Dämpfungselement 100, das an das Steckergehäuse 2 mitangeformt ist, an der Bodenstirnseite 33 des Kontaktierungsleistengehäuses 1 unmittelbar anliegt und elastisch leicht verformt ist. Führt das Steckergehäuse 2 durch den Betrieb der Brennkraftmaschine Eigenschwingungen aus, so werden diese Eigenschwingungen durch die Verformbarkeit des Dämpfungselementes 100 gedämpft und so der Kontaktstellenverschleiß zwischen den ersten elektrisch leitenden Kontaktelementen 5 der Steckergehäuse 2 und den zweiten elektrisch leitenden Kontaktelementen 66 der elektrisch erregbaren Aggregate reduziert.
- Es ist aber auch möglich, daß die jeweiligen tellerförmigen oder zungenförmigen Dämpfungselemente 100 an die Bodenstirnseite 33 des Kontaktierungsleistengehäuses 1 mit angespritzt sind und mit den entsprechenden Steckerstirnseiten 39 der Steckergehäuse 2 zusammenwirken.
Claims (11)
- Kontaktierungsleiste zur gemeinsamen elektrischen Kontaktierung mehrerer elektrisch erregbarer Aggregate von Brennkraftmaschinen, insbesondere Brennstoffeinspritzventile, mit einem Kontaktierungsleistengehäuse (1) und an dem Kontaktierungsleistengehäuse (1) angeordneten Steckergehäusen (2), die mit zweiten elektrisch leitenden Kontaktelementen je eines Aggregates durch Stecken verbindbar sind, dadurch gekennzeichnet, daß die Steckergehäuse (2) in Richtung ihrer Steckerlängsachsen (25) und senkrecht hierzu gegenüber dem Kontaktierungsleistengehäuse (1) schwimmend bewegbar sind und in ihnen erste elektrisch leitende Kontaktelemente (5) angeordnet sind und daß in Richtung der Steckerlängsachsen (25) zwischen den einzelnen Steckergehäusen (2) und dem Kontaktierungsleistengehäuse (1) jeweils ein Dämpfungselement (55; 81; 89; 97; 100) angeordnet ist.
- Kontaktierungsleiste nach Anspruch 1, dadurch gekennzeichnet, daß die Brennstoffeinspritzventile (63) in mit Abstand zueinander ausgebildeten Ventilaufnahmeöffnungen (65) eines Brennstoffverteilerstückes (62) angeordnet sind und jede Aufnahmeöffnung (65) je ein Brennstoffeinspritzventil (63) umschließend an beiden Enden offen ist und mit wenigstens einer Brennstoffleitung in Verbindung steht, die im Brennstoffverteilerstück (62) verläuft, mit dem die Kontaktierungsleiste derart verbunden ist, daß die Aufnahmeöffnungen (65) überdeckt und die Brennstoffeinspritzventile (63) darin gehalten werden.
- Kontaktierungsleiste nach einem der Ansprüche 1 oder 2, dadurch gekennzeichnet, daß zwischen einer den Steckergehäusen (2) zugewandten Bodenstirnseite (33) des Kontaktierungsleistengehäuses (1) und jeder der Bodenstirnseite (33) zugewandten Steckerstirnseite (39) der einzelnen Steckergehäuse (2) jeweils ein Dämpfungselement (55; 81; 100 ) angeordnet ist.
- Kontaktierungsleiste nach Anspruch 3, dadurch gekennzeichnet, daß an jeder der der Bodenstirnseite (33) des Kontaktierungsleistengehäuses (1) zugewandten Steckerstirnseiten (39) der einzelnen Steckergehäuse (2) ein zungenförmiges Dämpfungselement (100) angeformt ist.
- Kontaktierungsleiste nach Anspruch 3, dadurch gekennzeichnet, daß an jeder der der Bodenstirnseite (33) des Kontaktierungsleistengehäuses (1) zugewandten Steckerstirnseiten (39) der einzelnen Steckergehäuse (2) ein tellerförmiges Dämpfungselement (100) angeformt ist.
- Kontaktierungsleiste nach einem der Ansprüche 1 oder 2, dadurch gekennzeichnet, daß an dem Kontaktierungsleistengehäuse (1) eine der Zahl der Steckergehäuse (2) entsprechende Anzahl von mittleren Erhebungen (29) vorgesehen ist, die dem jeweiligen Steckergehäuse (2) zugewandt herausragen und die Steckergehäuse (2) eine konzentrisch zu der jeweiligen Steckerlängsachse (25) verlaufende abgestufte Durchgangsöffnung (26) haben, in denen jeweils ein eine verringerte lichte Weite aufweisender Halteabsatz (35) ausgebildet ist, wobei zwischen jedem Halteabsatz (35) und jeder mittleren Erhebung (29) ein Dämpfungselement (89) angeordnet ist.
- Kontaktierungsleiste nach Anspruch 6, dadurch gekennzeichnet, daß an jedem Halteabsatz (35) ein zungenförmiges Dämpfungselement (89) angeformt ist, das mit einer dem Halteabsatz (35) zugewandten Stirnseite (32) der mittleren Erhebung (29) zusammenwirkt.
- Kontaktierungsleiste nach Anspruch 6, dadurch gekennzeichnet, daß an jedem Halteabsatz (35) ein tellerförmiges Dämpfungselement (89) angeformt ist, das mit einer dem Halteabsatz (35) zugewandten Stirnseite (32) der mittleren Erhebung (29) zusammenwirkt.
- Kontaktierungsleiste nach Anspruch 1, dadurch gekennzeichnet, daß die Steckergehäuse (2) eine konzentrisch zu der jeweiligen Steckerlangsachse (25) verlaufende abgestufte Durchgangsöffnung (26) haben, in der jeweils ein eine verringerte lichte Weite aufweisender Halteabsatz (35) ausgebildet ist, und daß Halteelemente (19) vorgesehen sind, von denen jeweils eines zum Halten eines einzelnen Steckergehäuses (2) an dem Kontaktierungsleistengehäuse (1) dient und die jeweils einen Kopf (20), einen Mittelbereich (21) und eine Spitze (22) haben, mit welcher die Haltelemente (19) in einer Sacklochbohrung (28) einer mittleren Erhebung (29) des Kontaktierungsleistengehäuses (1) angeordnet sind und daß zwischen einer der mittleren Erhebung (29) zugewandten ersten Anlagefläche (95) des Kopfes (20) des Halteelementes (19) und einer dem Kopf (20) des Halteelementes (19) zugewandten zweiten Anlagefläche (96) des Halteabsatzes (35) ein Dämpfungselement (97) angeordnet ist.
- Kontaktierungsleiste nach einem der Ansprüche 1, 2, 6 oder 9, dadurch gekennzeichnet, daß das Dämpfungselement (55) aus einem elastischen Werkstoff ausgebildet ist.
- Kontaktierungsleiste nach einem der Ansprüche 1, 2, 3 oder 9, dadurch gekennzeichnet, daß das Dämpfungselement in Form einer Tellerfeder (81; 89; 97) ausgebildet ist.
Applications Claiming Priority (2)
| Application Number | Priority Date | Filing Date | Title |
|---|---|---|---|
| DE4030422 | 1990-09-26 | ||
| DE4030422A DE4030422A1 (de) | 1990-09-26 | 1990-09-26 | Kontaktierungsleiste zur gemeinsamen elektrischen kontaktierung mehrerer elektrisch erregbarer aggregate von brennkraftmaschinen |
Publications (2)
| Publication Number | Publication Date |
|---|---|
| EP0477520A1 EP0477520A1 (de) | 1992-04-01 |
| EP0477520B1 true EP0477520B1 (de) | 1993-11-03 |
Family
ID=6415007
Family Applications (1)
| Application Number | Title | Priority Date | Filing Date |
|---|---|---|---|
| EP91113545A Expired - Lifetime EP0477520B1 (de) | 1990-09-26 | 1991-08-13 | Kontaktierungsleiste zur gemeinsamen elektrischen Kontaktierung mehrerer elektrisch erregbarer Aggregate von Brennkraftmaschinen |
Country Status (5)
| Country | Link |
|---|---|
| US (1) | US5131857A (de) |
| EP (1) | EP0477520B1 (de) |
| JP (1) | JPH04279756A (de) |
| DE (2) | DE4030422A1 (de) |
| ES (1) | ES2046833T3 (de) |
Cited By (1)
| Publication number | Priority date | Publication date | Assignee | Title |
|---|---|---|---|---|
| US5613867A (en) * | 1994-08-23 | 1997-03-25 | The Whitaker Corporation | Electrical connector with anti-chattering interconnection means |
Families Citing this family (17)
| Publication number | Priority date | Publication date | Assignee | Title |
|---|---|---|---|---|
| DE4109653A1 (de) * | 1991-03-23 | 1992-09-24 | Bosch Gmbh Robert | Kontaktierungsleiste zur gemeinsamen elektrischen kontaktierung mehrerer elektrisch betaetigbarer brennstoffeinspritzventile |
| DE4206370A1 (de) * | 1991-05-17 | 1992-11-19 | Mann & Hummel Filter | Steuerleiste in kunststoffkompaktbauweise |
| DE4118512A1 (de) * | 1991-06-06 | 1992-12-10 | Bosch Gmbh Robert | Elektrisch betaetigbares brennstoffeinspritzventil und verfahren zu dessen elektrischer kontaktierung |
| DE4131537A1 (de) * | 1991-09-21 | 1993-04-01 | Bosch Gmbh Robert | Brennstoffverteiler |
| US5363825A (en) * | 1993-01-27 | 1994-11-15 | Volkswagen Ag | Fuel injection arrangement for an internal combustion engine having a plurality of electric fuel injection valves |
| US5471961A (en) * | 1993-09-02 | 1995-12-05 | Siemens Automotive L.P. | Electrical circuitry of a fuel rail assembly |
| DE4332118A1 (de) * | 1993-09-22 | 1995-03-23 | Bosch Gmbh Robert | Brennstoffeinspritzvorrichtung |
| US5607315A (en) * | 1995-03-02 | 1997-03-04 | Siemens Automotive Corporation | Connector for injector retention and electrical connection to a fuel rail |
| US5568798A (en) * | 1995-06-08 | 1996-10-29 | Siemens Automotive Corporation | Plastic fuel rail having integrated electrical wiring |
| US5526225A (en) * | 1995-06-29 | 1996-06-11 | Wang; Ming-Shan | Receptacle with lamp switch and breaker means |
| US5531202A (en) * | 1995-07-18 | 1996-07-02 | Siemens Automotive Corporation | Fuel rail assembly having internal electrical connectors |
| US5616037A (en) * | 1995-08-04 | 1997-04-01 | Siemens Automotive Corporation | Fuel rail with combined electrical connector and fuel injector retainer |
| DE19734971A1 (de) * | 1997-08-13 | 1999-02-18 | Volkswagen Ag | Verkabelungsmodul |
| US5927614A (en) * | 1997-08-22 | 1999-07-27 | Touvelle; Matthew S. | Modular control valve for a fuel injector having magnetic isolation features |
| DE19739502C1 (de) * | 1997-09-09 | 1998-12-10 | Siemens Ag | Elektrische Anschlußeinheit |
| US6053148A (en) * | 1998-02-21 | 2000-04-25 | Ford Motor Company | Intake manifold for an internal combustion engine |
| US7358625B2 (en) * | 2004-12-14 | 2008-04-15 | Woods Industries, Inc. | Power strip with 12 volt outlet |
Citations (1)
| Publication number | Priority date | Publication date | Assignee | Title |
|---|---|---|---|---|
| WO1991012425A1 (de) * | 1990-02-09 | 1991-08-22 | Robert Bosch Gmbh | Kontaktierungsleiste zur gemeinsamen elektrischen kontaktierung mehrerer elektrisch erregbarer aggregate von brennkraftmaschinen |
Family Cites Families (6)
| Publication number | Priority date | Publication date | Assignee | Title |
|---|---|---|---|---|
| US4857003A (en) * | 1987-02-06 | 1989-08-15 | Robert Bosch Gmbh | Apparatus for electrical connection of electromagnetically actuatable fuel injection valves |
| DE3730571C2 (de) * | 1987-09-11 | 1998-07-02 | Bosch Gmbh Robert | Vorrichtung zur Halterung, Kraftstoffversorgung und elektrischen Kontaktierung von elektromagnetisch betätigbaren Kraftstoffeinspritzventilen |
| DE8903551U1 (de) * | 1989-03-21 | 1990-07-26 | Grote & Hartmann Gmbh & Co Kg, 5600 Wuppertal | Kontaktierungsleiste für elektromagnetisch betätigbare Kraftstoffeinspritzventile |
| US4950171A (en) * | 1989-08-11 | 1990-08-21 | Itt Corporation | Fuel injector connector system |
| US5030116A (en) * | 1989-09-04 | 1991-07-09 | Sumitomo Wiring System, Ltd. | Connector block for injectors for internal combustion engine and junction terminal for use with the same connector block |
| US5044338A (en) * | 1990-01-23 | 1991-09-03 | Siemens Automotive L.P. | Fuel rail vibration damper |
-
1990
- 1990-09-26 DE DE4030422A patent/DE4030422A1/de not_active Withdrawn
-
1991
- 1991-08-13 EP EP91113545A patent/EP0477520B1/de not_active Expired - Lifetime
- 1991-08-13 ES ES199191113545T patent/ES2046833T3/es not_active Expired - Lifetime
- 1991-08-13 DE DE91113545T patent/DE59100556D1/de not_active Expired - Fee Related
- 1991-09-16 US US07/760,664 patent/US5131857A/en not_active Expired - Fee Related
- 1991-09-18 JP JP3237649A patent/JPH04279756A/ja active Pending
Patent Citations (1)
| Publication number | Priority date | Publication date | Assignee | Title |
|---|---|---|---|---|
| WO1991012425A1 (de) * | 1990-02-09 | 1991-08-22 | Robert Bosch Gmbh | Kontaktierungsleiste zur gemeinsamen elektrischen kontaktierung mehrerer elektrisch erregbarer aggregate von brennkraftmaschinen |
Cited By (1)
| Publication number | Priority date | Publication date | Assignee | Title |
|---|---|---|---|---|
| US5613867A (en) * | 1994-08-23 | 1997-03-25 | The Whitaker Corporation | Electrical connector with anti-chattering interconnection means |
Also Published As
| Publication number | Publication date |
|---|---|
| JPH04279756A (ja) | 1992-10-05 |
| EP0477520A1 (de) | 1992-04-01 |
| DE4030422A1 (de) | 1992-04-02 |
| DE59100556D1 (de) | 1993-12-09 |
| US5131857A (en) | 1992-07-21 |
| ES2046833T3 (es) | 1994-02-01 |
Similar Documents
| Publication | Publication Date | Title |
|---|---|---|
| EP0477520B1 (de) | Kontaktierungsleiste zur gemeinsamen elektrischen Kontaktierung mehrerer elektrisch erregbarer Aggregate von Brennkraftmaschinen | |
| DE69103553T2 (de) | Zündspule für Verbrennungsmotor. | |
| EP0278229B1 (de) | Vorrichtung zur elektrischen Kontaktierung von elektromagnetisch betätigbaren Kraftstoffeinspritzventilen | |
| EP1485607B1 (de) | Dichtungselement für den piezoaktor eines kraftstoff-einspritzventils | |
| DE102004021117A1 (de) | Kraftstoffeinspritzvorrichtung | |
| EP0479959A1 (de) | Kontaktierungsleiste zur gemeinsamen elektrischen kontaktierung mehrerer elektrisch erregbarer aggregate von brennkraftmaschinen | |
| DE10321492A1 (de) | Verbinder mit hervorragender Luftdichtigkeit und AGR-Sensor mit einem solchen Verbinder | |
| EP0469099B1 (de) | Kontaktierungsleiste zur gemeinsamen elektrischen Kontaktierung mehrerer elektromagnetisch betätigbarer Brennstoffeinspritzventile | |
| EP1573861B1 (de) | Elektrische steckverbindung, insbesondere für ein fahrzeug mit einer schiebetür | |
| EP1673817B1 (de) | Aufnahmehülse für einen piezoaktor | |
| DE202019104173U1 (de) | Vorrichtung zum Befestigen eines ersten Bauteils an einem zweiten Bauteil | |
| EP0715073B1 (de) | Einzelspulenzündsystem zum Anordnen im Zylinderkopf einer Brennkraftmaschine | |
| DE102004053491B3 (de) | Vorrichtung zur elektrischen Verbindung von Kontaktstiften mit Anschlussstiften eines von der Vorrichtung ausgebildeten Steckverbinders | |
| EP1630408B1 (de) | Kraftstoffinjektor für eine Brennkraftmaschine sowie Verfahren zur Montage eines derartigen Kraftstoffinjektors | |
| EP1673534B1 (de) | Aufnahmehülse für einen aktorkörper | |
| DE4008117C2 (de) | ||
| DE3725980C2 (de) | Vorrichtung zur elektrischen Kontaktierung von elektromagnetisch betätigbaren Kraftstoffeinspritzventilen | |
| EP1672212B1 (de) | Kraftstoffinjektor für eine Brennkraftmaschine | |
| DE102023121058A1 (de) | Modulverbinder mit innenliegender Isolierhülse für ein Batteriemodul, Modulpolanschluss und Verbindungsanordnung | |
| WO2005036663A2 (de) | Aufnahmehülse für einen piezoaktor | |
| DE8915736U1 (de) | Elektrische Kontaktvorrichtung | |
| DE9107708U1 (de) | Zündkerze zum Zünden von Kraftstoff-Luft-Gemischen | |
| WO2006058901A1 (de) | Kraftstoffinjektor für eine brennkraftmaschine | |
| EP0893855A2 (de) | Kabelanschluss an einem elektromechanischem Bauelement | |
| EP1598910A1 (de) | Verbindungselement zur Verbindung einer Zündkerze und einer Zündspule |
Legal Events
| Date | Code | Title | Description |
|---|---|---|---|
| PUAI | Public reference made under article 153(3) epc to a published international application that has entered the european phase |
Free format text: ORIGINAL CODE: 0009012 |
|
| AK | Designated contracting states |
Kind code of ref document: A1 Designated state(s): DE ES FR GB IT |
|
| 17P | Request for examination filed |
Effective date: 19920904 |
|
| 17Q | First examination report despatched |
Effective date: 19921120 |
|
| GRAA | (expected) grant |
Free format text: ORIGINAL CODE: 0009210 |
|
| AK | Designated contracting states |
Kind code of ref document: B1 Designated state(s): DE ES FR GB IT |
|
| ET | Fr: translation filed | ||
| REF | Corresponds to: |
Ref document number: 59100556 Country of ref document: DE Date of ref document: 19931209 |
|
| GBT | Gb: translation of ep patent filed (gb section 77(6)(a)/1977) |
Effective date: 19931111 |
|
| ITF | It: translation for a ep patent filed | ||
| REG | Reference to a national code |
Ref country code: ES Ref legal event code: FG2A Ref document number: 2046833 Country of ref document: ES Kind code of ref document: T3 |
|
| PLBE | No opposition filed within time limit |
Free format text: ORIGINAL CODE: 0009261 |
|
| STAA | Information on the status of an ep patent application or granted ep patent |
Free format text: STATUS: NO OPPOSITION FILED WITHIN TIME LIMIT |
|
| 26N | No opposition filed | ||
| ITPR | It: changes in ownership of a european patent |
Owner name: OFF.TA DI LICENZA AL PUBBLICO OFFERTA DI LICENZA |
|
| REG | Reference to a national code |
Ref country code: FR Ref legal event code: D6 |
|
| REG | Reference to a national code |
Ref country code: GB Ref legal event code: 746 Effective date: 19950612 |
|
| PGFP | Annual fee paid to national office [announced via postgrant information from national office to epo] |
Ref country code: GB Payment date: 19970725 Year of fee payment: 7 |
|
| PGFP | Annual fee paid to national office [announced via postgrant information from national office to epo] |
Ref country code: FR Payment date: 19970820 Year of fee payment: 7 |
|
| PGFP | Annual fee paid to national office [announced via postgrant information from national office to epo] |
Ref country code: ES Payment date: 19970828 Year of fee payment: 7 |
|
| PGFP | Annual fee paid to national office [announced via postgrant information from national office to epo] |
Ref country code: DE Payment date: 19971024 Year of fee payment: 7 |
|
| PG25 | Lapsed in a contracting state [announced via postgrant information from national office to epo] |
Ref country code: GB Free format text: LAPSE BECAUSE OF NON-PAYMENT OF DUE FEES Effective date: 19980813 |
|
| PG25 | Lapsed in a contracting state [announced via postgrant information from national office to epo] |
Ref country code: ES Free format text: LAPSE BECAUSE OF THE APPLICANT RENOUNCES Effective date: 19980814 |
|
| GBPC | Gb: european patent ceased through non-payment of renewal fee |
Effective date: 19980813 |
|
| PG25 | Lapsed in a contracting state [announced via postgrant information from national office to epo] |
Ref country code: FR Free format text: LAPSE BECAUSE OF NON-PAYMENT OF DUE FEES Effective date: 19990430 |
|
| PG25 | Lapsed in a contracting state [announced via postgrant information from national office to epo] |
Ref country code: DE Free format text: LAPSE BECAUSE OF NON-PAYMENT OF DUE FEES Effective date: 19990601 |
|
| REG | Reference to a national code |
Ref country code: FR Ref legal event code: ST |
|
| REG | Reference to a national code |
Ref country code: ES Ref legal event code: FD2A Effective date: 20001009 |
|
| PG25 | Lapsed in a contracting state [announced via postgrant information from national office to epo] |
Ref country code: IT Free format text: LAPSE BECAUSE OF NON-PAYMENT OF DUE FEES;WARNING: LAPSES OF ITALIAN PATENTS WITH EFFECTIVE DATE BEFORE 2007 MAY HAVE OCCURRED AT ANY TIME BEFORE 2007. THE CORRECT EFFECTIVE DATE MAY BE DIFFERENT FROM THE ONE RECORDED. Effective date: 20050813 |