EP0436795A2 - Türgriffverbindung - Google Patents

Türgriffverbindung Download PDF

Info

Publication number
EP0436795A2
EP0436795A2 EP90121396A EP90121396A EP0436795A2 EP 0436795 A2 EP0436795 A2 EP 0436795A2 EP 90121396 A EP90121396 A EP 90121396A EP 90121396 A EP90121396 A EP 90121396A EP 0436795 A2 EP0436795 A2 EP 0436795A2
Authority
EP
European Patent Office
Prior art keywords
leaf spring
connection according
blind hole
groove
longitudinal
Prior art date
Legal status (The legal status is an assumption and is not a legal conclusion. Google has not performed a legal analysis and makes no representation as to the accuracy of the status listed.)
Granted
Application number
EP90121396A
Other languages
English (en)
French (fr)
Other versions
EP0436795A3 (en
EP0436795B1 (de
Inventor
Herbert Hoppe
Current Assignee (The listed assignees may be inaccurate. Google has not performed a legal analysis and makes no representation or warranty as to the accuracy of the list.)
Hoppe Holding AG
Hoppe and Co GmbH KG
Original Assignee
Hoppe Holding AG
Hoppe and Co GmbH KG
Priority date (The priority date is an assumption and is not a legal conclusion. Google has not performed a legal analysis and makes no representation as to the accuracy of the date listed.)
Filing date
Publication date
Application filed by Hoppe Holding AG, Hoppe and Co GmbH KG filed Critical Hoppe Holding AG
Priority to AT90121396T priority Critical patent/ATE101228T1/de
Publication of EP0436795A2 publication Critical patent/EP0436795A2/de
Publication of EP0436795A3 publication Critical patent/EP0436795A3/de
Application granted granted Critical
Publication of EP0436795B1 publication Critical patent/EP0436795B1/de
Anticipated expiration legal-status Critical
Expired - Lifetime legal-status Critical Current

Links

Images

Classifications

    • EFIXED CONSTRUCTIONS
    • E05LOCKS; KEYS; WINDOW OR DOOR FITTINGS; SAFES
    • E05BLOCKS; ACCESSORIES THEREFOR; HANDCUFFS
    • E05B3/00Fastening knobs or handles to lock or latch parts
    • E05B3/02Fastening knobs or handles to the spindle by pinning or riveting

Definitions

  • the invention relates to a door handle connection according to the preamble of claim 1.
  • Door handles are usually connected to each other by means of a square pin that passes through the lock nut.
  • a square pin that passes through the lock nut.
  • the bolt latch moves back and forth due to the rotation of the lock nut.
  • the square pin must be anchored on both sides in the interior of the handle necks, in accordance with the respective door thickness, in such a way that they sit axially immovably, but are rotatable in their storage.
  • an expansion extension extends over the entire length of the two-part connecting pin, in the form of collar edges above longitudinal grooves of the same square halves.
  • the grub screw engages this; when screwing it in, it is pressed in between with an onion-shaped thickening, so that the square halves wedge in the blind hole of each handle neck and in the lock nut.
  • the penetrated tip of the threaded pin is supported in the cavity between the opposing longitudinal grooves on displaced material of the collar edges.
  • a full-profile pin described in DE-GM 88 11 672 has at least one longitudinal slot with grooves which serve as a receiving channel for a plastic core to hold a screw tip, which is also thickened, in tough material. But this can age and become brittle; the screwed onion tip can work in the softer and more flexible material, so that a permanent axial fastening is not always guaranteed.
  • An important aim of the invention is to provide an improved door handle connection with a solid square pin that can be manufactured inexpensively and can be installed continuously.
  • a wide range of door thicknesses and the reusability after repeated disassembly should be made possible by means that are simplified compared to conventional devices.
  • the connecting pin binding pin has a continuous longitudinal groove on one side surface and a blind hole at each end for receiving the angled ends of the leaf spring. This is easily fixed to the square pin with or without pretension. Its longitudinal groove facilitates the penetration of the fastening screw, which is thereby also fixed in a predetermined position.
  • This attachment receives a special tension when penetrating the leaf spring, the corrugated area holds the pin in the lock nut, so that it can not "wander". Manufacturing and assembly are very simple and correspondingly inexpensive.
  • the longitudinal groove is V-shaped in cross section, wherein according to claim 3, the groove walls can assume a wedge angle to each other that is at least almost the same as the opening angle of a conical tip of the fastening screw.
  • the cone tip When screwing in, the cone tip is therefore guided so that it penetrates the square of the groove, penetrating the bottom of the groove. Displaced material supports the cone tip on the side, which gives it even better grip.
  • the blind hole diameter is substantially equal to the width of a shallow groove that receives the leaf spring and has a shallow depth.
  • shoulders are present on or next to each blind hole for supporting the leaf spring. This can have a uniform width throughout and is fixed with its angled ends without displacement and securely to the square pin.
  • An advantageous embodiment consists in that the leaf spring has a longitudinal slot towards its angled ends, which greatly facilitates the penetration of the fastening screw tip.
  • the width of the longitudinal slot is expediently smaller than a thickening of the fastening screw, so that it presses with its bead into the longitudinal slot or through it.
  • the longitudinal slots and the longitudinal groove are aligned, in particular in the middle.
  • Such a symmetrical structure best takes into account the general assembly conditions.
  • the longitudinal slots are slightly offset with respect to the longitudinal groove in order to achieve or support an additional lateral clamping.
  • the fastening screw can be a grub screw with an onion-shaped cone tip, as known from DE-GM 86 05 427.
  • This training is recommended for fastening metallic components.
  • a self-tapping screw is advantageously used, the lower thread edge of which secures the desired fastening by cutting into the leaf spring and into the square pin.
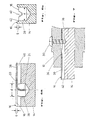
  • Fig. 1 shows an example of a door handle connection with two door handles 10 and 10 ', which are connected to their handle necks 12 and 12' by means of a square connecting pin 14.
  • a fastening screw 30 is screwed into a radial threaded hole 32 of each handle neck 12 or 12 ', which can be provided with a cone tip 34 as well as a thickening or a bead 36 and an internal hexagon 44 (FIG. 4b).
  • a leaf spring 20 is arranged on a side surface 16 of the square pin 14, for which different embodiments come into consideration.
  • 2a and 2b show a leaf spring 20 with a central corrugation area 22 and angled ends 24, 24 '. Towards these ends, longitudinal slots 26, 26 'are preferably provided which are missing in the embodiment of FIGS. 3 and 3b.
  • the leaf spring 20 shown there has basically the same structure, but without openings.
  • the cone tip 34 of the fastening screw 30 has a certain cone opening angle ⁇ . This is preferably slightly smaller than a wedge angle of the longitudinal groove 40, which extends over the entire length of the connecting pin 14. If the screw 30 is now screwed into the radial threaded hole 32 of the handle neck 12, the conical tip 34 and then also the thickening 36 first penetrates the leaf spring 20, which can have a suitable longitudinal slot 26 (FIG. 5b). In the longitudinal groove 40, the cone tip 34 is guided centrally into the groove base (FIG. 5a), into which it is pressed when it is screwed in further (FIG. 5b).
  • FIGS. 6a and 6b show that the square pin 14 has a flat groove 18 on one side surface 16 in order to receive the leaf spring 20 (FIGS. 2a, 2b and 3a, 3b).
  • the angled end 24 (or 24 ') engages in an associated blind hole 28 (or 28') near the ends of the connecting pin 14.
  • the depth t of the flat groove 18 is dimensioned such that the material thickness of the leaf spring 20 is accommodated therein.
  • Their width b is essentially as large as that Diameter d of the blind hole 28 (FIG. 6b), but shoulders 42 at which the inserted leaf spring 20 is supported can be present at the blind hole entrance with a slightly larger width.
  • FIG. 7 A modified embodiment is shown in FIG. 7, wherein a handle neck 12 made of plastic is penetrated by a fastening screw 30, which is designed as a self-tapping screw and with the lower thread edge penetrates the leaf spring 20 in the region of the longitudinal slot 26.
  • the end of the screw shaft 38 is pressed into the base of the longitudinal groove 40 with the fastening screw 30 fully screwed in, so that the square pin 14 is fixed axially.
  • the longitudinal groove 40 can also deviate from the drawn contour, but preferably with adaptation to the shape of the press-in tip of the fastening screw 30. If this has a thickening or a bulge 26, this can also have another shape, for example with at least one an undercut.
  • the invention further contemplates slightly displacing the longitudinal slots 26, 26 'and the center of the longitudinal groove 40 in order to achieve an additional wedge effect.
  • the diameter d of the blind holes 28, 28 'in the square pin 14 can also be smaller, but expediently in such a dimension that the possibly narrowed ends 24, 24' of the leaf spring 20 are held in a snug or press fit.
  • the corrugation 22 of the leaf spring 20 is preferably chosen so that the latter is held with a slight preload between the one side surface 16 and the square holes of the handle necks 12, 12 'or the lock nut.

Landscapes

  • Engineering & Computer Science (AREA)
  • Mechanical Engineering (AREA)
  • Lock And Its Accessories (AREA)
  • Connection Of Plates (AREA)
  • Walking Sticks, Umbrellas, And Fans (AREA)
  • Dry Shavers And Clippers (AREA)
  • Pivots And Pivotal Connections (AREA)
  • Casings For Electric Apparatus (AREA)

Abstract

Zur Verbindung zweier Türgriffe (10, 10'), deren Griffhals (12, 12') jeweils ein Sackloch zur formschlüssigen Aufnahme eines Vierkantstiftes (14) hat, an dessen einer Seitenfläche (16) eine schwach gewellte Blattfeder (20) großenteils anliegt, wird diese samt dem Vierkantstift (14) an zumindest einem Griff mit einer bevorzugt selbstschneidenden Schraube (30) festgelegt. Die abgewinkelten Enden (24, 24') der in einer durchgehenden Längsnut (40) sitzenden Blattfeder (20) rasten in endseitigen Sacklöchern (28, 28'). Die Nutenwände nehmen zueinander einen Keilwinkel (α) ein, der dem Öffnungswinkel (β) der Konusspitze (34) einer zwiebelförmig verdickten Schraube (30) zumindest nahekommt. Schultern (42) an oder neben jedem Sackloch (28, 28') stützen die Blattfeder (20) ab, die zu den Enden hin jeweils einen Längsschlitz (26, 26') aufweist, der schmaler ist als die Schrauben-Verdickung (36). Längsschlitze (26, 26') und Längsnut (40) fluchten miteinander insbesondere mittig in der Blattfeder (20) bzw. an der einen Vierkantstift-Seitenfläche (16). Die Materialstärke der Blattfeder (20) entspricht der Tiefe (t) einer Flachnut (18), deren Breite (b) wenigstens gleich dem Sackloch-Durchmesser (d) ist.

Description

  • Die Erfindung betrifft eine Türgriffverbindung gemäß dem Oberbegriff von Anspruch 1.
  • Türgriffe werden üblicherweise miteinander mittels eines Vierkantstifts verbunden, der die Schloßnuß durchsetzt. Durch formschlüssige Mitnahme ist gewährleistet, daß bei Betätigung des einen der Griffe sich der andere zwangsläufig ebenso bewegt. Zugleich fährt die Riegelfalle wegen der Drehung der Schloßnuß vor bzw. zurück. Dazu muß der Vierkantstift unter Anpassung an die jeweilige Türstärke im Inneren der Griffhälse beiderseits so verankert sein, daß diese axial unverrückbar sitzen, jedoch in ihrer Lagerung drehbar sind.
  • Unter älteren Vorschlägen ist ein zweiteiliger Verbindungsstift gemäß den DE-GM 19 27 916 und 19 37 220, der an einem Ende jeder Stifthälfte breitere Kerben mit Keilflächen hat, die sich in zwei Richtungen verengen und zwischen die eine in den betreffenden Griffhals radial eingedrehte kegelige Spreizschraube greift. Gelegentlich ist aber die Einsitztiefe der Spreizschraube, meist eines Innensechskant-Gewindestiftes, zu groß oder zu klein. Nachteilig ist auch ein erhöhter Fertigungsaufwand, weil für jeden Vierkantstift eine linke und eine rechte Hälfte benötigt werden; Produktion und Lagerhaltung werden dadurch doppelt belastet.
  • Bei einer Türgriffverbindung nach DE-GM 86 05 427 erstreckt sich ein Spreizansatz über die ganze Länge des zweiteiligen Verbindungsstiftes, und zwar in Form von Kragenkanten oberhalb von Längsnuten der gleichartigen Vierkanthälften. An diesen greift der Gewindestift an; beim Einschrauben wird er mit einer zwiebelförmigen Verdickung dazwischengepreßt, so daß die Vierkanthälften sich im Sackloch jedes Griffhalses sowie in der Schloßnuß verkeilen. Die eingedrungene Spitze des Gewindestiftes stützt sich in dem Hohlraum zwischen den sich gegenüberliegenden Längsnuten an verdrängtem Material der Kragenkanten ab. Produktion und Lagerhaltung sind bei derartigen Vierkanthälften stark vereinfacht. Letztere können sich jedoch bei starker Beanspruchung gegeneinander etwas verschieben und dann auftretende Torsionen nicht voll übertragen.
  • Ein in dem DE-GM 88 11 672 beschriebener Vollprofilstift hat an zumindest einem Ende einen Längsschlitz mit Auskehlungen, die als Aufnahmekanal für eine Kunststoffseele dienen, um eine ebenfalls zwiebelförmig verdickte Schraubspitze in zähem Material zu halten. Dieses kann aber altern und spröde werden; auch kann die eingeschraubte Zwiebelspitze in dem weicheren und nachgiebigen Material arbeiten, so daß eine dauerhafte Axialbefestigung nicht immer gewährleistet ist.
  • Bei anderen Beschlagverbindungen ist es ungünstig, daß wiederum verschiedene Einzelteile mit aufeinander abgestimmten Toleranzen gefertigung und montiert werden müssen. Die Befestigung ist im Endergebnis dennoch oft unvollkommen; vielfach ist bloß eine stufenweise Axialverstellung, also keine optimale Anpassung an die jeweiligen Abmessungen der Tür möglich. Zu solchen Verbindungen zählt eine Konstruktion gemäß DE-GM 74 26 526, wobei ein einteiliger, d.h. massiver Vierkantstift an den Stirnflächen je eine Vertiefung hat, in welche eine schwach gewellte Blattfeder mit zurückgebogenen Enden greift. Sie liegt großenteils an einer Seitenfläche des Vierkants auf, deren eines Ende eine geriffelte Schräge aufweist. Eine in diesem Bereich eingedrehte kegelige Schraube trifft mit ihrer Spitze auf die Blattfeder, durchdrückt letztere bei weiterem Eindrehen und soll dann in die Riffelung eingreifen. Das ist grundsätzlich nur mit der Toleranz des Rillenabstandes möglich, weshalb die Axialeinstellung durch das gegebene Stufenmaß unsicher und mehr oder weniger wackelig ist.
  • Ein wichtiges Ziel der Erfindung ist die Schaffung einer verbesserten Türgriffverbindung mit einem massiven Vierkantstift, der sich kostengünstig herstellen und stufenlos montieren läßt. Außerdem soll ein weiter Türstärkenbereich sowie die Wiederverwendbarkeit nach wiederholter Demontage mit Mitteln ermöglicht werden, die gegenüber herkömmlichen Vorrichtungen vereinfacht sind.
  • Hauptmerkmale der Erfindung sind im kennzeichnenden Teil von Anspruch 1 angegeben. Weiterbildungen sind Gegenstand der Ansprüche 2 bis 10.
  • Nach der Erfindung hat der Verbindungsstiftbindungsstift an der einen Seitenfläche eine durchgehende Längsnut und endseitig je ein Sackloch zur Aufnahme der abgewinkelten Enden der Blattfeder. Diese ist dadurch in einfacher Weise mit oder ohne Vorspannung an dem Vierkantstift festgelegt. Dessen Längsnut erleichtert das Eindringen der Befestigungsschraube, die dadurch zugleich auch in vorgegebener Lage fixiert wird. Diese Befestigung erhält eine besondere Spannung beim Durchdringen der Blattfeder, deren Wellbereich den Stift in der Schloßnuß festhält, so daß er nicht "wandern" kann. Fertigung und Montage sind sehr einfach und entsprechend kostengünstig.
  • Gemäß Anspruch 2 ist die Längsnut im Querschnitt V-förmig, wobei laut Anspruch 3 die Nutenwände zueinander einen Keilwinkel einnehmen können, der dem Öffnungswinkel einer Konusspitze der Befestigungsschraube zumindest beinahe gleichkommt. Beim Einschrauben wird die Konusspitze daher so geführt, daß sie den Nutengrund durchsetzend in den Vierkantstift quer eindringt. Dabei verdrängtes Material stützt die Konusspitze seitlich ab, wodurch sie noch besseren Halt bekommt.
  • Zur Befestigung der Blattfeder ist es vorteilhaft, wenn der Sackloch-Durchmesser im wesentlich gleich der Breite einer die Blattfeder aufnehmenden Flachnut geringer Tiefe ist. Dabei können laut Anspruch 5 an oder neben jedem Sackloch Schultern zur Abstützung der Blattfeder vorhanden sein. Diese kann durchgehend einheitliche Breite haben und ist mit ihren abgewinkelten Enden verschiebungsfrei und sicher an dem Vierkantstift festgelegt.
  • Eine vorteilhafte Ausgestaltung besteht gemäß Anspruch 6 darin, daß die Blattfeder zu ihren abgewinkelten Enden hin jeweils einen Längsschlitz aufweist, der das Eindringen der Befestigungsschraubenspitze stark erleichtert. Zweckmäßig ist dabei die Breite des Längsschlitzes nach Anspruch 7 kleiner als eine Verdickung der Befestigungsschraube, so daß diese sich mit ihrem Wulst in den Längsschlitz hinein bzw. durch ihn hindurch preßt.
  • Für eine besonders stabile Befestigung ist es ferner vorteilhaft, wenn gemäß Anspruch 8 die Längsschlitze und die Längsnut miteinander fluchtend, insbedsondere mittig angeordnet sind. Ein solcher symmetrischer Aufbau trägt am ehesten den allgemeinen Montage-Gegebenheiten Rechnung. Es ist aber auch möglich und erfindungsgemäß vorgesehen, daß die Längsschlitze in bezug auf die Längsnut etwas versetzt sind, um eine zusätzliche seitliche Klemmung zu erreichen bzw. zu unterstützen.
  • Laut Anspruch 9 kann die Befestigungsschraube ein Gewindestift mit zwiebelförmiger Konusspitze sein, wie aus dem DE-GM 86 05 427 an sich bekannt. Diese Ausbildung empfiehlt sich zur Befestigung metallischer Bauteile. Sind jedoch die Griffe oder zumindest ihr Griffhals aus Kunststoff, so wird vorteilhaft gemäß Anspruch 10 eine Selbstschneidschraube benutzt, deren untere Gewindekante durch Einschneiden in die Blattfeder und in den Vierkantstift die gewünschte Befestigung sichert.
  • Weitere Merkmale, Einzelheiten und Vorteile der Erfindung ergeben sich aus dem Wortlaut der Ansprüche sowie aus der folgenden Beschreibung von Ausführungsbeispielen anhand der Zeichnung. Darin zeigen:
  • Fig. 1
    eine Draufsicht, teilweise im Schnitt, auf eine erfindungsgemäße Türgriffverbindung,
    Fig. 2a
    eine Draufsicht und
    Fig. 2b
    eine Seitenansicht einer gewellten Blattfeder mit endseitigen Längsschlitzen,
    Fig. 3a
    eine Draufsicht und
    Fig. 3b
    eine Seitenansicht einer ungeschlitzten Blattfeder,
    Fig. 4a
    eine Draufsicht und
    Fig. 4b
    eine Seitenansicht eines Gewindestiftes mit verdickter Konusspitze,
    Fig. 5a
    einen vergrößerten Querschnitt durch einen Griffhals mit befestigtem Verbindungsstift,
    Fig. 5b
    eine Axialschnittansicht eines Griffhalses mit in den Verbindungsstift eingedrungener Befestigungsschraubspitze,
    Fig. 6a
    eine vergrößerte Schnittansicht des Endes eines Verbindungsstiftes mit eingesetztem Blattfeder-Ende,
    Fig. 6b
    eine Querschnittsansicht durch ein Sackloch des Verbindungsstiftes von Fig. 6a und
    Fig. 7
    eine Axialschnittansicht einer abgewandelten Ausführungsform einer Türgriffverbindung mit einer Selbstschneidschraube.
  • Fig. 1 zeigt beispielhaft eine Türgriffverbindung mit zwei Türgriffen 10 und 10', die an ihren Griffhälsen 12 bzw. 12' mittels eines Vierkant-Verbindungsstiftes 14 verbunden sind. Dazu ist in ein Radial-Gewindeloch 32 jedes Griffhalses 12 bzw. 12' eine Befestigungsschraube 30 eingeschraubt, die mit einer Konusspitze 34 sowie einer Verdickung bzw. einem Wulst 36 und einem Innensechskant 44 versehen sein kann (Fig. 4b).
  • An einer Seitenfläche 16 des Vierkantstiftes 14 ist eine Blattfeder 20 angeordnet, für die verschiedene Ausführungsformen in Betracht kommen. Fig. 2a und 2b zeigen eine Blattfeder 20 mit einem mittleren Wellungsbereich 22 und abgewinkelten Enden 24, 24'. Zu diesen Enden hin sind bevorzugt mittig verlaufende Längsschlitze 26, 26' vorgesehen, die im Ausführungsbeispiel von Fig. 3 und Fig. 3b fehlen. Die dort dargestellte Blattfeder 20 hat prinzipiell gleichartigen Aufbau, jedoch ohne Durchbrüche.
  • Man erkennt insbesondere aus Fig. 4b, daß die Konusspitze 34 der Befestigungsschraube 30 einen bestimmten Kegel-Öffnungswinkel ß hat. Dieser ist vorzugsweise geringfügig kleiner als ein Keilwinkel der Längsnut 40, die sich über die ganze Länge des Verbindungsstiftes 14 erstreckt. Wird nun die Schraube 30 im Radial-Gewindeloch 32 des Griffhalses 12 eingedreht, so durchdringt die Konusspitze 34 und anschließend auch die Verdickung 36 zunächst die Blattfeder 20, die einen passenden Längsschlitz 26 haben kann (Fig. 5b). In der Längsnut 40 wird die Konusspitze 34 zentrisch einlaufend in den Nutengrund geführt (Fig. 5a), in den sie sich bei weiterem Eindrehen einpreßt (Fig. 5b).
  • Die vergrößerten Schnittansichten von Fig. 6a und 6b lassen erkennen, daß der Vierkantstift 14 an der einen Seitenfläche 16 eine Flachnut 18 hat, um die Blattfeder 20 (Fig. 2a, 2b bzw. 3a, 3b) aufzunehmen. Deren abgewinkeltes Ende 24 (bzw. 24') greift in ein zugeordnetes Sackloch 28 (bzw. 28') nahe den Enden den Verbindungsstiftes 14 ein. Die Tiefe t der Flachnut 18 ist so bemessen, daß die Materialstärke der Blattfeder 20 darin Platz findet. Deren Breite b ist im wesentlichen so groß wie der Durchmesser d des Sackloches 28 (Fig. 6b), doch können bei geringfügig größerer Breite am Sackloch-Eingang Schultern 42 vorhanden sein, an denen sich die eingelegte Blattfeder 20 abstützt.
  • Ein abgewandelte Ausführungsform zeigt Fig. 7, wobei ein aus Kunststoff bestehender Griffhals 12 von einer Befestigungsschraube 30 durchsetzt wird, die als Selbstschneidschraube ausgebildet ist und mit der unteren Gewindekante die Blattfeder 20 im Bereich des Längsschlitzes 26 durchsetzt. Das Ende des Schraubschaftes 38 ist bei voll eingedrehter Befestigungsschraube 30 in den Grund der Längsnut 40 eingepreßt, so daß der Vierkantstift 14 axial festgelegt ist.
  • In den Rahmen der Erfindung fallen auch nicht dargestellte Abwandlungen, beispielsweise dergestalt, daß der Verbindungsstift 14 in einem der beiden Griffe 10, 10' etwa durch eine Verstiftung oder stoffschlüssig verankert ist, während im anderen Griff (im sog. Lochteil) eine lösbare Verankerung mit Hilfe der Befestigungsschraube 30 vorgesehen ist. Auch die Längsnut 40 kann von der gezeichneten Kontur abweichen, vorzugsweise jedoch unter Anpassung an die Gestalt der einpreßbaren Spitze der Befestigungsschraube 30. Soferne diese eine Verdickung bzw. einen Wulst 26 aufweist, kann diese(r) auch eine andere Form haben, z.B. mit wenigstens einer Hinterschneidung. Die Erfindung zieht ferner in Betracht, die Längsschlitze 26, 26' und die Mitte der Längsnut 40 zueinander etwas zu versetzen, um eine zusätzliche Keilwirkung zu erzielen. Der Durchmesser d der Sacklöcher 28, 28' im Vierkantstift 14 kann auch kleiner sein, zweckmäßig jedoch in solcher Bemessung, daß die gegebenenfalls verengten Enden 24, 24' der Blattfeder 20 im Paß- oder Klemmsitz gehalten werden. Die Wellung 22 der Blattfeder 20 ist vorzugsweise so gewählt, daß letztere mit geringer Vorspannung zwischen der einen Seitenfläche 16 und den Vierkantlöchern der Griffhälse 12, 12' bzw. der Schloßnuß gehalten ist.
  • Sämtliche aus den Ansprüchen, der Beschreibung und der Zeichnung hervorgehenden Merkmale und Vorteile, einschließlich konstruktiver Einzelheiten, räumlicher Anordnungen und Verfahrensschritten, könnnen sowohl für sich als auch in den verschiedensten Kombinationen erfindungswesentlich sein.
  • Legende
  • b
    Schlitzbreite
    d
    Sackloch-Durchmesser
    t
    Flachnut-Tiefe
    α
    Keilwinkel
    β
    Öffnungswinkel
    10, 10'
    Türgriff
    12, 12'
    Griffhals
    14
    Verbindungsstift
    16
    Seitenfläche
    18
    Flachnut
    20
    Blattfeder
    22
    Wellung(sbereich)
    24, 24'
    abgewinkeltes Ende
    26, 26'
    Längsschlitz
    28, 28'
    Sackloch
    30
    Befestigungsschraube
    32
    Radial-Gewindeloch
    34
    Konusspitze
    36
    Verdickung/Wulst
    38
    Schraubschaft
    40
    Längsnut
    42
    Schultern
    44
    Innensechskant

Claims (9)

  1. Türgriffverbindung mit zwei Türgriffen (10, 10'), deren Griffhals (12, 12') jeweils ein Vierkant-Sackloch zur formschlüssigen Aufnahme eines Verbindungsstiftes (14) hat, an dessen einer Seitenfläche (16) eine abgewinkelte Enden (24, 24') aufweisende, schwach gewellte Blattfeder (20) großenteils anliegt, wobei an zumindest einem der beiden Griffe eine Befestigungsschraube (30) vorgesehen ist, die in ein Radial-Gewindeloch (32) des Griffhalses (12, 12') schraubbar ist, um den Verbindungsstift (14) samt der Blattfeder (20) im Vierkantloch zu fixieren, dadurch gekennzeichnet, daß der Verbindungsstift (14) an der einen Seitenfläche (16) eine durchgehende Längsnut (40) und endseitig je ein Sackloch (28, 28') zur Aufnahme der abgewinkelten Enden (24, 24') der Blattfeder (20) hat.
  2. Verbindung nach Anspruch 1, dadurch gekennzeichnet, daß die Längsnut (40) im Querschnitt V-förmig ist.
  3. Verbindung nach Anspruch 2, dadurch gekennzeichnet, daß die Nutenwände zueinander einen Keilwinkel (α) einnehmen, der dem Öffnungswinkel (β) einer Konusspitze (34) der Befestigungsschraube (30) zumindest beinahe gleichkommt.
  4. Verbindung nach einem der Ansprüche 1 bis 3, dadurch gekennzeichnet, daß der Sackloch-Durchmesser (d) gleich oder nahezu gleich der Breite (b) einer an der einen Seitenfläche (16) angeordneten Flachnut (18) ist, deren Tiefe (t) der Materialstärke der Blattfeder (20) im wesentlichen gleichkommt.
  5. Verbindung nach Anspruch 4, dadurch gekennzeichnet, daß an oder neben jedem Sackloch (28, 28') Schultern (42) zur Abstützung der Blattfeder (20) vorhanden sind.
  6. Verbindung nach einem der Ansprüche 1 bis 5, dadurch gekennzeichnet, daß die Blattfeder (20) zu ihren abgewinkelten Enden (24, 24') hin jeweils einen Längsschlitz (26, 26') aufweist.
  7. Verbindung nach Anspruch 6 oder 7, dadurch gekennzeichnet, daß die Breite des Längsschlitzes (26, 26') kleiner ist als eine Verdickung (36) der Befestigungsschraube (30).
  8. Verbindung nach Anspruch 6 oder 7, dadurch gekennzeichnet, daß die Längsschlitze (26, 26') und die Längsnut (40) miteinander fluchtend angeordnet sind, insbesondere mittig in der Blattfeder (20) bzw. an der einen Verbindungsstift-Seitenfläche (16).
  9. Verbindung nach wenigstens einem der Ansprüche 1 bis 8, dadurch gekennzeichnet, daß die Befestigungsschraube (30) ein Gewindestift mit zwiebelförmiger Konusspitze (34) ist. 10. Verbindung nach wenigstens einem der Ansprüche 1 bis 8, dadurch gekennzeichnet, daß die Befestigungsschraube (30) eine Selbstschneidschraube ist.
EP90121396A 1990-01-08 1990-11-08 Türgriffverbindung Expired - Lifetime EP0436795B1 (de)

Priority Applications (1)

Application Number Priority Date Filing Date Title
AT90121396T ATE101228T1 (de) 1990-01-08 1990-11-08 Tuergriffverbindung.

Applications Claiming Priority (2)

Application Number Priority Date Filing Date Title
DE9000103U 1990-01-08
DE9000103U DE9000103U1 (de) 1990-01-08 1990-01-08 Türgriffverbindung

Publications (3)

Publication Number Publication Date
EP0436795A2 true EP0436795A2 (de) 1991-07-17
EP0436795A3 EP0436795A3 (en) 1991-09-25
EP0436795B1 EP0436795B1 (de) 1994-02-02

Family

ID=6849837

Family Applications (1)

Application Number Title Priority Date Filing Date
EP90121396A Expired - Lifetime EP0436795B1 (de) 1990-01-08 1990-11-08 Türgriffverbindung

Country Status (3)

Country Link
EP (1) EP0436795B1 (de)
AT (1) ATE101228T1 (de)
DE (2) DE9000103U1 (de)

Cited By (3)

* Cited by examiner, † Cited by third party
Publication number Priority date Publication date Assignee Title
EP1061207A1 (de) * 1999-06-19 2000-12-20 Hoppe AG Stiftverbindung
FR2820775A1 (fr) * 2001-02-14 2002-08-16 Jean Louis Rousseaux Insert de pied de bequille pour poignee et poignee comportant un tel insert
RU2423595C2 (ru) * 2006-05-09 2011-07-10 Аблой Ой Разделенный шпиндель

Families Citing this family (3)

* Cited by examiner, † Cited by third party
Publication number Priority date Publication date Assignee Title
DE202005000785U1 (de) * 2005-01-17 2006-05-24 Hoppe Ag, St Martin Betätigungshandhabe
EP1683933B1 (de) 2005-01-17 2012-07-25 Hoppe Ag Betätigungshandhabe
DE202008013099U1 (de) 2008-10-06 2010-02-25 Burg-Wächter Kg Drückeranordnung

Family Cites Families (4)

* Cited by examiner, † Cited by third party
Publication number Priority date Publication date Assignee Title
DE1653967B1 (de) * 1967-04-25 1971-04-22 Engstfeld Wilh Fa Druecker-Dornverbindung
FR2076269A5 (de) * 1970-01-07 1971-10-15 Lauzier Rene
DE2024652A1 (de) * 1970-05-21 1971-12-09 Heinrich Romberg Baubeschlag- und Metallwarenfabrik, 5860 Iserlohn Türdrückerverbindung
DE8605427U1 (de) * 1986-02-28 1986-12-11 Hoppe Gmbh & Co Kg, 35260 Stadtallendorf Türgriffverbindung

Cited By (3)

* Cited by examiner, † Cited by third party
Publication number Priority date Publication date Assignee Title
EP1061207A1 (de) * 1999-06-19 2000-12-20 Hoppe AG Stiftverbindung
FR2820775A1 (fr) * 2001-02-14 2002-08-16 Jean Louis Rousseaux Insert de pied de bequille pour poignee et poignee comportant un tel insert
RU2423595C2 (ru) * 2006-05-09 2011-07-10 Аблой Ой Разделенный шпиндель

Also Published As

Publication number Publication date
EP0436795A3 (en) 1991-09-25
ATE101228T1 (de) 1994-02-15
DE59004516D1 (de) 1994-03-17
EP0436795B1 (de) 1994-02-02
DE9000103U1 (de) 1990-02-22

Similar Documents

Publication Publication Date Title
EP3348758B1 (de) Kugelschnäpper
WO1994007040A1 (de) Vorrichtung zum verbinden von wenigstens zwei elementen
DE20017376U1 (de) Vorrichtung zur Verbindung eines Trägers, insbesondere eines Karosserieteils eines Kraftfahrzeuges, mit einem Plattenelement, insbesondere einer Tür- oder Wandverkleidung
EP0292742B1 (de) Distanzschraube
DE2610200A1 (de) Beschlag zum loesbaren verbinden von bauteilen, insbesondere zum wieder loesbaren verbinden von plattenfoermigen bauteilen
DE2812502C2 (de)
EP0674072B1 (de) Drehhandhaben-Befestigung
EP0436795B1 (de) Türgriffverbindung
EP0267161B1 (de) Schraubvorrichtung
CH666523A5 (de) Anordnung zur kreuzverbindung mindestens zweier stabfoermiger profile mit einem knotenkoerper.
DE10112035B4 (de) Schutzzaun
DE10315045A1 (de) Verbindung von zwei Profilstäben und Absperrungskonstruktion mit derartigen Verbindungen
DE29603389U1 (de) Schnellverschluß
DE29505752U1 (de) Vorrichtung zum Verbinden von Platten mittels Verschraubung
EP0984173A2 (de) Montageelement zur Positionierung und Verbindung von beabstandeten Bauteilen und Verbindungsstellen unter Verwendung des Montageelements
DE19612944A1 (de) Verbindungsanordnung und Verbindungsverfahren
EP0235385B1 (de) Türgriffverbindung
DE4316808C2 (de) Spannstück für Rohrelemente
DE9418068U1 (de) Getriebegriff
EP1114905A1 (de) Montagehülse
DE102005044127B4 (de) Trägerteil für einen Sammelschienenträger sowie Sammelschienenträger
DE3328232C2 (de) Raumfachwerk
EP1263089A1 (de) Kabelverbindungsvorrichtung
EP1963604A1 (de) Gleitstück für einen beschlag
EP4080072B1 (de) Wickelwelle mit einem wellenkern

Legal Events

Date Code Title Description
PUAI Public reference made under article 153(3) epc to a published international application that has entered the european phase

Free format text: ORIGINAL CODE: 0009012

17P Request for examination filed

Effective date: 19901217

AK Designated contracting states

Kind code of ref document: A2

Designated state(s): AT BE CH DE FR GB IT LI NL

PUAL Search report despatched

Free format text: ORIGINAL CODE: 0009013

AK Designated contracting states

Kind code of ref document: A3

Designated state(s): AT BE CH DE FR GB IT LI NL

17Q First examination report despatched

Effective date: 19921106

GRAA (expected) grant

Free format text: ORIGINAL CODE: 0009210

AK Designated contracting states

Kind code of ref document: B1

Designated state(s): AT BE CH DE FR GB IT LI NL

REF Corresponds to:

Ref document number: 101228

Country of ref document: AT

Date of ref document: 19940215

Kind code of ref document: T

REF Corresponds to:

Ref document number: 59004516

Country of ref document: DE

Date of ref document: 19940317

ET Fr: translation filed
GBT Gb: translation of ep patent filed (gb section 77(6)(a)/1977)

Effective date: 19940317

ITF It: translation for a ep patent filed
PLBE No opposition filed within time limit

Free format text: ORIGINAL CODE: 0009261

STAA Information on the status of an ep patent application or granted ep patent

Free format text: STATUS: NO OPPOSITION FILED WITHIN TIME LIMIT

26N No opposition filed
REG Reference to a national code

Ref country code: GB

Ref legal event code: IF02

PGFP Annual fee paid to national office [announced via postgrant information from national office to epo]

Ref country code: AT

Payment date: 20091113

Year of fee payment: 20

Ref country code: DE

Payment date: 20091120

Year of fee payment: 20

Ref country code: CH

Payment date: 20091124

Year of fee payment: 20

PGFP Annual fee paid to national office [announced via postgrant information from national office to epo]

Ref country code: NL

Payment date: 20091112

Year of fee payment: 20

PGFP Annual fee paid to national office [announced via postgrant information from national office to epo]

Ref country code: IT

Payment date: 20091126

Year of fee payment: 20

Ref country code: GB

Payment date: 20091119

Year of fee payment: 20

Ref country code: FR

Payment date: 20091201

Year of fee payment: 20

PGFP Annual fee paid to national office [announced via postgrant information from national office to epo]

Ref country code: BE

Payment date: 20091224

Year of fee payment: 20

REG Reference to a national code

Ref country code: CH

Ref legal event code: PL

REG Reference to a national code

Ref country code: NL

Ref legal event code: V4

Effective date: 20101108

BE20 Be: patent expired

Owner name: *HOPPE G.M.B.H. + CO. K.G.

Effective date: 20101108

REG Reference to a national code

Ref country code: GB

Ref legal event code: PE20

Expiry date: 20101107

PG25 Lapsed in a contracting state [announced via postgrant information from national office to epo]

Ref country code: NL

Free format text: LAPSE BECAUSE OF EXPIRATION OF PROTECTION

Effective date: 20101108

PG25 Lapsed in a contracting state [announced via postgrant information from national office to epo]

Ref country code: GB

Free format text: LAPSE BECAUSE OF EXPIRATION OF PROTECTION

Effective date: 20101107

PG25 Lapsed in a contracting state [announced via postgrant information from national office to epo]

Ref country code: DE

Free format text: LAPSE BECAUSE OF EXPIRATION OF PROTECTION

Effective date: 20101108