EP0347005B1 - Kindersitz - Google Patents

Kindersitz Download PDF

Info

Publication number
EP0347005B1
EP0347005B1 EP89201567A EP89201567A EP0347005B1 EP 0347005 B1 EP0347005 B1 EP 0347005B1 EP 89201567 A EP89201567 A EP 89201567A EP 89201567 A EP89201567 A EP 89201567A EP 0347005 B1 EP0347005 B1 EP 0347005B1
Authority
EP
European Patent Office
Prior art keywords
seat
child
bracket
clamping
nut
Prior art date
Legal status (The legal status is an assumption and is not a legal conclusion. Google has not performed a legal analysis and makes no representation as to the accuracy of the status listed.)
Expired - Lifetime
Application number
EP89201567A
Other languages
English (en)
French (fr)
Other versions
EP0347005A1 (de
Inventor
Joannes Drexler
Current Assignee (The listed assignees may be inaccurate. Google has not performed a legal analysis and makes no representation or warranty as to the accuracy of the list.)
Individual
Original Assignee
Individual
Priority date (The priority date is an assumption and is not a legal conclusion. Google has not performed a legal analysis and makes no representation as to the accuracy of the date listed.)
Filing date
Publication date
Application filed by Individual filed Critical Individual
Priority to AT89201567T priority Critical patent/ATE62461T1/de
Publication of EP0347005A1 publication Critical patent/EP0347005A1/de
Application granted granted Critical
Publication of EP0347005B1 publication Critical patent/EP0347005B1/de
Anticipated expiration legal-status Critical
Expired - Lifetime legal-status Critical Current

Links

Images

Classifications

    • BPERFORMING OPERATIONS; TRANSPORTING
    • B62LAND VEHICLES FOR TRAVELLING OTHERWISE THAN ON RAILS
    • B62JCYCLE SADDLES OR SEATS; AUXILIARY DEVICES OR ACCESSORIES SPECIALLY ADAPTED TO CYCLES AND NOT OTHERWISE PROVIDED FOR, e.g. ARTICLE CARRIERS OR CYCLE PROTECTORS
    • B62J1/00Saddles or other seats for cycles; Arrangement thereof; Component parts
    • B62J1/14Separate pillions
    • B62J1/16Separate pillions for children

Definitions

  • the invention relates to a child's seat having a bottom, armrests, a backrest and footrests, as well as means for mounting the child's seat on a bicycle, which mounting means includes a forward extension on the bottom for attachment to the rear fork.
  • the means for mounting the seat on a bicycle consist of a bracket attached to the underside of the seat, said bracket being secured with a separate clamping member to the luggage carrier of the bicycle by means of a bolt-and-nut joint.
  • Another drawback is that the bicycle has to be provided with a solid luggage carrier. Further this known seat is not comfortable for the child; as the seat directly rests on the luggage carrier all the vibrations and the bumps of the bicycle will be transmitted to the child.
  • said attachment comprises a hook joint, e.g. a bayonet link, adapted for cooperation with a complementary end of a mounting bracket which forms part of the mounting means and which bracket is attached to the rear fork of the bicycle and which mounting means also includes a substantially U-shaped bracket rotatably attached to the front of the bottom and clamping members attached releasably to the fork legs, which bracket comprises the footrests, and is further provided with forked elements adapted to coact with the clamping members.
  • a hook joint e.g. a bayonet link
  • the clamping member may consist of a mounting bracket and a clamping bracket interconnected by a bolt-and-nut joint for attachment of the forward extension to the rear of the bicycle, said mounting bracket being adapted to coact with the complementary end of the forward extension by means of a hook joint, e.g. a bayonet joint, thus enabling a very simple mounting and demounting.
  • a hook joint e.g. a bayonet joint
  • clamping members attached to the fork legs may each consist of a clamping portion to be secured detachably to a fork leg and having a counter plate, said clamping portion being fitted itself with a bolt whose opposite end is threaded and adapted to coact with the nut. In this manner, also the second point of attachment of the child's seat can be secured very easily.
  • the latter is improved by making the facing sides of the clamping portion and the nut rounded and making the nut a wing nut.
  • the footrests may be fitted adjustably on the legs of the U-shaped bracket, so that the footrests are located at the correct height for the child in question.
  • the footrests may have a foot strap or elastic band, so that the child is positioned firmly in the seat.
  • the child's seat may be provided with a safety belt whose attachment takes place by frictionally receiving one eye-shaped end of the safety belt in a tubular nesting space of an armrest or the backrest, with a pin extending through the eye-shaped end, and with the wall of the tubular nesting space having an elongate slot.
  • said pin may have a spaced apart auxiliary pin extending parallel thereto, which is connected fixedly to the pin by means of a bridge piece.
  • a child's seat is provided with a bottom 1, a backrest 2 and armrests 3.
  • a cushion 4 is placed releasably on the bottom by means of a Velcro® fastener.
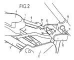
  • the bottom is provided with a forward extension 9 whose free end is adapted to coact with a mounting bracket 10, which together with a clamping bracket 11, can be attached through a bolt 12 and a nut 13 to a rear fork 14 of a bicycle 15, not further shown.
  • the insertion opening of the mounting bracket 10, serving for coaction with the forward extension 9 is fitted with recesses 35, 36 superposed as viewed in vertical direction, while the forward extension 9 is fitted with a recess 37.
  • the recesses are destined more in particular for the passage of a central brake cable, electrical cable or the like, which is thus properly retained and guarded, so that on the one hand the cable is protected against damage, while on the other hand a child sitting in the seat can hardly come into contact with the cable.
  • a connecting bracket 16 is received between mounting bracket 10 and clamping bracket 11.
  • the open sides of mounting bracket 10 are closed by a closing plate 17 constructed in such a manner that connecting bracket 16, mounting bracket 10 and closing plates 17 form an integral unit.
  • the attachment of the closing plates to the mounting bracket 10 takes place by means of rivets 18.
  • the free end of the forward extension 9 is constructed so as to coact in the manner of a hook joint or a bayonet catch with a corresponding opening 19 provided in the mounting bracket 10, shown most clearly in Fig. 4.
  • the clamping members attached to the fork legs comprise a clamping portion 21 to be attached to a fork leg by means of a counter plate 20.
  • Affixed to the clamping portion 21 is a bolt 22 having a threaded free end. This thread is adapted for coaction with a wing nut 23.
  • the facing sides of the clamping portion and the wing nut 24, 25 are rounded, so that the forked ends of the U-shaped bracket can be easily brought in the proper position therebetween, after which the fork legs can be secured by tightening the wing nut.
  • the synthetic plastics armrest 3 is provided on the inside with reinforcing ribs 26.
  • the rearmost of the two indicated reinforcing ribs 26 is fitted with a tubular nesting space 27, while the wall of said tubular nesting space contains an elongate slot 28.
  • a safety belt 29 is fitted with an eye-shaped end 30 adapted to coact with a pin 31.
  • Pin 31 is connected to an auxiliary pin 33 through a bridge piece 32. Said auxiliary pin 33 serves for facilitating the assembly, during which pin 31 is pushed into the looped end 30 and jointly therewith, with friction, into the tubular nesting space 27.
  • armrest 3 is geniculated (the geniculated portion is indicated at 34), a very simple, yet good attachment of the safety belt is achieved.
  • various modifications are possible, for example fitting a pin in the armrest in fixed relationship, said pin being arranged for coaction with the eye-shaped end of the belt. In this case, the pin could be roughened, thus preventing it from falling out after assembly.
  • other means can be employed.
  • the seat can be mounted and demounted very easily by means of clamping members affixed to the bicycle once, which preferably basically have no protruding parts.
  • a further important advantage of the child's seat is that it is supported on, and attached to, parts of the bicycle frame and is independent of a strong luggage carrier present or absent.

Landscapes

  • Health & Medical Sciences (AREA)
  • Child & Adolescent Psychology (AREA)
  • General Health & Medical Sciences (AREA)
  • Engineering & Computer Science (AREA)
  • Mechanical Engineering (AREA)
  • Seats For Vehicles (AREA)
  • Toilet Supplies (AREA)
  • Processes Of Treating Macromolecular Substances (AREA)
  • Carriages For Children, Sleds, And Other Hand-Operated Vehicles (AREA)
  • Passenger Equipment (AREA)

Claims (10)

1. Kindersitz mit einer Sitzfläche (1), mit Armlehnen (3), mit einer Rückenlehne (2) und mit Fußstützen (8) sowie mit Mitteln (9, 10, 11) zur Befestigung des Sitzes auf einem Fahrrad, die ein nach vorn gerichtetes, an der Sitzfläche angebrachtes Verlängerungsstück (9) umfassen, das an der Hinterradgabel des Fahrrades anbringbar ist, dadurch gekennzeichnet, daß die Befestigung eine Rastverbindung, vorzugsweise ein Bajonettverschluß (Figur 2) ist, die mit einem korrespondierenden Ende einer laschenförmigen Halterung (10) zusammenwirkt, welche als Teil der Befestigungsmittel mit der Hinterradgabel (14) des Fahrrades verbunden ist, daß die Befestigungsmittel ferner einen im wesentlichen U-förmigen Bügel (5) aufweisen, der mit der vorderen Unterseite der Sitzfläche (1) drehbeweglich verbunden ist und gleichzeitig die Fußstützen (8) trägt sowie gabelförmige Enden (6) aufweist, und daß Klemmelemente (7) mit den Streben (14) der Hinterradgabel lösbar verbunden sind, die mit den gabelförmigen Enden (6) des Bügels (5) in lösbarer Wirk- verbindung stehen.
2. Kindersitz nach Anspruch 1, dadurch gekennzeichnet, daß die laschenförmigen Klemmelemente zur Befestigung des Verlängerungsstückes an der Hinterradgabel aus einer bügelförmigen Halterung (10) und einer Klemmlasche (11) bestehen, die über eine Schraubverbindung (12, 13) miteinander verbunden sind.
3. Kindersitz nach Anspruch 1 oder 2, dadurch gekennzeichnet, daß die mit den Streben der Hinterradgabel zu verbindenden Klemmelemente (7) jeweils ein mit dem Gabelstreben (14) lösbar verbindbares Klemmstück (21) mit einem korrespondierenden Gegenstück (20) umfassen, und daß das Klemmstück (21) einen angeformten Bolzen (22) aufweist, dessen gegenüberliegendes Ende ein mit einer Befestigungsmutter (23) korrespondierendes Gewinde aufweist.
4. Kindersitz nach Anspruch 3, dadurch gekennzeichnet, daß die einander zugewandten Flächen von Klemmstück (21) und Mutter (23) abgerundet sind.
5. Kindersitz nach Anspruch 3 oder 4, dadurch gekennzeichnet, daß die Mutter (23) als Flügelmutter ausgebildet ist.
6. Kindersitz nach Anspruch 1, dadurch gekennzeichnet, daß die Fußstützen (8) an den Schenkeln des U-förmigen Bügels (5) verstellbar angeordnet sind.
7. Kindersitz nach Anspruch 6, dadurch gekennzeichnet, daß die Fußstützen (8) mit einem Fußgurt oder einer elastischen Halteschlaufe ausgerüstet sind.
8. Kindersitz nach einem der vorhergehenden Ansprüche mit einem Sicherheitsgurt (29), dadurch gekennzeichnet, daß jedem Ende des Sicherheitsgurtes (29) eine Öse (30) zugeordnet ist, die in rohrförmige Aufnahmeenden (27) der Arm- oder Rückenlehne mit Reibungsschluß einsatzbar sind, wobei jeweils ein Stift (31) die in ein in der Wandung des Aufnahmeendes befindliches Langloch (28) einsetzbare Öse durchsetzt.
9. Kindersitz nach einem der vorhergehenden Ansprüche, dadurch gekennzeichnet, daß ein weiterer Stift (33) von außen in die Wandung des rohrförmigen Aufnahmeendes eingreift.
10. Kindersitz nach einem der vorhergehenden Ansprüche, dadurch gekennzeichnet, daß das vordere Ende des Verlängerungsstückes (9) und die zugeordnete Halterung (10, 11) derart positionierte Öffnungen (37) aufweisen, daß durch sie ein Bremskabel, ein elektrisches Kabel oder ähnliches hindurchführbar ist.
EP89201567A 1988-06-17 1989-06-16 Kindersitz Expired - Lifetime EP0347005B1 (de)

Priority Applications (1)

Application Number Priority Date Filing Date Title
AT89201567T ATE62461T1 (de) 1988-06-17 1989-06-16 Kindersitz.

Applications Claiming Priority (2)

Application Number Priority Date Filing Date Title
NL8801549 1988-06-17
NL8801549A NL8801549A (nl) 1988-06-17 1988-06-17 Kinderzit.

Publications (2)

Publication Number Publication Date
EP0347005A1 EP0347005A1 (de) 1989-12-20
EP0347005B1 true EP0347005B1 (de) 1991-04-10

Family

ID=19852478

Family Applications (1)

Application Number Title Priority Date Filing Date
EP89201567A Expired - Lifetime EP0347005B1 (de) 1988-06-17 1989-06-16 Kindersitz

Country Status (8)

Country Link
US (1) US4998744A (de)
EP (1) EP0347005B1 (de)
JP (1) JP2718525B2 (de)
AT (1) ATE62461T1 (de)
DE (1) DE68900058D1 (de)
ES (1) ES2021477B3 (de)
GR (1) GR3001755T3 (de)
NL (1) NL8801549A (de)

Cited By (3)

* Cited by examiner, † Cited by third party
Publication number Priority date Publication date Assignee Title
USD356447S (en) 1994-02-28 1995-03-21 Hamax As Child bike seat
USD367181S (en) 1994-08-15 1996-02-20 Hamax As Child bike seat
EP2236397A1 (de) 2009-03-30 2010-10-06 Dremefa Beheer B.V. Montageanordnung für einen Kinderfahrradsitz

Families Citing this family (13)

* Cited by examiner, † Cited by third party
Publication number Priority date Publication date Assignee Title
US5299818A (en) 1989-09-29 1994-04-05 Bell Sports, Inc. Child's bicycle seat and rack assembly
DE4226713A1 (de) * 1992-08-12 1994-02-17 Hamax A S Fredrikstad Vorrichtung zur lösbaren Anbringung eines Kindersitzes oder dergleichen oberhalb des hinteren Rades eines Fahrrads
SE503460C2 (sv) * 1995-07-04 1996-06-17 Manochehr Sabetghadam Barnsits för cyklar
US6111436A (en) * 1997-04-30 2000-08-29 Sun Microsystems, Inc. Measurement of signal propagation delay using arbiters
US6092820A (en) * 1998-08-12 2000-07-25 Evans; Ross N. Apparatus and method for transporting cargo with a two-wheeled vehicle
NO320836B1 (no) 2003-07-03 2006-01-30 Stokke As Anordning for hoyderegulering av et barnesete samt fotstotte som kan forskyves teleskopisk i forhold til setet
USD527537S1 (en) 2005-04-06 2006-09-05 Edwards Margaret B Bicycle accessory seat
JP4789693B2 (ja) * 2006-05-10 2011-10-12 ブリヂストンサイクル株式会社 二輪車
US8251388B2 (en) * 2008-09-04 2012-08-28 Bell Sports, Inc. Bicycle child seat
USD699042S1 (en) * 2013-01-29 2014-02-11 Okbaby S.R.L. Children's seat, for fixing on cycles
US9457858B2 (en) * 2014-10-02 2016-10-04 Lewis R Adams Mounted child bicycle seat assembly
JP5875727B1 (ja) * 2015-06-24 2016-03-02 雅子 筒井 座椅子
US10472014B2 (en) * 2018-01-12 2019-11-12 Beto Engineering and Marketing Co., Ltd. Baby seat of bicycle

Family Cites Families (13)

* Cited by examiner, † Cited by third party
Publication number Priority date Publication date Assignee Title
US1013007A (en) * 1911-05-31 1911-12-26 Frederick A Fowler Supplemental seat for motor-cycles.
GB457219A (en) * 1935-08-14 1936-11-24 Redvers Henry Glover Additional seats for cycles
FR912651A (fr) * 1945-07-21 1946-08-16 Siège d'enfant amovible à dispositif de suspension amortisseur et de sécurité pour montage instantané sur bicyclette, tandem, motocycle, etc.
US3133277A (en) * 1963-07-01 1964-05-12 Alvin B Hood Vehicle seat belt
US3802598A (en) * 1972-04-14 1974-04-09 Sears Roebuck & Co Rear carrier for bicycle
US4051985A (en) * 1975-12-01 1977-10-04 Berger Irvin E Quick release child's bicycle seat
US4053091A (en) * 1976-05-28 1977-10-11 Sears, Roebuck And Co. Combination rear luggage carrier and child seat for bicycle
SE434937B (sv) * 1981-02-26 1984-08-27 Origoverken Ab Festanordning for cykelbarnstol
US4662683A (en) * 1985-03-01 1987-05-05 Cosco, Inc. Juvenile car seat
CA1213510A (en) * 1985-03-08 1986-11-04 Lorne Shields Child's bicycle seat
NL8501057A (nl) * 1985-04-10 1986-11-03 Melkert Bv Kinderzitje.
US4666071A (en) * 1986-01-24 1987-05-19 Cannondale Corporation Bicycle rear carrier rack
DE8603549U1 (de) * 1986-02-11 1986-07-17 Heinz Kettler Metallwarenfabrik GmbH & Co, 59469 Ense Kindersitz für ein Fahrrad

Cited By (3)

* Cited by examiner, † Cited by third party
Publication number Priority date Publication date Assignee Title
USD356447S (en) 1994-02-28 1995-03-21 Hamax As Child bike seat
USD367181S (en) 1994-08-15 1996-02-20 Hamax As Child bike seat
EP2236397A1 (de) 2009-03-30 2010-10-06 Dremefa Beheer B.V. Montageanordnung für einen Kinderfahrradsitz

Also Published As

Publication number Publication date
JP2718525B2 (ja) 1998-02-25
ES2021477B3 (es) 1991-11-01
GR3001755T3 (en) 1992-11-23
DE68900058D1 (de) 1991-05-16
ATE62461T1 (de) 1991-04-15
JPH01317883A (ja) 1989-12-22
NL8801549A (nl) 1990-01-16
US4998744A (en) 1991-03-12
EP0347005A1 (de) 1989-12-20

Similar Documents

Publication Publication Date Title
EP0347005B1 (de) Kindersitz
US4545613A (en) Car seat carrier
US4500133A (en) Baby chair
US5468046A (en) Seat belt mounting for integral child seat
US4566617A (en) Seat pack assembly
US5127563A (en) Mounting device for bicycle accessories
EP0822115B2 (de) Kindersicherheitssitz
US5580126A (en) Five-point booster car seat belt system
US5927801A (en) Auxiliary bicycle seat
EP1702790B1 (de) Kindertrage mit verstellbarem Gurtsystem.
US5226192A (en) Attachment for removable padding
KR940006618A (ko) 그네용 안전 바아 조립체
CA2009436C (en) Bicycle child carrier assembly
US4919479A (en) Apparatus for carrying a passenger on a bicycle
EP1759916B1 (de) Kindersicherheitssitzaufbau mit einem Schnallpositionierelement
EP0608597B1 (de) Kindersicherungseinrichtung
GB2333242A (en) Modular toy toddler car seat
WO1989002625A1 (en) Shoe and pedal attachment device and method
GB2286851A (en) Reversible seat belt buckle
EP1332956A2 (de) Zusatzkindersitz für Fahrräder
US5800014A (en) Adjustable child seat for bicycles
EP1493616A2 (de) Kindersitzbefestigung für einen Fahrzeugsitz
EP0417419A2 (de) Befestigungseinrichtung für Fahrradzubehör
GB2270619A (en) Child carrier
GB2097345A (en) Mounting child carriers on cycles

Legal Events

Date Code Title Description
PUAI Public reference made under article 153(3) epc to a published international application that has entered the european phase

Free format text: ORIGINAL CODE: 0009012

AK Designated contracting states

Kind code of ref document: A1

Designated state(s): AT BE CH DE ES FR GB GR IT LI LU NL SE

17P Request for examination filed

Effective date: 19900109

17Q First examination report despatched

Effective date: 19900516

GRAA (expected) grant

Free format text: ORIGINAL CODE: 0009210

AK Designated contracting states

Kind code of ref document: B1

Designated state(s): AT BE CH DE ES FR GB GR IT LI LU NL SE

REF Corresponds to:

Ref document number: 62461

Country of ref document: AT

Date of ref document: 19910415

Kind code of ref document: T

ITF It: translation for a ep patent filed
REF Corresponds to:

Ref document number: 68900058

Country of ref document: DE

Date of ref document: 19910516

ET Fr: translation filed
PLBE No opposition filed within time limit

Free format text: ORIGINAL CODE: 0009261

STAA Information on the status of an ep patent application or granted ep patent

Free format text: STATUS: NO OPPOSITION FILED WITHIN TIME LIMIT

26N No opposition filed
REG Reference to a national code

Ref country code: GR

Ref legal event code: FG4A

Free format text: 3001755

EPTA Lu: last paid annual fee
EAL Se: european patent in force in sweden

Ref document number: 89201567.8

PGFP Annual fee paid to national office [announced via postgrant information from national office to epo]

Ref country code: SE

Payment date: 19990607

Year of fee payment: 11

PGFP Annual fee paid to national office [announced via postgrant information from national office to epo]

Ref country code: ES

Payment date: 19990610

Year of fee payment: 11

Ref country code: GR

Payment date: 19990610

Year of fee payment: 11

PGFP Annual fee paid to national office [announced via postgrant information from national office to epo]

Ref country code: GB

Payment date: 19990614

Year of fee payment: 11

PGFP Annual fee paid to national office [announced via postgrant information from national office to epo]

Ref country code: AT

Payment date: 19990624

Year of fee payment: 11

PGFP Annual fee paid to national office [announced via postgrant information from national office to epo]

Ref country code: DE

Payment date: 19990625

Year of fee payment: 11

PGFP Annual fee paid to national office [announced via postgrant information from national office to epo]

Ref country code: CH

Payment date: 19990831

Year of fee payment: 11

PG25 Lapsed in a contracting state [announced via postgrant information from national office to epo]

Ref country code: GB

Free format text: LAPSE BECAUSE OF NON-PAYMENT OF DUE FEES

Effective date: 20000616

Ref country code: AT

Free format text: LAPSE BECAUSE OF NON-PAYMENT OF DUE FEES

Effective date: 20000616

PG25 Lapsed in a contracting state [announced via postgrant information from national office to epo]

Ref country code: ES

Free format text: THE PATENT HAS BEEN ANNULLED BY A DECISION OF A NATIONAL AUTHORITY

Effective date: 20000617

Ref country code: SE

Free format text: LAPSE BECAUSE OF NON-PAYMENT OF DUE FEES

Effective date: 20000617

PG25 Lapsed in a contracting state [announced via postgrant information from national office to epo]

Ref country code: LI

Free format text: LAPSE BECAUSE OF NON-PAYMENT OF DUE FEES

Effective date: 20000630

Ref country code: GR

Free format text: LAPSE BECAUSE OF NON-PAYMENT OF DUE FEES

Effective date: 20000630

Ref country code: CH

Free format text: LAPSE BECAUSE OF NON-PAYMENT OF DUE FEES

Effective date: 20000630

PGFP Annual fee paid to national office [announced via postgrant information from national office to epo]

Ref country code: LU

Payment date: 20001026

Year of fee payment: 12

PGFP Annual fee paid to national office [announced via postgrant information from national office to epo]

Ref country code: BE

Payment date: 20001120

Year of fee payment: 12

GBPC Gb: european patent ceased through non-payment of renewal fee

Effective date: 20000616

REG Reference to a national code

Ref country code: CH

Ref legal event code: PL

EUG Se: european patent has lapsed

Ref document number: 89201567.8

PG25 Lapsed in a contracting state [announced via postgrant information from national office to epo]

Ref country code: DE

Free format text: LAPSE BECAUSE OF NON-PAYMENT OF DUE FEES

Effective date: 20010403

PG25 Lapsed in a contracting state [announced via postgrant information from national office to epo]

Ref country code: LU

Free format text: LAPSE BECAUSE OF NON-PAYMENT OF DUE FEES

Effective date: 20010616

PG25 Lapsed in a contracting state [announced via postgrant information from national office to epo]

Ref country code: BE

Free format text: LAPSE BECAUSE OF NON-PAYMENT OF DUE FEES

Effective date: 20010630

BERE Be: lapsed

Owner name: DREXLER JOANNES

Effective date: 20010630

REG Reference to a national code

Ref country code: ES

Ref legal event code: FD2A

Effective date: 20020204

PG25 Lapsed in a contracting state [announced via postgrant information from national office to epo]

Ref country code: IT

Free format text: LAPSE BECAUSE OF NON-PAYMENT OF DUE FEES

Effective date: 20050616

PGFP Annual fee paid to national office [announced via postgrant information from national office to epo]

Ref country code: NL

Payment date: 20080618

Year of fee payment: 20

PGFP Annual fee paid to national office [announced via postgrant information from national office to epo]

Ref country code: FR

Payment date: 20080401

Year of fee payment: 20

PG25 Lapsed in a contracting state [announced via postgrant information from national office to epo]

Ref country code: NL

Free format text: LAPSE BECAUSE OF EXPIRATION OF PROTECTION

Effective date: 20090616

NLV7 Nl: ceased due to reaching the maximum lifetime of a patent

Effective date: 20090616