EP0336312A2 - Computergesteuerte universale Schleifmaschine und Verfahren zum Schleifen von hypo-, epitrochoidischen und kreisförmigen Laufbahnen - Google Patents

Computergesteuerte universale Schleifmaschine und Verfahren zum Schleifen von hypo-, epitrochoidischen und kreisförmigen Laufbahnen Download PDF

Info

Publication number
EP0336312A2
EP0336312A2 EP89105689A EP89105689A EP0336312A2 EP 0336312 A2 EP0336312 A2 EP 0336312A2 EP 89105689 A EP89105689 A EP 89105689A EP 89105689 A EP89105689 A EP 89105689A EP 0336312 A2 EP0336312 A2 EP 0336312A2
Authority
EP
European Patent Office
Prior art keywords
grinding
hypotrochoidal
epitrochoidal
rollers
bearing race
Prior art date
Legal status (The legal status is an assumption and is not a legal conclusion. Google has not performed a legal analysis and makes no representation as to the accuracy of the status listed.)
Withdrawn
Application number
EP89105689A
Other languages
English (en)
French (fr)
Other versions
EP0336312A3 (de
Inventor
Michel A. Pierrat
Current Assignee (The listed assignees may be inaccurate. Google has not performed a legal analysis and makes no representation or warranty as to the accuracy of the list.)
Individual
Original Assignee
Individual
Priority date (The priority date is an assumption and is not a legal conclusion. Google has not performed a legal analysis and makes no representation as to the accuracy of the date listed.)
Filing date
Publication date
Application filed by Individual filed Critical Individual
Publication of EP0336312A2 publication Critical patent/EP0336312A2/de
Publication of EP0336312A3 publication Critical patent/EP0336312A3/de
Withdrawn legal-status Critical Current

Links

Images

Classifications

    • BPERFORMING OPERATIONS; TRANSPORTING
    • B24GRINDING; POLISHING
    • B24BMACHINES, DEVICES, OR PROCESSES FOR GRINDING OR POLISHING; DRESSING OR CONDITIONING OF ABRADING SURFACES; FEEDING OF GRINDING, POLISHING, OR LAPPING AGENTS
    • B24B19/00Single-purpose machines or devices for particular grinding operations not covered by any other main group
    • B24B19/02Single-purpose machines or devices for particular grinding operations not covered by any other main group for grinding grooves, e.g. on shafts, in casings, in tubes, homokinetic joint elements
    • B24B19/06Single-purpose machines or devices for particular grinding operations not covered by any other main group for grinding grooves, e.g. on shafts, in casings, in tubes, homokinetic joint elements for grinding races, e.g. roller races

Definitions

  • This invention relates to machines for making parts in which two or more parts have shaped surfaces that must bear a precision relationship. More particularly this invention relates to machines for making parts having both trochoidal and circular surfaces that must be positioned in precision relationship to each other. Such machines are useful in speed change devices and other units having a plurality of shaped surfaces which must have a near perfect eccentricity between all of the shaped surfaces.
  • Speed change devices having both hypotrochoidal and epitrochoidal surfaces that must bear predetermined precision positions in relation to each other and to circular bearing races are described in U.S. Patents 4,584,904 to Distin and Shaffer and 4,643,047 to to Distin.
  • the speed change devices described in those patents make use of rollers positioned between adjacent epitrochoidal and hypotrochoidal bearing races to reduce friction and backlash. Grinding machines for making such parts typically are capable of grinding only one surface without making a new set-up. In speed change devices made by such a method it is difficult or impossible to maintain the degree of concentricity necessary for optimum operation.
  • the grinding machine is constructed to shape three basic parts useful in the speed change devices set forth in the above-referenced patents: (a) an orbital inner element or rotor having an epitrochoidal surface (called the "EPI Orbiting Rotor”); (b) a reaction ring having a hypotrochoidal surface (called the “HYPO Reacting Ring”); and (c) an output ring having a hypotrochoidal surface (called the "HYPO Output Ring”).
  • the first part has two concentric outer circular epitrochoidal races and an inner circular bearing race that is concentric with the two epitrochoidal surfaces.
  • the second part has an inner hypotrochoidal bearing race, an inner circular bearing race and an outer pilot diameter, all of which must be concentric.
  • the last part has an inner hypotrochoidal bearing race, an outer circular bearing race and an inner circular bearing race, all of which must be concentric.
  • a servomotorized table is arranged to be driven at any selected rotary speed.
  • a second rotary table is mounted on top of first table and is capable of lateral adjustment to provide any desired degree of eccentricity between the rotation centers of the tables.
  • the upper table is driven by a second servomotor so that its speed, relative to the lower table, can be adjusted to any desired speed and in either direction.
  • Three independently controlled grinding spindles, capable of horizontal and vertical adjustment, perform the successive drilling operations.
  • the true trochoidal contours of the bearing races are generated analogously with high precision under computer control with minimal software.
  • the true contours can be ground as rapidly as if they were circular.
  • the grinder can accommodate epitrochoidal and hypotrochoidal rings with different pitch diameters and with different numbers of intervening rollers.
  • the machine is completely automatic through the complete grinding cycle and switches from epitrochoidal and hypotrochoidal contour to circular without operator intervention and without any change in the machine setup.
  • a base 1 supports an upper structure 2 that carries a horizontally-adjustable slide support 3.
  • Three vertically-adjustable slide supports 4, 5 and 6 are rigidly mounted in spaced positions on the support 3.
  • Three grinding support brackets 7, 8 and 9 are respectively mounted for vertical movement on the slide supports 4, 5 and 6. These brackets 7, 8 and 9 in turn respectively carry three motorized grinding spindles 10, 11, and 12.
  • the horizontal position of the horizontally-slideable support 3 is controlled by a lead screw driven by a servomotor 13.
  • the vertical positions of the brackets 7, 8 and 9 are controlled respectively by means of lead screws operated by servomotors 14, 15 and 16.
  • a rotary table 17 is mounted on the base 1 and is operated by a servomotor adjustable to any desired speed and direction of rotation.
  • An upper rotary table 18 is mounted on the table 17 and is driven by a separate servomotor by which its speed and direction of rotation can be adjusted relative to the speed and direction of rotation of the table 17.
  • the axis of rotation of the table 18, when in its zero-reference position, is concentric with the axis of rotation of the lower table 17.
  • the table 18, however, is adjustable horizontally with respect to the table 17. By this means, the table 18 can be adjusted to provide the desired degree of eccentricity and then locked in that position.
  • Known mechanisms can be used to provide the rotary and offset movements of the tables 17 and 18.
  • the table 17 can be provided with a rotatable platen 17a, controlled by a servo motor (not shown) mounted within the table 17.
  • the upper table 18, is supported on the platen 17a and is slideable horizontally with respect to the table 17.
  • the table 18 carries a rotatable platen 18a that is driven by a servo motor (not shown) positioned within the table 18.
  • Any other construction that provides two independently controllable mounting tables can be used.
  • the tables 17 and 18 will be referred to as the mounting elements and the motions ascribed to them may in fact be the motions of the associated platens 17a and 18a.
  • the rotation of the servomotors 13, 14, 15, and 16 and the speed of the servomotorized tables 17 and 18 are each controlled, in known fashion, by a computer (not shown).
  • the lower end of each of the spindles 10, 11 and 12 carries a grinding wheel selected in accordance with the particular grinding function.
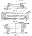
  • the part to be formed in this case the EPI Orbiting Ring shown in Figure 2, previously rough machined to the approximate size and shape of the finished part, is mounted on a magnetic chuck 19, secured tothe top of table 18, in a position concentric with the rotation of the table 18.
  • the trochoidal bearing races are always operated in conjugate sets of two, consisting of the outer epitrochoidal bearing race and the inner hypotrochoidal bearing race, as illustrated by Figure 1.
  • a set of rollers 38 is interposed between the inner and outer bearing races and are more fully described in the above-­referenced patents.
  • the trochoidal bearing races are defined by two basic parameters: (a) the number of rollers 38, and (b) the pitch diameter of the rollers 38.
  • the pitch diameter of the rollers is selected according to the torque to be transmitted.
  • the maximum size of the roller diameter is established and the maximum eccentricity is also established so there will be minimum clearance between the lobes of the epitrochoidal race and its associated hypotrochoidal race. This clearance is typically between 0.005 and 0.010 inches.
  • the number of lobes on the hypotrochoidal race is always N + 1; the number of lobes on the epitrochoidal race is always N - 1; the theoretical major diameter of the epitrochoidal race is equal to D - d + e; the theoretical minor diameter of the epitrochoidal race is equal to D - d -e; the theoretical major diameter of the hypotrochoidal race is equal to D + d + e; and the theoretical minor diameter of the hypotrochoidal race is equal to D + d - e; where "D” is the pitch diameter of the rollers 38, “d” equals the roller diameter; and “e” equals the eccentricity which is equal to the radius of the orbital path of the inner element.
  • Locating pins 29 and 30 are located in the magnetic clutch 19. These pins are of different diameters and are uniquely located to correctly position and orient the blank radially and angularly for grinding.
  • a grinding wheel with a diameter equal or nearly equal to that of the rollers used on the epitrochoidal race 21 is then mounted on the spindle 22.
  • a grinding wheel with a diameter equal to that of the rollers to be used on the epitrochoidal bearing race 20 is mounted on the spindle 11.
  • a cylindrical cup-type grinding wheel with a diameter less than the diameter of the bearing race 22 is mounted on the spindle 10.
  • the rotary table is displaced horizontally from its zero-reference position by a distance equal to one half the eccentricity (e/2) and clamped in place.
  • the computer is then programmed, in known manner, so the two rotary tables 17 and 18 are synchronized as follows:
  • the upper rotary table 18 will rotate in the opposite direction at a speed equal to that of the rotary table 17 minus 1/(N-1) turn, where N is the number of rollers.
  • the speed ratio between rotary tables 17 and 18 is then equal to 1- (1/(N-­1) with the two table always rotating in opposite directions.
  • the operating cycle is as follows:
  • the finished part is then removed from the magnetic chuck 19 and each of the grinding spindles is retracted.
  • the two rotary tables 17 and 18 are each returned to the home position.
  • the machine is then ready to process another EPI Orbiting Rotor.
  • the grinding machine is prepared as follows:
  • the two rotary tables 17 and 18 are synchronously programmed so that for each turn of the bottom table 17, the upper rotary table 18 will rotate in the opposite direction one turn plus 1/(N+1) turn, where N is the number of rollers.
  • the speed ratio between between the tables 17 and 18 is then equal to 1 + [1/(N+1)], with the two tables always turning in opposite directions.
  • the spindle 12 is fitted with a grinding wheel having a diameter equal oe nearly equal to that of the roller to be used on the hypotrochoidal bearing race 23.
  • the spindle 11 is fitted with a form grinding wheel to grind the bearing race 24.
  • the spindle 10 is fitted with a cup-type cylindrical grinding wheel to grind the pilot diameter 23.
  • the grinding cycle of the machine is as follows:
  • the machine will be prepared as follows: The eccentricity of the two rotary tables is not changed, but the synchronization is modified according to the new number of rollers with the ratio being equal to 1 + [1/(N+1)], where N is the number of rollers.
  • the spindle 12 is fitted with a grinding wheel having a diameter equal or nearly equal to that of the rollers to be used on the hypotrochoidal bearing race 26.
  • the spindle 11 is fitted with a cup-type cylindrical grinding wheel with a diameter smaller than the diameter of the bearing race 28.
  • the spindle 10 is fitted with the same form grinding wheel as was used to grind the bearing race 24 of the HYPO Reacting Rind 23a.
  • the grinding cycle is as follows:

Landscapes

  • Engineering & Computer Science (AREA)
  • Mechanical Engineering (AREA)
  • Grinding Of Cylindrical And Plane Surfaces (AREA)
  • Grinding And Polishing Of Tertiary Curved Surfaces And Surfaces With Complex Shapes (AREA)
EP19890105689 1988-04-04 1989-03-31 Computergesteuerte universale Schleifmaschine und Verfahren zum Schleifen von hypo-, epitrochoidischen und kreisförmigen Laufbahnen Withdrawn EP0336312A3 (de)

Applications Claiming Priority (2)

Application Number Priority Date Filing Date Title
US17684688A 1988-04-04 1988-04-04
US176846 1988-04-04

Publications (2)

Publication Number Publication Date
EP0336312A2 true EP0336312A2 (de) 1989-10-11
EP0336312A3 EP0336312A3 (de) 1991-01-09

Family

ID=22646100

Family Applications (1)

Application Number Title Priority Date Filing Date
EP19890105689 Withdrawn EP0336312A3 (de) 1988-04-04 1989-03-31 Computergesteuerte universale Schleifmaschine und Verfahren zum Schleifen von hypo-, epitrochoidischen und kreisförmigen Laufbahnen

Country Status (2)

Country Link
EP (1) EP0336312A3 (de)
JP (1) JPH0288163A (de)

Cited By (2)

* Cited by examiner, † Cited by third party
Publication number Priority date Publication date Assignee Title
DE102015215624A1 (de) * 2015-08-17 2017-02-23 Schaeffler Technologies AG & Co. KG Verfahren zur Herstellung von Lagerkomponenten mittels einer Fertigungsstraße, Fertigungsstraße und Fertigungsanlage
GB2579784A (en) * 2018-12-13 2020-07-08 Rolls Royce Plc Manufacturing method

Family Cites Families (11)

* Cited by examiner, † Cited by third party
Publication number Priority date Publication date Assignee Title
GB278203A (en) * 1926-11-15 1927-10-06 Lorenz Konrad Braren Improvements in or relating to production of cycloidal curves
US2151483A (en) * 1935-06-05 1939-03-21 Arthur A Nichols Rotor generating method and machine
FR1531602A (fr) * 1967-05-18 1968-07-05 Appareil pour tailler et diviser des formes elliptiques ou autres formes curvilignescirconscrites à un cercle
JPS48109573U (de) * 1972-03-21 1973-12-17
JPS5646949B2 (de) * 1973-09-28 1981-11-06
DE2544666C3 (de) * 1975-10-06 1979-11-08 Gebrueder Grieshaber, Metallwarenfabrik, 7620 Wolfach Schleifmaschine für die Feinstbearbeitung von kugelförmigen Innenflächen
JPS5657411A (en) * 1979-10-18 1981-05-19 Ikeda Bussan Co Seat having changeable contact surface
JPS5871062A (ja) * 1981-10-24 1983-04-27 Ntn Toyo Bearing Co Ltd 円錐ころ軸受内輪の加工方法
JPS6234765A (ja) * 1985-08-06 1987-02-14 Mazda Motor Corp 非真円形状加工物の加工方法
JPS62136352A (ja) * 1985-12-06 1987-06-19 Amada Co Ltd 軸受案内面加工方法
JPS62188662A (ja) * 1987-02-06 1987-08-18 Bandou Kiko Kk 数値制御によるガラス板の研削方法

Cited By (5)

* Cited by examiner, † Cited by third party
Publication number Priority date Publication date Assignee Title
DE102015215624A1 (de) * 2015-08-17 2017-02-23 Schaeffler Technologies AG & Co. KG Verfahren zur Herstellung von Lagerkomponenten mittels einer Fertigungsstraße, Fertigungsstraße und Fertigungsanlage
US10695885B2 (en) 2015-08-17 2020-06-30 Schaeffler Technologies AG & Co. KG Method for producing bearing components by means of a production line, production line and production system
GB2579784A (en) * 2018-12-13 2020-07-08 Rolls Royce Plc Manufacturing method
GB2579784B (en) * 2018-12-13 2021-05-05 Rolls Royce Plc Component manufacturing using a grinding tool following a trochoidal path
US11267096B2 (en) 2018-12-13 2022-03-08 Rolls-Royce Plc Manufacturing method

Also Published As

Publication number Publication date
JPH0288163A (ja) 1990-03-28
EP0336312A3 (de) 1991-01-09

Similar Documents

Publication Publication Date Title
RU2212315C2 (ru) Способ и станок механической обработки предварительно обработанных зубчатых заготовок, например шестерней
US4090422A (en) Tool machine for machining crank shafts
US4339895A (en) Method of grinding gear teeth flanks
US4052928A (en) Cam-type gearing and the like
US5975995A (en) Machining apparatus and method
US5472368A (en) Method of and machine for grinding cams
US3757474A (en) Curved surface generator
US4768904A (en) Apparatus for broaching cylindrical surfaces of a workpiece, in particular of a crankshaft
US4891914A (en) Computer controlled universal grinder and method for grinding trochoidal and circular bearing races
US4494280A (en) Method and machine tool for a circular machining of eccentric shaft portions
US3750345A (en) Machine tool
EP0336312A2 (de) Computergesteuerte universale Schleifmaschine und Verfahren zum Schleifen von hypo-, epitrochoidischen und kreisförmigen Laufbahnen
EP0423146B1 (de) Schleifen von werkstücken
EP1635975A1 (de) Gerät für die umlaufbahnartige bearbeitung mit antriebselement mit antriebsstiften
US4918862A (en) Method for grinding trochoidal and circular bearing races
US3964367A (en) Device for machining trochoidal inner walls, especially for the cylinders of Wankel engines
JP2000108029A (ja) 研削盤
SU1116976A3 (ru) Станок дл шлифовани торцевых поверхностей деталей
CN213969320U (zh) 一种旋转式滚沟机构
US3948144A (en) Peritrochoid curved surface generating apparatus
CN108481146A (zh) 圆弧曲面加工机床
JP3815130B2 (ja) センタレス研削方法およびセンタレス研削盤
JPS63278702A (ja) 円筒面を精密旋削するための加工装置
GB2116463A (en) Process and apparatus for grinding the surface of a cam
SU1696193A1 (ru) Роторный зубодолбежный станок

Legal Events

Date Code Title Description
PUAI Public reference made under article 153(3) epc to a published international application that has entered the european phase

Free format text: ORIGINAL CODE: 0009012

AK Designated contracting states

Kind code of ref document: A2

Designated state(s): CH DE FR GB IT LI NL

PUAL Search report despatched

Free format text: ORIGINAL CODE: 0009013

AK Designated contracting states

Kind code of ref document: A3

Designated state(s): CH DE FR GB IT LI NL

STAA Information on the status of an ep patent application or granted ep patent

Free format text: STATUS: THE APPLICATION IS DEEMED TO BE WITHDRAWN

18D Application deemed to be withdrawn

Effective date: 19910710