EP0333924B1 - Dauerbrandsichere Flammensperrenarmatur - Google Patents

Dauerbrandsichere Flammensperrenarmatur Download PDF

Info

Publication number
EP0333924B1
EP0333924B1 EP88120693A EP88120693A EP0333924B1 EP 0333924 B1 EP0333924 B1 EP 0333924B1 EP 88120693 A EP88120693 A EP 88120693A EP 88120693 A EP88120693 A EP 88120693A EP 0333924 B1 EP0333924 B1 EP 0333924B1
Authority
EP
European Patent Office
Prior art keywords
flame trap
fixture according
casing
flame
trap fixture
Prior art date
Legal status (The legal status is an assumption and is not a legal conclusion. Google has not performed a legal analysis and makes no representation as to the accuracy of the status listed.)
Expired - Lifetime
Application number
EP88120693A
Other languages
German (de)
English (en)
French (fr)
Other versions
EP0333924A2 (de
EP0333924A3 (en
Inventor
Hubert Dipl.-Ing. Leinemann
Current Assignee (The listed assignees may be inaccurate. Google has not performed a legal analysis and makes no representation or warranty as to the accuracy of the list.)
Individual
Original Assignee
Individual
Priority date (The priority date is an assumption and is not a legal conclusion. Google has not performed a legal analysis and makes no representation as to the accuracy of the date listed.)
Filing date
Publication date
Application filed by Individual filed Critical Individual
Priority to AT88120693T priority Critical patent/ATE72761T1/de
Publication of EP0333924A2 publication Critical patent/EP0333924A2/de
Publication of EP0333924A3 publication Critical patent/EP0333924A3/de
Application granted granted Critical
Publication of EP0333924B1 publication Critical patent/EP0333924B1/de
Anticipated expiration legal-status Critical
Expired - Lifetime legal-status Critical Current

Links

Images

Classifications

    • AHUMAN NECESSITIES
    • A62LIFE-SAVING; FIRE-FIGHTING
    • A62CFIRE-FIGHTING
    • A62C4/00Flame traps allowing passage of gas but not of flame or explosion wave
    • A62C4/02Flame traps allowing passage of gas but not of flame or explosion wave in gas-pipes

Definitions

  • the invention relates to a permanently fire-resistant flame arrester fitting with a hinged protective hood arranged above the flame arrester, which is held in the closed position by a melting element and opens when the melting element loses its stability when a permanent fire occurs.
  • Such flame arrester fittings have long been known (see, for example, DE-C-949100).
  • the flame arrester armatures installed at the end of an opening to be protected must ensure, due to the flame arrester, protection against ignition from atmospheric explosions as well as long-lasting burning (permanent fire).
  • the protective hood protects the flame arrester from the ingress of rain and snow or dirt particles from the atmosphere, which could impair the function of the flame arrester, namely the propagation of ignition into the interior of the protected container or the protected pipeline. If there is an ignition of escaping product-steam or gas / air mixtures on the outside of the flame arrester, the Protective hood must be removed so that the flame arrester does not heat up to ignition temperature due to heat reflection.
  • the protective hood is no longer held in the closed position, but instead folds up or down due to a corresponding weight distribution or due to spring forces.
  • the melting elements In order to prevent the flame arresters from heating up too much, the melting elements must respond relatively quickly. In addition, they must have sufficient mechanical strength and, particularly when the devices are used in chemical plants, also good corrosion resistance.
  • Known melting elements are retaining bolts or screw connections made of an easily burnable plastic (e.g. easily burnable acrylic glass) or of an easily meltable metal (e.g. a lead-zinc alloy).
  • the plastics used lack sufficient corrosion resistance with sufficient mechanical strength, while the easily fusible metals have inadequate strength with relatively good corrosion resistance.
  • the invention has for its object to provide a flame-retardant valve of the type mentioned at the outset with a melting element which has good corrosion resistance with sufficient mechanical strength.
  • the melting element has an outer, two-part jacket made of thermally conductive, stable material, the two jacket parts of which are held together by a melting core which is positively connected to the two jacket parts.
  • the different functions have been divided up into different parts of the melting element.
  • the Resistance to corrosion is ensured by the sheath that surrounds the melting core as well as the mechanical stability, for example of screw connections, which can be easily attached to the stable material of the sheath.
  • the melting function i.e. the opening of the protective hood in the event of a permanent fire, is carried out by the melting core, which holds the two jacket parts together due to a positive fit, so that the two jacket parts separate from one another during the melting of the melting core due to a permanent fire, whereby the protective hood is opened.
  • the melting core which is preferably formed by a low-melting metal, is poured into the mating shell parts through an opening in the heated state.
  • the jacket parts can have an inner space that tapers conically to their abutting surface and is filled by the melting core.
  • the jacket parts have cylindrical interior spaces with radial anchoring grooves.
  • the opening for pouring the fusible core preferably has an internal thread with which the corresponding jacket part is screwed to the protective hood or to a stationary housing part of the fitting, so that the opening is closed again by the screw connection.
  • Both metal parts preferably have such internal threads, which are preferably designed with different diameters to avoid incorrect assembly.
  • the material of the jacket is preferably a solid, corrosion-resistant metal, preferably stainless steel.
  • the parting surfaces of the two shell parts are by Opening the protective hood tending force preferably loaded on train.
  • the separating surfaces can have an anti-rotation device to prevent rotation about an axis of rotation lying in the pulling direction, as a result of which, in the case of axial internal threads on the jacket parts, when the fastening screws are screwed in, a torsional force acting on the melting core is avoided.
  • the one jacket part is formed with an external hexagon and the other jacket part is round on the outside. If the melting element is then arranged centrally on the flame arrestor, the casing part with the external hexagon can simultaneously form a holder for a frame holding the flame arrestors. A wing screw holding the protective hood can be screwed into the outer round jacket part.
  • a chemical-resistant sealing compound can be introduced between the separating surfaces of the jacket parts.
  • Such a sealing compound can also seal the internal thread of the jacket parts.
  • FIGS. 1 to 3 show a flame arrester fitting 1 which is resistant to fire and which is flanged to the end of a pipeline 2 in a conventional manner.
  • the flame arrester fitting 1 has a housing part 3 which conically widens the pipe cross section of the pipeline 2 and which carries at its extended end a frame 4 for a flame arrester 5 known per se.
  • the flame arrester 5 can be inserted into the opened frame 4, whereupon the frame 4 is closed by means of a bolt 6.
  • the flame arrestor 5 assembled in this way is covered by a protective hood 7, which can be folded open into the position shown in FIG. 3 on a swivel joint 8 attached to the housing part 3. In the closed state shown in FIG.
  • the protective hood 7 is under a pretension that tends to open, which in the exemplary embodiment shown is generated by a spring 9 on the swivel joint 8. Against this pretension, the protective hood 7 is held in the closed, ie covering, the flame barrier 5 by a screw connection 10 which runs through the center of the flame barrier 5 and the protective hood 7.
  • the screw connection consists of a screw 11 projecting through a central opening of the frame 4 and the flame arrester 5, which is inserted from the pipe-side end of the frame 4.
  • the threaded end of the screw 11 projects into an internal thread of a first jacket part 12, which is held together with a second jacket part 13.
  • FIG 2 illustrates that the cohesion of the two jacket parts 12, 13 is effected by a fusible core 15 which holds the two jacket parts 12, 13 together by positive locking.
  • the fusible core 15 is preferably formed from a low-melting metal, which is poured into the mated shell parts 12, 13.
  • the melting element can also be formed from other castable melting materials which have sufficient mechanical stability. It is also possible to produce the positive connection between the melt core 15 and the jacket parts 12, 13 in a manner other than by pouring in the liquefied melt core 15, for example by a guide in the manner of a bayonet lock.
  • the preferred embodiment is the pouring of the melting core 15 into the jacket parts 12, 13 through one of the internal thread openings.
  • the melting core 15 loses its mechanical strength when a permanent fire occurs, the melting element 12, 13, 15 can no longer hold the protective hood 7 against the force of the spring 9 in the closed position, so that the protective hood 7 moves into the open position shown in FIG jumps.
  • the gas flowing out of the pipeline 2 can now burn freely above the flame arrestor 5, the flame arrestor preventing the ignition from penetrating into the pipeline 2 due to its cooling function towards the inside of the pipeline 2.
  • FIG. 4 illustrates the structure of an advantageous embodiment of a fusible element, in which the two jacket parts 12, 13 tapered inner spaces 17, 13 to their connecting surface 16. 18 which are filled in by the cast-in melting core 15. This shape enables a tensile connection of the two jacket parts 12, 13 to one another even with mechanically not so stable material.
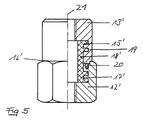
  • jacket parts 12 ', 13' A likewise suitable shaping of jacket parts 12 ', 13' is shown in FIG. 5.
  • the jacket parts 12 ', 13' have approximately cylindrical inner spaces 17 ', 18' which are provided with radial grooves 19 which are filled in by the cast-in melting core 15 ', so that the melting core 15' has corresponding radial ribs.
  • the upper casing part 13' has a bolt 20 projecting from the connecting surface 16 'which fits into a corresponding one Bore of the jacket part 12 'engages and represents an anti-rotation against rotation about the central axis 21 of the melting element.
  • Both the jacket part 12 and the jacket part 12 ' are formed on the outside as a hexagon and at the same time act as a nut for the screw 11 for holding the frame 4 together for the flame arrester 5.
  • the upper jacket part 13' is preferably round on the outside in order to prevent an erroneous approach Prevent tool while simultaneously actuating the external hexagon of the casing part 12, 12 ', which could destroy the fusible core 15, 15'.
  • a chemically resistant sealant is preferably introduced into the connecting surface 16, 16 'in order to prevent the penetration of corrosive agents into the melt core 15, 15'.
  • the jacket parts 12, 12 'and 13, 13' are preferably formed from a heat-conducting metal, for which stainless steel is particularly suitable.

Landscapes

  • Health & Medical Sciences (AREA)
  • Public Health (AREA)
  • Business, Economics & Management (AREA)
  • Emergency Management (AREA)
  • Fuses (AREA)
  • Common Detailed Techniques For Electron Tubes Or Discharge Tubes (AREA)
  • Insulated Conductors (AREA)
  • Glass Compositions (AREA)
  • Fire-Detection Mechanisms (AREA)
  • Gas Burners (AREA)
  • Safety Valves (AREA)
  • Hinges (AREA)
  • Closing And Opening Devices For Wings, And Checks For Wings (AREA)
EP88120693A 1988-02-25 1988-12-10 Dauerbrandsichere Flammensperrenarmatur Expired - Lifetime EP0333924B1 (de)

Priority Applications (1)

Application Number Priority Date Filing Date Title
AT88120693T ATE72761T1 (de) 1988-02-25 1988-12-10 Dauerbrandsichere flammensperrenarmatur.

Applications Claiming Priority (2)

Application Number Priority Date Filing Date Title
DE3805845A DE3805845C1 (enExample) 1988-02-25 1988-02-25
DE3805845 1988-02-25

Publications (3)

Publication Number Publication Date
EP0333924A2 EP0333924A2 (de) 1989-09-27
EP0333924A3 EP0333924A3 (en) 1990-03-28
EP0333924B1 true EP0333924B1 (de) 1992-02-26

Family

ID=6348101

Family Applications (1)

Application Number Title Priority Date Filing Date
EP88120693A Expired - Lifetime EP0333924B1 (de) 1988-02-25 1988-12-10 Dauerbrandsichere Flammensperrenarmatur

Country Status (3)

Country Link
EP (1) EP0333924B1 (enExample)
AT (1) ATE72761T1 (enExample)
DE (2) DE3805845C1 (enExample)

Families Citing this family (3)

* Cited by examiner, † Cited by third party
Publication number Priority date Publication date Assignee Title
RU2193667C2 (ru) * 2001-02-01 2002-11-27 Александр Викторович Черных Устройство для тушения пожара в тупиковой выработке
RU2197619C2 (ru) * 2001-02-15 2003-01-27 Александр Викторович Черных Узел соединения заглушки с диффузором в шахтных устройствах для тушения пожара
CN104841076A (zh) * 2015-06-02 2015-08-19 精凯(天津)阀门制造有限公司 管端阻火器

Family Cites Families (6)

* Cited by examiner, † Cited by third party
Publication number Priority date Publication date Assignee Title
FR569764A (fr) * 1923-08-14 1924-04-17 Dispositif pour la commande automatique des extincteurs d'aéronefs et autres
US1953582A (en) * 1933-09-13 1934-04-03 William L Belknap Heat responsive link
GB419116A (en) * 1933-10-09 1934-11-06 Francis Sales Woidich Improvements in and relating to fire-protecting apparatus for storage tanks
DE949100C (de) * 1955-01-27 1956-09-13 Robert Leinemann Mit einer Flammensicherung zum Schutz gegen das Hineinschlagen von Flammen und Explosionen versehenes Atmungsorgan fuer Kraftstoff-Lagerbehaelter
GB803862A (en) * 1955-04-07 1958-11-05 Lindley Ltd H A fusible link
DE2534525C3 (de) * 1975-07-31 1980-03-20 Fa. F.A. Sening, 2000 Hamburg Flammendurchschlagsichere Einrichtung

Also Published As

Publication number Publication date
EP0333924A2 (de) 1989-09-27
DE3805845C1 (enExample) 1989-06-01
EP0333924A3 (en) 1990-03-28
DE3868626D1 (de) 1992-04-02
ATE72761T1 (de) 1992-03-15

Similar Documents

Publication Publication Date Title
DE2713690A1 (de) Feuerhemmende vorrichtung fuer waende durchsetzende rohre aus schmelzbarem material
EP1108936A2 (de) Brandschutzmanschette für Rohre, Kabel und dergleichen
EP0488938A2 (de) Gasgenerator, insbesondere Rohrgasgenerator für Airbag
EP0128418B1 (de) Betonbehälter zur Aufnahme bioschädlicher Stoffe
EP0333924B1 (de) Dauerbrandsichere Flammensperrenarmatur
DE1941979B2 (de) Zündkerze
EP0343615A1 (de) Gasanschlussarmatur
EP0702836B1 (de) Verschlusseinrichtung zum ingangsetzen der kühlung für eine kernschmelze
DE102018206345A1 (de) Schmelzsicherung, Gasbehälter und Verfahren zum Zusammenbauen einer Schmelzsicherung und zum Einbauen derselben in einen Gasbehälter
DE3808384C2 (de) Ausl¦seglied zur thermischen und/oder elektrischen Ausl¦sung einer Brandschutzanlage
DE2652879C2 (enExample)
DE9411293U1 (de) Brandschutzvorrichtung für Lüftungsrohre
DE3541937A1 (de) Explosions- und feuersichere schutzvorrichtung fuer elektrische anschlussteile
DE29807096U1 (de) Pyrotechnisches Material enthaltende Vorrichtung
DE3316425A1 (de) Brandschutzeinrichtung fuer rohrleitungen
DE9413926U1 (de) Absperrvorrichtung für eine Gasversorgungsleitung
EP1588217B1 (de) Kameraschutzgehäuse für eine kamera
EP1762276B1 (de) Auslöseeinrichtung zum Auslösen zumindest eines eine Leitung eines lufttechnischen Systems verschliessenden Absperrelementes
DE2262541A1 (de) Absperrvorrichtung gegen feuer und rauch
DE3246910A1 (de) Durchfuehrung fuer strahlenbelastete waende
DE19510025C9 (de) Auslöseeinrichtung für eine Brandschutz-Absperrung in lufttechnischen Anlagen
DE4402644A1 (de) Klappverschlußvorrichtung
DE3428797C2 (enExample)
DE102005001717A1 (de) Dralldüse für Brandbekämpfungsanlagen und Sprühdüse mit Auslösevorrichtung
DE102013107495A1 (de) Abschirmeinrichtung

Legal Events

Date Code Title Description
PUAI Public reference made under article 153(3) epc to a published international application that has entered the european phase

Free format text: ORIGINAL CODE: 0009012

AK Designated contracting states

Kind code of ref document: A2

Designated state(s): AT BE CH DE FR GB IT LI NL

PUAL Search report despatched

Free format text: ORIGINAL CODE: 0009013

AK Designated contracting states

Kind code of ref document: A3

Designated state(s): AT BE CH DE FR GB IT LI NL

17P Request for examination filed

Effective date: 19900221

17Q First examination report despatched

Effective date: 19910522

GRAA (expected) grant

Free format text: ORIGINAL CODE: 0009210

AK Designated contracting states

Kind code of ref document: B1

Designated state(s): AT BE CH DE FR GB IT LI NL

REF Corresponds to:

Ref document number: 72761

Country of ref document: AT

Date of ref document: 19920315

Kind code of ref document: T

ET Fr: translation filed
GBT Gb: translation of ep patent filed (gb section 77(6)(a)/1977)
REF Corresponds to:

Ref document number: 3868626

Country of ref document: DE

Date of ref document: 19920402

ITF It: translation for a ep patent filed
PLBE No opposition filed within time limit

Free format text: ORIGINAL CODE: 0009261

STAA Information on the status of an ep patent application or granted ep patent

Free format text: STATUS: NO OPPOSITION FILED WITHIN TIME LIMIT

26N No opposition filed
REG Reference to a national code

Ref country code: GB

Ref legal event code: IF02

PGFP Annual fee paid to national office [announced via postgrant information from national office to epo]

Ref country code: NL

Payment date: 20071213

Year of fee payment: 20

PGFP Annual fee paid to national office [announced via postgrant information from national office to epo]

Ref country code: CH

Payment date: 20071219

Year of fee payment: 20

Ref country code: IT

Payment date: 20071224

Year of fee payment: 20

Ref country code: AT

Payment date: 20071220

Year of fee payment: 20

PGFP Annual fee paid to national office [announced via postgrant information from national office to epo]

Ref country code: BE

Payment date: 20071219

Year of fee payment: 20

PGFP Annual fee paid to national office [announced via postgrant information from national office to epo]

Ref country code: GB

Payment date: 20071220

Year of fee payment: 20

PGFP Annual fee paid to national office [announced via postgrant information from national office to epo]

Ref country code: DE

Payment date: 20080111

Year of fee payment: 20

PGFP Annual fee paid to national office [announced via postgrant information from national office to epo]

Ref country code: FR

Payment date: 20071214

Year of fee payment: 20

REG Reference to a national code

Ref country code: CH

Ref legal event code: PL

BE20 Be: patent expired

Owner name: *LEINEMANN HUBERT

Effective date: 20081210

REG Reference to a national code

Ref country code: GB

Ref legal event code: PE20

Expiry date: 20081209

PG25 Lapsed in a contracting state [announced via postgrant information from national office to epo]

Ref country code: NL

Free format text: LAPSE BECAUSE OF EXPIRATION OF PROTECTION

Effective date: 20081210

PG25 Lapsed in a contracting state [announced via postgrant information from national office to epo]

Ref country code: GB

Free format text: LAPSE BECAUSE OF EXPIRATION OF PROTECTION

Effective date: 20081209